











技术领域technical field
本公开涉及包括真空清洁器和对接站的清洁设备,更具体地,涉及能够自动排放真空清洁器内的灰尘的对接站和清洁设备。The present disclosure relates to cleaning devices including vacuum cleaners and docking stations, and more particularly, to docking stations and cleaning devices capable of automatically discharging dust within the vacuum cleaners.
背景技术Background technique
一般来说,真空清洁器是一种装备有产生抽吸力的风扇马达的装置,并且通过由风扇马达产生的抽吸力,将诸如灰尘等异物与空气一起抽吸,将所抽吸的空气中含有的异物与空气分离,并收集灰尘以进行清洁。In general, a vacuum cleaner is a device equipped with a fan motor that generates suction, and by the suction generated by the fan motor, foreign matter such as dust is sucked together with air, and the sucked air is The foreign matter contained in the air is separated from the air, and the dust is collected for cleaning.
真空清洁器包括用于收集异物的集尘室,并且用户需要定期将集尘室中收集的异物与真空清洁器分离,并将分离的异物从集尘室排放。The vacuum cleaner includes a dust collection chamber for collecting foreign matter, and the user needs to periodically separate the foreign matter collected in the dust collection chamber from the vacuum cleaner, and discharge the separated foreign matter from the dust collection chamber.
发明内容Contents of the invention
要解决的技术问题technical problem to be solved
本公开的一方面提供包括真空清洁器的对接站的清洁设备,所述对接站能够自动排放来自集尘室的异物。An aspect of the present disclosure provides a cleaning apparatus including a docking station of a vacuum cleaner capable of automatically discharging foreign matter from a dust collection chamber.
本公开的另一方面提供包括对接站的清洁设备,所述对接站能够在对真空清洁器的电池充电的同时排放来自集尘室的异物。Another aspect of the present disclosure provides a cleaning apparatus including a docking station capable of discharging foreign matter from a dust chamber while charging a battery of a vacuum cleaner.
技术方案Technical solutions
根据本公开的方面,提供一种清洁设备,包括:真空清洁器,所述真空清洁器包括电池和集尘室,所述电池被配置成产生抽吸力,在所述集尘室中收集由所述抽吸力抽吸的异物;和对接站,所述对接站被连接到所述真空清洁器并具有在第一方向上延伸的长轴线,其中,所述对接站包括:充电部,所述充电部被设置成与所述电池接触以对所述电池充电;对接部,所述对接部被连接至所述集尘室以移除所述集尘室中收集的所述异物;和抽吸装置,所述抽吸装置被配置成抽吸被对接在所述对接部上的所述集尘室内的所述异物和内部空气,其中,所述对接部包括对接开口,所述对接开口朝向不同于所述第一方向的第二方向敞开,使得集尘室的至少一部分被插入到所述对接开口中。According to an aspect of the present disclosure, there is provided a cleaning device, including: a vacuum cleaner including a battery and a dust collection chamber, the battery is configured to generate a suction force, and the dust collection chamber collected by the foreign matter sucked by the suction force; and a docking station connected to the vacuum cleaner and having a long axis extending in a first direction, wherein the docking station includes: a charging part, the The charging part is provided to be in contact with the battery to charge the battery; the docking part is connected to the dust collecting chamber to remove the foreign matter collected in the dust collecting chamber; and the suction suction device, the suction device is configured to suck the foreign matter and the internal air in the dust collection chamber docked on the docking part, wherein the docking part includes a docking opening, and the docking opening faces A second direction different from the first direction is open such that at least a portion of the dust chamber is inserted into the docking opening.
所述充电部可以在第一方向上被布置在对接部的上方。The charging part may be arranged above the docking part in the first direction.
所述第一方向可以被设置在与所述对接站的上下侧方向相对应的方向上,并且所述第二方向可以被设置在与所述第一方向基本垂直的方向上。The first direction may be set in a direction corresponding to an upper and lower side direction of the docking station, and the second direction may be set in a direction substantially perpendicular to the first direction.
所述第一方向可以被设置在与所述对接站的上下侧方向相对应的方向上,并且所述第二方向可以被设置在相对于所述第一方向倾斜的方向上。The first direction may be set in a direction corresponding to an upper and lower side direction of the docking station, and the second direction may be set in a direction oblique to the first direction.
所述集尘室可以包括本体,所述本体被设置成围绕在一个方向上延伸的延伸轴线形成的筒形形状,并且所述集尘室可以被设置成沿所述集尘室的所述延伸轴线的延伸方向插入到所述对接部中。The dust collecting chamber may include a body disposed in a cylindrical shape formed around an extension axis extending in one direction, and the dust collecting chamber may be disposed along the extension of the dust collecting chamber. The direction of extension of the axis is inserted into the abutment.
所述真空消洁器还可以包括:抽吸单元,所述抽吸单元被配置成抽吸异物;和延伸管,所述延伸管将抽吸单元和集尘室彼此连接并且具有在一个方向上延伸的长轴线,并且所述延伸管的所述长轴线和所述集尘室的所述延伸轴线可以被设置成彼此基本上垂直。The vacuum cleaner may further include: a suction unit configured to suck foreign objects; and an extension pipe connecting the suction unit and the dust collecting chamber to each other and having The long axis of extension, and the long axis of the extension pipe and the extension axis of the dust collecting chamber may be arranged substantially perpendicular to each other.
所述真空清洁器还可以包括:抽吸单元,所述抽吸单元被配置成抽吸异物;和延伸管,所述延伸管将抽吸单元和集尘室彼此连接并且具有在一个方向上延伸的长轴线,并且当所述集尘室被对接在所述对接部上时,所述真空清洁器可以被支撑在所述对接站上,使得所述延伸管的所述长轴线在与所述第一方向相对应的方向上延伸。The vacuum cleaner may further include: a suction unit configured to suck foreign substances; and an extension pipe connecting the suction unit and the dust collecting chamber to each other and having a shape extending in one direction. and when the dust chamber is docked on the docking portion, the vacuum cleaner may be supported on the docking station such that the long axis of the extension tube is in line with the extending in a direction corresponding to the first direction.
所述集尘室还可以包括:集尘室开口,所述集尘室开口在与所述本体的所述延伸轴线的延伸方向相对应的方向上敞开并被形成在所述本体的一端处;和集尘室门,所述集尘室门被配置成打开和封闭所述集尘室开口,并且当所述集尘室被插入到所述对接开口中时,所述集尘室门可以被布置为设置在所述对接部内。The dust collecting chamber may further include: a dust collecting chamber opening opened in a direction corresponding to an extending direction of the extending axis of the body and formed at one end of the body; and a dust chamber door configured to open and close the dust chamber opening, and when the dust chamber is inserted into the docking opening, the dust chamber door may be Arranged to be disposed within said docking portion.
所述集尘室还可以包括固定构件,所述固定构件被设置成将所述集尘室门固定至所述本体,并且当受到外力按压时释放对所述集尘室门的固定,并且所述对接部可以被配置成响应于所述集尘室被插入到所述对接开口中而按压所述固定构件。The dust chamber may further include a fixing member configured to fix the dust chamber door to the body and release the fixation of the dust chamber door when pressed by an external force, and the The docking portion may be configured to press the fixing member in response to the dust chamber being inserted into the docking opening.
所述对接部可以包括打开引导件,所述打开引导件被配置成响应于所述集尘室被插入到所述对接开口中而按压所述固定构件。The docking part may include an opening guide configured to press the fixing member in response to the dust chamber being inserted into the docking opening.
所述集尘室门可以被设置成围绕设置在所述本体的一端的一侧处的旋转轴旋转,并且所述集尘室可以被设置成使得当所述集尘室被插入到对接开口中时,所述旋转轴可以在第一方向上被布置在所述集尘室的上端上。The dust collection chamber door may be configured to rotate around a rotation shaft provided at one side of one end of the body, and the dust collection chamber may be configured such that when the dust collection chamber is inserted into the docking opening , the rotation shaft may be arranged on an upper end of the dust collecting chamber in a first direction.
所述集尘室还可以包括弹性构件,所述弹性构件被设置在所述旋转轴的延伸方向上,以使集尘室门在朝向所述本体的方向上被偏置。The dust chamber may further include an elastic member disposed in an extending direction of the rotation shaft to bias the dust chamber door in a direction toward the body.
所述集尘室还可以包括分别布置在本体和集尘室门上的一对磁性构件。The dust collecting chamber may further include a pair of magnetic members disposed on the body and the dust collecting chamber door, respectively.
所述集尘室门可以被设置成在所述抽吸装置被驱动时,借助于在所述抽吸装置中形成的抽吸空气流而围绕所述旋转轴旋转。The dust chamber door may be configured to rotate about the rotation axis by means of a flow of suction air formed in the suction device when the suction device is driven.
所述对接站还可以包括收集部,所述收集部被配置成使由所述抽吸装置形成的抽吸空气流流动通过以收集所述集尘室内的异物,其中,所述充电部、所述对接部、所述收集部和所述抽吸装置可以在所述第一方向上被顺序地布置。The docking station may further include a collection part configured to flow the suction air flow formed by the suction device to collect foreign objects in the dust collection chamber, wherein the charging part, the The docking portion, the collecting portion, and the suction device may be sequentially arranged in the first direction.
一种清洁设备包括:真空清洁器,所述真空清洁器包括电池和集尘室,所述电池用于产生抽吸力,在所述集尘室中收集由所述抽吸力抽吸的异物;和对接站,所述对接站被连接至所述电池和所述集尘室中的每个,A cleaning device includes: a vacuum cleaner including a battery for generating a suction force and a dust collection chamber in which foreign objects sucked by the suction force are collected and a docking station connected to each of the battery and the dust collection chamber,
其中,所述对接站包括:本体,所述本体包括对接表面,所述本体具有对接开口,所述集尘室被对接至所述对接开口,并且所述本体具有在第一方向上延伸的长轴线;充电部,所述充电部被连接到所述电池并且在所述第一方向上被形成在所述对接表面的上侧;对接部,所述对接部与所述对接开口连通并且被设置成允许所述集尘室的至少一部分被插入其中,以去除收集在所述集尘室中的异物;和抽吸装置,所述抽吸装置被配置成抽吸被对接在所述对接部上的所述集尘室内的所述异物和内部空气,其中,所述集尘室被设置成在垂直于所述第一方向的第二方向上被插入到所述对接开口中。Wherein, the docking station includes: a body, the body includes a docking surface, the body has a docking opening, the dust collection chamber is docked to the docking opening, and the body has a length extending in a first direction. an axis; a charging portion connected to the battery and formed on an upper side of the docking surface in the first direction; a docking portion communicating with the docking opening and provided to allow at least a part of the dust collection chamber to be inserted therein to remove foreign objects collected in the dust collection chamber; and a suction device configured to suction The foreign matter and the internal air in the dust collection chamber, wherein the dust collection chamber is configured to be inserted into the docking opening in a second direction perpendicular to the first direction.
此外,所述对接站可以被设置成使得所述充电部和所述抽吸装置被同时操作。Furthermore, the docking station may be arranged such that the charging portion and the suction device are operated simultaneously.
根据本公开的方面,提供一种清洁设备,包括:所述真空清洁器,所述真空清洁器包括抽吸单元、集尘室和延伸管,所述抽吸单元被配置成抽吸异物,所述集尘室被配置成收集从所述抽吸单元抽吸的异物,所述延伸管将所述抽吸单元连接至所述灰尘收集器并且具有在一个方向上延伸的长轴线;和对接站,所述对接站被连接到所述真空清洁器并具有在第一方向上延伸的长轴线,其中,所述对接站包括:本体,所述本体包括对接表面,所述对接表面具有对接开口,所述集尘室被对接至所述对接开口,并且所述本体具有在第一方向上延伸的长轴线;对接部,所述对接部与所述对接开口连通并被设置成允许在与所述第一方向不同的第二方向上插入所述集尘室以去除收集在所述集尘室中的异物;和抽吸装置,所述抽吸装置被配置成抽吸被对接在所述对接部上的所述集尘室内的所述异物和内部空气,其中,所述集尘室被设置成筒形形状,所述筒形形状具有在与所述延伸管的所述延伸方向垂直的方向上延伸的长轴线。According to an aspect of the present disclosure, there is provided a cleaning device, including: the vacuum cleaner, the vacuum cleaner includes a suction unit, a dust collection chamber, and an extension pipe, the suction unit is configured to suck foreign matter, the the dust collecting chamber is configured to collect foreign matter sucked from the suction unit, the extension pipe connects the suction unit to the dust collector and has a long axis extending in one direction; and a docking station , the docking station is connected to the vacuum cleaner and has a long axis extending in a first direction, wherein the docking station includes a body including a docking surface having a docking opening, The dust collection chamber is docked to the docking opening, and the body has a long axis extending in a first direction; a docking portion, the docking portion communicates with the docking opening and is configured to allow connection with the docking opening. inserting into the dust collecting chamber in a second direction different from the first direction to remove foreign matter collected in the dust collecting chamber; and a suction device configured to suck the abutted portion at the abutting portion The foreign matter and the internal air in the dust collection chamber above, wherein the dust collection chamber is provided in a cylindrical shape with a direction perpendicular to the extension direction of the extension pipe. extended long axis.
此外,所述第二方向可以对应于与所述第一方向垂直的方向。Also, the second direction may correspond to a direction perpendicular to the first direction.
此外,所述真空清洁器还可以包括清洁器本体,所述清洁器本体具有用于形成抽吸空气流的马达,并且所述集尘室可以与所述清洁器本体一体地形成。In addition, the vacuum cleaner may further include a cleaner body having a motor for forming a suction airflow, and the dust collecting chamber may be integrally formed with the cleaner body.
有益效果Beneficial effect
根据本公开的方面,所述清洁设备可以允许真空清洁器的对接站对真空清洁器的电池充电,同时自动去除收集在真空清洁器的集尘室中的异物。According to aspects of the present disclosure, the cleaning device may allow a docking station of the vacuum cleaner to charge a battery of the vacuum cleaner while automatically removing foreign objects collected in a dust collection chamber of the vacuum cleaner.
根据本公开的方面,当真空清洁器的集尘室在基本上垂直于上下侧方向的方向上被插入到对接站中时,收集在灰尘收集件中的异物可以被有效地去除。According to aspects of the present disclosure, when the dust collection chamber of the vacuum cleaner is inserted into the docking station in a direction substantially perpendicular to the upper and lower side directions, foreign matter collected in the dust collection member may be efficiently removed.
附图说明Description of drawings
图1是示出根据本公开的实施例的清洁设备的对接站的透视图。FIG. 1 is a perspective view illustrating a docking station of a cleaning device according to an embodiment of the present disclosure.
图2是示出根据本公开的实施例的清洁设备的真空清洁器与对接站分离的状态的视图。FIG. 2 is a view illustrating a state in which a vacuum cleaner of a cleaning apparatus is separated from a docking station according to an embodiment of the present disclosure.
图3是示出在根据本公开的实施例的清洁设备的真空清洁器对接到对接站中的状态下对接站的一部分的侧截面的视图。3 is a view showing a side section of a part of the docking station in a state where the vacuum cleaner of the cleaning apparatus according to the embodiment of the present disclosure is docked into the docking station.
图4是示出根据本公开的实施例的清洁设备的真空清洁器的一部分的透视图。FIG. 4 is a perspective view illustrating a part of a vacuum cleaner of a cleaning apparatus according to an embodiment of the present disclosure.
图5是在真空清洁器对接到根据公开的实施例的清洁设备中的对接站上之前真空清洁器的一部分的横截面透视图。5 is a cross-sectional perspective view of a portion of the vacuum cleaner prior to being docked onto a docking station in a cleaning apparatus according to disclosed embodiments.
图6是在真空清洁器对接到根据公开的实施例的清洁设备中的对接站上的状态下真空清洁器的一部分的横截面透视图。6 is a cross-sectional perspective view of a portion of the vacuum cleaner as it is docked to a docking station in a cleaning apparatus according to disclosed embodiments.
图7是当在真空清洁器对接到根据公开的实施例的清洁设备中的对接站上的状态下抽吸装置被驱动时真空清洁器的一部分的横截面透视图。7 is a cross-sectional perspective view of a portion of the vacuum cleaner when the suction device is driven with the vacuum cleaner docked on a docking station in a cleaning apparatus according to disclosed embodiments.
图8是在真空清洁器对接到根据公开的另一实施例的清洁设备中的对接站上之前真空清洁器的一部分的横截面透视图。8 is a cross-sectional perspective view of a portion of a vacuum cleaner prior to being docked onto a docking station in a cleaning apparatus according to another embodiment of the disclosure.
图9是在真空清洁器对接到根据公开的另一实施例的清洁设备中的对接站上之前真空清洁器的一部分的横截面透视图。9 is a cross-sectional perspective view of a portion of the vacuum cleaner prior to being docked onto a docking station in a cleaning apparatus according to another embodiment of the disclosure.
图10是在真空清洁器对接到根据公开的另一实施例的清洁设备中的对接站上的状态下真空清洁器的一部分的横截面透视图。10 is a cross-sectional perspective view of a portion of the vacuum cleaner as it is docked to a docking station in a cleaning apparatus according to another embodiment of the disclosure.
图11是对接到根据公开的另一实施例的清洁设备中的对接站上的真空清洁器的一部分的横截面透视图,其中打开引导件被驱动。11 is a cross-sectional perspective view of a portion of a vacuum cleaner docked to a docking station in a cleaning apparatus according to another embodiment of the disclosure with the opening guide actuated.
图12是示出根据本公开的另一实施例的清洁设备的真空清洁器对接到对接站上的状态的视图。FIG. 12 is a view illustrating a state where a vacuum cleaner of a cleaning apparatus is docked to a docking station according to another embodiment of the present disclosure.
具体实施方式Detailed ways
说明书中描述的实施例和在随附附图中示出的配置仅仅是本公开的示例性示例,并且在递交本申请时,各种修改可以取代本公开的实施例和附图。The embodiments described in the specification and the configurations shown in the accompanying drawings are merely illustrative examples of the present disclosure, and various modifications may be substituted for the embodiments and drawings of the present disclosure at the time of filing this application.
此外,本公开的附图中的相同符号或数字表示被配置成执行基本相同功能的部件或元件。In addition, the same symbols or numerals in the drawings of the present disclosure denote parts or elements configured to perform substantially the same function.
此外,本文中使用的术语仅用于描述特定实施例的目的,而不旨在限制本公开。除非本文中另有明确说明,否则单数形式也包括复数形式。还应理解,术语“包括(“include”/“including”)”、“具有(“have”/“having”)指定存在所陈述的特征、整数、步骤、操作、元件、部件和/或其组,但不排除存在或添加一个或更多个其它特征、整数、步骤、操作、元件、部件和/或其组。Also, the terminology used herein is for the purpose of describing particular embodiments only and is not intended to limit the present disclosure. Unless otherwise expressly stated herein, singular forms also include plural forms. It should also be understood that the terms "including ("include"/"including")", "having" ("have"/"having") designate the presence of stated features, integers, steps, operations, elements, parts and/or groups thereof , but does not exclude the presence or addition of one or more other features, integers, steps, operations, elements, parts and/or groups thereof.
此外,应该理解,虽然术语“第一”、“第二”等可以在本文中用于描述各种元件,但这些元件不受术语的限制,并且这些术语仅用于区分一个元件和另一元件。例如,第一元件可以被称为第二元件,并且类似地,第二元件可以被称为第一元件,而不脱离本公开的范围。术语“和/或”包括多个相关联的所列术语中的一个或全部的组合。In addition, it should be understood that although the terms "first", "second", etc. may be used herein to describe various elements, these elements are not limited by the terms, and these terms are only used to distinguish one element from another . For example, a first element could be termed a second element, and, similarly, a second element could be termed a first element, without departing from the scope of the present disclosure. The term "and/or" includes a combination of one or all of a plurality of the associated listed items.
此外,本文中使用的术语“上侧”、“下侧”、“上下侧方向”等是参照附图来定义的,并且部件的形状和位置不受这些术语的限制。In addition, the terms "upper side", "lower side", "upper and lower side direction" and the like used herein are defined with reference to the drawings, and the shapes and positions of components are not limited by these terms.
在下文中,将参考随附附图详细地描述根据本公开的实施例。Hereinafter, embodiments according to the present disclosure will be described in detail with reference to the accompanying drawings.
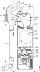
图1是图示出根据本公开的实施例的清洁设备的对接站的透视图,图2是图示出根据本公开的实施例的清洁设备的真空清洁器与对接站分离的状态的视图,图3是图示出在根据本公开的实施例的清洁设备的真空清洁器对接到对接站中的状态下对接站的一部分的侧截面的视图,并且图4是图示出根据本公开的实施例的清洁设备的真空清洁器的一部分的透视图。1 is a perspective view illustrating a docking station of a cleaning device according to an embodiment of the present disclosure, and FIG. 2 is a view illustrating a state in which a vacuum cleaner of the cleaning device according to an embodiment of the present disclosure is separated from the docking station, 3 is a view illustrating a side section of a part of a docking station in a state where a vacuum cleaner of a cleaning device according to an embodiment of the present disclosure is docked into the docking station, and FIG. 4 is a view illustrating an embodiment of the present disclosure. Example of perspective view of part of cleaning equipment vacuum cleaner.
在图1至图4中,清洁设备1可以包括清洁器10和对接站100。In FIGS. 1 to 4 , the
清洁器10可以包括清洁器本体11、可拆卸地联接到清洁器本体11的延伸管17、可拆卸地联接到延伸管17的抽吸单元18、以及连接到清洁器本体的集尘室20。The cleaner 10 may include a
清洁器本体11可以包括抽吸马达(未示出),所述抽吸马达产生抽吸待清洁的表面上的异物所需的抽吸力。The
集尘室20在空气流中可以被布置在抽吸马达(未示出)上游,以滤除通过主抽吸单元18引入的空气中的灰尘或污垢,并收集被滤除的灰尘或污垢。集尘室20可以与清洁器本体11一体地形成。当清洁器本体11和集尘室20被称为彼此一体地形成时,清洁器本体11和集尘室20可以提供一结构,在所述结构中集尘室20在使用时不与清洁器本体11任意地分离。然而,本公开不限于此,集尘室20可以被设置成能够被从清洁器本体11拆卸。A
清洁器本体11可以包括由用户抓握以用于操纵清洁器10的手柄14。用户可以握住手柄14并在前后方向上移动清洁器10。The
清洁器本体11可以包括灰尘收集引导件15,所述灰尘收集引导件15用于通过将集尘室20连接到延伸管17和抽吸单元18来引导异物进入集尘室20中。The
灰尘收集引导件15可以被联接到上述延伸管17,同时如上文所描述的那样将异物引导到集尘室20。此外,灰尘收集引导件15可以被设置成直接联接到抽吸单元18而不是联接到延伸管17,或者灰尘收集引导件15可以被联接到其它部件,如辅助抽吸单元。The
延伸管17可以延伸以具有沿一个方向延伸的长轴线X。The
因此,用户可以通过根据清洁情况将各种部件联接到灰尘收集引导件15来增加清洁的便利性。Therefore, the user can increase the convenience of cleaning by coupling various components to the
集尘室20可以被设置成筒形形状,所述筒形形状具有在与延伸管17的长轴线X延伸的方向基本上垂直的方向上延伸的延伸轴线Y。具体地,灰尘收集引导件15可以被联接到延伸管17,使得延伸管17的长轴线X面向基本上垂直于集尘室20的延伸轴线Y的延伸方向的方向。The
集尘室20可以包括在延伸轴线Y的延伸方向上延伸的筒形本体22。The
集尘室20可以设置成通过筒形本体22的离心旋转分离来收集异物。集尘室20可以包括多级旋风分离器,以通过离心旋转分离来收集异物。The
集尘室20可以包括集尘室门21,所述集尘室门21在延伸轴线Y的延伸方向上被布置在与连接到灰尘收集引导件15的部分相反的一侧处,并且被配置成打开和封闭集尘室20。The
当大量异物被收集在集尘室20中时,用户可以打开集尘室门21,以将收集在集尘室20中的异物从集尘室20中排放。When a large amount of foreign matter is collected in the
具体地,集尘室门21可以被设置成打开和封闭集尘室开口23,所述集尘室开口形成在集尘室20的本体22的一端处并且被设置成在延伸轴线Y的延伸方向上敞开。Specifically, the
集尘室开口23可以能够在与延伸管17的长轴线X延伸的方向基本上垂直的方向上敞开。The dust collection chamber opening 23 may be able to open in a direction substantially perpendicular to the direction in which the long axis X of the
手柄14可以被布置在集尘室20的与布置延伸管17的一侧相反的一侧处。The
清洁器10可以包括向清洁器10提供驱动力的电池16。电池16可以被可拆卸地安装到清洁器本体11。具体地,电池16可以被布置成邻近手柄14。The cleaner 10 may include a
因此,电池16可以被布置在集尘室20的与布置延伸管17的一侧相反的一侧处。Therefore, the
电池16可以被电连接到设置在下文将描述的对接站100中的充电端子123。电池16可以通过接收来自设置在对接站100中的充电端子123的电力而被充电。The
对接站100可以被配置成用于将清洁器10存储或安装在其上。清洁器10可以在对接站100中被充电。
对接站100可以包括形成对接站100的外观的本体壳体110。The
本体壳体110可以被设置成具有沿一个方向延伸的长轴线。本体壳体110的长轴线可以优选地被设置成在上下侧方向上延伸。因此,对接站100可以被提供成大致沿上下侧方向延伸的箱形状。The
对接站100可以包括充电部120,清洁器10的手柄14被对接在所述充电部上,以使得电池16被供电。The
充电部120可以包括其上安装电池16的电池安装部121、用于引导电池16的安装的电池引导件122、和用于响应于电池16正被安装在充电部120上而向电池16供电的充电端子123。The charging
电池16可以被设置成能够被从清洁器本体11上拆卸。因此,清洁器10可以被设置成与一个或更多个可更换的电池16联接。The
电池16可以如在本公开的实施例中那样被布置成暴露于外部,但是可以被布置在清洁器10的清洁器本体11的内部而不暴露于外部。在这种情况下,充电部120可以被设置成至少使清洁器本体11的其中布置有电池16的部分安置在充电部120上,以对电池16充电。The
清洁器10可以在第二方向B上接近对接站100以被对接到对接站100上,所述第二方向是大致垂直于第一方向A的方向,所述第一方向是对接站100的延伸方向。这是为了在清洁器10的集尘室20对接到对接站100上的同时,允许清洁器10的电池16对接到对接站100上。The cleaner 10 may approach the
传统的对接站被设置成当清洁器被对接到对接站上时向电池供电,如上文所描述的。根据本公开的实施例的对接站100进一步被实现为,当清洁器10对接到对接站100上时,允许收集在集尘室20内的灰尘被自动排放,以便增加消费者的便利性。Conventional docking stations are configured to power the battery when the cleaner is docked to the docking station, as described above. The
在传统技术中,用户在使用清洁器10之后需要直接清空被收集在集尘室20中的灰尘,这很麻烦。然而,根据本公开的实施例的对接站100可以被实现为当清洁器10被对接时直接与集尘室20对接,使得被收集在集尘室20内的灰尘可以被自动去除。In the conventional art, the user needs to directly empty the dust collected in the
根据本公开的实施例的对接站100被设置成当清洁器10被对接在对接站100上时,在对清洁器10的电池16充电的同时自动排放被收集在集尘室20中的灰尘。然而,如下文所描述的,对接站100可以被设置成在清洁器10被对接到对接站100上时根据用户的选择,选择性地仅对清洁器10充电,或者在排放集尘室20的灰尘的同时对清洁器10充电。The
对接站100可以包括抽吸装置130以从集尘室20排放被收集在集尘室20中的灰尘。The
对接站100可以包括控制器(未示出),以便用户输入用于驱动抽吸装置130的信号。当清洁器10被对接到对接站100上时,用户可以向控制器(未示出)输入信号,使得对接站100被控制为在对清洁器10的电池16充电的同时排放被收集在集尘室20中的异物。The
然而,本公开不限于此,并且对接站100的控制器(未示出)可以被设置成在接收到用于检测清洁器10的对接的传感器的检测值时驱动抽吸装置130,使得抽吸装置130响应于清洁器10正被对接而被自动驱动,即使没有由用户输入的信号。However, the present disclosure is not limited thereto, and a controller (not shown) of the
对接站100可以包括对接部140,所述对接部140被设置用于将集尘室20对接到对接站100上。The
如上文所述,本体壳体110可以被设置成具有在第一方向A上延伸的长轴线。第一方向A可以被设置在与上下侧方向相对应的方向上。因此,对接站100可以被设置成在上下侧方向上延伸的箱形状。As described above, the
对接部140可以被布置在本体壳体110的上部部分中。对接部140可以在本体壳体110的延伸方向上被布置在充电部120的下侧处。The
优选地,充电部120可以在本体壳体110的延伸方向上被布置在本体壳体110的上端上,并且对接部140可以被布置在充电部120的下侧。Preferably, the charging
因此,清洁器10可以被对接到对接站100上,使得清洁器10上的布置有电池16的一侧在第一方向A上被布置在上侧,并且清洁器10上的布置有延伸管17的一侧在第一方向A上被布置在下侧。Therefore, the cleaner 10 can be docked onto the
抽吸装置130可以被布置在本体壳体110内。具体地,抽吸装置130可以在本体壳体110的延伸方向上被布置在本体壳体110的下部部分处。The
对接站100可以包括收集部150,用于收集从集尘室20排放的异物。收集部150可以被布置在本体壳体110内。收集部150可以被布置在抽吸装置130的上侧。The
充电部120、对接部140、收集部150和抽吸装置130可以在本体壳体110的延伸方向上被顺序地布置。The charging
对接站100可以包括抽吸流动路径141,所述抽吸流动路径将对接部140和收集部150彼此连接并允许从集尘室20排放的异物通过对接部140被抽吸到收集部150。抽吸流动路径141可以被设置成在本体壳体110的延伸方向上延伸,以将对接部140和收集部150彼此连接。The
对接部140可以包括安置空间142,所述安置空间与抽吸流动路径141连通并且集尘室20位于所述安置空间中。对接部140可以包括对接开口143,所述对接开口143被设置成使得集尘室20从对接站100之外对接到对接站100上。The
集尘室20的至少一部分可以被设置成插入到对接开口143中。集尘室20可以通过对接开口143被安置在安置空间142上。At least a portion of the
对接开口143可以在基本上垂直于本体壳体110的长轴线的延伸方向的方向上敞开。也就是说,对接开口143可以在垂直于第一方向A的第二方向B上敞开。The
如上所述,对接站100被设置成在上侧方向上延伸的箱形状。因此,对接开口143可以被设置成在对接站100的前后方向或左右方向上敞开。As described above, the
安置空间142可以具有设置成与对接开口143连通的一端和设置成与抽吸流动路径141连通的另一端。因此,安置空间142可以被设置成弯曲形状,在这种弯曲形状中形成为沿第二方向B延伸的安置空间142也被形成为沿第一方向A延伸。The
由于对接开口143被设置成在面向第二方向B时敞开,因此集尘室20可以在基本上垂直于本体壳体110的长轴线延伸的方向的方向上对接到对接站100上。清洁器10可以被设置成在第二方向B上被对接到对接站100上。Since the
本体壳体110可以包括对接表面111,所述对接表面111被设置在布置有对接开口143并且对接所述清洁器10的一侧处。对接表面111可以被提供以形成本体壳体110的一个表面。对接表面111可以被设置成面向第二方向B,所述第二方向是对接开口143敞开的方向。The
虽然未示出,但是对接表面111可以被设置成各种形状以及平坦表面或弯曲表面。Although not shown, the
对接表面111可以以具有沿一个方向延伸的长轴线的平面形状来延伸。如上文所描述的,由于本体壳体110被设置成在第一方向A(即上下侧方向)上延伸的箱形状,因此对接表面111的长轴线可以在与第一方向A相对应的方向上延伸。The
对接开口143和充电部120可以形成在对接表面111上。然而,本公开不限于此,充电部120可以被布置在对接表面111以上,详细地说,在对接表面111的延伸方向上被布置在对接表面111的上方。The
清洁器10可以在面向对接站100的对接表面111的方向上被对接到对接站100上。清洁器10可以被设置成在第二方向B上被对接到对接站100上。The cleaner 10 may be docked onto the
清洁器10可以在垂直于对接表面111的长轴线在对接站100中延伸的方向的方向上被对接到对接站100上。清洁器10可以被设置成在垂直于第一方向A的第二方向B上被对接到对接站100上。The cleaner 10 may be docked onto the
因此,当集尘室20被对接到对接站100上时,第一方向A(即本体壳体110的长轴线的延伸方向)和集尘室20的延伸轴线Y被设置成面向彼此大致垂直的方向。Therefore, when the
也就是说,集尘室20的延伸轴线Y可以在与第二方向B相对应的方向上被插入到对接站100的对接开口143中。因此,在清洁器10被对接到对接站100上的状态下,清洁器10的延伸管17的长轴线X可以被布置在与第一方向A相对应的方向上。这是因为所述延伸管17的所述长轴线X和所述集尘室20的所述延伸轴线Y被设置成彼此垂直。That is, the extension axis Y of the
当集尘室20在不垂直于对接站100的长轴线的方向上被对接时,清洁器10的延伸管17可以被布置成面向第一方向A以外的其它方向,使得在延伸管17未由用户分离的情况下对接到对接站100上的清洁器10可能使美感下降并降低对接站100周围的空间的空间效率。When the
此外,由于用户也难以分离可以被联接至灰尘收集引导件15的延伸管或抽吸单元,因此对接站100的可用性可能降低。In addition, since it is also difficult for the user to detach the extension pipe or the suction unit which may be coupled to the
为了解决这种限制,根据本公开的实施例的清洁设备1可以被设置成允许真空清洁器10被对接到对接站100上,并且在延伸管17或抽吸单元18联接到清洁器10的灰尘收集引导件15的状态下,允许被收集在集尘室20中的物质被自动排放到对接站100中。In order to address this limitation, the
也就是说,清洁设备1可以被设置成当清洁器10被对接到对接站100上时,将清洁器10的延伸管17的长轴线X所面向的方向布置在第一方向A上,所述第一方向是对接站100的长轴线延伸的方向。That is to say, the
集尘室20可以被设置成在其中布置有旋风分离器24。集尘室20可以被设置成将异物收集到旋风分离器24的下侧24a。灰尘收集容器20可以包括第一灰尘收集部20a和第二灰尘收集部20b,所述第一灰尘收集部主要进行灰尘收集以收集相对较大的异物,所述第二灰尘收集部通过旋风分离器24进行灰尘收集以收集相对较小的异物。The
当集尘室门21打开时,第一灰尘收集部20a和第二灰尘收集部20b两者都可以被设置成向外敞开。When the
因此,当布置在本体22的一端处的集尘室门21打开时,被收集在集尘室20中的异物可以容易地排放到集尘室20外。Therefore, when the
当清洁器10被对接到对接站100上时,集尘室20的至少一部分可以被设置成通过对接开口143插入到对接部140中。具体地,布置在集尘室20的本体22的一端处的集尘室门21可以被布置在设置在对接部140内的安置区域142中。At least a portion of the
因此,当清洁器10被对接到对接站100上时,集尘室门21在对接部140内打开,使得被收集在集尘室20中的异物可以在对接站100内排放,而不会散布到对接站100的外部。Therefore, when the cleaner 10 is docked on the
抽吸流动路径141可以从对接部140被连接到收集部150。抽吸流动路径141可以将由抽吸装置130产生的空气流传输到集尘室20。也就是说,由抽吸装置130产生的抽吸空气流穿过收集部150,然后沿抽吸流动路径141和安置区域142到达集尘室20内,并且抽吸空气流促使集尘室20内的异物沿空气流的流动从集尘室20排放到安置区域142,然后经由抽吸流动路径141被收集在收集部150中。The
收集部150可以包括收集部壳体151。收集部壳体151可以形成内部空间。收集部150可以包括集尘袋152,所述集尘袋被布置在收集部150的内部空间中并收集通过抽吸流动路径141引入的异物。The
集尘袋152由在阻挡异物的同时透过空气的材料形成,使得从集尘室20引入收集部150中的异物可以被收集。The
集尘袋152可以被直接连接到抽吸流动路径141,并且集尘袋152可以被设置成能够被从收集部150拆卸。The
虽然在附图中未示出,但是收集部150可以包括面板(未示出),所述面板能够与本体壳体110分离,使得当通过驱动对接站100而将异物收集在集尘袋152中时,用户从外部更换集尘袋152。用户可以分离面板(未示出)并打开收集部壳体151,以将集尘袋152与收集部150分离,并排放由对接站100收集的异物。Although not shown in the drawings, the
虽然在附图中未示出,但是收集部150可以包括除集尘袋152之外的额外的集尘室(未示出)。额外的集尘室(未示出)的内部空间可以被设置为大于集尘室20的内部空间,并且类似于集尘室20,可以包括旋风分离器以收集细小的异物。Although not shown in the drawings, the
抽吸装置130可以包括抽吸风扇131和抽吸装置壳体132,所述抽吸装置壳体形成其中布置有抽吸风扇431的内部空间。The
由抽吸风扇131形成的抽吸空气流可以从抽吸装置壳体132的内部空间移动,穿过收集部150和抽吸流动路径141,以最终被供应到集尘室20。The suction air flow formed by the
对接站100可以包括流量改变装置160,所述流量改变装置160被设置成选择性地改变供应到集尘室50的抽吸空气流的量。The
集尘室20内的空气和异物可以沿抽吸流动路径141通过集尘室20的集尘室门21被排放到外部,但是一些异物可能被集尘室20的内部部件捕获并且未被排放到外部。The air and foreign matter inside the
例如,诸如毛发之类的异物可能被捕获在集尘室20的内部部件中,并且因此未能借助于所产生的到达集尘室门21的下侧的抽吸空气流从集尘室20分离出,而是残留在集尘室20内。For example, foreign matter such as hair may be trapped in the internal parts of the
被输送到集尘室20内的抽吸空气流可能被形成为仅面向集尘室20的集尘室开口23敞开的方向。因此,一些异物可能对形成抽吸空气流的方向具有阻力,并且可能不能借助于抽吸空气流而与集尘室20分离。The suction air flow delivered into the
因此,集尘室20内的异物可能不能被有效地去除。Therefore, foreign matter in the
根据本公开的实施例的对接站100可以包括流量改变装置160,所述流量改变装置被设置成选择性地向集尘室20供应除抽吸空气流之外的额外的外部空气,以解决上文描述的限制。The
流量改变装置150可以在抽吸空气流正被供应到集尘室20内的同时改变集尘室20内的流量,使得集尘室20内的空气被抽吸装置130抽吸,从而以变化的方式改变集尘室20内的空气的流动。The flow
流量改变装置160可以被布置在本体壳体110内。流量改变装置160可以被布置在收集部150与抽吸装置130之间。具体地,流量改变装置160可以被布置在收集部150与连接有抽吸装置130的流动路径之间。The
然而,本公开不限于此,流量改变装置160可以被设置在收集部150与抽吸流动路径141之间。However, the present disclosure is not limited thereto, and the flow
抽吸装置130、流量改变装置160、收集部150和对接部140都可以被布置在本体壳体110内。The
可以相对于第一方向A顺序地布置充电部120、对接部140、收集部150、流量改变装置160和抽吸装置130。The charging
因此,对接站100可以被设置成在上下侧方向(即第一方向A)上延伸的箱形状。Therefore, the
如上文所描述的,灰尘收集容器20可以包括第一灰尘收集部20a和第二灰尘收集部20b,所述第一灰尘收集部主要进行灰尘收集以收集相对较大的异物,所述第二灰尘收集部20b通过旋风分离器24进行灰尘收集以收集相对较小的异物。As described above, the
第一灰尘收集部20a和第二灰尘收集部20b两者都可以被设置成在集尘室门21打开时向外敞开。在这种情况下,当灰尘收集容器门21打开时,第一灰尘收集部20a和第二灰尘收集部20b两者都可以被设置为向外敞开。Both the first
集尘室门21可以包括联接突起21a和帽部21b,所述联接突起21a被设置成联接至本体22,使得集尘室20被保持为封闭状态,所述帽部21b被配置成在集尘室20被封闭时防止被收集在第二灰尘收集部20b中的异物散布到外部。The dust collecting
集尘室门21可以在围绕旋转轴21c旋转的同时打开和封闭集尘室开口23,旋转轴21c布置在本体22的其中形成有集尘室开口23的一端的一侧处。The
旋转轴21c可以被布置在本体22的靠近手柄14的一侧处的一端上。也就是说,旋转轴21c可以相对于集尘室20的延伸轴线Y被布置在与布置有延伸管17的一侧相反的一侧处。The
这是为了在清洁器10被对接到对接站100上时允许旋转轴21c在第一方向A上被布置到集尘室20的上端上,如下文所描述的。This is to allow the
集尘室20可以包括固定构件25,所述固定构件25被布置在本体22的一端的另一侧上,并且支撑联接突起21a,以防止集尘室门21与本体22的所述一端分离。The
固定构件25可以与联接突起21a进行钩联接,以防止联接突起21a与本体22分离。The fixing
固定构件25可以包括推压部25a和钩部25a,所述推压部25a被设置成当被外力按压时被旋转以释放与联接突起21a的钩联接,所述钩部以与推压部25a相关联的方式与联接突起25a进行钩联接。The fixing
固定构件25可以包括弹性构件(未示出),所述弹性构件被设置成在固定构件25未被推压部25a按压时保持钩部25b与联接突起25a的钩联接状态。The fixing
所述弹性构件(未示出)可以被设置成在集尘室门21封闭的状态下被偏压,使得钩部25b在朝向联接突起21a的方向上被按压,从而使钩部25b与联接突起21a的钩联接被保持。The elastic member (not shown) may be configured to be biased in a state where the
当向推压部25a施加比弹性构件(未示出)的弹性力更大的力时,钩部25b与推压部25a相关联地旋转,并且钩部25b与联接突起21a的钩联接可以被释放。When a force greater than the elastic force of the elastic member (not shown) is applied to the
因此,当在与本体22的径向方向相反的方向上向推动部25a施加外力时,推动部25a可以在与本体22的径向方向相反的方向上旋转,因此,钩部25b可以在本体22的径向方向上旋转以在背离联接突起21a的方向上移动。Therefore, when an external force is applied to the pushing
因此,用户可以按压推压部25a以打开集尘室20,并将收集在集尘室20中的异物排放到集尘室20外。Accordingly, the user may press the
在下文中,将详细地描述其中清洁器10被对接在对接站100上以排放收集在集尘室20中的异物的技术特征。Hereinafter, technical features in which the cleaner 10 is docked on the
图5是在真空清洁器对接到根据公开的实施例的清洁设备中的对接站上之前真空清洁器的一部分的横截面透视图,图6是在真空清洁器对接到根据公开的实施例的清洁设备中的对接站上的状态下真空清洁器的一部分的横截面透视图,并且图7是当在真空清洁器对接到根据公开的实施例的清洁设备中的对接站上的状态中抽吸装置被驱动时真空清洁器的一部分的横截面透视图。5 is a cross-sectional perspective view of a portion of the vacuum cleaner before it is docked onto a docking station in a cleaning apparatus according to disclosed embodiments, and FIG. A cross-sectional perspective view of a portion of a vacuum cleaner in a state on a docking station in an apparatus, and FIG. 7 is a suction device when the vacuum cleaner is docked on a docking station in a cleaning apparatus according to disclosed embodiments A cross-sectional perspective view of a portion of a vacuum cleaner when driven.
如上文所描述的,集尘室20可以被对接在对接站100上,使得延伸轴线Y面向第二方向B。因此,集尘室20可以被对接在对接站100上,使得延伸轴线Y被布置在垂直于第一方向A(即重力方向)的方向上。As described above, the
当集尘室20的延伸轴线Y被布置在与重力方向相对应的方向上时,集尘室开口23可能被布置为向下敞开,并且集尘室门21可能被布置在集尘室20的下端处。在这种情况下,当固定构件25被按压时,集尘室门21可能通过重力与本体22分离,并在重力方向上围绕旋转轴21c旋转,从而导致集尘室开口23敞开。When the extension axis Y of the
然而,当集尘室20的延伸轴线Y的延伸方向被布置在垂直于重力方向的方向上时,如在本公开的实施例中那样,即使在固定构件25被按压时集尘室门21也可以保持封闭,除非产生额外的外力。However, when the extending direction of the extending axis Y of the
特别是,如上文所描述的,由于集尘室门21的旋转轴21c相对于集尘室20的延伸轴线Y被布置在与布置有延伸管17的一侧相反的一侧上,因此旋转轴21c可以被设置成当清洁器10被对接在对接站100上时在第一方向A上被布置在集尘室20的上端处,使得集尘室门21即使在可打开状态下也可以保持封闭而不受重力的影响。In particular, as described above, since the
也就是说,如图5和图6中示出的,由于集尘室20被对接在对接站100上使得集尘室20的延伸轴线Y面向第二方向B,因此即使在集尘室20的对接状态下固定构件25在对接部140内被按压时,集尘室门21也可以保持封闭状态。That is to say, as shown in FIGS. 5 and 6 , since the
对接部140可以包括打开引导件145,所述打开引导件145被设置成当集尘室20通过对接开口143被安置在安置空间142中时按压推压部25a,使得集尘室门21被设置成可打开状态。The
打开引导件145可以被布置在前内周向表面144上,所述前内周向表面144在第二方向B上被布置在安置空间142的前侧,并且在安置空间142的一位置处形成所述对接开口143,对接开口143在该位置处被连接。The
根据本公开的实施例,打开引导件145可以被形成为前内周向表面144的部分区域。然而,本公开不限于此,并且打开引导件145可以被设置为从前内周向表面144朝向中心突出的区域或突出表面,或者被设置为从内周向表面朝向中心突出的突起、肋等的形状。According to an embodiment of the present disclosure, the
前内周向表面144可以被设置成具有基本上与本体22的外周向表面相对应的尺寸。具体地,对接开口143的内周向表面的圆周和集尘室本体22的圆周可以被设置为基本上相同。The front inner
也就是说,当集尘室20被对接到对接站100上时,前内周向表面144和本体22的外周向表面可以被设置成以在其间具有预定距离的方式彼此面向。That is, when the
因此,当集尘室20通过对接开口143被安置在安置空间142中时,集尘室20可以使本体22的外周向表面沿前内周向表面144在第二方向B上移动。Accordingly, when the
在这种情况下,从本体22的外周向表面向外突出的推压部25a可以被压靠在打开引导件145上。In this case, the
具体地,当集尘室20在第二方向B上移动时,布置在本体22的外周向表面外的推压部25a沿第一方向A被打开引导件14按压,这使推压部25a与本体22的外周向表面的径向方向相反地旋转,使得钩部25b与联接突起21a之间的钩联接被释放,由此将集尘室门21设置成可打开状态。Specifically, when the
然而,如上文所描述的,集尘室门21被保持在可打开状态而不被打开,除非产生额外的外力。However, as described above, the
集尘室20可以包括垫圈26,所述垫圈位于在集尘室门21上以密封集尘室门21与本体22的内周向表面22a之间的空间。垫圈26可以由诸如橡胶之类的弹性材料形成,以密封本体22的内周向表面22a与集尘室门21之间的空间,从而防止被收集在集尘室20中的异物散布到外部。The
如上文所描述的,由于垫圈26由弹性材料形成,因此当集尘室门21处于封闭状态时,垫圈26可以被朝向本体22的内周向表面22a偏置或偏压。As described above, since the
也就是说,垫圈26相对于本体22的中心在本体22的径向方向上被偏置或偏压,使得当集尘室门21上没有外力时,垫圈26可以弹性地支撑集尘室门21,以防止集尘室门21被从本体22上打开。That is, the
因此,即使当固定构件25被打开引导件145按压时,也防止集尘室门21与本体22分离。Accordingly, even when the fixing
此后,如图7中示出的,当驱动抽吸装置130并且抽吸空气流通过安置空间142流入到集尘室20中时,抽吸空气流向集尘室门21提供沿打开集尘室门21的方向的外力,使得集尘室门21被打开,并且使得收集在集尘室20中的异物通过安置空间142流入到收集部150中并且因而被收集在收集部150中。Thereafter, as shown in FIG. 7, when the
安置空间142可以被设置成允许集尘室20被插入其中并允许集尘室门21在安置空间142内旋转。The
对接部140可以包括流动路径引导件145,所述流动路径引导件145在沿第二方向B与对接开口143相反的一侧被布置在安置空间142中,并且被形成为弯曲表面。The
流动路径引导件可以被设置成弯曲形状,在该弯曲形状中被连接成在第二方向B上延伸的流动路径引导件被连接成在第一方向A上延伸。The flow path guides may be provided in a curved shape in which flow path guides connected to extend in the second direction B are connected to extend in the first direction A. FIG.
如上文所描述的,由于对接开口143被形成为朝向第二方向B并且抽吸装置130在第一方向A上被布置在对接部140下方,因此由抽吸装置130产生并流向集尘室20的抽吸空气流可能与第一方向A和第二方向B在其中相互交叉的部分碰撞,这导致噪声或压力损失。As described above, since the
流动路径引导件145可以在安置空间142中形成在沿第二方向B与对接开口143相反的一侧(该侧是第一方向A与第二方向B在其中相互交叉的部分),以引导抽吸空气流,使得在第一方向A上流动的抽吸空气流在第二方向B上平滑地流动,或者反之亦然。The flow path guide 145 may be formed in the
在下文中,将描述根据本公开的另一实施例的清洁设备1。除了集尘室20之外,本实施例的部件与根据上文描述的实施例的清洁设备的部件相同,因此将省略其描述。Hereinafter, a
图8是在根据本公开另一实施例的清洁设备中在真空清洁器对接到对接站上之前真空清洁器的一部分的横截面透视图。图9是在根据本公开另一实施例的清洁设备中在真空清洁器对接到对接站上之前真空清洁器的一部分的横截面透视图。8 is a cross-sectional perspective view of a portion of a vacuum cleaner before it is docked onto a docking station in a cleaning apparatus according to another embodiment of the present disclosure. 9 is a cross-sectional perspective view of a portion of a vacuum cleaner before it is docked onto a docking station in a cleaning apparatus according to another embodiment of the present disclosure.
参考图8,集尘室20可以包括布置在集尘室门21的旋转轴21c上的弹性构件27。Referring to FIG. 8 , the
弹性构件27可以被设置成与扭转弹簧相同的形状。The
弹性构件27可以被设置成使集尘室门21被朝向本体22偏置或偏压。The
因此,即使当由于集尘室20的固定构件25正被按压而使集尘室门21被设置成可打开状态时,由弹性构件27弹性支撑的集尘室门21也可以保持封闭,除非外力被产生。Therefore, even when the
然而,在这种情况下,当由抽吸装置130产生抽吸空气流时,抽吸空气流向集尘室门21提供沿打开集尘室门21的方向的外力,使得集尘室门21被打开,并且使得收集在灰尘收集容器20中的异物通过安置空间142流入到收集部150中并且因而被收集在收集部150中。However, in this case, when the suction air flow is generated by the
另外,参考图9,集尘室20可以包括分别布置在本体22和集尘室门21上的一对磁性构件28。In addition, referring to FIG. 9 , the
所述一对磁性构件28中的第一磁性构件28a可以被布置在本体22上,所述一对磁性构件28中的第二磁性构件28b可以被布置在集尘室门21上。A first
因此,即使当由于集尘室20的固定构件25正被按压而使集尘室门21被设置成可打开状态时,由所述一对磁性构件28磁性地支撑的集尘室门21也可以保持封闭,除非外力被产生。Therefore, even when the
然而,在这种情况下,当由抽吸装置130产生抽吸空气流时,抽吸空气流向集尘室门21提供沿打开集尘室门21的方向的外力,使得集尘室门21被打开,并且使得收集在灰尘收集容器20中的异物通过安置空间142流入到收集部150中并且因而被收集在收集部150中。However, in this case, when the suction air flow is generated by the
在下文中,将描述根据本公开的另一实施例的清洁设备1。除了打开引导件之外,该实施例的部件与根据上文描述的实施例的清洁设备的部件相同,因此将省略其描述。Hereinafter, a
图10是在真空清洁器对接到根据公开的另一实施例的清洁设备中的对接站上的状态下真空清洁器的一部分的横截面透视图,并且图11是对接到根据公开的另一实施例的清洁设备中的对接站上的真空清洁器的一部分的横截面透视图,其中打开引导件被驱动。10 is a cross-sectional perspective view of a portion of the vacuum cleaner docked to a docking station in a cleaning apparatus according to another embodiment of the disclosure, and FIG. A cross-sectional perspective view of a portion of a vacuum cleaner on a docking station in an example cleaning apparatus with the opening guide actuated.
由于固定构件25响应于集尘室20正被对接到对接站状态1000上而被按压,因此灰尘收集门21可以被保持在可打开状态。在这种情况下,如上文所描述的,当在集尘室门21上没有外力时,集尘室门21不被打开。Since the fixing
然而,当不希望的外力施加到对接站100时,外力被施加到集尘室门21,使得集尘室门21可能被打开,并且收集在集尘室20中的异物可能散布到外部。However, when an undesired external force is applied to the
也就是说,在抽吸装置130未被驱动的状态下,当集尘室门21被抽吸空气流以外的外力打开时,收集在集尘室20中的异物可能散布到对接站100的外部。That is, in a state where the
对接站100可以被设置成当清洁器10被对接时执行对清洁器10的电池16充电的充电模式、和驱动抽吸装置130以排放集尘室20内的异物的抽吸模式两者,或者执行充电模式和抽吸模式中的一种。The
也就是说,用户可以控制对接站100,使得当清洁器10被对接到对接站100上时仅执行充电模式。当集尘室门21在抽吸模式不操作的状态下打开时,异物可能散布到外部。That is, the user may control the
为了解决这种限制,根据本公开的实施例的对接站100可以包括打开引导件147,所述打开引导件允许对接的集尘室20的固定构件25仅在抽吸装置130被驱动时被按压。To address this limitation, the
打开引导件147可以被设置成从前内周向表面144朝向前内周向表面144的中心突出的突起或肋的形状。The
当集尘室20通过对接开口143被插入到对接部140中并被对接时,打开引导件147可以远离集尘室20的固定构件25设置在对接部140在第二方向B上的的内侧。When the
因此,打开引导件147可以被设置成在集尘室20被对接的状态下防止固定构件25被按压。Accordingly, the
因此,由于即使在集尘室20被对接到对接部140上时固定构件25也不被按压,因此防止集尘室门21被外力打开。Accordingly, since the fixing
对接部140可以包括与打开引导件147互相作用以驱动打开引导件147的驱动装置148。The
驱动装置148可以根据来自对接站100的控制器(未示出)的信号驱动打开引导件147以在第二方向B上平移所述打开引导件147。The
当抽吸装置130被驱动时,驱动装置148可以在接收到来自对接站100的控制器(未示出)的信号时驱动打开引导件147在第二方向B上向前移动。When the
驱动装置148可以被设置成各种配置,如马达、电磁阀等。The
当打开引导件147向前移动时,打开引导件147可以被设置成按压固定构件25,从而使集尘室门21被设置成可打开状态。When the
因此,打开引导件147和驱动装置148可以允许固定构件25被选择性地按压,使得集尘室门21仅在抽吸装置130被驱动时才被打开。因此,防止收集在集尘室20中的异物无意中散布到外部。Accordingly, the
另外,虽然在附图中未示出,但是驱动装置148可以被设置成由用户直接控制。也就是说,除了根据抽吸装置130的驱动来控制对接站100的控制器(未示出)之外,用户可以单独地输入用于驱动所述驱动装置148的信号以驱动所述驱动装置148。Additionally, although not shown in the drawings, the
用户可以将驱动装置148的驱动信号输入到对接站100的控制器(未示出),使得用户可以与抽吸装置130的驱动分开地控制驱动装置148。A user may input a driving signal of the
此外,本公开不限于此,并且为了使用户使用物理力、通过设置成与打开引导件147互相作用的中间构件(未示出)直接移动所述打开引导件147,本公开可以包括与中间构件(未示出)互相作用的按钮(未示出)等。Furthermore, the present disclosure is not limited thereto, and in order for the user to directly move the
按钮(未示出)可以被布置在本体壳体110的一侧上,以允许用户通过所述打开引导件147容易地打开集尘室门21。A button (not shown) may be disposed on one side of the
在下文中,将描述根据本公开的另一实施例的清洁设备1。除了对接站之外,与根据上文描述的实施例的清洁设备的部件相同,因此将省略其描述。Hereinafter, a
图12是图示出根据本公开的另一实施例的清洁设备的真空清洁器对接到对接站上的状态的视图。FIG. 12 is a view illustrating a state in which a vacuum cleaner of a cleaning apparatus is docked to a docking station according to another embodiment of the present disclosure.
参考图12,对接站200的本体壳体210可以被设置成具有在第一方向A上延伸的长轴线。Referring to FIG. 12 , the
与本公开的上述实施例不同,本体壳体210的对接表面211可以被设置成具有在相对于第一方向A具有倾角的第三方向D上延伸的长轴线。Unlike the above-described embodiments of the present disclosure, the
因此,对接表面211可以被设置成在相对于第一方向A(即上下侧方向)倾斜的方向上延伸。Therefore, the
由于对接空间211包括对接开口143,集尘室20插入到对接开口143中,因此清洁器10可以在对接站200中的对接表面211的方向上被对接到对接站100上。清洁器10可以被设置成在垂直于第三方向D的第四方向E上被对接到对接站200上。第四方向E可以被设置在相对于第二方向B倾斜的方向上。Since the
清洁器10可以在垂直于对接表面211的长轴线在对接站200中延伸的方向的方向上被对接到对接站200上。清洁器10可以被设置成在垂直于第三方向D的第四方向E上被对接到对接站200上。The cleaner 10 may be docked onto the
由于清洁器10被对接到对接站200上的方向被设置在相对于第二方向B(第二方向B是水平方向)倾斜的第四方向E上,因此用户可以容易地将清洁器10对接到对接站200上。Since the direction in which the cleaner 10 is docked to the
虽然已经示出和描述了本公开的具体实施例,但是上文的实施例仅用于说明性目的,并且本领域技术人员将理解,可以在不脱离本公开的原理和范围的情况下在这些实施例中进行改变和修改,本公开的保护范围在权利要求书及其等同物中被限定。While specific embodiments of the present disclosure have been shown and described, the above embodiments are for illustrative purposes only, and those skilled in the art will appreciate that other embodiments may be used in these embodiments without departing from the principles and scope of the present disclosure. Changes and modifications are made in the embodiments, and the protection scope of the present disclosure is defined in the claims and their equivalents.
| Application Number | Priority Date | Filing Date | Title |
|---|---|---|---|
| KR1020200082178AKR102566393B1 (en) | 2020-07-03 | 2020-07-03 | Cleaning device having vacuum cleaner and docking station |
| KR10-2020-0082178 | 2020-07-03 | ||
| PCT/KR2021/005933WO2022005013A1 (en) | 2020-07-03 | 2021-05-12 | Cleaning device comprising vacuum cleaner and docking station |
| Publication Number | Publication Date |
|---|---|
| CN115734735Atrue CN115734735A (en) | 2023-03-03 |
| Application Number | Title | Priority Date | Filing Date |
|---|---|---|---|
| CN202180046785.4APendingCN115734735A (en) | 2020-07-03 | 2021-05-12 | Cleaning apparatus including a vacuum cleaner and docking station |
| Country | Link |
|---|---|
| US (1) | US20230146588A1 (en) |
| EP (2) | EP4154786B1 (en) |
| KR (5) | KR102566393B1 (en) |
| CN (1) | CN115734735A (en) |
| ES (1) | ES2999326T3 (en) |
| WO (1) | WO2022005013A1 (en) |
| Publication number | Priority date | Publication date | Assignee | Title |
|---|---|---|---|---|
| WO2024216567A1 (en)* | 2023-04-20 | 2024-10-24 | Sharkninja Operating Llc | Vacuum cleaner |
| CN119326321A (en)* | 2023-07-19 | 2025-01-21 | 江苏美的清洁电器股份有限公司 | Cleaning system |
| US12433461B2 (en) | 2022-07-05 | 2025-10-07 | Sharkninja Operating Llc | Vacuum cleaner |
| Publication number | Priority date | Publication date | Assignee | Title |
|---|---|---|---|---|
| KR102566393B1 (en)* | 2020-07-03 | 2023-08-14 | 삼성전자주식회사 | Cleaning device having vacuum cleaner and docking station |
| KR20220046312A (en)* | 2020-10-07 | 2022-04-14 | 엘지전자 주식회사 | Cleaner station, cleaner system including same, and residual dust removal method using the cleaner system |
| KR102406189B1 (en)* | 2020-10-07 | 2022-06-10 | 엘지전자 주식회사 | Cleaner system |
| KR102440910B1 (en)* | 2021-01-13 | 2022-09-07 | 엘지전자 주식회사 | Cleaner station, cleaner system and controlling method thereof |
| KR20220115253A (en)* | 2021-02-10 | 2022-08-17 | 삼성전자주식회사 | Cleaning device having vacuum cleaner and docking station |
| KR20220117591A (en) | 2021-02-17 | 2022-08-24 | 엘지전자 주식회사 | Cleaner station |
| KR20220127060A (en)* | 2021-03-10 | 2022-09-19 | 삼성전자주식회사 | Cleaning device including vacuum cleaner and docking station |
| CN112971625A (en)* | 2021-04-19 | 2021-06-18 | 上海耐柯环保科技有限公司 | Dust collector for robot |
| KR102792001B1 (en) | 2021-06-23 | 2025-04-08 | 엘지전자 주식회사 | Cleaner station |
| KR102376262B1 (en)* | 2021-08-30 | 2022-03-21 | (주) 캐치웰 | Cleaning apparatus with automatic electric charging and dust discharging |
| CN113693482B (en)* | 2021-09-13 | 2025-02-18 | 广东一沐科技有限公司 | A handheld wireless dust collecting vacuum cleaner |
| CN220144215U (en) | 2021-11-05 | 2023-12-08 | 尚科宁家运营有限公司 | Surface cleaning device |
| WO2023113225A1 (en)* | 2021-12-13 | 2023-06-22 | 삼성전자 주식회사 | Dust collection device, vacuum cleaner, and cleaning device |
| KR20230089397A (en) | 2021-12-13 | 2023-06-20 | 엘지전자 주식회사 | dust collecting device for vacuum cleaner |
| KR20230089396A (en) | 2021-12-13 | 2023-06-20 | 엘지전자 주식회사 | dust collecting device for vacuum cleaner |
| KR20230089620A (en) | 2021-12-13 | 2023-06-21 | 엘지전자 주식회사 | dust collecting device |
| KR20230089399A (en) | 2021-12-13 | 2023-06-20 | 엘지전자 주식회사 | dust collecting device |
| KR20230089402A (en) | 2021-12-13 | 2023-06-20 | 엘지전자 주식회사 | dust collecting device |
| KR20230089400A (en) | 2021-12-13 | 2023-06-20 | 엘지전자 주식회사 | dust collecting device |
| KR20230089401A (en) | 2021-12-13 | 2023-06-20 | 엘지전자 주식회사 | dust collecting device |
| KR20230089403A (en) | 2021-12-13 | 2023-06-20 | 엘지전자 주식회사 | dust collecting device for vacuum cleaner |
| KR20230089398A (en) | 2021-12-13 | 2023-06-20 | 엘지전자 주식회사 | dust collecting device having the air cleaner and air cleaner |
| KR102672230B1 (en)* | 2022-03-11 | 2024-06-05 | 엘지전자 주식회사 | Station for cleaner |
| EP4434425A1 (en) | 2022-05-31 | 2024-09-25 | Samsung Electronics Co., Ltd. | Station device and operation method of station device |
| WO2024191240A1 (en)* | 2023-03-16 | 2024-09-19 | 삼성전자 주식회사 | Dust collector, vacuum cleaner, and cleaning apparatus |
| US20250057373A1 (en)* | 2023-08-14 | 2025-02-20 | Omachron Intellectual Property Inc. | Surface cleaning apparatus and docking station usable therewith |
| KR20250046721A (en)* | 2023-09-27 | 2025-04-03 | 엘지전자 주식회사 | Cleaner station |
| KR20250078059A (en)* | 2023-11-24 | 2025-06-02 | 엘지전자 주식회사 | Cleaner station |
| KR102715272B1 (en) | 2024-04-30 | 2024-10-11 | 주식회사 미래가디언 | A wireless cleaning device that automatically empties dust |
| Publication number | Priority date | Publication date | Assignee | Title |
|---|---|---|---|---|
| KR20060107624A (en)* | 2005-04-11 | 2006-10-16 | 엘지전자 주식회사 | Dust collection unit of vacuum cleaner |
| KR20070074146A (en)* | 2006-01-06 | 2007-07-12 | 삼성전자주식회사 | Cleaner system |
| EP2027806A1 (en)* | 2006-04-04 | 2009-02-25 | Samsung Electronics Co., Ltd. | Robot cleaner system having robot cleaner and docking station |
| KR101330734B1 (en)* | 2007-08-24 | 2013-11-20 | 삼성전자주식회사 | Robot cleaner system having robot cleaner and docking station |
| IL228523A0 (en)* | 2013-09-17 | 2014-03-31 | Nds Ltd | Private data processing in a cloud-based environment |
| WO2015129387A1 (en)* | 2014-02-27 | 2015-09-03 | 三菱電機株式会社 | Electric vacuum cleaner |
| DE102014119191A1 (en)* | 2014-12-19 | 2016-06-23 | Vorwerk & Co. Interholding Gmbh | Base station for a vacuum cleaner |
| WO2017047291A1 (en)* | 2015-09-14 | 2017-03-23 | 東芝ライフスタイル株式会社 | Electric cleaning device |
| KR102603585B1 (en)* | 2016-05-09 | 2023-11-20 | 엘지전자 주식회사 | Charging device for cleaner |
| US10464746B2 (en)* | 2016-12-28 | 2019-11-05 | Omachron Intellectual Property Inc. | Dust and allergen control for surface cleaning apparatus |
| KR102519650B1 (en)* | 2017-03-03 | 2023-04-10 | 엘지전자 주식회사 | Supporting device for cleaner and cleaner unit |
| DE202018103929U1 (en)* | 2018-07-10 | 2018-07-18 | New Icon Development Limited | Combination of a hand vacuum cleaner and a receiving station |
| KR102166773B1 (en)* | 2018-12-14 | 2020-10-16 | 삼성전자주식회사 | Cleaning device having vacuum cleaner and docking station |
| KR20200073966A (en)* | 2018-12-14 | 2020-06-24 | 삼성전자주식회사 | Cleaning device having vacuum cleaner and docking station |
| KR102566393B1 (en)* | 2020-07-03 | 2023-08-14 | 삼성전자주식회사 | Cleaning device having vacuum cleaner and docking station |
| Publication number | Priority date | Publication date | Assignee | Title |
|---|---|---|---|---|
| US12433461B2 (en) | 2022-07-05 | 2025-10-07 | Sharkninja Operating Llc | Vacuum cleaner |
| WO2024216567A1 (en)* | 2023-04-20 | 2024-10-24 | Sharkninja Operating Llc | Vacuum cleaner |
| CN119326321A (en)* | 2023-07-19 | 2025-01-21 | 江苏美的清洁电器股份有限公司 | Cleaning system |
| Publication number | Publication date |
|---|---|
| KR20250077406A (en) | 2025-05-30 |
| KR20220016265A (en) | 2022-02-08 |
| EP4467051A3 (en) | 2025-02-26 |
| KR20230121703A (en) | 2023-08-21 |
| ES2999326T3 (en) | 2025-02-25 |
| EP4154786A1 (en) | 2023-03-29 |
| KR20240127317A (en) | 2024-08-22 |
| KR102470035B1 (en) | 2022-11-25 |
| EP4154786C0 (en) | 2024-11-20 |
| KR20210002057A (en) | 2021-01-06 |
| EP4467051A2 (en) | 2024-11-27 |
| EP4154786B1 (en) | 2024-11-20 |
| WO2022005013A1 (en) | 2022-01-06 |
| US20230146588A1 (en) | 2023-05-11 |
| KR102566393B1 (en) | 2023-08-14 |
| EP4154786A4 (en) | 2023-12-27 |
| KR102809917B1 (en) | 2025-05-22 |
| Publication | Publication Date | Title |
|---|---|---|
| CN115734735A (en) | Cleaning apparatus including a vacuum cleaner and docking station | |
| CN113226142B (en) | Robot cleaner, station and cleaning system | |
| CN112168071B (en) | Robot cleaner workstation | |
| KR102730954B1 (en) | Robot cleaner, station and cleaning system | |
| TWI664945B (en) | Vacuum cleaner | |
| EP3893709B1 (en) | Robot cleaner | |
| EP1674009B1 (en) | Vacuum cleaner | |
| CN107811578A (en) | Emptying station | |
| CN106175587B (en) | Robot cleaner | |
| JP2005161091A (en) | Suction cleaning apparatus | |
| JP2010508884A (en) | Vacuum cleaning method | |
| TWI626032B (en) | Vacuum cleaner | |
| WO2023286294A1 (en) | Cleaning system and base for placement of electric vacuum cleaner | |
| JP7538758B2 (en) | Cleaning system | |
| CN102908104B (en) | Electric dust collector | |
| CN111938500A (en) | Electric vacuum cleaner and its dust collector | |
| CN109717791B (en) | Electric dust collector | |
| KR102694203B1 (en) | Cleaner | |
| KR20250011507A (en) | Vacuum cleaner | |
| KR20240009277A (en) | Cleaning device having cleaner and station | |
| CN112401745A (en) | Vacuum cleaner | |
| KR100577276B1 (en) | Vacuum cleaner |
| Date | Code | Title | Description |
|---|---|---|---|
| PB01 | Publication | ||
| PB01 | Publication | ||
| SE01 | Entry into force of request for substantive examination | ||
| SE01 | Entry into force of request for substantive examination |