








技术领域technical field
本发明属于物品保鲜技术领域,具体提供了一种磁场保鲜装置和风冷式制冷设备。The invention belongs to the technical field of article preservation, and specifically provides a magnetic field preservation device and air-cooled refrigeration equipment.
背景技术Background technique
风冷式制冷设备(例如风冷式冰箱)是一种通过冷风对被储藏物(包括食材、药品、酒水、生物试剂、菌落、化学试剂等)进行冷冻、冷藏、保鲜的设备。现有的风冷式制冷设备通常包括储物间格和抽屉,以满足用户不同的储物需求。Air-cooled refrigeration equipment (such as air-cooled refrigerators) is a device that freezes, refrigerates, and preserves stored items (including food materials, medicines, drinks, biological reagents, bacterial colonies, chemical reagents, etc.) through cold air. Existing air-cooled refrigeration equipment usually includes storage compartments and drawers to meet different storage requirements of users.
为了使被储藏物能够被快速冷却,现有的风冷式制冷设备一般都是直接将冷风从后背板内的主风道引入抽屉,使冷风对被储藏物(例如食材)进行直吹。但是该种冷风直吹的方式,不利于食材的保鲜和冷藏,甚至会使不需要冷冻的食材上冻,影响用户的使用体验。In order to quickly cool the stored items, the existing air-cooled refrigeration equipment generally directly introduces cold air into the drawer from the main air duct in the back panel, so that the cold air is directly blown on the stored items (such as food materials). However, the way of direct blowing of cold air is not conducive to the preservation and refrigeration of ingredients, and even freezes ingredients that do not need to be frozen, which affects the user experience.
发明内容Contents of the invention
本发明的一个目的是,在保证抽屉内食材不被冻结的情况下,使食材能够被快速制冷。One object of the present invention is to enable the food to be refrigerated quickly while ensuring that the food in the drawer is not frozen.
为实现上述目的,本发明提供了一种磁场保鲜装置,其应用于风冷式制冷设备,所述磁场保鲜装置包括容器组件、抽屉和磁体组件,所述容器组件具有:In order to achieve the above object, the present invention provides a magnetic field fresh-keeping device, which is applied to air-cooled refrigeration equipment, the magnetic field fresh-keeping device includes a container assembly, a drawer and a magnet assembly, and the container assembly has:
抽屉容纳腔,其用于容纳所述抽屉;a drawer-accommodating chamber for accommodating the drawer;
磁体容纳腔,其用于容纳所述磁体组件的至少一部分;a magnet housing cavity for housing at least a portion of the magnet assembly;
进风通道,其用于使冷风进入所述磁体容纳腔;an air intake channel, which is used to allow cold air to enter the magnet accommodating cavity;
多个微孔,其用于使所述磁体容纳腔内的冷风进入所述抽屉容纳腔,所述微孔的直径不大于10mm;A plurality of microholes, which are used to allow the cold air in the magnet accommodating chamber to enter the drawer accommodating chamber, and the diameter of the microholes is not greater than 10mm;
回风口,其用于使所述抽屉容纳腔内的空气流出所述抽屉容纳腔。The air return port is used to make the air in the drawer accommodation chamber flow out of the drawer accommodation chamber.
可选地,多个所述微孔中的至少一部分微孔被设置在所述抽屉的顶侧,以使从所述至少一部分微孔流出的冷风直接吹向所述抽屉内的被储藏物。Optionally, at least a part of the plurality of micro holes is arranged on the top side of the drawer, so that the cold air flowing from the at least part of the micro holes directly blows to the stored items in the drawer.
可选地,所述微孔的直径不大于1mm;并且/或者,所述至少一部分微孔被设置为多个微孔组,每一个微孔组包括至少两个所述微孔,每一个所述微孔组配置成,使从其流出的多股气流彼此对冲。Optionally, the diameter of the micropores is not greater than 1mm; and/or, the at least a part of the micropores is arranged as a plurality of micropore groups, each micropore group includes at least two of the micropores, and each of the micropores The set of microholes is configured such that the plurality of airflows flowing therefrom oppose each other.
可选地,所述磁体容纳腔包括设置在所述抽屉容纳腔相对两侧的第一磁体容纳腔和第二磁体容纳腔,所述进风通道通过所述第一磁体容纳腔和所述第二磁体容纳腔将冷风送入所述抽屉容纳腔中;所述磁体组件包括设置在所述第一磁体容纳腔内的第一电磁线圈和/或第一永磁体以及设置在所述第二磁体容纳腔内的第二电磁线圈和/或第二永磁体。Optionally, the magnet accommodating cavity includes a first magnet accommodating cavity and a second magnet accommodating cavity arranged on opposite sides of the drawer accommodating cavity, and the air inlet channel passes through the first magnet accommodating cavity and the second magnet accommodating cavity. Two magnet accommodating chambers send cold air into the drawer accommodating chamber; the magnet assembly includes a first electromagnetic coil and/or a first permanent magnet arranged in the first magnet accommodating chamber and a first permanent magnet arranged in the second magnet The second electromagnetic coil and/or the second permanent magnet in the accommodation cavity.
可选地,所述第一磁体容纳腔设置在所述抽屉容纳腔的顶侧,所述第二磁体容纳腔设置在所述抽屉容纳腔的底侧。Optionally, the first magnet accommodating chamber is arranged on the top side of the drawer accommodating chamber, and the second magnet accommodating chamber is arranged on the bottom side of the drawer accommodating chamber.
可选地,所述多个微孔设置在所述第一磁体容纳腔的底壁上;所述容器组件还具有进风口,所述进风口设置在所述第二磁体容纳腔的顶壁上,所述第二磁体容纳腔通过所述进风口与所述抽屉容纳腔连通。Optionally, the plurality of microholes are arranged on the bottom wall of the first magnet accommodating chamber; the container assembly also has an air inlet, and the air inlet is arranged on the top wall of the second magnet accommodating chamber , the second magnet accommodating cavity communicates with the drawer accommodating cavity through the air inlet.
可选地,所述多个微孔设置在所述第一磁体容纳腔的底壁上;所述容器组件还具有连通通道,所述连通通道的一端与所述第一磁体容纳腔连通,所述连通通道的另一端与所述第二磁体容纳腔连通。Optionally, the plurality of microholes are arranged on the bottom wall of the first magnet accommodation cavity; the container assembly also has a communication channel, one end of the communication channel communicates with the first magnet accommodation cavity, and the The other end of the communication channel communicates with the second magnet accommodating cavity.
可选地,所述磁体组件还包括第一导磁构件和第二导磁构件,所述第一导磁构件与所述第一电磁线圈和/或所述第一永磁体相对应,所述第二导磁构件与所述第二电磁线圈和/或所述第二永磁体相对应。Optionally, the magnet assembly further includes a first magnetically permeable member and a second magnetically permeable member, the first magnetically permeable member corresponds to the first electromagnetic coil and/or the first permanent magnet, the The second magnetically conductive member corresponds to the second electromagnetic coil and/or the second permanent magnet.
可选地,所述磁体组件还包括将所述第一导磁构件和所述第二导磁构件连接到一起的导磁连接件。Optionally, the magnet assembly further includes a magnetically conductive connector connecting the first magnetically conductive member and the second magnetically conductive member together.
此外,本发明还提供了一种风冷式制冷设备,包括前述技术方案中任一项所述的磁场保鲜装置。In addition, the present invention also provides an air-cooled refrigeration device, including the magnetic field fresh-keeping device described in any one of the foregoing technical solutions.
基于前文的描述,本领域技术人员能够理解的是,在本发明前述的技术方案中,通过将多个微孔中的至少一部分微孔设置在抽屉的顶侧,使得该至少一部分微孔流出的冷风直接吹向抽屉内的被储藏物,从而对被储藏物进行快速制冷。同时,由于微孔的直径不大于10mm,使得冷风在通过微孔时,能够被微孔阻碍,从而降低了冷风的风速,避免了冷风在风速较大时带走被储藏物大量的热量,进而避免了被储藏物(尤其是高端食材)结冰的情形。Based on the foregoing description, those skilled in the art can understand that, in the aforementioned technical solutions of the present invention, by arranging at least a part of the microholes on the top side of the drawer, the at least part of the microholes flow out The cold air blows directly to the stored objects in the drawer, so as to rapidly cool the stored objects. At the same time, because the diameter of the micropores is not greater than 10mm, the cold wind can be blocked by the micropores when passing through the micropores, thereby reducing the wind speed of the cold wind and preventing the cold wind from taking away a large amount of heat from the stored objects when the wind speed is high, thereby It avoids the freezing situation of stored objects (especially high-end ingredients).
本领域技术人员还可以根据需要,由于磁场能够抑制微生物和霉菌的生长,延长食材的储藏周期。并且,磁场在一定程度上能够限制水分子的自由程,具体表现为水分子蔟中的氢键断裂,使得水在相变过程中,晶核生长受到抑制,结冰温度降低。因此,本发明通过设置磁体组件,使得磁场保鲜装置能够通过磁体组件产生的磁场来辅助磁场保鲜装置对食材进行保鲜,不仅延长了食材的保鲜时间,而且还降低了食材的结冰温度,使得食材在更低的温度下也不会结冰,从而进一步避免了食材结冰。Those skilled in the art can also extend the storage period of food materials as required because the magnetic field can inhibit the growth of microorganisms and molds. Moreover, the magnetic field can limit the free path of water molecules to a certain extent, which is specifically manifested in the breaking of hydrogen bonds in the water molecule cluster, so that the growth of crystal nuclei is inhibited during the phase transition process of water, and the freezing temperature is lowered. Therefore, the present invention sets the magnet assembly so that the magnetic field preservation device can assist the magnetic field preservation device to preserve the food through the magnetic field generated by the magnet assembly, which not only prolongs the preservation time of the food, but also reduces the freezing temperature of the food, making the food It will not freeze at lower temperatures, further preventing ingredients from freezing.
进一步,通过设置磁体容纳腔来容纳磁体组件的至少一部分,设置将冷风引入磁体容纳腔内的进风通道,以及设置将磁体容纳腔内的冷风引入抽屉容纳腔的多个微孔,使得外界的冷风能够先流经磁体容纳腔,对磁体组件进行冷却,然后再进入抽屉容纳腔,冷却抽屉内的被储藏物。因此,本发明的磁场保鲜装置和/或风冷式制冷设备能够有效地冷却磁体组件,避免了磁体组件因温升过高,而影响抽屉内被储藏物的冷藏、保鲜效果。Further, by arranging the magnet accommodating cavity to accommodate at least a part of the magnet assembly, setting the air inlet channel for introducing cold wind into the magnet accommodating cavity, and setting a plurality of microholes for introducing the cold wind in the magnet accommodating cavity into the drawer accommodating cavity, so that the external The cold air can first flow through the magnet accommodating cavity to cool the magnet assembly, and then enter the drawer accommodating cavity to cool the stored objects in the drawer. Therefore, the magnetic field fresh-keeping device and/or air-cooled refrigeration equipment of the present invention can effectively cool the magnet assembly, avoiding that the temperature rise of the magnet assembly is too high, which affects the refrigeration and fresh-keeping effect of the stored items in the drawer.
再进一步,通过将至少一部分微孔设置为多个微孔组,并使每一个微孔组包括至少两个微孔,以及使每一个微孔组流出的多股气流彼此对冲,使得气流被对冲之后能够发散开来,进而均匀地吹射到抽屉内的被储藏物上,使被储藏物各个部分都能够接收到冷风,从而使被储藏物被冷却得更加均匀。Still further, by setting at least a part of the microholes as a plurality of microhole groups, and making each microhole group include at least two microholes, and making the multiple airflows flowing out of each microhole group counteract each other, so that the airflow is counteracted Afterwards, it can spread out, and then evenly blow on the stored objects in the drawer, so that all parts of the stored objects can receive the cold wind, so that the stored objects can be cooled more evenly.
更进一步,采用本发明技术方案的冰箱,能够在冰箱内形成磁场,从而能够提高冰箱的储物质量,为智能冰箱提供新的保鲜功能,满足了用户对智能冰箱日益提高的使用需求,提升了用户智慧家庭、智能生活的品质。Furthermore, the refrigerator adopting the technical solution of the present invention can form a magnetic field in the refrigerator, thereby improving the storage quality of the refrigerator, providing a new fresh-keeping function for the smart refrigerator, satisfying the increasing demand of users for smart refrigerators, and improving the The quality of the user's smart home and smart life.
根据下文结合附图对本发明具体实施例的详细描述,本领域技术人员将会更加明了本发明的上述以及其他目的、优点和特征。According to the following detailed description of specific embodiments of the present invention in conjunction with the accompanying drawings, those skilled in the art will be more aware of the above and other objects, advantages and features of the present invention.
附图说明Description of drawings
为了更清楚地说明本发明的技术方案,后文将参照附图来描述本发明的部分实施例。本领域技术人员应当理解的是,同一附图标记在不同附图中所标示的部件或部分相同或类似;本发明的附图彼此之间并非一定是按比例绘制的。In order to illustrate the technical solution of the present invention more clearly, some embodiments of the present invention will be described below with reference to the accompanying drawings. Those skilled in the art should understand that the components or parts indicated by the same reference number in different drawings are the same or similar; the drawings of the present invention are not necessarily drawn to scale.
附图中:In the attached picture:
图1是本发明一些实施例中风冷式制冷设备的效果示意图;Fig. 1 is the schematic diagram of the effect of air-cooled refrigeration equipment in some embodiments of the present invention;
图2是本发明一些实施例中磁场保鲜装置的原理示意图;Fig. 2 is a schematic diagram of the principle of a magnetic field preservation device in some embodiments of the present invention;
图3是本发明一些实施例中磁体组件的轴测视图;Figure 3 is an isometric view of a magnet assembly in some embodiments of the invention;
图4是本发明一些实施例中磁场保鲜装置的后上轴测视图(有顶盖);Fig. 4 is the rear upper axonometric view (with a top cover) of the magnetic field fresh-keeping device in some embodiments of the present invention;
图5是本发明一些实施例中磁场保鲜装置的后下轴测视图(有底盖);Fig. 5 is a rear and lower perspective view (with a bottom cover) of the magnetic field preservation device in some embodiments of the present invention;
图6是本发明一些实施例中磁场保鲜装置的前上轴测视图(无顶盖);Fig. 6 is a front upper axonometric view (without top cover) of the magnetic field fresh-keeping device in some embodiments of the present invention;
图7是本发明一些实施例中磁场保鲜装置的前下轴测视图(无底盖);Fig. 7 is a front and lower isometric view (without bottom cover) of the magnetic field preservation device in some embodiments of the present invention;
图8是本发明一些实施例中一个微孔组的剖面示意图;Figure 8 is a schematic cross-sectional view of a micropore group in some embodiments of the present invention;
图9是本发明另一些实施例中容器组件的原理示意图。Fig. 9 is a schematic diagram of the principle of the container assembly in some other embodiments of the present invention.
具体实施方式Detailed ways
本领域技术人员应当理解的是,下文所描述的实施例仅仅是本发明的一部分实施例,而不是本发明的全部实施例,该一部分实施例旨在用于解释本发明的技术原理,并非用于限制本发明的保护范围。基于本发明提供的实施例,本领域普通技术人员在没有付出创造性劳动的情况下所获得的其它所有实施例,仍应落入到本发明的保护范围之内。It should be understood by those skilled in the art that the embodiments described below are only some of the embodiments of the present invention, rather than all embodiments of the present invention. To limit the protection scope of the present invention. Based on the embodiments provided by the present invention, all other embodiments obtained by persons of ordinary skill in the art without making creative efforts should still fall within the protection scope of the present invention.
需要说明的是,在本发明的描述中,术语“中心”、“上”、“下”、“顶部”“底部”、“左”、“右”、“竖直”、“水平”、“内”、“外”等指示方向或位置关系的术语是基于附图所示的方向或位置关系,这仅仅是为了便于描述,而不是指示或暗示所述装置或元件必须具有特定的方位、以特定的方位构造和操作,因此不能理解为对本发明的限制。此外,术语“第一”、“第二”、“第三”仅用于描述目的,而不能理解为指示或暗示相对重要性。It should be noted that, in the description of the present invention, the terms "center", "upper", "lower", "top", "bottom", "left", "right", "vertical", "horizontal", " Terms indicating directions or positional relationships such as "inner", "outer", etc. are based on the directions or positional relationships shown in the drawings, which are only for convenience of description, and do not indicate or imply that the device or element must have a specific orientation, in order to Specific orientation configurations and operations, therefore, are not to be construed as limitations on the invention. In addition, the terms "first", "second", and "third" are used for descriptive purposes only, and should not be construed as indicating or implying relative importance.
此外,还需要说明的是,在本发明的描述中,除非另有明确的规定和限定,术语“安装”、“相连”、“连接”应做广义理解,例如,可以是固定连接,也可以是可拆卸连接,或一体地连接;可以是机械连接,也可以是电连接;可以是直接相连,也可以通过中间媒介间接相连,还可以是两个元件内部的连通。对于本领域技术人员而言,可根据具体情况理解上述术语在本发明中的具体含义。In addition, it should be noted that, in the description of the present invention, unless otherwise clearly stipulated and limited, the terms "installation", "connection" and "connection" should be understood in a broad sense, for example, it can be a fixed connection or a It is a detachable connection or an integral connection; it may be a mechanical connection or an electrical connection; it may be a direct connection or an indirect connection through an intermediary, or it may be the internal communication of two components. Those skilled in the art can understand the specific meanings of the above terms in the present invention according to specific situations.
图1是本发明一些实施例中风冷式制冷设备的效果示意图。该风冷式制冷设备包括箱体100和磁场保鲜装置200。其中,磁场保鲜装置200安装在箱体100上,用于对被储藏物(包括食材、药品、酒水、生物试剂、菌落、化学试剂等)进行冷藏、保鲜。Fig. 1 is a schematic diagram of the effect of air-cooled refrigeration equipment in some embodiments of the present invention. The air-cooled refrigeration equipment includes a
在本发明中,风冷式制冷设备包括冰箱、冰柜和冷柜。In the present invention, the air-cooled refrigeration equipment includes refrigerators, freezers and freezers.
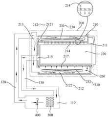
图2是本发明一些实施例中磁场保鲜装置200的原理示意图。Fig. 2 is a schematic diagram of the principle of a magnetic
如图2所示,在本发明一些实施例中,箱体100包括制冷室110、送风通道120、回风通道130和储藏室(图中未示出)。其中,制冷室110和储藏室通过送风通道120和回风通道130彼此连通,以使空气在制冷室110和储藏室之间循环流动。磁场保鲜装置200布置在储藏室内。As shown in FIG. 2 , in some embodiments of the present invention, the
进一步,在本发明的一些实施例中,储藏室可以为一个,也可以为多个。当储藏室为多个时,一部分储藏室为冷藏室,一部分储藏室为变温室,一部分储藏室为冷冻室。变温室和/或冷冻室中布置有至少一个磁场保鲜装置200。Further, in some embodiments of the present invention, there may be one or more storage rooms. When there are multiple storage rooms, some of the storage rooms are refrigerators, some of the storage rooms are temperature-changing rooms, and some of the storage rooms are freezers. At least one magnetic field fresh-keeping
继续参阅图2,在本发明的一些实施例中,风冷式制冷设备还包括蒸发器300和风机400,其中,蒸发器300布置在制冷室110内,用于冷却制冷室110内的空气。风机400用于驱动空气在制冷室110、送风通道120、储藏室和回风通道130中依次循环流动。Continuing to refer to FIG. 2 , in some embodiments of the present invention, the air-cooled refrigeration equipment further includes an
继续参阅图2,在本发明的一些实施例中,磁场保鲜装置200包括容器组件210、抽屉220和磁体组件230。其中,抽屉220以可滑动的方式安装到抽屉容器组件210内,用于放置被储藏物。磁体组件230用于给抽屉220内的被储藏物提供磁场。Continuing to refer to FIG. 2 , in some embodiments of the present invention, the magnetic field
继续参阅图2,容器组件210具有抽屉容纳腔211、磁体容纳腔212、进风通道213、多个微孔214和回风口215。其中,抽屉容纳腔211用于容纳抽屉220;磁体容纳腔212用于容纳磁体组件230的至少一部分;进风通道213用于将冷风引入磁体容纳腔211;多个微孔214用于使磁体容纳腔212内的冷风进入抽屉容纳腔211;回风口215用于使抽屉容纳腔211内的空气流出抽屉容纳腔211。Continuing to refer to FIG. 2 , the
其中,微孔214的直径不大于10mm,以便使冷风在通过微孔214时,能够被微孔214阻碍,从而降低冷风的风速,避免冷风在风速较大时带走被储藏物大量的热量,进而避免了被储藏物出现结冰的情形。微孔214的直径可以是10mm、8.5mm、6mm、3mm等任意可行的数值。优选地,微孔214的直径不大于1mm,例如,0.1mm、0.25mm、0.3mm、0.5mm、0.8mm、1.0mm等任意可行的数值。Wherein, the diameter of the
继续参阅图2,磁体容纳腔212包括设置在抽屉容纳腔211相对两侧的第一磁体容纳腔2121和第二磁体容纳腔2122。磁体组件230包括第一电磁线圈231和第二电磁线圈232。其中,第一电磁线圈231设置在第一磁体容纳腔2121内,第二电磁线圈232设置在第二磁体容纳腔2122内。优选地,第一电磁线圈231和第二电磁线圈232彼此对准,以便第一电磁线圈231和第二电磁线圈232通电时能够产生强度均匀的磁场。Continuing to refer to FIG. 2 , the
可选地,第一磁体容纳腔2121和第二磁体容纳腔2122分别设置在抽屉容纳腔211的上侧和下侧,或者,左侧和右侧。Optionally, the first
继续参阅图2,进风通道213具有一个进口和两个出口,进风通道213通过其进口与送风风道120连通,进风通道213通过其两个出口与第一磁体容纳腔2121和第二磁体容纳腔2122分别连通,以将冷风分别送至第一磁体容纳腔2121和第二磁体容纳腔2122,对第一电磁线圈231和第二电磁线圈232进行冷却,防止工作的第一电磁线圈231和第二电磁线圈232温升过高,影响抽屉220内被储藏物的冷藏、冷冻效果。Continuing to refer to FIG. 2 , the
进一步,在本发明中,多个微孔214中的至少一部分微孔214被设置在抽屉220的顶侧,以使从至少一部分微孔214流出的冷风直接吹向抽屉220内的被储藏物,对被储藏物进行冷却。多个微孔214中的另一部分可以被设置在抽屉220的底侧和/或左侧和/或右侧。Further, in the present invention, at least a part of the
如图2所示,在本发明的一个实施例中,所有的微孔214都被设置在抽屉220的顶侧。具体地,多个微孔214都设置在第一磁体容纳腔2121的底壁上。As shown in FIG. 2 , in one embodiment of the present invention, all of the
继续参阅图2,容器组件210还具有进风口217,该进风口217设置在第二磁体容纳腔2122的顶壁上,以使第二磁体容纳腔2122通过该进风口217与抽屉容纳腔211连通,将第二磁体容纳腔2122内的冷风吹向抽屉220的底壁,避免了流速较大的冷风直吹抽屉220内的被储藏物,进而避免了出现抽屉220内的被储藏物因损失的热量较大而结冰的情形。Continuing to refer to FIG. 2, the
此外,在本发明的其他实施例中,本领域技术人员也可以根据需要,将进风口217设置为微孔214。In addition, in other embodiments of the present invention, those skilled in the art can also set the
图3是本发明一些实施例中磁体组件230的轴测视图。Figure 3 is an isometric view of a
如图3所示,在本发明的一些实施例中,磁体组件230除了包括第一电磁线圈231和第二电磁线圈232以外,还包括第一导磁构件233、第二导磁构件234和可选的导磁连接件235。其中,第一导磁构件233与第一电磁线圈231相对应,可选地,第一导磁构件233和第一电磁线圈231均被设置在第一磁体容纳腔2121内。第二导磁构件234与第二电磁线圈232相对应,可选地,第二导磁构件234和第二电磁线圈232均被设置在第二磁体容纳腔2122内。进一步,导磁连接件235将第一导磁构件233和第二导磁构件234连接到一起。As shown in FIG. 3 , in some embodiments of the present invention, the
在本发明的该一些实施例中,第一导磁构件233和第二导磁构件234用于辅助第一电磁线圈231和第二电磁线圈232在抽屉容纳腔211内形成强度均匀的磁场,从而使抽屉220内各个区域的食材能够处在相同的磁场环境中,为抽屉220内的被储藏物提供良好的磁场保鲜环境。并且第一导磁构件233和第二导磁构件234的设置,还方便了对第一电磁线圈231和第二电磁线圈232形成磁场的强度的控制,避免了出现抽屉220内局部区域磁场的强度过高或者过低的情形出现。In some embodiments of the present invention, the first magnetically
进一步,在本发明中,导磁连接件245至少可以防止第一电磁线圈231和第二电磁线圈232的磁场外泄,即,用于将第一电磁线圈231和第二电磁线圈232产生的磁场进行限制,具体地,是将第一电磁线圈231和第二电磁线圈232产生的磁场限制在抽屉容纳腔211内,以使该磁场尽可能地都作用到抽屉220内的被储藏物上。因此,本发明通过设置第一导磁构件233、第二导磁构件234和导磁连接件245,提升了第一电磁线圈231和第二电磁线圈232的磁场的利用率。Further, in the present invention, the magnetically conductive connector 245 can at least prevent the magnetic fields of the first
需要说明的是,第一导磁构件233、第二导磁构件234和导磁连接件245可以是任意可行的导磁构件,例如硅钢片、45坡莫合金、78坡莫合金、超坡莫合金等。It should be noted that the first magnetically
此外,在本发明的其他实施例中,本领域技术人员也可以根据需要,选用永磁体替代第一电磁线圈231,并记作第一永磁体。或者,在第一电磁线圈231的基础上增加永磁体,并将增加的永磁体记作第一永磁体。可选地,第一电磁线圈231与第一永磁体彼此抵接,并且产生的磁场能使该两者彼此吸引。In addition, in other embodiments of the present invention, those skilled in the art may also select permanent magnets to replace the first
进一步,在本发明的其他实施例中,本领域技术人员还可以根据需要,省选用永磁体替代第二电磁线圈232,并记作第二永磁体;或者,在第二电磁线圈232的基础上增设永磁体,并将增加的永磁体记作第二永磁体。可选地,第二电磁线圈232与第二永磁体彼此抵接,并且产生的磁场能使该两者彼此吸引。Further, in other embodiments of the present invention, those skilled in the art can also omit the use of permanent magnets instead of the second
下面参照图4至图7来对本发明一些实施例中容器组件210的结构做进一步说明。其中,图4是本发明一些实施例中磁场保鲜装置的后上轴测视图(有顶盖),图5是本发明一些实施例中磁场保鲜装置的后下轴测视图(有底盖),图6是本发明一些实施例中磁场保鲜装置的前上轴测视图(无顶盖),图7是本发明一些实施例中磁场保鲜装置的前下轴测视图(无底盖)。The structure of the
如图4至图7所示,容器组件210在结构上包括容器本体2101、位于容器本体2101顶侧的顶盖2102、位于容器本体2101后侧的风道管2103和位于容器本体2101底侧的底盖2104。抽屉容纳腔210形成在容器本体2101内;第一磁体容纳腔2121形成在顶盖2102与容器本体2101之间;第二磁体容纳腔2122形成在底盖2104与容器本体2101之间;进风通道213形成在风道管2103内;微孔214形成在容器本体2101的顶壁上,并且被顶盖2102所遮挡;回风口215形成在容器本体2101的后侧壁上;进风口217形成在容器本体2101的底壁上。As shown in Figures 4 to 7, the
此外,在本发明的其他实施例中,本领域技术人员也可以根据需要,将容器组件210的结构做适当调整或变形。例如,将顶盖2102和底盖2104均设置在容器本体2101的内侧。In addition, in other embodiments of the present invention, those skilled in the art may also make appropriate adjustments or deformations to the structure of the
在本发明的一些实施例中,位于抽屉220顶侧的至少一部分微孔214被设置为多个微孔组,每一个微孔组包括至少两个微孔214。每一个微孔组配置成,使从其流出的多股气流彼此对冲。In some embodiments of the present invention, at least some of the
下面参照图8来对其中一个微孔组进行详细说明,图8是本发明一些实施例中一个微孔组的剖面示意图。One of the micropore groups will be described in detail below with reference to FIG. 8 , which is a schematic cross-sectional view of a micropore group in some embodiments of the present invention.
如图8所示,在一个微孔组中,微孔214的中轴线的延长线在靠近抽屉220的一侧逐渐聚拢,以使从每一个微孔214内吹出的冷风都能够与从其他微孔214内吹出的冷风对冲,从而使冷风被冲散,进而均匀地散射到抽屉220内的被储藏物上,使抽屉220内各个区域的被储藏物接收到的冷风量都几乎相同。As shown in Figure 8, in a microhole group, the extension line of the central axis of the
因此,本发明的该一些实施例能够为抽屉220内的被储藏物提供冷量均衡的冷藏、冷冻环境,提升了被储藏物的冷藏、冷冻效果。Therefore, some embodiments of the present invention can provide a refrigerating and freezing environment with a balanced cooling capacity for the stored objects in the
图9是本发明另一些实施例中容器组件210的原理示意图。Fig. 9 is a schematic diagram of the principle of a
如图9所示,在本发明的另一些实施例中,容器组件210还具有连通通道218,连通通道218的一端与第一磁体容纳腔2121连通,连通通道218的另一端与第二磁体容纳腔2122连通。As shown in FIG. 9, in other embodiments of the present invention, the
继续参阅图9,容器组件210还包括设置在容器本体2101左侧和/或右侧的侧盖2105,连通通道218形成在容器本体2101与侧盖2105之间。Continuing to refer to FIG. 9 , the
可选地,在本发明的该另一些实施例中,进风口217可以如图9所示地被省去。在进风口217被省去时,第二磁体容纳腔2122内的冷风通过连通通道218进入第一磁体容纳腔2121,然后再通过多个微孔214进入抽屉容纳腔211,以便使进入到抽屉容纳腔211内的冷风都能够直接冷却被储藏物,从而提升了冷风的利用率,即,提升了风冷式制冷设备和/或磁场保鲜装置200的制冷效率。Optionally, in other embodiments of the present invention, the
进一步,可选地,本领域技术人员还可以根据需要,使进风通道213仅与第一磁体容纳腔2121或第二磁体容纳腔2122或连通通道218连通。优选地,使进风通道213仅与第二磁体容纳腔2122连通,以使进风通道213内的冷风先进入第二磁体容纳腔2122冷却第二电磁线圈232,然后再通过连通通道218进入第一磁体容纳腔2121冷却第一电磁线圈231。Further, optionally, those skilled in the art can make the
至此,已经结合前文的多个实施例描述了本发明的技术方案,但是,本领域技术人员容易理解的是,本发明的保护范围并不仅限于这些具体实施例。在不偏离本发明技术原理的前提下,本领域技术人员可以对上述各个实施例中的技术方案进行拆分和组合,也可以对相关技术特征作出等同的更改或替换,凡在本发明的技术构思和/或技术原理之内所做的任何更改、等同替换、改进等都将落入本发明的保护范围之内。So far, the technical solutions of the present invention have been described in conjunction with the foregoing embodiments. However, those skilled in the art can easily understand that the protection scope of the present invention is not limited to these specific embodiments. Without departing from the technical principles of the present invention, those skilled in the art can split and combine the technical solutions in the above-mentioned embodiments, and can also make equivalent changes or replacements to the relevant technical features. Any changes, equivalent replacements, improvements, etc. made within the concept and/or technical principles will fall within the protection scope of the present invention.
| Application Number | Priority Date | Filing Date | Title |
|---|---|---|---|
| CN202110920414.6ACN115704635B (en) | 2021-08-11 | 2021-08-11 | Magnetic field fresh-keeping device and air-cooled refrigeration equipment |
| Application Number | Priority Date | Filing Date | Title |
|---|---|---|---|
| CN202110920414.6ACN115704635B (en) | 2021-08-11 | 2021-08-11 | Magnetic field fresh-keeping device and air-cooled refrigeration equipment |
| Publication Number | Publication Date |
|---|---|
| CN115704635Atrue CN115704635A (en) | 2023-02-17 |
| CN115704635B CN115704635B (en) | 2024-08-13 |
| Application Number | Title | Priority Date | Filing Date |
|---|---|---|---|
| CN202110920414.6AActiveCN115704635B (en) | 2021-08-11 | 2021-08-11 | Magnetic field fresh-keeping device and air-cooled refrigeration equipment |
| Country | Link |
|---|---|
| CN (1) | CN115704635B (en) |
| Publication number | Priority date | Publication date | Assignee | Title |
|---|---|---|---|---|
| CN119983692A (en)* | 2025-03-28 | 2025-05-13 | 合肥工业大学 | A refrigerator fresh-keeping control device capable of adjusting magnetic field strength |
| Publication number | Priority date | Publication date | Assignee | Title |
|---|---|---|---|---|
| JP2014159896A (en)* | 2013-02-19 | 2014-09-04 | Haier Asia International Co Ltd | Refrigerator |
| CN106123467A (en)* | 2016-07-01 | 2016-11-16 | 青岛海尔股份有限公司 | Cold fresh drawer and there is the wind cooling refrigerator of this cold fresh drawer |
| CN107044762A (en)* | 2017-05-31 | 2017-08-15 | 山东大学 | A kind of refrigerator drawer and refrigerator with acceleration refrigerating function |
| CN111989527A (en)* | 2018-04-18 | 2020-11-24 | 松下知识产权经营株式会社 | Cold storage |
| CN112955704A (en)* | 2018-10-23 | 2021-06-11 | 松下知识产权经营株式会社 | Refrigerator with a door |
| Publication number | Priority date | Publication date | Assignee | Title |
|---|---|---|---|---|
| JP2014159896A (en)* | 2013-02-19 | 2014-09-04 | Haier Asia International Co Ltd | Refrigerator |
| CN106123467A (en)* | 2016-07-01 | 2016-11-16 | 青岛海尔股份有限公司 | Cold fresh drawer and there is the wind cooling refrigerator of this cold fresh drawer |
| CN107044762A (en)* | 2017-05-31 | 2017-08-15 | 山东大学 | A kind of refrigerator drawer and refrigerator with acceleration refrigerating function |
| CN111989527A (en)* | 2018-04-18 | 2020-11-24 | 松下知识产权经营株式会社 | Cold storage |
| CN112955704A (en)* | 2018-10-23 | 2021-06-11 | 松下知识产权经营株式会社 | Refrigerator with a door |
| Publication number | Priority date | Publication date | Assignee | Title |
|---|---|---|---|---|
| CN119983692A (en)* | 2025-03-28 | 2025-05-13 | 合肥工业大学 | A refrigerator fresh-keeping control device capable of adjusting magnetic field strength |
| CN119983692B (en)* | 2025-03-28 | 2025-08-01 | 合肥工业大学 | Refrigerator fresh-keeping control equipment capable of adjusting magnetic field intensity |
| Publication number | Publication date |
|---|---|
| CN115704635B (en) | 2024-08-13 |
| Publication | Publication Date | Title |
|---|---|---|
| CN217031741U (en) | Refrigeration equipment with magnetic field fresh-keeping device | |
| CN216114967U (en) | Magnetic field fresh-keeping device and air-cooled refrigeration equipment that anti cold wind directly blows | |
| CN217031740U (en) | Refrigeration equipment with magnetic field fresh-keeping device | |
| WO2023016148A1 (en) | Refrigeration equipment having magnetic field fresh-keeping function | |
| EP4450902A1 (en) | Refrigeration device having magnetic field freshness-preserving apparatus | |
| CN115704635A (en) | Magnetic field preservation device and air-cooled refrigeration equipment | |
| CN110081650A (en) | Refrigeration equipment | |
| CN220959139U (en) | Fresh-keeping storage container and refrigerator | |
| CN220959154U (en) | Fresh-keeping storage container and refrigerator | |
| WO2023016095A1 (en) | Magnetic field fresh-keeping apparatus capable of preventing direct blowing of cold air and air-cooled refrigeration device | |
| CN115704630B (en) | Magnetic field fresh-keeping device and air-cooled refrigeration equipment | |
| CN208579556U (en) | Horizontal refrigerator | |
| CN221944592U (en) | refrigerator | |
| CN221324793U (en) | Refrigeration equipment | |
| CN220959141U (en) | Fresh-keeping storage container and refrigerator | |
| CN220771604U (en) | Fresh-keeping storage container and refrigerator | |
| CN220771597U (en) | Fresh-keeping storage container and refrigerator | |
| CN220771592U (en) | Fresh-keeping storage container and refrigerator | |
| CN220771594U (en) | Fresh-keeping storage container for refrigerator and refrigerator | |
| CN220771589U (en) | Fresh-keeping storage container and refrigerator | |
| CN220771508U (en) | Air-cooled refrigerator | |
| CN220771603U (en) | Fresh-keeping storage container and refrigerator | |
| CN217031723U (en) | Air-cooled refrigerator | |
| CN220601898U (en) | Refrigerator | |
| CN220017807U (en) | Refrigerator |
| Date | Code | Title | Description |
|---|---|---|---|
| PB01 | Publication | ||
| PB01 | Publication | ||
| SE01 | Entry into force of request for substantive examination | ||
| SE01 | Entry into force of request for substantive examination | ||
| GR01 | Patent grant | ||
| GR01 | Patent grant |