

技术领域technical field
本发明涉及web系统项目开发技术领域,具体为一种基于分层思想的前端项目数据处理方法。The invention relates to the technical field of web system project development, in particular to a front-end project data processing method based on layered thought.
背景技术Background technique
随着目前web应用系统的发展,web前端项目变得越来越复杂,需要进行数据处理的地方变得越来越多;一方面后台返回给前端的原始数据,需要做进一步处理,才能够给UI组件进行视图渲染;另一方面用户在前端操作后产生的原始数据,需要进一步处理,才能够满足后台存储对数据格式的要求。With the development of the current web application system, web front-end projects have become more and more complex, and more and more places need to be processed; on the one hand, the original data returned from the background to the front-end needs to be further processed to The UI component performs view rendering; on the other hand, the raw data generated by the user after the front-end operation needs further processing to meet the data format requirements of the background storage.
这些都不可避免地对项目开发过程中数据处理技术提出了更高的要求。目前web前端项目的主流项目结构会将后台网络请求、路由管理、视图状态管理、项目样式、业务页面、公共工具方法等等,进行单独的分层,但是没有对数据处理进行单独的分层,导致数据处理代码分散与整个项目的各个角落。这样做会导致在复杂前端项目下代码变得很难维护。These inevitably put forward higher requirements for data processing technology in the project development process. At present, the mainstream project structure of web front-end projects will separate background network requests, routing management, view state management, project styles, business pages, public tools and methods, etc., but does not separate data processing. As a result, the data processing code is scattered in all corners of the entire project. Doing so will make the code difficult to maintain under complex front-end projects.
当后台返回给前端的原始数据发生变化,或者后台对保存数据的格式做出了变动,就需要深入到该变化数据所涉及到的业务模块代码当中去进行处理,一方面处理效率特别低,另一方面很容易在改动的过程中引发新的缺陷进而造成意料之外的损失。When the original data returned from the background to the front end changes, or the background changes the format of the saved data, it is necessary to go deep into the business module code involved in the changed data for processing. On the one hand, the processing efficiency is particularly low, and on the other hand On the one hand, it is easy to cause new defects in the process of modification and cause unexpected losses.
发明内容Contents of the invention
本发明要解决的技术问题是克服现有的缺陷,提供一种基于分层思想的前端项目数据处理方法,将前端项目当中的数据处理部分,统一放置于一处进行编写维护,使得项目层次更加清晰易懂,极大地提高了项目的可维护性,可以有效解决背景技术中的问题。The technical problem to be solved by the present invention is to overcome the existing defects and provide a front-end project data processing method based on layered thinking, which puts the data processing part of the front-end project in one place for writing and maintenance, making the project level more It is clear and easy to understand, which greatly improves the maintainability of the project and can effectively solve the problems in the background technology.
为实现上述目的,本发明提供如下技术方案:一种基于分层思想的前端项目数据处理方法,包括,In order to achieve the above object, the present invention provides the following technical solution: a method for processing front-end project data based on layered thinking, including:
数据处理单元,将前端项目执行的多种格式的数据与后端存储的单一格式的数据进行格式转换;The data processing unit performs format conversion between the data in multiple formats executed by the front-end project and the data in a single format stored in the back-end;
所述数据处理单元能够被前端项目调用,且独立于前端项目。The data processing unit can be called by the front-end project and is independent of the front-end project.
作为本发明的一种优选技术方案,所述数据处理单元包括,As a preferred technical solution of the present invention, the data processing unit includes:
正向数据处理单元,将从后端获取的存储数据转换为前端项目对应业务模块所能执行的数据;The forward data processing unit converts the stored data obtained from the back end into data that can be executed by the corresponding business modules of the front end project;
逆向数据处理单元,将从前端项目对应业务模块输出的数据转换为统一格式的供后端存储的数据。The reverse data processing unit converts the data output from the corresponding business modules of the front-end project into data in a unified format for back-end storage.
作为本发明的一种优选技术方案,还包括,As a preferred technical solution of the present invention, it also includes,
次级数据处理单元,能够将正向数据处理单元输出数据转换为第二种后台存储所需格式的数据;且能够将第二种后台存储的数据转换为原有后台所能存储的格式的数据;The secondary data processing unit can convert the output data of the forward data processing unit into the data in the format required by the second background storage; and can convert the data stored in the second background into the data in the format that the original background can store ;
所述能够被数据处理单元调用,且独立于数据处理单元。Said can be called by the data processing unit and is independent of the data processing unit.
作为本发明的一种优选技术方案,所述正向数据处理单元内包括若干组能够被单独调用的数据处理模块,且不同的数据处理模块能够将统一格式的数据转变为不同格式的数据。As a preferred technical solution of the present invention, the forward data processing unit includes several groups of data processing modules that can be called separately, and different data processing modules can convert data in a unified format into data in different formats.
作为本发明的一种优选技术方案,所述逆向数据处理单元内包括若干组能够被单独调用的数据处理模块,且不同的数据处理模块能够将不同格式的数据转变为统一格式的数据。As a preferred technical solution of the present invention, the reverse data processing unit includes several groups of data processing modules that can be called separately, and different data processing modules can convert data in different formats into data in a unified format.
与现有技术相比,本发明的有益效果是:Compared with prior art, the beneficial effect of the present invention is:
本基于分层思想的前端项目数据处理方法,在前端项目当中单独开辟一个目录,专门存放前端项目所有和数据处理相关的代码,且根据数据流的方向,分为从后台获取到的部分,以及将要传递给后台的部分。从后台获取数据的处理,即为将从后台获取到的原始数据,转换为前端UI组件所需要的数据格式。将要传递给后台数据的处理,即为将用户操作后产生的原始结果数据,转换为后台存储需要的格式。在这里仅仅只负责数据的转换及处理,不进行任何其他的操作。This data processing method for front-end projects based on layered thinking creates a separate directory in the front-end project to store all the codes related to data processing in the front-end project, and according to the direction of data flow, it is divided into parts obtained from the background, and The section that will be passed to the backend. The process of obtaining data from the background is to convert the original data obtained from the background into the data format required by the front-end UI components. The processing of the data to be passed to the background is to convert the original result data generated after the user operation into the format required by the background storage. Here, it is only responsible for data conversion and processing, and does not perform any other operations.
数据处理部分的代码,根据具体的业务场景进行单独的划分,每个业务场景对应一个单独的js文件,在js文件当中到处该业务场景需要的各个数据转换方法。The code of the data processing part is divided separately according to the specific business scenarios. Each business scenario corresponds to a separate js file, and the various data conversion methods required by the business scenario are everywhere in the js file.
这些数据处理方法,统一设计为接收一个原始数据的参数,返回一个经过转换、处理后的全新数据结果。这些方法均设计为非变异方法,即不破坏传入的原始数据,返回一个全新的数据。These data processing methods are uniformly designed to receive a parameter of original data and return a new data result after conversion and processing. These methods are all designed as non-mutation methods, that is, they do not destroy the incoming original data and return a brand new data.
后面在具体的业务处理代码当中,可以直接导入对应模块的对应数据处理方法,将获取到的原始数据传递给该方法,即可获取到前端UI组件或者后台存储所需要的数据,无需再关心数据的处理,达到可以专注于业务逻辑处理的效果。Later, in the specific business processing code, you can directly import the corresponding data processing method of the corresponding module, pass the obtained raw data to this method, and then you can obtain the data required by the front-end UI components or background storage, and you don’t need to care about the data anymore The processing can achieve the effect of focusing on business logic processing.
当后台返回的数据格式或者后台所需要的存储格式发生变化了,只需要到项目数据处理模块对应的数据处理方法当中进行代码的修改,即可达到预期的效果,不但能够快速地找到代码修改所处的地方,并且无需担心会引入新的缺陷。最为关键的是,使用该方法后,可以分别针对不同的数据格式,书写两套或者多套数据转换代码。这样就可以做到以同一套前端项目代码,适配不同阶段不同版本系统当中后台返回的数据格式。When the data format returned by the background or the storage format required by the background changes, you only need to modify the code in the data processing method corresponding to the project data processing module to achieve the expected effect, not only can you quickly find the code modification place, without fear of introducing new defects. The most important thing is that after using this method, two or more sets of data conversion codes can be written for different data formats. In this way, the same set of front-end project codes can be used to adapt to the data format returned by the background in different versions of the system at different stages.
附图说明Description of drawings
图1为数据处理架构示意图;Figure 1 is a schematic diagram of a data processing architecture;
图2为本发明结构示意图。Fig. 2 is a schematic diagram of the structure of the present invention.
具体实施方式detailed description
下面将结合本发明实施例中的附图,对本发明实施例中的技术方案进行清楚、完整地描述,显然,所描述的实施例仅仅是本发明一部分实施例,而不是全部的实施例。基于本发明中的实施例,本领域普通技术人员在没有做出创造性劳动前提下所获得的所有其他实施例,都属于本发明保护的范围。The following will clearly and completely describe the technical solutions in the embodiments of the present invention with reference to the accompanying drawings in the embodiments of the present invention. Obviously, the described embodiments are only some, not all, embodiments of the present invention. Based on the embodiments of the present invention, all other embodiments obtained by persons of ordinary skill in the art without making creative efforts belong to the protection scope of the present invention.
随着web领域的发展,当今的web系统前端浏览器部分所承载的内容越来越多,进而导致web前端项目越来越复杂,越来越难以维护;而其中数据处理占据了web前端项目很大一块比重。With the development of the web field, the front-end browser of today's web system carries more and more content, which makes the front-end web projects more and more complex and difficult to maintain; and data processing occupies a large part of the front-end web projects. A larger proportion.
在复杂web前端项目的开发过程中,后台返回给前端的原始数据,往往是不能用来直接渲染视图的;需要经过一系列的转换,达到组件所需的数据格式,才能够直接传递给视图组件进行正确的界面渲染。同时,用户在前端操作之后所产生的原始结果数据,也是直接由原始的UI组件提供的,往往不能够满足后台的存储要求。此时也需要进行一次数据转换,以满足后台的存储要求进行正确的存储。In the development process of complex web front-end projects, the original data returned from the background to the front-end is often not used to directly render the view; it needs to go through a series of transformations to achieve the data format required by the component before it can be directly passed to the view component Perform correct interface rendering. At the same time, the original result data generated by the user after the front-end operation is also directly provided by the original UI component, which often cannot meet the storage requirements of the background. At this time, a data conversion is also required to meet the storage requirements of the background for correct storage.
在复杂web前端项目当中,数据处理部分的代码是必须且大量的,如果处理不当,数据处理部分的代码将会与前端业务逻辑处理、视图渲染部分代码糅杂在一起,将会使得项目当中到处都是数据处理的代码,严重地破坏项目的扩展性、灵活性,增大项目的维护成本。In a complex web front-end project, the code of the data processing part is necessary and a large amount. If it is not handled properly, the code of the data processing part will be mixed with the front-end business logic processing and view rendering code, which will make the project everywhere All are data processing codes, which seriously damage the scalability and flexibility of the project, and increase the maintenance cost of the project.
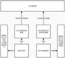
参阅图1,本发明提供一种技术方案:一种基于分层思想的前端项目数据处理方法,根据自身前端项目的业务特征,设计出一套前端UI组件专用的数据格式。这套数据格式无需经过任何处理,即可传递给前端UI组件进行使用。Referring to Fig. 1, the present invention provides a technical solution: a data processing method for front-end projects based on layered thinking, and designs a set of data formats dedicated to front-end UI components according to the business characteristics of its own front-end projects. This set of data formats can be passed to the front-end UI components for use without any processing.
在前端项目当中单独开辟一个目录,专门存放前端项目所有和数据处理相关的代码,且根据数据流的方向,分为从后台获取到的部分,以及将要传递给后台的部分。从后台获取数据的处理,即为将从后台获取到的原始数据,转换为前端UI组件所需要的数据格式。将要传递给后台数据的处理,即为将用户操作后产生的原始结果数据,转换为后台存储需要的格式。在这里仅仅只负责数据的转换及处理,不进行任何其他的操作。Create a separate directory in the front-end project to store all the codes related to data processing in the front-end project, and according to the direction of the data flow, it is divided into the part obtained from the background and the part to be passed to the background. The process of obtaining data from the background is to convert the original data obtained from the background into the data format required by the front-end UI components. The processing of the data to be passed to the background is to convert the original result data generated after the user operation into the format required by the background storage. Here, it is only responsible for data conversion and processing, and does not perform any other operations.
数据处理部分的代码,根据具体的业务场景进行单独的划分,每个业务场景对应一个单独的js文件,在js文件当中到处该业务场景需要的各个数据转换方法。The code of the data processing part is divided separately according to the specific business scenarios. Each business scenario corresponds to a separate js file, and the various data conversion methods required by the business scenario are everywhere in the js file.
这些数据处理方法,统一设计为接收一个原始数据的参数,返回一个经过转换、处理后的全新数据结果。这些方法均设计为非变异方法,即不破坏传入的原始数据,返回一个全新的数据。These data processing methods are uniformly designed to receive a parameter of original data and return a new data result after conversion and processing. These methods are all designed as non-mutation methods, that is, they do not destroy the incoming original data and return a brand new data.
后面在具体的业务处理代码当中,可以直接导入对应模块的对应数据处理方法,将获取到的原始数据传递给该方法,即可获取到前端UI组件或者后台存储所需要的数据,无需再关心数据的处理,达到可以专注于业务逻辑处理的效果。Later, in the specific business processing code, you can directly import the corresponding data processing method of the corresponding module, pass the obtained raw data to this method, and then you can obtain the data required by the front-end UI components or background storage, and you don’t need to care about the data anymore The processing can achieve the effect of focusing on business logic processing.
当后台返回的数据格式或者后台所需要的存储格式发生变化了,只需要到项目数据处理模块对应的数据处理方法当中进行代码的修改,即可达到预期的效果,不但能够快速地找到代码修改所处的地方,并且无需担心会引入新的缺陷。最为关键的是,使用该方法后,可以分别针对不同的数据格式,书写两套或者多套数据转换代码。这样就可以做到以同一套前端项目代码,适配不同阶段不同版本系统当中后台返回的数据格式。When the data format returned by the background or the storage format required by the background changes, you only need to modify the code in the data processing method corresponding to the project data processing module to achieve the expected effect, not only can you quickly find the code modification place, without fear of introducing new defects. The most important thing is that after using this method, two or more sets of data conversion codes can be written for different data formats. In this way, the same set of front-end project codes can be used to adapt to the data format returned by the background in different versions of the system at different stages.
具体实施方式,包括一下几个步骤:The specific implementation method includes the following steps:
第一步:设计前端所需jsonschema,The first step: design the jsonschema required by the front end,
参阅图2,使用jsonschema设计软件,制作出前端UI组件所需要的json数据格式的描述。Referring to Figure 2, use jsonschema design software to create a description of the json data format required by the front-end UI components.
第二步:创建数据处理模块目录Step 2: Create a data processing module directory
在前端项目的src目录当中,新建data-transformer目录,作为前端项目的数据转换模块,其中存储数据转换相关的所有代码。In the src directory of the front-end project, create a new data-transformer directory as the data conversion module of the front-end project, which stores all the codes related to data conversion.
接着在该目录下分别新建request和send两个目录,分别表示对从后台请求回来原始数据的处理,以及对将要发送给后台数据的处理。Then create two directories, request and send, under this directory, respectively representing the processing of the original data requested from the background and the processing of the data to be sent to the background.
接着在request和send目录当中,根据业务模块进行划分,每个业务模块建立一个对应的js文件,存储该业务模块所需要的数据处理方法。Then, in the request and send directories, it is divided according to the business modules, and each business module creates a corresponding js file to store the data processing method required by the business module.
其目录结构如下所示。Its directory structure is shown below.
第三步:书写数据处理方法Step 3: Write the data processing method
在对应的业务模块数据处理js文件当中,分别书写所需要的数据处理方法。下面是用于实现本步骤的示例代码,web领域技术人员可根据自身实际情况修改其中的变量名、函数名、数据处理逻辑:In the corresponding business module data processing js file, write the required data processing methods respectively. The following is the sample code used to implement this step. Technicians in the web field can modify the variable name, function name, and data processing logic in it according to their actual situation:
/**/**
*对原始数据进行处理*Process raw data
*@param{Object}originData原始数据*@param{Object}originData original data
*@returns{Object}返回经过处理后的新数据*@returns{Object} returns the processed new data
*/*/
export function transformData(originData){export function transformData(originData){
//获取原始数据副本// Get a copy of the original data
const originDataclone=cloneDeep(originData)const originDataclone = cloneDeep(originData)
//处理1abe1属性//Process 1abe1 attribute
originDataclone.label=originDataclone.titleoriginDataclone.label=originDataclone.title
delete originDataClone.titledelete originDataClone.title
//处理disabled属性//Process the disabled attribute
originDataclone.disabled=loriginDataclone.validoriginDataclone.disabled=originDataclone.valid
delete originDataClone.validdelete originDataClone.valid
//处理multiple属性//Process multiple attributes
originDataclone.multiple=originDataclone.multioriginDataclone.multiple=originDataclone.multiple
delete originDataclone.multidelete originDataclone.multi
//返回经过处理后的originDataclone//Return the processed originDataclone
return originDataclonereturn originDataclone
}}
第四步:在具体业务代码当中进行使用Step 4: Use it in specific business codes
在书写相关业务代码的过程中,可以直接调用对应业务场景的数据处理方法。下面为该步骤对应的示例代码:In the process of writing related business codes, you can directly call the data processing method corresponding to the business scenario. The following is the sample code corresponding to this step:
在此情况下,当后台返回的数据格式发生变化或者提交给后台的数据格式发生了变动时,只需要到对应业务模块的地方去修改数据处理方法即可。其他地方不需要做任何的变动。In this case, when the format of the data returned by the background changes or the format of the data submitted to the background changes, you only need to go to the corresponding business module to modify the data processing method. No other changes are required.
当前端项目想要适配一套旧版本的数据时,只需要新创建一套数据处理模块,而无需改动前端业务处理的代码。新创建的数据处理模块同原有的数据处理模块关系如下所示:When the front-end project wants to adapt a set of old version data, it only needs to create a new set of data processing modules without changing the code of the front-end business processing. The relationship between the newly created data processing module and the original data processing module is as follows:
之后在业务代码地方,引入与之对应的旧版本数据处理方法即可。Then in the business code place, just introduce the corresponding old version data processing method.
或者将已有数据处理模块直接改名为其他名称甚至直接删除,将新创建旧版本数据处理模块命名为data-transformer,如此其他使用到该数据处理的业务代码处便可以不做任何修改而直接生效。Or directly rename the existing data processing module to another name or even delete it directly, and name the newly created and old version data processing module data-transformer, so that other business codes that use this data processing can take effect directly without any modification .
尽管已经示出和描述了本发明的实施例,对于本领域的普通技术人员而言,可以理解在不脱离本发明的原理和精神的情况下可以对这些实施例进行多种变化、修改、替换和变型,本发明的范围由所附权利要求及其等同物限定。Although the embodiments of the present invention have been shown and described, those skilled in the art can understand that various changes, modifications and substitutions can be made to these embodiments without departing from the principle and spirit of the present invention. and modifications, the scope of the invention is defined by the appended claims and their equivalents.
| Application Number | Priority Date | Filing Date | Title |
|---|---|---|---|
| CN202211201310.0ACN115525271A (en) | 2022-09-29 | 2022-09-29 | A data processing method for front-end projects based on hierarchical thinking |
| Application Number | Priority Date | Filing Date | Title |
|---|---|---|---|
| CN202211201310.0ACN115525271A (en) | 2022-09-29 | 2022-09-29 | A data processing method for front-end projects based on hierarchical thinking |
| Publication Number | Publication Date |
|---|---|
| CN115525271Atrue CN115525271A (en) | 2022-12-27 |
| Application Number | Title | Priority Date | Filing Date |
|---|---|---|---|
| CN202211201310.0APendingCN115525271A (en) | 2022-09-29 | 2022-09-29 | A data processing method for front-end projects based on hierarchical thinking |
| Country | Link |
|---|---|
| CN (1) | CN115525271A (en) |
| Publication number | Priority date | Publication date | Assignee | Title |
|---|---|---|---|---|
| CN112256445A (en)* | 2020-07-24 | 2021-01-22 | 北京沃东天骏信息技术有限公司 | Data processing method, device and equipment based on application program and storage medium |
| CN113641359A (en)* | 2021-08-30 | 2021-11-12 | 北京沃东天骏信息技术有限公司 | Data processing method and device |
| CN114036177A (en)* | 2021-11-03 | 2022-02-11 | 重庆邮电大学 | Design and Implementation of Component-based Intelligent Report |
| Publication number | Priority date | Publication date | Assignee | Title |
|---|---|---|---|---|
| CN112256445A (en)* | 2020-07-24 | 2021-01-22 | 北京沃东天骏信息技术有限公司 | Data processing method, device and equipment based on application program and storage medium |
| CN113641359A (en)* | 2021-08-30 | 2021-11-12 | 北京沃东天骏信息技术有限公司 | Data processing method and device |
| CN114036177A (en)* | 2021-11-03 | 2022-02-11 | 重庆邮电大学 | Design and Implementation of Component-based Intelligent Report |
| Publication | Publication Date | Title |
|---|---|---|
| CN102789491B (en) | A kind of configurable data subscription and delivery system and method thereof | |
| CN1304945C (en) | Automatic generatnig method for configuration interface of telecommunicating apparatus | |
| CN103309904A (en) | Method and device for generating data warehouse ETL (Extraction, Transformation and Loading) codes | |
| CN103279543B (en) | Path mode inquiring system for massive image data | |
| CN1968322A (en) | Web service finding and integration proxy system | |
| CN113778421B (en) | A method and device for generating business code | |
| CN110222110A (en) | A kind of resource description framework data conversion storage integral method based on ETL tool | |
| CN109445794B (en) | Page construction method and device | |
| CN105528418A (en) | Design document generation method and apparatus | |
| CN104750825A (en) | Intelligent substation SCD document rapid analysis method | |
| CN114648281A (en) | Method and device for process modeling and choreography based on object design pattern | |
| WO2023065629A1 (en) | Dialogue management method and system, and terminal and storage medium | |
| CN116089126A (en) | Method, device and equipment for acquiring data in real time and readable storage medium | |
| CN114036183A (en) | A data ETL processing method, device, equipment and medium | |
| CN109471957B (en) | Metadata conversion method and device based on uniform tags | |
| CN105468793A (en) | Automated management method for simulation model data | |
| CN104166546A (en) | Implementation method and system used for data distribution service (DDS) application software and based on model driven architecture (MDA) | |
| CN114168117A (en) | A designer-based low-code development tool and storage device for Xinchuang | |
| CN114490651A (en) | Data storage method and device | |
| CN115525271A (en) | A data processing method for front-end projects based on hierarchical thinking | |
| CN102999323B (en) | A kind ofly generate the method for object code, the method for data processing and device | |
| CN113568605A (en) | Method, device and system for configuring constrained route | |
| CN1588411A (en) | A process customization management platform | |
| CN117827469A (en) | Method for synchronizing batch table to hudi based on flink cdc technology | |
| TW201610856A (en) | Method of unifying information and tool from a plurality of information sources and computer program product and matterizer using the same |
| Date | Code | Title | Description |
|---|---|---|---|
| PB01 | Publication | ||
| PB01 | Publication | ||
| SE01 | Entry into force of request for substantive examination | ||
| SE01 | Entry into force of request for substantive examination |