




技术领域technical field
本发明涉及电子设备设计技术领域,尤其涉及一种指纹压感模组及电子设备。The invention relates to the technical field of electronic equipment design, in particular to a fingerprint pressure-sensitive module and electronic equipment.
背景技术Background technique
随着电子技术的快速发展,电子设备在满足实用性的基础上,更加注重用户的使用体验,触屏按键、指纹解锁、人脸识别等随之成为电子设备的基本功能,为此,电子设备通常需要在显示面板下嵌设指纹识别组件和压力感应组件,以使电子设备具备指纹识别功能和屏下按键功能。With the rapid development of electronic technology, electronic devices pay more attention to user experience on the basis of satisfying practicability. Touch screen buttons, fingerprint unlocking, face recognition, etc. have become the basic functions of electronic devices. Therefore, electronic devices Usually, it is necessary to embed a fingerprint recognition component and a pressure sensing component under the display panel, so that the electronic device has a fingerprint recognition function and an off-screen button function.
然而,现有的电子设备中指纹识别功能和屏下按键功能通常为独立设计,无法在进行指纹识别的同时进行按键压力的检测,导致用户需要单独进行指纹操作或按键操作,影响用户的使用体验。However, the fingerprint recognition function and the off-screen button function in existing electronic devices are usually designed independently, and it is impossible to detect the pressure of the button while performing fingerprint recognition, resulting in the need for the user to perform fingerprint operation or button operation separately, which affects the user experience. .
发明内容Contents of the invention
本发明实施例提供一种指纹压感模组及电子设备,以解决现有的电子设备无法同步执行指纹识别和按键检测的问题。Embodiments of the present invention provide a fingerprint pressure-sensing module and electronic equipment to solve the problem that existing electronic equipment cannot perform fingerprint identification and key detection simultaneously.
为了解决上述技术问题,本发明是这样实现的:In order to solve the problems of the technologies described above, the present invention is achieved in that:
第一方面,本发明实施例提供一种指纹压感模组,包括屏幕、基座、弹性件、指纹采集器件和至少一个压感组件;In a first aspect, an embodiment of the present invention provides a fingerprint pressure-sensitive module, including a screen, a base, an elastic member, a fingerprint collection device, and at least one pressure-sensitive component;
所述屏幕与所述基座相对设置,所述弹性件分别与所述屏幕和所述基座固定连接,在所述屏幕与所述基座之间形成形变空间;The screen is arranged opposite to the base, and the elastic members are respectively fixedly connected to the screen and the base, forming a deformation space between the screen and the base;
所述指纹采集器件设置于所述形变空间内,且与所述屏幕固定连接,所述指纹采集器件用于采集所述屏幕上的指纹信息;The fingerprint collection device is arranged in the deformation space and is fixedly connected to the screen, and the fingerprint collection device is used to collect fingerprint information on the screen;
所述指纹采集器件与所述弹性件之间形成压感通道,所述压感组件设置于所述压感通道内,用于检测所述屏幕受到的按压操作的力度大小。A pressure-sensitive channel is formed between the fingerprint collection device and the elastic member, and the pressure-sensitive component is arranged in the pressure-sensitive channel for detecting the strength of the pressing operation on the screen.
可选地,所述指纹压感模组还包括安装板;所述安装板设置于所述形变空间内,且与所述屏幕固定连接,所述指纹采集器件安装于所述安装板上。Optionally, the fingerprint pressure sensing module further includes a mounting plate; the mounting plate is arranged in the deformation space and is fixedly connected to the screen, and the fingerprint collection device is mounted on the mounting plate.
可选地,沿垂直于所述屏幕的方向,所述安装板的投影位于所述形变空间的中心区域。Optionally, along a direction perpendicular to the screen, the projection of the installation plate is located in a central area of the deformation space.
可选地,所述压感组件包括可变电阻;所述可变电阻的一端与所述屏幕固定连接,另一端与所述安装板固定连接,所述可变电阻的阻值随所述按压操作发生变化。Optionally, the pressure-sensitive component includes a variable resistor; one end of the variable resistor is fixedly connected to the screen, and the other end is fixedly connected to the installation board, and the resistance value of the variable resistor varies with the pressure. Action changed.
可选地,所述压感组件还包括固定电阻,所述固定电阻与所述安装板固定连接;所述可变电阻与所述固定电阻电连接以形成惠斯通电桥。Optionally, the pressure sensing component further includes a fixed resistor, and the fixed resistor is fixedly connected to the mounting board; the variable resistor is electrically connected to the fixed resistor to form a Wheatstone bridge.
可选地,沿垂直于所述屏幕的方向,所述可变电阻的投影大于所述固定电阻的投影。Optionally, along a direction perpendicular to the screen, the projection of the variable resistor is larger than the projection of the fixed resistor.
可选地,所述压感组件包括第一极板、第二极板和基板;Optionally, the pressure-sensitive component includes a first pole plate, a second pole plate and a substrate;
所述第一极板和所述第二极板与所述安装板滑动连接,所述基板与所述指纹采集器件远离所述安装板的一侧固定连接;The first pole plate and the second pole plate are slidably connected to the mounting plate, and the substrate is fixedly connected to a side of the fingerprint collection device away from the mounting plate;
沿垂直于所述屏幕的方向,所述第一极板的至少部分投影位于所述基板外,所述第二极板的投影位于所述基板内。Along a direction perpendicular to the screen, at least part of the projection of the first plate is located outside the base plate, and the projection of the second plate is located inside the base plate.
可选地,所述压感组件还包括推杆;所述推杆的一端与所述屏幕固定连接,另一端与所述第一极板固定连接。Optionally, the pressure sensing assembly further includes a push rod; one end of the push rod is fixedly connected to the screen, and the other end is fixedly connected to the first electrode plate.
可选地,所述弹性件为泡棉。Optionally, the elastic member is foam.
第二方面,本发明实施例还提供了一种电子设备,所述电子设备包括前述任一项所述的指纹压感模组,所述屏幕构成所述电子设备的显示屏,所述基座构成所述电子设备的中框。In the second aspect, the embodiment of the present invention also provides an electronic device, the electronic device includes the fingerprint pressure-sensing module described in any one of the foregoing, the screen constitutes the display screen of the electronic device, and the base It constitutes the middle frame of the electronic device.
相对于现有技术,本发明实施例提供的指纹压感模组及电子设备具备以下优势:Compared with the prior art, the fingerprint pressure-sensing module and electronic equipment provided by the embodiments of the present invention have the following advantages:
本发明实施例中提供的指纹压感模组通过采集器件进行屏幕上指纹信息的采集,实现屏幕指纹识别功能,通过压感组件进行屏幕上按压操作的检测,实现屏幕按键检测功能,屏幕的指纹识别与按键检测同步执行,简化了用户的操作方式,提升了用户的使用体验。同时压感组件位于指纹采集器件的周边,充分利用了屏下的闲置空间,提高了屏下空间的有效利用率。The fingerprint pressure-sensing module provided in the embodiment of the present invention collects fingerprint information on the screen through the collection device to realize the screen fingerprint identification function, and detects the pressing operation on the screen through the pressure-sensing component to realize the screen button detection function. Recognition and key detection are performed synchronously, which simplifies the user's operation mode and improves the user experience. At the same time, the pressure-sensitive component is located around the fingerprint collection device, making full use of the idle space under the screen and improving the effective utilization of the space under the screen.
本发明实施例提供的电子设备与前述指纹压感模组相对于现有技术具备相同的优势,在此不再赘述。Compared with the prior art, the electronic device provided by the embodiment of the present invention has the same advantages as the above-mentioned fingerprint pressure-sensing module, which will not be repeated here.
附图说明Description of drawings
为了更清楚地说明本发明实施例的技术方案,下面将对本发明实施例的描述中所需要使用的附图作简单地介绍,显而易见地,下面描述中的附图仅仅是本发明的一些实施例,对于本领域普通技术人员来讲,在不付出创造性劳动性的前提下,还可以根据这些附图获得其他的附图。In order to more clearly illustrate the technical solutions of the embodiments of the present invention, the following will briefly introduce the accompanying drawings that need to be used in the description of the embodiments of the present invention. Obviously, the accompanying drawings in the following description are only some embodiments of the present invention , for those skilled in the art, other drawings can also be obtained according to these drawings without paying creative labor.
图1表示本发明实施例的一种指纹压感模组按压前的示意图;Fig. 1 shows a schematic diagram of a fingerprint pressure-sensing module according to an embodiment of the present invention before pressing;
图2表示本发明实施例的一种指纹压感模组按压后的示意图;Fig. 2 shows a schematic diagram of a fingerprint pressure-sensing module according to an embodiment of the present invention after being pressed;
图3表示本发明实施例的另一种指纹压感模组按压前的示意图;Fig. 3 shows a schematic diagram of another fingerprint pressure-sensing module according to an embodiment of the present invention before pressing;
图4表示本发明实施例的另一种指纹压感模组按压后的示意图;Fig. 4 shows a schematic diagram of another fingerprint pressure-sensing module according to an embodiment of the present invention after being pressed;
图5表示本发明实施例的一种电子设备的示意图。Fig. 5 shows a schematic diagram of an electronic device according to an embodiment of the present invention.
1-屏幕,2-基座,3-弹性件,4-指纹采集器件,51-可变电阻,52-固定电阻,53-第一极板、第二极板,54-基板,55-推杆,6-安装板,7-指纹采集区域,8-压感通道。1-screen, 2-base, 3-elastic member, 4-fingerprint collection device, 51-variable resistor, 52-fixed resistor, 53-first plate, second plate, 54-substrate, 55-push Rod, 6-mounting plate, 7-fingerprint collection area, 8-pressure-sensitive channel.
具体实施方式detailed description
下面将结合本发明实施例中的附图,对本发明实施例中的技术方案进行清楚、完整地描述,显然,所描述的实施例是本发明一部分实施例,而不是全部的实施例。基于本发明中的实施例,本领域普通技术人员在没有作出创造性劳动前提下所获得的所有其他实施例,都属于本发明保护的范围。The following will clearly and completely describe the technical solutions in the embodiments of the present invention with reference to the accompanying drawings in the embodiments of the present invention. Obviously, the described embodiments are some of the embodiments of the present invention, but not all of them. Based on the embodiments of the present invention, all other embodiments obtained by persons of ordinary skill in the art without creative efforts fall within the protection scope of the present invention.
应理解,说明书通篇中提到的“一个实施例”或“一实施例”意味着与实施例有关的特定特征、结构或特性包括在本发明的至少一个实施例中。因此,在整个说明书各处出现的“在一个实施例中”或“在一实施例中”未必一定指相同的实施例。此外,这些特定的特征、结构或特性可以任意适合的方式结合在一个或多个实施例中。It should be understood that reference throughout this specification to "one embodiment" or "an embodiment" means that a particular feature, structure, or characteristic related to the embodiment is included in at least one embodiment of the present invention. Thus, appearances of "in one embodiment" or "in an embodiment" in various places throughout the specification are not necessarily referring to the same embodiment. Furthermore, the particular features, structures or characteristics may be combined in any suitable manner in one or more embodiments.
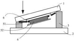
参见图1和图2,本发明提供了一种指纹压感模组,包括屏幕1、基座2、弹性件3、指纹采集器件4和至少一个压感组件;所述屏幕1与所述基座2相对设置,所述弹性件3分别与所述屏幕1和所述基座2固定连接,在所述屏幕1与所述基座2之间形成形变空间;所述指纹采集器件4设置于所述形变空间内,且与所述屏幕1固定连接,所述指纹采集器件4用于采集所述屏幕1上的指纹信息;所述指纹采集器件4与所述弹性件3之间形成压感通道,所述压感组件设置于所述压感通道内,用于检测所述屏幕1受到的按压操作的力度大小。1 and 2, the present invention provides a fingerprint pressure-sensitive module, including a
具体而言,指纹压感模组包括屏幕1、基座2、弹性件3、指纹采集器件4和至少一个压感组件,屏幕1为柔性电子屏,用户在屏幕1上进行按压操作,如图2中的箭头所示,按压操作能够使屏幕1发生一定程度的变形,屏幕1与基座2相对设置,弹性件3设置于屏幕1与基座2之间,其一端与屏幕1固定连接,另一端与基座2固定连接,在屏幕1与基座2之间形成形变空间。弹性件3可以为橡胶垫、硅胶垫、乳胶垫、泡棉垫等,具备较好的弹性变形能力,在屏幕1变形后利用其弹性特性能使屏幕1恢复到初始形态,以便接受下一次的按压操作。优选地,弹性件3选择泡棉垫,泡棉垫重量轻、耐热压、耐腐蚀、性能可靠,连接于屏幕1与基座2之间,在保证形变性能的基础上,还能减轻指纹压感模组的整体重量。指纹采集器件4设置于形变空间内,与屏幕1固定连接,能够采集屏幕1上用户输入的指纹信息,为实现屏幕1上各区域指纹信息的全面采集,可以将指纹采集器件4设置于屏幕1中心的正下方。指纹采集器件4与弹性件3之间形成压感通道,压感通道内设置有压感组件,压感组件能够检测屏幕1上受到的按压操作的力度大小,实现屏幕1上的按键功能。Specifically, the fingerprint pressure-sensitive module includes a
本实施例的指纹压感模组,通过采集器件进行屏幕上指纹信息的采集,实现屏幕指纹识别功能,通过压感组件进行屏幕上按压操作的检测,实现屏幕按键检测功能,屏幕的指纹识别与按键检测同步执行,简化了用户的操作方式,提升了用户的使用体验。同时压感组件位于指纹采集器件的周边,充分利用了屏下的闲置空间,提高了屏下空间的有效利用率。The fingerprint pressure-sensing module of this embodiment collects fingerprint information on the screen through the collection device to realize the screen fingerprint recognition function, and uses the pressure-sensitive component to detect the pressing operation on the screen to realize the screen button detection function. The key detection is performed synchronously, which simplifies the user's operation mode and improves the user experience. At the same time, the pressure-sensitive component is located around the fingerprint collection device, making full use of the idle space under the screen and improving the effective utilization of the space under the screen.
可选地,参见图1和图2,本发明实施例中,所述指纹压感模组还包括安装板6;所述安装板6设置于所述形变空间内,且与所述屏幕1固定连接,所述指纹采集器件4安装于所述安装板6上。Optionally, referring to Fig. 1 and Fig. 2, in the embodiment of the present invention, the fingerprint pressure sensing module further includes a mounting
具体而言,安装板6设置于形变空间内,与屏幕1固定连接,指纹采集器件4安装于安装板6上,安装板6能为指纹采集器件4提供一个预定位,便于快速定位指纹采集器件4的安装位置。安装板6可以由导电材料制成,以便于指纹采集器件4进行指纹信息的采集。优选地,安装板6可以为铜板,在导电的基础上具备较好的柔韧性,便于屏幕1进行变形,同时铜板成本较低,利于整体成本的控制。Specifically, the mounting
可选地,参见图1和图2,本发明实施例中,沿垂直于所述屏幕1的方向,所述安装板6的投影位于所述形变空间的中心区域。Optionally, referring to FIG. 1 and FIG. 2 , in the embodiment of the present invention, along the direction perpendicular to the
具体而言,沿垂直于屏幕1的方向,安装板6的投影位于形变空间的中心区域,相当于指纹采集器件4位于屏幕1的中心位置,中心位置与屏幕1各区域的距离相等,使得指纹采集器件4所采集的指纹信息更为准确,从而提高屏幕1指纹识别功能的准确性。Specifically, along the direction perpendicular to the
可选地,参见图1和图2,本发明实施例中,所述压感组件包括可变电阻51;所述可变电阻51的一端与所述屏幕1固定连接,另一端与所述安装板6固定连接,所述可变电阻51的阻值随所述按压操作发生变化。Optionally, referring to FIG. 1 and FIG. 2, in the embodiment of the present invention, the pressure-sensitive component includes a
具体而言,一种实施方式中,采用电阻式检测原理,压感组件包括可变电阻51,可变电阻51的阻值会由于外界环境的变化而变化,可变电阻51的一端与屏幕1固定连接,另一端与安装板6固定连接,示例性的,可变电阻51采用形状结构可发生变化的屈伸电阻,当屏幕1上接受到按压操作时,屏幕1发生不规则的形变,拉伸或压缩屈伸电阻,使其形状结构发生变化,屈伸电阻的阻值之发生变化,进而压感组件的检测结果发生变化,按压操作力度更大的部位,屈伸电阻的形变量更大,阻值变化相应更大,从而通过压感组件检测结果的变化即可完成按压操作力度的检测。Specifically, in one embodiment, the principle of resistive detection is adopted, and the pressure-sensitive component includes a
可选地,参见图1和图2,本发明实施例中,所述压感组件还包括固定电阻52,所述固定电阻52与所述安装板6固定连接;所述可变电阻51与所述固定电阻52电连接以形成惠斯通电桥。Optionally, referring to FIG. 1 and FIG. 2, in the embodiment of the present invention, the pressure-sensitive component further includes a fixed
具体而言,压感组件还包括固定电阻52,固定电阻52的阻值不会由于外界环境的变化而变化,固定电阻52与安装板6固定连接。固定电阻52和可变电阻51各为两个,四个电阻电连接形成惠斯通电桥,利用按压操作前后可变电阻51与固定电阻52的差值,在惠斯通电桥上反映按压大小的结果,从而将检测组件的输出结果进行差分放大,以提升压感模组对于按压操作检测的灵敏度。Specifically, the pressure-sensitive component further includes a fixed
可选地,参见图1和图2,本发明实施例中,沿垂直于所述屏幕1的方向,所述可变电阻51的投影大于所述固定电阻52的投影。Optionally, referring to FIG. 1 and FIG. 2 , in the embodiment of the present invention, along a direction perpendicular to the
具体而言,沿垂直于屏幕1的方向,可变电阻51的投影大于固定电阻52的投影,以确保在按压操作力度较大的情况下,可变电阻51仍能随发生形变以改变其阻值,从而使检测组件具备一个较大的按压操作力度检测范围,确保检测结果的准确性。Specifically, along the direction perpendicular to the
可选地,参见图3和图4,本发明实施例中,所述压感组件包括第一极板、第二极板和基板54;所述第一极板和所述第二极板与所述安装板6滑动连接,所述基板54与所述指纹采集器件4远离所述安装板6的一侧固定连接;沿垂直于所述屏幕1的方向,所述第一极板的至少部分投影位于所述基板54外,所述第二极板的投影位于所述基板54内。Optionally, referring to Fig. 3 and Fig. 4, in the embodiment of the present invention, the pressure-sensitive component includes a first pole plate, a second pole plate and a
具体而言,另一种实施方式中,压感组件采用电容式检测原理,包括第一极板53、第二极板53和基板54,注意第一极板和第二极板的标记一致仅代表图3和图4上第一极板和第二极板的所处位置均在标记部位,第一极板和第二极板本质上仍为两个不同的极板。第一极板和第二极板上带有电荷,第一极板和第二极板均与安装板6滑动连接,基板54则与指纹采集器件4远离安装板6的一侧固定连接,基板54上也带有电荷,第一极板和第二极板与基板54相对设置,第一极板与基板54之间形成一个电容,第二极板与基板54之间形成另一个电容。Specifically, in another embodiment, the pressure-sensitive component adopts the principle of capacitive detection, including the
当屏幕1接受到按压操作时,如图4中的箭头所示,安装板6运动,安装板6上的指纹采集器件4带动基板54随安装板6同步运动,而第一极板和第二极板在自身重力的作用下相对安装板6产生滑动,从而使得第一极板和第二极板相对基板54发生运动。沿垂直于屏幕1的方向,第一极板的至少部分投影位于基板54外,第二极板的投影全部位于基板54内,在第一极板和第二极板相对基板54发生运动的过程中,第一基板54在基板54内的垂直投影面积则会发生变化,第二基板54在基板54内的垂直投影面积不会发生变化,从而以第二极板与基板54所形成的电容为参考电容,建立差分信号,利用电容变化量对按压操作的力度大小进行检测,如电容变化量为:When the
其中,C1表示第一极板与基板54所形成的电容,C2表示第二极板与基板54所形成的电容,即参考电容,本实施例借助参考电容进行检测,能避免出现按压后弹性回塑程度不一致的问题,提升压感模组的灵敏度,同时,电容检测相较于电阻检测的安装难度较低,便于人员装配,在多次按压操作的情况下仍能保持较高的灵敏度可靠性,使用寿命更长。Among them, C1 represents the capacitance formed by the first pole plate and the
可选地,参见图3和图4,本发明实施例中,所述压感组件还包括推杆55;所述推杆55的一端与所述屏幕1固定连接,另一端与所述第一极板固定连接。Optionally, referring to Fig. 3 and Fig. 4, in the embodiment of the present invention, the pressure-sensitive assembly further includes a
具体而言,压感组件还包括推杆55,推杆55的一端与屏幕1固定连接,另一端与第一极板固定连接,当屏幕1接受到按压操作时,安装板6运动,推杆55能推动第一极板相对安装板6进行滑动,避免第一极板仅靠自身重力作用相对基板54滑动过程中出现卡死现象,从而确保第一极板与基板54所形成的电容可变,提升电容检测的准确性。Specifically, the pressure-sensitive component also includes a
参见图5,本发明还提供一种电子设备,所述电子设备包括前述任一项指纹压感模组,所述屏幕1构成所述电子设备的显示屏,所述基座2构成所述电子设备的中框。Referring to FIG. 5 , the present invention also provides an electronic device, the electronic device includes any one of the aforementioned fingerprint pressure-sensitive modules, the
具体而言,本发明实施例所提供的电子设备包括手机、平板电脑等,指纹压感模组嵌设于电子设备内部,为使电子设备更顺畅的使用,电子设备中指纹压感模组的数量可以为多个,多个指纹压感模组的屏幕1构成电子设备的显示屏,显示屏可以接收用户对电子设备的指纹及按压操作,多个指纹压感模组的基座2构成电子设备的中框,如图5所示,指纹采集器件4设置于电子设备的指纹采集区域7的正下方,压感组件设置于电子设备的压感通道8中,对应实现电子设备的指纹识别功能和按键检测功能。当然,在中框内还可以嵌设其他电子元件,以满足电子设备更多的功能。本实施例的电子设备可以同步执行屏幕1指纹识别功能和按键功能,简化了用户的操作方式,提升了用户的使用体验。Specifically, the electronic equipment provided by the embodiments of the present invention includes mobile phones, tablet computers, etc., and the fingerprint pressure-sensing module is embedded in the electronic equipment. The number can be multiple, the
需要说明的是,在本文中,术语“包括”、“包含”或者其任何其他变体意在涵盖非排他性的包含,从而使得包括一系列要素的过程、方法、物品或者装置不仅包括那些要素,而且还包括没有明确列出的其他要素,或者是还包括为这种过程、方法、物品或者装置所固有的要素。在没有更多限制的情况下,由语句“包括一个……”限定的要素,并不排除在包括该要素的过程、方法、物品或者装置中还存在另外的相同要素。It should be noted that, in this document, the term "comprising", "comprising" or any other variation thereof is intended to cover a non-exclusive inclusion such that a process, method, article or apparatus comprising a set of elements includes not only those elements, It also includes other elements not expressly listed, or elements inherent in the process, method, article, or device. Without further limitations, an element defined by the phrase "comprising a ..." does not preclude the presence of additional identical elements in the process, method, article, or apparatus comprising that element.
上面结合附图对本发明的实施例进行了描述,但是本发明并不局限于上述的具体实施方式,上述的具体实施方式仅仅是示意性的,而不是限制性的,本领域的普通技术人员在本发明的启示下,在不脱离本发明宗旨和权利要求所保护的范围情况下,还可做出很多形式,均属于本发明的保护之内。Embodiments of the present invention have been described above in conjunction with the accompanying drawings, but the present invention is not limited to the above-mentioned specific implementations, and the above-mentioned specific implementations are only illustrative, rather than restrictive, and those of ordinary skill in the art will Under the enlightenment of the present invention, without departing from the gist of the present invention and the protection scope of the claims, many forms can also be made, all of which belong to the protection of the present invention.
| Application Number | Priority Date | Filing Date | Title |
|---|---|---|---|
| CN202211131084.3ACN115439895A (en) | 2022-09-16 | 2022-09-16 | Fingerprint pressure-sensitive module and electronic equipment |
| Application Number | Priority Date | Filing Date | Title |
|---|---|---|---|
| CN202211131084.3ACN115439895A (en) | 2022-09-16 | 2022-09-16 | Fingerprint pressure-sensitive module and electronic equipment |
| Publication Number | Publication Date |
|---|---|
| CN115439895Atrue CN115439895A (en) | 2022-12-06 |
| Application Number | Title | Priority Date | Filing Date |
|---|---|---|---|
| CN202211131084.3APendingCN115439895A (en) | 2022-09-16 | 2022-09-16 | Fingerprint pressure-sensitive module and electronic equipment |
| Country | Link |
|---|---|
| CN (1) | CN115439895A (en) |
| Publication number | Priority date | Publication date | Assignee | Title |
|---|---|---|---|---|
| WO2024140385A1 (en)* | 2022-12-26 | 2024-07-04 | 维沃移动通信有限公司 | Fingerprint module and electronic device |
| WO2024160099A1 (en)* | 2023-01-30 | 2024-08-08 | 维沃移动通信有限公司 | Electronic device |
| Publication number | Priority date | Publication date | Assignee | Title |
|---|---|---|---|---|
| WO2007086489A1 (en)* | 2006-01-30 | 2007-08-02 | Alps Electric Co., Ltd. | Capacitive pressure sensor |
| US20110273396A1 (en)* | 2010-05-06 | 2011-11-10 | Samsung Electro-Mechanics Co., Ltd. | Touch screen device |
| CN105809141A (en)* | 2016-03-17 | 2016-07-27 | 广东欧珀移动通信有限公司 | Screen component, fingerprint collection and identification method, mobile terminal and electronic device |
| US20160282999A1 (en)* | 2015-03-23 | 2016-09-29 | Lg Display Co., Ltd. | Touch screen device and method for driving thereof, and portable electronic device comprising the same |
| CN106775118A (en)* | 2017-01-11 | 2017-05-31 | 苏州迈瑞微电子有限公司 | A kind of pressure sensitive device and equipment |
| WO2020195461A1 (en)* | 2019-03-25 | 2020-10-01 | アルプスアルパイン株式会社 | Pressure-sensitive member and pressure detection device |
| CN213243972U (en)* | 2020-09-10 | 2021-05-18 | 北京小米移动软件有限公司 | Terminal equipment and pressure sensing module used for same |
| CN114115453A (en)* | 2021-10-21 | 2022-03-01 | 维沃移动通信有限公司 | Electronic equipment |
| CN114926867A (en)* | 2022-05-10 | 2022-08-19 | 维沃移动通信有限公司 | Detection method and electronic equipment |
| Publication number | Priority date | Publication date | Assignee | Title |
|---|---|---|---|---|
| WO2007086489A1 (en)* | 2006-01-30 | 2007-08-02 | Alps Electric Co., Ltd. | Capacitive pressure sensor |
| US20110273396A1 (en)* | 2010-05-06 | 2011-11-10 | Samsung Electro-Mechanics Co., Ltd. | Touch screen device |
| US20160282999A1 (en)* | 2015-03-23 | 2016-09-29 | Lg Display Co., Ltd. | Touch screen device and method for driving thereof, and portable electronic device comprising the same |
| CN105809141A (en)* | 2016-03-17 | 2016-07-27 | 广东欧珀移动通信有限公司 | Screen component, fingerprint collection and identification method, mobile terminal and electronic device |
| CN106775118A (en)* | 2017-01-11 | 2017-05-31 | 苏州迈瑞微电子有限公司 | A kind of pressure sensitive device and equipment |
| WO2020195461A1 (en)* | 2019-03-25 | 2020-10-01 | アルプスアルパイン株式会社 | Pressure-sensitive member and pressure detection device |
| CN213243972U (en)* | 2020-09-10 | 2021-05-18 | 北京小米移动软件有限公司 | Terminal equipment and pressure sensing module used for same |
| CN114115453A (en)* | 2021-10-21 | 2022-03-01 | 维沃移动通信有限公司 | Electronic equipment |
| CN114926867A (en)* | 2022-05-10 | 2022-08-19 | 维沃移动通信有限公司 | Detection method and electronic equipment |
| Title |
|---|
| HUANG JING 等: "Research and Application of Pressure Sensitive Fingerprint Acquisition System", 2010 FIRST INTERNATIONAL CONFERENCE ON NETWORKING AND DISTRIBUTED COMPUTING, 29 November 2010 (2010-11-29)* |
| P. REY 等: "A high density capacitive pressure sensor array for fingerprint sensor application", PROCEEDINGS OF INTERNATIONAL SOLID STATE SENSORS AND ACTUATORS CONFERENCE (TRANSDUCERS \'97), 6 August 2002 (2002-08-06)* |
| 徐家泉: "压感式指纹识别系统及算法研究", 中国优秀硕士学位论文全文数据库 信息科技辑, 15 June 2012 (2012-06-15)* |
| 王孚雷: "基于压电效应的集成式压力传感系统研究", 中国博士学位论文全文数据库 信息科技辑, 15 November 2020 (2020-11-15)* |
| 赵高杰: "基于MEMS的4H-SiC压力传感器工艺研究", 中国优秀硕士学位论文全文数据库 信息科技辑, 15 February 2017 (2017-02-15)* |
| Publication number | Priority date | Publication date | Assignee | Title |
|---|---|---|---|---|
| WO2024140385A1 (en)* | 2022-12-26 | 2024-07-04 | 维沃移动通信有限公司 | Fingerprint module and electronic device |
| WO2024160099A1 (en)* | 2023-01-30 | 2024-08-08 | 维沃移动通信有限公司 | Electronic device |
| Publication | Publication Date | Title |
|---|---|---|
| US10353506B2 (en) | Dual resistive strain and pressure sensor for force touch | |
| JP5611282B2 (en) | Force imaging input devices and systems | |
| CN104408434B (en) | Fingerprint acquisition apparatus and electronic equipment | |
| EP2465019B1 (en) | Printed force sensor within a touch screen | |
| CN115439895A (en) | Fingerprint pressure-sensitive module and electronic equipment | |
| CN102012771B (en) | Sensor device and information processing device | |
| EP2162817B1 (en) | Uniform threshold for capacitive sensing | |
| US20170356812A1 (en) | Flexible transparent sensor with ionically-conductive material | |
| CN106569628A (en) | Force-sensing touch screen input device | |
| WO2010014356A2 (en) | Single sided capacitive force sensor for electronic devices | |
| TW201017488A (en) | Pressure detection module, and touch panel with pressure detection module | |
| CN206523863U (en) | Piezoresistive transducer, pressure-detecting device, electronic equipment | |
| CN105404430B (en) | 3D pressure-sensitive touch screen, manufacturing method thereof and 3D pressure-sensitive touch implementation method | |
| WO2021185003A1 (en) | Pressure-induction structure and electronic product | |
| EP0817110A2 (en) | Terminal device with touch screen | |
| US20240280422A1 (en) | Shear force sensor, and detection unit for shear force sensor | |
| CN111126351B (en) | Fingerprint identification module | |
| CN211321317U (en) | Pressure sensor module, pressure detection device and electronic equipment | |
| CN112486351A (en) | Pressure sensing device and touch panel | |
| CN114270157A (en) | Force sensing device, force sensing method and equipment | |
| KR101124225B1 (en) | Touch inputting apparatus with integral sensors and method for fabricating thereof | |
| CN108595052B (en) | Touch device with touch buttons on the back frame | |
| CN109598178B (en) | Ultrasonic fingerprint identification module and electronic device | |
| CN212659063U (en) | Stress sensing film, touch module and electronic equipment | |
| CN111262985A (en) | Electronic device and control method thereof |
| Date | Code | Title | Description |
|---|---|---|---|
| PB01 | Publication | ||
| PB01 | Publication | ||
| SE01 | Entry into force of request for substantive examination | ||
| SE01 | Entry into force of request for substantive examination |