Movatterモバイル変換


[0]ホーム

URL:


CN115375893A - Certificate authenticity identification method and device, computer readable medium and electronic equipment - Google Patents

Certificate authenticity identification method and device, computer readable medium and electronic equipment
Download PDF

Info

Publication number
CN115375893A
CN115375893ACN202110559567.2ACN202110559567ACN115375893ACN 115375893 ACN115375893 ACN 115375893ACN 202110559567 ACN202110559567 ACN 202110559567ACN 115375893 ACN115375893 ACN 115375893A
Authority
CN
China
Prior art keywords
counterfeiting
verification
feature
result
model
Prior art date
Legal status (The legal status is an assumption and is not a legal conclusion. Google has not performed a legal analysis and makes no representation as to the accuracy of the status listed.)
Pending
Application number
CN202110559567.2A
Other languages
Chinese (zh)
Inventor
钱浩然
Current Assignee (The listed assignees may be inaccurate. Google has not performed a legal analysis and makes no representation or warranty as to the accuracy of the list.)
Tencent Technology Shenzhen Co Ltd
Original Assignee
Tencent Technology Shenzhen Co Ltd
Priority date (The priority date is an assumption and is not a legal conclusion. Google has not performed a legal analysis and makes no representation as to the accuracy of the date listed.)
Filing date
Publication date
Application filed by Tencent Technology Shenzhen Co LtdfiledCriticalTencent Technology Shenzhen Co Ltd
Priority to CN202110559567.2ApriorityCriticalpatent/CN115375893A/en
Publication of CN115375893ApublicationCriticalpatent/CN115375893A/en
Pendinglegal-statusCriticalCurrent

Links

Images

Classifications

Landscapes

Abstract

The application discloses a certificate authenticity identification method, a certificate authenticity identification device, a computer readable medium and electronic equipment, wherein the method comprises the following steps: acquiring anti-counterfeiting identification results obtained by respectively carrying out anti-counterfeiting identification processing on a plurality of certificate images of a target certificate by an anti-counterfeiting identification model; carrying out feature mining on the anti-counterfeiting identification results of the plurality of certificate images to obtain extended features; generating at least one feature combination according to the anti-counterfeiting identification result and the extended features, and verifying each feature combination through a verification model corresponding to each feature combination to obtain a verification result corresponding to each feature combination; and determining the authenticity of the target certificate according to the verification result corresponding to each characteristic combination. The technical scheme of this application can carry out true and false discernment to the target certificate from a plurality of dimensions, improves the accuracy of certificate true and false discernment.

Description

Certificate authenticity identification method and device, computer readable medium and electronic equipment
Technical Field
The application belongs to the technical field of computers and communication, and particularly relates to a certificate authenticity identification method and device, a computer readable medium and electronic equipment.
Background
Documents (such as identity cards, passports, driver's licenses, etc.) are important documents for recording basic information of individuals, and are widely used in many fields of social activities. In daily life, people often need to upload a document image on the internet to perform identity verification. However, there may be cases where a user uploads a counterfeit document image in order to impersonate the identity of another person, and thus, authentication of the document is required. However, the certificate authenticity identification method proposed in the related art has problems of low identification accuracy and the like.
It is to be noted that the information disclosed in the above background section is only for enhancement of understanding of the background of the present application and therefore may include information that does not constitute prior art known to a person of ordinary skill in the art.
Disclosure of Invention
The application aims to provide a certificate authenticity identification method, a certificate authenticity identification device, a computer readable medium and electronic equipment so as to solve the problem that authenticity identification accuracy of current certificates is not high.
Other features and advantages of the present application will be apparent from the following detailed description, or may be learned by practice of the application.
According to an aspect of an embodiment of the present application, there is provided a method for identifying authenticity of a document, including:
acquiring anti-counterfeiting identification results obtained by respectively carrying out anti-counterfeiting identification processing on a plurality of certificate images of a target certificate by an anti-counterfeiting identification model;
carrying out feature mining on the anti-counterfeiting identification results of the plurality of certificate images to obtain extended features;
generating at least one feature combination according to the anti-counterfeiting identification result and the extended features, and verifying each feature combination through a verification model corresponding to each feature combination to obtain a verification result corresponding to each feature combination;
and determining the authenticity of the target certificate according to the verification result corresponding to each feature combination.
According to an aspect of an embodiment of the present application, there is provided a certificate authenticity identifying apparatus including:
the anti-counterfeiting identification result acquisition module is used for acquiring anti-counterfeiting identification results obtained by respectively carrying out anti-counterfeiting identification processing on a plurality of certificate images of the target certificate by the anti-counterfeiting identification model;
the feature mining module is used for performing feature mining on the anti-counterfeiting identification results of the plurality of certificate images to obtain extended features;
the verification module is used for generating at least one feature combination according to the anti-counterfeiting identification result and the extended features, and verifying each feature combination through a verification model corresponding to each feature combination to obtain a verification result corresponding to each feature combination;
and the certificate authenticity determining module is used for determining the authenticity of the target certificate according to the verification result corresponding to each feature combination.
In one embodiment of the present application, the anti-counterfeit identification result obtaining module includes:
the anti-counterfeiting point detection unit is used for detecting anti-counterfeiting points contained in a plurality of certificate images of the target certificate, and the anti-counterfeiting points comprise static anti-counterfeiting points and dynamic anti-counterfeiting points;
the static anti-counterfeiting point identification unit is used for carrying out anti-counterfeiting identification on each static anti-counterfeiting point through the anti-counterfeiting identification model to obtain a static anti-counterfeiting identification result of each static anti-counterfeiting point, and the static anti-counterfeiting identification result comprises the authenticity probability of the static anti-counterfeiting point;
and the dynamic anti-counterfeiting point identification unit is used for performing anti-counterfeiting identification on each dynamic anti-counterfeiting point through the anti-counterfeiting identification model to obtain a dynamic anti-counterfeiting identification result, and the dynamic anti-counterfeiting identification result comprises the authenticity probability of the dynamic anti-counterfeiting point and the characteristic change sequence of the dynamic anti-counterfeiting point.
In one embodiment of the present application, the feature mining module includes:
and the static characteristic mining unit is used for calculating a statistical value of the authenticity probability of the static anti-counterfeiting points according to the static anti-counterfeiting identification result of each static anti-counterfeiting point, and taking the statistical value of the authenticity probability of the static anti-counterfeiting points as the extended characteristic, wherein the statistical value comprises at least one of a mean value, a variance, a median and a gradient.
In one embodiment of the present application, the feature mining module comprises:
the dynamic characteristic mining unit is used for calculating a statistical value of the authenticity probability of the dynamic anti-counterfeiting points according to the dynamic anti-counterfeiting identification result of each dynamic anti-counterfeiting point, wherein the statistical value comprises at least one of a mean value, a variance, a median and a gradient; sampling the characteristic change sequence of the dynamic anti-counterfeiting points according to a plurality of sampling rules to obtain a characteristic change subsequence; and taking the statistic value of the true and false probability of the dynamic anti-counterfeiting point and the characteristic change subsequence as the extension characteristic.
In an embodiment of the application, the at least one feature combination includes a fused feature obtained by fusing the anti-counterfeit identification result and the extended feature, and the verification module is specifically configured to:
and verifying the fusion characteristics through a first verification model to obtain a first verification result corresponding to the fusion characteristics, wherein the first verification model is obtained by training the fusion characteristics according to a training sample.
In an embodiment of the application, the certificate authenticity determination module is specifically configured to:
if the probability value contained in the first verification result is greater than or equal to a preset threshold value, determining that the target certificate is a true certificate; and if the probability value contained in the first verification result is smaller than a preset threshold value, determining that the target certificate is a fake certificate.
In an embodiment of the application, the at least one feature combination includes the anti-counterfeit identification result and the extended feature, and the verification module is specifically configured to:
verifying the extended features through a second verification model to obtain a second verification result corresponding to the extended features, wherein the second verification model is obtained by training extended features of training samples; and verifying the anti-counterfeiting recognition result through a third verification model to obtain a third verification result corresponding to the anti-counterfeiting recognition result, wherein the third verification model is obtained by training according to the anti-counterfeiting recognition result of the training sample.
In an embodiment of the application, the certificate authenticity determination module is specifically configured to:
obtaining a first accuracy of the first verification model and a second accuracy of the second verification model;
determining a weighted average value of the probability value contained in the first verification result and the probability value contained in the second verification result according to the first accuracy and the second accuracy;
and determining the authenticity of the target certificate according to the weighted average value.
In an embodiment of the application, the at least one feature combination includes the anti-counterfeit identification result, the extended feature, and a fused feature obtained by fusing the anti-counterfeit identification result and the extended feature, and the verification module is specifically configured to:
verifying the fusion characteristics through a first verification model to obtain a first verification result corresponding to the fusion characteristics, wherein the first verification model is obtained by training fusion characteristics according to a training sample; verifying the extended features through a second verification model to obtain a second verification result corresponding to the extended features, wherein the second verification model is obtained by training extended features of training samples; and verifying the anti-counterfeiting recognition result through a third verification model to obtain a third verification result corresponding to the anti-counterfeiting recognition result, wherein the third verification model is obtained by training according to the anti-counterfeiting recognition result of a training sample.
In an embodiment of the application, the certificate authenticity determination module is specifically configured to:
obtaining a first accuracy of the first verification model, a second accuracy of the second verification model, and a third accuracy of the third verification model;
determining a weighted average value of a probability value contained in the first verification result, a probability value contained in the second verification result and a probability value contained in the third verification result according to the first accuracy, the second accuracy and the third accuracy;
and determining the authenticity of the target certificate according to the weighted average value.
In one embodiment of the present application, the apparatus further comprises:
the training sample acquisition module is used for acquiring training sample anti-counterfeiting recognition results which are respectively output by the anti-counterfeiting recognition model aiming at a plurality of training sample certificate images;
the training sample feature mining module is used for performing feature mining on the anti-counterfeiting recognition result of the training sample to obtain the extended features of the training sample;
the training sample feature fusion module is used for fusing the anti-counterfeiting identification result of the training sample with the training sample extension feature to obtain a training sample fusion feature;
the first verification model training module is used for constructing a first machine learning model and training the first machine learning model through the training sample fusion characteristics to obtain the first verification model;
the second verification model training module is used for constructing a second machine learning model and training the second machine learning model through the training sample extended features to obtain the second verification model;
and the third verification model training module is used for constructing a third machine learning model and training the third machine learning model according to the anti-counterfeiting recognition result of the training sample to obtain a third verification model.
In one embodiment of the present application, the apparatus further comprises:
the first accuracy rate determining module is used for testing the first verification model through the test sample fusion characteristics and determining the first accuracy rate of the first verification model according to the test result;
the second accuracy rate determining module is used for testing the second verification model through the test sample extension characteristics and determining the second accuracy rate of the second verification model according to the test result;
and the third accuracy rate determining module is used for testing the third verification model according to the anti-counterfeiting identification result of the test sample and determining the third accuracy rate of the third verification model according to the test result.
According to an aspect of the embodiments of the present application, there is provided a computer readable medium, on which a computer program is stored, the computer program, when being executed by a processor, implements the certificate authenticity identification method as in the above technical solution.
According to an aspect of an embodiment of the present application, there is provided an electronic apparatus including: a processor; and a memory for storing executable instructions of the processor; wherein the processor is configured to execute the certificate authenticity identification method as in the above technical solution via executing the executable instructions.
According to an aspect of an embodiment of the present application, there is provided a computer program product or a computer program comprising computer instructions stored in a computer readable storage medium. The processor of the computer device reads the computer instructions from the computer readable storage medium, and the processor executes the computer instructions, so that the computer device executes the certificate authenticity identification method in the technical scheme.
In the technical scheme provided by the embodiment of the application, after the anti-counterfeiting identification result of the anti-counterfeiting identification model is obtained, the authenticity of the target certificate is not directly determined according to the anti-counterfeiting identification result, but the feature mining is continuously carried out on the anti-counterfeiting identification result to obtain the extended feature, the features of multiple dimensions which can be used for anti-counterfeiting identification are increased, so that the authenticity identification can be carried out on the target certificate from multiple dimensions, and the accuracy of the authenticity identification of the certificate is improved. And different feature combinations are verified by different verification models, and finally the authenticity of the target certificate is determined through the verification result of each feature combination, so that the generalization capability of certificate authenticity identification can be improved, and the problem of low identification precision caused by model over-fitting or under-fitting can be effectively solved.
It is to be understood that both the foregoing general description and the following detailed description are exemplary and explanatory only and are not restrictive of the application.
Drawings
The accompanying drawings, which are incorporated in and constitute a part of this specification, illustrate embodiments consistent with the present application and together with the description, serve to explain the principles of the application. It is obvious that the drawings in the following description are only some embodiments of the application, and that for a person skilled in the art, other drawings can be derived from them without inventive effort.
Fig. 1 schematically shows an exemplary system architecture block diagram to which the technical solution of the present application is applied.
Fig. 2 schematically shows a flowchart of a certificate authenticity identification method provided by an embodiment of the application.
Fig. 3 schematically shows a flowchart of a process of anti-counterfeiting identification of a document image by the anti-counterfeiting identification model provided by an embodiment of the application.
Fig. 4 schematically shows a flow chart of a certificate authenticity identification method provided by another embodiment of the application.
Fig. 5 schematically shows a block diagram of a certificate authenticity identification device provided by an embodiment of the present application.
Fig. 6 schematically shows a block diagram of a multi-anti-counterfeit-point result integration system provided in the embodiment of the present application.
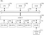
FIG. 7 schematically illustrates a block diagram of a computer system suitable for use in implementing an electronic device of an embodiment of the present application.
Detailed Description
Example embodiments will now be described more fully with reference to the accompanying drawings. Example embodiments may, however, be embodied in many different forms and should not be construed as limited to the examples set forth herein; rather, these embodiments are provided so that this disclosure will be thorough and complete, and will fully convey the concept of example embodiments to those skilled in the art.
Furthermore, the described features, structures, or characteristics may be combined in any suitable manner in one or more embodiments. In the following description, numerous specific details are provided to give a thorough understanding of embodiments of the application. One skilled in the relevant art will recognize, however, that the subject matter of the present application can be practiced without one or more of the specific details, or with other methods, components, devices, steps, and so forth. In other instances, well-known methods, devices, implementations, or operations have not been shown or described in detail to avoid obscuring aspects of the application.
The block diagrams shown in the figures are functional entities only and do not necessarily correspond to physically separate entities. I.e. these functional entities may be implemented in the form of software, or in one or more hardware modules or integrated circuits, or in different networks and/or processor means and/or microcontroller means.
The flow charts shown in the drawings are merely illustrative and do not necessarily include all of the contents and operations/steps, nor do they necessarily have to be performed in the order described. For example, some operations/steps may be decomposed, and some operations/steps may be combined or partially combined, so that the actual execution sequence may be changed according to the actual situation.
It should be noted that: reference herein to "a plurality" means two or more. "and/or" describe the association relationship of the associated objects, meaning that there may be three relationships, e.g., A and/or B may mean: a exists alone, A and B exist simultaneously, and B exists alone. The character "/" generally indicates that the former and latter associated objects are in an "or" relationship.
The technical scheme of the embodiment of the application applies the machine learning model to identify the authenticity of the certificate. Machine Learning (ML) is a multi-domain cross discipline, and relates to a plurality of disciplines such as probability theory, statistics, approximation theory, convex analysis, algorithm complexity theory and the like. The special research on how a computer simulates or realizes the learning behavior of human beings so as to acquire new knowledge or skills and reorganize the existing knowledge structure to continuously improve the performance of the computer. Machine learning is the core of artificial intelligence, is the fundamental approach to make computers have intelligence, and is applied in various fields of artificial intelligence. Machine learning and deep learning generally include techniques such as artificial neural networks, belief networks, reinforcement learning, transfer learning, inductive learning, and formal education learning. The machine learning model applied in the technical solution of the embodiment of the present application may be deployed in the system architecture shown in fig. 1.
Fig. 1 schematically shows an exemplary system architecture block diagram to which the technical solution of the present application is applied.
As shown in fig. 1,system architecture 100 may includeterminal device 101,network 102, andserver 103. Theterminal device 101 may include various electronic devices such as a smart phone, a tablet computer, a notebook computer, and a desktop computer. Theserver 103 may be an independent physical server, a server cluster or a distributed system formed by a plurality of physical servers, or a cloud server providing cloud computing services.Network 102 may be any of a variety of connection types of communication media capable of providing a communication link betweenterminal device 101 andserver 103, such as a wired communication link or a wireless communication link, including but not limited to: bluetooth, WI-FI, near Field Communication (NFC), cellular mobile Communication network. A user may useterminal device 101 to interact withserver 103 overnetwork 102 to receive or send messages and the like.
The system architecture in the embodiment of the present application may have any number ofterminal devices 101,networks 102, andservers 103, according to implementation needs. For example, theserver 103 may be a server group composed of a plurality of server devices. In addition, the technical solution provided in the embodiment of the present application may be applied to theterminal device 101, or may also be applied to theserver 103, or may be implemented by both theterminal device 101 and theserver 103, which is not particularly limited in this application.
For example, theterminal device 101 may capture a plurality of certificate images of thetarget certificate 104 for which authenticity identification is required, and then transmit the plurality of certificate images to theserver 103 via thenetwork 102. After receiving the plurality of certificate images, theserver 103 firstly performs anti-counterfeiting identification processing on the plurality of certificate images through the anti-counterfeiting identification model to obtain corresponding anti-counterfeiting identification results; then, feature mining is carried out on anti-counterfeiting identification results of a plurality of certificate images to obtain extended features; and finally, generating at least one characteristic combination according to the anti-counterfeiting identification result and the extended characteristic, verifying each characteristic combination through a verification model corresponding to each characteristic combination to obtain a verification result corresponding to each characteristic combination, and further determining the authenticity of the target certificate according to the verification result corresponding to each characteristic combination.
In an embodiment of the present application, after determining the authenticity of thetarget certificate 104, theserver 103 may return the authenticity result of thetarget certificate 104 to theterminal device 101 through thenetwork 102, and theterminal device 101 may show the authenticity result of thetarget certificate 104 to the user.
In an embodiment of the present application, the certificate authenticity identification method provided by the embodiment of the present application is executed by theserver 103, theserver 103 is configured to receive a plurality of certificate images of thetarget certificate 104 uploaded by theterminal device 101, and identify authenticity of thetarget certificate 104 based on the plurality of certificate images, and accordingly, a certificate authenticity identification apparatus is generally disposed in theserver 103. However, it is easily understood by those skilled in the art that the certificate authenticity identification method provided in the embodiment of the present application may also be executed by theterminal device 101, and accordingly, the certificate authenticity identification apparatus may also be disposed in theterminal device 101, which is not particularly limited in the exemplary embodiment. For example, in an exemplary embodiment, theterminal device 101 is configured to capture and acquire a plurality of certificate images of thetarget certificate 104, and identify whether thetarget certificate 104 is authentic or counterfeit based on the plurality of certificate images.
The implementation details of the technical solution of the embodiment of the present application are set forth in detail below:
FIG. 2 schematically illustrates a flow diagram of a certificate authenticity identification method provided by one embodiment of the present application, which may be performed by a server, which may be theserver 103 shown in FIG. 1; the certificate authenticity identification method may also be performed by a terminal device, which may be theterminal device 101 shown in fig. 1. As shown in fig. 2, the method for identifying authenticity of a certificate provided in an embodiment of the present application at least includessteps 210 to 240, which specifically include:
and 210, acquiring anti-counterfeiting identification results obtained by respectively carrying out anti-counterfeiting identification processing on a plurality of certificate images of the target certificate by the anti-counterfeiting identification model.
Specifically, the target document may be an entity document such as an identity card, a passport, a social security card, or a medical security card. The multiple certificate images of the target certificate can be multiple certificate images obtained by image acquisition equipment acquiring the target certificate from different angles, or can be multiple certificate images obtained by image acquisition equipment acquiring video streams containing the target certificate from different angles and then acquiring the multiple certificate images from the video streams. The anti-counterfeiting identification model is a conventional model for identifying authenticity of a certificate image. When the anti-counterfeiting identification model processes the certificate images, each certificate image can be subjected to anti-counterfeiting identification and a corresponding identification result is output, so that a plurality of anti-counterfeiting identification results can be obtained after the anti-counterfeiting identification processing is carried out on the certificate images by the anti-counterfeiting identification model.
In one embodiment of the present application, the target document is typically provided with indicia, referred to as security dots, having a security identification detection effect. When the anti-counterfeit identification model performs anti-counterfeit identification on the certificate image of the target certificate, usually, anti-counterfeit points on the certificate image are subjected to anti-counterfeit identification, as shown in fig. 3, the anti-counterfeit identification processing of the anti-counterfeit identification model on the certificate image at least includessteps 310 to 330, specifically:
step 310, detecting security dots included in a plurality of document images of a target document, the security dots including static security dots and dynamic security dots.
Specifically, the anti-counterfeiting points include static anti-counterfeiting points and dynamic anti-counterfeiting points. Static anti-counterfeiting points are anti-counterfeiting marks which cannot generate different visual effects (such as visual effects of color, shape, outline, contrast, saturation and the like) due to environmental changes (such as angle and illumination changes of the certificate), such as texture characters printed on the certificate through a micro-printing technology. The dynamic anti-counterfeiting point is an anti-counterfeiting mark which can generate different visual effects (such as visual effects of color, shape, outline, contrast, definition, saturation and the like) according to environmental changes (such as angle and illumination changes of the certificate), such as color-changing ink, dynamic printing, a hologram, a laser image, a three-dimensional embossment and the like.
And 320, performing anti-counterfeiting identification on each static anti-counterfeiting point through the anti-counterfeiting identification model to obtain a static anti-counterfeiting identification result of each static anti-counterfeiting point, wherein the static anti-counterfeiting identification result comprises the authenticity probability of the static anti-counterfeiting point.
And 330, performing anti-counterfeiting identification on each dynamic anti-counterfeiting point through the anti-counterfeiting identification model to obtain a dynamic anti-counterfeiting identification result, wherein the dynamic anti-counterfeiting identification result comprises the authenticity probability of the dynamic anti-counterfeiting point and the characteristic change sequence of the dynamic anti-counterfeiting point.
Specifically, after the static anti-counterfeiting point and the dynamic anti-counterfeiting point in the certificate image are detected, the static anti-counterfeiting point and the dynamic anti-counterfeiting point are subjected to anti-counterfeiting identification processing through the anti-counterfeiting identification model respectively to obtain a corresponding static anti-counterfeiting identification result and a corresponding dynamic anti-counterfeiting identification result. And for the static anti-counterfeiting identification result, the static anti-counterfeiting identification result comprises the true and false probability of the static anti-counterfeiting point, and the true and false probability represents the probability value that the static anti-counterfeiting point is true. The dynamic anti-counterfeiting identification result comprises the authenticity probability of the dynamic anti-counterfeiting points and the characteristic change sequence of the dynamic anti-counterfeiting points, wherein the authenticity probability represents the probability value that the dynamic anti-counterfeiting points are true, and the characteristic change sequence represents the characteristic sequence formed by the attribute information change (such as the change of color, definition, texture, shape and the like) of the dynamic anti-counterfeiting points of the certificate images.
In an embodiment of the present application, the authenticity probability of the static anti-counterfeit point included in the static anti-counterfeit identification result and the authenticity probability of the dynamic anti-counterfeit point included in the dynamic anti-counterfeit identification result are both a value between 0 and 1, and the closer the value is to 1, the more genuine the corresponding static anti-counterfeit point or dynamic anti-counterfeit point is. The sequence of changes in the characteristics of the dynamic security dots is typically ordered according to the time sequence of the plurality of credential images. For example, the number of the certificate images is 10, 10 certificate images are numbered from 1 to 10 according to time sequence, and the attribute information A of the dynamic anti-counterfeiting point of the ith certificate imagei Then the characteristic change sequence of the dynamic anti-counterfeiting point can be expressed as (A)1 ,A2 ,A3 ,A4 ,A5 ,A6 ,A7 ,A8 ,A9 ,A10 )。
Generally speaking, in certificate identification, a static anti-counterfeiting identification result of each static anti-counterfeiting point and a voting result of a dynamic anti-counterfeiting identification result of each dynamic anti-counterfeiting point are generally used as a final authenticity identification result of a certificate image, so that the authenticity obtained certificate result is difficult to distinguish the quality and importance degree of each anti-counterfeiting point, the expression capability of each anti-counterfeiting point is poor, and the accuracy and the generalization of the anti-counterfeiting result are still to be improved.
Continuing to refer to fig. 2, instep 220, feature mining is performed on the anti-counterfeiting identification results of the plurality of certificate images to obtain extended features.
Specifically, feature mining is to further analyze and process the anti-counterfeiting identification results of a plurality of certificate images to obtain extended features. The feature mining may be calculating related statistics according to the anti-counterfeiting recognition results of the plurality of certificate images, analyzing differences or common points of the anti-counterfeiting recognition results of the plurality of certificate images, presetting a standard of the anti-counterfeiting recognition results (for example, setting a value range of true and false probabilities of the anti-counterfeiting points in the anti-counterfeiting recognition results), and then analyzing differences or common points of the anti-counterfeiting recognition results of the plurality of certificate images and the preset standard.
In one embodiment of the present application, since the anti-counterfeit recognition result of the document image includes a static anti-counterfeit recognition result and a dynamic anti-counterfeit recognition result, the feature mining also includes feature mining of the static anti-counterfeit recognition result and feature mining of the dynamic anti-counterfeit recognition result.
In one embodiment of the present application, the feature mining of the static anti-counterfeit identification result comprises: and calculating a statistical value of the true and false probability of the static anti-counterfeiting points according to the static anti-counterfeiting identification result of each static anti-counterfeiting point, wherein the statistical value of the true and false probability of the static anti-counterfeiting points is used as an expansion characteristic, and comprises at least one of a mean value, a variance, a median and a gradient. Specifically, the feature mining of the static anti-counterfeiting identification result is to calculate a statistical value of the authenticity probability of each static anti-counterfeiting point, and the statistical value is used as an extended feature, the statistical value includes at least one of a mean value, a variance, a median and a gradient, the statistical value may further include statistical parameters such as a standard deviation, a mode, an average difference, a full distance and the like, and the mean value may be one or more of an arithmetic mean value, a geometric mean value, a harmonic mean value, a weighted mean value and the like.
In an embodiment of the present application, when calculating the statistical value of the authenticity probability of the static anti-counterfeit points, the authenticity probability of all the static anti-counterfeit points may be used as a group of data to calculate the statistical value, or the authenticity probability of the static anti-counterfeit points may be grouped, and then the statistical value of each group of data is calculated respectively. For example, the static anti-counterfeiting recognition results of 10 static anti-counterfeiting points are obtained, that is, the authenticity probabilities of the static anti-counterfeiting points are 10 data, and the mean value, the variance and the median of the 10 data are calculated as the extended features. Optionally, the authenticity probability of 10 static anti-counterfeiting points is divided into 2 groups, each group has 5 data, and then the mean, variance and median corresponding to the 5 data in each group are respectively calculated as the expansion feature. When grouping, the true and false probabilities of 10 static anti-counterfeiting points can be sequenced according to the time sequence of the corresponding certificate image, then the first 5 data are divided into one group, and the last 5 data are divided into another group; the authenticity probability of 10 static anti-counterfeiting points can be randomly divided into 2 groups.
In one embodiment of the present application, the feature mining of the dynamic anti-counterfeiting identification result comprises: calculating a statistical value of the authenticity probability of each dynamic anti-counterfeiting point according to the dynamic anti-counterfeiting identification result of each dynamic anti-counterfeiting point, wherein the statistical value comprises at least one of a mean value, a variance, a median and a gradient; sampling the characteristic change sequence of the dynamic anti-counterfeiting points according to a plurality of sampling rules to obtain a characteristic change subsequence; and taking the statistic value of the true and false probability of the dynamic anti-counterfeiting point and the characteristic change subsequence as the expansion characteristic. Specifically, the extended features obtained by feature mining of the dynamic anti-counterfeiting identification result include two parts: the statistical value of the true and false probability of the dynamic anti-counterfeiting points and the characteristic change subsequence of the dynamic anti-counterfeiting points, wherein the calculation mode of the statistical value of the true and false probability of the dynamic anti-counterfeiting points can refer to the related description about the statistical value of the true and false probability of the static anti-counterfeiting points, and the description is omitted here. The sampling rule of the characteristic change sequence of the dynamic anti-counterfeiting point can be a preset sampling rule or random sampling. For example, for a sequence of characteristic changes of dynamic security dots (A)1 ,A2 ,A3 ,A4 ,A5 ,A6 ,A7 ,A8 ,A9 ,A10 ) According to the rule of sampling once every other point, a characteristic change subsequence (A) can be obtained1 ,A3 ,A5 ,A7 ,A9 ) And (A)2 ,A4 ,A6 ,A8 ,A10 )。
With reference to fig. 2, instep 230, at least one feature combination is generated according to the anti-counterfeit identification result and the extended feature, and each feature combination is verified through the verification model corresponding to each feature combination, so as to obtain a verification result corresponding to each feature combination.
Specifically, the feature combination is generated by combining the anti-counterfeiting identification result and the extension feature, and different feature combinations can be obtained by different combinations of the anti-counterfeiting identification result and the extension feature. The generated feature combination may be the anti-counterfeit recognition result or the extended feature itself, or may be a fusion feature formed by fusing the anti-counterfeit recognition result and the extended feature, for example, the anti-counterfeit recognition result is P, the extended feature is X, and the two are fused to obtain a fusion feature (P, X).
In one embodiment of the present application, at least one feature combination may be generated based on the anti-counterfeit identification result and the extended feature. For example, a feature combination is generated according to the anti-counterfeiting identification result and the extended feature, and the feature combination is the anti-counterfeiting identification result, the extended feature or the fusion feature. For another example, two feature combinations are generated according to the anti-counterfeiting identification result and the extended feature, one feature combination is the anti-counterfeiting identification result, and the other feature combination is the extended feature. For another example, three feature combinations are generated according to the anti-counterfeiting recognition result and the extended feature, and the three feature combinations are respectively the anti-counterfeiting recognition result, the extended feature and the fusion feature.
In one embodiment of the present application, each feature combination corresponds to a verification model, which is used to further analyze the data in the feature combination to output a corresponding verification result, which is also a probability value indicating that the target document is true. For example, when a feature combination is generated and the feature combination is an extended feature, the feature combination is verified through a verification model corresponding to the extended feature, and a verification result is obtained.
In an embodiment of the present application, assuming that a feature combination is generated, and the feature combination is a fusion feature obtained by fusing the anti-counterfeit recognition result and the extended feature, the performing verification processing through the verification model includes: and verifying the fusion characteristics through a first verification model to obtain a first verification result corresponding to the fusion characteristics, wherein the first verification model is obtained by training the fusion characteristics according to a training sample. Specifically, the first verification model is a Machine learning model (such as models of a Support Vector Machine (SVM), a global Decision Tree (GBDT), a Random Forest, an XGBoost, and the like), and is obtained by training a training sample fusion feature, where the training sample fusion feature is obtained by fusing a training sample anti-counterfeiting recognition result based on a training sample certificate image and a training sample extension feature. And verifying the fusion characteristics through the first verification model to obtain a first verification result. The first verification result includes a probability value M indicating that the target document is determined to be true by the fused features1
In an embodiment of the present application, assuming that a feature combination is generated and the feature combination is an extended feature, the performing verification processing through the verification model includes: and verifying the extended features through a second verification model to obtain a second verification result corresponding to the extended features, wherein the second verification model is obtained by training the extended features according to the training samples. Specifically, the second verification model is a machine learning model (such as SVM, GBDT, random Forest, XGBoost, and the like), and is obtained by training extended features of training samples, where the extended features of the training samples are obtained based on certificate images of the training samples. And verifying the fusion characteristics through a second verification model to obtain a second verification result. The second verification result includes a probability value M indicating that the target document is determined to be true by the extended features2
In one embodiment of the application, the verification model is passed on the assumption that a combination of features is generated, and the combination of the features is combined as a result of anti-counterfeiting identificationThe performing of the verification process includes: and verifying the anti-counterfeiting recognition result through a third verification model to obtain a third verification result corresponding to the anti-counterfeiting recognition result, wherein the third verification model is obtained by training according to the anti-counterfeiting recognition result of the training sample. Specifically, the third verification model is a machine learning model (such as SVM, GBDT, random Forest, XGBoost, and the like), which is obtained by training an anti-counterfeiting recognition result of a training sample, and the anti-counterfeiting recognition result of the training sample is obtained by performing feature mining on the anti-counterfeiting recognition result of the training sample based on a certificate image of the training sample. And verifying the fusion characteristics through a third verification model to obtain a third verification result. The third verification result includes a probability value M indicating that the target document is determined to be true by the forgery prevention recognition result3
In an embodiment of the present application, assuming that two feature combinations, namely a fused feature and an extended feature, are generated, performing verification processing through a verification model includes: verifying the fusion characteristics through a first verification model to obtain a first verification result corresponding to the fusion characteristics; and verifying the extended features through the second verification model to obtain a second verification result corresponding to the extended features. The verification of the fusion feature and the extension feature can refer to the foregoing description, and will not be described in detail herein.
In an embodiment of the present application, assuming that two feature combinations are generated, which are the fusion feature and the anti-counterfeit recognition result, the performing the verification process by the verification model includes: verifying the fusion characteristics through a first verification model to obtain a first verification result corresponding to the fusion characteristics; and verifying the anti-counterfeiting identification result through the third verification model to obtain a third verification result corresponding to the anti-counterfeiting identification result. The verification of the fusion characteristics and the anti-counterfeiting identification result can refer to the foregoing description, and will not be described herein again.
In an embodiment of the application, assuming that two feature combinations are generated, which are the extended feature and the anti-counterfeit recognition result, the performing the verification process through the verification model includes: verifying the extended features through a second verification model to obtain a second verification result corresponding to the extended features; and verifying the anti-counterfeiting identification result through the third verification model to obtain a third verification result corresponding to the anti-counterfeiting identification result. The verification of the anti-counterfeiting identification result and the extended features can refer to the previous description, and the details are not repeated here.
In an embodiment of the application, assuming that three feature combinations are generated, which are the fused feature, the extended feature, and the anti-counterfeit recognition result, the performing verification processing through the verification model includes: verifying the fusion characteristics through a first verification model to obtain a first verification result corresponding to the fusion characteristics; verifying the extended features through a second verification model to obtain a second verification result corresponding to the extended features; and verifying the anti-counterfeiting identification result through the third verification model to obtain a third verification result corresponding to the anti-counterfeiting identification result. The verification of the fusion feature, the extension feature and the anti-counterfeiting identification result can refer to the foregoing description, and is not repeated herein.
In an embodiment of the present application, before performing the verification processing by using the verification model, the method further includes training the verification model, specifically including: acquiring training sample anti-counterfeiting recognition results respectively output by an anti-counterfeiting recognition model aiming at a plurality of training sample certificate images; carrying out feature mining on the anti-counterfeiting recognition result of the training sample to obtain the extended features of the training sample; fusing the anti-counterfeiting identification result of the training sample with the extension characteristic of the training sample to obtain a fusion characteristic of the training sample; constructing a first machine learning model and training the first machine learning model through training sample fusion characteristics to obtain a first verification model; constructing a second machine learning model and training the second machine learning model through training sample extension characteristics to obtain a second verification model; and constructing a third machine learning model and training the third machine learning model through the anti-counterfeiting recognition result of the training sample to obtain a third verification model.
Specifically, a plurality of training sample certificate images are obtained, anti-counterfeiting recognition processing, feature mining and feature fusion are carried out through an anti-counterfeiting recognition model based on the training sample certificate images to respectively obtain a training sample anti-counterfeiting recognition result, a training sample expansion feature and a training sample fusion feature, then a machine learning model is respectively established for the training sample fusion feature, the training sample expansion feature and the training sample anti-counterfeiting recognition result, and a first verification model, a second verification model and a third verification model are obtained. The specific forming process of the anti-counterfeiting recognition result, the training sample extension feature and the training sample fusion feature may refer to the related description of the journey process of the anti-counterfeiting recognition result, the extension feature and the fusion feature, and is not described herein again. The multiple types of features are obtained through feature mining and feature fusion, and the verification model is obtained through feature training of each type, so that the expression capability of the model and the complexity of the model can be better improved, the precision of the model is improved, and the risk of model under-fitting is reduced.
In one embodiment of the present application, the first, second and third machine learning models are preferably the same type of machine learning model, such as all SVM models. Optionally, according to actual needs, the first machine learning model, the second machine learning model, and the third machine learning model may also be different types of machine learning models, for example, the first machine learning model and the second machine learning model are SVM models, and the third machine learning model is a GBDT model.
Continuing to refer to fig. 2,step 240, the authenticity of the target document is determined according to the verification result corresponding to each feature combination.
Specifically, when the feature combination is one, the authenticity of the target certificate is directly determined according to the verification result of the feature combination; and when the characteristic combination is a plurality of combinations, the authenticity of the target certificate is determined by the verification result corresponding to each characteristic combination.
In an embodiment of the application, when one feature combination is a fused feature, an extended feature or an anti-counterfeiting identification result, the authenticity of the target certificate is determined through the relation between the probability value contained in the corresponding verification result and a preset threshold value. For example, if the feature combination is a fusion feature, then the probability value M included in the first verification result1 If the current value is greater than or equal to the preset threshold value, determining the target certificate as a true certificate; when the first verification result contains probability value M1 If the value is less than the preset threshold value, the target certificate is determinedIt is a false syndrome. When the feature combination is an extended feature or an anti-counterfeiting identification result, the probability value M contained in the second verification result is passed2 Or the probability value M contained in the third verification result3 And determining the authenticity of the target certificate according to the relation with the preset threshold value.
In one embodiment of the application, the first validation result comprises a probability value M1 Probability value M contained in second verification result2 And a probability value M contained in the third verification result3 Are all values between 0 and 1. For example, the first verification result includes a probability value M1 Is 0.6, if the preset threshold value is set to be 0.5, the target certificate is determined to be the true certificate at the moment.
In one embodiment of the present application, the first verification model has a first accuracy P1 The second verification model has a second accuracy P2 The third verification models all have the second accuracy P3 . Before the authenticity of the target certificate is determined according to the verification result corresponding to each feature combination, the first verification model, the second verification model and the third verification model are respectively tested through the test sample fusion feature, the test sample extension feature and the test sample anti-counterfeiting identification result, and the first accuracy rate P of the first verification model is determined according to the test result1 Second accuracy P of the second verification model2 And a third accuracy P of a third verification model3
In an embodiment of the application, when the feature combinations are multiple, a weighted average of the verification results of the feature combinations can be calculated according to the accuracy of the verification model corresponding to each feature combination, and the authenticity of the target certificate is determined through the relationship between the weighted average and a preset threshold. For example, the two features are combined to be respectively the extension feature and the anti-counterfeiting identification result, and the probability value M contained by the second verification result as the corresponding verification result is obtained2 And a probability value M contained in the third verification result3 Then a weighted average of the verification results S = M is calculated2 ×P2 +M3 ×P3 . If the weighted average value S is greater than or equal to a preset threshold value, determining that the target certificate is a true certificate; if the weighted average S is less than the predetermined thresholdAnd determining the target certificate as a fake certificate.
In an embodiment of the application, when the weighted average of the verification results of each feature combination can be calculated according to the accuracy of the verification model corresponding to each feature combination, softmax processing can be performed on the accuracy of the verification model corresponding to each feature combination, so that the accuracy of the verification model corresponding to each feature combination is between 0 and 1. For example, the feature combinations are three: fusing the characteristics, the expansion characteristics and the anti-counterfeiting identification result, wherein the corresponding verification result is as follows: probability value M contained in first verification result1 Probability value M contained in second verification result2 And a probability value M contained in the third verification result3 Then, the weighted average S of the verification results is calculated as follows:
S=softmax(P1 )×M1 +softmax(P2 )×M2 +softmax(P3 )×M3
wherein,
Figure BDA0003078433680000161
Figure BDA0003078433680000162
in the technical scheme provided by the embodiment of the application, after the anti-counterfeiting identification result of the anti-counterfeiting identification model is obtained, the authenticity of the target certificate is not directly determined according to the anti-counterfeiting identification result, but the feature mining is continuously carried out on the anti-counterfeiting identification result to obtain the extended feature, the features of multiple dimensions which can be used for anti-counterfeiting identification are increased, so that the authenticity identification can be carried out on the target certificate from multiple dimensions, and the accuracy of the authenticity identification of the certificate is improved. And different feature combinations are verified by different verification models, and finally the authenticity of the target certificate is determined jointly through the verification results of all the feature combinations, so that the generalization capability of certificate authenticity identification can be improved, and the problem of low identification precision caused by over-fitting or under-fitting of the models can be effectively solved.
Refer to fig. 4. Fig. 4 schematically shows a flow chart of a certificate authenticity identification method provided by an embodiment of the application. As shown in fig. 4, the method for identifying authenticity of a certificate provided in an embodiment of the present application includes steps 1 to 6, which specifically include:
step 1, anti-counterfeiting point collection.
Specifically, the anti-counterfeiting point collection is to acquire a plurality of training sample certificate images and detect anti-counterfeiting points included in the plurality of training sample certificate images. The anti-counterfeit dots included in the training sample certificate image include static anti-counterfeit dots and dynamic anti-counterfeit dots, and the description ofstep 210 may be referred to for the description of the static anti-counterfeit dots and the dynamic anti-counterfeit dots, which is not repeated herein.
And 2, extracting characteristics.
Specifically, the feature extraction is to obtain an anti-counterfeiting recognition result of the training sample obtained by anti-counterfeiting recognition processing of each anti-counterfeiting point based on an anti-counterfeiting recognition model. According to the classification of the anti-counterfeiting points, the anti-counterfeiting identification result of the training sample comprises a static anti-counterfeiting identification result of the training sample and a dynamic anti-counterfeiting identification result of the training sample. The training sample static anti-counterfeiting identification result comprises the true and false probability of the static anti-counterfeiting point, and the training sample dynamic anti-counterfeiting identification result comprises the true and false probability of the dynamic anti-counterfeiting point and the characteristic change sequence of the dynamic anti-counterfeiting point. For the related description, reference may be made to the description ofstep 210, which is not repeated herein.
3. And (5) feature mining.
Specifically, the feature mining refers to further analyzing and processing the anti-counterfeiting recognition result of the training sample to obtain the extended features of the training sample. It should be noted that, in the flowchart shown in fig. 4, the feature extraction in step 2 and the feature mining in step 3 are parallel steps after the anti-counterfeit point collection in step 1, which is used to indicate that the feature extraction in step 2 and the feature mining in step 3 are two different feature acquisition manners, and are not used to limit the specific execution sequence of the feature extraction in step 2 and the feature mining in step 3, and the data used in the feature mining in step 3 is the data obtained by the feature extraction in step 2 (i.e., the anti-counterfeit recognition result of the training sample).
According to the classification of the anti-counterfeiting points, the characteristic mining comprises a step 3.1 and a step 3.2, and specifically comprises the following steps:
and 3.1, excavating static characteristics.
Specifically, the static feature mining refers to feature mining on a static anti-counterfeiting recognition result of a training sample to obtain an extended feature of the training sample. The static characteristic mining is mainly used for calculating the statistical value of the true and false probability of each static anti-counterfeiting point, and the statistical value includes but is not limited to one or more of the mean value, the variance, the median, the gradient, the standard deviation, the mode, the mean difference and the full range of the true and false probability of each static anti-counterfeiting point. For the related description, reference may be made to the description ofstep 220, which is not repeated herein.
And 3.2, excavating dynamic characteristics.
Specifically, the dynamic feature mining refers to feature mining on a dynamic anti-counterfeiting recognition result of a training sample to obtain an extended feature of the training sample. Dynamic feature mining includes two parts: and calculating the statistical value of the true and false probability of each dynamic anti-counterfeiting point and sampling the characteristic change sequence of the dynamic anti-counterfeiting point to form a characteristic change subsequence. The statistical value of the authenticity probability of each dynamic anti-counterfeiting point includes, but is not limited to, one or more of the mean, variance, median, gradient, standard deviation, mode, average difference and overall distance of the authenticity probability of each dynamic anti-counterfeiting point. The characteristic change subsequence formed by sampling the characteristic change sequence of the dynamic anti-counterfeiting point can be a characteristic change subsequence obtained according to a preset sampling rule or a characteristic change subsequence obtained by random sampling. For the related description, reference may be made to the description ofstep 220, which is not repeated herein.
And 4, combining the characteristics.
Specifically, the feature combination refers to at least one training sample feature combination generated according to the anti-counterfeiting identification result of the training sample and the extension features of the training sample. In this embodiment, the training sample feature combination includes a training sample anti-counterfeiting recognition result, a training sample extension feature, and a training sample fusion feature obtained by fusing the training sample anti-counterfeiting recognition result and the training sample extension feature. For related description, reference may be made to the description ofstep 230, which is not repeated herein.
And 5, modeling the characteristics.
Specifically, the feature modeling is to construct a machine learning model for each training sample feature combination and train the machine learning model to obtain a trained verification model, and specifically includes: constructing a first machine learning model and training the first machine learning model through training sample fusion characteristics to obtain a first verification model; constructing a second machine learning model and training the second machine learning model through training sample extension characteristics to obtain a second verification model; and constructing a third machine learning model and training the third machine learning model through the anti-counterfeiting recognition result of the training sample to obtain a third verification model.
Further, after the verification models are obtained through training, each verification model is tested through the test data, and therefore the accuracy of each verification model is determined. Testing the first verification model through the test sample fusion characteristics, and determining the first accuracy of the first verification model according to the test result; testing the second verification model through the test sample extension characteristics, and determining a second accuracy rate of the second verification model according to the test result; and testing the third verification model according to the anti-counterfeiting identification result of the test sample, and determining the third accuracy of the third verification model according to the test result.
And 6, model fusion.
Specifically, the model fusion means that when the authenticity of the target certificate is identified, after the corresponding verification results are obtained through the three verification models, the weighted average of the verification results of the three verification models is calculated according to the accuracy of the three verification models, and finally the authenticity of the target certificate is determined according to the weighted average. For the related description, reference may be made to the description ofstep 240, which is not described herein again.
In the technical scheme provided by the embodiment of the application, the characteristics of the anti-counterfeiting identification results of all anti-counterfeiting points are enriched by characteristic mining, the characteristics are grouped in a characteristic combination mode, models are trained respectively aiming at different characteristic groups, and finally the final precision, the generalization and the robustness of the anti-counterfeiting results are improved by model fusion. By using the feature mining, the expression capacity and the complexity of the model can be better improved, the precision of the model is improved, and the risk of model under-fitting is reduced; the generalization capability of the model can be improved by using the feature grouping and the model fusion, and the risk of model overfitting is reduced.
It should be noted that although the various steps of the methods in this application are depicted in the drawings in a particular order, this does not require or imply that these steps must be performed in this particular order, or that all of the shown steps must be performed, to achieve desirable results. Additionally or alternatively, certain steps may be omitted, multiple steps combined into one step execution, and/or one step broken into multiple step executions, etc.
Embodiments of the apparatus of the present application are described below, which can be used to perform the method for identifying authenticity of a document in the above embodiments of the present application. Fig. 5 schematically shows a block diagram of a certificate authenticity identification device provided by an embodiment of the present application. As shown in fig. 5, the certificate authenticity identifying device provided by the embodiment of the present application includes:
an anti-counterfeiting identificationresult obtaining module 510, configured to obtain anti-counterfeiting identification results obtained by performing anti-counterfeiting identification processing on a plurality of certificate images of a target certificate by an anti-counterfeiting identification model;
thefeature mining module 520 is configured to perform feature mining on the anti-counterfeiting identification results of the plurality of certificate images to obtain extended features;
averification module 530, configured to generate at least one feature combination according to the anti-counterfeit identification result and the extended feature, and perform verification processing on each feature combination through a verification model corresponding to each feature combination to obtain a verification result corresponding to each feature combination;
and a certificateauthenticity determining module 540, configured to determine authenticity of the target certificate according to the verification result corresponding to each feature combination.
In an embodiment of the present application, the anti-counterfeit identificationresult obtaining module 510 includes:
the anti-counterfeiting point detection unit is used for detecting anti-counterfeiting points contained in a plurality of certificate images of the target certificate, and the anti-counterfeiting points comprise static anti-counterfeiting points and dynamic anti-counterfeiting points;
the static anti-counterfeiting point identification unit is used for carrying out anti-counterfeiting identification on each static anti-counterfeiting point through the anti-counterfeiting identification model to obtain a static anti-counterfeiting identification result of each static anti-counterfeiting point, and the static anti-counterfeiting identification result comprises the authenticity probability of the static anti-counterfeiting point;
and the dynamic anti-counterfeiting point identification unit is used for performing anti-counterfeiting identification on each dynamic anti-counterfeiting point through the anti-counterfeiting identification model to obtain a dynamic anti-counterfeiting identification result, and the dynamic anti-counterfeiting identification result comprises the authenticity probability of the dynamic anti-counterfeiting point and the characteristic change sequence of the dynamic anti-counterfeiting point.
In one embodiment of the present application, thefeature mining module 520 includes:
and the static characteristic mining unit is used for calculating a statistical value of the true and false probability of the static anti-counterfeiting points according to the static anti-counterfeiting identification result of each static anti-counterfeiting point, and taking the statistical value of the true and false probability of the static anti-counterfeiting points as the extended characteristic, wherein the statistical value comprises at least one of a mean value, a variance, a median and a gradient.
In one embodiment of the present application, thefeature mining module 520 includes:
the dynamic characteristic mining unit is used for calculating a statistical value of the authenticity probability of the dynamic anti-counterfeiting points according to the dynamic anti-counterfeiting identification result of each dynamic anti-counterfeiting point, wherein the statistical value comprises at least one of a mean value, a variance, a median and a gradient; sampling the characteristic change sequence of the dynamic anti-counterfeiting points according to a plurality of sampling rules to obtain a characteristic change subsequence; and taking the statistic value of the true and false probability of the dynamic anti-counterfeiting point and the characteristic change subsequence as the extension characteristic.
In an embodiment of the application, the at least one feature combination includes a fused feature obtained by fusing the anti-counterfeit identification result and the extended feature, and theverification module 530 is specifically configured to:
and verifying the fusion characteristics through a first verification model to obtain a first verification result corresponding to the fusion characteristics, wherein the first verification model is obtained by training the fusion characteristics according to training samples.
In an embodiment of the present application, the certificateauthenticity determining module 540 is specifically configured to:
if the probability value contained in the first verification result is greater than or equal to a preset threshold value, determining that the target certificate is a true certificate; and if the probability value contained in the first verification result is smaller than a preset threshold value, determining that the target certificate is a false certificate.
In an embodiment of the application, the at least one feature combination includes the anti-counterfeit identification result and the extended feature, and theverification module 530 is specifically configured to:
verifying the extended features through a second verification model to obtain a second verification result corresponding to the extended features, wherein the second verification model is obtained by training extended features of training samples; and verifying the anti-counterfeiting recognition result through a third verification model to obtain a third verification result corresponding to the anti-counterfeiting recognition result, wherein the third verification model is obtained by training according to the anti-counterfeiting recognition result of a training sample.
In an embodiment of the present application, the certificateauthenticity determining module 540 is specifically configured to:
obtaining a first accuracy of the first verification model and a second accuracy of the second verification model;
determining a weighted average value of the probability value contained in the first verification result and the probability value contained in the second verification result according to the first accuracy and the second accuracy;
and determining the authenticity of the target certificate according to the weighted average value.
In an embodiment of the application, the at least one feature combination includes the anti-counterfeit identification result, the extended feature, and a fused feature obtained by fusing the anti-counterfeit identification result and the extended feature, and theverification module 530 is specifically configured to:
verifying the fusion characteristics through a first verification model to obtain a first verification result corresponding to the fusion characteristics, wherein the first verification model is obtained by training fusion characteristics according to a training sample; verifying the extended features through a second verification model to obtain a second verification result corresponding to the extended features, wherein the second verification model is obtained by training extended features of training samples; and verifying the anti-counterfeiting recognition result through a third verification model to obtain a third verification result corresponding to the anti-counterfeiting recognition result, wherein the third verification model is obtained by training according to the anti-counterfeiting recognition result of the training sample.
In an embodiment of the present application, the certificateauthenticity determining module 540 is specifically configured to:
obtaining a first accuracy of the first verification model, a second accuracy of the second verification model, and a third accuracy of the third verification model;
determining a weighted average value of a probability value contained in the first verification result, a probability value contained in the second verification result and a probability value contained in the third verification result according to the first accuracy, the second accuracy and the third accuracy;
and determining the authenticity of the target certificate according to the weighted average value.
In one embodiment of the present application, the apparatus further comprises:
the training sample acquisition module is used for acquiring training sample anti-counterfeiting recognition results which are respectively output by the anti-counterfeiting recognition model aiming at a plurality of training sample certificate images;
the training sample feature mining module is used for performing feature mining on the anti-counterfeiting recognition result of the training sample to obtain the extended features of the training sample;
the training sample feature fusion module is used for fusing the anti-counterfeiting recognition result of the training sample with the extended feature of the training sample to obtain a training sample fusion feature;
the first verification model training module is used for constructing a first machine learning model and training the first machine learning model through the training sample fusion characteristics to obtain the first verification model;
the second verification model training module is used for constructing a second machine learning model and training the second machine learning model through the training sample extended features to obtain the second verification model;
and the third verification model training module is used for constructing a third machine learning model and training the third machine learning model according to the anti-counterfeiting recognition result of the training sample to obtain a third verification model.
In one embodiment of the present application, the apparatus further comprises:
the first accuracy rate determining module is used for testing the first verification model through the test sample fusion characteristics and determining the first accuracy rate of the first verification model according to the test result;
the second accuracy rate determining module is used for testing the second verification model through the test sample extension characteristics and determining the second accuracy rate of the second verification model according to the test result;
and the third accuracy rate determining module is used for testing the third verification model according to the anti-counterfeiting identification result of the test sample and determining the third accuracy rate of the third verification model according to the test result.
The specific details of the certificate authenticity identification apparatus provided in the embodiments of the present application have been described in detail in the corresponding method embodiments, and are not described herein again.
Referring to fig. 6, fig. 6 schematically shows a structural block diagram of a multi-anti-counterfeit point result integration system provided by the embodiment of the present application. The multi-anti-counterfeiting point result integration system provided by the embodiment can be operated on terminal equipment, such as a computer, and can be used for realizing the certificate authenticity identification method provided by the embodiment of the application. The multi-anti-counterfeiting point result integration system provided by the embodiment can also integrate the certificate authenticity identification device provided by the embodiment of the application.
As shown in fig. 6, the multi-anti-counterfeit pointresult integration system 600 provided in the embodiment of the present application includes afeature extraction module 610, afeature mining module 620, a featurecombination modeling module 630, and an anti-counterfeitresult fusion module 640, where thefeature mining module 620 includes a staticfeature mining module 621 and a dynamicfeature mining module 622.
Thefeature extraction module 610 is configured to obtain an anti-counterfeit recognition result of the training sample obtained by performing anti-counterfeit recognition processing on the certificate images of the training samples by the anti-counterfeit recognition model. Each certificate image comprises static anti-counterfeiting points and dynamic anti-counterfeiting points, and correspondingly, the training sample anti-counterfeiting recognition result comprises a training sample static anti-counterfeiting recognition result and a training sample dynamic anti-counterfeiting recognition result. The training sample static anti-counterfeiting identification result comprises the true and false probability of the static anti-counterfeiting point, and the training sample dynamic anti-counterfeiting identification result comprises the true and false probability of the dynamic anti-counterfeiting point and the characteristic change sequence of the dynamic anti-counterfeiting point.
Thefeature mining module 620 is configured to perform feature mining on the anti-counterfeiting recognition result of the training sample of each anti-counterfeiting point to obtain an extended feature of the training sample. The staticfeature mining module 621 of thefeature mining module 620 is configured to perform feature mining on the training sample static anti-counterfeiting recognition result, and mainly calculates a statistical value of the authenticity probability of the static anti-counterfeiting point in each training sample static anti-counterfeiting recognition result, including but not limited to calculating one or more of a mean, a variance, a median, a gradient, a standard deviation, a mode, an average difference, and a range of the authenticity probability of each static anti-counterfeiting point. The dynamicfeature mining module 622 of thefeature mining module 620 is configured to perform feature mining on the training sample dynamic anti-counterfeit recognition results, and mainly includes calculating a statistical value of the authenticity probability of the dynamic anti-counterfeit points in each training sample dynamic anti-counterfeit recognition result, and sampling the feature change sequence of the dynamic anti-counterfeit points to form a feature change subsequence. The statistical value of the true and false probability of the dynamic anti-counterfeiting point in the dynamic anti-counterfeiting identification result of each training sample includes, but is not limited to, calculating the mean, variance, median, gradient, standard deviation and masses of the true and false probability of each dynamic anti-counterfeiting point. One or more of number, average difference, and total distance. The sampling of the characteristic change sequence of the dynamic anti-counterfeiting point to form the characteristic change subsequence comprises random sampling and sampling according to a preset rule.
The featurecombination modeling module 630 is configured to generate at least one feature combination according to the anti-counterfeiting recognition result of the training sample and the extended features of the training sample, and respectively construct a machine learning model according to each feature combination and perform training to obtain a trained verification model. For example, a training sample fusion feature is obtained by fusing a training sample anti-counterfeiting recognition result and a training sample extension feature, a first verification model is obtained according to the training sample fusion feature, a second verification model is obtained according to the training sample extension feature, and a third verification model is obtained according to the training sample anti-counterfeiting recognition result.
The anti-counterfeitingresult fusion module 640 is configured to, when performing authenticity identification on the target document, obtain corresponding verification results through the three verification models, calculate a weighted average of the verification results of the three verification models according to the accuracy of the three verification models, and finally determine authenticity of the target document according to the weighted average.
Fig. 7 schematically shows a block diagram of a computer system of an electronic device for implementing an embodiment of the present application.
It should be noted that thecomputer system 700 of the electronic device shown in fig. 7 is only an example, and should not bring any limitation to the functions and the scope of use of the embodiments of the present application.
As shown in fig. 7, thecomputer system 700 includes a Central Processing Unit (CPU) 701 that can perform various appropriate actions and processes according to a program stored in a Read-Only Memory (ROM) 702 or a program loaded from astorage section 708 into a Random Access Memory (RAM) 703. In therandom access memory 703, various programs and data necessary for system operation are also stored. Thecpu 701, therom 702, and theram 703 are connected to each other via abus 704. An Input/Output interface 705 (Input/Output interface, i.e., I/O interface) is also connected to thebus 704.
The following components are connected to the input/output interface 705: aninput portion 706 including a keyboard, a mouse, and the like; anoutput section 707 including a Cathode Ray Tube (CRT), a Liquid Crystal Display (LCD), and a speaker; astorage section 708 including a hard disk and the like; and acommunication section 709 including a network interface card such as a local area network card, a modem, and the like. Thecommunication section 709 performs communication processing via a network such as the internet. Adriver 710 is also connected to the input/output interface 705 as needed. A removable medium 711 such as a magnetic disk, an optical disk, a magneto-optical disk, a semiconductor memory, or the like is mounted on thedrive 710 as necessary, so that a computer program read out therefrom is mounted into thestorage section 708 as necessary.
In particular, the processes described in the various method flowcharts may be implemented as computer software programs, according to embodiments of the present application. For example, embodiments of the present application include a computer program product comprising a computer program embodied on a computer-readable medium, the computer program comprising program code for performing the method illustrated by the flow chart. In such an embodiment, the computer program may be downloaded and installed from a network through thecommunication section 709, and/or installed from the removable medium 711. The computer program, when executed by thecentral processor 701, performs various functions defined in the system of the present application.
It should be noted that the computer readable media shown in the embodiments of the present application may be computer readable signal media or computer readable storage media or any combination of the two. A computer readable storage medium may be, for example, but not limited to, an electronic, magnetic, optical, electromagnetic, infrared, or semiconductor system, apparatus, or device, or any combination of the foregoing. More specific examples of the computer readable storage medium may include, but are not limited to: an electrical connection having one or more wires, a portable computer diskette, a hard disk, a Random Access Memory (RAM), a Read-Only Memory (ROM), an Erasable Programmable Read-Only Memory (EPROM), a flash Memory, an optical fiber, a portable Compact Disc Read-Only Memory (CD-ROM), an optical storage device, a magnetic storage device, or any suitable combination of the foregoing. In the context of this application, a computer readable storage medium may be any tangible medium that can contain, or store a program for use by or in connection with an instruction execution system, apparatus, or device. In this application, however, a computer readable signal medium may include a propagated data signal with computer readable program code embodied therein, for example, in baseband or as part of a carrier wave. Such a propagated data signal may take many forms, including, but not limited to, electro-magnetic, optical, or any suitable combination thereof. A computer readable signal medium may also be any computer readable medium that is not a computer readable storage medium and that can communicate, propagate, or transport a program for use by or in connection with an instruction execution system, apparatus, or device. Program code embodied on a computer readable medium may be transmitted using any appropriate medium, including but not limited to: wireless, wired, etc., or any suitable combination of the foregoing.
The flowchart and block diagrams in the figures illustrate the architecture, functionality, and operation of possible implementations of systems, methods and computer program products according to various embodiments of the present application. In this regard, each block in the flowchart or block diagrams may represent a module, segment, or portion of code, which comprises one or more executable instructions for implementing the specified logical function(s). It should also be noted that, in some alternative implementations, the functions noted in the block may occur out of the order noted in the figures. For example, two blocks shown in succession may, in fact, be executed substantially concurrently, or the blocks may sometimes be executed in the reverse order, depending upon the functionality involved. It will also be noted that each block of the block diagrams or flowchart illustration, and combinations of blocks in the block diagrams or flowchart illustration, can be implemented by special purpose hardware-based systems which perform the specified functions or acts, or combinations of special purpose hardware and computer instructions.
It should be noted that although in the above detailed description several modules or units of the device for action execution are mentioned, such a division is not mandatory. Indeed, the features and functionality of two or more modules or units described above may be embodied in one module or unit, according to embodiments of the application. Conversely, the features and functions of one module or unit described above may be further divided into embodiments by a plurality of modules or units.
Through the above description of the embodiments, those skilled in the art will readily understand that the exemplary embodiments described herein may be implemented by software, and may also be implemented by software in combination with necessary hardware. Therefore, the technical solution according to the embodiments of the present application can be embodied in the form of a software product, which can be stored in a non-volatile storage medium (which can be a CD-ROM, a usb disk, a removable hard disk, etc.) or on a network, and includes several instructions to enable a computing device (which can be a personal computer, a server, a touch terminal, or a network device, etc.) to execute the method according to the embodiments of the present application.
Other embodiments of the present application will be apparent to those skilled in the art from consideration of the specification and practice of the invention disclosed herein. This application is intended to cover any variations, uses, or adaptations of the invention following, in general, the principles of the application and including such departures from the present disclosure as come within known or customary practice within the art to which the invention pertains.
It will be understood that the present application is not limited to the precise arrangements described above and shown in the drawings and that various modifications and changes may be made without departing from the scope thereof. The scope of the application is limited only by the appended claims.

Claims (15)

1. A method of authenticating a document, comprising:
acquiring anti-counterfeiting identification results obtained by respectively carrying out anti-counterfeiting identification processing on a plurality of certificate images of a target certificate by an anti-counterfeiting identification model;
carrying out feature mining on the anti-counterfeiting identification results of the plurality of certificate images to obtain extended features;
generating at least one feature combination according to the anti-counterfeiting identification result and the extended features, and verifying each feature combination through a verification model corresponding to each feature combination to obtain a verification result corresponding to each feature combination;
and determining the authenticity of the target certificate according to the verification result corresponding to each feature combination.
2. The method for identifying authenticity of a document according to claim 1, wherein the obtaining of the forgery prevention identification result obtained by the forgery prevention identification model performing forgery prevention identification processing on each of a plurality of document images of the target document includes:
detecting anti-counterfeiting points contained in a plurality of certificate images of the target certificate, wherein the anti-counterfeiting points comprise static anti-counterfeiting points and dynamic anti-counterfeiting points;
performing anti-counterfeiting identification on each static anti-counterfeiting point through the anti-counterfeiting identification model to obtain a static anti-counterfeiting identification result of each static anti-counterfeiting point, wherein the static anti-counterfeiting identification result comprises the authenticity probability of the static anti-counterfeiting point;
and performing anti-counterfeiting identification on each dynamic anti-counterfeiting point through the anti-counterfeiting identification model to obtain a dynamic anti-counterfeiting identification result, wherein the dynamic anti-counterfeiting identification result comprises the authenticity probability of the dynamic anti-counterfeiting point and the characteristic change sequence of the dynamic anti-counterfeiting point.
3. The method for identifying authenticity of a document according to claim 2, wherein said extracting features of the forgery prevention identification results of the plurality of document images to obtain extended features comprises:
and calculating a statistical value of the true and false probability of the static anti-counterfeiting points according to the static anti-counterfeiting identification result of each static anti-counterfeiting point, and taking the statistical value of the true and false probability of the static anti-counterfeiting points as the extension characteristic, wherein the statistical value comprises at least one of a mean value, a variance, a median and a gradient.
4. The method for identifying authenticity of a document according to claim 2, wherein said extracting features of the forgery-proof identification results of the plurality of document images to obtain extended features further comprises:
calculating a statistic value of the authenticity probability of the dynamic anti-counterfeiting points according to the dynamic anti-counterfeiting identification result of each dynamic anti-counterfeiting point, wherein the statistic value comprises at least one of a mean value, a variance, a median and a gradient;
sampling the characteristic change sequence of the dynamic anti-counterfeiting points according to a plurality of sampling rules to obtain a characteristic change subsequence;
and taking the statistic value of the true and false probability of the dynamic anti-counterfeiting point and the characteristic change subsequence as the extension characteristic.
5. The method for identifying authenticity of a document according to claim 1, wherein the at least one feature combination includes a fused feature obtained by fusing the anti-counterfeit identification result and the extended feature; the verifying each feature combination through the verification model corresponding to each feature combination to obtain the verification result corresponding to each feature combination includes:
and verifying the fusion characteristics through a first verification model to obtain a first verification result corresponding to the fusion characteristics, wherein the first verification model is obtained by training the fusion characteristics according to training samples.
6. The method for identifying the authenticity of a document according to claim 5, wherein the determining the authenticity of the target document according to the verification result corresponding to each feature combination comprises:
if the probability value contained in the first verification result is greater than or equal to a preset threshold value, determining that the target certificate is a true certificate;
and if the probability value contained in the first verification result is smaller than a preset threshold value, determining that the target certificate is a fake certificate.
7. The method of claim 1, wherein the at least one combination of features includes the result of the anti-counterfeit identification and the extended feature; the verifying each feature combination through the verification model corresponding to each feature combination to obtain the verification result corresponding to each feature combination includes:
verifying the extended features through a second verification model to obtain a second verification result corresponding to the extended features, wherein the second verification model is obtained by training extended features of training samples;
and verifying the anti-counterfeiting recognition result through a third verification model to obtain a third verification result corresponding to the anti-counterfeiting recognition result, wherein the third verification model is obtained by training according to the anti-counterfeiting recognition result of the training sample.
8. The method of claim 7, wherein determining the authenticity of the target document based on the verification result corresponding to each feature combination comprises:
obtaining a first accuracy of the first verification model and a second accuracy of the second verification model;
determining a weighted average value of the probability value contained in the first verification result and the probability value contained in the second verification result according to the first accuracy and the second accuracy;
and determining the authenticity of the target certificate according to the weighted average value.
9. The method for identifying authenticity of a document according to claim 1, wherein the at least one feature combination includes the forgery-proof identification result, the extended feature, and a fused feature obtained by fusing the forgery-proof identification result and the extended feature; the verifying each feature combination through the verification model corresponding to each feature combination to obtain the verification result corresponding to each feature combination includes:
verifying the fusion characteristics through a first verification model to obtain a first verification result corresponding to the fusion characteristics, wherein the first verification model is obtained by training the fusion characteristics according to a training sample;
verifying the extended features through a second verification model to obtain a second verification result corresponding to the extended features, wherein the second verification model is obtained by training extended features of training samples;
and verifying the anti-counterfeiting recognition result through a third verification model to obtain a third verification result corresponding to the anti-counterfeiting recognition result, wherein the third verification model is obtained by training according to the anti-counterfeiting recognition result of the training sample.
10. The method of claim 9, wherein determining the authenticity of the target document based on the verification result corresponding to each feature combination comprises:
obtaining a first accuracy of the first verification model, a second accuracy of the second verification model, and a third accuracy of the third verification model;
determining a weighted average value of a probability value contained in the first verification result, a probability value contained in the second verification result and a probability value contained in the third verification result according to the first accuracy, the second accuracy and the third accuracy;
and determining the authenticity of the target certificate according to the weighted average value.
11. The method for authenticating document according to claim 10, wherein before the fused feature is verified by a first verification model to obtain a first verification result corresponding to the fused feature, the method further comprises:
acquiring training sample anti-counterfeiting recognition results respectively output by the anti-counterfeiting recognition model aiming at a plurality of training sample certificate images;
carrying out feature mining on the anti-counterfeiting recognition result of the training sample to obtain the extended features of the training sample;
fusing the anti-counterfeiting recognition result of the training sample with the extended characteristic of the training sample to obtain a training sample fusion characteristic;
constructing a first machine learning model and training the first machine learning model through the training sample fusion characteristics to obtain a first verification model;
constructing a second machine learning model and training the second machine learning model through the training sample extended features to obtain a second verification model;
and constructing a third machine learning model and training the third machine learning model according to the anti-counterfeiting recognition result of the training sample to obtain a third verification model.
12. The method of claim 11, wherein before obtaining the first accuracy of the first verification model, the second accuracy of the second verification model, and the third accuracy of the third verification model, the method further comprises:
testing the first verification model through the test sample fusion characteristics, and determining the first accuracy of the first verification model according to the test result;
testing the second verification model through the test sample extension characteristics, and determining a second accuracy of the second verification model according to a test result;
and testing the third verification model according to the anti-counterfeiting identification result of the test sample, and determining the third accuracy of the third verification model according to the test result.
13. An apparatus for authenticating a document, comprising:
the anti-counterfeiting identification result acquisition module is used for acquiring anti-counterfeiting identification results obtained by respectively carrying out anti-counterfeiting identification processing on a plurality of certificate images of the target certificate by the anti-counterfeiting identification model;
the feature mining module is used for performing feature mining on the anti-counterfeiting identification results of the plurality of certificate images to obtain extended features;
the verification module is used for generating at least one feature combination according to the anti-counterfeiting identification result and the extended features, and verifying each feature combination through a verification model corresponding to each feature combination to obtain a verification result corresponding to each feature combination;
and the certificate authenticity determining module is used for determining the authenticity of the target certificate according to the verification result corresponding to each feature combination.
14. A computer-readable medium on which a computer program is stored which, when executed by a processor, carries out the method of identifying authenticity of a document as claimed in any one of claims 1 to 12.
15. An electronic device, comprising:
a processor; and
a memory for storing executable instructions of the processor;
wherein the processor is configured to perform the method of document authenticity identification of any one of claims 1 to 12 via execution of the executable instructions.
CN202110559567.2A2021-05-212021-05-21Certificate authenticity identification method and device, computer readable medium and electronic equipmentPendingCN115375893A (en)

Priority Applications (1)

Application NumberPriority DateFiling DateTitle
CN202110559567.2ACN115375893A (en)2021-05-212021-05-21Certificate authenticity identification method and device, computer readable medium and electronic equipment

Applications Claiming Priority (1)

Application NumberPriority DateFiling DateTitle
CN202110559567.2ACN115375893A (en)2021-05-212021-05-21Certificate authenticity identification method and device, computer readable medium and electronic equipment

Publications (1)

Publication NumberPublication Date
CN115375893Atrue CN115375893A (en)2022-11-22

Family

ID=84058949

Family Applications (1)

Application NumberTitlePriority DateFiling Date
CN202110559567.2APendingCN115375893A (en)2021-05-212021-05-21Certificate authenticity identification method and device, computer readable medium and electronic equipment

Country Status (1)

CountryLink
CN (1)CN115375893A (en)

Cited By (2)

* Cited by examiner, † Cited by third party
Publication numberPriority datePublication dateAssigneeTitle
CN116092200A (en)*2022-12-232023-05-09支付宝(杭州)信息技术有限公司Biological identification method and system
CN117436903A (en)*2023-09-262024-01-23广东金冠科技股份有限公司License anti-counterfeiting method and license anti-counterfeiting system

Cited By (2)

* Cited by examiner, † Cited by third party
Publication numberPriority datePublication dateAssigneeTitle
CN116092200A (en)*2022-12-232023-05-09支付宝(杭州)信息技术有限公司Biological identification method and system
CN117436903A (en)*2023-09-262024-01-23广东金冠科技股份有限公司License anti-counterfeiting method and license anti-counterfeiting system

Similar Documents

PublicationPublication DateTitle
CN113014566B (en)Malicious registration detection method and device, computer readable medium and electronic device
CN112507922A (en)Face living body detection method and device, electronic equipment and storage medium
CN101894260A (en) Recognition method of counterfeit seal based on random generation of feature lines based on matching feature points
CN112651342A (en)Face recognition method and device, electronic equipment and storage medium
US10546106B2 (en)Biometric verification
CN114090985B (en) Method, device and electronic device for setting user operation permissions in blockchain
Kumar et al.Enhancing fingerprint security using CNN for robust biometric authentication and spoof detection
CN113887408B (en)Method, device, equipment and storage medium for detecting activated face video
CN115375893A (en)Certificate authenticity identification method and device, computer readable medium and electronic equipment
WO2023192808A1 (en)Authentication of age, gender, and other biometric data from live images of users
CN114005184A (en)Handwritten signature authenticity identification method and device based on small amount of samples
Das et al.Thai automatic signature verification system employing textural features
CN112434727A (en)Identity document authentication method and system
CN117690173A (en)Method and device for judging face image falsification information and electronic equipment
CN113536870A (en)Abnormal head portrait identification method and device
CN112819486B (en)Method and system for identity certification
CN115661436A (en)Certificate authenticity identification method and device, readable medium and electronic equipment
Malla et al.The Analysis of Neural Network Models to Distinguish AI Generated Faces from Real Faces
CN116168211A (en)Image detection model training and image detection method, device and storage medium
CN114565787A (en) Document identification methods, equipment, media and products
Adithya et al.Signature analysis for forgery detection
Yu et al.Two strategies to optimize the decisions in signature verification with the presence of spoofing attacks
Ölvecký et al.Evaluating the Effectiveness of Deepfake Video Detection Tools: A Comparative Study
Shahane et al.Online signature recognition using Matlab
JP6865797B2 (en) Authenticity judgment method, information processing device, and program

Legal Events

DateCodeTitleDescription
PB01Publication
PB01Publication
SE01Entry into force of request for substantive examination
SE01Entry into force of request for substantive examination

[8]ページ先頭

©2009-2025 Movatter.jp