Movatterモバイル変換


[0]ホーム

URL:


CN115336882A - Cushion supporting structure and cushion thereof - Google Patents

Cushion supporting structure and cushion thereof
Download PDF

Info

Publication number
CN115336882A
CN115336882ACN202210774952.3ACN202210774952ACN115336882ACN 115336882 ACN115336882 ACN 115336882ACN 202210774952 ACN202210774952 ACN 202210774952ACN 115336882 ACN115336882 ACN 115336882A
Authority
CN
China
Prior art keywords
flexible
elastic
piece
flexible bearing
support structure
Prior art date
Legal status (The legal status is an assumption and is not a legal conclusion. Google has not performed a legal analysis and makes no representation as to the accuracy of the status listed.)
Pending
Application number
CN202210774952.3A
Other languages
Chinese (zh)
Inventor
王建武
Current Assignee (The listed assignees may be inaccurate. Google has not performed a legal analysis and makes no representation or warranty as to the accuracy of the list.)
Individual
Original Assignee
Individual
Priority date (The priority date is an assumption and is not a legal conclusion. Google has not performed a legal analysis and makes no representation as to the accuracy of the date listed.)
Filing date
Publication date
Application filed by IndividualfiledCriticalIndividual
Publication of CN115336882ApublicationCriticalpatent/CN115336882A/en
Priority to PCT/CN2023/102615priorityCriticalpatent/WO2024002044A1/en
Pendinglegal-statusCriticalCurrent

Links

Images

Classifications

Landscapes

Abstract

The invention provides a cushion supporting structure, which comprises a fixed seat and a plurality of self-adaptive units which are integrated on the fixed seat side by side; each adaptive unit comprises at least one flexible bearing part and at least one elastic part; the elastic piece supports the flexible bearing piece to tension the flexible bearing piece; each elastic piece is provided with two symmetrical rod ends, and the flexible bearing piece is fixedly connected with the rod ends; when the flexible bearing piece is deformed by pressure, the rod end of the elastic piece connected with the flexible bearing piece is pulled to relatively deflect and fold, and the elastic piece deforms; when the pressure is removed, the elastic piece is reset, and the flexible bearing piece is tensioned again. According to the cushion supporting structure, the plurality of elastic pieces and the flexible bearing piece are integrated into a whole through the fixing seat, when the flexible bearing piece is pressed and deformed, the bearing piece is pulled to deform, the pressure is removed, the elastic pieces reset, and the flexible bearing piece is tensioned again; the cushion support structure can deform according to the pressure to be borne, and the effect of self-adapting to the body of the user is generated.

Description

Cushion supporting structure and cushion thereof
Technical Field
The invention relates to the technical field of cushions, in particular to a cushion supporting structure and a cushion thereof.
Background
Cushions are widely used in human life, such as sofa cushions, seat cushions, bed mattresses, car seat cushions, bed mattresses, pillow cushions, and the like. Current mattresses generally consist of an outer casing and a filler material contained within the casing. The coat is flexible cloth or leather sheath, and the filler is sponge, latex, etc. These cushions give soft support to the body and make the body comfortable in the area where it touches the cushion.
However, obvious drawbacks to these mats include 1. Difficulty in cleaning. When the surface of the mat is soiled or liquid, such as juice, milk, etc., enters the filling through the casing, it cannot be cleaned. 2. It is not easy to remove bacteria and acarid. Even if the cushion is exposed to the sun, bacteria, mites and the like in the filling cannot be killed sufficiently. 3. Ventilation is not needed.
Therefore, a new cushion supporting structure needs to be developed to replace the filler in the current cushion to support the body of a user flexibly, and meanwhile, the defects that the existing cushion is not easy to clean, degerming, ventilation and slow heat dissipation are overcome.
Disclosure of Invention
In order to overcome the defects of the prior art, the invention provides a cushion supporting structure and a cushion, wherein the cushion supporting structure can generate self-adaptive deformation according to the pressure to support the body of a user, and simultaneously overcomes the defects of no ventilation, slow heat dissipation, difficulty in cleaning, difficulty in degerming and short service life of the existing cushion.
The technical scheme of the invention is as follows: a cushion support structure comprises a fixed seat and a plurality of self-adaptive units which are integrated on the fixed seat side by side; each self-adaptive unit comprises a flexible bearing part and an elastic part; the elastic piece supports the flexible bearing piece to tension the flexible bearing piece; each elastic piece is provided with two symmetrical rod ends, and the flexible bearing piece is fixedly connected with the rod ends; when the flexible bearing piece is deformed by pressure, the rod end of the elastic piece connected with the flexible bearing piece is pulled to relatively deflect and fold, and the elastic piece is deformed; when the pressure is removed, the elastic piece is reset, and the flexible bearing piece is tensioned again.
The elastic piece is an elastic rod formed by integrally molding two rod ends and an arc-shaped rod body;
or the two rods are formed by respectively integrally forming the two rod ends and an arc-shaped or straight rod body, and the two rods are symmetrically arranged on an installation part;
or the two arc-shaped rod bodies are arranged in parallel, and the end parts of the two sides of the two arc-shaped rod bodies are respectively connected to form the rod end;
or the elastic piece is formed by installing two U-shaped pieces on an installation piece, the U-shaped pieces are formed by arranging two arc-shaped rod bodies in parallel, and the end parts of one sides of the two arc-shaped rod bodies are connected to form the rod end;
or, the elastic part is an arc-shaped plate.
The cross section of the rod body is oval, circular or polygonal.
Each of the resilient members supports one of the flexible bearings;
or, each elastic member supports a plurality of flexible bearing members;
or, a plurality of elastic pieces support one flexible bearing piece.
The flexible carrier is a flexible tape or a flexible fabric
The self-adaptive unit also comprises a supporting piece, and the supporting piece supports the elastic piece to enable the elastic piece to move up and down; the supporting piece is arranged below, at two ends or above the elastic piece.
The supporting piece has elasticity, is extruded or pulled by the elastic piece to be deformed, and is reset along with the resetting of the elastic piece.
The fixed seat is a straight rod with two connecting sides, and a plurality of slotted holes which are in one-to-one correspondence with the rod ends are formed in the straight rod with the connecting sides; the rod end passes through the slotted hole and is limited to move in the slotted hole.
The slotted hole is oblong.
The elastic piece is made of epoxy resin fibers, aluminum alloy, carbon fibers, aviation aluminum, glass reinforced fibers or spring steel.
The radian of the elastic piece is 8-90 degrees.
The rod body is sleeved with a thin layer outer sleeve.
A cushion support structure comprises a fixed seat, a plurality of arc-shaped elastic pieces and at least one flexible bearing piece; the elastic pieces are arranged on the fixed seat side by side at equal intervals, each elastic piece is provided with two symmetrical rod ends, and the two rod ends are respectively and oppositely and fixedly connected to the fixed seat; two opposite side edges of the flexible bearing piece are respectively connected with the two fixing seats, so that the flexible bearing piece is erected above the elastic piece; the flexible bearing part is deformed by pressure, and pulls the two fixing seats connected with the flexible bearing part to relatively fold, so that the elastic part is deformed; when the pressure is removed, the elastic piece is reset, and the flexible bearing piece is tensioned again.
Each elastic piece is provided with a rod body connected with the two rod ends, and the rod ends and the positions near the connection positions of the fixed seats are arranged in an obtuse angle.
Each fixing seat comprises two side connecting straight rods, a plurality of pairs of connecting cylinders are arranged on the two side connecting straight rods in pairs, and two rod ends of each elastic piece are respectively inserted into one pair of connecting cylinders.
The flexible bearing part is an elongated flexible belt or a blocky flexible braided fabric.
The side of the flexible bearing part is folded back to be attached to the main body part of the flexible bearing part to form a folding structure, the folding structure is wound around the side connecting straight rod of the fixing seat, extends to the upper part of the connecting cylinder and is provided with a first through hole, and a positioning rod penetrates through all the first through holes of the folding structure and is clamped on the side connecting straight rod, so that the flexible bearing part is fixed on the fixing seat.
The folding structure is also sequentially provided with second through holes above the connecting cylinder, and the positioning rod penetrates through all the first through holes or all the second through holes, so that the tensioning degree of the flexible bearing part is adjusted.
A headrest support structure comprises a fixed seat, a plurality of elastic pieces and at least one flexible bearing piece, wherein the elastic pieces and the at least one flexible bearing piece are arranged on the fixed seat in an integrated mode side by side; the fixed seat is provided with a first arc-shaped convex part, a second arc-shaped convex part and a concave part for connecting the first arc-shaped convex part and the second arc-shaped convex part, and the first arc-shaped convex part is slightly higher than the second arc-shaped convex part; each elastic piece is provided with two symmetrical rod ends, the two rod ends are oppositely and fixedly connected with the fixed seat, and the elastic piece supports the fixed seat; two side edges of the flexible bearing piece are fixedly arranged on the fixed seat, tensioned and positioned above the elastic piece; when the flexible bearing piece is deformed by pressure, the fixed seat connected with the flexible bearing piece is pulled to relatively deflect and fold, and the elastic piece is driven to deform; and when the pressure is removed, the elastic piece resets to push the fixed seat to reset, and the flexible bearing piece also restores to be tensioned.
The fixing seat is two bent rods arranged side by side or two plate-shaped structures arranged side by side, the top of each plate-shaped structure is provided with the first arc-shaped convex part and the second arc-shaped convex part respectively, and the concave parts for connecting the first arc-shaped convex parts and the second arc-shaped convex parts are arranged at the top of each plate-shaped structure, so that the flexible bearing parts tensioned on the fixing seat present corresponding radians
The fixed seat is also provided with an auxiliary curved bar, and a crack is arranged between the auxiliary curved bar and the fixed seat; two side edges of the flexible bearing piece respectively penetrate through the crack and are fixed on the fixed seat.
There is also a flexible pad covering the flexible carrier.
The flexible interlayer is selectively arranged between the elastic piece and the flexible bearing piece, between the flexible bearing piece and the flexible cushion, or on the flexible cushion.
The fixing seat is provided with a plurality of pairs of connecting cylinders in pairs, and two rod ends of each elastic piece are respectively inserted into a pair of connecting cylinders.
The invention has the beneficial effects that: according to the cushion supporting structure, the plurality of self-adaptive units are integrated into a whole through the fixed seat, the flexible bearing part is deformed downwards under pressure, and the free end part of the tensioning bearing part is pulled to relatively deflect and fold; and when the pressure is removed, the free end part of the tensioning bearing part is reset, and the flexible bearing part is tensioned. The self-adaptive unit can deform according to the borne pressure to generate the effect of self-adapting to the body of the user, so that the physiological curve of the human body can be improved, and lumbar spondylosis and the like can be prevented or improved.
The rod body or the arc-shaped plate in the self-adaptive unit can keep elasticity for a long time, is not easy to age, has good fatigue resistance, prolongs the service life of the cushion supporting structure and is durable.
The outer cover of the cushion supporting structure is wrapped to form a cushion, the cushion is ventilated and breathable, heat dissipation is fast, elasticity is durable, and the cushion can be detached to be directly cleaned and sterilized after being dirty, and is convenient to use.
According to the cushion supporting structure, the flexible bearing pieces are fixed on the fixed seats, the elastic pieces are arranged on the fixed seats side by side at equal intervals, and when the flexible bearing pieces deform under pressure and pull the fixed seats connected with the flexible bearing pieces to be relatively furled, the elastic pieces deform; when the pressure is removed, the elastic piece is reset, and the flexible bearing piece is tensioned again. The cushion supporting structure is suitable for structures such as a cushion, a throw pillow, a backrest and the like.
According to the headrest supporting structure, the fixed seat is provided with the first arc-shaped convex part, the second arc-shaped convex part and the concave part, so that the flexible bearing part installed on the fixed seat has a corresponding radian to adapt to a physiological curve of the head and neck of a human body. When the neck of a person is placed in the flexible bearing part region between the two first arc-shaped convex parts or in the flexible bearing part region between every two second arc-shaped convex parts, the head is naturally positioned in the flexible bearing part region between the two concave parts, and when the flexible bearing part in each region is deformed under pressure, the fixing seat connected with the flexible bearing part is pulled to relatively deflect and fold, and the elastic part is driven to deform, so that the physiological radian adaptive to the head and neck of the human body is generated, and the health of the head and neck is ensured, and cervical spondylosis is prevented, corrected, alleviated or treated; and when the pressure is removed, the elastic piece resets to push the fixed seat to reset, and the flexible bearing piece also restores to be tensioned.
Description of the drawings:
FIG. 1 is a schematic view of a cushion support structure according to the present invention.
FIG. 2 is a schematic view of another embodiment of a mattress support structure according to the present invention.
FIG. 3 is a schematic view of a further embodiment of a mattress support structure according to the present invention.
FIG. 4 is a schematic view of a structure of yet another embodiment of a mat support structure according to the present invention.
Fig. 5 is a front view of fig. 1.
FIG. 6 is a schematic view of a structure of yet another embodiment of a mat support structure according to the present invention.
FIG. 7 is a schematic view of the stressed state of the mattress support structure of the present invention. Wherein, the graph shown by the solid line is in a state before stress, and the state shown by the dotted line is in a state after stress deformation.
Fig. 8 is a schematic structural diagram of another embodiment of the adaptive structure according to the present invention.
Fig. 9 is a schematic structural diagram of a further embodiment of the adaptive structure according to the present invention.
Fig. 10 is a schematic structural diagram of another embodiment of the adaptive structure according to the present invention.
Fig. 11 is a schematic structural diagram of another embodiment of the adaptive structure according to the present invention.
Fig. 12 is a schematic structural diagram of another embodiment of the adaptive structure according to the present invention.
FIG. 13 is a schematic view of a still further embodiment of a mat support structure according to the present invention.
FIG. 14 is a schematic structural view of yet another embodiment of a mat support structure according to the present invention.
FIG. 15 is a schematic view of a structure of yet another embodiment of a mat support structure according to the present invention.
FIG. 16 is a schematic view of a still further embodiment of a mat support structure according to the present invention.
Fig. 17 is a schematic view of the structure of the mat of the present invention.
Fig. 18 is a schematic structural view of a headrest support structure according to the present invention.
Fig. 19 is a schematic view of another angle of the headrest support structure according to the present invention.
Fig. 20 is a schematic view of the headrest support structure of fig. 19 with the flexible carrier and the flexible cushion removed.
Detailed Description
Reference will now be made in detail to embodiments of the present invention, examples of which are illustrated in the accompanying drawings, wherein like reference numerals refer to the same or similar elements or elements having the same or similar functions throughout. The embodiments described below with reference to the accompanying drawings are illustrative and intended to explain the embodiments of the present invention and should not be construed as limiting the invention.
In the description of the embodiments of the present invention, it should be understood that the terms "length", "width", "up", "down", "front", "back", "left", "right", "vertical", "horizontal", "top", "bottom", "inner", "outer", etc. indicate orientations or positional relationships based on those shown in the drawings, and are only for convenience in describing the embodiments of the present invention and simplifying the description, but do not indicate or imply that the device or element referred to must have a particular orientation, be constructed and operated in a particular orientation, and thus, should not be construed as limiting the present invention.
Furthermore, the terms "first", "second" and "first" are used for descriptive purposes only and are not to be construed as indicating or implying relative importance or to implicitly indicate the number of technical features indicated. Thus, a feature defined as "first" or "second" may explicitly or implicitly include one or more of that feature. In the description of the embodiments of the present invention, "a plurality" means two or more unless specifically limited otherwise.
In the embodiments of the present invention, unless otherwise explicitly specified or limited, the terms "mounted," "connected," "fixed," and the like are to be construed broadly, e.g., as being fixedly connected, detachably connected, or integrated; can be mechanically or electrically connected; they may be directly connected or indirectly connected through intervening media, or may be connected through the use of two elements or the interaction of two elements. Specific meanings of the above terms in the embodiments of the present invention may be understood by those of ordinary skill in the art according to specific situations.
Referring to fig. 1, 2, 3 and 4, acushion support structure 100 includes a holder 110a and a plurality ofadaptive units 120 integrally disposed side by side on the holder. Each of theadaptive units 120 includes aflexible carrier 121 and anelastic member 130; theelastic member 130 supports theflexible carrier 121 to be tensioned. Each of theelastic members 130 has two symmetrical rod ends 131, and theflexible bearing member 121 is fixedly connected with the rod ends 131. Theflexible bearing part 121 is deformed by pressure, and pulls therod end 131 of theelastic part 130 connected with the flexible bearing part to relatively deflect and fold, so that theelastic part 130 is deformed; when the pressure is removed, theelastic member 130 is restored, and theflexible carrier 121 is tensioned again.
It should be understood that the term "tension" as used herein means that theelastic member 130 supports theflexible carrier 121 in a stretched and tensed state, as shown in fig. 5, or in a natural state under tension, and exhibits a slightly sagging arc, as shown in fig. 6. In particular, when theflexible carrier 121 is an elongatedflexible strap 121a or a block-shapedflexible braid 121b, the term "tension" in this application may be a stretched and taut state as shown in fig. 5, or may exhibit a natural downward curvature as shown in fig. 6.
In some embodiments of the present invention, as shown in fig. 5, theelastic member 130a is an elastic rod formed by integrally molding two rod ends 131a and an arc-shapedrod body 132 a. Theelastic member 130a in this embodiment forms theadaptive unit 120a in an "arch" shaped structure together with the elongatedflexible strap 121 a. Referring to fig. 7, the change state of the adaptive unit after being stressed is shown by a dotted line. When thestrap 121a is pressed, for example, when a human body presses on thestrap 121a, thestrap 121a is sunken and deformed towards the direction of the elastic rod, and generates a radian adaptive to the human body, and simultaneously, therod end 131a is pulled to deviate and approach towards the center direction of the arch, the middle part of the elastic rod is sunken further, and an effect of adapting to a physiological curve of the human body is formed, so that the physiological curve of the human body is improved, and lumbar spondylosis and the like are prevented or improved. When the human body leaves thestrap 121a, the pressure is removed, the elastic rod is restored, and thestrap 121a is restored to the original state.
It is understood that theelastic member 130a may also be used in cooperation with the block-shapedflexible braid 121b, as shown in fig. 2. In this case, one of the block-shapedflexible braids 121b is engaged with a plurality ofelastic members 130 a. When the block-shaped flexible knittedfabric 121b is pressed, for example, a human body presses thereon, the block-shaped flexible knittedfabric 121b deforms to be concave towards theelastic member 130a, and generates an arc adaptive to the human body, and simultaneously pulls all the rod ends 131a connected with the block-shaped flexible knitted fabric to deviate towards the center direction of theelastic member 130a, and the middle part of theelastic member 130a is further concave. When the human body leaves the block-shapedflexible braid 121b, the pressure is removed, all theelastic members 130a are restored, and the block-shapedflexible braid 121b is restored to the original state. In this embodiment, the number of theelastic members 130a is determined according to the size of thebraid 121 b.
In some embodiments of the present invention, referring to fig. 8, theelastic member 130b may also be two elastic rods formed by integrally molding therod end 131b and an arc-shaped orstraight rod body 132b, and the two elastic rods are symmetrically mounted on a mountingmember 133. The mountingmember 133 may be a straight bar, or a plate, or a frame. The structure of the invention is not limited uniquely, and the structure can meet the requirement that the elastic rods can be symmetrically arranged and can not easily shake relative to the ground. Theelastic member 130b may also be used in cooperation with the elongatedflexible band 121a or the block-shapedflexible braid 121b, respectively. It should be understood that when theelastic member 130b is used with the elongatedflexible strip 121a, only one pair of symmetrical elastic rods need to be mounted on the mountingmember 133, and when theelastic member 130b is used with the block-shapedflexible braid 121b, several pairs of symmetrical elastic rods need to be mounted on the mountingmember 133.
In some embodiments of the present invention, referring to fig. 9, theelastic member 130c is formed by two arc-shapedrods 132c arranged in parallel, and two side ends of the two arc-shapedrods 132c are respectively connected to form therod end 131c. Theelastic member 130c may also be used in cooperation with the elongatedflexible band 121a or the block-shapedflexible braid 121b, respectively. When theelastic member 130b is used in cooperation with the elongatedflexible strip 121a, one elongatedflexible strip 121a only needs to be used in cooperation with oneelastic member 130 c. When theelastic member 130c is used with the block-shapedflexible braid 121b, one block-shapedflexible braid 121b needs to be used with a plurality of elastic members symmetrically arranged.
In some embodiments of the present invention, referring to fig. 10, theelastic member 130d is formed by two U-shaped members mounted on a mounting member, the U-shaped members are two arc-shapedrods 132d arranged in parallel, one end of each arc-shaped rod is connected to form therod end 131d, and the two U-shaped members are symmetrically arranged on the mountingmember 133. Theelastic member 130d may also be used in cooperation with the elongatedflexible band 121a or the block-shapedflexible braid 121b, respectively. When theelastic member 130d is used in cooperation with the elongatedflexible strip 121a, one elongatedflexible strip 121a only needs to be used in cooperation with one pair of the rod ends 131 d. When theelastic member 130d is used with the block-shapedflexible braid 121b, one block-shapedflexible braid 121b is used with a plurality of pairs of the rod ends 131 d.
In some embodiments of the present invention, referring to fig. 11 and 12, the elastic member 130e is an arc-shapedplate 132e, and both ends of a plurality of the elongatedflexible bands 121a are loaded on the edge of the arc-shapedplate 132e, or the edge of the block-shapedflexible braid 121b is loaded on the edge of the arc-shapedplate 132 e.
In some embodiments of the present invention, theelastic member 130 and theflexible carrier 120 are fixedly connected or fixedly connected through a connectingmember 150. The fixed connection of the two can be achieved by fixing the end or edge of theflexible carrier 120 to therod end 131. Specifically, in some embodiments, thestrap 121a is directly tied to therod end 131, or a lace is provided at an edge of the block-shapedflexible braid 121b, and is tied to therod end 131 through the lace. In some embodiments, a through hole or a groove is formed in therod end 131, and when theflexible carrier 120 is the elongatedflexible strap 121a, an end of thestrap 121a is threaded through the through hole or the groove and then stitched on itself to form a buckle. When theflexible carrier 120 is a block-shapedflexible braided fabric 121b, a ring buckle made of a flexible braided fabric material is arranged at the edge of the flexible carrier, and the ring buckle penetrates through the through hole or the groove to realize fixed connection. In some embodiments, theflexible carrier 120 and therod end 131 are fixedly connected by the connecting member. Preferably, the connecting member is preferably fixed to therod end 131, which in turn connects to theflexible carrier 120. The connecting member should provide a structure that facilitates the fixed connection of theflexible carrier 120, such as a groove or a through hole, or other structures that facilitate the connection of theflexible carrier 120.
Preferably, in some embodiments of the present invention, therod end 131 has a circular cross-section, and more preferably, an oval, square, rectangular, or polygonal cross-section, so as to prevent theelastic member 130 from rotating or shaking about itself when theelastic member 130 is pulled by theflexible carrier 120.
Preferably, in some embodiments of the present invention, the cross-section of the rod body is circular, and more preferably, is oval, square, rectangular, or polygonal, so as to prevent theelastic member 130 from rotating or shaking around itself when theelastic member 130 is pulled by theflexible carrier 120.
In some embodiments of the present invention, theelastic member 130 is made of epoxy resin fiber, aluminum alloy, carbon fiber, aircraft aluminum, glass reinforced fiber, and spring steel, which have a certain degree of elasticity and bending strength, and can deform under a force and recover to its original shape after the force is removed. The elasticity of the elastic part is 300N-10000N. The elasticity of the elastic piece is flexibly set according to objective requirements.
In some embodiments of the present invention, the arc of the rod body of theelastic member 130 is 8 ° to 90 °.
In some embodiments of the invention, the shaft is covered by a thin outer cover. The material of the thin layer outer sleeve can be plastic or stainless steel. The thin layer coat protects the rod body or decorates the rod body, so that the rod body is attractive in appearance, or the bending strength of the rod body is enhanced, and the cost is reduced.
In some embodiments of the present invention, the material of theflexible carrier 121 may be any flexible material such as cloth, fiber, nylon, etc.
Preferably, in some embodiments of the present invention, referring to fig. 3, theadaptive unit 120 further includes asupport 140, and thesupport 140 supports theelastic member 130 to be movable up and down; the supporting member is disposed below, at two ends or above theelastic member 130. The structure of the supportingmember 140 is flexible and changeable, and may be changed according to the structure of theelastic member 130 and its purpose, and is configured as an inelastic supporting member or an elastic supporting member. The non-elastic supporting member can be structurally arranged to be a holding groove or a holding hole matched with the shape and the extending direction of the rod body of theelastic member 130, the rod body penetrates through the holding groove or the holding hole, the holding groove or the holding hole is in the same direction as the extending direction of the rod body, and has a certain limiting effect, namely, sufficient deformation space is provided for the rod body, and the rod body is blocked in the deformation process in front and back directions of the rod body and can only deform in the left direction, the right direction and the up and down directions.
When the supportingmember 140 is an elastic supporting member, theelastic member 130 is elastically supported to move up and down. That is, when theelastic member 130 moves downward, theelastic support member 140 is pressed downward, so that theelastic support member 140 is deformed to provide a downward movement space for theelastic member 130. When the pressure on the flexible carrier is removed, theelastic support 140 is reset, and theelastic member 130 is pushed to reset. The supportingelastic member 140 enables theelastic member 130 to move up and down, so that theadaptive unit 120 can move up and down according to the borne weight, and has a good buffering effect and a better adaptive effect, so that a person feels more comfortable. Theelastic support 140 is preferably a circular wire spring or a spring plate.
Preferably, the supportingmember 140 is mounted on the fixingbase 110 b. Of course, the supportingmember 140 can be mounted on other structures, such as the mountingmember 133, according to the specific structure of the product.
Preferably, in some embodiments of the present invention, the fixingbase 110 includes a plurality of limiting members 180, and the limiting members 180 are connected to theelastic member 130 in a one-to-one correspondence manner to limit that theelastic member 130 can only move up and down and cannot swing left, right, front, and back. Specifically, theelastic member 130 is provided with a mountingseat 142. The limiting member 180 may be a straight rod with elasticity as shown in fig. 14, and passes through aninstallation base 142, and two ends of the limiting member are fixed on the fixingbase 110. Theelastic member 130 and the limiting member 80 are fixedly connected through the mountingseat 142. When theelastic member 130 is pulled by theflexible carrier 121 to deform, theelastic member 130 presses the limiting member 180 through the mountingbase 142, and two ends of the limiting member 180 are fixed and can only move up and down and cannot swing back and forth and left and right, so that the moving direction of theelastic member 130 is also limited. Preferably, the limiting member 180 is two straight rods with elasticity arranged in parallel. It should be understood that the limiting member 180 may be provided in other structures that can satisfy the requirement of "limiting the movement direction of theelastic member 130 to only move up and down".
It should be understood that the fixing base is used for integrating the adaptive unit, and the structure of the fixing base can be flexibly changed according to the shape of the rod body of the adaptive unit, the installation requirement and the product. For example, in some embodiments of the present invention, thecushion support structure 100 is used for a product that is convenient to take, such as a throw pillow or a back cushion, the fixing seat 110a may be a two-side connecting straight rod, as shown in fig. 1 and 2, the two-side connecting straight rod is provided with a plurality of slots corresponding to the rod ends 131 one by one; therod end 131 passes through the slot and is constrained to move within the slot. The slot is preferably oblong. The slot is larger than the outer diameter ofrod end 131 such thatrod end 131 can pass through the slot within which the rod body can move. The slotted hole also limits the moving range of the rod body, so that the rod body is prevented from being bent or broken due to transition deformation under the action of pressure.
For example, in some embodiments of the present invention, thecushion support structure 100 is used for a sofa cushion, a car seat, a pillow, a mattress, etc. to be fixed on a product, the fixingbase 110b may be configured to have a base and a bottom frame, etc., and the support member, the mounting base, the mounting member, etc. are fixed on the fixingbase 110 b. As shown in fig. 3 and 13.
Referring to fig. 14 and 15, a cushion support structure includes aholder 110c, a plurality ofelastic members 130 and at least oneflexible carrier 121; theelastic members 130 are arranged on the fixedseat 110c side by side, eachelastic member 130 has two symmetrical rod ends 131, and the two rod ends 131 are respectively and fixedly connected to the fixedseat 110c; two opposite side edges of theflexible carrier 121 are respectively and fixedly connected to the fixingseat 110c, so that theflexible carrier 121 is erected above theelastic member 130; theflexible carrier 121 is deformed by pressure, and pulls the fixingbase 110c connected with the flexible carrier to relatively fold, so that theelastic member 130 is deformed; when the pressure is removed, theelastic member 130 is reset, and theflexible carrier 121 is tensioned again.
Eachelastic member 130 has arod 132 connected to therod end 131, and the position near the connection between therod end 131 and the fixedbase 110 is an obtuse angle, so as to prevent therod 132 from being contacted when the positions near two opposite sides of theflexible carrier 121 are pressed down.
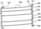
Referring to fig. 16, the fixingbase 110c includes two side connectingstraight bars 112, a plurality of pairs of connectingcylinders 111 are disposed on the two side connectingstraight bars 112 in pairs, and two rod ends 131 of eachelastic member 130 are respectively inserted into a pair of connectingcylinders 111, so that theelastic member 130 is mounted on the fixingbase 110 c.
Theflexible carrier 121 is an elongated flexible strip or a flexible fabric in the form of a block.
The side edge of eachflexible carrier 121 is folded back to be attached to the main body thereof to form a foldedstructure 122, the foldedstructure 122 is wound around the side connectingstraight rod 112 of the fixedseat 110c, extends above the connectingcylinder 111 and is provided with a first throughhole 123, and apositioning rod 124 passes through all the first throughholes 123 of the foldedstructure 122 and is clamped on the side connectingstraight rod 111, so that theflexible carrier 122 is fixed on the fixedseat 110 c.
Thefolding structure 122 is further provided with second throughholes 125 above the connectingcylinder 111 in sequence, and thepositioning rod 124 passes through all the first throughholes 123 or all the second throughholes 125, so as to adjust the tensioning degree of the flexible bearing member.
A supporting belt (not shown) is further disposed below theflexible carrier 121, and the supporting belt is located above any two adjacent elastic members; the supporting belt is attached to the lower surface of the flexible bearing piece or is arranged on the two fixing seats. The support bands prevent theflexible carrier 121 from excessively deforming, contacting theelastic member 130.
In some embodiments of the invention, as shown in fig. 17, the present application also provides a mattress comprising themattress support structure 100 described above and acover 200 surrounding the mattress support structure. The material of theouter cover 200 may be flexible cotton, yarn, fiber, nylon, or other flexible materials. The cushion may be a seat cushion, a sofa cushion, a mattress, a pillow cushion, a bolster, a lumbar cushion, a back cushion, an automobile seat cushion, or the like.
Preferably, theouter cover 200 is provided with an interlayer filled with a flexible filler, thereby preventing a sense of discomfort from being given to the cushion support structure when supporting a human body through the outer cover. The flexible filler can be cotton, sponge, latex and other flexible materials.
Referring to fig. 18 to 20, a headrest support structure includes aholder 110d, at least oneflexible carrier 121 and a plurality ofelastic members 130 integrally provided on the holder side by side; the fixedseat 110d is provided with a first arc-shapedconvex part 101, a second arc-shapedconvex part 102 and aconcave part 103 for connecting the first arc-shapedconvex part 101 and the second arc-shapedconvex part 102, wherein the first arc-shapedconvex part 101 is slightly higher than the second arc-shapedconvex part 102; eachelastic member 130 has two symmetrical rod ends 131, the two rod ends 131 are oppositely and fixedly connected to the fixedseat 110d, and theelastic member 130 supports the fixedseat 110d; two side edges of theflexible carrier 121 are fixedly mounted on the fixingbase 110d, tensioned and located above theelastic member 130; when theflexible carrier 121 is deformed by pressure, the fixedseat 110d connected to the flexible carrier is pulled to relatively shift and fold, and theelastic member 130 is driven to deform; when the pressure is removed, theelastic member 130 is reset, pushing the fixingseat 110d to reset, and theflexible carrier 121 is also tensioned again.
The fixingseat 110 is two curved bars arranged side by side or two plate-shaped structures arranged side by side as shown in fig. 19 and 20, and the top of the curved bars or the plate-shaped structures form the first arc-shapedconvex part 101 and the second arc-shapedconvex part 102, and theconcave part 103 connecting the first arc-shapedconvex part 101 and the second arc-shapedconvex part 102. The firstarcuate projection 101 is slightly higher than the secondarcuate projection 102 so that theflexible carrier 121 tensioned thereon assumes a corresponding arc. Specifically, the flexible bearing part between the two first arc-shapedprotrusions 101 is used for supporting the neck of the user, or the flexible bearing part between the two second arc-shapedprotrusions 102 is used for supporting the neck of the user. Obviously, since the firstconvex portions 101 are slightly higher than the secondconvex portions 102, the area of the flexible bearing part between the two firstconvex portions 101 is slightly higher than the area of the flexible bearing part between the two secondconvex portions 102, and a user can select to use the flexible bearing part according to his or her own habits. Therecess 103 is used to support the head of a user. When the user is in the headrest onflexible carrier 121, the weight of neck portion pushes downflexible carrier 121,flexible carrier 121 is pushed down and draws together fixingbase 110d, thereby impelelastic component 130 draws in along with it deformation, thereby makes headrest bearing structure warp according to the physiology radian of user's neck portion automatically to automatic rather than looks adaptation, give the more comfortable experience of user and feel, thereby prevent or correct the physiology curve of neck portion, solve or alleviate cervical spondylopathy.
It should be understood that the fixingseat 110d is only required to have the top portion thereof formed with the first arc-shapedprotrusion 101 and the second arc-shapedprotrusion 102 and therecess 103. Any modification of the shape of the fixingbase 110d without departing from the basic concept of the present invention should be considered as being within the protection scope and the like defined by the present application.
A plurality of pairs of connectingcylinders 111 are arranged on the fixedseat 110d in pairs, and two rod ends 131 of eachelastic member 130 are respectively inserted into a pair of connectingcylinders 111, so that theelastic member 130 is mounted on the fixedseat 110 d.
Preferably, the fixingbases 110d are further respectively provided with an auxiliarycurved bar 104, and agap 105 is formed between the auxiliarycurved bar 104 and the fixingbase 110 d. Two side edges of theflexible carrier 121 respectively pass through one of theslits 105 and are fixed on the fixingbase 110 d. Specifically, two ends of the fixingseat 110d are respectively provided with anauxiliary crank seat 106, and two ends of the auxiliary crank 104 are fixed on the auxiliary crank seats 106. Theauxiliary crank 104 is preferably made of flexible material such as nylon, cotton, sponge, latex, etc. so as to prevent the head of the user from directly contacting the fixingbase 110d and theflexible carrier 121, and the user feels hard.
The headrest support structure further has aflexible cushion 160, and theflexible cushion 160 covers theflexible carrier 121, thereby making the head and neck more comfortable for the user. The product is beautiful in appearance, flexible and changeable to adapt to the preferences of different users.
The flexible interlayer is selectively arranged between the elastic piece and the flexible bearing piece, between the flexible bearing piece and the flexible cushion or on the flexible cushion. The flexible interlayer is internally provided with dried flowers, chinese herbal medicines and the like, is helpful for sleeping, removes substances such as peculiar smell and the like, can also be provided with flexible substances such as cotton, sponge, silica gel and the like, and improves the comfort level of the headrest supporting structure.
In the headrest supporting structure, the structures of the elastic part, the flexible bearing part and the connection mode of the elastic part and the flexible bearing part are the same as those of the elastic part and the flexible bearing part in the cushion supporting structure, and the description of the invention is omitted.
The foregoing is a more detailed description of the invention in connection with specific preferred embodiments and it is not intended that the invention be limited to these specific details. For those skilled in the art to which the present invention pertains, the architecture form can be flexible and varied without departing from the concept of the present invention, and a series of products can be derived. But merely as a matter of simple deductions or substitutions should be considered as falling within the scope of the invention as defined by the appended claims.

Claims (22)

11. A cushion support structure is characterized by comprising a fixed seat, a plurality of arc-shaped elastic pieces and at least one flexible bearing piece; the elastic pieces are arranged on the fixed seat side by side at equal intervals, each elastic piece is provided with two symmetrical rod ends, and the two rod ends are fixedly connected to the fixed seat respectively; two opposite side edges of the flexible bearing piece are respectively connected with the fixed seats, so that the flexible bearing piece is erected above the elastic piece; the flexible bearing part is deformed by pressure, the fixed seat connected with the flexible bearing part is pulled to be relatively folded, and the elastic part is deformed; and when the pressure is removed, the elastic piece resets, and the flexible bearing piece restores to be tensioned.
17. The headrest supporting structure is characterized by comprising a fixed seat, a plurality of elastic pieces and at least one flexible bearing piece, wherein the elastic pieces and the at least one flexible bearing piece are integrated on the fixed seat side by side; the fixed seat is provided with a first arc-shaped convex part, a second arc-shaped convex part and a concave part for connecting the first arc-shaped convex part and the second arc-shaped convex part, and the first arc-shaped convex part is slightly higher than the second arc-shaped convex part; each elastic piece is provided with two symmetrical rod ends, the two rod ends are oppositely and fixedly connected with the fixed seat, and the elastic piece supports the fixed seat; two side edges of the flexible bearing piece are fixedly arranged on the fixed seat, tensioned and positioned above the elastic piece; when the flexible bearing piece is deformed by pressure, the fixed seat connected with the flexible bearing piece is pulled to relatively deflect and fold, and the elastic piece is driven to deform; and when the pressure is removed, the elastic piece resets to push the fixed seat to reset, and the flexible bearing piece also restores to be tensioned.
CN202210774952.3A2022-02-102022-07-01Cushion supporting structure and cushion thereofPendingCN115336882A (en)

Priority Applications (1)

Application NumberPriority DateFiling DateTitle
PCT/CN2023/102615WO2024002044A1 (en)2022-02-102023-06-27Cushion support structure and cushion having same

Applications Claiming Priority (2)

Application NumberPriority DateFiling DateTitle
CN20221012633712022-02-10
CN2022101263372022-02-10

Publications (1)

Publication NumberPublication Date
CN115336882Atrue CN115336882A (en)2022-11-15

Family

ID=83948885

Family Applications (1)

Application NumberTitlePriority DateFiling Date
CN202210774952.3APendingCN115336882A (en)2022-02-102022-07-01Cushion supporting structure and cushion thereof

Country Status (2)

CountryLink
CN (1)CN115336882A (en)
WO (1)WO2024002044A1 (en)

Cited By (1)

* Cited by examiner, † Cited by third party
Publication numberPriority datePublication dateAssigneeTitle
WO2024002044A1 (en)*2022-02-102024-01-04王建武Cushion support structure and cushion having same

Family Cites Families (8)

* Cited by examiner, † Cited by third party
Publication numberPriority datePublication dateAssigneeTitle
CN1333156A (en)*2000-07-112002-01-30欧阳正南Net shape hanging type spring saddle
CN2498926Y (en)*2001-06-122002-07-10北京舒适科技有限公司Net suspension elastic cushion
US6880886B2 (en)*2002-09-122005-04-19Steelcase Development CorporationCombined tension and back stop function for seating unit
CN202739353U (en)*2012-07-102013-02-20杭州火虫工业产品设计有限公司Arched elastic support mechanism
CN204132888U (en)*2014-09-162015-02-04鲁定康A kind of back of chair structure
DE202018100450U1 (en)*2018-01-262019-04-29König + Neurath AG Seating furniture, in particular office chair
CN113749465A (en)*2021-10-132021-12-07王建武Self-adaptive breathable cushion
CN115336882A (en)*2022-02-102022-11-15王建武Cushion supporting structure and cushion thereof

Cited By (1)

* Cited by examiner, † Cited by third party
Publication numberPriority datePublication dateAssigneeTitle
WO2024002044A1 (en)*2022-02-102024-01-04王建武Cushion support structure and cushion having same

Also Published As

Publication numberPublication date
WO2024002044A1 (en)2024-01-04

Similar Documents

PublicationPublication DateTitle
JP5906289B2 (en) Tuning backrest for seating unit
US7344194B2 (en)Device for lumbar support
RU2683365C2 (en)Device with a mattress, such as a bed having adjustable firmness
KR101015628B1 (en) Functional cushion using spring
EP3257403B1 (en)Adjustable back support for a seating surface
CN115336882A (en)Cushion supporting structure and cushion thereof
US12048382B2 (en)Cushion supporting structure
KR200483330Y1 (en) Functional pillow
JP5569637B1 (en) pillow
CN219166045U (en)Cushion supporting structure and headrest supporting structure
JP2009532191A (en) Cantilever upholstery for sitting or lying furniture
US2812804A (en)Adjustable back rest for seat
CN219069817U (en)Self-adaptive breathable cushion
US20240065449A1 (en)Mattress for bed frame with bow structure
JP4737110B2 (en) Pillow case
US2024837A (en)Cushion and elastic stuffing
RU235530U1 (en) HEADREST FOR CHAIR SEAT
KR20180089181A (en)Lumbar cushion
US20110095582A1 (en)Head supporting device
CN218044605U (en)Pillow with elastic pillow body
CN219479656U (en)Elastic cushion
CN208403822U (en)A kind of seating air headrest
CN108909560A (en)A kind of long-distance anti-lumbar vertebrae fatigue chair special of automobile
CN205513611U (en)Spring bed pad that accords with human engineering
KR200416728Y1 (en) Ventilated chair

Legal Events

DateCodeTitleDescription
PB01Publication
PB01Publication
SE01Entry into force of request for substantive examination
SE01Entry into force of request for substantive examination

[8]ページ先頭

©2009-2025 Movatter.jp