




技术领域technical field
本发明涉及独轮车技术领域,尤其涉及一种阻尼减震一体化的独轮车。The invention relates to the technical field of unicycles, in particular to a unicycle with integrated damping and shock absorption.
背景技术Background technique
现有的减震独轮车中,所使用的减震结构和阻尼结构是相对独立的,需要采用多个部件来实现,结构复杂,组装工序多。In the existing shock-absorbing unicycle, the shock-absorbing structure and the damping structure used are relatively independent, and need to be realized by using multiple components, the structure is complex, and there are many assembly processes.
也有一些结构中,在阻尼器外套设弹簧,利用弹簧以起到减震效果,弹簧外露,不利于安全使用,如会夹到石子等异物,若加设保护套,又会增大减震结构的整体体积,结构复杂,使用体验差。There are also some structures where a spring is placed outside the damper, and the spring is used to achieve a shock absorption effect. The spring is exposed, which is not conducive to safe use. If foreign objects such as stones will be caught, if a protective cover is added, the shock absorption structure will be enlarged. The overall volume, complex structure, and poor user experience.
发明内容Contents of the invention
为了克服上述现有技术所述的至少一种缺陷,本发明提供一种阻尼减震一体化的独轮车,将阻尼功能和减震功能集成到单筒阻尼减震器上,其结构简单,整体占用空间小。In order to overcome at least one of the defects described in the above-mentioned prior art, the present invention provides a damping and shock-absorbing integrated unicycle, which integrates the damping function and shock-absorbing function into a single-tube damping shock absorber, which has a simple structure and takes up a whole Small space.
本发明为解决其问题所采用的技术方案是:The technical scheme that the present invention adopts for solving its problem is:
一种阻尼减震一体化的独轮车,包括:A unicycle with integrated damping and shock absorption, comprising:
电机轮;motor wheel;
车架,相对电机轮上下活动连接,车架的两侧分别设置有脚踏板;The frame is movable up and down relative to the motor wheel, and pedals are arranged on both sides of the frame;
单筒阻尼减震器,连接于电机轮和车架之间,为车架的上下活动提供减震和阻尼;The single-tube damping shock absorber is connected between the motor wheel and the frame to provide shock absorption and damping for the up and down movement of the frame;
其中,单筒阻尼减震器包括缸筒、活塞杆、油活塞以及浮游塞,油活塞和浮游塞依次滑动设置于缸筒的内部,以将缸筒内部的空腔依次分隔为第一油腔、第二油腔和气腔,活塞杆由缸筒的一端穿入第一油腔并与油活塞相连接,活塞杆和/或油活塞上设置有用于导通第一油腔和第二油腔的阻尼阀。Among them, the single-tube damping shock absorber includes a cylinder, a piston rod, an oil piston and a floating plug, and the oil piston and the floating plug are sequentially slidably arranged inside the cylinder to divide the cavity inside the cylinder into the first oil chamber in turn. , the second oil chamber and the air chamber, the piston rod penetrates the first oil chamber from one end of the cylinder and is connected with the oil piston, the piston rod and/or the oil piston are provided with a damping valve.
本发明所提供的阻尼减震一体化的独轮车,通过浮游塞将油气分离,液体可通过阻尼阀在第一油腔和第二油腔之间流动,且由于活塞杆位于第一油腔以占用一定的空间,这将导致第一油腔的容油横截面小于第二油腔的容油横截面,气体通过浮游塞压缩液体顶出活塞杆,从而形成弹性减震功能,第一油腔和第二油腔的油压需要趋向平衡,从而形成阻尼功能,特别是双向阻尼功能,以此实现阻尼减震一体化,其结构简单,整体占用空间小。The wheelbarrow with integrated damping and shock absorption provided by the present invention separates the oil and gas through the floating plug, and the liquid can flow between the first oil chamber and the second oil chamber through the damping valve, and since the piston rod is located in the first oil chamber to occupy A certain space will cause the oil-holding cross-section of the first oil chamber to be smaller than that of the second oil chamber, and the gas will compress the liquid through the floating plug to push out the piston rod, thereby forming an elastic shock-absorbing function, the first oil chamber and the second oil chamber The oil pressure in the second oil chamber needs to be balanced to form a damping function, especially a two-way damping function, so as to realize the integration of damping and shock absorption. Its structure is simple and the overall space occupied is small.
进一步地,缸筒的另一端设置有导通气腔的充气口。如此,通过充气口,可以充放气体调节弹性大小,解决弹性大小不便调节的问题。Further, the other end of the cylinder is provided with an air charging port leading to the air cavity. In this way, through the inflation port, gas can be charged and released to adjust the elastic size, which solves the problem that the elastic size is inconvenient to adjust.
进一步地,活塞杆和/或油活塞上还设置有限压阀。当第一油腔和第二油腔的压差过大时,限压阀打开,加快液体在第一油腔和第二油腔之间的流动速率,避免压差过大而造成安全隐患。Further, a pressure limiting valve is also provided on the piston rod and/or the oil piston. When the pressure difference between the first oil chamber and the second oil chamber is too large, the pressure limiting valve is opened to speed up the flow rate of the liquid between the first oil chamber and the second oil chamber to avoid safety hazards caused by excessive pressure difference.
进一步地,油活塞包括具有安装腔的主体部,安装腔朝向活塞杆开口,安装腔底部设置有凸起,阻尼阀包括设置于凸起的阻尼油孔,阻尼油孔贯穿至第二油腔,活塞杆的一端连接于主体部,且活塞杆上设置有导通阻尼油孔和第一油腔的导油槽。由此,液体可通过阻尼油孔和导油槽实现在第一油腔和第二油腔之间的流动,实现阻尼效果的同时,无需额外加装零部件。Further, the oil piston includes a main body with an installation cavity, the installation cavity opens toward the piston rod, a protrusion is provided at the bottom of the installation cavity, the damping valve includes a damping oil hole disposed on the protrusion, and the damping oil hole penetrates into the second oil chamber, One end of the piston rod is connected to the main body, and the piston rod is provided with an oil guide groove leading to the damping oil hole and the first oil chamber. In this way, the liquid can flow between the first oil chamber and the second oil chamber through the damping oil hole and the oil guide groove, so that the damping effect can be achieved without additional components.
进一步地,限压阀包括弹性件、封油垫片和设置于安装腔底部的限压油孔,限压油孔贯穿至第二油腔且与导油槽相导通,封油垫片在弹性件的弹力作用下抵接于安装腔的底部并封堵限压油孔,当第一油腔和第二油腔的压差过大时,将克服弹性件的弹力并顶开封油垫片,实现泄压。Further, the pressure limiting valve includes an elastic member, an oil sealing gasket and a pressure limiting oil hole arranged at the bottom of the installation cavity. The pressure limiting oil hole penetrates to the second oil chamber and communicates with the oil guiding groove. Under the action of the elastic force of the elastic part, it abuts against the bottom of the installation cavity and seals the pressure limiting oil hole. When the pressure difference between the first oil chamber and the second oil chamber is too large, it will overcome the elastic force of the elastic part and unseat the oil gasket. Achieve pressure relief.
进一步地,限压油孔设置有多个且绕凸起的周边布置,弹性件的一端抵接于活塞杆的端部,弹性件的另一端抵接于封油垫片。Further, a plurality of pressure limiting oil holes are arranged around the periphery of the protrusion, one end of the elastic member abuts against the end of the piston rod, and the other end of the elastic member abuts against the oil sealing gasket.
进一步地,活塞杆的一端可活动地螺接于主体部,以调节弹性件的弹性力。Further, one end of the piston rod is movably screwed to the main body to adjust the elastic force of the elastic member.
进一步地,导油槽包括设置于活塞杆端面的横槽和设置于活塞杆周向侧面的竖槽,横槽与竖槽相导通,且横槽朝向主体部的安装腔开口并与阻尼油孔相导通,竖槽与第一油腔相导通。Further, the oil guide groove includes a horizontal groove arranged on the end surface of the piston rod and a vertical groove arranged on the circumferential side of the piston rod, the horizontal groove and the vertical groove are connected, and the horizontal groove opens toward the installation cavity of the main body and connects with the damping oil hole Phase conduction, the vertical groove and the first oil chamber phase conduction.
进一步地,单筒阻尼减震器设置有两个,两单筒阻尼减震器竖直布置且分别位于电机轮的两侧,单筒阻尼减震器的一端固接于电机轮的轮轴,单筒阻尼减震器的另一端固接于车架。如此,直接以单筒阻尼减震器作为支撑构件,起到双边减震和承托的作用,进一步减少零部件数量。Further, there are two single-tube damping shock absorbers, the two single-tube damping shock absorbers are arranged vertically and are respectively located on both sides of the motor wheel, one end of the single-tube damping shock absorber is fixedly connected to the wheel shaft of the motor wheel, and the single-tube damping shock absorber The other end of the tube damping shock absorber is fixedly connected to the vehicle frame. In this way, the single-tube damping shock absorber is directly used as a supporting member to play the role of bilateral shock absorption and support, further reducing the number of parts.
进一步地,活塞杆的半径R1在10mm至15mm之间,且缸筒的内半径R2与活塞杆的半径R1之间的关系为:1.1≤R2/R1≤2。Further, the radius R1 of the piston rod is between 10 mm and 15 mm, and the relationship between the inner radius R2 of the cylinder and the radius R1 of the piston rod is: 1.1≤R2/R1≤2.
综上所述,本发明提供的阻尼减震一体化的独轮车具有如下技术效果:In summary, the integrated unicycle with damping and shock absorption provided by the present invention has the following technical effects:
在该独轮车中,通过浮游塞将油气分离,气体通过浮游塞压缩液体顶出活塞杆,形成弹性减震功能,同时,通过导通第一油腔和第二油腔的阻尼阀的作用,形成双向阻尼功能,实现阻尼减震一体化,其结构简单,整体占用空间小;另一方面,还可以通过充气口对气腔进行充放气体,以调节其弹性大小,以适应不同体重的骑行者以及各类骑行环境。本发明的其他有益效果将在具体实施方式中展出。In this wheelbarrow, the oil and gas are separated by the floating plug, and the gas is compressed by the floating plug to push the liquid out of the piston rod, forming an elastic damping function. The two-way damping function realizes the integration of damping and shock absorption. Its structure is simple and the overall space is small. On the other hand, the air cavity can also be filled and discharged through the inflation port to adjust its elasticity to suit riders of different weights. and various riding environments. Other beneficial effects of the present invention will be exhibited in the specific embodiments.
附图说明Description of drawings
图1为本发明实施例的独轮车的剖视结构示意图;Fig. 1 is the sectional structure schematic diagram of the wheelbarrow of the embodiment of the present invention;
图2为本发明实施例的两单筒阻尼减震器与横梁相连接的结构示意图;Fig. 2 is the structural representation that two monotube damping shock absorbers of the embodiment of the present invention are connected with the beam;
图3为本发明实施例的单筒阻尼减震器的剖视结构示意图;3 is a schematic cross-sectional structural view of a monotube damping shock absorber according to an embodiment of the present invention;
图4为图3所示的A部局部放大图;Fig. 4 is a partially enlarged view of part A shown in Fig. 3;
图5为本发明实施例的活塞杆的结构示意图。Fig. 5 is a schematic structural view of the piston rod according to the embodiment of the present invention.
其中,附图标记含义如下:Among them, the reference signs have the following meanings:
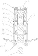
1、电机轮;2、车架;21、脚踏板;22、导柱;221、限位槽;3、单筒阻尼减震器;31、缸筒;311、第一油腔;312、第二油腔;313、气腔;32、活塞杆;321、导油槽;3211、横槽;3212、竖槽;33、油活塞;331、安装腔;332、主体部;333、凸起;334、阻尼油孔;335、限压油孔;34、浮游塞;35、阻尼阀;36、限压阀;361、弹性件;362、封油垫片;37、第一安装座;38、第二安装座;381、限位块;39、充气口;4、横梁。1, motor wheel; 2, vehicle frame; 21, pedal; 22, guide post; 221, limit groove; 3, single cylinder damping shock absorber; 31, cylinder barrel; 311, first oil chamber; 312, 313, air cavity; 32, piston rod; 321, oil guide groove; 3211, horizontal groove; 3212, vertical groove; 33, oil piston; 331, installation cavity; 332, main body; 333, protrusion; 334, damping oil hole; 335, pressure limiting oil hole; 34, floating plug; 35, damping valve; 36, pressure limiting valve; 361, elastic member; 362, oil sealing gasket; 37, the first mounting seat; 38, The second mounting seat; 381, a limit block; 39, an air charging port; 4, a beam.
具体实施方式Detailed ways
为了更好地理解和实施,下面将结合本发明实施例中的附图,对本发明实施例中的技术方案进行清楚、完整地描述。For better understanding and implementation, the technical solutions in the embodiments of the present invention will be clearly and completely described below in conjunction with the drawings in the embodiments of the present invention.
在本发明的描述中,需要说明的是,术语“上”、“下”、“前”、“后”、“左”、“右”、“竖直”、“水平”、“顶”、“底”“内”、“外”等指示的方位或位置关系为基于附图所示的方位或位置关系,仅是为了便于描述本发明和简化描述,而不是指示或暗示所指的装置或元件必须具有特定的方位、以特定的方位构造和操作,因此不能理解为对本发明的限制。In the description of the present invention, it should be noted that the terms "upper", "lower", "front", "rear", "left", "right", "vertical", "horizontal", "top", The orientation or positional relationship indicated by "bottom", "inner", "outer", etc. is based on the orientation or positional relationship shown in the drawings, and is only for the convenience of describing the present invention and simplifying the description, rather than indicating or implying the referred device or positional relationship. Elements must have certain orientations, be constructed and operate in certain orientations, and therefore should not be construed as limitations on the invention.
除非另有定义,本文所使用的所有的技术和科学术语与属于本发明的技术领域的技术人员通常理解的含义相同。本文中在本发明的说明书中所使用的术语只是为了描述具体的实施例的目的,不是旨在限制本发明。Unless otherwise defined, all technical and scientific terms used herein have the same meaning as commonly understood by one of ordinary skill in the technical field of the invention. The terms used herein in the description of the present invention are for the purpose of describing specific embodiments only, and are not intended to limit the present invention.
参阅图1,本发明公开了一种阻尼减震一体化的独轮车,包括:电机轮1、车架2和单筒阻尼减震器3。其中,车架2相对电机轮1上下活动连接,车架2的两侧分别设置有脚踏板21;单筒阻尼减震器3连接于电机轮1和车架2之间,为车架2的上下活动提供减震和阻尼。Referring to FIG. 1 , the present invention discloses a unicycle with integrated damping and shock absorption, including: a motor wheel 1 , a
结合图2和图3,重要的,单筒阻尼减震器3包括缸筒31、活塞杆32、油活塞33以及浮游塞34,油活塞33和浮游塞34依次滑动设置于缸筒31的内部,以将缸筒31内部的空腔依次分隔为第一油腔311、第二油腔312和气腔313,活塞杆32由缸筒31的一端穿入第一油腔311并与油活塞33相连接,活塞杆32和/或油活塞33上设置有用于导通第一油腔311和第二油腔312的阻尼阀35。Referring to Fig. 2 and Fig. 3, it is important that the monotube
以图3所示的方向为参考,在上述的单筒阻尼减震器3中,气体封存于气腔313,液体(液压油)封存于第一油腔311和第二油腔312,并具体通过阻尼阀35在第一油腔311和第二油腔312之间流动,由于活塞杆32位于第一油腔311以占用一定的空间,这将导致第一油腔311的容油横截面小于第二油腔312的容油横截面。在不骑行的情况下,气腔313内的气压作用于浮游塞34,浮游塞34向上滑动以压缩液体,由于浮游塞34的压缩作用以及两油腔311、312的容油横截面的差异,第一油腔311内的液体将通过阻尼阀35向第二油腔312流动,从而通过油活塞33将活塞杆32向上顶出,直至第一油腔311的油压、第二油腔312的油压和气腔313的气压三者达到平衡,或者,第一油腔311内无液体,第二油腔312的油压和气腔313的气压二者达到平衡;在骑行的情况下,骑行者的重力或者震动力通过车架2作用于单筒阻尼减震器3,活塞杆32带动油活塞33向下滑动,第二油腔312的油压大于气腔313的气压,第二油腔312的油压作用于浮游塞34,浮游塞34向下滑动以压缩气体,同时由于油活塞33的向下滑动,将导致第一油腔311的容油空间变大,油压降低,第二油腔312内的液体将通过阻尼阀35向第一油腔311流动,直至第一油腔311的油压、第二油腔312的油压和气腔313的气压三者达到平衡。Taking the direction shown in Figure 3 as a reference, in the above-mentioned single cylinder damping shock absorber 3, the gas is sealed in the
需要说明的是,上述描述中的滑动方向,仅是为了便于理解活塞杆32、油活塞33和浮游塞34在与缸筒31的相对滑动过程中所做的方向描述,并不代表对滑动方向的限定。例如,在骑行路面不平独轮车受震时,实际是电机轮1向上或下移动的,即在实际表现时,可以是缸筒31在相对移动;又例如,还可将单筒阻尼减震器3反向安装。It should be noted that the sliding direction in the above description is only for the convenience of understanding the direction description of the
可以理解的是,不管活塞杆32相对缸筒31是伸出还是收缩,由于第一油腔311和第二油腔312的油压需要趋向平衡,通过阻尼阀35的作用,液体可以由第一油腔311向第二油腔312流动,也可由第二油腔312向第一油腔311流动,因此,阻尼阀35在该单筒阻尼减震器3中所起到的是双向阻尼功能。It can be understood that no matter whether the
如此,通过上述方案,通过浮游塞34将油气分离,气体通过浮游塞34压缩液体顶出活塞杆32,形成弹性减震功能,同时,通过导通第一油腔311和第二油腔312的阻尼阀35的作用,形成双向阻尼功能,将阻尼功能和减震功能集成到单筒阻尼减震器3上,实现阻尼减震一体化,其结构简单,整体占用空间小。In this way, through the above scheme, the oil and gas are separated through the floating
参阅图1和图2,在本实施例中,单筒阻尼减震器3具有两个,两单筒阻尼减震器3竖直布置且分别位于电机轮1的两侧,单筒阻尼减震器3的一端固接于电机轮1的轮轴,单筒阻尼减震器3的另一端固接于车架2,在本实施例中,直接以单筒阻尼减震器3作为支撑构件,起到双边减震和承托的作用,减少零部件数量。Referring to Fig. 1 and Fig. 2, in this embodiment, there are two monotube damping
具体的,缸筒31的上端固定连接有第一安装座37,两第一安装座37通过一横梁4固定连接,缸筒31的下端固定连接有第二安装座38,第二安装座38与电机轮1的轮轴相固定连接,活塞杆32的下端穿过第一安装座37并伸入缸筒31内,活塞杆32的上端与车架2固定连接。Specifically, the upper end of the
具体的,为了满足人体负载,并确保减震行程、阻尼行程在较佳的范围内,活塞杆32的半径R1在10mm至15mm之间,且缸筒31的内半径R2与活塞杆32的半径R1之间的关系为:1.1≤R2/R1≤2。优选的,活塞杆32的半径R1为12.5mm,缸筒31的内半径R2为15mm。Specifically, in order to meet the human body load and ensure that the shock absorbing stroke and damping stroke are within a preferred range, the radius R1 of the
为了便于脚踏板21的安装,车架2的两侧分别设置有一导柱22,脚踏板21连接于导柱22的下端,且导柱22与第一安装座37以及第二安装座38滑动连接,借用第一安装座37和第二安装座38对导柱22的承载作用,避免导柱22向内变形。In order to facilitate the installation of the pedal 21, a
同时,为了避免导柱22向外变形,第二安装座38上还可设置有限位结构,该限位结构用于限定导柱22的向外弯折。具体为,导柱22上设置有沿其滑动方向延伸的限位槽221,第二安装座38上螺接有限位块381,限位块381沿限位槽221相对滑动,并将导柱22夹持在限位块381和第二安装座38之间。At the same time, in order to prevent the guide post 22 from being deformed outward, a limiting structure may also be provided on the
当然,在其他较佳实施例中,单筒阻尼减震器3还可间接的连接于电机轮1和车架2之间。如借用减震连杆结构;或者在电机轮1上设置固定架,单筒阻尼减震器3连接于固定架和车架2之间。单筒阻尼减震器3的数量还可根据需要产生变化,如设置一个、三个等数量的单筒阻尼减震器3。Of course, in other preferred embodiments, the monotube damping
参阅图2和图3,在本实施例中,为了便于调节单筒阻尼减震器3的弹性大小,优选的,缸筒31的另一端设置有导通气腔313的充气口39,通过充气口39,可以充放气腔313内的气体,从而实现弹性大小的调节,以适应不同体重的骑行者以及各类骑行环境。具体的,充气口39设置于第二安装座38上,并朝向外侧开口,以便于充放气操作。Referring to Fig. 2 and Fig. 3, in this embodiment, in order to facilitate the adjustment of the elasticity of the monotube damping
参阅图3和图4,特别的,活塞杆32和/或油活塞33上还设置有限压阀36。如此,当第一油腔311和第二油腔312的压差过大时,限压阀36打开,加快液体在第一油腔311和第二油腔312之间的流动速率,避免压差过大而造成安全隐患,以及实现第一油腔311的油压和第二油腔312的油压的快速平衡。Referring to FIG. 3 and FIG. 4 , in particular, a
具体的,油活塞33包括具有安装腔331的主体部332,安装腔331朝向活塞杆32开口,安装腔331底部设置有凸起333,活塞杆32的一端连接于主体部332并部分位于安装腔331内,活塞杆32的端部可与凸起333相抵,也可保持有间隙,活塞杆32上设置有导油槽321,该导油槽321至少能够导通第一油腔311,也可以导通安装腔331。Specifically, the
在本实施例中,参阅图4,阻尼阀35包括设置于凸起333的阻尼油孔334,阻尼油孔334贯穿至第二油腔312,并与导油槽321相导通,如此,液体可由第二油腔312依次通过阻尼油孔334和导油槽321以流至第一油腔311,或者液体可由第一油腔311依次通过导油槽321和阻尼油孔334以流至第二油腔312,以具体实现阻尼功能,且无需额外加装零部件。优选的,阻尼油孔334的孔径在0.5mm至1.5mm之间,以更好的控制液体的流速,达到更理想的阻尼效果。In this embodiment, referring to FIG. 4 , the damping
当然,在其他较佳的实施例中,阻尼油孔334还可设置于活塞杆32上,此时,阻尼油孔334导通第一油腔311,并在油活塞33上设置导通阻尼油孔334和第二油腔312的槽或者孔均可;又或者,活塞杆32穿过油活塞33,阻尼油孔334设置于活塞杆32上并能直接导通第一油腔311和第二油腔312;又或者,阻尼油孔334设置于油活塞33上并能直接导通第一油腔311和第二油腔312。Of course, in other preferred embodiments, the damping
特别的,结合图5,导油槽321包括设置于活塞杆32端面的横槽3211和设置于活塞杆32周向侧面的竖槽3212,横槽3211与竖槽3212相导通,且横槽3211朝向主体部332的安装腔331开口并与阻尼油孔334相导通,竖槽3212与第一油腔311相导通。In particular, referring to FIG. 5 , the
在本实施例中,参阅图4,限压阀36包括弹性件361、封油垫片362和设置于安装腔331底部的限压油孔335,限压油孔335贯穿至第二油腔312且与导油槽321相导通,封油垫片362在弹性件361的弹力作用下抵接于安装腔331的底部并封堵限压油孔335。如此,当第一油腔311和第二油腔312的压差过大时,将克服弹性件361的弹力并顶开封油垫片362,实现泄压。In this embodiment, referring to FIG. 4 , the
需要说明的是,封油垫片362位于限压油孔335远离第二油腔312的一侧,即该限压阀36起到的是单向泄压作用,单向泄压时,第二油腔312的液体通过限压阀36流入第一油腔311。如此设置的意义在于,在骑行者开始骑上独轮车时,由于人体重力作用,活塞杆32带动油活塞33快速下滑,并通过浮游塞34压缩气体,此时的第二油腔312的油压与第一油腔311的油压相关较大,液体能够顶开封油垫片362,实现液体由第二油腔312向第一油腔311的快速流动,使得第一油腔311的油压、第二油腔312的油压和气腔313的气压三者快速达到平衡,快速地达到安稳骑行的状态。It should be noted that the
具体的,限压油孔335设置有多个且绕凸起333的周边布置,弹性件361的一端抵接于活塞杆32的端部,弹性件361的另一端抵接于封油垫片362,以此方便弹性件361和封油垫片362的组装。特别的,弹性件361为弹簧,该弹簧的内直径大于凸起333的外周直径,以便于弹性件361能够相对地套在凸起333的外周;封油垫片362为环状,封油垫片362的内直径大于凸起333的外周直径,封油垫片362的外直径小于安装腔331的内直径。Specifically, a plurality of pressure limiting
优选的,活塞杆32的一端可活动地螺接于主体部332,如此,能够通过调节活塞杆32与主体部332的螺接长度以压缩弹性件361,从而调节弹性件361的弹性力。Preferably, one end of the
本发明方案所公开的技术手段不仅限于上述实施方式所公开的技术手段,还包括由以上技术特征任意组合所组成的技术方案。应当指出,对于本技术领域的普通技术人员来说,在不脱离本发明原理的前提下,还可以做出若干改进和润饰,这些改进和润饰也视为本发明的保护范围。The technical means disclosed in the solutions of the present invention are not limited to the technical means disclosed in the above embodiments, but also include technical solutions composed of any combination of the above technical features. It should be pointed out that for those skilled in the art, some improvements and modifications can be made without departing from the principle of the present invention, and these improvements and modifications are also regarded as the protection scope of the present invention.
| Application Number | Priority Date | Filing Date | Title |
|---|---|---|---|
| CN202211109538.7ACN115320767A (en) | 2022-09-13 | 2022-09-13 | Damping and shock-absorbing integrated wheelbarrow |
| Application Number | Priority Date | Filing Date | Title |
|---|---|---|---|
| CN202211109538.7ACN115320767A (en) | 2022-09-13 | 2022-09-13 | Damping and shock-absorbing integrated wheelbarrow |
| Publication Number | Publication Date |
|---|---|
| CN115320767Atrue CN115320767A (en) | 2022-11-11 |
| Application Number | Title | Priority Date | Filing Date |
|---|---|---|---|
| CN202211109538.7APendingCN115320767A (en) | 2022-09-13 | 2022-09-13 | Damping and shock-absorbing integrated wheelbarrow |
| Country | Link |
|---|---|
| CN (1) | CN115320767A (en) |
| Publication number | Priority date | Publication date | Assignee | Title |
|---|---|---|---|---|
| CN116513354A (en)* | 2023-06-02 | 2023-08-01 | 东莞市比高德智能科技有限公司 | A shock absorber and a unicycle |
| CN117208124A (en)* | 2023-08-31 | 2023-12-12 | 东莞市比高德智能科技有限公司 | wheelbarrow |
| Publication number | Priority date | Publication date | Assignee | Title |
|---|---|---|---|---|
| US6296092B1 (en)* | 1998-10-28 | 2001-10-02 | Fox Factory, Inc. | Position-sensitive shock absorber |
| US20040020730A1 (en)* | 2002-05-29 | 2004-02-05 | Progressive Suspension, Inc., | Hydraulic dampers with pressure regulated control valve |
| CN208530769U (en)* | 2018-05-10 | 2019-02-22 | 王洪刚 | Electric single-wheel balance car with damper |
| CN210510083U (en)* | 2019-09-23 | 2020-05-12 | 浙江稳达减振器有限公司 | Single-cylinder large-cylinder-diameter truck shock absorber |
| CN111911473A (en)* | 2020-06-30 | 2020-11-10 | 苏州远上精密机械有限公司 | Screw pressure regulating overflow valve |
| CN218229279U (en)* | 2022-09-13 | 2023-01-06 | 东莞市比高德智能科技有限公司 | Damping and shock-absorbing integrated wheelbarrow |
| Publication number | Priority date | Publication date | Assignee | Title |
|---|---|---|---|---|
| US6296092B1 (en)* | 1998-10-28 | 2001-10-02 | Fox Factory, Inc. | Position-sensitive shock absorber |
| US20040020730A1 (en)* | 2002-05-29 | 2004-02-05 | Progressive Suspension, Inc., | Hydraulic dampers with pressure regulated control valve |
| CN208530769U (en)* | 2018-05-10 | 2019-02-22 | 王洪刚 | Electric single-wheel balance car with damper |
| CN210510083U (en)* | 2019-09-23 | 2020-05-12 | 浙江稳达减振器有限公司 | Single-cylinder large-cylinder-diameter truck shock absorber |
| CN111911473A (en)* | 2020-06-30 | 2020-11-10 | 苏州远上精密机械有限公司 | Screw pressure regulating overflow valve |
| CN218229279U (en)* | 2022-09-13 | 2023-01-06 | 东莞市比高德智能科技有限公司 | Damping and shock-absorbing integrated wheelbarrow |
| Publication number | Priority date | Publication date | Assignee | Title |
|---|---|---|---|---|
| CN116513354A (en)* | 2023-06-02 | 2023-08-01 | 东莞市比高德智能科技有限公司 | A shock absorber and a unicycle |
| CN117208124A (en)* | 2023-08-31 | 2023-12-12 | 东莞市比高德智能科技有限公司 | wheelbarrow |
| Publication | Publication Date | Title |
|---|---|---|
| US10337584B2 (en) | Bicycle fork having lock-out, blow-off, and adjustable blow-off threshold | |
| US20190093731A1 (en) | Bicycle with suspension | |
| US4159105A (en) | Shock absorber with adjustable spring load | |
| CN115320767A (en) | Damping and shock-absorbing integrated wheelbarrow | |
| US20080272570A1 (en) | Gas Spring Suspension System | |
| CN112406443B (en) | a shock absorber | |
| CN102720795A (en) | Hydro-pneumatic spring for amphibious vehicles and hydraulic regulating device for hydro-pneumatic spring for amphibious vehicle | |
| JP2000027921A (en) | Front fork | |
| CN209164461U (en) | A kind of nitrogen gas spring damper | |
| US20150152939A1 (en) | Suspension device | |
| CN101424308B (en) | Hydraulic shock absorber | |
| CN218229279U (en) | Damping and shock-absorbing integrated wheelbarrow | |
| CN2808716Y (en) | Inversion type front damping device for motorcycle | |
| CN111457053A (en) | Shock absorbers, shock absorption systems and vehicles | |
| CN211648891U (en) | Novel motorcycle shock-absorbing structure | |
| CN220523170U (en) | Tricycle shock absorber mechanism | |
| JP2012211651A (en) | Front fork | |
| KR101875424B1 (en) | Seat post for bicycles | |
| CN220743227U (en) | Wheelbarrow with parking support | |
| CN221163159U (en) | Oil pressure shock-absorbing front fork | |
| CN216478625U (en) | Shock absorber with dustproof structure | |
| CN210565964U (en) | Electronic regulation formula bumper shock absorber | |
| CN220828468U (en) | Damping shock absorber and wheelbarrow | |
| CN217582995U (en) | Hydraulic shock absorber for children bicycle | |
| CN204025497U (en) | Shock absorber |
| Date | Code | Title | Description |
|---|---|---|---|
| PB01 | Publication | ||
| PB01 | Publication | ||
| SE01 | Entry into force of request for substantive examination | ||
| SE01 | Entry into force of request for substantive examination |