


技术领域technical field
本发明涉及计算机应用技术,尤其涉及了一种动态扩展任务的调度系统和方法。The invention relates to computer application technology, in particular to a scheduling system and method for dynamically expanding tasks.
背景技术Background technique
任务调度是指对不同类型的任务分配至不同的资源下进行执行,调度系统就是负责所有类型的任务进行统一调度、执行,由于调度与执行紧耦合,因此如果增加一种任务类型,调度系统需要进行中断进行迭代升级,会影响其他任务,无法做到动态扩展。Task scheduling refers to assigning different types of tasks to different resources for execution. The scheduling system is responsible for the unified scheduling and execution of all types of tasks. Since scheduling and execution are tightly coupled, if a task type is added, the scheduling system needs Interruption for iterative upgrade will affect other tasks, and dynamic expansion cannot be achieved.
调度系统最核心的是调度规则,该规则目前业界使用的都是调度系统自身定义的一些规则,无法针对某个任务类型进行个性化。The core of the scheduling system is the scheduling rules. Currently, the industry uses some rules defined by the scheduling system itself, which cannot be personalized for a certain task type.
一家企业或单位或多或少都有各种线上任务需要执行,比如:视频转码任务、人脸识别任务、核酸查询任务等,目前没有好的方案可以将这些任务汇聚到一个平台上进行调度执行。An enterprise or unit has more or less various online tasks that need to be performed, such as: video transcoding tasks, face recognition tasks, nucleic acid query tasks, etc. At present, there is no good solution to gather these tasks on one platform. Schedule execution.
如现有技术CN202011623543.0,本公司申请的任务调度,其不能很好地进行动态扩展任务,也就不能很好地满足不想要其他任务调度与执行的情况下新增或剔除某类任务。For example, in the prior art CN202011623543.0, the task scheduling applied by our company cannot perform dynamic expansion of tasks well, and it cannot well satisfy the need to add or delete certain types of tasks when other task scheduling and execution is not desired.
发明内容Contents of the invention
本发明针对现有技术中任务调度系统不能很好地进行动态扩展任务,不能很好地满足不想要其他任务调度与执行的情况下新增或剔除某类任务的问题,提供了一种动态扩展任务的调度系统。The present invention aims at the problem that the task scheduling system in the prior art cannot dynamically expand tasks well, and cannot well satisfy the problem of adding or deleting certain types of tasks when other tasks are not wanted to be scheduled and executed, and provides a dynamic expansion Task scheduling system.
为了解决上述技术问题,本发明通过下述技术方案得以解决:In order to solve the above technical problems, the present invention is solved through the following technical solutions:
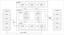
一种动态扩展任务的调度系统,用于视频任务的调度中,其包括任务中心模块、任务插件模块、任务客户端模块和预配置模块;A scheduling system for dynamically expanding tasks, used in scheduling video tasks, including a task center module, a task plug-in module, a task client module and a preconfiguration module;
预配置模块用于对预下发的任务进行设置;The pre-configuration module is used to set the pre-delivered tasks;
任务插件模块用于实现任务中心模块标准接口的定义,并加载至任务中心模块;The task plug-in module is used to realize the definition of the standard interface of the task center module and load it into the task center module;
任务客户端用于生成任务信息再交由任务中心模块进行调度与执行;且任务客户端模块与任务插件模块一一对应The task client is used to generate task information and then hand it over to the task center module for scheduling and execution; and the task client module corresponds to the task plug-in module one by one
任务中心模块用于调度系统的流转,与任务客户端模块对接,并与任务插件模块交互。The task center module is used to schedule the flow of the system, connect with the task client module, and interact with the task plug-in module.
通过设计的动态扩展任务的调度系统,可以汇聚不同类型的任务,且可以在不影响其他任务调度与执行的情况下,新增或剔除某类任务,同时支持每类任务自定义调度规则。Through the designed scheduling system for dynamically expanding tasks, different types of tasks can be aggregated, and certain types of tasks can be added or removed without affecting the scheduling and execution of other tasks. At the same time, it supports custom scheduling rules for each type of task.
作为优选:任务中心模块包括抽象模块和匹配模块;抽象模块用于标准接口的定义,并通过任务插件模块实现;标准接口的定义包括调度规则定义、调度规则匹配、任务执行和功能性定义;Preferably: the task center module includes an abstract module and a matching module; the abstract module is used for the definition of the standard interface, and is realized through the task plug-in module; the definition of the standard interface includes the definition of scheduling rules, matching of scheduling rules, task execution and functional definition;
匹配模块用于调度任务的筛选,并定位可执行任务的资源信息;匹配模块包括路由匹配、集群匹配和资源匹配。The matching module is used to filter scheduling tasks and locate the resource information of executable tasks; the matching module includes routing matching, cluster matching and resource matching.
作为优选:预配置模块包括路由配置模块、集群配置模块和资源配置模块。Preferably: the pre-configuration module includes a routing configuration module, a cluster configuration module and a resource configuration module.
作为优选:路由配置包含任务类型设置、路由规则设置、路由值设置;任务类型设置用于设置任务类型,任务类型从任务插件模块获取;路由规则设置包括公共规则设置和调度规则设置;公共规则设置通过任务中心模块定义;调度规则设置通过任务插件模块获取;As a preference: routing configuration includes task type settings, routing rule settings, and routing value settings; task type settings are used to set task types, and task types are obtained from task plug-in modules; routing rule settings include public rule settings and scheduling rule settings; public rule settings Defined through the task center module; scheduling rule settings are obtained through the task plug-in module;
路由值设置为路由规则对应的路由值。The route value is set to the route value corresponding to the route rule.
作为优选:集群配置模块包括所属路由设置、功能特性设置和任务上限设置;所属路由设置为所属路由关联的路由信息设置;功能特性设置用于对任务插件模块获取自定义的功能特性的设置;任务上限设置用于限制集群下的每个资源运行的任务数量。As a preference: the cluster configuration module includes the routing settings, functional characteristic settings and task upper limit settings; the subordinate routing settings are the routing information settings associated with the routing; the functional characteristic settings are used to obtain custom functional characteristic settings for the task plug-in module; the task The upper limit setting is used to limit the number of tasks run by each resource under the cluster.
作为优选:路由匹配用于任务中心模块对接任务客户端模块;集群匹配用于筛选符合条件的路由下的符合条件的集群;资源匹配用于下发任务前的处理。As a preference: route matching is used for connecting the task center module to the task client module; cluster matching is used to filter qualified clusters under qualified routes; resource matching is used for processing before sending tasks.
为了解决上述技术问题,本发明还提供了一种动态扩展任务的调度方法,用于视频任务的调度中,其方法;In order to solve the above technical problems, the present invention also provides a scheduling method for dynamically expanding tasks, which is used in scheduling video tasks, the method;
任务调度信息的设置,通过预配置模块进行任务调度的信息进行配置,任务调度的信息包括任务调度的资源和任务调度的规则;The setting of task scheduling information is configured through the task scheduling information of the pre-configuration module. The task scheduling information includes task scheduling resources and task scheduling rules;
任务的组装,通过任务客户端模块进行任务调度信息的装置,同时可动态扩展任务;The assembly of tasks, the installation of task scheduling information through the task client module, and the dynamic expansion of tasks;
任务的流转,通过任务中心模块对于任务调度的流转;The flow of tasks is the flow of task scheduling through the task center module;
任务的操作,通过任务插件模块进行任务操作,并提供任务操作信息至任务中心模块;任务的操作信息包括特有的任务调度规则、任务功能特性的定义和可动态扩展的任务;任务的操作包括任务的启动、任务的停止和任务的删除。The operation of the task is performed through the task plug-in module, and the task operation information is provided to the task center module; the operation information of the task includes the unique task scheduling rules, the definition of task function characteristics and the dynamically expandable task; the operation of the task includes the task start, stop and delete tasks.
为了解决上述技术问题,本发明还提供了一种存储介质,其包括一种动态扩展任务的调度系统实现的存储介质。In order to solve the above technical problem, the present invention also provides a storage medium, which includes a storage medium realized by a scheduling system for dynamically expanding tasks.
为了解决上述技术问题,本发明还提供了一种电子设备,其包括一种动态扩展任务的调度系统实现的电子设备。In order to solve the above technical problem, the present invention also provides an electronic device, which includes an electronic device realized by a scheduling system for dynamically expanding tasks.
本发明由于采用了以上技术方案,具有显著的技术效果:The present invention has remarkable technical effect owing to adopted above technical scheme:
本发明通过设计的动态扩展任务的调度系统,可以汇聚不同类型的任务,且可以在不影响其他任务调度与执行的情况下,新增或剔除某类任务,同时支持每类任务自定义调度规则。The present invention can aggregate different types of tasks by designing a dynamically extended task scheduling system, and can add or delete certain types of tasks without affecting the scheduling and execution of other tasks, and at the same time support custom scheduling rules for each type of task .
附图说明Description of drawings
图1是本发明的系统示意图;Fig. 1 is a schematic diagram of the system of the present invention;
图2是本发明的实施例1系统示意图;Fig. 2 is a schematic diagram of the system of Embodiment 1 of the present invention;
图3是本发明的流程图。Fig. 3 is a flow chart of the present invention.
具体实施方式Detailed ways
下面结合附图与实施例对本发明作进一步详细描述。The present invention will be further described in detail below in conjunction with the accompanying drawings and embodiments.
实施例1Example 1
一种动态扩展任务的调度系统,用于视频任务的调度中,其包括任务中心模块、任务插件模块、任务客户端模块和预配置模块;A scheduling system for dynamically expanding tasks, used in scheduling video tasks, including a task center module, a task plug-in module, a task client module and a preconfiguration module;
预配置模块用于对预下发的任务进行设置;The pre-configuration module is used to set the pre-delivered tasks;
任务插件模块用于实现任务中心模块标准接口的定义,并加载至任务中心模块;The task plug-in module is used to realize the definition of the standard interface of the task center module and load it into the task center module;
任务客户端用于生成任务信息再交由任务中心模块进行调度与执行;且任务客户端模块与任务插件模块一一对应The task client is used to generate task information and then hand it over to the task center module for scheduling and execution; and the task client module corresponds to the task plug-in module one by one
任务中心模块用于调度系统的流转,与任务客户端模块对接,并与任务插件模块交互。The task center module is used to schedule the flow of the system, connect with the task client module, and interact with the task plug-in module.
通过设计的动态扩展任务的调度系统,可以汇聚不同类型的任务,且可以在不影响其他任务调度与执行的情况下,新增或剔除某类任务,同时支持每类任务自定义调度规则。Through the designed scheduling system for dynamically expanding tasks, different types of tasks can be aggregated, and certain types of tasks can be added or removed without affecting the scheduling and execution of other tasks. At the same time, it supports custom scheduling rules for each type of task.
任务中心模块负责整个调度系统的流转,一方面与任务客户端模块对接,另一方面与任务插件模块交互,是调度平台的主要模块。任务中心模块包含抽象模块及匹配模块。The task center module is responsible for the circulation of the entire scheduling system. On the one hand, it is connected to the task client module, and on the other hand, it interacts with the task plug-in module. It is the main module of the scheduling platform. The task center module includes an abstract module and a matching module.
抽象模块包括调度规则定义、功能特性定义、调度规则匹配、任务执行。The abstract module includes scheduling rule definition, function characteristic definition, scheduling rule matching, and task execution.
调度规则定义,通过引用预设置模块的任务信息,并设置插件特有的调度规则;是任务筛选过滤的条件,比如视频转码任务插件需要提供按分辨率、按视频码率来进行筛选,插件模块应实现该接口,并且响应支持的调度规则信息集合,当预设置模块进行路由配置时,任务中心模块会查找任务插件该接口的实现,获取到提供的调度规则供预设置模块配置;java版伪代码示例:Scheduling rule definition, by referring to the task information of the preset module, and setting the unique scheduling rules of the plug-in; it is the condition for task filtering and filtering, such as the video transcoding task plug-in needs to provide filtering by resolution and video bit rate, plug-in module This interface should be implemented, and the information set of supported scheduling rules should be responded to. When the preset module performs routing configuration, the task center module will search for the implementation of this interface of the task plug-in, and obtain the provided scheduling rules for configuration of the preset module; the java version is fake Code example:
public interface调度规则定义接口{public interface scheduling rule definition interface {
List<调度规则>buildDispatchRules();List<dispatch rules> buildDispatchRules();
}}
功能特性定义是由预设置模块引用,用于说明任务插件支持的范围,比如视频转码任务插件支持不同的转码厂商,那么插件模块应实现该接口,并且响应支持的厂商信息集合,当预设置模块进行集群配置时,任务中心模块会查找任务插件该接口的实现,获取到提供的功能特性供预设置模块配置;java版伪代码示例:The feature definition is referenced by the preset module and is used to describe the scope supported by the task plug-in. For example, the video transcoding task plug-in supports different transcoding vendors, then the plug-in module should implement this interface and respond to the supported vendor information set. When the preset When setting the module for cluster configuration, the task center module will search for the implementation of the interface of the task plug-in, and obtain the provided functions and characteristics for the configuration of the preset module; java version pseudo code example:
public interface功能特性定义接口{public interface feature definition interface {
List<功能特性>buildSupportedFeatures();List<features>buildSupportedFeatures();
}}
调度规则匹配是由任务中心模块的匹配模块引用,用于路由匹配筛选,任务插件如果提供了特有的调度规则,那么也同样必须实现调度规则匹配接口,匹配模块引用时会将任务客户端模块的任务信息及预设置模块的路由配置作为参数传入,任务插件实现该接口时会拿到此参数,只需响应一个布尔值,代表是否匹配,比如视频转码任务插件如果提供了两个特有调度规则:按分辨率、按视频码率,那么任务插件实现调度规则匹配的接口时就需要解析任务内容,用于获取到具体的分辨率或视频码率,再根据传递的路由配置中配置的调度规则、调度规则值进行匹配;java版伪代码示例:Scheduling rule matching is referenced by the matching module of the task center module for route matching and filtering. If the task plug-in provides a unique scheduling rule, it must also implement the scheduling rule matching interface. When the matching module is referenced, the task client module's The task information and the route configuration of the preset module are passed in as parameters. When the task plugin implements this interface, it will get this parameter. It only needs to respond with a Boolean value indicating whether it matches. For example, if the video transcoding task plugin provides two unique schedulers Rules: According to the resolution and video bit rate, when the task plug-in implements the interface matching the scheduling rules, it needs to parse the task content to obtain the specific resolution or video bit rate, and then according to the scheduling configured in the passed routing configuration Rules and scheduling rule values are matched; java version pseudo code example:
public interface调度规则匹配接口{public interface scheduling rule matching interface {
booleanmatch(任务信息,路由配置);booleanmatch(task information, routing configuration);
}}
任务执行是由任务中心模块的匹配模块引用,用于执行具体的任务内容,任务执行包含了:启动、停止、删除等常规操作,所有的操作均需任务插件进行实现,匹配模块引用时会将任务客户端模块的任务信息及预设置模块的集群配置、资源配置作为参数传入,任务插件实现该接口时会拿到此参数,其中启动接口需返回实际执行的任务标识,会在停止和删除接口时作为参数传入,比如视频转码任务插件实现任务启动时,可以从资源配置中获取到服务地址,再转换任务内容,之所以需要转换是因为可能不同厂商的转码参数不同,需要从集群配置中获取到此任务需要的功能特性(此例中是指厂商),进行任务启动;java版伪代码示例:Task execution is referenced by the matching module of the task center module, and is used to execute specific task content. Task execution includes: start, stop, delete and other routine operations. All operations need to be implemented by task plug-ins. The task information of the task client module and the cluster configuration and resource configuration of the preset module are passed in as parameters. The task plug-in will get this parameter when it implements this interface. The startup interface needs to return the actual task ID, which will be stopped and deleted. The interface is passed in as a parameter. For example, when the video transcoding task plug-in implements task startup, the service address can be obtained from the resource configuration, and then the task content is converted. The conversion is required because the transcoding parameters of different manufacturers may be different. Get the features required for this task in the cluster configuration (in this case, the manufacturer), and start the task; java version pseudo code example:
public interface任务执行接口{public interface task execution interface {
String start(任务信息,集群配置信息、资源配置信息);String start (task information, cluster configuration information, resource configuration information);
boolean stop(任务信息,任务id,集群配置信息、资源配置信息);boolean stop(task information, task id, cluster configuration information, resource configuration information);
boolean delete(任务信息,任务id,集群配置信息、资源配置信息);boolean delete(task information, task id, cluster configuration information, resource configuration information);
}}
匹配模块是负责任务筛选,最终定位到可以执行该任务的资源信息,交由抽象模块中的任务执行,包含:路由匹配、集群匹配、资源匹配;The matching module is responsible for task screening, and finally locates the resource information that can perform the task, which is handed over to the tasks in the abstract module for execution, including: routing matching, cluster matching, and resource matching;
路由匹配用于任务中心模块直接对接任务客户端模块,当路由匹配接收到客户端参数时,会根据传递的任务类型从预设置模块中的路由配置筛选出该类型的所有路由,再对每个路由进行匹配,将路由信息、任务信息传递给抽象模块中的调度规则匹配,调度规则匹配会引用对应任务类型的插件实现,响应true代表此路由符合规则,无需再进行其他路由匹配,如果没有可匹配的路由,直接响应客户端异常即可,当拿到匹配后的路由时,再交由下一级集群匹配进行筛选,如果是停止任务或删除任务操作,则跳过这一步骤,因为任务已在运行,在任务中心模块中已有关联的路由、集群、资源信息;Route matching is used for the task center module to directly connect to the task client module. When the route matching receives the client parameters, it will filter out all the routes of this type from the routing configuration in the preset module according to the type of task passed, and then for each The route is matched, and the routing information and task information are passed to the dispatching rule matching in the abstract module. The dispatching rule matching will refer to the plug-in implementation of the corresponding task type. The response true means that the route conforms to the rules, and no other route matching is needed. The matching route can directly respond to the client’s exception. When the matched route is obtained, it will be handed over to the next level of cluster matching for screening. If it is to stop the task or delete the task, skip this step, because the task Already running, there are already associated routes, clusters, and resource information in the task center module;
集群匹配用于筛选符合条件的路由下的符合条件的集群,符合条件的标准为集群下有对应可用的资源,当接收到路由匹配传递的路由信息时,根据预设置模块中的集群配置,拿到关联的集群集合,再对每个集群下的资源信息进行查询,筛选出有空闲的资源信息,空闲的对比条件为:资源上运行的任务数量小于集群配置中的最大任务数量,拿到匹配后的集群信息和资源信息时,再交由下一级资源匹配进行处理,如果是停止任务或删除任务操作,则跳过这一步骤,因为任务已在运行,在任务中心模块中已有关联的路由、集群、资源信息;Cluster matching is used to filter qualified clusters under qualified routes. The qualified standard is that there are corresponding resources available under the cluster. When receiving the routing information transmitted by route matching, according to the cluster configuration in the preset module, take Go to the associated cluster set, and then query the resource information under each cluster to filter out the idle resource information. The idle comparison condition is: the number of tasks running on the resource is less than the maximum number of tasks in the cluster configuration, and the matching When the last cluster information and resource information are collected, it will be handed over to the next level of resource matching for processing. If the task is to stop or delete the task, skip this step because the task is already running and has been associated in the task center module. Routing, cluster, resource information;
资源匹配用于下发任务前的处理,当收到集群匹配传递的资源信息时,对当前资源信息进行重复校验任务数量是否符合要求,重复校验是为了防止在流转过程中该资源被使用,导致资源负载过高,如果资源已不符合要求,需要根据集群信息再重新获取一个空闲的资源信息,拿到符合条件的资源后,将资源信息、任务信息、集群信息传递给抽象模块中的任务执行,任务执行会引用对应任务类型的插件实现,如果是启动任务,需要将该资源信息中的运行任务数量加1,同时记录当前任务关联的信息至任务中心模块,如果是停止或删除任务,需要将该资源信息中的运行任务数量减1。Resource matching is used for processing before sending tasks. When receiving the resource information transmitted by cluster matching, the current resource information is repeatedly checked to see if the number of tasks meets the requirements. The repeated check is to prevent the resource from being used during the transfer process. , causing the resource load to be too high. If the resource does not meet the requirements, it is necessary to obtain an idle resource information again according to the cluster information. After obtaining the qualified resource, pass the resource information, task information, and cluster information to the abstract module. Task execution, the task execution will refer to the plug-in implementation of the corresponding task type. If it is to start the task, it needs to add 1 to the number of running tasks in the resource information, and record the information associated with the current task to the task center module. If it is to stop or delete the task , you need to subtract 1 from the number of running tasks in the resource information.
路由配置主要包含任务类型设置、路由规则设置、路由值设置。Routing configuration mainly includes task type settings, routing rule settings, and routing value settings.
任务类型从任务插件模块获取;The task type is obtained from the task plugin module;
路由规则由两类组成,一类是任务中心模块定义的公共规则,比如:按名称、按标题;另外一类是从任务插件模块获取自定义的调度规则,自定义调度规则需按照任务中心模块>抽象模块>调度规则定义的标准进行实现,比如视频转码任务可以定义按照不同分辨率进行调度,那么视频转码任务插件应提供的调度规则为:按分辨率;Routing rules are composed of two types, one is the public rules defined by the task center module, such as: by name, by title; the other is to obtain custom scheduling rules from the task plug-in module, and the custom scheduling rules need to follow the task center module >Abstract Module>Scheduling rules are implemented according to the standards defined. For example, video transcoding tasks can be defined to be scheduled according to different resolutions, so the scheduling rules that the video transcoding task plug-in should provide are: by resolution;
路由值是指路由规则对应的值,比如路由规则是按名称,那么路由值应该是名称具体的值,如果任务的名称符合该值,即完成路由匹配。The routing value refers to the value corresponding to the routing rule. For example, if the routing rule is by name, then the routing value should be the specific value of the name. If the name of the task matches this value, the routing matching is completed.
集群配置主要包含所属路由设置、功能特性设置、任务上限设置。The cluster configuration mainly includes the routing settings, functional feature settings, and task upper limit settings.
所属路由即关联的路由信息;The route to which it belongs is the associated routing information;
功能特性是为了实现任务更灵活流转提供的设置,需要从任务插件模块获取自定义的功能特性,自定义功能特性需按照任务中心模块>抽象模块>功能特性定义的标准进行实现,比如视频转码任务中,同一个分辨率下的任务,想要在不同厂商生产的设备上执行,那么需要视频转码任务插件应提供的功能特性为:厂商1、厂商2,如果有不同的功能特性,对应的任务插件在其内部应实现每个功能特性下的任务执行逻辑;Functional features are the settings provided to achieve more flexible flow of tasks. You need to obtain custom functional features from the task plug-in module. Custom functional features must be implemented in accordance with the standards defined in Task Center Module > Abstract Module > Functional Features, such as video transcoding In the task, if the task under the same resolution is to be executed on devices produced by different manufacturers, then the functions and characteristics that the video transcoding task plug-in should provide are: Vendor 1 and Vendor 2. If there are different functions and characteristics, the corresponding The task plug-in should implement the task execution logic under each feature;
任务上限用于限制集群下的每个资源运行的任务数量,防止单个资源负载较高。The upper limit of tasks is used to limit the number of tasks that each resource in the cluster can run to prevent a single resource from having a high load.
资源配置主要是可以执行任务的机器信息,此处不限制为机器,也可以是一个服务地址,主要包含:所属集群、资源地址(ip或服务名称)、端口,在任务中心模块>匹配模块>资源匹配中会将配置的资源信息传递给任务插件,由插件进行任务下发,资源配置中还需要有任务运行数量,此数量由任务中心模块中>匹配模块>资源匹配进行维护。The resource configuration is mainly the machine information that can execute the task. It is not limited to the machine here, and it can also be a service address, which mainly includes: the cluster to which it belongs, the resource address (ip or service name), port, and in the task center module > matching module > In resource matching, the configured resource information will be passed to the task plug-in, and the task will be delivered by the plug-in. The resource configuration also needs to have the number of task running, which is maintained by the task center module > matching module > resource matching.
任务客户端模块是与任务插件模块一一对应,即新增一种任务插件,那么就会多一种任务客户端,主要用于生成任务信息再交由任务中心模块进行调度与执行,任务信息需包含:任务类型、任务内容。The task client module is in one-to-one correspondence with the task plug-in module, that is, if a new task plug-in is added, then there will be an additional task client, which is mainly used to generate task information and then hand it over to the task center module for scheduling and execution. Need to include: task type, task content.
任务类型需要与任务插件对应,比如视频转码任务插件取名为transcode,那么任务客户端中的任务类型也必须是transcode;The task type needs to correspond to the task plug-in. For example, if the video transcoding task plug-in is named transcode, then the task type in the task client must also be transcode;
任务内容是指具体需要执行的内容,以视频转码任务为例,任务内容需要有输入源、转码参数、输出地址等,任务内容不作限制,不同任务插件对应的任务内容也不同,全由对应插件来解析,任务中心模块在匹配到具体资源后将任务信息转发至任务插件即可。The task content refers to the specific content that needs to be executed. Taking the video transcoding task as an example, the task content needs to include input source, transcoding parameters, output address, etc. The task content is not limited, and the task content corresponding to different task plug-ins is also different. Corresponding to the plug-in to analyze, the task center module forwards the task information to the task plug-in after matching specific resources.
实施例2Example 2
在实施例1基础上,本实施例为一种动态扩展任务的调度方法,用于视频任务的调度中,其方法;On the basis of Embodiment 1, this embodiment is a scheduling method for dynamically expanding tasks, which is used in scheduling video tasks, the method;
任务调度信息的设置,通过预配置模块进行任务调度的信息进行配置,任务调度的信息包括任务调度的资源和任务调度的规则;The setting of task scheduling information is configured through the task scheduling information of the pre-configuration module. The task scheduling information includes task scheduling resources and task scheduling rules;
任务的组装,通过任务客户端模块进行任务调度信息的装置,同时可动态扩展任务;The assembly of tasks, the installation of task scheduling information through the task client module, and the dynamic expansion of tasks;
任务的流转,通过任务中心模块对于任务调度的流转;The flow of tasks is the flow of task scheduling through the task center module;
任务的操作,通过任务插件模块进行任务操作,并提供任务操作信息至任务中心模块;任务的操作信息包括特有的任务调度规则、任务功能特性的定义和可动态扩展的任务;任务的操作包括任务的启动、任务的停止和任务的删除。The operation of the task is performed through the task plug-in module, and the task operation information is provided to the task center module; the operation information of the task includes the unique task scheduling rules, the definition of task function characteristics and the dynamically expandable task; the operation of the task includes the task start, stop and delete tasks.
实施例3Example 3
在实施例1基础上,本实施例为一种存储介质。On the basis of Embodiment 1, this embodiment is a storage medium.
实施例4Example 4
在实施例1基础上,本实施例为一种电子设备。On the basis of Embodiment 1, this embodiment is an electronic device.
| Application Number | Priority Date | Filing Date | Title |
|---|---|---|---|
| CN202210812634.1ACN115269142A (en) | 2022-07-11 | 2022-07-11 | Scheduling system and method for dynamic extended tasks |
| Application Number | Priority Date | Filing Date | Title |
|---|---|---|---|
| CN202210812634.1ACN115269142A (en) | 2022-07-11 | 2022-07-11 | Scheduling system and method for dynamic extended tasks |
| Publication Number | Publication Date |
|---|---|
| CN115269142Atrue CN115269142A (en) | 2022-11-01 |
| Application Number | Title | Priority Date | Filing Date |
|---|---|---|---|
| CN202210812634.1APendingCN115269142A (en) | 2022-07-11 | 2022-07-11 | Scheduling system and method for dynamic extended tasks |
| Country | Link |
|---|---|
| CN (1) | CN115269142A (en) |
| Publication number | Priority date | Publication date | Assignee | Title |
|---|---|---|---|---|
| US20030191795A1 (en)* | 2002-02-04 | 2003-10-09 | James Bernardin | Adaptive scheduling |
| CN108234612A (en)* | 2017-12-23 | 2018-06-29 | 北京卫星信息工程研究所 | The high score Resource dynamic allocation of multi-terminal mode and on-demand service delivery system |
| CN110636103A (en)* | 2019-07-22 | 2019-12-31 | 中山大学 | A unified scheduling method and API interface for multi-heterogeneous cluster jobs |
| CN111026530A (en)* | 2019-11-29 | 2020-04-17 | 珠海随变科技有限公司 | Task scheduling method and device, computer equipment and storage medium |
| CN111488181A (en)* | 2020-04-07 | 2020-08-04 | 广州虎牙科技有限公司 | Task scheduling method and device, storage medium and server |
| CN112559138A (en)* | 2021-02-18 | 2021-03-26 | 北京城建设计发展集团股份有限公司 | Resource scheduling system and method |
| Publication number | Priority date | Publication date | Assignee | Title |
|---|---|---|---|---|
| US20030191795A1 (en)* | 2002-02-04 | 2003-10-09 | James Bernardin | Adaptive scheduling |
| CN108234612A (en)* | 2017-12-23 | 2018-06-29 | 北京卫星信息工程研究所 | The high score Resource dynamic allocation of multi-terminal mode and on-demand service delivery system |
| CN110636103A (en)* | 2019-07-22 | 2019-12-31 | 中山大学 | A unified scheduling method and API interface for multi-heterogeneous cluster jobs |
| CN111026530A (en)* | 2019-11-29 | 2020-04-17 | 珠海随变科技有限公司 | Task scheduling method and device, computer equipment and storage medium |
| CN111488181A (en)* | 2020-04-07 | 2020-08-04 | 广州虎牙科技有限公司 | Task scheduling method and device, storage medium and server |
| CN112559138A (en)* | 2021-02-18 | 2021-03-26 | 北京城建设计发展集团股份有限公司 | Resource scheduling system and method |
| Publication | Publication Date | Title |
|---|---|---|
| CN101317381B (en) | Method, system and terminal for capacity management object maintenance and capacity management | |
| CN109087004B (en) | Public workflow engine system based on domain model | |
| CN111181758B (en) | Configuration file generation method and device | |
| CN116155978B (en) | Multi-registration center adaptation method, device, electronic device and storage medium | |
| CN100385973C (en) | Industry information processing system and method | |
| CN114756306A (en) | Service calling method, device, equipment and storage medium | |
| CN102073501A (en) | Method for implementing central controller of network equipment based on logic functional block | |
| CN114710549A (en) | A method, system and service node for dynamic management of network card in container platform | |
| CN116248629B (en) | A registration optimization method for SCA device components | |
| CN104410511B (en) | A kind of server management method and system | |
| CN113726578B (en) | Fusion method of API gateway and network architecture system | |
| CN114153525A (en) | A service-based sharing method and system of AI model for power grid regulation business | |
| CN115269142A (en) | Scheduling system and method for dynamic extended tasks | |
| CN114443059A (en) | Deployment method, device and equipment of Kubernetes cluster | |
| CN116880824A (en) | System and method for automatically generating and constructing zero code back-end service | |
| CN103152380B (en) | Distributed type simulation communication framework and communication effectiveness calculating method | |
| CN118012415A (en) | Method, system, equipment and medium for realizing open programmable of wireless base station | |
| CN113342456A (en) | Connection method, device, equipment and storage medium | |
| CN100561431C (en) | Device and method for decoupling business object memory representation and persistent representation | |
| CN1735032A (en) | A Network Management Method Supporting Distributed Management Information Tree | |
| CN108228192A (en) | A kind of implementation method of the dynamic management of service-oriented Airborne Software | |
| CN111858561A (en) | Data storage management system based on GPON router | |
| CN115250236B (en) | Network element instruction adaptation method, device, system, electronic equipment and storage medium | |
| CN111988179A (en) | A YANG model management system, method and storage medium | |
| CN114637612B (en) | Command calling method, system, device and readable medium |
| Date | Code | Title | Description |
|---|---|---|---|
| PB01 | Publication | ||
| PB01 | Publication | ||
| SE01 | Entry into force of request for substantive examination | ||
| SE01 | Entry into force of request for substantive examination |