












技术领域technical field
本申请涉及雾化技术领域,具体是涉及一种气溶胶产生装置。The present application relates to the technical field of atomization, and in particular, to an aerosol generating device.
背景技术Background technique
加热不燃烧(HNB)气溶胶产生装置包括用于收容气溶胶生成基体的容纳管道及用于收容电池的下壳体。容纳管道设置于上盖内,且容纳管道内设置加热元件,电池用于为加热元件供电。下壳体设置有进气口及与进气口和容纳管道连通的气道,在气溶胶生成基体被加热且用户抽吸气溶胶时,外部空气从进气口进入气道再进入容纳管道,经过气溶胶生成基体内部将气溶胶输送到用户口中。然而,此种结构导致上盖温度较高、影响用户体验,另外气道设置在下壳体,结构复杂,也容易发生气道堵塞现象。A heat-not-burn (HNB) aerosol generating device includes an accommodating pipe for accommodating an aerosol-generating substrate and a lower case for accommodating a battery. The accommodating pipe is arranged in the upper cover, and the heating element is arranged in the accommodating pipe, and the battery is used for powering the heating element. The lower shell is provided with an air inlet and an air passage communicating with the air inlet and the accommodating pipe. When the aerosol generating substrate is heated and the user sucks the aerosol, the outside air enters the air passage from the air inlet and then enters the accommodating pipe, The aerosol is delivered to the user's mouth through the interior of the aerosol-generating matrix. However, such a structure leads to a high temperature of the upper cover, which affects the user experience. In addition, the air passage is arranged in the lower casing, and the structure is complicated and the air passage is prone to blockage.
发明内容SUMMARY OF THE INVENTION
有鉴于此,本申请提供一种气溶胶产生装置,以解决现有技术中上盖温度较高、影响用户体验的问题。In view of this, the present application provides an aerosol generating device to solve the problem in the prior art that the temperature of the upper cover is relatively high and the user experience is affected.
为了解决上述技术问题,本申请提供的技术方案为:提供一种气溶胶产生装置,包括提取器和发热组件,提取器具有轴向贯穿的通孔;发热组件包括底座和设置于所述底座上的发热件,所述底座设置于所述通孔的一端,并配合所述通孔界定出收容气溶胶生成基体的收容腔,所述发热件用以插设于所述气溶胶生成基体内并加热所述气溶胶生成基体。In order to solve the above-mentioned technical problems, the technical solution provided by the present application is to provide an aerosol generating device, which includes an extractor and a heating component, the extractor has a through hole penetrating in the axial direction; the heating component includes a base and is arranged on the base The heat generating element is arranged at one end of the through hole, and cooperates with the through hole to define an accommodation cavity for accommodating the aerosol generating matrix, and the heating element is used to be inserted in the aerosol generating matrix and The aerosol-generating matrix is heated.
其中,所述收容腔的内壁设有第一气道;所述底座朝向所述收容腔的端面设有第二气道,所述第二气道与所述第一气道连通,以供外部的气体经所述第一气道与所述第二气道进入至所述气溶胶生成基体。The inner wall of the accommodating cavity is provided with a first air passage; the end face of the base facing the accommodating cavity is provided with a second air passage, and the second air passage is communicated with the first air passage for external The gas enters the aerosol generating substrate through the first air passage and the second air passage.
其中,所述底座朝向所述收容腔的端面与所述提取器之间形成有环形腔,所述环形腔环绕所述气溶胶生成基体设置,所述第一气道的一端和所述第二气道的一端均连通所述环形腔。Wherein, an annular cavity is formed between the end face of the base facing the receiving cavity and the extractor, the annular cavity is arranged around the aerosol generating substrate, and one end of the first airway and the second One end of the air passage communicates with the annular cavity.
其中,所述第二气道包括至少一条进气槽,所述进气槽从所述底座的边缘向所述发热件延伸。Wherein, the second air passage includes at least one air inlet groove, and the air inlet groove extends from the edge of the base to the heating element.
其中,所述第二气道进一步包括汇聚槽,所述汇聚槽环绕所述发热件设置,所述进气槽连通所述汇聚槽,且所述汇聚槽可被所述气溶胶生成基体覆盖。Wherein, the second air passage further includes a converging groove, the converging groove is arranged around the heating element, the air inlet groove is connected to the converging groove, and the converging groove can be covered by the aerosol generating substrate.
其中,所述进气槽的数量为多条,多条所述进气槽呈放射状设置于所述汇聚槽的周侧。Wherein, the number of the air inlet grooves is multiple, and the plurality of the air inlet grooves are radially arranged on the peripheral side of the converging groove.
其中,所述进气槽的槽宽等宽或从所述底座的边缘至所述汇聚槽逐渐收窄。Wherein, the slot width of the air inlet slot is the same width or narrows gradually from the edge of the base to the convergence slot.
其中,所述第一气道包括连通的保温段和降温段,所述保温段相对临近所述底座设置,所述降温段相对临近所述收容腔的端口设置;其中,在沿所述收容腔的轴向方向上,所述保温段的横截面积大于所述降温段的横截面积。Wherein, the first air passage includes a connected heat preservation section and a cooling section, the heat preservation section is disposed relatively adjacent to the base, and the cooling section is disposed relatively close to the port of the receiving cavity; wherein, the heat preservation section is disposed along the receiving cavity In the axial direction, the cross-sectional area of the heat preservation section is larger than the cross-sectional area of the cooling section.
其中,所述气溶胶基体包括用于插设于所述收容腔内的叶片段和提取段,所述保温段用于覆盖至少部分的所述叶片段,所述降温段用于覆盖至少部分的所述提取段,所述发热件的一端用于插入所述叶片段。Wherein, the aerosol matrix includes a leaf segment and an extraction segment for being inserted in the receiving cavity, the heat preservation segment is used to cover at least part of the leaf segment, and the cooling segment is used to cover at least part of the leaf segment. In the extraction section, one end of the heating element is used for inserting the leaf segment.
其中,所述通孔包括所述保温段和降温段;或所述通孔朝向所述底座的一端与所述底座界定出所述保温段,所述通孔远离所述底座的一侧为所述降温段。Wherein, the through hole includes the heat preservation section and the cooling section; or the end of the through hole facing the base and the base define the heat preservation section, and the side of the through hole away from the base is the heat preservation section. the cooling section.
其中,所述气溶胶产生装置还包括:容纳组件;所述底座连接所述容纳组件并配合界定出所述收容腔;所述提取器与所述容纳组件相配合,在所述收容腔内界定出所述保温段。Wherein, the aerosol generating device further includes: an accommodating component; the base is connected to the accommodating component and cooperates to define the accommodating cavity; the extractor cooperates with the accommodating component and defines in the accommodating cavity out of the insulation section.
其中,所述提取器包括第一提取器或者第二提取器,且所述第一提取器的长度不等于所述第二提取器的长度,以使得所述提取器与所述容纳组件界定出的所述保温段具有不同的长度。Wherein, the extractor includes a first extractor or a second extractor, and the length of the first extractor is not equal to the length of the second extractor, so that the extractor and the accommodating component define a The holding sections have different lengths.
其中,所述通孔的内壁设有至少一条凸筋,所述凸筋用以定位夹持所述气溶胶生成基体。Wherein, the inner wall of the through hole is provided with at least one protruding rib, and the protruding rib is used for positioning and clamping the aerosol generating substrate.
其中,所述凸筋的数量为多条且相间隔设置,多条所述凸筋沿所述收容腔的周向分布;所述凸筋还设有导向面,所述导向面朝向所述收容腔的端口设置,用以引导所述气溶胶生成基体至多条所述凸筋所限定的定位空间内。Wherein, the number of the protruding ribs is multiple and spaced apart, and the plurality of protruding ribs are distributed along the circumferential direction of the receiving cavity; the protruding ribs are further provided with guide surfaces, and the guiding surfaces face the accommodating cavity. The port of the cavity is arranged to guide the aerosol-generating substrate to the positioning space defined by the plurality of protruding ribs.
其中,所述底座盖设于所述通孔的一端。Wherein, the base cover is arranged on one end of the through hole.
其中,所述底座与所述提取器朝向所述底座的一端间隔设置。Wherein, the base and one end of the extractor facing the base are arranged at intervals.
本申请的有益效果:区别于现有技术,本申请的气溶胶产生装置包括提取器和发热组件,提取器具有轴向贯穿的通孔;发热组件包括底座和设置于底座上的发热件,底座设置于通孔的一端,并配合通孔界定出收容气溶胶生成基体的收容腔,发热件用以插设于气溶胶生成基体内并加热气溶胶生成基体。本申请的提取器为上下贯通的通孔,提取器与发热组件组成气溶胶生成基体的收容腔,可以简化提取器的结构,且外部空气可以直接从该通孔进入发热组件对气溶胶生成基体进行加热,气道路径短,不易发生堵塞现象。Beneficial effects of the present application: Different from the prior art, the aerosol generating device of the present application includes an extractor and a heating assembly, and the extractor has a through hole penetrating in the axial direction; the heating assembly includes a base and a heating element arranged on the base, and the base The heating element is arranged at one end of the through hole, and cooperates with the through hole to define a receiving cavity for accommodating the aerosol generating substrate. The extractor of the present application is a through hole that penetrates up and down, and the extractor and the heating component form a receiving cavity of the aerosol-generating matrix, which can simplify the structure of the extractor, and the external air can directly enter the heating component through the through hole to generate the aerosol. When heated, the airway path is short, and blockage is not easy to occur.
附图说明Description of drawings
为了更清楚地说明本申请实施例中的技术方案,下面将对实施例描述中所需要使用的附图作简单地介绍,显而易见地,下面描述中的附图仅仅是本申请的一些实施例,对于本领域普通技术人员来讲,在不付出创造性劳动的前提下,还可以根据这些附图获得其它的附图。In order to illustrate the technical solutions in the embodiments of the present application more clearly, the following briefly introduces the drawings that are used in the description of the embodiments. Obviously, the drawings in the following description are only some embodiments of the present application. For those of ordinary skill in the art, other drawings can also be obtained from these drawings without any creative effort.
图1是本申请提供的气溶胶产生装置的一实施例的整体结构示意图;1 is a schematic diagram of the overall structure of an embodiment of an aerosol generating device provided by the present application;
图2是本申请提供的气溶胶产生装置的一实施例的爆炸结构示意图;2 is a schematic diagram of an explosion structure of an embodiment of the aerosol generating device provided by the present application;
图3是本申请提供的气溶胶产生装置的一实施例的剖视图;3 is a cross-sectional view of an embodiment of the aerosol generating device provided by the present application;
图4是本申请提供的发热组件的爆炸结构示意图;Fig. 4 is the exploded structure schematic diagram of the heating element provided by the present application;
图5是本申请提供的发热组件的一立体结构示意图;FIG. 5 is a schematic three-dimensional structure diagram of the heating element provided by the present application;
图6是图5提供的发热组件的俯视图;Figure 6 is a top view of the heat generating assembly provided in Figure 5;
图7是本申请一实施例提供的接收器和发热组件的结构示意图;7 is a schematic structural diagram of a receiver and a heating assembly provided by an embodiment of the present application;
图8是本申请一实施例提供的接收器的爆炸结构示意图;8 is a schematic diagram of an exploded structure of a receiver provided by an embodiment of the present application;
图9是图7提供的接收器和发热组件的局部结构放大图;FIG. 9 is an enlarged view of the partial structure of the receiver and the heating assembly provided in FIG. 7;
图10是本申请另一实施例提供的接收器的结构剖视图;10 is a structural cross-sectional view of a receiver provided by another embodiment of the present application;
图11是本申请另一实施例提供的接收器的部分结构爆炸图;11 is an exploded view of a partial structure of a receiver provided by another embodiment of the present application;
图12是本申请提供的第一气道的结构示意图;12 is a schematic structural diagram of the first airway provided by the present application;
图13是本申请提供的保温段和叶片段的一实施例的连接结构示意图。FIG. 13 is a schematic diagram of the connection structure of an embodiment of the insulation section and the blade section provided in the present application.
具体实施方式Detailed ways
下面将结合本申请实施例中的附图,对本申请实施例中的技术方案进行清楚、完整地描述,显然,所描述的实施例仅是本申请的一部分实施例,而不是全部的实施例。基于本申请中的实施例,本领域普通技术人员在没有做出创造性劳动前提下所获得的所有其他实施例,都属于本申请保护的范围。The technical solutions in the embodiments of the present application will be clearly and completely described below with reference to the drawings in the embodiments of the present application. Obviously, the described embodiments are only a part of the embodiments of the present application, but not all of the embodiments. Based on the embodiments in the present application, all other embodiments obtained by those of ordinary skill in the art without creative efforts shall fall within the protection scope of the present application.
本申请中的术语“第一”、“第二”、仅用于描述目的,而不能理解为指示或暗示相对重要性或者隐含指明所指示的技术特征的数量。由此,限定有“第一”、“第二”、的特征可以明示或者隐含地包括至少一个该特征。本申请实施例中所有方向性指示(诸如上、下、左、右、前、后……)仅用于解释在某一特定姿态(如附图所示)下各部件之间的相对位置关系、运动情况等,如果该特定姿态发生改变时,则该方向性指示也相应地随之改变。此外,术语“包括”和“具有”以及它们任何变形,意图在于覆盖不排他的包含。例如包含了一系列步骤或单元的过程、方法、系统、产品或设备没有限定于已列出的步骤或单元,而是可选地还包括没有列出的步骤或单元,或可选地还包括对于这些过程、方法、产品或设备固有的其它步骤或单元。The terms "first" and "second" in this application are only used for descriptive purposes, and should not be construed as indicating or implying relative importance or implying the number of indicated technical features. Thus, features delimited with "first", "second", may expressly or implicitly include at least one of such features. All directional indications (such as up, down, left, right, front, rear...) in the embodiments of the present application are only used to explain the relative positional relationship between components under a certain posture (as shown in the accompanying drawings). , motion situation, etc., if the specific posture changes, the directional indication also changes accordingly. Furthermore, the terms "comprising" and "having" and any variations thereof are intended to cover non-exclusive inclusion. For example, a process, method, system, product or device comprising a series of steps or units is not limited to the listed steps or units, but optionally also includes unlisted steps or units, or optionally also includes For other steps or units inherent to these processes, methods, products or devices.
在本文中提及“实施例”意味着,结合实施例描述的特定特征、结构或特性可以包含在本申请的至少一个实施例中。在说明书中的各个位置出现该短语并不一定均是指相同的实施例,也不是与其它实施例互斥的独立的或备选的实施例。本领域技术人员显式地和隐式地理解的是,本文所描述的实施例可以与其它实施例相结合。Reference herein to an "embodiment" means that a particular feature, structure, or characteristic described in connection with the embodiment can be included in at least one embodiment of the present application. The appearances of the phrase in various places in the specification are not necessarily all referring to the same embodiment, nor a separate or alternative embodiment that is mutually exclusive of other embodiments. It is explicitly and implicitly understood by those skilled in the art that the embodiments described herein may be combined with other embodiments.
现有技术中的加热不燃烧气溶胶产生装置,下壳体设置有进气口及与进气口和容纳管道连通的气道,在气溶胶生成基体被加热且用户抽吸气溶胶时,外部空气从进气口进入气道再进入容纳管道,经过气溶胶生成基体内部将气溶胶输送到用户口中。本申请发明人发现,由于该结构的容纳管道与上盖距离近,加热元件的热量容易传到上盖使得上盖温度较高,而上盖一般为用户手持部位,较高的上盖容易烫手,使得用户体验变差。另一方面,气道设置在下壳体,结构复杂,气道路径长,容易出现堵塞现象,降低气溶胶生成基体雾化效率。为了克服上述问题,本申请提供了一种新型的气溶胶产生装置。In the heat-not-burn aerosol generating device in the prior art, the lower casing is provided with an air inlet and an air passage communicating with the air inlet and the accommodating pipe. The air enters the airway from the air inlet and then enters the accommodating duct, and transports the aerosol into the user's mouth through the interior of the aerosol generating matrix. The inventor of the present application found that, due to the short distance between the accommodating pipe and the upper cover of this structure, the heat of the heating element is easily transferred to the upper cover, which makes the temperature of the upper cover higher, and the upper cover is generally the user's hand-held part, and the higher upper cover is easy to burn. , making the user experience worse. On the other hand, the air passage is arranged in the lower casing, the structure is complex, and the air passage path is long, which is prone to blockage and reduces the atomization efficiency of the aerosol-generating matrix. In order to overcome the above problems, the present application provides a novel aerosol generating device.
请参阅图1至图3,图1是本申请提供的气溶胶产生装置的一实施例的整体结构示意图,图2是本申请提供的气溶胶产生装置的一实施例的爆炸结构示意图,图3是本申请提供的气溶胶产生装置的一实施例的剖视图。Please refer to FIGS. 1 to 3 , FIG. 1 is a schematic diagram of the overall structure of an embodiment of the aerosol generating device provided by the present application, FIG. 2 is a schematic diagram of an explosion structure of an embodiment of the aerosol generating device provided by the present application, and FIG. 3 It is a cross-sectional view of an embodiment of the aerosol generating device provided in the present application.
本申请提供的气溶胶产生装置100,包括接收器1、发热组件2、外壳3和电源组件5,接收器1设有收容腔10,发热组件2的一端插设于收容腔10内,用以插设于气溶胶生成基体4内并加热气溶胶生成基体4。收容腔10用于收容气溶胶生成基体4,收容腔10的形状和大小不限,可以根据需要设计。电源组件5与发热组件2连接,用于向发热组件2供电。在电源组件5的驱动下,发热组件2将收容腔10内的气溶胶生成基体4雾化以形成可供用户吸食的气溶胶。气溶胶生成基体4可以是植物草叶类气溶胶基质等固态基质。气溶胶产生装置100具体可用于不同的领域,比如医疗、美容、休闲吸食等。电源组件5包括电池51、支架52、驱动件(图未示)以及控制器(图未示)等。电池51用于为发热组件2供电,以使得发热组件2能够加热气溶胶生成基体4以形成气溶胶。开关6用于启动或关闭气溶胶产生装置100。The
如图3所示,在一实施例中,收容腔10的内壁设有第一气道11,第一气道11用于将接收器1外部的气体导入至发热组件2。As shown in FIG. 3 , in one embodiment, the inner wall of the receiving
具体的,第一气道11形成于气溶胶生成基体4与收容腔10的内壁之间,用于将外部的气体导流至发热组件2。在用户使用该气溶胶产生装置100时,气流从第一气道11向发热组件2的一侧流动,可以直接到达发热组件2靠近收容腔10的端面,在接收器1和发热组件2之间的空腔处回流,然后气流再从发热组件2的端面进入第一气道11和气溶胶生成基体4内,以将加热形成的气溶胶运送至吸嘴段(图未示)以供用户抽吸。Specifically, the
在一实施例中,收容腔10为圆柱腔,收容腔10的径向尺寸大于气溶胶生成基体4的径向尺寸,使得气溶胶生成基体4能够穿过收容腔10到达发热组件2,且与发热组件2抵接。在其他实施例中,收容腔10也可以为棱柱腔、矩形腔等,本申请对此不做限制。In one embodiment, the
请参阅图4至图6,图4是本申请提供的发热组件的爆炸结构示意图,图5是本申请提供的发热组件的一立体结构示意图,图6是图5提供的发热组件的俯视图。Please refer to FIGS. 4 to 6 , FIG. 4 is a schematic diagram of an exploded structure of the heating assembly provided by the present application, FIG. 5 is a schematic three-dimensional structure of the heating assembly provided by the present application, and FIG. 6 is a top view of the heating assembly provided by FIG. 5 .
在一实施例中,发热组件2包括底座21和设置于底座21上的发热件22,底座21设置于收容腔10的一端,发热件22插设于收容腔10内。底座21朝向收容腔10的端面还设有第二气道23,第二气道23与第一气道11连通,且第二气道23导向发热件22。第二气道23包括至少一条进气槽231以及汇聚槽232,进气槽231从底座21的边缘向发热件22延伸。汇聚槽232环绕发热件22设置,进气槽231连通汇聚槽232,且汇聚槽232可被气溶胶生成基体4覆盖。In one embodiment, the
具体的,如图3和图5所示,第二气道23与第一气道11连通,使得外部气体能够从第一气道11进入底座21,进而进入第二气道23,并直接从第二气道23进入气溶胶生成基体4内,以对气溶胶生成基体4进行加热,提高雾化效率。Specifically, as shown in FIG. 3 and FIG. 5 , the
如图6所示,汇聚槽232设置在底座21的中心位置,环绕发热件22设置,进气槽231从底座21的边缘向发热件22汇集,且与汇聚槽232连通。使得气体能够在汇聚槽232和发热件22的周围进行流动。同时,由于气溶胶生成基体4插入收容腔10之后,发热件22从气溶胶生成基体4的底端插入,气溶胶生成基体4的横截面大于汇聚槽232的尺寸,使得汇聚槽232可被气溶胶生成基体4覆盖,从而使得气体也能够进入气溶胶生成基体4内。As shown in FIG. 6 , the converging
优选地,进气槽231的数量为多条,多条进气槽231呈放射状设置于汇聚槽232的周侧。具体的,多条进气槽231等距离地以放射状的排列方式均布于汇聚槽232的周围,使得第二气道23能够均匀进气。进气槽231侧壁可以是等宽、不规则或者逐渐向汇聚槽232的方向收窄。进气槽231侧壁的形状不做限定。在本实施例中,进气槽231从底座21的边缘至汇聚槽232逐渐收窄,形成一个喇叭形状的进气槽231,使得气流从四周向中心能够更好地汇聚。Preferably, the number of the
如图5所示,发热件22包括发热柱221和尖头部222,不同于相关技术中的扁平的发热件22的结构,本申请的发热件22的主体为柱状,在柱状远离底座21的一端为发热件22的尖头部222。通过将发热件设计为发热柱221和尖头部222,使得发热件22能够更容易进入或者取出气溶胶生成基体4,不容易发生叶片粘连的情况。同时,柱状的发热件22使得气溶胶生成基体4能够以旋转的方式脱离发热件22,更便于气溶胶生成基体4的提取。As shown in FIG. 5 , the
如图4和图5所示,在底座21远离发热件22的一侧设置有发热保护壳214,该发热保护壳214为具有空腔的柱状体,发热件22远离提取器132的一端伸入发热保护壳214的柱状体内,使得发热保护壳214部分包围发热件22,并能够对发热件22进行保护。发热保护壳214与底座21可以通过卡接、螺钉连接或者螺纹连接等方式进行连接,具体连接方式本申请不做限定。As shown in FIGS. 4 and 5 , a
在一实施例中,底座21的外侧壁具有第一台阶211和第二台阶212,形成于底座21的外侧壁上靠近进气槽231的一侧,且第一台阶211与多个进气槽231连通,用于汇集来自接收器1的气流;第二台阶212形成于底座21的外侧壁远离进气槽231的一侧,第一台阶211与第二台阶212之间还设有密封件213。In one embodiment, the outer side wall of the
具体的,第一台阶211和第二台阶212均为环形,第一台阶211的上端面与多个进气槽231连通,使得从接收器1进入的气流在该端面处进行汇集,然后再进入进气槽231和气溶胶生成基体4,从而使得第一气道11进入的气流能够均匀地流入第二气道23。第一台阶211与第二台阶212之间设置密封件213,使得气流不会进入电源组件5中。Specifically, the
请参阅图7至图9,图7是本申请一实施例提供的接收器和发热组件的结构示意图,图8是本申请一实施例提供的接收器的爆炸结构示意图,图9是图7提供的接收器和发热组件的局部结构放大图。Please refer to FIGS. 7 to 9. FIG. 7 is a schematic structural diagram of a receiver and a heating assembly provided by an embodiment of the present application. FIG. 8 is a schematic diagram of an exploded structure of a receiver provided by an embodiment of the present application. A magnified view of the partial structure of the receiver and heating components.
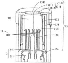
在一实施例中,接收器1还包括端盖组件13,端盖组件13包括端盖131、提取器132和安装件133,端盖131盖设于提取器132上,且端盖131对应于提取器132的端口设有接受口1311,接受口1311用于周向定位气溶胶生成基体4,接受口1311与提取器132远离底座21的端口对应设置。气溶胶生成基体4从接受口1311插入,并容置于收容腔10内。接受口1311与气溶胶生成基体4之间形成有进气缝隙(图未示),或端盖131还设有连通降温段112的进气孔(图未示)。In one embodiment, the
具体的,接受口1311上设有凸起13111和与凸起13111连接的弧形面13112,凸起13111与气溶胶生成基体4相抵接,可以固定气溶胶生成基体4;弧形面13112与气溶胶生成基体4之间具有一定的间隙,使得外部气体可以进入收容腔10。弧形面13112与气溶胶生成基体4之间的间隙可以作为进气缝隙以供外部气体进入。Specifically, the receiving
如图8所示,提取器132包括收容腔10、安装腔1321和提取器安装座1322,安装腔1321设置在收容腔10一侧,且收容腔10和安装腔1321均形成于提取器安装座1322上,收容腔10和安装腔1321均为上下贯通的通孔,可以方便气体的进出。提取器安装座1322的边缘具有周向设置的凸缘13221,该凸缘13221将收容腔10和安装腔1321围绕于提取器安装座1322内,同时该凸缘13221可以便于提取器132与安装件133的连接,如进行卡接、粘接等。安装件133套设于提取器132外部,且安装件133具有与提取器132相适应的外形以及能够套接于收容腔10外部的第一通孔1331,该第一通孔1331与接受口1311和收容腔10的端口均对应套接,使得气溶胶生成基体4能够从该第一通孔1331中穿过,且收容腔10内的气体能够经第一通孔1331中流通。As shown in FIG. 8 , the
请参阅图10至图11,图10是本申请另一实施例提供的接收器的结构剖视图,图11是本申请另一实施例提供的接收器的部分结构爆炸图。Please refer to FIGS. 10 to 11 , FIG. 10 is a cross-sectional view of the structure of a receiver provided by another embodiment of the present application, and FIG. 11 is an exploded view of a part of the structure of the receiver provided by another embodiment of the present application.
在另一实施例中,接收器1包括可拆卸连接的容纳组件12和端盖组件13,容纳组件12和端盖组件13内共同形成收容腔10。端盖组件13设有降温段112,且端盖组件13可拆卸连接于容纳组件12的一端,并与容纳组件12相配合界定出保温段111。In another embodiment, the
具体的,端盖组件13包括端盖131、提取器132和磁性件134,端盖131盖设于提取器132上,且端盖131对应于提取器132的端口设有接受口1311,接受口1311用于周向定位气溶胶生成基体4,接受口1311与提取器132远离底座21的端口对应设置。气溶胶生成基体4从接受口1311插入,并容置于收容腔10内。接受口1311与气溶胶生成基体4之间形成有进气缝隙1330,用于外部气体进入第一气道11,或者端盖131还设有连通降温段112的进气孔1331,该进气缝隙1330与进气孔1331可以只设置其中一个或者两个都设置。进气孔1331可以为开设在端盖131上面或者侧面的一个通孔,也可以是端盖131与气溶胶生成基体4之间预留的进气口,以使得气体可以从该通孔或者进气口中进入第一气道11。磁性件134设置于端盖131和提取器132之间,磁性件134用以与容纳组件12磁吸连接。Specifically, the
具体的,接受口1311上设有凸起13111和与凸起13111连接的弧形面13112,凸起13111与气溶胶生成基体4相抵接,可以固定气溶胶生成基体4;弧形面13112与气溶胶生成基体4之间具有一定的间隙,使得外部气体可以进入收容腔10。弧形面13112与气溶胶生成基体4之间的间隙可以作为进气缝隙1330以供外部气体进入。Specifically, the receiving
提取器132可拆卸连接于端盖131内,提取器132设有降温段112,且提取器132和端盖131的内壁之间形成有插接腔136,容纳组件12背离底座21的一端插入插接腔136。The
具体的,提取器132与气溶胶生成基体4之间具有一定的空隙,可以形成该降温段112。提取器132外表面具有一个周向设置的凸环1321,当提取器132设置于端盖131内时,该凸环1321与端盖131之间形成一个空腔,即为插接腔136。容纳组件12远离底座21的一端插入该插接腔136中,以对容纳组件12进行固定。Specifically, there is a certain gap between the
在一实施例中,容纳组件12可以包括磁性容纳管122和定位管121,磁性容纳管122的一端插设于插接腔136内,与提取器132的凸环1321抵接。定位管121套设于磁性容纳管122内,定位管121内具有收容腔10,定位管121的内壁与提取器132的外壁定位配合,提取器132插入收容腔10内并界定出保温段111。In one embodiment, the
具体的,定位管121的内壁与提取器132靠近底座21的外侧壁相抵接,且在提取器132靠近底座21的端部、定位管121的内壁以及底座21的端面之间定位出一个空腔,该空腔为第一气道11的保温段111。当气溶胶生成基体4插入接收器1内的收容腔10时,其底部与底座21的端面接触,气溶胶生成基体4的叶片段41可以至少部分位于保温段111中,使得保温段111能够对叶片段41进行保温。Specifically, the inner wall of the
在其他实施例中,容纳组件12也可以为一体式的单管结构,即磁性容纳管122和定位管121为一个整体嵌设于插接腔136内,与提取器132的凸环1321抵接,同样也可以实现容纳组件12的功能,本申请对此不做限制。In other embodiments, the
磁性件134具体设置于端盖131和提取器132的凸环1321之间,在本实施例中,提取器132、磁性容纳管122和端盖131可以为金属件,磁性容纳管122和磁性件134分别设置于凸环1321的两侧,且端盖131套设于磁性容纳管122和磁性件134的外部,通过磁性件134的磁吸作用,使得磁性容纳管122、提取器132和端盖131可以形成一个一体组合结构,以便于气溶胶产生装置100整体结构的安装。同时,构成该一体组合结构的磁性容纳管122、提取器132和端盖131彼此之间相互磁吸,具有一定的重量,使得气溶胶生成基体4更容易从提取器132中取出。可以理解,提取器132、磁性容纳管122和端盖131也可以为其他材质,即使不形成一体组合结构,也可以实现本申请的功能。磁性件134可以为磁铁或者设有磁性涂层的其他材料构成的结构,具体根据需要进行选择,本申请对此不做限制。The
在本实施例中,提取器132包括第一提取器1323或者第二提取器1324,且第一提取器1323的长度不等于第二提取器1324的长度,以使得提取器132与容纳组件12界定出的保温段111具有不同的长度。In this embodiment, the
具体的,第一提取器1323与第二提取器1324可以具有不同的高度,使得提取器132与容纳组件12安装完成后,形成不同长度的保温段111。在本实施例中,第一提取器1323的长度大于第二提取器1324的长度,使得第一提取器1323与容纳组件12界定出的保温段111的长度小于第二提取器1324与容纳组件12界定出的保温段111的长度。由于叶片段41设置于保温段111内,保温段111需要对叶片段41进行保温,因此保温段111的长度越长,对叶片段41的保温效果越好。在实际使用中,可以根据具体产品选择不同的提取器132的长度,本申请对此不做限制。Specifically, the
在一实施例中,底座21与提取器132内的通孔朝向底座21的一端间隔设置。In one embodiment, the
具体的,间隔设置的底座21与提取器132内的通孔间隔设置可以形成一个空腔,在该空腔内形成保温段111。结合上述的提取器132具有不同的长度,使得该空腔内形成的保温段111具有不同的长度。Specifically, the spaced
如图7和图10所示,收容腔10的内壁设有至少一条凸筋130,凸筋130用以定位气溶胶生成基体4,并用于引导接收器1外部的气体至发热组件2。As shown in FIGS. 7 and 10 , the inner wall of the receiving
具体的,凸筋130设置于提取器132的内壁表面,使得气溶胶生成基体4和提取器132之间形成进气通道110,以便于外部气体可以从该进气通道110中流过,到达发热组件2,使得发热件22能够加热气溶胶生成基体4以形成气溶胶。同时,凸筋130可以对气溶胶生成基体4进行固定,使得气溶胶生成基体4和提取器132保持在同轴的位置,不容易发生偏移。凸筋130的数量可以为一条或者多条,设置多条凸筋130时,凸筋130相互之间需要间隔设置,且多条凸筋130沿收容腔10的周向分布,以使得收容腔10中有足够的空间供气溶胶生成基体4插入。相邻的两条凸筋130之间的进气通道110可以构成第一气道11,用于将外部气体导入至发热组件2。在本实施例中,凸筋130分布于提取器132内靠近底座21的一部分内壁,最大可以设置为与接受口1311的凸起13111相接触的位置,优选为占提取器132内壁的一半或者不超过内壁的三分之二。凸筋130的具体数量和形状不限,只要能够满足彼此之间具有进气通道110,且能够使得气溶胶生成基体4穿过即可,本申请对此不做限制。Specifically, the protruding
进一步的,凸筋130设有导向面1301,该导向面1301朝向提取器132远离底座21的端口设置,可以用于引导气溶胶生成基体4方便地插入多条凸筋130所限定的定位空间内。导向面1301可以为斜面或者弧面,也可以为其他面,只要能够实现对气溶胶生成基体4的导向作用即可,本申请对此不做限制。Further, the
在一实施例中,如图7和图9所示,底座21朝向收容腔10的端面与接收器1之间形成有环形腔14,环形腔14环绕气溶胶生成基体4设置。该环形腔14具体形成于提取器132朝向底座21的端面上,与第一气道11靠近底座21的一端连通,同时该环形腔14环设于气溶胶生成基体4靠近底座21的一端,且气溶胶生成基体4位于环形腔14的中心位置,第二气道23的进气槽231也与该环形腔14连通,使得气体在该环形腔14处回流后,再次通过进气槽231从气溶胶生成基体4的底部进入。环形腔14的设置可以便于气体从第一气道11内流过,并均匀地流入第二气道23内。环形腔14的外径与底座21靠近提取器132的端面大致相同。环形腔14朝向底座21的一端直径大于位于提取器132的一端,使得环形腔14朝底座21为发散状,更有利于气体的进入。可以理解,该环形腔14也可以是从提取器132朝向底座21的端面形成的一个凹槽,该凹槽的底面具有通孔,该通孔即为接收器1的收容腔10。In one embodiment, as shown in FIGS. 7 and 9 , an
请参阅图12至图13,图12是本申请提供的第一气道的结构示意图,图13是本申请提供的保温段和叶片段的一实施例的连接结构示意图。Please refer to FIG. 12 to FIG. 13 , FIG. 12 is a schematic diagram of the structure of the first air passage provided by the present application, and FIG. 13 is a schematic diagram of the connection structure of an embodiment of the insulation section and the blade segment provided by the present application.
在一实施例中,收容腔10内包括连通的保温段111和降温段112,保温段111相对临近发热组件2设置,降温段112相对临近收容腔10的端口设置;其中,在沿收容腔10的轴向方向上,也就是在沿气溶胶生成基体4插入收容腔10的方向上,保温段111的横截面积大于降温段112的横截面积。In one embodiment, the
具体的,保温段111和降温段112可以构成第一气道11设置在收容腔10内,且保温段111和降温段112为连续的两个气道段,保温段111临近发热组件2设置,具体为临近底座21靠近收容腔10的端面设置,使得底座21可以封盖于保温段111的一端。气溶胶生成基体4在使用时插入收容腔10内,气溶胶生成基体4可以包括插设于收容腔10内的叶片段41和提取段42,保温段111可以覆盖至少部分的叶片段41,降温段112可以覆盖至少部分的提取段42。底座21可以用于支撑叶片段41的一端,使得叶片段41与底座21抵接,以固定气溶胶生成基体4。气溶胶生成基体4底部靠近底座21的端面,保温段111设置于靠近底座21的一侧,因此保温段111可以对气溶胶生成基体4靠近底座21的一侧进行保温,即对气溶胶生成基体4的叶片段41进行保温。发热件22插设于收容腔10内,并可以进一步插入叶片段41内,以实现对叶片段41的加热,保温段111的内腔与叶片段41是至少部分重合的,保温段111可以完全覆盖叶片段41,也可以只覆盖一部分叶片段41。发热件22可以插入叶片段41的一部分,也可以插入叶片段41的全部长度,提高加热效果,本申请对此不做限定。Specifically, the
如图12所示,当保温段111完全覆盖叶片段41时,即保温段111的长度与叶片段41的长度之比大于等于1.0,保温段111的横截面积大于降温段112的横截面积,此时保温段111内的空气对流换热系数相对较小,可以提高对叶片段41的保温效果,防止来自发热件22的热量散发过快,提高对气溶胶生成基体4的加热效率和雾化效果,提升用户的抽吸体验。同时,可以降低气溶胶产生装置100的热量损耗。As shown in FIG. 12 , when the
如图13所示,当保温段111只覆盖一部分叶片段41时,例如,保温段111覆盖叶片段41的长度部分与叶片段41的长度之比大于等于0.25,具体可以覆盖三分之一或者覆盖二分之一等,本申请对此不做限定。但是为了保证保温段111对叶片段41的保温效果,保温段111覆盖叶片段41的长度部分与叶片段41的长度之比至少应该大于等于0.25。此时,保温段111对叶片段41的保温效果相对于保温段111完全覆盖叶片段41有所降低,使得传输到气溶胶生成基体4的提取段42的热量更低,从而使得气溶胶生成基体4的提取段42的温度下降、冷却更快,对于用户来说,气溶胶的入嘴温度更低,可以提高用户的抽吸体验。As shown in FIG. 13 , when the
降温段112可以覆盖至少部分气溶胶生成基体4的提取段42,如上所述,降温段112相对临近收容腔10的端口设置,且发热件22并不插入至提取段42,使得提取段42的温度不会升高。降温段112的横截面积小于保温段111的横截面积,此时空气在此处的流动速度较快,具有较高的对流换热系数,从而对气溶胶生成基体4的提取段42起到冷却作用,进而降低气溶胶的入嘴温度。The
如图12所示,在其他实施例中,气溶胶生成基体4还可以包括吸嘴段43,吸嘴段43为提取段42远离叶片段41的一端,可以理解,吸嘴段43是供用户吸食的部分,因此,吸嘴段43可以设置于外壳3的外部,这样更便于用户吸食。同时,由于吸嘴段43经过了提取段42的降温,使得进入用户口中的气溶胶温度大大降低,提升了气溶胶的入嘴口感,并进一步提升用户体验。As shown in FIG. 12 , in other embodiments, the aerosol-generating
在一实施例中,降温段112为圆柱腔,降温段112的径向尺寸大于气溶胶生成基体4的径向尺寸,使得气溶胶生成基体4能够穿过降温段112到达保温段111。在其他实施例中,降温段112也可以为棱柱腔、矩形腔等,本申请对此不做限制。In one embodiment, the
如图1、图2和图8所示,在一实施例中,外壳3包括相互配合连接的第一壳体31和第二壳体32,且第一壳体31和第二壳体32设置于电源组件5外部,第一壳体31设置于相对于第二壳体32靠近端盖组件13的一侧,端盖组件13的端盖131具有第一连接端1312和第二连接端1313,第一连接端1312的高度小于第二连接端1313的高度,且第一连接端1312和第二连接端1313通过平滑的弧形连接面进行连接,使得第一连接端1312相对于第二连接端1313位于远离外壳3的一侧。第一壳体31与端盖131的第一连接端1312以及第一连接端1312和第二连接端1313的弧形连接面连接,第二壳体32与第二连接端1313连接,以使得第一壳体31、第二壳体32与端盖组件13共同构成气溶胶产生装置100的椭圆柱体的外部形状。在其他实施例中,端盖组件13和外壳3的具体形状可以根据需要进行设置,本申请对此不做限制。As shown in FIG. 1 , FIG. 2 and FIG. 8 , in one embodiment, the
在一实施例中,如图2所示,第二壳体32上还开设有开孔321,开孔321可以用于安装气溶胶产生装置100的开关6。支架52设置于外壳3内,用于安装并支撑发热组件2、电池51和线路板54等部件。支架52具有与发热保护壳214外形相适应的支撑腔521,该支撑腔521套设于发热保护壳214外部,且与支架52进行卡接,以对发热组件2形成支撑。在支撑腔521的外部还设有保温隔热件134,该保温隔热件134可以对发热组件2的热量进行保护,以减少热量损耗。同时该保温隔热件134与提取器132抵接,可以对提取器132与发热组件2之间进行密封。电池51与发热件22连接,用于给发热件22供电,使得发热件22能够对气溶胶生成基体4加热以形成气溶胶供用户吸食。In one embodiment, as shown in FIG. 2 , the
如图2所示,端盖组件13与外壳3之间可以通过螺纹、卡接等方式进行连接,密封件213的设置可以防止气流进入电源组件5内,对电源组件5内的部件造成损坏或者腐蚀等。端盖组件13与外壳3之间也可以设置其他密封件或者连接件,以保证端盖组件13与外壳3的紧密连接。As shown in FIG. 2 , the
本申请公开的气溶胶产生装置包括提取器和发热组件,提取器具有轴向贯穿的通孔;发热组件包括底座和设置于底座上的发热件,底座设置于通孔的一端,并配合通孔界定出收容气溶胶生成基体的收容腔,发热件用以插设于气溶胶生成基体内并加热气溶胶生成基体。本申请提取器为上下贯通的通孔,提取器与发热组件组成气溶胶生成基体的收容腔,可以简化提取器的结构,且外部空气可以直接从该通孔进入发热组件对气溶胶生成基体进行加热,气道路径短,不易发生堵塞现象。The aerosol generating device disclosed in the present application includes an extractor and a heating component, the extractor has a through hole extending in the axial direction; the heating component includes a base and a heating element disposed on the base, the base is disposed at one end of the through hole, and matches the through hole A accommodating cavity for accommodating the aerosol-generating substrate is defined, and the heating element is inserted into the aerosol-generating substrate and heating the aerosol-generating substrate. The extractor of the present application is a through hole that penetrates up and down, and the extractor and the heating component form a receiving cavity for the aerosol-generating substrate, which can simplify the structure of the extractor, and the external air can directly enter the heating component from the through-hole to the aerosol-generating substrate. Heating, the airway path is short, and blockage is not easy to occur.
以上所述仅为本申请的实施方式,并非因此限制本申请的专利范围,凡是利用本申请说明书及附图内容所作的等效结构或等效流程变换,或直接或间接运用在其他相关的技术领域,均同理包括在本申请的专利保护范围内。The above description is only an embodiment of the present application, and is not intended to limit the scope of the patent of the present application. Any equivalent structure or equivalent process transformation made by using the contents of the description and drawings of the present application, or directly or indirectly applied to other related technologies Fields are similarly included within the scope of patent protection of this application.
| Application Number | Priority Date | Filing Date | Title |
|---|---|---|---|
| CN202210532714.1ACN115226952A (en) | 2022-05-16 | 2022-05-16 | aerosol generating device |
| PCT/CN2023/080558WO2023221613A1 (en) | 2022-05-16 | 2023-03-09 | Aerosol generating device |
| Application Number | Priority Date | Filing Date | Title |
|---|---|---|---|
| CN202210532714.1ACN115226952A (en) | 2022-05-16 | 2022-05-16 | aerosol generating device |
| Publication Number | Publication Date |
|---|---|
| CN115226952Atrue CN115226952A (en) | 2022-10-25 |
| Application Number | Title | Priority Date | Filing Date |
|---|---|---|---|
| CN202210532714.1APendingCN115226952A (en) | 2022-05-16 | 2022-05-16 | aerosol generating device |
| Country | Link |
|---|---|
| CN (1) | CN115226952A (en) |
| WO (1) | WO2023221613A1 (en) |
| Publication number | Priority date | Publication date | Assignee | Title |
|---|---|---|---|---|
| WO2023221613A1 (en)* | 2022-05-16 | 2023-11-23 | 深圳麦时科技有限公司 | Aerosol generating device |
| WO2024259608A1 (en)* | 2023-06-20 | 2024-12-26 | Nicoventures Trading Limited | Extractor element of an aerosol provision device |
| Publication number | Priority date | Publication date | Assignee | Title |
|---|---|---|---|---|
| CN206612214U (en)* | 2017-01-26 | 2017-11-07 | 惠州市吉瑞科技有限公司深圳分公司 | Atomizer |
| WO2019015343A1 (en)* | 2017-07-21 | 2019-01-24 | 上海新型烟草制品研究院有限公司 | Heat generation device, heat-not-burn cigarette device, and constant-temperature smoke release method |
| CN111420620A (en)* | 2020-04-21 | 2020-07-17 | 深圳麦时科技有限公司 | Aerosol generating device |
| CN111436663A (en)* | 2020-05-18 | 2020-07-24 | 南通金源新材料有限公司 | Aerosol generating device with surrounding type airflow |
| CN215455431U (en)* | 2021-08-12 | 2022-01-11 | 湖南中烟工业有限责任公司 | A heating assembly for cigarette smoking set and cigarette smoking set |
| CN217791479U (en)* | 2022-05-16 | 2022-11-15 | 深圳麦时科技有限公司 | Aerosol generating device |
| CN221449867U (en)* | 2023-09-27 | 2024-08-02 | 思摩尔国际控股有限公司 | Extractor and aerosol generating device |
| Publication number | Priority date | Publication date | Assignee | Title |
|---|---|---|---|---|
| KR102370640B1 (en)* | 2015-02-06 | 2022-03-04 | 필립모리스 프로덕츠 에스.에이. | Improved extractor for an aerosol-generating device |
| CN108567171A (en)* | 2017-09-04 | 2018-09-25 | 赫斯提亚深圳生物科技有限公司 | Apparatus for aerosol creation and system |
| CN208837092U (en)* | 2018-02-26 | 2019-05-10 | 冷朝阳 | A kind of apparatus for aerosol creation and aerosol generate product |
| CN113508926B (en)* | 2021-06-24 | 2024-08-20 | 深圳麦时科技有限公司 | Aerosol generating device |
| CN113768196B (en)* | 2021-08-26 | 2024-08-02 | 深圳麦时科技有限公司 | An electronic atomization device and a heating component thereof |
| CN115226952A (en)* | 2022-05-16 | 2022-10-25 | 深圳麦时科技有限公司 | aerosol generating device |
| Publication number | Priority date | Publication date | Assignee | Title |
|---|---|---|---|---|
| CN206612214U (en)* | 2017-01-26 | 2017-11-07 | 惠州市吉瑞科技有限公司深圳分公司 | Atomizer |
| WO2019015343A1 (en)* | 2017-07-21 | 2019-01-24 | 上海新型烟草制品研究院有限公司 | Heat generation device, heat-not-burn cigarette device, and constant-temperature smoke release method |
| CN111420620A (en)* | 2020-04-21 | 2020-07-17 | 深圳麦时科技有限公司 | Aerosol generating device |
| CN111436663A (en)* | 2020-05-18 | 2020-07-24 | 南通金源新材料有限公司 | Aerosol generating device with surrounding type airflow |
| CN215455431U (en)* | 2021-08-12 | 2022-01-11 | 湖南中烟工业有限责任公司 | A heating assembly for cigarette smoking set and cigarette smoking set |
| CN217791479U (en)* | 2022-05-16 | 2022-11-15 | 深圳麦时科技有限公司 | Aerosol generating device |
| CN221449867U (en)* | 2023-09-27 | 2024-08-02 | 思摩尔国际控股有限公司 | Extractor and aerosol generating device |
| Publication number | Priority date | Publication date | Assignee | Title |
|---|---|---|---|---|
| WO2023221613A1 (en)* | 2022-05-16 | 2023-11-23 | 深圳麦时科技有限公司 | Aerosol generating device |
| WO2024259608A1 (en)* | 2023-06-20 | 2024-12-26 | Nicoventures Trading Limited | Extractor element of an aerosol provision device |
| Publication number | Publication date |
|---|---|
| WO2023221613A1 (en) | 2023-11-23 |
| Publication | Publication Date | Title |
|---|---|---|
| CN217771497U (en) | Aerosol generating device | |
| CN221128829U (en) | Electronic atomizing device and atomizer thereof | |
| EP3417726B1 (en) | Electronic atomizing device | |
| WO2020252647A1 (en) | Electronic atomization device and atomizer having same | |
| CN216875000U (en) | Electronic atomization device | |
| CN115226952A (en) | aerosol generating device | |
| CN217791479U (en) | Aerosol generating device | |
| CN112089106A (en) | Nebulizing units and nebulizing assemblies for detoured airways | |
| CN216147240U (en) | Aerosol generating device | |
| WO2023221612A1 (en) | Aerosol generating device | |
| WO2022111318A1 (en) | Heater, and heating atomization apparatus | |
| CN115590254A (en) | Atomization component, atomizer and aerosol generating device | |
| CN113508926B (en) | Aerosol generating device | |
| CN220343664U (en) | Aerosol generating rod heating assembly and aerosol generating device | |
| WO2024046133A1 (en) | Electromagnetic coil, atomization structure, atomizer, and electronic atomization device | |
| CN111838935A (en) | hair dryer | |
| CN217771508U (en) | Atomization assembly, atomizer and aerosol generating device | |
| CN218790562U (en) | Aerosol generating device | |
| CN215873459U (en) | Electronic atomization device and atomizer thereof | |
| CN112617285B (en) | Atomizer and electronic atomization device | |
| WO2022237453A1 (en) | Atomizer and electronic atomization device therefor | |
| CN217161101U (en) | Atomization assembly and electronic atomizer | |
| CN217771507U (en) | Atomizer and aerosol generating device with cooling structure | |
| WO2023050333A1 (en) | Atomizer and aerosol generation device | |
| CN221355789U (en) | Electronic atomization device and atomizer thereof |
| Date | Code | Title | Description |
|---|---|---|---|
| PB01 | Publication | ||
| PB01 | Publication | ||
| SE01 | Entry into force of request for substantive examination | ||
| SE01 | Entry into force of request for substantive examination |