






技术领域technical field
本发明涉及光学技术领域,尤其涉及一种脉冲激光输出控制装置及控制方法。The invention relates to the field of optical technology, and in particular, to a pulse laser output control device and a control method.
背景技术Background technique
飞秒激光器以其极高的峰值功率、窄的脉冲宽度,在材料精细微加工、半导体行业、太阳能光伏、科学研究等领域得到了广泛的应用。飞秒脉冲峰值功率非常高,直接放大很容易引起放大器器件损坏,因此飞秒激光器通常采用脉冲啁啾放大技术(CPA),即先利用展宽器将种子光脉冲展宽至几百皮秒甚至纳秒量级,然后输入放大器进行脉冲放大。放大器输出的脉冲再通过脉冲压缩装置,将百皮秒输出脉冲压缩至飞秒量级输出。With its extremely high peak power and narrow pulse width, femtosecond lasers have been widely used in the fields of material fine micromachining, semiconductor industry, solar photovoltaic, scientific research and other fields. The peak power of femtosecond pulses is very high, and direct amplification can easily cause damage to the amplifier device. Therefore, femtosecond lasers usually use chirped pulse amplification (CPA), that is, first use a stretcher to stretch the seed light pulse to hundreds of picoseconds or even nanoseconds magnitude, and then input to the amplifier for pulse amplification. The pulses output by the amplifier pass through the pulse compression device to compress the output pulses of hundreds of picoseconds to the level of femtoseconds.
飞秒种子振荡腔出来的脉冲重复频率通常为几十MHz量级,而工业加工应用的脉冲重复频率通常为百kHz量级,因此在脉冲啁啾放大的过程中通常会使用声光调制器(AOM)进行降频,再进行主放大,输出端也通常使用空间AOM进行输出控制。所以通常激光器通常有两个AOM,第一个用于把种子源频率降为固定输出的频率,第二个用于控制功率的输出以及脉冲的控制。The pulse repetition frequency from the femtosecond seed oscillator is usually in the order of tens of MHz, while the pulse repetition frequency in industrial processing applications is usually in the order of hundreds of kHz. Therefore, in the process of pulse chirp amplification, an acousto-optic modulator ( AOM) for frequency reduction, and then for main amplification, and the output terminal also usually uses spatial AOM for output control. So usually the laser usually has two AOMs, the first is used to reduce the frequency of the seed source to the frequency of the fixed output, and the second is used to control the output of the power and the control of the pulse.
当激光进行复杂图形加工时,图形中直线和曲线部分的切换必然会造成速度的变化,如果使用固定的脉冲重复频率,会使激光在曲线部分逗留时间过长而造成热影响区域扩大,直接影响加工效果。但是直接更改激光器的输出频率不仅会造成激光器输出频率的变化带来激光功率的波动,而且切换速度较慢,同样会影响加工效果。When the laser is processing complex graphics, the switching of the straight and curved parts of the graphics will inevitably cause changes in speed. If a fixed pulse repetition frequency is used, the laser will stay in the curved part for too long and cause the heat-affected area to expand, which directly affects the processing effect. However, directly changing the output frequency of the laser will not only cause the fluctuation of the laser power due to the change of the output frequency of the laser, but also the switching speed will be slow, which will also affect the processing effect.
目前使用飞秒激光器进行工业加工,有多种控制模式。通常有常出光模式、门控(Gate)模式和位置同步输出(PSO)模式。常出光模式即为使激光器一直出光进行加工,脉冲等间隔输出。Gate模式下,在外部触发信号为高电平时,输出控制的空间AOM同步输出经过降频AOM已设定好的固定重复频率的脉冲光,脉冲间隔是固定的,当外部触发信号为低电平时,输出控制的空间AOM关闭,停止输出脉冲信号。PSO模式下,外部触发信号每次高电平时输出控制的空间AOM会输出一个脉冲,脉冲输出频率由外部触发信号的频率决定。Currently, femtosecond lasers are used for industrial processing, and there are various control modes. Usually there are always light mode, gate control (Gate) mode and position synchronization output (PSO) mode. The constant light output mode is to make the laser emit light all the time for processing, and the pulses are output at equal intervals. In Gate mode, when the external trigger signal is at high level, the output-controlled spatial AOM synchronously outputs pulsed light with a fixed repetition frequency that has been set by the down-converted AOM. The pulse interval is fixed. When the external trigger signal is at low level , the output control space AOM is closed, and the output pulse signal is stopped. In PSO mode, each time the external trigger signal is at a high level, the output control space AOM will output a pulse, and the pulse output frequency is determined by the frequency of the external trigger signal.
为实现Gate模式和PSO模式,通常在激光器输出时加装空间AOM,用于控制出光功率大小和选取单个脉冲。空间AOM都会有一定的损耗,激光器实际的出光功率要更高,经过AOM后才能达到额定的输出功率。而且通常激光器处于满功率常出光运转,会造成能源的损耗,对于激光器内部的器件来说,也降低了工作寿命。In order to realize Gate mode and PSO mode, a space AOM is usually added when the laser is output to control the output optical power and select a single pulse. The spatial AOM will have a certain loss, and the actual output power of the laser is higher, and the rated output power can only be achieved after passing through the AOM. Moreover, the laser is usually operated at full power and always emits light, which will cause energy loss, and also reduce the working life of the devices inside the laser.
发明内容SUMMARY OF THE INVENTION
本发明实施例提供了一种脉冲激光输出控制装置及控制方法,该控制装置可以根据触发信号控制泵浦源和频率调制单元开启和关闭,实现不同模式的脉冲输出,省掉外部的空间频率调制单元,简化了激光器结构,降低了激光器成本,同时也延长了激光器的使用寿命。The embodiments of the present invention provide a pulse laser output control device and a control method, the control device can control the pump source and the frequency modulation unit to turn on and off according to the trigger signal, realize the pulse output of different modes, and save the external spatial frequency modulation The unit simplifies the structure of the laser, reduces the cost of the laser, and also prolongs the service life of the laser.
根据本发明的一方面,提供了一种脉冲激光输出控制装置,包括脉冲激光产生模块和控制模块;According to an aspect of the present invention, a pulsed laser output control device is provided, including a pulsed laser generation module and a control module;
所述脉冲激光产生模块包括种子源、频率调制单元和放大单元,所述放大单元包括泵浦源和增益介质;The pulsed laser generating module includes a seed source, a frequency modulation unit and an amplifying unit, and the amplifying unit includes a pump source and a gain medium;
所述控制模块包括触发单元和控制单元,所述触发单元与所述控制单元连接,所述频率调制单元和所述泵浦源均与所述控制单元连接;The control module includes a trigger unit and a control unit, the trigger unit is connected to the control unit, and the frequency modulation unit and the pump source are both connected to the control unit;
所述控制单元用于在所述触发单元输出的触发信号下,控制所述泵浦源和所述频率调制单元开启和关闭,以使所述脉冲激光产生模块按照预设顺序输出脉冲激光。The control unit is configured to control the pump source and the frequency modulation unit to be turned on and off under the trigger signal output by the trigger unit, so that the pulse laser generating module outputs pulse laser in a preset sequence.
可选的,所述控制单元还与所述种子源连接,所述控制单元还用于获取所述种子源出射的种子脉冲激光的种子时钟信号;Optionally, the control unit is further connected to the seed source, and the control unit is further configured to acquire a seed clock signal of the seed pulse laser emitted by the seed source;
所述触发单元输出的触发信号包括门控信号和位置同步输出信号;The trigger signal output by the trigger unit includes a gate control signal and a position synchronization output signal;
当所述触发信号为所述门控信号时,所述控制单元根据所述门控信号与所述种子时钟信号,控制所述泵浦源开启第一预设时间,根据重频设置驱动所述频率调制单元根据预设重复频率对所述种子脉冲激光的重复频率进行降频,且在输出至少1个脉冲后,控制所述泵浦源关闭;在所述门控信号的第一电平信号的持续时间内,根据所述预设重复频率控制所述泵浦源以及所述频率调制单元重复开启和关闭,在所述门控信号为第二电平信号时,同时控制所述泵浦源以及所述频率调制单元重复开启和关闭;When the trigger signal is the gate control signal, the control unit controls the pump source to turn on for a first preset time according to the gate control signal and the seed clock signal, and drives the pump source according to the repetition frequency setting The frequency modulation unit down-converts the repetition frequency of the seed pulse laser according to the preset repetition frequency, and controls the pump source to turn off after outputting at least one pulse; at the first level signal of the gate control signal The pump source and the frequency modulation unit are controlled to be turned on and off repeatedly according to the preset repetition frequency, and when the gate control signal is a second level signal, the pump source is simultaneously controlled and the frequency modulation unit is repeatedly turned on and off;
当所述触发信号为所述位置同步输出信号时,所述控制单元根据所述位置同步输出信号和所述种子时钟信号,所述位置同步输出信号中每出现一次触发,控制所述泵浦源开启第二预设时间后,控制所述频率调制单元开启,且在输出至少1个脉冲后,同步控制所述泵浦源以及所述频率调制单元关闭。When the trigger signal is the position synchronization output signal, the control unit controls the pump source every time a trigger occurs in the position synchronization output signal according to the position synchronization output signal and the seed clock signal. After the second preset time is turned on, the frequency modulation unit is controlled to be turned on, and after at least one pulse is output, the pump source and the frequency modulation unit are synchronously controlled to be turned off.
可选的,所述触发单元输出的触发信号还包括常出光信号,当所述触发信号为所述常出光信号时,所述控制单元控制所述泵浦源常开,并根据所述种子时钟信号和重频设置,生成调制脉冲信号驱动所述频率调制单元,以使所述脉冲激光产生模块输出预设重复频率的脉冲激光。Optionally, the trigger signal output by the trigger unit further includes a normally outgoing light signal, when the trigger signal is the normally outgoing light signal, the control unit controls the pump source to be normally on, and according to the seed clock The signal and repetition frequency are set, and a modulated pulse signal is generated to drive the frequency modulation unit, so that the pulse laser generating module outputs a pulse laser with a preset repetition frequency.
可选的,所述第一预设时间大于或等于1μs,小于或等于1ms,所述第二预设时间大于或等于1μs,小于或等于1ms。Optionally, the first preset time is greater than or equal to 1 μs and less than or equal to 1 ms, and the second preset time is greater than or equal to 1 μs and less than or equal to 1 ms.
可选的,所述脉冲激光产生模块还包括脉冲展宽单元和脉冲压缩单元,所述放大单元包括预放大单元和主放大单元;Optionally, the pulse laser generating module further includes a pulse stretching unit and a pulse compression unit, and the amplifying unit includes a pre-amplifying unit and a main amplifying unit;
所述种子源、所述脉冲展宽单元、所述预放大单元、所述频率调制单元、所述主放大单元和所述脉冲压缩单元沿光路依次布置;The seed source, the pulse stretching unit, the pre-amplifying unit, the frequency modulation unit, the main amplifying unit and the pulse compressing unit are sequentially arranged along the optical path;
所述主放大单元的泵浦源和所述控制单元连接。The pump source of the main amplifying unit is connected to the control unit.
可选的,所述种子源包括输出重复频率为20MHz~80MHz的飞秒光纤脉冲激光器。Optionally, the seed source includes a femtosecond fiber pulse laser with an output repetition frequency of 20 MHz to 80 MHz.
可选的,所述脉冲展宽单元包括环行器和啁啾光栅,所述环行器的第一端与所述种子源的输出端连接,所述环行器的第二端与所述啁啾光栅连接,所述环行器的第三端与所述预放大单元连接。Optionally, the pulse stretching unit includes a circulator and a chirped grating, the first end of the circulator is connected to the output end of the seed source, and the second end of the circulator is connected to the chirped grating , the third end of the circulator is connected to the pre-amplification unit.
可选的,所述预放大单元和所述主放大单元均包括光纤放大器。Optionally, both the pre-amplification unit and the main amplifying unit include fiber amplifiers.
可选的,所述脉冲压缩单元包括基于透射光栅的脉冲压缩器、基于反射光栅的脉冲压缩器或基于体光栅的脉冲压缩器。Optionally, the pulse compression unit includes a transmission grating-based pulse compressor, a reflection grating-based pulse compressor, or a volume grating-based pulse compressor.
根据本发明的另一方面,提供了一种脉冲激光输出控制方法,采用上述的脉冲激光输出装置执行,所述脉冲激光输出控制方法包括:According to another aspect of the present invention, a pulsed laser output control method is provided, which is performed by the above-mentioned pulsed laser output device, and the pulsed laser output control method includes:
种子源输出种子脉冲激光;The seed source outputs the seed pulse laser;
触发单元输出触发信号,控制单元根据所述触发信号控制泵浦源和频率调制单元开启和关闭,以使脉冲激光产生模块按照预设顺序输出脉冲激光。The trigger unit outputs a trigger signal, and the control unit controls the pump source and the frequency modulation unit to be turned on and off according to the trigger signal, so that the pulse laser generating module outputs the pulse laser in a preset sequence.
本发明实施例提供的脉冲激光输出控制装置,包括脉冲激光产生模块和控制模块;脉冲激光产生模块包括种子源、频率调制单元和放大单元,放大单元包括泵浦源和增益介质;控制模块包括触发单元和控制单元。通过种子源产生种子脉冲激光,通过放大单元对种子脉冲激光进行放大;通过控制单元在触发单元输出的触发信号下,控制泵浦源和频率调制单元开启和关闭,以使脉冲激光产生模块按照预设顺序输出脉冲激光。该控制装置可以省去空间激光频率调制单元(例如空间AOM),并且通过控制泵浦源和频率调制单元开启和关闭的方式实现脉冲激光输出,降低了激光器成本,同时省去了空间激光频率调制单元引起损耗,可以实现更高功率输出。而且激光器不需要满功率和常出光运转,延长了激光器以及内部器件的使用寿命。The pulse laser output control device provided by the embodiment of the present invention includes a pulse laser generation module and a control module; the pulse laser generation module includes a seed source, a frequency modulation unit and an amplification unit, and the amplification unit includes a pump source and a gain medium; the control module includes a trigger unit and control unit. The seed pulse laser is generated by the seed source, and the seed pulse laser is amplified by the amplifying unit; the pump source and the frequency modulation unit are controlled to be turned on and off by the control unit under the trigger signal output by the trigger unit, so that the pulse laser generation module can be Set the pulse laser output sequentially. The control device can save the spatial laser frequency modulation unit (such as the spatial AOM), and realize the pulse laser output by controlling the pump source and the frequency modulation unit to be turned on and off, which reduces the cost of the laser and saves the spatial laser frequency modulation. The unit causes losses, allowing for higher power output. Moreover, the laser does not need to operate at full power and always emits light, which prolongs the service life of the laser and internal devices.
应当理解,本部分所描述的内容并非旨在标识本发明的实施例的关键或重要特征,也不用于限制本发明的范围。本发明的其它特征将通过以下的说明书而变得容易理解。It should be understood that the content described in this section is not intended to identify key or critical features of the embodiments of the invention, nor is it intended to limit the scope of the invention. Other features of the present invention will become readily understood from the following description.
附图说明Description of drawings
为了更清楚地说明本发明实施例中的技术方案,下面将对实施例描述中所需要使用的附图作简单地介绍,显而易见地,下面描述中的附图仅仅是本发明的一些实施例,对于本领域普通技术人员来讲,在不付出创造性劳动的前提下,还可以根据这些附图获得其他的附图。In order to illustrate the technical solutions in the embodiments of the present invention more clearly, the following briefly introduces the accompanying drawings used in the description of the embodiments. Obviously, the accompanying drawings in the following description are only some embodiments of the present invention. For those of ordinary skill in the art, other drawings can also be obtained from these drawings without creative effort.
图1为现有技术中一种脉冲激光器的结构示意图;1 is a schematic structural diagram of a pulsed laser in the prior art;
图2为现有技术中一种脉冲激光器的时序示意图;Fig. 2 is a timing diagram of a pulsed laser in the prior art;
图3为本发明实施例提供的一种脉冲激光输出控制装置的结构示意图;3 is a schematic structural diagram of a pulsed laser output control device according to an embodiment of the present invention;
图4为本发明实施例提供的一种Gate模式对应的时序示意图;4 is a schematic diagram of a timing sequence corresponding to a Gate mode provided by an embodiment of the present invention;
图5为本发明实施例提供的一种PSO模式对应的时序示意图;5 is a schematic diagram of a timing sequence corresponding to a PSO mode provided by an embodiment of the present invention;
图6为本发明实施例提供的另一种脉冲激光输出控制装置的结构示意图;6 is a schematic structural diagram of another pulsed laser output control device provided by an embodiment of the present invention;
图7为本发明实施例提供的一种脉冲激光输出控制方法的流程示意图。FIG. 7 is a schematic flowchart of a pulse laser output control method according to an embodiment of the present invention.
具体实施方式Detailed ways
为了使本技术领域的人员更好地理解本发明方案,下面将结合本发明实施例中的附图,对本发明实施例中的技术方案进行清楚、完整地描述,显然,所描述的实施例仅仅是本发明一部分的实施例,而不是全部的实施例。基于本发明中的实施例,本领域普通技术人员在没有做出创造性劳动前提下所获得的所有其他实施例,都应当属于本发明保护的范围。In order to make those skilled in the art better understand the solutions of the present invention, the technical solutions in the embodiments of the present invention will be clearly and completely described below with reference to the accompanying drawings in the embodiments of the present invention. Obviously, the described embodiments are only Embodiments are part of the present invention, but not all embodiments. Based on the embodiments of the present invention, all other embodiments obtained by persons of ordinary skill in the art without creative efforts shall fall within the protection scope of the present invention.
需要说明的是,本发明的说明书和权利要求书及上述附图中的术语“第一”、“第二”等是用于区别类似的对象,而不必用于描述特定的顺序或先后次序。应该理解这样使用的数据在适当情况下可以互换,以便这里描述的本发明的实施例能够以除了在这里图示或描述的那些以外的顺序实施。此外,术语“包括”和“具有”以及他们的任何变形,意图在于覆盖不排他的包含,例如,包含了一系列步骤或单元的过程、方法、系统、产品或设备不必限于清楚地列出的那些步骤或单元,而是可包括没有清楚地列出的或对于这些过程、方法、产品或设备固有的其它步骤或单元。It should be noted that the terms "first", "second" and the like in the description and claims of the present invention and the above drawings are used to distinguish similar objects, and are not necessarily used to describe a specific sequence or sequence. It is to be understood that the data so used may be interchanged under appropriate circumstances such that the embodiments of the invention described herein can be practiced in sequences other than those illustrated or described herein. Furthermore, the terms "comprising" and "having" and any variations thereof, are intended to cover non-exclusive inclusion, for example, a process, method, system, product or device comprising a series of steps or units is not necessarily limited to those expressly listed Rather, those steps or units may include other steps or units not expressly listed or inherent to these processes, methods, products or devices.
图1为现有技术中一种脉冲激光器的结构示意图,图2为现有技术中一种脉冲激光器的时序示意图。参考图1和图2,该脉冲激光器包括种子源1、声光调制器AOM2、放大器3、空间AOM4和控制器5,其中种子源1输出高重复频率的飞秒种子脉冲激光(图2中曲线a所示),控制器5用于控制AOM2根据预定设置降低脉冲激光的重复频率,还用于根据外部触发信号控制空间AOM4工作,实现不同的工作模式。由于一般种子源1的重复频率较高,不能直接用于工业加工,因此设置AOM2进行调制,降低重复频率。为了满足不同应用场景的激光加工,通常激光器的控制模式包括Gate模式和PSO模式,其中图2中曲线b~d示出了Gate模式对应的时序示意图,其中曲线b为Gate模式下外部触发信号的波形示意图,曲线c为Gate模式下空间AOM4的调调制信号波形图,曲线d为Gate模式下输出的激光脉冲。图2中曲线e~f示出了PSO模式对应的时序示意图,图2中示出的Gate模式和PSO模式采用相同的外部触发信号,其中曲线e为PSO模式下空间AOM4的调调制信号波形图,曲线f为PSO模式下输出的激光脉冲。现有的激光器结构,需要加装空间AOM引起损耗,造成能源的消耗,而且对于通常百KHz重复频率的激光器来说,PSO模式下脉冲与同步信号之间的延迟抖动(Jitter)为μs级别。FIG. 1 is a schematic structural diagram of a pulsed laser in the prior art, and FIG. 2 is a schematic time sequence diagram of a pulsed laser in the prior art. Referring to Figure 1 and Figure 2, the pulsed laser includes a seed source 1, an acousto-optic modulator AOM2, an amplifier 3, a spatial AOM4 and a controller 5, wherein the seed source 1 outputs a femtosecond seed pulse laser with a high repetition rate (the curve in Figure 2). a), the controller 5 is used to control the AOM2 to reduce the repetition frequency of the pulsed laser according to a predetermined setting, and is also used to control the spatial AOM4 to work according to an external trigger signal to achieve different working modes. Since the repetition frequency of general seed source 1 is high, it cannot be directly used for industrial processing, so AOM2 is set for modulation to reduce the repetition frequency. In order to meet the laser processing of different application scenarios, usually the control modes of the laser include Gate mode and PSO mode. The curves b to d in Figure 2 show the timing diagram corresponding to the Gate mode, and the curve b is the external trigger signal in the Gate mode. Waveform diagram, curve c is the modulation signal waveform diagram of the spatial AOM4 in Gate mode, and curve d is the laser pulse output in Gate mode. Curves e to f in Figure 2 show the timing diagram corresponding to the PSO mode. The Gate mode and the PSO mode shown in Figure 2 use the same external trigger signal, and the curve e is the modulation signal waveform diagram of the spatial AOM4 in the PSO mode. , the curve f is the laser pulse output in PSO mode. The existing laser structure needs to install a space AOM to cause loss, resulting in energy consumption, and for a laser with a repetition rate of usually 100 KHz, the delay jitter (Jitter) between the pulse and the synchronization signal in the PSO mode is μs level.
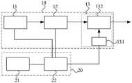
为了解决上述问题,本发明实施例提供了一种脉冲激光输出控制装置。图3为本发明实施例提供的一种脉冲激光输出控制装置的结构示意图。参考图3,该脉冲激光输出控制装置包括脉冲激光产生模块10和控制模块20;脉冲激光产生模块10包括种子源11、频率调制单元12和放大单元13,放大单元13包括泵浦源131和增益介质132;控制模块20包括触发单元21和控制单元22,触发单元21与控制单元22连接,频率调制单元12和泵浦源131均与控制单元22连接;控制单元22用于在触发单元21输出的触发信号下,控制泵浦源131和频率调制单元12开启和关闭,以使脉冲激光产生模块10按照预设顺序输出脉冲激光。In order to solve the above problem, an embodiment of the present invention provides a pulse laser output control device. FIG. 3 is a schematic structural diagram of a pulsed laser output control device according to an embodiment of the present invention. 3 , the pulsed laser output control device includes a pulsed
其中,种子源11用于输出高重复频率的种子脉冲光束,例如在某一实施例中,可选的,种子源11包括输出重复频率为20MHz~80MHz的飞秒光纤脉冲激光器,具体实施时,种子源11的种类和参数可以根据实际情况选择。频率调制单元12用于调制脉冲激光的重复频率,具体为降低脉冲激光的重复频率,频率调制单元12具体可以选用AOM、电光调制单元EOM等,本发明实施例不作限定。放大单元13用于对种子脉冲光束进行功率放大,具体实施时,可以为单级或多级放大。泵浦源131可以为泵浦激光器,例如激光二极管LD。增益介质132可以为激光晶体、有源光纤等。触发单元21用于输出触发信号,例如Gate模式的触发信号或PSO模式的触发信号。控制单元21控制泵浦源131和频率调制单元12,当不需要激光输出时,控制泵浦源131关闭,则不会有放大的脉冲激光输出,即采用非连续泵浦的方式控制脉冲激光输出。Wherein, the
本发明实施例的技术方案,通过种子源产生种子脉冲激光,通过放大单元对种子脉冲激光进行放大;通过控制单元在触发单元输出的触发信号下,控制泵浦源和频率调制单元开启和关闭,以使脉冲激光产生模块按照预设顺序输出脉冲激光。该控制装置可以省去空间激光频率调制单元(例如空间AOM),并且通过控制泵浦源和频率调制单元开启和关闭的方式实现脉冲激光输出,降低了激光器成本,同时省去了空间激光频率调制单元引起损耗,可以实现更高功率输出。而且激光器不需要满功率和常出光运转,延长了激光器以及内部器件的使用寿命。In the technical scheme of the embodiment of the present invention, the seed pulse laser is generated by the seed source, and the seed pulse laser is amplified by the amplifying unit; the control unit controls the pump source and the frequency modulation unit to turn on and off under the trigger signal output by the trigger unit, In order to make the pulse laser generating module output the pulse laser according to the preset sequence. The control device can omit a spatial laser frequency modulation unit (such as a spatial AOM), and realize pulsed laser output by controlling the pump source and the frequency modulation unit to be turned on and off, thereby reducing the cost of the laser and eliminating the need for spatial laser frequency modulation. The unit causes losses, allowing for higher power output. Moreover, the laser does not need to operate at full power and always emits light, which prolongs the service life of the laser and internal devices.
在上述实施例的基础上,可选的,继续参考图3,控制单元22还与种子源11连接,控制单元22还用于获取种子源11出射的种子脉冲激光的种子时钟信号。具体实施时,可以在种子源11的输出端设置分光结构和光电探测器,一小部分光束被光电探测器接收形成种子时钟信号传输至控制单元22,大部分光束沿光路继续传输完成后续放大。On the basis of the above embodiment, optionally, continuing to refer to FIG. 3 , the
触发单元21输出的触发信号包括门控信号和位置同步输出信号,其中门控信号为Gate模式的触发信号,位置同步输出信号为PSO模式的触发信号。The trigger signal output by the
当触发信号为门控信号时,控制单元根据门控信号与种子时钟信号,控制泵浦源开启第一预设时间,根据重频设置驱动频率调制单元根据预设重复频率对种子脉冲激光的重复频率进行降频,且在输出至少1个脉冲后,控制泵浦源关闭;在门控信号的第一电平信号的持续时间内,根据预设重复频率控制泵浦源以及频率调制单元重复开启和关闭,在门控信号为第二电平信号时,同时控制泵浦源以及频率调制单元重复开启和关闭。When the trigger signal is the gate control signal, the control unit controls the pump source to turn on the first preset time according to the gate control signal and the seed clock signal, and sets the driving frequency modulation unit according to the repetition frequency to repeat the seed pulse laser according to the preset repetition frequency The frequency is down-converted, and after outputting at least one pulse, the pump source is controlled to be turned off; within the duration of the first level signal of the gated signal, the pump source and the frequency modulation unit are controlled to be turned on repeatedly according to the preset repetition frequency When the gate control signal is the second level signal, the pump source and the frequency modulation unit are simultaneously controlled to be turned on and off repeatedly.
其中,第一电平信号可以为高电平信号,第二电平信号可以为低电平信号,第一预设时间可以大于或等于1μs,小于或等于1ms,具体实施时可以根据实际情况设定。The first level signal may be a high level signal, the second level signal may be a low level signal, and the first preset time may be greater than or equal to 1 μs and less than or equal to 1 ms. Certainly.
以每次输出1个脉冲,频率调制单元为AOM为例,示例性的,图4为本发明实施例提供的一种Gate模式对应的时序示意图。参考图4,其中图4中曲线g为触发信号(Gate信号),曲线h为泵浦源的开关信号,曲线i为AOM的开关信号,其中虚线为等效触发信号,曲线j为种子脉冲光束序列,其中虚线框中的脉冲对应脉冲激光输出控制装置输出的脉冲激光。在Gate控制模式下,当Gate信号输入控制单元22时,控制单元22的时序电路同步Gate信号与种子时钟信号,先开启放大单元13的泵浦源131,泵浦电流根据事先拟合的电流-功率对应值设定;经过固定的泵浦时间(第一预设时间,通常为μs~百μs量级)后,根据种子时钟信号和重频设置驱动AOM根据设置频率进行降频,每放出1个脉冲后,即关闭放大单元13的泵浦源131;在Gate信号的高电平信号的持续时间内,根据所设置的重复频率,重复开启关闭泵浦源131和AOM。当Gate信号关闭(低电平)时,同时关闭AOM和泵浦源131,实现功率的关断。Taking one pulse output each time and the frequency modulation unit being an AOM as an example, FIG. 4 is an exemplary schematic diagram of a timing sequence corresponding to a gate mode provided by an embodiment of the present invention. Referring to Fig. 4, the curve g in Fig. 4 is the trigger signal (Gate signal), the curve h is the switching signal of the pump source, the curve i is the switching signal of the AOM, the dotted line is the equivalent trigger signal, and the curve j is the seed pulse beam. sequence, wherein the pulses in the dotted box correspond to the pulsed lasers output by the pulsed laser output control device. In the gate control mode, when the gate signal is input to the
当触发信号为位置同步输出信号时,控制单元根据位置同步输出信号和种子时钟信号,位置同步输出信号中每出现一次触发,控制泵浦源开启第二预设时间后,控制频率调制单元开启,且在输出至少1个脉冲后,同步控制泵浦源以及频率调制单元关闭。其中,第二预设时间大于或等于1μs,小于或等于1ms。When the trigger signal is the position synchronization output signal, according to the position synchronization output signal and the seed clock signal, the control unit controls the frequency modulation unit to be turned on after the pump source is turned on for a second preset time every time a trigger appears in the position synchronization output signal, And after outputting at least one pulse, the pump source and the frequency modulation unit are synchronously controlled to be turned off. Wherein, the second preset time is greater than or equal to 1 μs and less than or equal to 1 ms.
示例性的,图5为本发明实施例提供的一种PSO模式对应的时序示意图。参考图5,其中图5中曲线k为触发信号(PSO信号),曲线l为泵浦源的开关信号,曲线m为AOM的开关信号曲线,n为种子脉冲光束序列,其中虚线框中的脉冲对应脉冲激光输出控制装置输出的脉冲激光。在PSO控制模式下,当PSO信号输入控制单元22时,控制单元22的时序电路同步PSO信号与种子时钟信号,根据种子时钟信号,每来一个PSO信号,先开启放大单元13的泵浦源131,泵浦电流根据事先拟合的电流-功率对应值设定;经过固定的泵浦时间(第二预设时间,通常为μs~百μs量级)后,开启AOM,放出1个脉冲,然后同步关闭泵浦源131和AOM。这样保证了根据触发信号每个脉冲能量保持一致,AOM根据触发信号释放脉冲,从而实现PSO工作模式。如果采用连续泵浦的方式,会导致不同间隔输出的脉冲,泵浦所积累的上能级粒子数不同,从而导致脉冲被放大的幅度有差异。如果脉冲间隔过长,会导致上能级粒子数自发跃迁形成自发辐射然后被放大,可能会造成放大器的损坏。因此使用脉冲泵浦的方式可以避免以上两种情况。Exemplarily, FIG. 5 is a schematic time sequence diagram corresponding to a PSO mode provided by an embodiment of the present invention. Referring to FIG. 5 , the curve k in FIG. 5 is the trigger signal (PSO signal), the curve l is the switching signal of the pump source, the curve m is the switching signal curve of the AOM, and n is the seed pulse beam sequence, and the pulses in the dashed box are Corresponds to the pulsed laser output by the pulsed laser output control device. In the PSO control mode, when the PSO signal is input to the
在另一实施例中,可选的,触发单元输出的触发信号还包括常出光信号,当触发信号为常出光信号时,控制单元控制泵浦源常开,并根据种子时钟信号和重频设置,生成调制脉冲信号驱动频率调制单元,以使脉冲激光产生模块输出预设重复频率的脉冲激光。In another embodiment, optionally, the trigger signal output by the trigger unit further includes a normally outgoing light signal. When the trigger signal is a normally outgoing light signal, the control unit controls the pump source to be normally on, and sets the frequency according to the seed clock signal and the repetition frequency. , and generate a modulated pulse signal to drive the frequency modulation unit, so that the pulsed laser generating module outputs a pulsed laser with a preset repetition frequency.
触发信号为常出光方式时,控制单元控制泵浦源持续打开,然后根据重频设置持续输出脉冲激光,其具体实施过程与现有技术类似,此处不再详述。When the trigger signal is in the mode of constant light output, the control unit controls the pump source to continuously turn on, and then continuously outputs pulsed laser light according to the repetition frequency setting.
在另一实施例中,为了提升脉冲激光的输出功率,可以采用逐级放大的方式。图6为本发明实施例提供的另一种脉冲激光输出控制装置的结构示意图。参考图6,可选的,脉冲激光产生模块10还包括脉冲展宽单元14和脉冲压缩单元15,放大单元13包括预放大单元13a和主放大单元13b;种子源11、脉冲展宽单元14、预放大单元13a、频率调制单元12、主放大单元13b和脉冲压缩单元15沿光路依次布置;主放大单元13b包括泵浦源131b和增益介质132b主放大单元13b的泵浦源131b和控制单元22连接。In another embodiment, in order to increase the output power of the pulsed laser, a step-by-step amplification method may be adopted. FIG. 6 is a schematic structural diagram of another pulsed laser output control device according to an embodiment of the present invention. 6 , optionally, the pulsed
其中,本实施例输出的激光脉冲为飞秒脉冲,为了避免直接放大损坏器件,采用展宽-放大-压缩的方式进行放大。具体光路和器件可以根据实际情况设计,本发明实施例对此不作限定。The laser pulse output in this embodiment is a femtosecond pulse. In order to avoid direct amplification and damage to the device, a broadening-amplifying-compression method is used for amplification. The specific optical paths and devices can be designed according to actual conditions, which are not limited in this embodiment of the present invention.
其中,脉冲展宽单元14用于将飞秒量级种子脉冲激光展宽为几百皮秒甚至纳秒量级,以降低峰值功率,通过预放大单元13a和主放大单元13b逐级放大后,再用脉冲压缩单元15压缩至飞秒量级,实现飞秒脉冲输出。具体实施时,预放大单元13a和主放大单元13b均包括光纤放大器,脉冲压缩单元15包括基于透射光栅的脉冲压缩器、基于反射光栅的脉冲压缩器或基于体光栅的脉冲压缩器,本发明不作限定。Among them, the
继续参考图6,可选的,脉冲展宽单元14包括环行器141和啁啾光栅142,环行器141的第一端与种子源11的输出端连接,环行器141的第二端与啁啾光栅142连接,环行器142的第三端与预放大单元13a连接。Continuing to refer to FIG. 6 , optionally, the
其中,环行器是一种多端口的具有非互易特性的光器件。光信号由一个端口输入时,会按照端口顺序从下一端口以很小的损耗输出,而该端口通向所有其他端口的损耗都很大,成为不相通端口。脉冲展宽的原理为:脉冲进入啁啾光栅衍射后,脉冲中不同频率的光因衍射角不同而分散开,而衍射元件的放置又使脉冲的蓝光部分的光程比红光部分长,这样红光就会先于蓝光离开啁啾光栅,实现脉冲展宽。Among them, the circulator is a multi-port optical device with non-reciprocal characteristics. When an optical signal is input from one port, it will be output from the next port with a small loss in the order of the ports, and the loss of this port leading to all other ports is very large, and it becomes an unconnected port. The principle of pulse broadening is: after the pulse enters the chirped grating for diffraction, the light of different frequencies in the pulse is dispersed due to different diffraction angles, and the placement of the diffractive element makes the optical path of the blue part of the pulse longer than that of the red part, so that the red light is longer than the red part. The chirped grating exits the chirped grating before the blue light, resulting in pulse broadening.
图7为本发明实施例提供的一种脉冲激光输出控制方法的流程示意图,该脉冲激光输出控制方法采用上述实施例提供的任意一种脉冲激光输出装置执行,参考图7,该脉冲激光输出控制方法包括:FIG. 7 is a schematic flowchart of a pulsed laser output control method provided by an embodiment of the present invention. The pulsed laser output control method is implemented by using any one of the pulsed laser output devices provided in the above embodiments. Referring to FIG. 7 , the pulsed laser output control Methods include:
步骤S110、种子源输出种子脉冲激光。Step S110, the seed source outputs a seed pulse laser.
其中,种子源可以为光纤激光器,输出的种子脉冲激光可以为重复频率为20MHz~80MHz的飞秒脉冲。The seed source may be a fiber laser, and the output seed pulse laser may be a femtosecond pulse with a repetition frequency of 20MHz to 80MHz.
步骤S120、触发单元输出触发信号,控制单元根据触发信号控制泵浦源和频率调制单元开启和关闭,以使脉冲激光产生模块按照预设顺序输出脉冲激光。In step S120, the trigger unit outputs a trigger signal, and the control unit controls the pump source and the frequency modulation unit to turn on and off according to the trigger signal, so that the pulse laser generating module outputs pulse laser in a preset sequence.
其中,控制泵浦源和频率调制单元开启和关闭,可以根据需要控制脉冲激光产生模块进入Gate模式或PSO模式。Among them, the pump source and the frequency modulation unit are controlled to be turned on and off, and the pulsed laser generation module can be controlled to enter the Gate mode or the PSO mode as required.
本发明实施例的技术方案,通过种子源产生种子脉冲激光,通过放大单元对种子脉冲激光进行放大;通过控制单元在触发单元输出的触发信号下,控制泵浦源和频率调制单元开启和关闭,以使脉冲激光产生模块按照预设顺序输出脉冲激光。并且通过控制泵浦源和频率调制单元开启和关闭的方式实现脉冲激光输出,降低了激光器成本,同时省去了空间激光频率调制单元引起损耗,可以实现更高功率输出。而且激光器不需要满功率和常出光运转,延长了激光器以及内部器件的使用寿命。In the technical scheme of the embodiment of the present invention, the seed pulse laser is generated by the seed source, and the seed pulse laser is amplified by the amplifying unit; the control unit controls the pump source and the frequency modulation unit to turn on and off under the trigger signal output by the trigger unit, In order to make the pulse laser generating module output the pulse laser according to the preset sequence. In addition, the pulsed laser output is realized by controlling the pump source and the frequency modulation unit to be turned on and off, which reduces the cost of the laser, and at the same time saves the loss caused by the spatial laser frequency modulation unit, and can achieve higher power output. Moreover, the laser does not need to operate at full power and always emits light, which prolongs the service life of the laser and internal devices.
上述具体实施方式,并不构成对本发明保护范围的限制。本领域技术人员应该明白的是,根据设计要求和其他因素,可以进行各种修改、组合、子组合和替代。任何在本发明的精神和原则之内所作的修改、等同替换和改进等,均应包含在本发明保护范围之内。The above-mentioned specific embodiments do not constitute a limitation on the protection scope of the present invention. It should be understood by those skilled in the art that various modifications, combinations, sub-combinations and substitutions may occur depending on design requirements and other factors. Any modifications, equivalent replacements and improvements made within the spirit and principle of the present invention shall be included within the protection scope of the present invention.
| Application Number | Priority Date | Filing Date | Title |
|---|---|---|---|
| CN202210831827.1ACN115102020A (en) | 2022-07-14 | 2022-07-14 | A pulsed laser output control device and control method |
| Application Number | Priority Date | Filing Date | Title |
|---|---|---|---|
| CN202210831827.1ACN115102020A (en) | 2022-07-14 | 2022-07-14 | A pulsed laser output control device and control method |
| Publication Number | Publication Date |
|---|---|
| CN115102020Atrue CN115102020A (en) | 2022-09-23 |
| Application Number | Title | Priority Date | Filing Date |
|---|---|---|---|
| CN202210831827.1APendingCN115102020A (en) | 2022-07-14 | 2022-07-14 | A pulsed laser output control device and control method |
| Country | Link |
|---|---|
| CN (1) | CN115102020A (en) |
| Publication number | Priority date | Publication date | Assignee | Title |
|---|---|---|---|---|
| CN115621831A (en)* | 2022-12-02 | 2023-01-17 | 北京盛镭科技有限公司 | Control method and system for dynamically adjusting number of BURST pulses |
| CN116093726A (en)* | 2022-12-19 | 2023-05-09 | 苏州贝林激光有限公司 | Rapid protection control circuit of ultrafast laser and control method thereof |
| CN116544766A (en)* | 2023-05-26 | 2023-08-04 | 珠海光恒科技有限公司 | Control circuit and method of pump laser and erbium-doped fiber amplifier |
| CN116765622A (en)* | 2023-06-21 | 2023-09-19 | 湖北亿纬动力有限公司 | Laser die-cutting method, device and computer storage medium for battery pole pieces |
| CN117389200A (en)* | 2023-12-08 | 2024-01-12 | 迈为技术(珠海)有限公司 | Laser control system, method and computer equipment based on acousto-optic deflector |
| CN117791504A (en)* | 2023-12-15 | 2024-03-29 | 武汉光至科技有限公司 | Abnormal power-down protection method for laser |
| Publication number | Priority date | Publication date | Assignee | Title |
|---|---|---|---|---|
| CN102263356A (en)* | 2011-06-03 | 2011-11-30 | 中国科学院上海光学精密机械研究所 | Single-frequency narrow linewidth polarization-maintaining all-fiber pulse laser |
| CN103001107A (en)* | 2012-12-13 | 2013-03-27 | 中国科学院上海光学精密机械研究所 | Multi-pass chirped fiber grating pulse broadening device |
| US20140197140A1 (en)* | 2013-01-11 | 2014-07-17 | Electro Scientific Industries, Inc. | Laser pulse energy control systems and methods |
| CN206412629U (en)* | 2017-01-22 | 2017-08-15 | 昆山华辰光电科技有限公司 | The MOPA optical fiber lasers of adjustable pulse width |
| CN107069411A (en)* | 2017-03-30 | 2017-08-18 | 武汉华日精密激光股份有限公司 | High-energy Ps Laser Pulse POD control systems and method |
| CN210487987U (en)* | 2019-09-03 | 2020-05-08 | 中智科仪(北京)科技有限公司 | Laser underwater target detection system based on gated single photon camera |
| CN114552353A (en)* | 2022-01-21 | 2022-05-27 | 北京大学 | Ultrafast laser output pulse time regulation and control method and device |
| Publication number | Priority date | Publication date | Assignee | Title |
|---|---|---|---|---|
| CN102263356A (en)* | 2011-06-03 | 2011-11-30 | 中国科学院上海光学精密机械研究所 | Single-frequency narrow linewidth polarization-maintaining all-fiber pulse laser |
| CN103001107A (en)* | 2012-12-13 | 2013-03-27 | 中国科学院上海光学精密机械研究所 | Multi-pass chirped fiber grating pulse broadening device |
| US20140197140A1 (en)* | 2013-01-11 | 2014-07-17 | Electro Scientific Industries, Inc. | Laser pulse energy control systems and methods |
| CN206412629U (en)* | 2017-01-22 | 2017-08-15 | 昆山华辰光电科技有限公司 | The MOPA optical fiber lasers of adjustable pulse width |
| CN107069411A (en)* | 2017-03-30 | 2017-08-18 | 武汉华日精密激光股份有限公司 | High-energy Ps Laser Pulse POD control systems and method |
| CN210487987U (en)* | 2019-09-03 | 2020-05-08 | 中智科仪(北京)科技有限公司 | Laser underwater target detection system based on gated single photon camera |
| CN114552353A (en)* | 2022-01-21 | 2022-05-27 | 北京大学 | Ultrafast laser output pulse time regulation and control method and device |
| Publication number | Priority date | Publication date | Assignee | Title |
|---|---|---|---|---|
| CN115621831A (en)* | 2022-12-02 | 2023-01-17 | 北京盛镭科技有限公司 | Control method and system for dynamically adjusting number of BURST pulses |
| CN116093726A (en)* | 2022-12-19 | 2023-05-09 | 苏州贝林激光有限公司 | Rapid protection control circuit of ultrafast laser and control method thereof |
| CN116544766A (en)* | 2023-05-26 | 2023-08-04 | 珠海光恒科技有限公司 | Control circuit and method of pump laser and erbium-doped fiber amplifier |
| CN116544766B (en)* | 2023-05-26 | 2024-02-13 | 珠海光恒科技有限公司 | Control circuit and method of pump laser and erbium-doped fiber amplifier |
| CN116765622A (en)* | 2023-06-21 | 2023-09-19 | 湖北亿纬动力有限公司 | Laser die-cutting method, device and computer storage medium for battery pole pieces |
| CN117389200A (en)* | 2023-12-08 | 2024-01-12 | 迈为技术(珠海)有限公司 | Laser control system, method and computer equipment based on acousto-optic deflector |
| CN117791504A (en)* | 2023-12-15 | 2024-03-29 | 武汉光至科技有限公司 | Abnormal power-down protection method for laser |
| Publication | Publication Date | Title |
|---|---|---|
| CN115102020A (en) | A pulsed laser output control device and control method | |
| CA2727985C (en) | Digital laser pulse shaping module and system | |
| TWI413322B (en) | Method and system for tunable pulsed laser source | |
| US9461436B2 (en) | Pulse laser device and burst mode using same, and method for controlling a variable burst mode | |
| KR20090058547A (en) | Method and system for providing a pulsed laser source that emits a shaped optical waveform | |
| CN113410741A (en) | High-repetition-frequency sub-nanosecond all-fiber green light and ultraviolet laser | |
| JPWO2015122374A1 (en) | Laser light source device and laser pulse light generation method | |
| CN112615241B (en) | High-peak power single-frequency narrow-linewidth nanosecond triangular short pulse fiber laser | |
| EP3131163A2 (en) | Laser light-source apparatus and laser pulse light generating method | |
| CN215681231U (en) | Pulse width adjustable optical fiber laser | |
| CN107508138A (en) | A kind of high-speed switch pulse laser | |
| JPH055912A (en) | Multi-stage optical amplifier | |
| CN108847566B (en) | Time-domain waveform controllable laser generation system and method | |
| CN203607667U (en) | Ultrashort pulse all-fiber laser | |
| CN103606807A (en) | Ultrashort pulse all-fiber laser | |
| CN203150894U (en) | Pulse pump type annular resonant cavity nanosecond pulse laser device | |
| CN204349201U (en) | The image intensifer of low self-sustained emission | |
| CN204441699U (en) | A kind of pulse optical fiber | |
| CN116845682A (en) | Pulse width adjustable optical fiber laser | |
| CN105762623A (en) | High-power single-frequency pulsed all-fiber laser | |
| CN103199414A (en) | A Pulse-Pumped Ring Resonator Nanosecond Pulse Laser | |
| CN106558828B (en) | Q-switched pulsed MOPA fiber laser with ring resonator | |
| CN219801481U (en) | High-repetition-frequency subnanosecond all-fiber green light and ultraviolet laser | |
| CN116826493A (en) | Single-frequency fiber laser and coherent lidar detection system using it | |
| CN115459043A (en) | Laser pulse width compression device and control method |
| Date | Code | Title | Description |
|---|---|---|---|
| PB01 | Publication | ||
| PB01 | Publication | ||
| SE01 | Entry into force of request for substantive examination | ||
| SE01 | Entry into force of request for substantive examination |