




本申请是如下申请的分案申请:This application is a divisional application of the following applications:
申请日:2021-1-9Application date: 2021-1-9
申请号:2021100268072Application number: 2021100268072
发明名称:一种神经阻滞麻醉针、麻醉装置及其使用方法。Invention name: A nerve block anesthesia needle, an anesthesia device and a method of using the same.
技术领域technical field
本发明涉及医疗器械技术领域,尤其涉及一种神经阻滞麻醉装置的使用方法。The invention relates to the technical field of medical devices, in particular to a method for using a nerve block anesthesia device.
背景技术Background technique
神经阻滞麻醉是将局麻药注射至外周神经干附近,通过阻断神经冲动的传导,使将神经所支配的区域麻醉。在神经干、丛、节的周围注射局麻药,阻滞其冲动传导,使所支配的区域产生麻醉作用,称神经阻滞.神经阻滞只需注射一处,即可获得较大的麻醉区域.但有引起严重并发症的可能,故操作时必须熟悉局部解剖,了解穿刺针所要经过的组织,以及附近的血管、脏器和体腔等.常用神经阻滞有助间、眶下、坐骨、指(趾)神经干阻滞,颈丛、臂神经丛阻滞,以及诊疗用的星状神经节和腰交感神经节阻滞等。Nerve block anesthesia is the injection of local anesthetics near the peripheral nerve trunk to block the conduction of nerve impulses to anesthetize the area innervated by the nerve. Local anesthetic is injected around the nerve trunk, plexus, and ganglion to block its impulse conduction and make the innervated area anesthetize. .But there is the possibility of serious complications, so you must be familiar with the local anatomy, understand the tissue that the puncture needle will pass through, as well as the nearby blood vessels, organs and body cavities. Finger (toe) nerve trunk block, cervical plexus, brachial plexus block, as well as stellate ganglion and lumbar sympathetic ganglion block for diagnosis and treatment.
麻药注射时,在合适的位置向后、内、下方向推进,当病人诉有放射到手指、腕或前臂的异感时即停止前进,回抽如无血或空气,即注入药液。因此,麻药注射时,还需回抽很重要,能够有效避免穿刺不当,造成的并发症。When the anesthetic is injected, it is advanced backward, inward and downward at a suitable position. When the patient complains of an abnormal sensation radiating to the fingers, wrist or forearm, it will stop moving forward. If there is no blood or air, the drug will be injected. Therefore, when the anesthetic is injected, it is very important to withdraw, which can effectively avoid complications caused by improper puncture.
目前,现用的麻醉针如专利公告号CN106581820A公示的一种多药物注射用改进型麻醉针,只在如何实现一次注射多种药物方面做改进;又如专利公告号CN108355202A公示的一种便携式麻醉针,只在便携方便上做改进;又如专利公告号CN109223054A公示的一种带定位架的骨髓穿刺抽取装置,其用于解决减少穿刺次数的问题,还配有定位架,方便医务人员进行穿刺以及骨髓液抽取操作;等等还有其他的麻醉针均用于解决注射量把控方面的问题。这些现用的麻醉针均不具备在回抽上的提醒功能,一旦进针位置不对,不回抽查看是否穿入动脉或静脉中,则会出现因穿刺不当引起的一系列的并发症状,给患者带来痛苦。At present, the currently used anesthesia needles, such as an improved anesthesia needle for multi-drug injection disclosed in Patent Publication No. CN106581820A, are only improved in how to inject multiple drugs at one time; another example is a portable anesthesia needle disclosed in Patent Publication No. CN108355202A The needle is only improved in terms of portability and convenience; another example is a bone marrow puncture extraction device with a positioning frame disclosed in Patent Bulletin No. CN109223054A, which is used to solve the problem of reducing the number of punctures, and is also equipped with a positioning frame, which is convenient for medical personnel to perform puncture And bone marrow fluid extraction; etc. and other anesthesia needles are used to solve the problem of injection volume control. These current anesthesia needles do not have the reminder function on withdrawal. Once the needle is inserted in the wrong position, if the needle is not withdrawn to check whether it penetrates into the artery or vein, a series of complications will occur due to improper puncture. Pain for the patient.
发明内容SUMMARY OF THE INVENTION
本发明的目的在于提供一种具有回抽提醒的神经阻滞麻醉装置的使用方法,提高穿刺的正确率。The purpose of the present invention is to provide a method of using a nerve block anesthesia device with a retraction reminder to improve the accuracy of puncture.
本发明的技术方案是:一种神经阻滞麻醉装置的使用方法,包括如下步骤:The technical scheme of the present invention is: a method of using a nerve block anesthesia device, comprising the following steps:
步骤一,提供神经阻滞麻醉装置,所述神经阻滞麻醉装置包括支板、麻醉针、及用于调整和保持所述麻醉针与支板之间的角度的角度调节组件,所述角度调节组件设于所述支板上;
所述麻醉针包括具有腔体且前端带出液孔的针筒、与所述针筒匹配的活塞芯杆、以及挡速组件,所述挡速组件包括折臂和支撑囊体,所述针筒的筒壁上设有向所述腔体贯通的槽口,所述折臂铰接于所述槽口中,所述折臂自其铰接点的一个延伸端通过支撑囊体与所述针筒的内壁连接,所述支撑囊体中充有气体,使所述折臂自其铰接点的另一个延伸端自所述槽口延伸至所述腔体内;所述支撑囊体上设有能撕裂并排出气体的封条,所述折臂与所述封条粘贴;The anesthesia needle includes a needle cylinder with a cavity and a liquid outlet hole at the front end, a piston core rod matched with the needle cylinder, and a speed-blocking assembly, the speed-blocking assembly including a folding arm and a support bag, the needle The barrel wall of the barrel is provided with a notch that penetrates to the cavity, the hinged arm is hinged in the notch, and the hinged arm from an extension end of its hinge point passes through the connection between the support bag and the needle barrel. The inner wall is connected, and the supporting bag is filled with gas, so that the folding arm extends from the notch to the cavity from the other extension end of its hinge point; And the seal for exhausting gas, the folding arm is pasted with the seal;
步骤二,将麻醉针套装在所述角度调节组件上并调节麻醉针的角度;
步骤三,角度调节完成后,通过所述角度调节组件保持麻醉针与支板之间的角度;
步骤四,推进麻醉针的活塞芯杆;当活塞芯杆与折臂初次接触时,因支持囊体的作用,产生一个阻力,此时提醒需要将活塞芯杆抽出一段距离;所述折臂在活塞芯杆的初次推力作用下,撕破封条,使支持囊体撕开形成用于排气的口,通过该口将支持囊体中的气体排出;
此时,拉簧产生的拉力克服支持囊体的支撑力,将折臂延伸至腔体内的部分拉回至槽口中;At this time, the pulling force generated by the tension spring overcomes the supporting force of the support bag, and pulls the part of the folding arm extending into the cavity back into the notch;
步骤五,再次推进活塞芯杆,将麻药自出液孔推出;Step 5, push the piston core rod again, and push out the anesthetic from the liquid outlet hole;
步骤六,完成后,拆卸神经阻滞麻醉装置。Step 6, after completion, disassemble the nerve block anesthesia device.
优选的,所述角度调节组件包括齿轮、半齿圈和安装管,所述齿轮可转动的安装在所述支板上,所述半齿圈的内圆面上设有与所述齿轮啮合的轮齿;在步骤二中,将麻醉针套装在所述角度调节组件的安装管中;在步骤三中,角度调节完成后,将半齿圈向支板的方向推进,以固定半齿圈、安装管及麻醉针的角度。Preferably, the angle adjustment assembly includes a gear, a half ring gear and a mounting tube, the gear is rotatably mounted on the support plate, and the inner circular surface of the half ring gear is provided with a gear meshing with the gear gear teeth; in
优选的,所述半齿圈临近所述支板的一侧设有第一吸盘,在步骤三中,通过所述第一吸盘与支板的吸附以固定半齿圈、安装管及麻醉针的角度。Preferably, a first suction cup is provided on the side of the half ring gear adjacent to the support plate. In
与相关技术相比,本发明的有益效果为:Compared with the related art, the beneficial effects of the present invention are:
一、使麻醉针具备提醒操作者回抽的功能,提高穿刺正确率,减少患者不舒适感;1. Make the anesthesia needle have the function of reminding the operator to withdraw, improve the accuracy of puncture, and reduce the discomfort of the patient;
二、通过采用充气的支撑气囊,能实现阻挡力的产生和快速释放,既能很好的起到提示作用,又不影响麻醉针的使用;2. By using an inflatable support airbag, the generation and rapid release of the blocking force can be realized, which can not only play a good prompting role, but also does not affect the use of anesthesia needles;
三、通过限位组件实现麻醉针的定位,避免使用过程中的位置摆动而影响麻醉的注射;3. The positioning of the anesthesia needle is realized by the limit component, so as to avoid the position swing during use and affect the injection of anesthesia;
四、角度调节组件通过齿轮啮合实现转动和滑动,不仅能够精准调节角度,还能够快速实现角度的位置固定;4. The angle adjustment component rotates and slides through gear meshing, which can not only adjust the angle accurately, but also quickly fix the position of the angle;
五、通过设计吸附件,一方面,能够找准穿刺的位置,另一方面,利于麻药向腋销近、端扩散,以利于阻滞肌皮神经。5. By designing the adsorbent, on the one hand, the position of the puncture can be pinpointed, and on the other hand, it is beneficial for the anesthetic to spread to the proximal and end of the axillary pin so as to block the musculocutaneous nerve.
附图说明Description of drawings
图1为本发明提供的神经阻滞麻醉针的结构示意图;Fig. 1 is the structural representation of the nerve block anesthesia needle provided by the present invention;
图2为图1中的A处放大示意图;Fig. 2 is the enlarged schematic diagram of A place in Fig. 1;
图3为图1中的限位组件的截图示意图;FIG. 3 is a schematic screenshot of the limiting assembly in FIG. 1;
图4为本发明提供的神经阻滞麻醉装置的结构示意图;4 is a schematic structural diagram of the nerve block anesthesia device provided by the present invention;
图5为图4的左侧视图且去掉麻醉针和吸附件的示意图。FIG. 5 is a schematic diagram of the left side view of FIG. 4 with the anesthesia needle and the adsorption member removed.
附图中:1-麻醉针、11-针筒、111-腔体、112-槽口、12-针体、13-活塞芯杆、14-挡速组件、141-折臂、1411-第一臂、1412-第二臂、1413-挡齿、142-支撑囊体、1421-封条、143-拉簧、15-限位组件、151-套环、152-挡板、153-滑块、2-压板、3-支板、4-角度调节组件、41-齿轮、42-半齿圈、43-安装管、431-滑槽、44-调节手柄、45-第一吸盘、46-拉手、5-吸附件、51-球囊、52-第二吸盘、53-硬环、54-阀门、55-拉绳。In the drawings: 1-anesthesia needle, 11-needle cylinder, 111-cavity, 112-notch, 12-needle body, 13-piston core rod, 14-speed block assembly, 141-folding arm, 1411-first Arm, 1412-Second Arm, 1413-Blocking Teeth, 142-Supporting Bag, 1421-Seal, 143-Extension Spring, 15-Limiting Assembly, 151-Sleeve, 152-Baffle, 153-Slider, 2 -Pressing plate, 3-support plate, 4-Angle adjustment assembly, 41-Gear, 42-Half gear, 43-Installation pipe, 431-Chute, 44-Adjustment handle, 45-First suction cup, 46-Handle, 5 -Adsorption piece, 51-balloon, 52-second suction cup, 53-hard ring, 54-valve, 55-pull rope.
具体实施方式Detailed ways
以下将参考附图并结合实施例来详细说明本发明。需要说明的是,在不冲突的情况下,本发明中的实施例及实施例中的特征可以相互组合。为叙述方便,下文中如出现“上”、“下”、“左”、“右”字样,仅表示与附图本身的上、下、左、右方向一致,并不对结构起限定作用。The present invention will be described in detail below with reference to the accompanying drawings and in conjunction with the embodiments. It should be noted that the embodiments of the present invention and the features of the embodiments may be combined with each other under the condition of no conflict. For the convenience of description, the words "up", "down", "left" and "right" appear in the following text, which only means that the directions of up, down, left and right are consistent with the drawings themselves, and do not limit the structure.
如图1所示,本实施例提供的一种神经阻滞麻醉针包括针筒11、针体12、活塞芯杆13、挡速组件14和限位组件15。As shown in FIG. 1 , a nerve block anesthesia needle provided in this embodiment includes a
所述针筒11具有腔体111,且前端带出液孔,该出液孔上安装有针体12,针体12与出液孔连通。所述活塞芯杆13与所述针筒12匹配,且所述活塞芯杆13能够在针筒12的腔体111内滑动。The
如图1、2所示,所述针筒11的筒壁上设有向所述腔体111贯通的槽口112。所述挡速组件14包括折臂141、支撑囊体142和拉簧143。As shown in FIGS. 1 and 2 , a
所述折臂141包括第一臂1411和与所述第一臂1411呈钝角连接的第二臂1412。所述第一臂1411通过所述支撑囊体142与针筒11的内壁连接。所述支撑囊体142中充有气体,使得所述第二臂1412延伸至所述腔体111内。所述支撑囊体142上设有能撕裂并排出气体的封条1421,所述封条1421在活塞芯杆13的行进方向上与所述折臂141的第一臂1411粘贴。所述第一臂1411和第二臂1412的折角与所述针筒11铰接。封条1421安装在活塞芯杆滑动方向的位置上,当第二臂1412被活塞芯杆13推动后,第一臂1411能够快速撕开封条1421,只需稍微有个小口,便能释放支撑囊体142中的气体。The
所述拉簧143位于所述支撑囊体142的旁侧,且所述拉簧143连接所述第一臂1411和针筒11的筒壁。当所述支撑囊体142中的气体排出后,所述拉簧143将所述第二臂1412自所述腔体111拉回至槽口112内。The
在本实施例中,所述第一臂1411和第二臂1412的钝角朝向与所述活塞芯杆13的行进方向相反(如图1、2所示),该结构的第二臂1412被拉簧143以如图1所示的顺时针方向拉回槽口112。在其他实施例中,所述第一臂1411和第二臂1412的钝角朝向还可以与所述活塞芯杆的行进方向相同,该结构的第二臂1412则被拉簧143以逆时针方向拉回至槽口112中。无论是哪种安装方式,所述第二臂1412上均设有挡齿1413,所述挡齿1413朝向活塞芯杆13的行进方向的反向侧。所述挡齿1413能够将活塞芯杆13的推进力加大并转为撕拉力,快速将封条1421撕开。In this embodiment, the obtuse angles of the
所述挡速组件14可在针筒11的圆周布置两个,增加阻力,实现较好的手感。Two of the
如图1、3所示,所述限位组件15包括套环151、设于所述套环151一端的挡板152、以及在所述套环151上呈圆周分布的滑块152。所述套环151套装于所述针筒11上,所述滑块152的一端与所述挡板152贴合。所述滑块152在所述套环151上至少分布四个,四个呈90度分布,在该夹角内能够很好的将麻醉针平稳放置,通过滑块与滑块之间,防止麻醉针的转动。所述挡板152远离所述出液孔设置,且所述挡板152的外形为六边形,与四个滑块153实现不同角度的限位。As shown in FIGS. 1 and 3 , the limiting
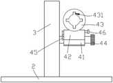
如图4、5所示,本发明还提供一种神经阻滞麻醉装置,其包括麻醉针1、压板2、支板3、角度调节组件4和吸附件5。所述麻醉针1为上述的神经阻滞麻醉针。As shown in FIGS. 4 and 5 , the present invention also provides a nerve block anesthesia device, which includes an
所述支板3设于所述压板2上,两者形成T字形结构。使用时,所述压板2的底部设有粘贴件(未图示),通过撕开离型膜,将压板2及其上的整个麻醉装置粘贴在床上或者患者身体上。或者,也可以将压板2置于患者的身体下,通过患者的身体将其按压固定,因此,所述支板3设于所述压板2的一端。The
所述麻醉针1与所述支板3设置的角度调节组件4连接,所述角度调节组件4用于调整和保持所述麻醉针1与支板3之间的角度。The
所述角度调节组件4包括齿轮41、半齿圈42、安装管43、调节手柄44、第一吸盘45和拉手46。所述齿轮41通过转轴(未标号)可转动的安装在所述支板3上。所述半齿圈42的内圆面上设有与所述齿轮41啮合的轮齿,且所述半齿圈42的内圆与所述齿轮41的外圆匹配。所述半齿圈42的外圆面上与所述安装管42连接,且所述半齿圈与所述安装管一体成型。所述安装管43用于套装所述麻醉针1,具体的,所述安装管43内呈圆周设置有与滑块153位置及数量对应的滑槽431,插装时,所述滑块与所述滑槽431配合。The
所述齿轮41远离所述支板3的一侧设有调节手柄44。所述半齿圈42临近所述支板3的一侧设有第一吸盘45。所述半齿圈42远离所述支板3的一侧设有拉手46。An adjusting handle 44 is provided on the side of the
通过该齿轮41与半齿圈42的齿轮啮合实现齿轮41的转动,并带动半齿圈42、安装管43和麻醉针1一同转动,位置调节好后,再通过齿轮啮合形成滑道,将半齿圈42向支板3的方向推进并通过第一吸盘45的吸附力固定。The
当需要重新调整角度时,通过拉手46将半齿圈42上的第一吸盘45与支板3脱离,使半齿圈42无任何约束,能够与齿轮41一同进行角度调整。When the angle needs to be readjusted, the
如图4所示,所述吸附件5包括球囊51和设于所述球囊51一端并与所述球囊51内部连通的第二吸盘52,所述第二吸盘52远离球囊51的末端设有硬环53。所述球囊51上设有与球囊51内部连通的阀门54。所述球囊51远离第二吸盘52的一端与所述支板3连接。 所述球囊51通过拉绳55与所述支板3连接,所述拉绳可为弹性拉绳,需要保证吸附件5有足够的使用长度。As shown in FIG. 4 , the adsorption member 5 includes a
本发明还提供一种神经阻滞麻醉装置的使用方法,包括:The present invention also provides a method for using the nerve block anesthesia device, comprising:
S1、将所述神经阻滞麻醉装置置于使用者旁侧合适位置,通过所述压板2将整个装置固定,要么采用粘贴,要么采用身体压实。S1. The nerve block anesthesia device is placed at a suitable position beside the user, and the entire device is fixed by the
S2、将麻醉针1套装在所述角度调节组件4的安装管中,且使麻醉针1上的滑块153与所述安装管43内的滑槽431配合,且在出液孔处安装针体12。S2. Set the
S3、旋转调节手柄,以调节麻醉针至合适角度。一般,麻醉针1与目标位置成60°角。S3. Rotate the adjustment handle to adjust the anesthesia needle to an appropriate angle. Typically, the
S4、角度调节完成后,将半齿圈42向支板3的方向推进,使第一吸盘45与支板3接触并吸附,以固定半齿圈42、安装管43及麻醉针1的角度。S4. After the angle adjustment is completed, push the
S5、将吸附件5的硬环53贴附于目标位置的旁侧,同时挤瘪球囊并松开,球囊产生负压使硬环与目标位置的旁侧紧密贴合;拉动吸附件,使目标位置隆起。S5. Attach the
S6、在隆起的合适位置进针,进针的同时限位组件15上的滑块153在安装管43中的滑槽431内滑动。到达合适深度后(针尖进入1~2cm深度),推进麻醉针的活塞芯杆13。进针需要缓慢,一般情况下,还需将针退回2mm。在所述限位组件15上设置挡板152,也起到了避免进针过深的限位作用。S6. Insert the needle at the proper position of the bulge, and at the same time the needle is inserted, the
S7、当活塞芯杆13与折臂141的第二臂1412初次接触时,因支持囊体142的作用,产生一个阻力,此时,操作者手感后,需将活塞芯杆13抽出一段距离。所述折臂141在活塞芯杆13的初次推力作用下转动并撕破封条1421,使支持囊体142撕开一个用于排气的口,通过该口将支持囊体142中的气体排出。S7. When the
S8、此时,拉簧143产生的拉力克服支持囊体142的支撑力,将折臂141延伸至腔体111内的部分(第二臂1412)拉回至槽口112中。S8. At this time, the pulling force generated by the
S9、在步骤S7中回抽活塞芯杆时没有异常(异常指抽出血液),则再次推进活塞芯杆13,将麻药自出液孔推出至组织内。如抽出有异常,则需退针重新调整位置。S9. In step S7, there is no abnormality when the piston core rod is withdrawn (abnormality refers to drawing out blood), then push the
如需重新调整角度时,则通过拉手46将半齿圈42抽出,使其上的第一吸盘45与支板3脱离,再重新通过转动调节手柄44,将麻醉针调节至合适的角度位置并固定,再按上述步骤进针。When the angle needs to be readjusted, the
S10、麻醉注射完成后,将麻醉针1自安装管43中滑出,并将吸附件5的阀门54打开,释放负压。S10. After the anesthesia injection is completed, slide the
以上所述仅为本发明的实施例,并非因此限制本发明的专利范围,凡是利用本发明说明书及附图内容所作的等效结构或等效流程变换,或直接或间接运用在其它相关的技术领域,均同理包括在本发明的专利保护范围内。The above descriptions are only the embodiments of the present invention, and are not intended to limit the scope of the present invention. Any equivalent structure or equivalent process transformation made by using the contents of the description and drawings of the present invention, or directly or indirectly applied to other related technologies Fields are similarly included in the scope of patent protection of the present invention.
| Application Number | Priority Date | Filing Date | Title |
|---|---|---|---|
| CN202210802160.2ACN115054338A (en) | 2021-01-09 | 2021-01-09 | Use method of nerve block anesthesia device |
| Application Number | Priority Date | Filing Date | Title |
|---|---|---|---|
| CN202110026807.2ACN112472251B (en) | 2021-01-09 | 2021-01-09 | Nerve block anesthesia needle, anesthesia device and use method thereof |
| CN202210802160.2ACN115054338A (en) | 2021-01-09 | 2021-01-09 | Use method of nerve block anesthesia device |
| Application Number | Title | Priority Date | Filing Date |
|---|---|---|---|
| CN202110026807.2ADivisionCN112472251B (en) | 2021-01-09 | 2021-01-09 | Nerve block anesthesia needle, anesthesia device and use method thereof |
| Publication Number | Publication Date |
|---|---|
| CN115054338Atrue CN115054338A (en) | 2022-09-16 |
| Application Number | Title | Priority Date | Filing Date |
|---|---|---|---|
| CN202210802160.2APendingCN115054338A (en) | 2021-01-09 | 2021-01-09 | Use method of nerve block anesthesia device |
| CN202110026807.2AActiveCN112472251B (en) | 2021-01-09 | 2021-01-09 | Nerve block anesthesia needle, anesthesia device and use method thereof |
| Application Number | Title | Priority Date | Filing Date |
|---|---|---|---|
| CN202110026807.2AActiveCN112472251B (en) | 2021-01-09 | 2021-01-09 | Nerve block anesthesia needle, anesthesia device and use method thereof |
| Country | Link |
|---|---|
| CN (2) | CN115054338A (en) |
| Publication number | Priority date | Publication date | Assignee | Title |
|---|---|---|---|---|
| JP2002143303A (en)* | 2000-11-16 | 2002-05-21 | Jms Co Ltd | Safety syringe |
| US8328738B2 (en)* | 2007-06-29 | 2012-12-11 | Actuated Medical, Inc. | Medical tool for reduced penetration force with feedback means |
| US20090062750A1 (en)* | 2007-08-27 | 2009-03-05 | Morteza Gharib | Medical device for injecting a local anesthetic |
| WO2009124192A1 (en)* | 2008-04-02 | 2009-10-08 | Laurimed, Llc | Methods and devices for delivering injections |
| US8622962B1 (en)* | 2008-07-14 | 2014-01-07 | Dartmouth-Hitchcock Clinic | Safety syringe and method for using the same |
| WO2011155988A1 (en)* | 2010-06-10 | 2011-12-15 | Colantonio Anthony J | Apparatus and method for safely inserting an introducer needle into epidural space |
| CN107510495A (en)* | 2017-09-14 | 2017-12-26 | 吉林市人民医院 | Ultrasound guidance nerve block anesthesia liquid medicine injection system |
| CN110575236B (en)* | 2019-09-04 | 2022-09-20 | 贵州医科大学 | Puncture integrated device with multiple indexes and accurate positioning for spinal anesthesia |
| CN112168295B (en)* | 2020-09-24 | 2022-06-14 | 吉林大学 | Single-person ultrasonic-guided nerve-blocking anesthetic injection auxiliary puncture device |
| Publication number | Publication date |
|---|---|
| CN112472251A (en) | 2021-03-12 |
| CN112472251B (en) | 2022-07-29 |
| Publication | Publication Date | Title |
|---|---|---|
| CN205759059U (en) | Safety venous port not damaged pin puncture fixator | |
| CN112472251B (en) | Nerve block anesthesia needle, anesthesia device and use method thereof | |
| CN111035439A (en) | Nerve block puncture injection device | |
| CN110721364A (en) | metered dose insulin pump | |
| CN209269757U (en) | A kind of dedicated buttocks retractor of hemorrhoid complicated by anal fistula operation | |
| CN103691033A (en) | Puncture needle for brachial plexus block | |
| CN102715925B (en) | Lower opener for endoscope | |
| CN205964679U (en) | Device is kept somewhere in nasal sinus drainage | |
| CN203619559U (en) | Soft uterus expanding probe | |
| CN110227203A (en) | Subcutaneous microneedle injection device and subcutaneous injection box set | |
| CN214807688U (en) | Local anesthesia device for anesthesia department | |
| CN104857625B (en) | It is a kind of to be used to puncture the apparatus with drug administration by injection | |
| CN211796759U (en) | Puncture device for surgical clinic | |
| CN211325458U (en) | Nerve block puncture medicine injection device | |
| CN211410468U (en) | Novel puncture-preventing easy-to-fix intravenous infusion needle | |
| CN207445012U (en) | A kind of department of anesthesia combined anesthesia puncture needle | |
| CN203663172U (en) | Puncture needle for brachial plexus nerve block | |
| CN106166315B (en) | Muscle remaining needle | |
| CN221130621U (en) | An injection needle with local anesthetic | |
| CN111820997A (en) | Positioning type intraspinal anesthesia needle | |
| CN215129753U (en) | A nerve block puncture device | |
| CN219422922U (en) | Nerve block needle injection device | |
| CN110693641A (en) | Pre-assembled pen type ICI injection device and operation method | |
| CN215608337U (en) | Infusion needle capable of preventing needle stick injury | |
| CN2652414Y (en) | Syringe without needle |
| Date | Code | Title | Description |
|---|---|---|---|
| PB01 | Publication | ||
| PB01 | Publication | ||
| SE01 | Entry into force of request for substantive examination | ||
| SE01 | Entry into force of request for substantive examination | ||
| WD01 | Invention patent application deemed withdrawn after publication | ||
| WD01 | Invention patent application deemed withdrawn after publication | Application publication date:20220916 |