



技术领域technical field
本公开涉及信息技术领域,尤其涉及文档信息的显示方法及装置、终端和存储介质。The present disclosure relates to the field of information technology, and in particular, to a method and device for displaying document information, a terminal, and a storage medium.
背景技术Background technique
用户在进行文档页面管理的时候,通常展示文档的标题及其标识等相关信息,让用户能更好的进行查找和管理。目前的文档标识通常反映的是相应的文档的格式,例如,PDF或Word等,或者直接将文档首页作为标识显示。这种文档标识并没有给出足够的有帮助的信息来帮助用户对文档进行管理和查找,期待进一步的改进。When users manage document pages, they usually display relevant information such as the title of the document and its identification, so that users can better search and manage. The current document identification usually reflects the format of the corresponding document, such as PDF or Word, or directly displays the first page of the document as the identification. This document identification does not give enough helpful information to help users manage and find documents, and further improvements are expected.
发明内容SUMMARY OF THE INVENTION
为解决现有问题,本公开提供一种文档信息的显示方法及装置、终端和存储介质。In order to solve the existing problems, the present disclosure provides a method and device for displaying document information, a terminal and a storage medium.
本公开采用以下的技术方案。The present disclosure adopts the following technical solutions.
本公开的实施例提供一种文档信息的显示方法,所述显示方法包括:确定文档中的区块的区块数量和区块类型;基于所述区块的区块数量和区块类型,在文档标识中显示与所述区块数量和所述区块类型对应的信息。An embodiment of the present disclosure provides a method for displaying document information, the display method comprising: determining the block number and block type of blocks in a document; Information corresponding to the block number and the block type is displayed in the document identification.
本公开的另一实施例提供了一种文档信息的显示装置,所述显示装置包括:区块数量和类型确定模块,配置为确定文档中区块的区块数量和区块类型;信息显示模块,配置为基于所述区块的区块数量和区块类型,在文档标识中显示与所述区块数量和区块类型对应的信息。Another embodiment of the present disclosure provides a document information display device, the display device includes: a block quantity and type determination module configured to determine the block number and block type of the blocks in the document; an information display module , configured to display information corresponding to the number of blocks and the type of blocks in the document identification based on the number of blocks and the type of blocks of the blocks.
在一些实施例中,本公开提供一种终端,包括:至少一个存储器和至少一个处理器;其中,存储器用于存储程序代码,处理器用于调用所述存储器所存储的程序代码执行上述文档信息的显示方法。In some embodiments, the present disclosure provides a terminal, comprising: at least one memory and at least one processor; wherein the memory is used for storing program codes, and the processor is used for calling the program codes stored in the memory to execute the above-mentioned document information. Display method.
在一些实施例中,本公开提供一种存储介质,所述存储介质用于存储程序代码,所述程序代码用于执行上述文档信息的显示方法。In some embodiments, the present disclosure provides a storage medium for storing program codes for executing the above-described display method of document information.
在本公开的一些实施例中,根据区块的区块数量和区块类型来确定文档标识的展示样式,提高了文档标识的展示价值,用户不需要预览或点击进入文档页面就可预先知道该文档的相应信息,进而判断该文档页面的信息结构,确定该文档是否为需要查找的对象,提升了用户体验。In some embodiments of the present disclosure, the display style of the document identification is determined according to the number of blocks and the type of the block, which improves the display value of the document identification, and users can know in advance the document identification without previewing or clicking to enter the document page Corresponding information of the document is further determined, and the information structure of the document page is judged to determine whether the document is the object to be searched, which improves the user experience.
附图说明Description of drawings
结合附图并参考以下具体实施方式,本公开各实施例的上述和其他特征、优点及方面将变得更加明显。贯穿附图中,相同或相似的附标识记表示相同或相似的元素。应当理解附图是示意性的,元件和元素不一定按照比例绘制。The above and other features, advantages and aspects of various embodiments of the present disclosure will become more apparent when taken in conjunction with the accompanying drawings and with reference to the following detailed description. Throughout the drawings, the same or similar reference numbers refer to the same or similar elements. It should be understood that the drawings are schematic and that elements and elements are not necessarily drawn to scale.
图1是本公开的实施例的文档信息的显示方法的流程图。FIG. 1 is a flowchart of a display method of document information according to an embodiment of the present disclosure.
图2示出了本公开的另一实施例的文档信息的显示方法的流程图。FIG. 2 shows a flowchart of a method for displaying document information according to another embodiment of the present disclosure.
图3是本公开的另一实施例的用于文档信息的显示装置的部分模块。FIG. 3 is a partial module of a display device for document information according to another embodiment of the present disclosure.
图4是本公开实施例的电子设备的结构示意图。FIG. 4 is a schematic structural diagram of an electronic device according to an embodiment of the present disclosure.
具体实施方式Detailed ways
下面将参照附图更详细地描述本公开的实施例。虽然附图中显示了本公开的某些实施例,然而应当理解的是,本公开可以通过各种形式来实现,而且不应该被解释为限于这里阐述的实施例,相反提供这些实施例是为了更加透彻和完整地理解本公开。应当理解的是,本公开的附图及实施例仅用于示例性作用,并非用于限制本公开的保护范围。Embodiments of the present disclosure will be described in more detail below with reference to the accompanying drawings. While certain embodiments of the present disclosure are shown in the drawings, it should be understood that the present disclosure may be embodied in various forms and should not be construed as limited to the embodiments set forth herein, but rather are provided for the purpose of A more thorough and complete understanding of the present disclosure. It should be understood that the drawings and embodiments of the present disclosure are only for exemplary purposes, and are not intended to limit the protection scope of the present disclosure.
应当理解,本公开的方法实施方式中记载的各个步骤可以按和/或并行执行。此外,方法实施方式可以包括附加的步骤和/或省略执行示出的步骤。本公开的范围在此方面不受限制。It should be understood that the various steps described in the method embodiments of the present disclosure may be performed in sequence and/or in parallel. Furthermore, method embodiments may include additional steps and/or omit performing the illustrated steps. The scope of the present disclosure is not limited in this regard.
本文使用的术语“包括”及其变形是开放性包括,即“包括但不限于”。术语“基于”是“至少部分地基于”。术语“一个实施例”表示“至少一个实施例”;术语“另一实施例”表示“至少一个另外的实施例”;术语“一些实施例”表示“至少一些实施例”。其他术语的相关定义将在下文描述中给出。As used herein, the term "including" and variations thereof are open-ended inclusions, ie, "including but not limited to". The term "based on" is "based at least in part on." The term "one embodiment" means "at least one embodiment"; the term "another embodiment" means "at least one additional embodiment"; the term "some embodiments" means "at least some embodiments". Relevant definitions of other terms will be given in the description below.
需要注意,本公开中提及的“第一”、“第二”等概念仅用于对不同的装置、模块或单元进行区分,并非用于限定这些装置、模块或单元所执行的功能的顺序或者相互依存关系。It should be noted that concepts such as "first" and "second" mentioned in the present disclosure are only used to distinguish different devices, modules or units, and are not used to limit the order of functions performed by these devices, modules or units or interdependence.
需要注意,本公开中提及的“一个”的修饰是示意性而非限制性的,本领域技术人员应当理解,除非在上下文另有明确指出,否则应该理解为“一个或多个”。It should be noted that the modification of "a" mentioned in the present disclosure is illustrative rather than restrictive, and those skilled in the art should understand that unless the context clearly indicates otherwise, it should be understood as "one or more".
本公开实施方式中的多个装置之间所交互的消息或者信息的名称仅用于说明性的目的,而并不是用于对这些消息或信息的范围进行限制。The names of messages or information exchanged between multiple devices in the embodiments of the present disclosure are only for illustrative purposes, and are not intended to limit the scope of these messages or information.
目前的文档标识通常显示的是格式信息,例如,从标识中能够看出是PDF或word。用户从这种类型的标识仅能得知该文档是什么格式类型的文件,并不能帮助用户对文档进行快速管理和查找,尤其是在文档均是相同格式的文档时。The current document identification usually displays format information, for example, PDF or word can be seen from the identification. From this type of identification, the user can only know what type of file the document is, and cannot help the user to quickly manage and search for the document, especially when the documents are all in the same format.
如图1所示,本公开的实施例提供了一种文档信息的显示方法的流程图。本公开的文档信息的显示方法可以包括步骤S101,确定文档中的区块的区块数量和区块类型。在本公开的实施例中,文档可以是各种格式的文档,包括但不限于PDF文档、word文档和在线文档。在本公开的实施例中,区块指的是文档中的用于承载内容的单元,并且一个区块可以备课指一段或多段内容。在本公开的实施例中,区块类型包括任何合适的区块类型,包括但不限于文本区块、标题区块、项目列表区块、顺序列表区块、目标列表区块、待办列表区块、图像区块和引述区块。As shown in FIG. 1 , an embodiment of the present disclosure provides a flowchart of a method for displaying document information. The method for displaying document information of the present disclosure may include step S101 , determining the block number and block type of the blocks in the document. In the embodiments of the present disclosure, the documents may be documents in various formats, including but not limited to PDF documents, word documents, and online documents. In the embodiments of the present disclosure, a block refers to a unit in a document for carrying content, and a block may refer to one or more pieces of content. In an embodiment of the present disclosure, the block type includes any suitable block type, including but not limited to text block, title block, item list block, sequence list block, target list block, to-do list block Blocks, Image Blocks, and Quote Blocks.
在一些实施例中,文本区块可以是包括整段文本的区块。在一些实施例中,标题区块可以是包括文本标题的区块。在一些实施例中,项目列表区块可以为呈现项目内容的文本。在一些实施例中,顺序列表区块可以是指体现顺序步骤的文本。在一些实施例中,目标列表区块可以是指呈现多个目标项目的文本。在一些实施例中,待办列表区块可以是指陈述多个待办事项的列表。在一些实施例中,图像区块可以是显示图像的区块。在一些实施例中,引述区块可以是指引述内容的文本。应该理解,这仅是示例性的,可以根据其他规则将区块类型分成其他合适的类型。In some embodiments, a block of text may be a block that includes an entire paragraph of text. In some embodiments, the title block may be a block that includes a text title. In some embodiments, the item list block may be text that presents the content of the item. In some embodiments, a sequential list block may refer to text that embodies sequential steps. In some embodiments, a target list block may refer to text that presents multiple target items. In some embodiments, a to-do list block may refer to a list that states a plurality of to-do items. In some embodiments, the image block may be a block that displays an image. In some embodiments, the quote block may be text that refers to the content. It should be understood that this is only exemplary and that block types may be divided into other suitable types according to other rules.
在一些实施例中,本公开的文档信息的显示方法还可以包括步骤S102,基于区块的区块数量和区块类型,在文档标识中显示与区块数量和区块类型对应的信息。在一些实施例中,文档标识是指文档的图标。在一些实施例中,在文档标识中显示与区块数量和区块类型对应的信息,而通常地,文档标识显示的是文档的格式。本公开的实施例通过在文档标识中显示与区块数量和区块类型对应的信息,使得文档标识能够反映文档的更多信息,给用户参考,帮助查找和管理相应的文档。在一些实施例中,根据区块的区块数量和区块类型来确定文档标识的展示样式,提高了文档标识的展示价值,用户不需要预览或点击进入文档页面就可预先知道该文档的相应信息,进而判断该文档页面的信息结构,确定该文档是否为需要查找的对象,提升了用户体验。In some embodiments, the method for displaying document information of the present disclosure may further include step S102 , based on the block number and block type of the block, displaying information corresponding to the block number and block type in the document identifier. In some embodiments, the document identification refers to the icon of the document. In some embodiments, the information corresponding to the number of blocks and the block type is displayed in the document identification, while typically the document identification shows the format of the document. In the embodiment of the present disclosure, by displaying information corresponding to the number of blocks and block types in the document identifier, the document identifier can reflect more information of the document, provide users with reference, and help to find and manage the corresponding document. In some embodiments, the display style of the document identification is determined according to the number of blocks and the type of the block, which improves the display value of the document identification, and the user can know in advance the corresponding information of the document without previewing or clicking to enter the document page. information, and then judge the information structure of the document page, determine whether the document is the object to be searched, and improve the user experience.
在一些实施例中,本公开的文档信息的显示方法还包括:确定文档中是否存在图片,当存在图片时,在文档标识中显示图片的关联信息。在一些实施例中,该图片是指文档的预定位置图片组件中的图片,图片组件用于插入图片,例如组件可以位于文档顶部、中部、底部或者任意可插入图片的位置。因此,当文档中的图片组件中插入了图片时,在文档标识中显示图片的关联信息。在一些实施例中,图片的关联信息包括按比例缩小的图片。图片便于用户的识别,通过在文档标识中显示文档顶部的图片,更容易地让用户得知里面的文档内容,从而为用户提供更多的参考信息。In some embodiments, the method for displaying document information of the present disclosure further includes: determining whether there is a picture in the document, and when there is a picture, displaying the associated information of the picture in the document identification. In some embodiments, the picture refers to a picture in a picture component at a predetermined position of the document, and the picture component is used to insert a picture. For example, the component can be located at the top, middle, bottom or any position where pictures can be inserted. Therefore, when a picture is inserted into the picture component in the document, the associated information of the picture is displayed in the document identification. In some embodiments, the picture's associated information includes a scaled-down picture. The picture is easy for the user to identify. By displaying the picture at the top of the document in the document identification, it is easier for the user to know the content of the document inside, thereby providing the user with more reference information.
在一些实施例中,确定文档中是否存在图片包括:确定文档中的预定位置的预设组件中是否存在图片。在一些实施例中,预定位置可以包括文档顶部,特别地,文档顶部的中央位置。在一些实施例中,预设组件可以包括图片组件。在一些实施例中,当存在图片时,在文档标识中显示图片的关联信息包括:在文档标识中与预定位置对应的位置显示图片的关联信息。如此,在文档标识中还能够显示与文档的图片的位置对应的信息,给用户提供了更多的文档信息,方便用户对文档的查找和管理。In some embodiments, determining whether a picture exists in the document includes: determining whether a picture exists in a preset component of a predetermined location in the document. In some embodiments, the predetermined position may include the top of the document, in particular, the central position of the top of the document. In some embodiments, the preset component may include a picture component. In some embodiments, when there is a picture, displaying the associated information of the picture in the document identification includes: displaying the associated information of the picture at a position corresponding to the predetermined position in the document identification. In this way, information corresponding to the position of the picture of the document can also be displayed in the document identification, which provides the user with more document information and facilitates the user to search and manage the document.
在一些实施例中,文档的图片组件中的图片可根据相应调整指令改变图片的宽度,响应于图片组件中图片的宽度变化,调整文档标识中图片的关联信息的显示比例,例如可以调整关联信息的宽度、高度或者对关联信息进行整体缩放。In some embodiments, the picture in the picture component of the document can change the width of the picture according to the corresponding adjustment instruction, and in response to the change in the width of the picture in the picture component, adjust the display ratio of the related information of the picture in the document identification, for example, the related information can be adjusted width, height, or the overall scaling of the associated information.
在一些实施例中,确定文档中是否存在图片包括:确定文档中是否存在预定属性信息的图片。在一些实施例中,预定属性信息类似于文件信息,可以包括创作者、创建时间和/或内容信息等等。在一些实施例中,当存在图片时,在文档标识中显示图片的关联信息包括:在文档标识中显示与预定属性信息匹配的图片的关联信息。如此,可以对文档的图片进行筛选显示,仅显示预定属性信息的图片,方便了用于对文档的查找和筛选。In some embodiments, determining whether a picture exists in the document includes determining whether a picture of predetermined attribute information exists in the document. In some embodiments, the predetermined attribute information is similar to file information, and may include creator, creation time, and/or content information, among others. In some embodiments, when there is a picture, displaying the associated information of the picture in the document identification includes: displaying the associated information of the picture matching the predetermined attribute information in the document identification. In this way, the pictures of the document can be filtered and displayed, and only the pictures of the predetermined attribute information can be displayed, which is convenient for searching and filtering the document.
在一些实施例中,本公开的文档信息的显示方法还包括:响应于检测到文档中的区块的区块数量和区块类型的变化,基于变化后的区块数量和区块类型更新文档标识所显示的信息。在一些实施例中,随着文档内容的修改或更新,需要基于修改后的内容更新文档标识的信息,使得文档标识的信息与文档内容保持一致性。在一些实施例中,文档可以包括在线文档,具备在线协同性质,在该文档被别的有权限的用户更新之后,本地的文档页会发生相应的变更。在一些实施例中,在文档由于协同等原因发生变更之后,文档标识也发生相应的变更,从而能够与文档内容保持高度一致,提高文档标识内容的准确度。In some embodiments, the method for displaying document information of the present disclosure further includes: in response to detecting changes in the number of blocks and types of blocks in the blocks in the document, updating the document based on the number of blocks and types of blocks after the changes Identifies the information displayed. In some embodiments, as the content of the document is modified or updated, the information of the document identification needs to be updated based on the modified content, so that the information of the document identification is consistent with the content of the document. In some embodiments, the document may include an online document, which has the nature of online collaboration. After the document is updated by another authorized user, the local document page will be changed accordingly. In some embodiments, after the document is changed due to coordination and other reasons, the document identification is also changed accordingly, so that the document content can be highly consistent and the accuracy of the document identification content can be improved.
在一些实施例中,确定文档中的区块的区块数量和区块类型包括确定区块数量最多的区块的区块类型,即确定文档中每一种区块类型对应的区块数量,将区块数量最多的区块的类型确定为所需要的区块类型。可选的,也可以从文档的前N个区块中确定区块数量最多的区块的区块类型,在一些实施例中,N为大于等于3的正整数。In some embodiments, determining the block number and block type of the blocks in the document includes determining the block type of the block with the largest number of blocks, that is, determining the block number corresponding to each block type in the document, Determine the type of the block with the largest number of blocks as the desired block type. Optionally, the block type of the block with the largest number of blocks may also be determined from the first N blocks of the document. In some embodiments, N is a positive integer greater than or equal to 3.
在一些实施例中,确定文档中的区块的区块数量和区块类型包括确定区块数量大于预设值的区块的区块类型,即确定文档中每一种区块类型对应的区块数量,将区块数量大于预设值的类型确定为所需要的区块类型,在一些实施例中,预设值可以系统默认设置,并且用户可以进行更改。在一些实施例中,当存在两种以上的区块类型满足条件时,两种以上的区块类型都确定为所需要的区块类型。In some embodiments, determining the block number and block type of the blocks in the document includes determining the block type of the block whose block number is greater than a preset value, that is, determining the area corresponding to each block type in the document For the number of blocks, the type with the number of blocks greater than the preset value is determined as the required block type. In some embodiments, the preset value can be set by the system by default, and the user can change it. In some embodiments, when there are two or more block types that satisfy the condition, both of the two or more block types are determined to be the required block types.
在一些实施例中,确定文档中的区块的区块数量和区块类型包括确定前N个区块中区块数量大于预设值的区块的区块类型,即确定前N个区块中每一种区块类型对应的区块数量,将区块数量大于预设值的类型确定为所需要的区块类型。在一些实施例中,N大于预设值。在一些实施例中,N为大于等于3的正整数。在一些实施例中,N为3至20的整数。In some embodiments, determining the block number and block type of the blocks in the document includes determining the block type of the block whose block number is greater than the preset value in the first N blocks, that is, determining the first N blocks The number of blocks corresponding to each block type in the above, and the type with the number of blocks greater than the preset value is determined as the required block type. In some embodiments, N is greater than a preset value. In some embodiments, N is a positive integer greater than or equal to 3. In some embodiments, N is an integer from 3 to 20.
在一些实施例中,基于区块的区块数量和区块类型,在文档标识中显示与区块数量和区块类型对应的信息包括:基于确定的区块的区块类型,在文档标识中显示与区块类型对应的信息。在确定了相应的区块类型之后,在文档标识中显示与区块类型对应的信息,使得该文档标识为用户提供相应的参考信息。例如,当数量最多的区块类型为文本区块时,在文档标识中可以显示相应的文本区块的区块信息。如此,将文档中的区块类型最多的相应的区块信息显示在标识上,能更充分地反映文档的内容,使得在不用预览或进入文档的情况下,获知到文档的更多的信息,便于对文档进行管理和查找。In some embodiments, based on the block number and block type of the block, displaying information corresponding to the block number and block type in the document identification includes: based on the determined block type of the block, in the document identification Displays information corresponding to the block type. After the corresponding block type is determined, information corresponding to the block type is displayed in the document identification, so that the document identification provides the user with corresponding reference information. For example, when the block type with the largest number is a text block, the block information of the corresponding text block can be displayed in the document identification. In this way, the corresponding block information with the most block types in the document is displayed on the logo, which can more fully reflect the content of the document, so that more information about the document can be learned without previewing or entering the document. It is easy to manage and find documents.
在一些实施例中,当存在两种以上的区块类型满足条件时,两种以上的区块类型都确定为所需要的区块类型。此时可以在文档标识中显示两种或以上区块类型对应的信息。In some embodiments, when there are two or more block types that satisfy the condition, both of the two or more block types are determined to be the required block types. At this time, information corresponding to two or more block types can be displayed in the document identification.
在一些实施例中,基于区块的区块数量和区块类型,在文档标识中显示与区块数量和区块类型对应的信息包括:当确定不存在区块的区块类型时,在文档标识中显示预设信息。In some embodiments, based on the block number and block type of the block, displaying information corresponding to the block number and block type in the document identifier includes: when it is determined that the block type of the block does not exist, in the document Preset information is displayed in the logo.
在一些实施例中,当不存在数量最多的区块类型时,在文档标识中显示与预设区块类型对应的区块信息。例如,假设N为10,当两种区块类型均为5个时,此时两种区块类型的数量一样多,则可以显示预设区块类型对应的区块信息。在一些实施例中,预设区块类型可以是数量同样多的区块类型中的其中一种,也可以是默认的区块类型,例如,可以将文本区块设置为默认区块类型,用户可以在相应的应用或系统中进行预设。In some embodiments, when the block type with the largest number does not exist, the block information corresponding to the preset block type is displayed in the document identification. For example, assuming that N is 10, when the two block types are 5, and the number of the two block types is the same, the block information corresponding to the preset block type can be displayed. In some embodiments, the preset block type may be one of the same number of block types, or may be the default block type. For example, the text block may be set as the default block type, and the user It can be preset in the corresponding application or system.
因此,根据不同的类型的区块来确定文档标识的展示样式,提高了文档标识的展示价值,用户不需要预览或点击进入文档页面就可预先知道该文档的主要区块类型,进而判断该文档页面的信息结构,确定该文档是否为需要查找的对象,提高了用户查找和管理文档的效率。Therefore, the display style of the document identification is determined according to different types of blocks, which improves the display value of the document identification. The user does not need to preview or click to enter the document page to know the main block type of the document in advance, and then judge the document. The information structure of the page determines whether the document is the object that needs to be searched, which improves the efficiency of user search and management of documents.
在一些实施例中,在确定文档的区块数量和区块类型之前,确定文档中是否存在图片,当存在图片时,在文档标识中显示图片的关联信息。参考图2,本公开的实施例的文档信息的显示方法包括以下步骤。在步骤S201中,确定文档中是否存在图片。在步骤S202中,当存在图片时,在文档标识中显示图片的关联信息。在步骤S203中,当文档中不存在图片时,确定文档的区块数量和区块类型。在步骤S204中,基于确定的区块的区块类型,在文档标识中显示与区块类型对应的信息。在步骤S205中,当确定不存在区块的区块类型时,在文档标识中显示预设信息。图2的相关信息可以参考图1的相关描述,在此不再重复。此处不对S201和S203的执行顺序进行限定,两者可先后执行,也可以同时执行;当先后执行时,可以是S201在先,S203在后,也可以是S203在先S201在后。In some embodiments, before determining the block number and block type of the document, it is determined whether there is a picture in the document, and when there is a picture, the associated information of the picture is displayed in the document identification. Referring to FIG. 2 , a method for displaying document information according to an embodiment of the present disclosure includes the following steps. In step S201, it is determined whether there is a picture in the document. In step S202, when there is a picture, related information of the picture is displayed in the document identifier. In step S203, when there is no picture in the document, the number of blocks and the block type of the document are determined. In step S204, based on the determined block type of the block, information corresponding to the block type is displayed in the document identifier. In step S205, when it is determined that the block type of the block does not exist, preset information is displayed in the document identification. For the related information of FIG. 2 , reference may be made to the related description of FIG. 1 , which will not be repeated here. The execution order of S201 and S203 is not limited here, and the two may be executed sequentially or simultaneously; when executed sequentially, S201 may be executed first, and S203 may be followed, or S203 may be executed first, and S201 may be followed by S201.
在一些实施例中,区块信息包括区块类型信息和区块内容的信息。如此,通过该区块信息,可以得知文档中相应的区块类型以及相应区块的内容,方便给用户提供更多的参考信息,例如,区块内容的长短。在一些实施例中,通过横向柱形条或竖向柱形条的长度来反映相应区块内容的长度信息。例如,长度更长表明该区块的内容更长。在一些实施例中,用标识符表征区块类型信息。例如,通过“·”来反映项目列表区块和目标列表区块。此时,如果区块前存在标识符“·”,则能够得知文档中符合相应条件的区块类型。例如,可以用顺序数字来反映顺序列表区块。同样地,可以用相应的标识符来对应相应的区块类型,使得用户在看到标识上的标识符和柱形条的长度,就知道文档中的数量最多的区块类型和相应区块内容的长短,方便用户得知该文档是否为需要查找或管理的文档。In some embodiments, the chunk information includes chunk type information and chunk content information. In this way, through the block information, the corresponding block type in the document and the content of the corresponding block can be known, which facilitates providing the user with more reference information, for example, the length of the block content. In some embodiments, the length information of the content of the corresponding block is reflected by the length of the horizontal column bar or the vertical column bar. For example, a longer length indicates that the content of the block is longer. In some embodiments, the block type information is characterized by an identifier. For example, the item list block and the target list block are reflected by "·". At this time, if there is an identifier "·" before the block, the block type in the document that meets the corresponding conditions can be known. For example, sequential numbers can be used to reflect sequential list blocks. Similarly, the corresponding identifier can be used to correspond to the corresponding block type, so that the user can know the largest number of block types in the document and the length of the corresponding block content after seeing the identifier on the identifier and the length of the bar. , which is convenient for users to know whether the document is a document that needs to be searched or managed.
在一些实施例中,在文档为空白文档时,文档标识为空白标识。如此,表用户看到文档标识为空白时,让用户直观地得知该文档为空白文档,而不用进入文档再去确认。In some embodiments, when the document is a blank document, the document identification is a blank identification. In this way, when the user of the table sees that the document identifier is blank, the user can intuitively know that the document is a blank document without entering the document to confirm.
本公开的实施例还提供了一种文档信息的显示装置300。文档信息的显示装置300包括区块数量和类型确定模块301和信息显示模块302。在一些实施例中,区块数量和类型确定模块301配置为确定文档中区块的区块数量和区块类型。在一些实施例中,信息显示模块302配置为基于区块的区块数量和区块类型,在文档标识中显示与区块数量和区块类型对应的信息。Embodiments of the present disclosure also provide a
应该理解,关于文档信息的显示方法描述的内容也适用于此处的用于文档信息的显示装置300,为了简单的目的,在此不进行详细描述。It should be understood that the content described about the display method of document information is also applicable to the
在一些实施例中,文档信息的显示方法还包括:确定所述文档中是否存在图片,当存在图片时,在所述文档标识中显示所述图片的关联信息。在一些实施例中,所述确定所述文档中是否存在图片包括:确定所述文档中的预定位置的预设组件中是否存在图片;当存在所述图片时,在所述文档标识中显示所述图片的关联信息包括:在所述文档标识中与所述预定位置对应的位置显示所述图片的关联信息。在一些实施例中,确定文档中是否存在图片包括:确定文档中是否存在预定属性信息的图片;当存在图片时,在文档标识中显示图片的关联信息包括:在文档标识中显示与预定属性信息匹配的图片的关联信息。在一些实施例中,显示方法还包括:响应于检测到文档中的区块的区块数量和区块类型的变化,基于变化后的区块数量和区块类型更新文档标识所显示的信息。在一些实施例中,确定文档中的区块的区块数量和区块类型包括:确定区块数量最多的区块的区块类型;或者,确定区块数量大于预设值的区块的区块类型;或者,确定前N个区块中区块数量大于预设值的区块的区块类型。在一些实施例中,基于区块的区块数量和区块类型,在文档标识中显示与区块数量和区块类型对应的信息包括:基于确定的区块的区块类型,在文档标识中显示与区块类型对应的信息。在一些实施例中,基于区块的区块数量和区块类型,在文档标识中显示与区块数量和区块类型对应的信息包括:当确定不存在区块的区块类型时,在文档标识中显示预设信息。在一些实施例中,信息包括区块类型信息和区块内容的信息。在一些实施例中,用标识符表征区块类型信息。在一些实施例中,在文档为空白文档时,文档标识为空白标识。In some embodiments, the method for displaying document information further includes: determining whether there is a picture in the document, and when there is a picture, displaying associated information of the picture in the document identifier. In some embodiments, the determining whether a picture exists in the document comprises: determining whether a picture exists in a preset component of a predetermined position in the document; when the picture exists, displaying the picture in the document identification The associated information of the picture includes: displaying the associated information of the picture at a position corresponding to the predetermined position in the document identifier. In some embodiments, determining whether there is a picture in the document includes: determining whether there is a picture with predetermined attribute information in the document; when there is a picture, displaying the associated information of the picture in the document identification includes: displaying in the document identification and the predetermined attribute information Correlation information for matching images. In some embodiments, the display method further includes: in response to detecting a change in the block number and block type of the blocks in the document, updating the information displayed by the document identification based on the changed block number and block type. In some embodiments, determining the block number and block type of the blocks in the document includes: determining the block type of the block with the largest number of blocks; or, determining the area of the block with the block number greater than a preset value block type; or, determine the block type of the block whose number of blocks is greater than the preset value in the first N blocks. In some embodiments, based on the block number and block type of the block, displaying information corresponding to the block number and block type in the document identification includes: based on the determined block type of the block, in the document identification Displays information corresponding to the block type. In some embodiments, based on the block number and block type of the block, displaying information corresponding to the block number and block type in the document identifier includes: when it is determined that the block type of the block does not exist, in the document Preset information is displayed in the logo. In some embodiments, the information includes block type information and block content information. In some embodiments, the block type information is characterized by an identifier. In some embodiments, when the document is a blank document, the document identification is a blank identification.
此外,本公开还提供一种终端,包括:至少一个存储器和至少一个处理器;其中,所述存储器用于存储程序代码,所述处理器用于调用所述存储器所存储的程序代码以执行上述文档信息的显示方法。In addition, the present disclosure also provides a terminal, comprising: at least one memory and at least one processor; wherein the memory is used for storing program codes, and the processor is used for calling the program codes stored in the memory to execute the above document How the information is displayed.
此外,本公开还提供一种计算机存储介质,该计算机存储介质存储有程序代码,程序代码用于执行上述文档信息的显示方法。In addition, the present disclosure also provides a computer storage medium, where program codes are stored in the computer storage medium, and the program codes are used to execute the above method for displaying document information.
以上,基于实施例和应用例说明了本公开的文档信息的显示方法及装置。此外,本公开还提供一种终端及存储介质,以下说明这些终端和存储介质。In the above, the method and apparatus for displaying document information of the present disclosure have been described based on the embodiments and application examples. In addition, the present disclosure also provides a terminal and a storage medium, which are described below.
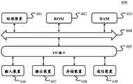
下面参考图4,其示出了适于用来实现本公开实施例的电子设备(例如终端设备或服务器)400的结构示意图。本公开实施例中的终端设备可以包括但不限于诸如移动电话、笔记本电脑、数字广播接收器、PDA(个人数字助理)、PAD(平板电脑)、PMP(便携式多媒体播放器)、车载终端(例如车载导航终端)等等的移动终端以及诸如数字TV、台式计算机等等的固定终端。图4示出的电子设备仅仅是一个示例,不应对本公开实施例的功能和使用范围带来任何限制。Referring next to FIG. 4 , it shows a schematic structural diagram of an electronic device (eg, a terminal device or a server) 400 suitable for implementing an embodiment of the present disclosure. Terminal devices in the embodiments of the present disclosure may include, but are not limited to, such as mobile phones, notebook computers, digital broadcast receivers, PDAs (personal digital assistants), PADs (tablets), PMPs (portable multimedia players), vehicle-mounted terminals (eg, mobile terminals such as in-vehicle navigation terminals), etc., and stationary terminals such as digital TVs, desktop computers, and the like. The electronic device shown in FIG. 4 is only an example, and should not impose any limitation on the function and scope of use of the embodiments of the present disclosure.
如图4所示,电子设备400可以包括处理装置(例如中央处理器、图形处理器等)401,其可以根据存储在只读存储器(ROM)402中的程序或者从存储装置408加载到随机访问存储器(RAM)403中的程序而执行各种适当的动作和处理。在RAM403中,还存储有电子设备400操作所需的各种程序和数据。处理装置401、ROM 402以及RAM 403通过总线404彼此相连。输入/输出(I/O)接口405也连接至总线404。As shown in FIG. 4 , an
通常,以下装置可以连接至I/O接口405:包括例如触摸屏、触摸板、键盘、鼠标、摄像头、麦克风、加速度计、陀螺仪等的输入装置406;包括例如液晶显示器(LCD)、扬声器、振动器等的输出装置407;包括例如磁带、硬盘等的存储装置408;以及通信装置409。通信装置409可以允许电子设备400与其他设备进行无线或有线通信以交换数据。虽然图4示出了具有各种装置的电子设备400,但是应理解的是,并不要求实施或具备所有示出的装置。可以替代地实施或具备更多或更少的装置。Typically, the following devices may be connected to the I/O interface 405:
特别地,根据本公开的实施例,上文参考流程图描述的过程可以被实现为计算机软件程序。例如,本公开的实施例包括一种计算机程序产品,其包括承载在计算机可读介质上的计算机程序,该计算机程序包含用于执行流程图所示的方法的程序代码。在这样的实施例中,该计算机程序可以通过通信装置409从网络上被下载和安装,或者从存储装置408被安装,或者从ROM 402被安装。在该计算机程序被处理装置401执行时,执行本公开实施例的方法中限定的上述功能。In particular, according to embodiments of the present disclosure, the processes described above with reference to the flowcharts may be implemented as computer software programs. For example, embodiments of the present disclosure include a computer program product comprising a computer program carried on a computer-readable medium, the computer program containing program code for performing the method illustrated in the flowchart. In such an embodiment, the computer program may be downloaded and installed from the network via the
需要说明的是,本公开上述的计算机可读介质可以是计算机可读信号介质或者计算机可读存储介质或者是上述两者的任意组合。计算机可读存储介质例如可以是——但不限于——电、磁、光、电磁、红外线、或半导体的系统、装置或器件,或者任意以上的组合。计算机可读存储介质的更具体的例子可以包括但不限于:具有一个或多个导线的电连接、便携式计算机磁盘、硬盘、随机访问存储器(RAM)、只读存储器(ROM)、可擦式可编程只读存储器(EPROM或闪存)、光纤、便携式紧凑磁盘只读存储器(CD-ROM)、光存储器件、磁存储器件、或者上述的任意合适的组合。在本公开中,计算机可读存储介质可以是任何包含或存储程序的有形介质,该程序可以被指令执行系统、装置或者器件使用或者与其结合使用。而在本公开中,计算机可读信号介质可以包括在基带中或者作为载波一部分传播的数据信号,其中承载了计算机可读的程序代码。这种传播的数据信号可以采用多种形式,包括但不限于电磁信号、光信号或上述的任意合适的组合。计算机可读信号介质还可以是计算机可读存储介质以外的任何计算机可读介质,该计算机可读信号介质可以发送、传播或者传输用于由指令执行系统、装置或者器件使用或者与其结合使用的程序。计算机可读介质上包含的程序代码可以用任何适当的介质传输,包括但不限于:电线、光缆、RF(射频)等等,或者上述的任意合适的组合。It should be noted that the computer-readable medium mentioned above in the present disclosure may be a computer-readable signal medium or a computer-readable storage medium, or any combination of the above two. The computer-readable storage medium can be, for example, but not limited to, an electrical, magnetic, optical, electromagnetic, infrared, or semiconductor system, apparatus or device, or a combination of any of the above. More specific examples of computer readable storage media may include, but are not limited to, electrical connections with one or more wires, portable computer disks, hard disks, random access memory (RAM), read only memory (ROM), erasable Programmable read only memory (EPROM or flash memory), fiber optics, portable compact disk read only memory (CD-ROM), optical storage devices, magnetic storage devices, or any suitable combination of the foregoing. In this disclosure, a computer-readable storage medium may be any tangible medium that contains or stores a program that can be used by or in conjunction with an instruction execution system, apparatus, or device. In the present disclosure, however, a computer-readable signal medium may include a data signal propagated in baseband or as part of a carrier wave with computer-readable program code embodied thereon. Such propagated data signals may take a variety of forms, including but not limited to electromagnetic signals, optical signals, or any suitable combination of the foregoing. A computer-readable signal medium can also be any computer-readable medium other than a computer-readable storage medium that can transmit, propagate, or transport the program for use by or in connection with the instruction execution system, apparatus, or device . Program code embodied on a computer readable medium may be transmitted using any suitable medium including, but not limited to, electrical wire, optical fiber cable, RF (radio frequency), etc., or any suitable combination of the foregoing.
在一些实施方式中,客户端、服务器可以利用诸如HTTP(HyperText TransferProtocol,超文本传输协议)之类的任何当前已知或未来研发的网络协议进行通信,并且可以与任意形式或介质的数字数据通信(例如,通信网络)互连。通信网络的示例包括局域网(“LAN”),广域网(“WAN”),网际网(例如,互联网)以及端对端网络(例如,ad hoc端对端网络),以及任何当前已知或未来研发的网络。In some embodiments, the client and server can communicate using any currently known or future developed network protocol such as HTTP (HyperText Transfer Protocol), and can communicate with digital data in any form or medium (eg, a communications network) interconnected. Examples of communication networks include local area networks ("LAN"), wide area networks ("WAN"), the Internet (eg, the Internet), and peer-to-peer networks (eg, ad hoc peer-to-peer networks), as well as any currently known or future development network of.
上述计算机可读介质可以是上述电子设备中所包含的;也可以是单独存在,而未装配入该电子设备中。The above-mentioned computer-readable medium may be included in the above-mentioned electronic device; or may exist alone without being assembled into the electronic device.
上述计算机可读介质承载有一个或者多个程序,当上述一个或者多个程序被该电子设备执行时,使得该电子设备执行上述的本公开的方法。The aforementioned computer-readable medium carries one or more programs, which, when executed by the electronic device, cause the electronic device to execute the aforementioned method of the present disclosure.
可以以一种或多种程序设计语言或其组合来编写用于执行本公开的操作的计算机程序代码,上述程序设计语言包括面向对象的程序设计语言—诸如Java、Smalltalk、C++,还包括常规的过程式程序设计语言—诸如“C”语言或类似的程序设计语言。程序代码可以完全地在用户计算机上执行、部分地在用户计算机上执行、作为一个独立的软件包执行、部分在用户计算机上部分在远程计算机上执行、或者完全在远程计算机或服务器上执行。在涉及远程计算机的情形中,远程计算机可以通过任意种类的网络——包括局域网(LAN)或广域网(WAN)—连接到用户计算机,或者,可以连接到外部计算机(例如利用因特网服务提供商来通过因特网连接)。Computer program code for carrying out operations of the present disclosure may be written in one or more programming languages, including object-oriented programming languages—such as Java, Smalltalk, C++, but also conventional Procedural programming language - such as the "C" language or similar programming language. The program code may execute entirely on the user's computer, partly on the user's computer, as a stand-alone software package, partly on the user's computer and partly on a remote computer, or entirely on the remote computer or server. In the case of a remote computer, the remote computer may be connected to the user's computer through any kind of network, including a local area network (LAN) or a wide area network (WAN), or may be connected to an external computer (eg, using an Internet service provider through Internet connection).
附图中的流程图和框图,图示了按照本公开各种实施例的系统、方法和计算机程序产品的可能实现的体系架构、功能和操作。在这点上,流程图或框图中的每个方框可以代表一个模块、程序段、或代码的一部分,该模块、程序段、或代码的一部分包含一个或多个用于实现规定的逻辑功能的可执行指令。也应当注意,在有些作为替换的实现中,方框中所标注的功能也可以以不同于附图中所标注的顺序发生。例如,两个接连地表示的方框实际上可以基本并行地执行,它们有时也可以按相反的顺序执行,这依所涉及的功能而定。也要注意的是,框图和/或流程图中的每个方框、以及框图和/或流程图中的方框的组合,可以用执行规定的功能或操作的专用的基于硬件的系统来实现,或者可以用专用硬件与计算机指令的组合来实现。The flowchart and block diagrams in the Figures illustrate the architecture, functionality, and operation of possible implementations of systems, methods and computer program products according to various embodiments of the present disclosure. In this regard, each block in the flowchart or block diagrams may represent a module, segment, or portion of code that contains one or more logical functions for implementing the specified functions executable instructions. It should also be noted that, in some alternative implementations, the functions noted in the blocks may occur out of the order noted in the figures. For example, two blocks shown in succession may, in fact, be executed substantially concurrently, or the blocks may sometimes be executed in the reverse order, depending upon the functionality involved. It is also noted that each block of the block diagrams and/or flowchart illustrations, and combinations of blocks in the block diagrams and/or flowchart illustrations, can be implemented in dedicated hardware-based systems that perform the specified functions or operations , or can be implemented in a combination of dedicated hardware and computer instructions.
描述于本公开实施例中所涉及到的单元可以通过软件的方式实现,也可以通过硬件的方式来实现。其中,单元的名称在某种情况下并不构成对该单元本身的限定。The units involved in the embodiments of the present disclosure may be implemented in a software manner, and may also be implemented in a hardware manner. Among them, the name of the unit does not constitute a limitation of the unit itself under certain circumstances.
本文中以上描述的功能可以至少部分地由一个或多个硬件逻辑部件来执行。例如,非限制性地,可以使用的示范类型的硬件逻辑部件包括:现场可编程门阵列(FPGA)、专用集成电路(ASIC)、专用标准产品(ASSP)、片上系统(SOC)、复杂可编程逻辑设备(CPLD)等等。The functions described herein above may be performed, at least in part, by one or more hardware logic components. For example, without limitation, exemplary types of hardware logic components that may be used include: Field Programmable Gate Arrays (FPGAs), Application Specific Integrated Circuits (ASICs), Application Specific Standard Products (ASSPs), Systems on Chips (SOCs), Complex Programmable Logical Devices (CPLDs) and more.
在本公开的上下文中,机器可读介质可以是有形的介质,其可以包含或存储以供指令执行系统、装置或设备使用或与指令执行系统、装置或设备结合地使用的程序。机器可读介质可以是机器可读信号介质或机器可读储存介质。机器可读介质可以包括但不限于电子的、磁性的、光学的、电磁的、红外的、或半导体系统、装置或设备,或者上述内容的任何合适组合。机器可读存储介质的更具体示例会包括基于一个或多个线的电气连接、便携式计算机盘、硬盘、随机存取存储器(RAM)、只读存储器(ROM)、可擦除可编程只读存储器(EPROM或快闪存储器)、光纤、便捷式紧凑盘只读存储器(CD-ROM)、光学储存设备、磁储存设备、或上述内容的任何合适组合。In the context of the present disclosure, a machine-readable medium may be a tangible medium that may contain or store a program for use by or in connection with the instruction execution system, apparatus or device. The machine-readable medium may be a machine-readable signal medium or a machine-readable storage medium. Machine-readable media may include, but are not limited to, electronic, magnetic, optical, electromagnetic, infrared, or semiconductor systems, devices, or devices, or any suitable combination of the foregoing. More specific examples of machine-readable storage media would include one or more wire-based electrical connections, portable computer disks, hard disks, random access memory (RAM), read only memory (ROM), erasable programmable read only memory (EPROM or flash memory), fiber optics, compact disk read only memory (CD-ROM), optical storage, magnetic storage, or any suitable combination of the foregoing.
根据本公开的一个或多个实施例,提供了一种文档信息的显示方法,所述显示方法包括:确定文档中的区块的区块数量和区块类型;基于所述区块的区块数量和区块类型,在文档标识中显示与所述区块数量和所述区块类型对应的信息。According to one or more embodiments of the present disclosure, a method for displaying document information is provided, the displaying method includes: determining the number of blocks and block types of blocks in a document; Quantity and block type, the information corresponding to the block quantity and the block type is displayed in the document identification.
根据本公开的一个或多个实施例,还包括:确定所述文档中是否存在图片,当存在图片时,在所述文档标识中显示所述图片的关联信息。According to one or more embodiments of the present disclosure, the method further includes: determining whether there is a picture in the document, and when there is a picture, displaying associated information of the picture in the document identification.
根据本公开的一个或多个实施例,所述确定所述文档中是否存在图片包括:确定所述文档中的预定位置的预设组件中是否存在图片;当存在所述图片时,在所述文档标识中显示所述图片的关联信息包括:在所述文档标识中与所述预定位置对应的位置显示所述图片的关联信息。According to one or more embodiments of the present disclosure, the determining whether a picture exists in the document includes: determining whether a picture exists in a preset component of a predetermined position in the document; when the picture exists, in the document Displaying the associated information of the picture in the document identification includes: displaying the associated information of the picture at a position corresponding to the predetermined position in the document identification.
根据本公开的一个或多个实施例,所述确定所述文档中是否存在图片包括:确定所述文档中是否存在预定属性信息的图片;当存在所述图片时,在所述文档标识中显示所述图片的关联信息包括:在所述文档标识中显示与所述预定属性信息匹配的图片的关联信息。According to one or more embodiments of the present disclosure, the determining whether a picture exists in the document includes: determining whether a picture with predetermined attribute information exists in the document; when the picture exists, displaying in the document identifier The associated information of the picture includes: displaying the associated information of the picture matching the predetermined attribute information in the document identifier.
根据本公开的一个或多个实施例,所述显示方法还包括:响应于检测到所述文档中的区块的区块数量和区块类型的变化,基于变化后的区块数量和区块类型更新所述文档标识所显示的信息。According to one or more embodiments of the present disclosure, the display method further includes: in response to detecting changes in the number of blocks and block types of the blocks in the document, based on the changed number of blocks and blocks Type updates the information displayed by the document identifier.
根据本公开的一个或多个实施例,确定所述文档中的所述区块的区块数量和区块类型包括:确定区块数量最多的区块的区块类型;或者,确定区块数量大于预设值的区块的区块类型;或者,确定前N个区块中区块数量大于预设值的区块的区块类型。According to one or more embodiments of the present disclosure, determining the block number and block type of the block in the document includes: determining the block type of the block with the largest number of blocks; or, determining the block number The block type of the block larger than the preset value; or, determine the block type of the block whose number of blocks is larger than the preset value in the first N blocks.
根据本公开的一个或多个实施例,基于所述区块的区块数量和区块类型,在文档标识中显示与所述区块数量和区块类型对应的信息包括:基于确定的所述区块的区块类型,在文档标识中显示与所述区块类型对应的信息。According to one or more embodiments of the present disclosure, based on the block number and block type of the block, displaying information corresponding to the block number and block type in the document identifier includes: based on the determined block type The block type of the block, and the information corresponding to the block type is displayed in the document identification.
根据本公开的一个或多个实施例,基于所述区块的区块数量和区块类型,在文档标识中显示与所述区块数量和区块类型对应的信息包括:当确定不存在所述区块的区块类型时,在文档标识中显示预设信息。According to one or more embodiments of the present disclosure, based on the block number and block type of the block, displaying information corresponding to the block number and block type in the document identifier includes: when it is determined that there is no block type. When specifying the block type of the block, the preset information is displayed in the document ID.
根据本公开的一个或多个实施例,所述信息包括区块类型信息和区块内容的信息。According to one or more embodiments of the present disclosure, the information includes block type information and block content information.
根据本公开的一个或多个实施例,用标识符表征所述区块类型信息。According to one or more embodiments of the present disclosure, the block type information is characterized by an identifier.
根据本公开的一个或多个实施例,在所述文档为空白文档时,所述文档标识为空白标识。According to one or more embodiments of the present disclosure, when the document is a blank document, the document identification is a blank identification.
根据本公开的一个或多个实施例,提供了一种文档信息的显示装置,所述显示装置包括:区块数量和类型确定模块,配置为确定文档中区块的区块数量和区块类型;信息显示模块,配置为基于所述区块的区块数量和区块类型,在文档标识中显示与所述区块数量和区块类型对应的信息。According to one or more embodiments of the present disclosure, there is provided an apparatus for displaying document information, the display apparatus comprising: a block quantity and type determination module configured to determine the block quantity and block type of the blocks in the document ; an information display module, configured to display information corresponding to the number of blocks and the type of blocks in the document identification based on the number of blocks and the type of blocks of the blocks.
根据本公开的一个或多个实施例,提供了一种终端,包括:至少一个存储器和至少一个处理器;其中,所述至少一个存储器用于存储程序代码,所述至少一个处理器用于调用所述至少一个存储器所存储的程序代码执行上述中任一项所述的方法。According to one or more embodiments of the present disclosure, a terminal is provided, comprising: at least one memory and at least one processor; wherein the at least one memory is used to store program codes, and the at least one processor is used to call the The program code stored in the at least one memory executes the method described in any one of the above.
根据本公开的一个或多个实施例,提供了一种存储介质,所述存储介质用于存储程序代码,所述程序代码用于执行上述的方法。According to one or more embodiments of the present disclosure, there is provided a storage medium for storing a program code for executing the above-described method.
以上描述仅为本公开的较佳实施例以及对所运用技术原理的说明。本领域技术人员应当理解,本公开中所涉及的公开范围,并不限于上述技术特征的特定组合而成的技术方案,同时也应涵盖在不脱离上述公开构思的情况下,由上述技术特征或其等同特征进行任意组合而形成的其它技术方案。例如上述特征与本公开中公开的(但不限于)具有类似功能的技术特征进行互相替换而形成的技术方案。The above description is merely a preferred embodiment of the present disclosure and an illustration of the technical principles employed. Those skilled in the art should understand that the scope of the disclosure involved in the present disclosure is not limited to the technical solutions formed by the specific combination of the above-mentioned technical features, and should also cover, without departing from the above-mentioned disclosed concept, the technical solutions formed by the above-mentioned technical features or Other technical solutions formed by any combination of its equivalent features. For example, a technical solution is formed by replacing the above features with the technical features disclosed in the present disclosure (but not limited to) with similar functions.
此外,虽然采用特定次序描绘了各操作,但是这不应当理解为要求这些操作以所示出的特定次序或以顺序次序执行来执行。在一定环境下,多任务和并行处理可能是有利的。同样地,虽然在上面论述中包含了若干具体实现细节,但是这些不应当被解释为对本公开的范围的限制。在单独的实施例的上下文中描述的某些特征还可以组合地实现在单个实施例中。相反地,在单个实施例的上下文中描述的各种特征也可以单独地或以任何合适的子组合的方式实现在多个实施例中。Additionally, although operations are depicted in a particular order, this should not be construed as requiring that the operations be performed in the particular order shown or in a sequential order. Under certain circumstances, multitasking and parallel processing may be advantageous. Likewise, although the above discussion contains several implementation-specific details, these should not be construed as limitations on the scope of the present disclosure. Certain features that are described in the context of separate embodiments can also be implemented in combination in a single embodiment. Conversely, various features that are described in the context of a single embodiment can also be implemented in multiple embodiments separately or in any suitable subcombination.
尽管已经采用特定于结构特征和/或方法逻辑动作的语言描述了本主题,但是应当理解所附权利要求书中所限定的主题未必局限于上面描述的特定特征或动作。相反,上面所描述的特定特征和动作仅仅是实现权利要求书的示例形式。Although the subject matter has been described in language specific to structural features and/or logical acts of method, it is to be understood that the subject matter defined in the appended claims is not necessarily limited to the specific features or acts described above. Rather, the specific features and acts described above are merely example forms of implementing the claims.
| Application Number | Priority Date | Filing Date | Title |
|---|---|---|---|
| CN202110232006.1ACN114997106B (en) | 2021-03-02 | 2021-03-02 | Document information display method, device, terminal and storage medium |
| Application Number | Priority Date | Filing Date | Title |
|---|---|---|---|
| CN202110232006.1ACN114997106B (en) | 2021-03-02 | 2021-03-02 | Document information display method, device, terminal and storage medium |
| Publication Number | Publication Date |
|---|---|
| CN114997106Atrue CN114997106A (en) | 2022-09-02 |
| CN114997106B CN114997106B (en) | 2024-12-27 |
| Application Number | Title | Priority Date | Filing Date |
|---|---|---|---|
| CN202110232006.1AActiveCN114997106B (en) | 2021-03-02 | 2021-03-02 | Document information display method, device, terminal and storage medium |
| Country | Link |
|---|---|
| CN (1) | CN114997106B (en) |
| Publication number | Priority date | Publication date | Assignee | Title |
|---|---|---|---|---|
| US20060150090A1 (en)* | 2005-01-06 | 2006-07-06 | Oracle International Corporation | Dynamic documentation |
| US20110119262A1 (en)* | 2009-11-13 | 2011-05-19 | Dexter Jeffrey M | Method and System for Grouping Chunks Extracted from A Document, Highlighting the Location of A Document Chunk Within A Document, and Ranking Hyperlinks Within A Document |
| CN102541817A (en)* | 2010-12-26 | 2012-07-04 | 上海量明科技发展有限公司 | Method and device for previewing digital files |
| CN105511888A (en)* | 2015-12-31 | 2016-04-20 | 魅族科技(中国)有限公司 | Method and terminal for presenting file icon |
| KR20160066799A (en)* | 2014-12-03 | 2016-06-13 | 주식회사 인프라웨어 | Method, apparatus and computer program for providing multimedia contents preview |
| CN107451139A (en)* | 2016-05-30 | 2017-12-08 | 北京三星通信技术研究有限公司 | File resource methods of exhibiting, device and corresponding smart machine |
| CN107787487A (en)* | 2015-06-22 | 2018-03-09 | 微软技术许可有限责任公司 | Deconstruct documents into constituent chunks for reuse in productivity applications |
| CN108460128A (en)* | 2018-03-01 | 2018-08-28 | 广东欧珀移动通信有限公司 | Document management method and device, electronic device and readable storage medium |
| CN109815453A (en)* | 2018-12-25 | 2019-05-28 | 东软集团股份有限公司 | Document method of partition, device, storage medium and electronic equipment |
| CN112232149A (en)* | 2020-09-28 | 2021-01-15 | 北京易道博识科技有限公司 | Document multi-mode information and relation extraction method and system |
| Publication number | Priority date | Publication date | Assignee | Title |
|---|---|---|---|---|
| US20060150090A1 (en)* | 2005-01-06 | 2006-07-06 | Oracle International Corporation | Dynamic documentation |
| US20110119262A1 (en)* | 2009-11-13 | 2011-05-19 | Dexter Jeffrey M | Method and System for Grouping Chunks Extracted from A Document, Highlighting the Location of A Document Chunk Within A Document, and Ranking Hyperlinks Within A Document |
| CN102541817A (en)* | 2010-12-26 | 2012-07-04 | 上海量明科技发展有限公司 | Method and device for previewing digital files |
| KR20160066799A (en)* | 2014-12-03 | 2016-06-13 | 주식회사 인프라웨어 | Method, apparatus and computer program for providing multimedia contents preview |
| CN107787487A (en)* | 2015-06-22 | 2018-03-09 | 微软技术许可有限责任公司 | Deconstruct documents into constituent chunks for reuse in productivity applications |
| CN105511888A (en)* | 2015-12-31 | 2016-04-20 | 魅族科技(中国)有限公司 | Method and terminal for presenting file icon |
| CN107451139A (en)* | 2016-05-30 | 2017-12-08 | 北京三星通信技术研究有限公司 | File resource methods of exhibiting, device and corresponding smart machine |
| CN108460128A (en)* | 2018-03-01 | 2018-08-28 | 广东欧珀移动通信有限公司 | Document management method and device, electronic device and readable storage medium |
| CN109815453A (en)* | 2018-12-25 | 2019-05-28 | 东软集团股份有限公司 | Document method of partition, device, storage medium and electronic equipment |
| CN112232149A (en)* | 2020-09-28 | 2021-01-15 | 北京易道博识科技有限公司 | Document multi-mode information and relation extraction method and system |
| Publication number | Publication date |
|---|---|
| CN114997106B (en) | 2024-12-27 |
| Publication | Publication Date | Title |
|---|---|---|
| CN111414498B (en) | Multimedia information recommendation method and device and electronic equipment | |
| CN109976620B (en) | Method, device, equipment and storage medium for determining list item display attribute information | |
| CN111400625B (en) | Page processing method and device, electronic equipment and computer readable storage medium | |
| US12008219B2 (en) | User interface presentation method and apparatus, computer-readable medium and electronic device | |
| CN110825481A (en) | Method and device for displaying page information corresponding to page tag and electronic equipment | |
| CN111273830A (en) | Data display method and device, electronic equipment and computer readable medium | |
| WO2022148485A1 (en) | Information display method and apparatus, and electronic device | |
| WO2022095942A1 (en) | Information display method and apparatus, electronic device, and computer readable storage medium | |
| CN111753238A (en) | Data mapping method and device and electronic equipment | |
| CN114417782B (en) | Display method, device and electronic device | |
| WO2022184037A1 (en) | Document processing method, apparatus and device, and medium | |
| CN110427584A (en) | Page generation method, device, electronic equipment and computer readable storage medium | |
| WO2022105682A1 (en) | Paging data acquisition method and apparatus, electronic device, and computer readable storage medium | |
| CN112380476B (en) | Information display method, device and electronic equipment | |
| CN114580361A (en) | Document processing method and device, electronic equipment and storage medium | |
| CN115017110A (en) | Information processing method, device, terminal and storage medium | |
| CN111783440B (en) | Intention recognition method and device, readable medium and electronic equipment | |
| CN114626332A (en) | Content display method, device and electronic device | |
| CN111984890B (en) | Method, device, medium and electronic equipment for generating display information | |
| CN110780898B (en) | Page data upgrading method and device and electronic equipment | |
| CN118261135A (en) | Document rendering processing method, device, equipment and medium | |
| CN114997106B (en) | Document information display method, device, terminal and storage medium | |
| CN112445478B (en) | Graphics file processing method, device, equipment and medium | |
| CN111782895B (en) | Retrieval processing method and device, readable medium and electronic equipment | |
| WO2022095932A1 (en) | Livestreaming room page jumping method and apparatus, livestreaming room page returning method and apparatus, and electronic device |
| Date | Code | Title | Description |
|---|---|---|---|
| PB01 | Publication | ||
| PB01 | Publication | ||
| SE01 | Entry into force of request for substantive examination | ||
| SE01 | Entry into force of request for substantive examination | ||
| GR01 | Patent grant | ||
| GR01 | Patent grant |