Movatterモバイル変換


[0]ホーム

URL:


CN114947288A - Footwear with a stabilizing sole - Google Patents

Footwear with a stabilizing sole
Download PDF

Info

Publication number
CN114947288A
CN114947288ACN202210171764.1ACN202210171764ACN114947288ACN 114947288 ACN114947288 ACN 114947288ACN 202210171764 ACN202210171764 ACN 202210171764ACN 114947288 ACN114947288 ACN 114947288A
Authority
CN
China
Prior art keywords
sole
support member
footwear
article
stabilizing member
Prior art date
Legal status (The legal status is an assumption and is not a legal conclusion. Google has not performed a legal analysis and makes no representation as to the accuracy of the status listed.)
Pending
Application number
CN202210171764.1A
Other languages
Chinese (zh)
Inventor
C·奥博内
J·L·迪亚尔
T·普帕尔
V·布亚尔
Current Assignee (The listed assignees may be inaccurate. Google has not performed a legal analysis and makes no representation or warranty as to the accuracy of the list.)
Deckers Outdoor Corp
Original Assignee
Deckers Outdoor Corp
Priority date (The priority date is an assumption and is not a legal conclusion. Google has not performed a legal analysis and makes no representation as to the accuracy of the date listed.)
Filing date
Publication date
Priority claimed from US17/187,713external-prioritypatent/US11723428B2/en
Application filed by Deckers Outdoor CorpfiledCriticalDeckers Outdoor Corp
Publication of CN114947288ApublicationCriticalpatent/CN114947288A/en
Pendinglegal-statusCriticalCurrent

Links

Images

Classifications

Landscapes

Abstract

An article of footwear includes an upper and a sole secured to the upper, wherein the sole includes an upper surface. The support member is located on the sole and includes at least a portion located a specified distance above the upper surface of the sole to form a space between the support member and the sole through which the portion of the support member moves and moves toward the upper surface of the sole when pressure is applied to the portion of the support member and the portion of the support member flexes away from the upper surface when pressure is reduced or released from the portion of the support member.

Description

Footwear with a stabilizing sole
Cross Reference to Related Applications
This application is and claims priority from U.S. patent application No.16/258,074 filed on 25.1.2019, which in turn is a continuation-in-part application of U.S. patent application No.16/159,600 filed on 12.10.2018, each of which is incorporated herein by reference in its entirety.
Technical Field
The present application relates generally to footwear and, more particularly, to a stabilizing sole for an article of footwear that provides stability and uniformly supports a user's foot during impact motions, such as walking, jogging and running, while reducing impact forces on the user's foot and enhancing forward propulsion.
Background
Running is particularly difficult for a person's feet and body. For example, the impact of each foot hitting the ground during running amounts to three to five times your weight or more. During each heel strike, there is a particularly large impact force in the heel region of the foot. The inadequate cushioning and support and misalignment of a person's foot within their shoe reduces the absorption of this impact, thereby transferring more shock and stress from such impact to the user's body and unnecessarily stressing the knees, hips, and lower back. As a person runs, shocks and stresses are repeated each time a foot impacts the ground, which can cause stress injuries, pain, and excessive wear on the person's joints.
Furthermore, running exercise is a series of weight bearing and suspension phases, where stride is a combination of contact and thrust phases. During the ground contact phase, there is a deceleration of the progress of the runner's body, in which case energy is stored in the muscles while the runner's legs are flexed to absorb shock from the contact between the runner's feet and the ground. During the forward thrust phase, the runner's body is accelerated by applying the maximum force possible to the ground in the shortest amount of time. This force is generated by the leg muscles and the release of stored energy when the leg is relaxed. In this manner, the ground contact and hover phases minimize deceleration while in contact with the ground and maximize the runner's forward thrust.
When the foot and ankle are properly supported, aligned, and sufficiently stabilized on the ground, the human body can be balanced and absorb large impact forces. Moreover, biomechanical efficiency is improved to help reduce impact forces while creating an effective lever to properly transmit power during propulsion.
Accordingly, it is desirable to provide footwear that uniformly supports, aligns, and balances a person's foot during impact motions, such as walking, jogging, and running, to help reduce stress on the person's foot and body from impact forces while enhancing propulsion of the person's body.
Disclosure of Invention
The sole of the present article of footwear provides enhanced balance on different types of surfaces and provides balance and stability to the user's foot during walking, jogging and running.
In one embodiment, an article of footwear is provided that includes an upper and a sole secured to the upper, wherein the sole includes an upper surface. The support member is located on the sole and includes at least a portion located a specified distance above the upper surface of the sole to form a space between the support member and the sole, the portion of the support member moves through the space and toward the upper surface of the sole when pressure is applied to the portion of the support member, and the portion of the support member flexes away from the upper surface when pressure is reduced or released from the portion of the support member.
In another embodiment, an article of footwear is provided that includes an upper, a sole secured to the upper and including an upper surface, and a recessed spring region below the upper surface between a forefoot region and a heel region of the sole. In addition, support members are placed on the sole for support and stability. The support member has a curvilinear portion positioned adjacent the recessed spring region of the sole, wherein the curvilinear portion of the support plate moves or bends toward the recessed spring region when pressure is applied to the curvilinear portion of the support plate, and the curvilinear portion of the support plate bends away from the recessed spring region when pressure is reduced or released from the curvilinear portion of the support plate.
Drawings
FIG. 1 is a right side view of one embodiment of the present footwear.
Fig. 2 is a left side view of the footwear of fig. 1.
FIG. 3 is a top plan view of the footwear of FIG. 1, with the tongue and lace removed.
Fig. 4 is a bottom view of the footwear of fig. 1.
Fig. 5 is a rear view of the footwear of fig. 1.
FIG. 6 is a right side view of one embodiment of an outsole of the footwear of FIG. 1.
FIG. 7 is a bottom view of the outsole of FIG. 6.
FIG. 8 is a left side view of the outsole of FIG. 6.
FIG. 9 is a top view of the outsole of FIG. 6.
FIG. 10 is a front view of the outsole of FIG. 6.
FIG. 11 is a rear view of the outsole of FIG. 6.
FIG. 12 is a right side view of the outsole of FIG. 6, including a tongue and gusset component attached to the outsole, with a left side view of the tongue and gusset component being a mirror image thereof.
FIG. 13A is a top view of an embodiment of the tongue shown in FIG. 12.
FIG. 13B is an exploded top view of the various material layers of the tongue shown in FIG. 13A.
FIG. 14 is a right side view of the outsole of FIG. 12 including a back collar attached to the outsole, wherein a left side view of the back collar is a mirror image thereof.
FIG. 15A is a front view of one embodiment of the back collar shown in FIG. 14.
FIG. 15B is a rear view of the back collar of FIG. 15A.
Fig. 16 is a right side view of the outsole of fig. 15, including an upper attached to the outsole, wherein a left side view of the upper is a mirror image thereof.
Figure 17 is a left side view of another embodiment of the present footwear.
Fig. 18 is a top view of the footwear of fig. 17.
Fig. 19 is a cross-sectional view of the footwear illustrated in fig. 18, taken generally along line B-B in the direction generally indicated.
Fig. 20 is a cross-sectional view of the footwear illustrated in fig. 18, taken generally along line C-C in the direction generally indicated.
Fig. 21 is a cross-sectional view of the footwear illustrated in fig. 18, taken generally along line D-D in the direction generally indicated.
Fig. 22 is a top view of another embodiment of the present footwear with a front stabilizing member.
FIG. 23 is a top view of another embodiment of the present footwear with a rear stabilizing member.
FIG. 24 is a top view of another embodiment of the present footwear with a rear stabilizing member.
FIG. 25 is a top view of yet another embodiment of the present footwear with a lateral stabilizing member.
FIG. 26 is a top view of another embodiment of the present footwear with a peripheral rear stabilizing member.
Fig. 27 is a top view of yet another embodiment of the present footwear with front and rear stabilizing members.
Fig. 28 is a top view of another embodiment of the present footwear with a front stabilizing member and a lateral stabilizing member.
FIG. 29 is a cross-sectional view of the footwear of FIG. 27, taken generally along line B-B in the direction generally indicated.
Fig. 30 is a top view of another embodiment of the present footwear with a front stabilizing member, a lateral stabilizing member, and a rear stabilizing member.
FIG. 31 is a top view of yet another embodiment of the present footwear with a lateral stabilizing member having opposing lobes extending outward from the rear of the sole.
FIG. 32 is a top view of another embodiment of the present footwear having a front portion and a rear portion with different contact surface areas.
Figure 33 is a top view of one embodiment of the present footwear including a peripheral stabilizing member connected to the sole by a peripheral support member.
Figure 34 is a left side view of another embodiment of the present footwear.
Fig. 35 is a right side view of the footwear of fig. 34.
Fig. 36 is a bottom view of the footwear of fig. 34.
FIG. 37 is a top view of the footwear of FIG. 34, with the tongue and lace removed.
Fig. 38 is a rear view of the footwear of fig. 34.
FIG. 39 is a right side view of an embodiment of a sole of the footwear of FIG. 34.
Figure 40 is a left side view of the sole of figure 39.
Figure 41 is a top view of the sole of figure 39.
Figure 42 is a front view of the sole of figure 39.
Figure 43 is a rear view of the sole of figure 39.
Figure 44 is a top view of one embodiment of the sole of figure 39, wherein the stabilizing member includes a slot extending along a length of the shoe.
Figure 45 is a rear view of the sole of figure 44.
FIG. 46 is a top view of another embodiment of the sole of FIG. 39, wherein the stabilizing member includes slots extending within the medial and lateral balancing members.
FIG. 47 is an embodiment of a plate inserted into the slot shown in FIG. 44.
Figure 48 is a top view of another embodiment of the present footwear.
Figure 49 is a top view of yet another embodiment of the present footwear.
Fig. 50 is a rear view of the footwear shown in fig. 49.
FIG. 51 is a rear view of another embodiment of the shoe of FIG. 49, wherein the partition includes perforations.
FIG. 52 is a top view of yet another embodiment of the present footwear, wherein the sole includes a partial recess.
Figure 53 is a rear elevational view of the footwear shown in figure 52.
Figure 54 is a rear view of another embodiment of the footwear shown in figure 52, with the platform located at a medial position in the recess in the sole.
Figure 55A is a rear view of yet another embodiment of the present footwear wherein the sole includes material between the medial and lateral balancing members forming the bottom recess wherein the material gradually increases in thickness toward the upper.
Figure 55B is a bottom view of another embodiment of the present footwear with a sole including an elongate channel that opens into a recess in the sole.
FIG. 56 is a side view of another embodiment of the present footwear including a support panel forming a space between the upper and the sole.
Fig. 57 is a top view of the footwear shown in fig. 56.
Fig. 58 is an exploded side view of the footwear shown in fig. 56.
FIG. 59 is a top view of an embodiment of a sole of the footwear of FIG. 56, wherein the sole includes a recessed area for receiving a support panel.
Fig. 60 is a top view of the support plate shown in fig. 56 and 58.
Fig. 61 is a top view of another embodiment of a sole including a support panel.
FIG. 62 is a cross-sectional view of the sole of FIG. 61 taken generally along line 62-62 in the direction generally indicated.
Figure 63 is a left side view of the sole of figure 61.
Figure 64 is a bottom view of the sole of figure 61.
Figure 65 is a front view of the sole of figure 61.
Figure 66 is a rear view of the sole of figure 61.
FIG. 67 is a cross-sectional view of the sole of FIG. 64 taken generally along line 67-67 in the direction generally indicated.
FIG. 68 is a cross-sectional view of the sole of FIG. 64, taken generally along line 68-68 in the direction generally indicated.
FIG. 69 is a cross-sectional view of the sole of FIG. 64 taken generally along line 69-69 in the direction generally indicated.
FIG. 70 is a cross-sectional view of the sole of FIG. 64, taken generally along line 70-70 in the direction generally indicated.
FIG. 71 is a cross-sectional view of the sole of FIG. 64 taken generally along line 71-71 in the direction generally indicated.
FIG. 72 is a cross-sectional view of the sole of FIG. 64, taken generally along the line 72-72 in the direction generally indicated.
Fig. 73 is a top view of the support plate shown in fig. 61.
Fig. 74 is a left side view of the support plate of fig. 73.
Fig. 75 is a right side view of the support plate of fig. 73.
FIG. 76 is a side view of another embodiment of a support plate.
Fig. 77 is a top view of the support plate of fig. 76.
Fig. 78 is a bottom view of the support plate of fig. 76.
Fig. 79 is a side view of another embodiment of a support plate.
Detailed Description
The present footwear includes a balancing sole attached to an upper to form an article of footwear that stabilizes and cushions a user's foot during walking, jogging and running while enhancing propulsion. More particularly, the present article of footwear comprises a sole comprising: having a stabilizer extending outwardly from the upper at the rear end of the article of footwear and an extended toe portion at a height above the ground, the sole providing enhanced stability and propulsion for the user's foot during movement over diverse surfaces.
Referring now to fig. 1-16, one embodiment of the present footwear or article of footwear, generally indicated at 20, includes a sole 22 having amidsole 24 and anoutsole 26, and an upper 28 attached to the sole. Themidsole 24 extends from arear heel 30 to aforefoot 32 of theshoe 20 and has a first height above theground 34 at therear heel 30 of theshoe 20 and a second height above theground 34 at a front ortoe 36 of the shoe. As shown in fig. 1,midsole 24 curves downward from theheel portion 30 offootwear 20 toward themidfoot portion 38, and then curves upward from themidfoot portion 38 to thetoe portion 36. In one embodiment,midsole 24 has a first thickness T1 atheel portion 30 of the shoe, a second thickness T2 atmidfoot portion 38, and a third thickness T3 atforefoot portion 32, wherein the second thickness is greater than the first and third thicknesses. In the illustrated embodiment, the first thickness T1 of the midsole is 3.5 to 4.5cm, the second thickness T2 is 4.0 to 6.0cm, and the third thickness T3 is 3.0 to 5.0 cm. It should be appreciated that the thickness of the midsole may be the same from the heel to the forefoot of the shoe, andmidsole 24 may also have any suitable thickness or combination of thicknesses based on the desired cushioning of the shoe. This configuration provides more stability and cushioning in the midfoot and forefoot portions offootwear 20 to help absorb impact forces as theforefoot portion 38 of the footwear repeatedly contacts theground 34 during walking, jogging or running. In the illustrated embodiment, themidsole 24 is made of Ethylene Vinyl Acetate (EVA). It should be appreciated thatmidsole 24 may be made of any suitable material or combination of materials.
As shown in fig. 1-3 and 5, in one example embodiment, the sole 22 has aforefoot portion 40, theforefoot portion 40 having a length of 9.0cm and curving to a point at a height of at least 2.0cm above theground 34. Both the extended length and the increased height of theforefoot portion 40 are designed to increase the contact time between theforefoot portion 32 of theshoe 20 and theground 34 and to lengthen the gait cycle of the user, i.e., the period of time between when the user's foot initially contacts the ground and when the same foot again contacts the ground during walking, jogging or running. The combination of increased contact time and extended gait cycles allows the user to move more smoothly over the ground, increases the propulsive force on the user's feet over the ground, and also helps to delay fatigue during walking, jogging or running.
In the illustrated embodiment, themidsole 24 is attached to thetop surface 42 of theoutsole 26 and extends from theheel 30 to thetoe 36 of theshoe 20. As shown in fig. 1-3, 5, 6, and 8, theoutsole 26 includes a stabilizingportion 44, the stabilizingportion 44 extending outwardly from themidsole 24 at a specified angle θ and distance relative to the midsole. As shown in fig. 17, angle θ is the angle between a vertical line (e.g., E4) extending from the rear end of the midsole and a line at the top surface of the rear stabilizing member. To enhance stability and balance across the various underlying surfaces,stabilizers 42 extend around the perimeter or periphery ofheel portion 30 frommedial side 46 tolateral side 48 offootwear 20. In one embodiment, thestabilizers 44 form an angle θ of at least 50 degrees and more preferably at least 75 degrees. In another embodiment, the angle θ is 65 to 80 degrees, and more preferably 75-80 degrees, relative to thebottom surface 50 of themidsole 24 and extends at least 4.0cm outward from the midsole, and preferably at least 5.0cm from the rear end of the upper. By providing a stabilizingportion 44 having a wider base nearheel portion 30,present shoe 20 is able to remain relatively balanced and stable on different surfaces, including uneven surfaces that are common on fairways and in the urban area. Thus, the configuration helps a user to more smoothly and evenly walk, jog, or run on many different types of surfaces. In this embodiment, the stabilizingportion 44 is made of a combination of EVA and foam to provide both stability and cushioning to the user's foot during use. It should be appreciated that thestabilizers 44 may be made of any suitable material or combination of materials.
Referring now to fig. 12-15B, upper 28 is attached to atop surface 52 ofmidsole 24 and is made up of a number of different components. As shown in fig. 12,tongue 54 and integral gussets (gusset)56 are attached tomidsole 24. In particular, thegussets 56 include opposinglateral members 58, wherein one of the lateral members is attached to the medial side of themidsole 24 and the other lateral member is attached to the lateral side of themidsole 24 by stitching or other suitable attachment methods. Thegusset 56 also includes a forwardly extendingtop member 60, thetop member 60 being integrally formed with thelateral member 58 and extending over at least a portion of the user's foot proximate atoe cap 62. Thegussets 56 are preferably made of a flexible fabric material, but may be made of any suitable material.
Thetongue 54 shown in fig. 13A and 13B has abody 64 with an attachment portion 66 and atongue member 68. In the illustrated embodiment, thetongue 54 is preferably made of a similar material as thegussets 56, but may be made of any suitable material. As shown in fig. 3 and 13A, the connecting portion 66 is attached to thegusset 56 by stitching, adhesive, or other suitable attachment method.Tongue member 68 extends fromgusset 56 ofshoe 20 towardheel 30, and each side oftongue member 68 includes aflap 70, which flaps 70 extend around at least a portion of opposite sides of the user's foot. Pullingmembers 72 at the ends oftongue member 68 provide gripping areas so that a user may grip the tongue member to adjust the fit and position oftongue 54 andshoe 20 relative to the user's foot.
FIG. 13B shows different layers of material that combine to formtongue 54. The first orbase layer 74 is made of a first material, which is preferably a stretchable and breathable material. Thesecond layer 76 is attached to the first layer by stitching or adhesive and is made of a breathable material. Thethird layer 78 is attached to thesecond layer 76 and is made of a thin material that covers the second layer and facilitates the flow of air through the second and third layers of the tongue. The fourth layer 80 has acentral opening 82 that is attached to thethird layer 78 such that the combination of the second and third layers is exposed on the top side of the shoe. Thefirst layer 74, thesecond layer 76, thethird layer 78, and the fourth layer 80 can be made of any suitable material or combination of materials.
Referring to fig. 14, therear collar 84 is attached to arear portion 86 of themidsole 24 by stitching or other suitable attachment method. As shown in fig. 15A and 15B, theback collar 84 includes anouter liner 88, aninner liner 90 attached at least at a peripheral edge of the outer liner, and afoam material 92 located between the inner and outer liners.Foam material 92 is a polyurethane foam and is positioned in a predetermined area adjacent the foot of the user to provide cushioning and comfort. Theback collar 84 has upwardly extendingarms 94 that extend to opposite sides of the tongue 54 (as shown in FIG. 15) and overlap at least a portion of the outer surface of the tongue. In the illustrated embodiment, theinner liner 90 and theouter liner 88 are made of a stretchable and breathable material, but may be made of any suitable material.
Referring to fig. 16, an upper 96 having a generally U-shape includes afirst side 98 extending along themedial side 46 of theshoe 20 and asecond side 100 extending along thelateral side 48 of theshoe 20.Upper 96 also includes atoe portion 98 that connectsfirst side 98 andsecond side 100 and extends over at least a portion of a forefoot region of the user's foot.Upper 96 is made of a durable material whereinfirst side 98 andsecond side 100 of the upper each include a series oftabs 102. Some of thetabs 102form loops 104 and some of the tabs includeholes 106. As shown in fig. 1 and 2,lace 108 is threaded in a criss-cross pattern throughloops 104 andapertures 106 associated withtabs 102 onfirst side 98 andsecond side 100 of upper 96 to adjust the fit offootwear 20 on the foot of the user. It should be understood thatfirst side 98 andsecond side 100 of upper 96 may include tabs forming loops, tabs including holes, or a combination of tabs forming loops and tabs with holes.
As shown in fig. 3, the upper 28 is configured to have awider throat area 108 at the heel portion 30 (i.e., the width between opposite sides of the upper) to allow for even pressure distribution on the shoe by the user's heel and to provide more comfort to the user's foot. In addition, upper 28 is configured to extend higher along the user's foot inheel portion 30 to enhance the stability and comfort offootwear 20.
To enhance positioning of theshoe 20 on the user's foot, astrap 110 is attached to theheel portion 30 of the shoe and extends around the heel portion from themedial side 46 to thelateral side 48 of the shoe. As shown in fig. 1, at least a portion of thestrap 110 extends a distance away from theheel 30 to form a loop at the heel of theshoe 20. Thus, thestrap 110 may be grasped by the user to adjust the position of theshoe 20 on the user's foot or to assist in pulling theshoe 20 onto the user's foot. A portion of thestrap 110 includes a reflective material to help make theshoe 20, and thus the user, visible in low light conditions. Thestrip 110 is preferably made of a fabric webbing material.
As shown in FIG. 4, thebottom surface 112 of theoutsole 26 includes a plurality oftread members 114 extending therefrom.Tread members 114 are made of a rubber material and helpshoe 20 engage and grip an underlying surface. It should be appreciated thattread members 114 may be any suitable size and shape, and may be any combination of the sizes and shapes shown in the illustrated embodiment.
Referring now to fig. 17-31, in the following embodiments of the present shoe 198, the sole 200 includes three structural axes realized by stabilizing members extending outwardly (i.e., to the front, to the rear, or laterally) from the general outline of the upper 202, wherein the stabilizing members perform independently of each other and according to different combinations. According to various embodiments discussed in the following paragraphs, the stabilizing member may be composed of the same material as sole 200, a different material than sole 200, a composite material, an insert molded in a composite material, or any combination of suitable materials, and may extend partially over the sole or over the entire sole 200.
In the illustrated embodiment, themidsole 208 includes aperipheral edge 204, theperipheral edge 204 being comprised of upwardly extendingwalls 206, thewalls 206 forming a recess or cradle (cradle) on the top of the midsole that receives and surrounds the bottom of the upper 202. In other words, the top of the sole 200 comprises a mid-sole 208 consisting of a hollow profile open at the top, which is intended to receive the upper 202, the mid-sole 208 comprising theperipheral edge 204. It should be understood that the shoe 198 may be provided with a glued or removable insole or sock liner. As shown in the figures, the sole 200 extends substantially below the entire bottom surface of the upper 202 and upwardly along at least a portion of the upper, wherein the thickness of the sole 200 is typically greater at the heel than at the toes. In this manner,perimeter wall 206 provides support to each side of upper 202 to help support and balance a user's foot when walking, jogging or running on uneven terrain. In one embodiment, the Length (LU) of upper 202 substantially corresponds to a shoe size, i.e., woman size 7, man size 9.5, etc. Note that the conventional sole extends to a length of approximately 2.0 to 25 mm forward beyond the outline of the upper, i.e., approximately 0.8% to 6% of the Length (LU) of the upper 202, and substantially covers the front upper end of the upper, i.e., the toe box, in order to protect the toes of the user. This range of lengths relative to the upper is not conventional for athletic shoes, but is more suitable for walking or safety shoes, which are not suitable for running, and particularly for running or jogging over long distances, particularly because they have a generally planar, thick and rigid outsole with a shore D hardness of between 55 and 65.
Referring to fig. 17-21, in one embodiment, theshoe 198a includes a sole 200, the sole 200 including afront stabilizing member 210 extending longitudinally outward from a front portion of the sole 200 relative to the general contour of the upper 202. The front stabilizingmember 210 provides a propulsive effect at the end of a stride when the user is walking, jogging or running. In the illustrated embodiment, the length (L2) offront stabilizing member 210 is 7% to 60% of the Length (LU) of upper 202, and preferably 9% to 60% of the Length (LU). It is also contemplated that the anterior stabilizingmember 210 may be 9% to 40% of the Length (LU), 9% to 25% of the Length (LU), or 20% to 25% of the Length (LU).
In this embodiment, the length (L2) offront stabilizing member 210 is 9% to 11% of the Length (LU) of upper 202. Alternatively, according to the embodiment shown in fig. 29 and 30, the length (L2) of the front stabilizingmember 210 is 25% to 25% of the Length (LU) of the upper 202. In one embodiment, not shown, the length (L2) of the front stabilizingmember 210 is 25% to 60% of the Length (LU) of the upper 202. Note that the length of the front stabilizing member 210 (L2) corresponds to the length between the distal end of the upper 202 relative to the heel and the distal end of the front stabilizingmember 210. The profile of the sole 200 extends to the front through the front stabilizingmember 210. As shown, the front contour of the sole 200 curves upward and thereby generally decreases in thickness from the metatarsal region to the front end of the upper 202.
In one embodiment, thefront stabilizing member 210 has a uniform or substantially uniform thickness at points of thickness (E3, E3a, E3b) along substantially the entire length (L) of the shoe (fig. 18). Alternatively, the point or thickness of the front stabilizing member 220 (E3, E3a, E3b) may decrease from the proximal end to the distal end of the sole 200 relative to the heel, or may be a different thickness (E3, E3a, E3 b). In the illustrated embodiment, the average thickness (E3) offront stabilizing member 210 is 2% to 30% of the Length (LU) of upper 202, i.e., the thickness at the base of front stabilizing member 210 (E3a) is 2% to 30% of the Length (LU) of upper 202, and the thickness at substantially the distal end of front stabilizing member 210 (E3b) is 2% to 30% of the Length (LU) of upper 202. Note that the thickness at the base of the front stabilizing member 210 (E3a) corresponds to the thickness of the sole 200 at the distal end of the upper 202 relative to the heel, while the thickness substantially at the distal end of the front stabilizing member 210 (E3b) corresponds to the thickness of the front stabilizingmember 210 at approximately 4% of the Length (LU) of the upper 202 relative to the distal end of the front stabilizingmember 210. In this embodiment, the average thickness (E3) of the front stabilizingmember 210 is preferably 2% to 25% of the Length (LU) of the upper 202, and more preferably 3% to 20% of the Length (LU).
In one embodiment, the ratio between the thickness at the substantially distal end of the anterior stabilizing member 210 (E3b) and the thickness at the base of the anterior stabilizing member 210 (E3a) is 0.25 to 2, more preferably 0.5 to 2. It should be appreciated that the thickness of the front stabilizing member 210 (E3) may be modulated depending on the thickness of the sole 200, the material(s) of construction of the sole 200, and the length of the sole 200. The relatively large thickness (E3) of the front stabilizingmember 210, measured from the bottom to the top of the front stabilizingmember 210, makes it possible to store energy during compression of the front stabilizingmember 210 at the end of a step and to release the stored energy during the launch phase of the load-bearing leg.
In the illustrated embodiment, the width of the widest portion of upper 202 (L2) is positioned at the metatarsal region and decreases toward the distal end of upper 202 (i.e., at the toes). As shown,front stabilizing member 210 originates at the widest portion of the front portion of upper 202 and extends distally, longitudinally outward. In other words, thefront stabilizing member 210, which forms an outward extension of the sole 200, extends from the widest region of the front portion of the upper 202 to the front portion, i.e., in a distal direction of the front end of the upper 202. Additionally, the curvature of the distal end offront stabilizing member 210 is less than or equal to the curvature of the distal end of upper 202. In the illustrated embodiment, the curvature is oriented toward the medial side (PM) of the shoe, where the volume of the medial side (PM) of thefront stabilization member 210 is greater than the volume of the lateral side (PL) of thefront stabilization member 210. Note that the curvature of the front stabilizingmember 210 enhances the propulsive effect by increasing the volume in the inboard Portion (PM) of the front stabilizingmember 210, which facilitates ground contact and re-launch of the user's stride.
In the above embodiment, thefront stabilizing member 210 is an integral part of the sole 200 and protects the front portion of the sole 200 in the distal direction of the front end of the upper 202. In another embodiment, thefront stabilizing member 210 has an upward curvature, i.e., pointing from the bottom end of the sole 200 toward the upper 202. In this embodiment, the height (H2) of the distal end of the bottom surface of the front stabilizingmember 210 relative to the bottom surface of the center of the sole 200 (i.e., relative to the ground) is 0% to 60% of the Length (LU) of the upper 202, preferably 3% to 30% of the Length (LU) of the upper 202, and more preferably 3% to 20% of the Length (LU) of the upper 202. It should be appreciated that the height (H2) may be modified based on the material(s) of the front stabilizingmember 210 and the particular use of the shoe.
In the illustrated embodiment, the thickness (E2) of the sole at the widest portion of the upper (i.e., at the base of the metatarsals) is 9.5% to 30% of the Length (LU) of the upper 202, preferably 20% and 30% of the Length (LU) of the upper 202, and more preferably 20% to 25% of the Length (LU) of the upper 202. Note that the thickness (E2) corresponds to the distance between the bottom end of the upper 202 and the bottom end of the sole 200, where the ends of the sole 200 are in contact with the ground. In this embodiment, the range of thickness (E2) of the sole 202 at the metatarsal region (i.e., at thewidest portion 212 of the upper 202) provides a progressive shock absorbing effect during repeated rolling contact between the shoe and the ground during walking, jogging and running. It should be appreciated that in one embodiment, the present shoe may include a sole 200 having only a front stabilizingmember 210, such as theshoe 198b shown in fig. 22. In this embodiment, thefront stabilizing member 210 extends a distance or length from the front of the upper (L2).
Referring to fig. 17-19, 23, 24, 26, 27, 29, and 30, a sole 200 according to one embodiment includes arear stabilizing member 214, therear stabilizing member 214 extending longitudinally to the rear relative to the general contour of the upper 202. In these embodiments, therear stabilizing member 214 expands the rolling ground contact phase by opening ground contact earlier and distally relative to the heel. Note that therear stabilizing member 214 provides a more gradual impact than conventional shoes by virtue of the fluidity of the pressure path during each impact of the heel with the ground.
In the illustrated embodiment, the length (L3) ofrear stabilizing member 214 is at least 20% of the Length (LU) of upper 202, and preferably is 9% to 60% of the Length (LU) of upper 202, more preferably 22% and 40% of the Length (LU) of upper 202, and more preferably 23% and 25% of the Length (LU) of upper 202. Note that the length of rear stabilizing member 214 (L3) corresponds to the distance between the proximal end of upper 202 (i.e., the rear end of upper 202 at the heel) and the distal end ofrear stabilizing member 214. Preferably, theposterior stabilizing member 214 has a uniform or substantially uniform thickness along substantially the entire length of the posterior stabilizing member 214 (E4). It is also contemplated that the thickness of the posterior stabilizing member 214 (E4) decreases from the proximal end to the distal end of the posterior stabilizing member. It should be noted that the average thickness (E4) ofrear stabilizing member 214 is 7% to 40% of the Length (LU) of upper 202, preferably 9% to 30% of the Length (LU) of upper 202, and more preferably 22% to 25% of the Length (LU) of upper 202. In one embodiment, the rear stabilizing member has a thickness (E4) of at least 1.0 cm. Also, the thickness (E4) of therear stabilizing member 214 may be modified according to the thickness, the constituent material(s), and the length of the sole.
The relatively large thickness (E4) ofrear stabilizing member 214 helps to enhance shock absorption during compression of the rear stabilizing member at the beginning of a stride, and promotes initiation from an impact downstream of the heel to a ground contact phase where heel contact is followed by forward propulsion. Moreover, combining the greater thickness of the rear stabilizing member 214 (E4) with the greater thickness of the overall profile of the sole 200 creates a longitudinal shear strain at the sole, which reduces the strain experienced by the user's joints and back.
As shown in fig. 17-18, the thickness of the rear stabilizing member 214 (E4) is greater than the thickness of the sole 200 at the heel 216 (E2). Note that the thickness (E2) corresponds to the distance between the bottom end of the upper 202 at theheel 216 and the bottom surface of the sole 200 (i.e., the end of the sole 200 that contacts the ground). In the illustrated embodiment, the top of therear stabilizing member 214 substantially surrounds the outer periphery of the top of the heel, which promotes shock absorption during ground contact of the heel. As shown in fig. 2, therear stabilizing member 214 has a concave shape along a cross-section perpendicular to the bottom surface of the sole 200, wherein the concave shape of therear stabilizing member 214 provides an optimal strain distribution.
Referring to fig. 29, in another embodiment, therear stabilizing member 214 is raised upward, i.e., the rear stabilizing member is implemented by a tongue-shaped profile having a concave curvature along a plane perpendicular to the bottom surface of the sole 200.
Referring to FIG. 24, in yet another embodiment, theshoe 198d includes a sole 200 with arear stabilizing member 214, therear stabilizing member 214 originating at the widest portion (L2) of the front of the upper 202 and extending distally longitudinally to the rear of the shoe, the lateral profile of therear stabilizing member 214 following the rear lateral profile of the upper 202, but more broadly, extending distally beyond the heel. In this embodiment, arear stabilizing member 214, which forms an extension of the rear portion of the sole 200, extends from thewidest portion 212 of the front portion of the upper 202 to the rear, i.e., in a distal direction relative to the heel.
In another embodiment shown in fig. 23,shoe 198c has a sole with: therear stabilizing member 214 originates at an arch-facing narrowing 218 of the upper 202 and extends longitudinally distally to the rear of the shoe, with the lateral contour of therear stabilizing member 214 following the lateral contour of the upper 202 and extending distally beyond the heel. In all of these embodiments, the difference in lateral thickness ofrear stabilizing member 214 relative to the lateral profile of upper 202 is 2% to 6% of the Length (LU) of upper 202, such as shown in fig. 24.
In one embodiment, the curvature of the distal end of therear stabilizing member 214 along a cross-sectional plane parallel to the bottom surface of the sole 200 is equal to or greater than the curvature of the proximal end of the upper 202 at the heel. In another embodiment, the aforementioned distal curvature of rear stabilizingmember 214 relative to the heel is equal to that of upper 202. In yet another embodiment, the aforementioned distal curvature of therear stabilizing member 214 relative to the heel is greater than that of the upper 202. It should be noted that the relatively large width (L6) of therear stabilizing member 214 allows for optimal contact with the ground at the earlier impact of the stride (i.e., distally relative to the heel). To this end, the average width (L6) ofrear stabilizing member 214 is 20% to 40% of the Length (LU) of upper 202.
In the illustrated embodiment, therear stabilizing member 214 is an integral part of the sole 200 and protects the rear of the sole 200 in the distal direction of the rear end of the upper 202. Also, the bottom surface of therear stabilizing member 214 has an upward curvature, i.e., pointing from the bottom end of the sole 200 toward the upper 202. Further, the height (H2) of the distal end of the bottom surface of therear stabilizing member 214 relative to the bottom surface of the center of the sole 200 (i.e., relative to the ground) is 0 to 60% of the Length (LU) of the upper 202, preferably 3 to 60% of the Length (LU) of the upper 202, more preferably 4 to 30% of the Length (LU) of the upper 202, more preferably 5 to 20% of the Length (LU) of the upper 202.
Referring to fig. 25, in yet another embodiment,shoe 198e includes a sole 200, which sole 200 includeslateral stabilizing members 220 positioned on both sides of the heel.Lateral stabilizing member 220 includes twolugs 222a, 222b, alateral lug 222a and amedial lug 222b, positioned on opposite sides of the rear portion of upper 202 at the heel and extending outwardly therefrom. During use of the shoe, thelateral stabilizing member 220 increases lateral stability during impact at the heel by realigning the pressure path toward the longitudinal mid-axis of the shoe profile. Furthermore, in poor positioning of the foot on the ground contact, the lateral stabilizing member provides sufficient delay time for the reflective mechanism to react and recover from the poor positioning, which helps prevent injury to the user. Moreover, thelateral stabilizing members 220 help realign the user's foot during the impact phase, which limits fatigue by improving the regularity of the motion during the stride sequence. It should be understood that the lateral stabilizing members may extend outward from the medial, lateral, or all sides of the footwear.
In the illustrated embodiment, on one side of upper 202 at the heel, the lateral width (L4) oflateral stabilizing member 220, i.e., the lateral widths oflugs 222a, 222b (L4), i.e., the distance that the lugs each extend outward from the upper, is at least 5% of the Length (LU) of upper 202, and preferably 5% to 20% of the Length (LU) of upper 202, and more preferably 5% to 22% of the Length (LU) of upper 202. Further, in one embodiment, the width ofmedial lug 222b or inner lug (i.e., the medial distance that lug 222b extends from the upper) is less than the width of lateral lug 202a or outer lug (i.e., the lateral distance that lug 222a extends from the upper). It should be understood that the width ofinside lug 222b may be greater than the width ofoutside lug 222a or the inside and outside lugs may have the same width. Further, at the bottom surface of sole 200, the maximum lateral width (L5) from one edge to the other edge oflateral stabilizing member 220 is 50% to 60% of the Length (LU) of upper 202, and preferably 52% and 57% of the Length (LU) of upper 202.
In one embodiment, the maximum width oflateral stabilizing member 220 at the bottom surface of sole 200 (L5) is equal to or greater than the maximum width of upper 202 at the metatarsal region (L2). Furthermore, the ratio between the maximum width of thelateral stabilizing member 220 at the bottom surface of the sole 200 (L5) and the maximum width of the upper 202 at the metatarsal region (L2) is 2 to 3, preferably 2.2 to 2.5, more preferably 2.2 to 2.5. It should be understood that the ratio may also be 2.25 to 2, or in the range of greater than or equal to 2.3 and less than 2. Note that in the illustrated embodiment, this ratio for the shoe is at least less than 2.0, and preferably 0.6 to 0.9. As shown in fig. 25, the outer contour oflateral stabilizing member 220 originates at the widest portion 222 of the front portion of upper 202, and more particularly, originates at the central or midfoot region of upper 202, i.e., preferably at least at the center of the arch, and extends in a splayed manner up to the rear end of upper 202. It is also noted that the maximum width (L5) oflateral stabilizing member 220 is positioned generally facing the rear end of upper 202 and is positioned at least directly aboveheel 226 to provide maximum stability at the ground contact area of the heel.
In another embodiment,lateral stabilizing member 220 or portions of sole 200 that form lateral stabilizing member 220 (i.e., lugs 222a, 222b) are more flexible than other portions of sole 200. In this way, thelateral stabilizing member 220 limits the torque effect by limiting any excessively abrupt return effect to the normal position of the shoe when the heel is poorly positioned on the ground, and then returns to the natural position.
In the illustrated embodiment, the lateral stabilizing members 220 (i.e., lugs 222a, 222b) include recesses (i.e., hollows) such as outer grooves that soften the sole 200 on either side of the heel. In one embodiment, lateral stabilizing member 220 (i.e., lugs 222a, 222b) is made of a material that is more flexible than the remainder of sole 200 (i.e., has a lower shore D hardness than the remainder of sole 200). It should be appreciated that the lateral stabilizing members may have the same or different stiffness than the other portions of the sole 200.
In yet another embodiment shown in fig. 26, shoe 198f includes a sole 200, which sole 200 includes arear stabilizing member 214 and alateral stabilizing member 220, thereby forming a rearperimeter stabilizing member 224 around the heel region of the shoe. In this embodiment, the rearperimeter stabilizing member 224 spreads out and readjusts the stride, relieving the strain concentration at heel strike, thereby spreading out the impact force on the user's body. As shown in fig. 18 and 26, the rear peripheral stabilizingmember 224 has an outer shape resembling an arc of a circle. In this way, rearperimeter stabilization member 224 limits drift and deviation from the shoe's positioning along the preferential ground contact line of the natural stride. Note that rear peripheral stabilizingmember 224 thus extends distally relative to the heel over a length (L3) corresponding to the length ofrear stabilizing member 224 described above and over a width (L5) corresponding to the width oflateral stabilizing member 220.
Referring now to fig. 27, in yet another embodiment, ashoe 198g includes a sole 200, the sole 200 including afront stabilizing member 210 and arear stabilizing member 214, which enhances the propulsion phase and results in a greater stride length or height. In this way, the presence of therear stabilizing member 214 in the above combination makes it possible to initiate the landing, and thus the ground impact phase, early due to the increase in particular in the length of the step, which provides mobility to the movement of the step of the user. The mobility of this motion is provided both during the propulsion phase, in which the heel of one leg lands upstream of the other, and during the backward step engagement phase, in which the foot rolls forward to the propulsion phase.
Referring to fig. 28, in another embodiment,shoe 198h includes a sole 200, and sole 200 includes a front stabilizingmember 210 and alateral stabilizing member 220. In the previous embodiment, the risk of force line drift during launch and hover phases is increased due to the support of the front stabilizingmembers 210. Thus, in this embodiment, the presence of thelateral stabilizing member 220 during the landing phase readjusts the rear ground contact and limits the risk of losing balance and therefore the risk of injury.
With reference to fig. 17-19, 29, and 30, in yet another embodiment, a shoe 198i includes a sole 200 having a front stabilizingmember 210 and a rear peripheral stabilizingmember 214 formed from arear stabilizing member 214 and alateral stabilizing member 220 to form a full peripheral stabilizingmember 226 of the sole 200. The fullperimeter stabilization member 226 provides mobility for the step between the propulsion phase and the early landing phase, and vice versa. Furthermore, the fullperimeter stabilization member 226 also limits the risk of drifting along the preferential ground contact line, i.e. the potential risk of drifting in landing phase due to increased thrust phase and due to also earlier impact phase start-up phase. In this embodiment, the material(s) of sole 200 have a shore D hardness of between 30 and 35, but may have any suitable hardness value or combination of hardness values.
Referring to fig. 31, in another embodiment, ashoe 198j has a sole 200 with arear stabilizing member 214 and alateral stabilizing member 228, wherein the lateral stabilizing member includes protrudinglugs 228a and 228b extending outwardly from the rear of the sole. In one embodiment, lugs 228a and 228b are integrally formed withoutsole 200 and extend outwardly fromoutsole 200 and are spaced apart from the rear stabilizing member. In another embodiment, the shoe includes only lateral stabilizingmember 228 withlugs 228a and 228b and does not include rear stabilizingmember 214. In each embodiment, thelugs 228a and 228b provide lateral support and stability to the user while reducing impact forces on the user's feet. It should be appreciated that in each embodiment, lugs 228a and 228b have a width (i.e., a lateral distance from the upper) that is at least 5% of the Length (LU) of the upper.
In one embodiment of the present footwear or shoe, a semi-rigid support plate (e.g., a carbon plate) is inserted between the midsole and the outsole to provide additional stability and support to the user's foot. The support plate is a substantially planar plate that extends along at least a portion of the midsole. Alternatively, the plate may be inserted into or integrally formed with the midsole. The plate may extend along a portion of the midsole and outsole, such as in the heel region, or along the entire length (L) of the shoe. Additionally, the plate may be made of metal, metal fibers encapsulated by resin, plastic, or any suitable material or combination of materials.
In another embodiment, a spring plate is interposed between the midsole and the outsole. The spring plate is a generally planar plate that extends under the upper and beyond the rear end of the wall 206 (shown in fig. 18) to provide resilient support in the heel region of the shoe to help absorb impact forces on the user's heel during heel strike when walking, jogging or running. In another embodiment, the spring plate extends beyond the forward end of thewall 206 to provide support during propulsion, i.e., resistance to propulsion between the forefoot and the ground. It is contemplated that the spring plate may extend along the entire length (L) of the shoe, from the front end ofwall 206 to a point beyond the rear end ofwall 206, from the rear end ofwall 206 to a point beyond the front end ofwall 206, or both the front and rear ends ofwall 206. In this embodiment, the spring plate is made of resilient metal, but may be made of plastic or any suitable material or combination of materials.
Referring to fig. 32, in another embodiment, a shoe 198k includes an upper 232 having a bottom surface and a length and a sole 230 secured to the bottom surface of the upper 232 and including a midsole and an outsole. As shown, sole 230 has aforward portion 234 with a forward contact surface area and arearward portion 236 with a rearward contact surface area, where the forward portion has a Forward Length (FL) and the rearward portion has a Rearward Length (RL), and as shown in the illustrated embodiment, the Forward Length (FL) and the Rearward Length (RL) are equal to one another relative to the overall length (L) of the shoe. In this embodiment, the rear contact surface area (the area of the bottom of the sole that contacts the ground) is equal to or greater than the front contact surface area to provide stability and balance to the user during walking, jogging and running, and to distribute or reduce the impact force on the user's heel along the rear contact surface area, thereby reducing the impact force on the user's body while enhancing propulsion. It should be understood that the length of thefront portion 234 may be less than, equal to, or greater than the length of therear portion 236, so long as the rear contact surface area is equal to or greater than the front contact surface area.
Referring to FIG. 33, in yet another embodiment, a shoe 198l includes a sole 237 having a midsole and an outsole. Peripheral stabilizingmember 238 extends frommedial side 240a tolateral side 240b of the sole and is attached to the midsole by aperipheral support member 242. In this embodiment, theperipheral support members 242 are a mesh structure extending outwardly from the central sole to the peripheral stabilizingmembers 238 such that the peripheral stabilizing members are not directly connected to the sole 237. This provides a hollow space between the sole 237 and theperimeter stabilizing member 238 below the perimeter support member that allows thesupport member 242 and theperimeter stabilizing member 238 to flex during use to provide support and balance to the user over different terrains while reducing impact forces on the user's foot. In another embodiment, the peripheral stabilizing member is attached to the outsole by a peripheral support member. It should be understood that peripheral stabilizingmembers 238 andperipheral support members 242 may extend around a portion of the peripheral surface of sole 237 from the medial side to the lateral side of the sole or around the entire rear peripheral surface of the sole (as shown in fig. 33). It should also be appreciated that theperipheral support member 242 may be a mesh structure, a solid structure, or any suitable structure that attaches the peripheral stabilizing member to the sole 237.
Furthermore, in the above embodiments, the front stabilizing member, the lateral stabilizing member including the opposing lugs, and the rear stabilizing member may be made of the same material or different materials. Similarly, the front stabilizing member, the lateral stabilizing members and the rear stabilizing member may be made of materials having the same hardness value or different hardness values. For example, one or more of the front stabilizing member, the lateral stabilizing member, and the rear stabilizing member may have the same durometer value or different durometer values.
Referring to fig. 34-47, another embodiment of the present footwear or article of footwear, generally designated 300, includes a sole having amidsole 24 and anoutsole 26, and an upper 28 attached to the sole. It will be appreciated that the shoe components in this embodiment are described above and have the same reference numerals. In this embodiment, the sole, and more particularly therear stabilizing member 302 of the sole, includes a V-shaped groove or cut 304 extending from themidsole 24 and through theentire outsole 26. V-shapedgroove 304 separates rear stabilizingmember 302 into amedial balancing member 306 and alateral balancing member 308. In this embodiment, the groove has a V-shape, but it is contemplated that the groove may have a V-shape, a U-shape, or any suitable shape. In the illustrated embodiment, the respectiveinner surfaces 310, 312 of themedial balance member 306 and thelateral balance member 308 that form the V-shapedgroove 304 are each substantially flat surfaces. It should be appreciated that thegroove 304 between themedial balance member 306 and thelateral balance member 308 may have any suitable shape, such as a V-shape, U-shape, or other shape. Further, theinner surfaces 310, 312 of the medial andlateral balancing members 306, 308 may be flat (as shown), curved outward, curved inward, or have any suitable shape or configuration. The rear orrear edge 314 of the groove 304 (i.e., the end or edge of the groove closest to the upper 28) may be directly adjacent to the upper 28 or any suitable distance from the upper. For example, in the illustrated embodiment, therear edge 314 of therecess 304 is 2.0cm from the upper 28.
Therecess 304 in therear stabilizing member 302 enables the medial andlateral balancing members 306, 308 to move independently of one another and flex outward upon impact on theunderlying surface 34 to provide enhanced support, balance, and stability to the user's foot, and to facilitate turning and leaning during exercise (e.g., while walking, hiking, jogging, or running). For example, asshoe 300 impacts an underlying surface onmedial side 46 of the shoe,medial balance member 306 curves outward away fromlateral balance member 308 to provide more stability and balance on the medial side of the shoe. Similarly, asshoe 300 impacts the underlying surface onlateral side 48 of the shoe,lateral balancing member 308 curves outward away from medial balancingmember 306 to provide more stability and balance on the lateral side of the shoe. The central impact between theheel 30 of theshoe 300 and the underlying surface causes both the medial andlateral balancing members 306, 308 to flex outward to provide more stability on the underlying surface. In this manner,footwear 300 provides enhanced support, suspension, and stability over different configurations. Thegrooves 304 also reduce the weight of therear stabilizing member 302 and thereby the weight of theshoe 300 to help reduce stress and fatigue on the user's foot and leg. In this embodiment, the medial andlateral balancing members 306, 308 may be made of the same material or different materials. For example, medial andlateral stabilizing members 306, 308 may be made of materials having different durometer values to provide more stability and balance or more shock absorption on the medial or lateral sides offootwear 300. Further, medial andlateral balancing members 306, 308 may have different stiffness to enhance propulsion during movement. It should be appreciated that medial andlateral balancing members 306, 308 may be made of materials having the same stiffness, different stiffness, or portions having different stiffness.
Referring to fig. 44-47, in yet another embodiment, medial andlateral balancing members 306, 308 of rear stabilizingmember 302 includeelongated slots 316, whichslots 316 extend from the ends of rear stabilizingmember 302 to the front of the sole (i.e., the front of shoe 300). Theslots 316 are each configured to receive anelongated plate 318 having a specified width, length, and thickness. Theplate 318 may be a carbon plate or made of any suitable material or combination of materials. Further, in one embodiment,plate 318 inserted intoslot 316 associated withmedial balance member 306 is different thanplate 318 inserted intoslot 316 associated withlateral balance member 308. In this regard, theplate 318 may vary in size, shape, length, thickness, stiffness, or any combination of these characteristics. In one embodiment, eachplate 318 varies in stiffness along the length of the plate. For example, different portions of theplate 318 may have greater stiffness than other portions of the plate to provide more stability at designated locations of the shoe (such as in theheel region 30 or in the arch on the medial side 46). Also, theplates 318 may have different lengths. For example, theplate 318 may extend the length of theshoe 300, as shown in FIG. 44, or only extend within the medial andlateral balancing members 306, 308, as shown in FIG. 46. It should be understood that theplates 318 may be the same length or different lengths and may also be any suitable length.
In the above embodiments, theplate 318 may be molded into the sole during manufacture of theshoe 300 such that the plate is not removable from the sole. In another embodiment, theplate 318 is removable from theslots 316 formed in the medial andlateral balancing members 306, 308 such that a user may replace the plate with a different plate (e.g., a plate having a lesser or greater stiffness), or replace a broken or damaged plate. In this embodiment, theplate 318 includes a grippingmember 320 at the end of the plate so that a user can easily grip and pull the plate out of theslot 316, and can also easily insert and push theplate 318 into theslot 316. In these embodiments, theplate 318 may have a symmetrical shape as shown in FIG. 47, or an asymmetrical shape such as a curvilinear shape. It should be appreciated that theplate 318 may have any suitable shape.
In another embodiment, theslots 316 formed in the sole are in different planes or positioned at different angles relative to each other or are in different planes and at different angles relative to each other within the sole. For example, one of theslots 316 may be a greater distance above the underlying surface than theother slot 316. Alternatively, one of theslots 316 may be angled at 25 degrees relative to the bottom surface of the upper, while the other slot may be angled at 60 degrees relative to the bottom surface of the upper. In this manner, theplate 318 may be in different planes in the sole and/or positioned at different angles relative to the bottom surface of the upper to adjust the support, balance, stability, and propulsion of the shoe. It should be appreciated that theslot 316, and thus theplate 318, may be at any suitable plane and at any suitable angle within the sole.
Referring to fig. 48, another embodiment of the present footwear or article of footwear is shown, which is generally designated by thereference numeral 322 and which includes arecess 324 formed in a stabilizingmember 326 of the sole, therecess 324 separating the stabilizing member into amedial balancing member 328 and alateral balancing member 330 as described in the embodiments above. In this embodiment, the medial andlateral balancing members 328, 330 are asymmetric with respect to alongitudinal axis 332 extending through a central portion of theshoe 322. More specifically, theinboard balance member 328 has a length LM that is greater than the length LL of theoutboard balance member 330. It should be appreciated thatmedial balance member 328 andlateral balance member 330 may be symmetrical or asymmetrical in length, width, thickness, or any combination of these parameters. In this manner, the medial and lateral balancing members may be adjusted or tuned to enhance the balance, stability, support, propulsion, or other desired performance characteristics of the footwear.
Referring now to fig. 49-51, another embodiment of the present shoe is shown whereinshoe 334 includes a stabilizingmember 336 having adivider 338 instead of a groove, whereindivider 338 is made of a material different than the material of the stabilizing member. In particular, in this embodiment,divider 338 is made of a material that is softer than the material of stabilizingmember 336 to form medial andlateral balancing members 340, 342. Forming thepartition 338 from a softer material allows the partition to flex and move to allow the medial andlateral stabilizing members 340, 342 to move independently of one another as described above. In another embodiment shown in fig. 51, thepartition 344 of theshoe 345 is made of a perforated material having a number ofholes 346 that enable the partition, and thus the medial andlateral balancing members 348, 350, to flex and move in a similar manner as the softer material. It should be appreciated that the divider may be made of any suitable material or combination of materials.
Referring to fig. 52-54, yet another embodiment of the present shoe is shown in which theshoe 352 includesgrooves 354 having different depths. For example, thegrooves 354 in the stabilizingmembers 356 in fig. 52 form medial andlateral balancing members 358, 360, wherein thegrooves 354 do not extend completely through the sole. Alternatively, theplatform 362 is positioned at the bottom of the groove and extends between the medial and lateral stabilizing members. In this embodiment, the upper surface of theplatform 362 is substantially flat. It should be appreciated that the upper surface of theplatform 362 may be flat or angled and may have any suitable thickness. Additionally, as shown in fig. 54, theplatform 362 may be positioned at any distance or height above the underlying surface. It should be appreciated thatplatform 362 may be at the top ofgroove 354 such that the groove extends from the bottom surface ofplatform 362, through the sole and opens to the underlying surface, or at any suitable location in the groove. It should also be appreciated that a plurality of platforms may be positioned within thegroove 354 and extend between the medial and lateral balancing members. In this embodiment, the platforms may be spaced apart from one another or positioned directly adjacent to one another, and two or more of the platforms may be made of the same material or different materials.
Referring to FIG. 55A, in yet another embodiment, ashoe 355 is shown and includes arecess 357 formed by medial andlateral balance members 359 and 361. As shown in the illustrated embodiment,groove 357 is located at the bottom ends of medial andlateral balancing members 359 and 361 and the portions of medial and lateral balancing members that form the groove gradually increase in thickness toward the upper such thattop end 363 is primarily filled with material between the medial and lateral balancing members. It should be appreciated that the grooves may be formed in any suitable portion of the rear stabilizing member and the thickness of the medial andlateral counter members 359, 361 may be any suitable thickness. It should also be appreciated that the material between the medial andlateral balancing members 359, 361 may be the same material as the medial and lateral balancing members or a different material.
Referring to fig. 55B, in another embodiment, ashoe 364 is shown and includes anelongated channel 366 formed in the bottom of the sole, theelongated channel 366 extending from the midfoot of the shoe to agroove 368 formed in a stabilizingmember 370. In this embodiment, the depth of thechannel 366 gradually increases until thegroove 368 is reached. It should be understood that the channel may extend from any portion of the shoe, including the front end or forefoot of the shoe. Further, thechannel 366 may have any suitable length, width, and/or depth.
Referring now to fig. 56-60, in yet another embodiment, a shoe is shown, generally designated asreference numeral 372, and includes an upper 374 and a sole 376, the sole 376 may be comprised of a midsole and an outsole or only an outsole. The sole 376 has acounter 378 that extends outwardly from the upper 374 and continuously along the medial, lateral andrear portions 380a, 380b and 380c of the shoe. In this embodiment, thecurvilinear support panel 382 is positioned between the upper 374 and the sole 376, as shown in fig. 56 and 58. More particularly, thesupport plate 382 is positioned in the recessed area shown in fig. 59 such that therear end 384 of thesupport plate 382 is in the recessedarea 386 and thefront end 388 of the support plate is in the recessedarea 390, with the recessedareas 386 and 390 being spaced apart or spaced apart from one another. The curves in thesupport panel 382 enable the support panel to be positioned on the sole 376 such that the rearcurved portion 392 of thesupport panel 382 is at a distance above the upper surface 394 of the sole 376. In this manner, aspace 396 is formed between thesupport panel 382 and the sole 376 such that the support panel can flex or move upwardly and downwardly relative to the sole 376 to provide support and resilience to the user's foot during movement. In the illustrated embodiment, thesupport plate 382 has two curvilinear portions, a rearcurvilinear portion 392 and a frontcurvilinear portion 398, but can have any suitable number of curvilinear portions depending on the desired support and spring force. Further, eachcurvilinear portion 392, 398 can have any suitable curvature. Preferably, thesupport plate 382 has a generally elongated, narrow rectangular shape, but may be any shape. Also, thesupport plate 382 is made of carbon fibers and resin, but may be made of any suitable material or combination of materials.
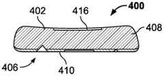
Referring now to fig. 61-72, in another embodiment, a sole for an article of footwear is shown and indicated generally at 400, wherein the sole includes anupper surface 402 configured to receive an upper 404, and abottom surface 406. More particularly, sole 400 includes amidsole 408 made of a material that provides cushioning and support to the user's foot, such as EVA or other suitable material.Outsole 410 is attached to a bottom surface 412 ofmidsole 408 and includestread members 414 that contact and at least partially grip an underlying surface for support and stability when moving over different terrain. Theoutsole 410 is preferably made of rubber, but may be made of any suitable material or combination of materials.
As shown in fig. 61 and 62, a support member, such as asupport plate 416, is placed on theupper surface 402 of the sole 400 to provide stability and support to different areas of the user's foot. Thesupport plate 416 has afront portion 418, amiddle portion 420, and arear portion 422. In the illustrated embodiment,forward portion 418 is positioned at least partially in a forefoot region of a user's foot and includes a forefoot-medial arm 424 that extends along amedial side 426 of sole 400 and into atoe region 428 of the sole. Antero-lateral arm 430 is spaced apart from antero-medial arm 424 and extends at least partially alonglateral side 432 of sole 400 and at least partially in forefoot region 434. As shown in the illustrated embodiment, the length of antero-medial arm 424 is greater than the length of antero-lateral arm 430. In another embodiment, antero-lateral arm 430 has a length greater than the length of antero-medial arm 424. It should be appreciated that the length of the antero-medial arm 424 and the length of the antero-lateral arm 430 may be adjusted to provide different levels of stability and support on the medial andlateral sides 426, 432 of the sole.
To provide lateral balance, therear portion 422 of thesupport plate 416 has a V-shape formed by a rear medial arm 434 and a rearlateral arm 436. As shown in fig. 61, the posteriormedial arm 435 and the posteriorlateral arm 436 each have the same length. In another embodiment, the length of the posteromedial arm 434 and the length of theposterolateral arm 436 are different. As with thefront portion 418 described above, the length of the rear medial arm 434 and the length of the rearlateral arm 436 may be adjusted based on the desired level of stability and support in theheel region 438 of the sole 400. The posteromedial arm 434 andposterolateral arm 436 are spaced such that aspace 440 exists between the posteromedial and posterolateral arms such that the posteromedial arm 434 andposterolateral arm 436 can move or flex relative to each other or independently of each other.
Themiddle portion 420 of thesupport plate 416 connects thefront portion 418 and therear portion 422. Preferably, thecentral portion 420 is flexible and is positioned a specified distance above the upper surface of the sole to form agap 442 such that the central portion can move toward and away from theupper surface 402 of the sole. This configuration provides resilient support to the insole region of the user's foot when the user is walking, jogging or running. For example, when the user's foot presses down on themedial portion 420 of thesupport plate 416, thesupport plate 416 moves at least partially through thegap 442 and toward theupper surface 402 of the sole 400. When the user's foot releases pressure on themiddle portion 420, themiddle portion 420 moves away from theupper surface 402 and returns to its original position. As shown in fig. 61, the width of themiddle portion 420 of thesupport plate 416 is less than the width of thefront portion 418 and the width of therear portion 422. The width of thecentral portion 420 can be adjusted to provide different levels of support to the user's foot. Similarly, themiddle portion 420 of thesupport plate 416 can be formed in a curvilinear shape, such as a convex shape as shown in fig. 61 and 62, to adjust the level of support provided to the user's foot.
In one embodiment, themiddle portion 420 of thesupport plate 416 includes an upwardly projectingridge 444 extending along at least a portion of the middle portion. Theridges 444 are used to adjust the stiffness of thecentral portion 420, which corresponds to the stiffness or flexibility of the central portion, wherein theridges 444 may extend along a portion of the length of thecentral portion 420 or along the entire length of thecentral portion 420. In another embodiment, theridges 444 are replaced by openings or through holes (not shown) that also adjust the stiffness and flexibility of the middle portion.
In the illustrated embodiment, thefront portion 418 has a width W1 and therear portion 422 has a width W2, both of which are greater than the width W3 of themiddle portion 420 of thesupport plate 416. It should be understood that widths W1, W2, and W3 may be the same or that the respective widths may differ as shown in fig. 61. Also, width W1 may be the same as width W2 or width W3, and width W3 may be the same as width W2. Adjusting the width of thesupport plate 416 in different areas of the user's foot may adjust the support provided by thesupport plate 416 in different areas of the user's foot. Similarly, the thickness of thesupport plate 416 may be uniform along the entire length of thesupport plate 416, or the support plate may have different thicknesses relative to different areas of the user's foot. Also, in the above embodiment, thesupport plate 416 is preferably made of a carbon fiber material. It should be understood that the support plate may be made of metal, composite material, or any suitable material or combination of materials.
Also in the above embodiments, thesupport panel 416 may be located on theupper surface 402 of the sole 400, embedded or molded within the sole 400, or the sole 400 may have a recessed area that corresponds in size, shape, and depth to the size, shape, and thickness of thesupport panel 416. In this manner, the recessed areas limit movement of thesupport panel 416 relative to the sole 400 and thereby secure the support panel in place on the sole. In another embodiment, thesupport panel 416 is secured to theupper surface 402 of the sole 400 using an adhesive or other suitable attachment method.
In use, a user's foot is inserted into an article of footwear, such as a shoe or sandal, such that the user's foot is adjacent to thesupport plate 416, and more particularly, such that the user's arch is on themedial portion 420 of thesupport plate 416. As the user walks, joggs or runs, when the shoe is relatively flat with respect to the underlying surface, the user's foot presses on thecentral portion 420, causing thecentral portion 420 to move downward through thegap 442 toward theupper surface 402 of the sole 400. The amount of compression of thecentral portion 420 of thesupport plate 416 depends on the configuration of the central portion, such as the thickness, width, and material used to form the central portion, and whether aridge 444 or opening is formed in the central portion as described above. As the pressure on the user's foot on theresilient midsection 420 decreases, such as when the user's foot rolls over onto the forefoot region of the sole 400, theresilient midsection 420 moves away from theupper surface 402 of the sole 400 to its original non-compressed or non-flexed position. In this manner, themiddle portion 420 provides support to the arch or insole of the user's foot to help the user's foot push the user forward.
Referring now to fig. 76-79, another embodiment of thesupport plate 446 is shown, wherein thesupport plate 446 has afirst support member 448 and asecond support member 450 that combine to form the support plate. In this embodiment, thefirst support member 448 has anupper portion 452 with acurved portion 454 and alower portion 456 extending from an end of theupper portion 452 and under at least a portion of the upper portion, as shown in fig. 76. Similarly, thesecond support member 450 is a separate component having anupper portion 458 and alower portion 460 extending from an end of theupper portion 458 and under at least a portion of the upper portion. Thelower portions 456 and 460 of the first and second support members are spaced apart from theupper portions 452 and 458 by a specified distance and are each made of a resilient material such that thelower portions 456, 460 act as springs as they move toward and away from theupper portions 452, 458 during use. In the illustrated embodiment, thesupport panel 446 includes afirst support member 448 and asecond support member 450, where the first support member and the second support member are separate components that are positioned on, embedded in, or molded in a sole of the article of footwear. In another embodiment, thesupport plate 446 is a single, unitary component that includes afirst support member 448 and asecond support member 450, as shown in fig. 79. It should be understood that thesupport plate 446 may have the same or different thickness and/or the same or different width as described above. Furthermore, thesupport plate 446 is preferably made of a carbon fiber material, but may be made of metal, a composite material, or any suitable material or combination of materials.
Referring to FIG. 79, in another embodiment, thesupport plate 462 is formed as a one-piece unit or one-piece member. In this embodiment, thesupport plate 462 has anupper portion 464 andlower portions 466 and 468, thelower portions 466 and 468 extending from and at least partially below each end of the upper portion. As shown, thelower portions 466, 468 are spaced a specified distance from the upper portion, wherein thespacing 470, 472 between the upper portion and each lower portion can be adjusted such that the distance between the upper portion and each lower portion is the same or different. Thesupport plate 462 is preferably made of a stable, resilient material, such as a carbon fiber based material, so that theupper portion 464 can flex or move toward and away from thelower portions 466, 468 when pressure is applied to thefront end 474 and/or therear end 476 of theupper portion 464. In the illustrated embodiment, theupper portion 464 includes acurved portion 478 located at or near the arch or insole of the user's foot. Thecurved portion 478 provides support to the user's foot as the user's foot presses theupper portion 464 against one or both of thelower portions 466, 468. It should be appreciated that thesupport plate 462 may also be fabricated from metal, composite materials, or any suitable material or combination of materials.
While particular embodiments of the present sole have been shown and described, it will be appreciated by those skilled in the art that changes and modifications may be made thereto without departing from the invention in its broader aspects and as set forth in the following claims.

Claims (20)

CN202210171764.1A2021-02-262022-02-24Footwear with a stabilizing solePendingCN114947288A (en)

Applications Claiming Priority (2)

Application NumberPriority DateFiling DateTitle
US17/187,7132021-02-26
US17/187,713US11723428B2 (en)2018-10-122021-02-26Footwear with stabilizing sole

Publications (1)

Publication NumberPublication Date
CN114947288Atrue CN114947288A (en)2022-08-30

Family

ID=82975623

Family Applications (1)

Application NumberTitlePriority DateFiling Date
CN202210171764.1APendingCN114947288A (en)2021-02-262022-02-24Footwear with a stabilizing sole

Country Status (1)

CountryLink
CN (1)CN114947288A (en)

Cited By (2)

* Cited by examiner, † Cited by third party
Publication numberPriority datePublication dateAssigneeTitle
US12022912B2 (en)2018-10-122024-07-02Deckers Outdoor CorporationFootwear with stabilizing sole
US12150522B2 (en)2018-10-122024-11-26Deckers Outdoor CorporationFootwear with stabilizing sole

Cited By (2)

* Cited by examiner, † Cited by third party
Publication numberPriority datePublication dateAssigneeTitle
US12022912B2 (en)2018-10-122024-07-02Deckers Outdoor CorporationFootwear with stabilizing sole
US12150522B2 (en)2018-10-122024-11-26Deckers Outdoor CorporationFootwear with stabilizing sole

Similar Documents

PublicationPublication DateTitle
CN111480936B (en)Footwear with a stabilizing sole
US12022912B2 (en)Footwear with stabilizing sole
US12150522B2 (en)Footwear with stabilizing sole
US12383024B2 (en)Footwear including a stabilizing sole
US11490683B2 (en)Footwear including a stabilizing sole
US7121020B1 (en)Running sandal
US7549236B2 (en)Footwear with independent suspension and protection
EP4122348A1 (en)Footwear with stabilizing sole
US20150027004A1 (en)Flexible Footwear With Puncture Resistant Sole And Reinforced Strap Mounting
EP3340830B1 (en)Midsole for walking and running
US6665956B2 (en)Foot guided shoe sole and footbed
JP7053744B2 (en) Sole element
US20140237852A1 (en)Sole assembly and footwear comprising a sole assembly
CN114947288A (en)Footwear with a stabilizing sole
WO2022251811A1 (en)Gradient cushioning gain for footwear sole arrangement
US20230284739A1 (en)Footwear including a sole with a bottom support member
US20030014881A1 (en)Foot guided shoe sole and footbed
US20120079740A1 (en)Basketball Shoe Sole
US20250024913A1 (en)Athletic Shoe Sole
WO2025106091A1 (en)Gradient cushioning gain for footwear sole arrangement

Legal Events

DateCodeTitleDescription
PB01Publication
PB01Publication
SE01Entry into force of request for substantive examination
SE01Entry into force of request for substantive examination

[8]ページ先頭

©2009-2025 Movatter.jp