






本发明要求本申请人在2022年03月22日向中国专利局提交的申请号为CNThe present invention requires the applicant to submit the application number CN to the Chinese Patent Office on March 22, 2022
202220634620.0,发明名称为“芯片和墨盒”的实用新型的优先权,该在先申请的所有内容在本申请中被引用。202220634620.0, the priority of the utility model entitled "Chip and Ink Cartridge", the entire contents of which are incorporated herein by reference.
技术领域technical field
本发明涉及喷墨成像领域,尤其涉及一种可拆卸地安装在喷墨打印机中的墨盒以及安装在墨盒上的芯片。The invention relates to the field of inkjet imaging, in particular to an ink cartridge detachably installed in an inkjet printer and a chip installed on the ink cartridge.
背景技术Background technique
现有墨盒中通常安装有可与喷墨打印机建立通信连接的芯片,所述芯片中存储有墨盒的各项参数信息,一般的,芯片包括基板以及设置在基板的一个表面上的多个接触部,根据实际使用需求,所述接触部的数量不被限定,例如芯片设置三个接触部,分别为电源接触部、接地接触部和信号接触部,当墨盒被安装时,位于喷墨打印机的触针分别与芯片的对应接触部电连接,因而,芯片与喷墨打印机之间的通信连接被建立。A chip that can establish a communication connection with the inkjet printer is usually installed in the existing ink cartridge, and the chip stores various parameter information of the ink cartridge. Generally, the chip includes a substrate and a plurality of contact parts arranged on one surface of the substrate. , According to the actual use requirements, the number of the contact parts is not limited. For example, the chip is provided with three contact parts, which are the power contact part, the ground contact part and the signal contact part. When the ink cartridge is installed, the contact part located in the inkjet printer The pins are respectively electrically connected to corresponding contacts of the chip, whereby a communication connection between the chip and the inkjet printer is established.
实际使用中,多个触针与多个接触部需要确保同时接触,且触针的位置不能发生偏移,这就要求触针和接触部的位置精度要求较高。In actual use, multiple contact pins and multiple contact parts need to ensure simultaneous contact, and the positions of the contact pins cannot be offset, which requires high positional accuracy of the contact pins and the contact parts.
发明内容SUMMARY OF THE INVENTION
本发明提供一种芯片以及具有该芯片的墨盒,当墨盒被安装时,即使芯片接触部的位置发生偏移或者喷墨打印机中触针的位置发生偏移,芯片仍然能够与喷墨打印机建立稳定的电连接,具体方案如下:The invention provides a chip and an ink cartridge with the chip. When the ink cartridge is installed, even if the position of the chip contact part is shifted or the position of the contact pin in the inkjet printer is shifted, the chip can still establish a stable relationship with the inkjet printer. The electrical connection, the specific scheme is as follows:
芯片,用于被固定在沿前后方向可拆卸地安装至喷墨打印机的墨盒上方,喷墨打印机内设置有沿左右方向呈一行排布的触针,所述触针可沿上下方向移动,所述前后方向、左右方向以及包括有上方的上下方向相互垂直;芯片包括基板以及设置在基板上的多个接触部,当墨盒被安装至喷墨打印机的预定位置时,接触部与喷墨打印机中设置的触针电连接;沿左右方向,多个接触部被分为位于左右末端的末端接触部以及位于两个末端接触部之间的至少一个中间接触部,每个接触部与对应的触针接触形成接触点;第一表面经过包括位于两个末端接触部中任意一个接触部中的接触点的区域;第二表面经过包括位于至少一个中间接触部中的接触点的区域;所述第一表面和第二表面不重合。The chip is used to be fixed above the ink cartridge which is detachably installed to the inkjet printer in the front-rear direction. The ink-jet printer is provided with contact pins arranged in a row along the left-right direction, and the contact pins can move in the up-down direction, so The front-rear direction, the left-right direction, and the up-down direction including the upper part are perpendicular to each other; the chip includes a substrate and a plurality of contact parts arranged on the substrate. The provided contact pins are electrically connected; along the left-right direction, the plurality of contact parts are divided into terminal contact parts located at the left and right ends and at least one intermediate contact part located between the two terminal contact parts, each contact part being connected to a corresponding contact pin The contact forms a contact point; the first surface passes through an area including a contact point located in either of the two end contacts; the second surface passes an area including a contact point located in at least one intermediate contact section; the first surface The surface and the second surface do not coincide.
具体的,根据中间接触部中接触点的位置,第一表面和第二表面相互平行或相互垂直;当芯片与触针接触时,触针向两个末端接触部施加的作用力方向相同。Specifically, according to the position of the contact point in the middle contact portion, the first surface and the second surface are parallel or perpendicular to each other; when the chip is in contact with the contact pin, the force applied by the contact pin to the two end contact portions is in the same direction.
在一些实施例中,末端接触部受到触针向下的作用力,中间接触部受到触针向前的作用力,第一表面和第二表面相互垂直。In some embodiments, the end contact portion is under the downward force of the stylus, the middle contact portion is under the forward force of the stylus, and the first surface and the second surface are perpendicular to each other.
在另一些实施例中,末端接触部受到触针向下的作用力,中间接触部也受到触针向下的作用力,第一表面和第二表面相互平行。In other embodiments, the end contact portion is subjected to the downward force of the stylus, the middle contact portion is also subjected to the downward force of the stylus, and the first surface and the second surface are parallel to each other.
进一步的,芯片还包括设置在基板上的限位槽,限位槽从至少一个末端接触部所在的平面向下凹陷形成,并具有面向后方的第一侧表面、面向右方的第二侧表面和面向左方的第三侧表面,第二侧表面与第三侧表面相互平行,第一侧表面同时与第二侧表面和第三侧表面垂直,所述至少一个中间接触部设置在限位槽中。Further, the chip also includes a limit groove disposed on the substrate, the limit groove is formed downwardly from a plane where at least one end contact portion is located, and has a first side surface facing backward and a second side surface facing rightward. and a third side surface facing left, the second side surface and the third side surface are parallel to each other, the first side surface is perpendicular to the second side surface and the third side surface at the same time, and the at least one intermediate contact portion is provided at the limit in the slot.
当至少一个中间接触部设置在第一侧表面上,第一表面和第二表面相互垂直;限位槽还包括面向上方的第四侧表面,第一侧表面、第二侧表面和第三侧表面同时与第四侧表面垂直,当至少一个中间接触部设置在第四侧表面上,第一表面和第二表面相互平行。When at least one intermediate contact portion is provided on the first side surface, the first surface and the second surface are perpendicular to each other; the limiting groove further includes a fourth side surface facing upward, the first side surface, the second side surface and the third side The surfaces are also perpendicular to the fourth side surface, and when at least one intermediate contact portion is provided on the fourth side surface, the first surface and the second surface are parallel to each other.
芯片还包括与限位槽相邻布置的引导槽,引导槽从至少一个末端接触部所在的平面向下凹陷形成,所述至少一个中间接触部设置在引导槽上。The chip also includes a guide groove arranged adjacent to the limiting groove, the guide groove is formed downwardly from a plane where at least one end contact portion is located, and the at least one middle contact portion is arranged on the guide groove.
或者,芯片还包括从至少一个末端接触部所在的平面突出的连接台,所述至少一个中间接触部设置在连接台面向上方的表面上或设置在连接台面向左右方向的表面上。Alternatively, the chip further includes a connection pad protruding from a plane where at least one end contact portion is located, and the at least one intermediate contact portion is provided on the surface of the connection pad facing upward or on the surface of the connection pad facing in the left-right direction.
优选的,位于左右方向的两个末端接触部相对于中间接触部对称设置;芯片设置有多个被固定部,在与上下方向垂直的平面上,多个被固定部的形状各不不同;沿前后方向,形成在中间接触部的接触点不超出末端接触部的范围。Preferably, the two end contact parts located in the left-right direction are symmetrically arranged relative to the middle contact part; the chip is provided with a plurality of fixed parts, and on a plane perpendicular to the up-down direction, the shapes of the plurality of fixed parts are different; In the front-rear direction, the contact point formed on the intermediate contact portion does not exceed the range of the distal contact portion.
本发明还提供一种墨盒,墨盒包括容纳墨水的壳体、位于壳体前方的出墨部以及如权利要求1-13中任一项权利要求所述的芯片,芯片被固定安装在壳体上,沿上下方向,出墨部位于壳体的下方,芯片位于壳体的上方。The present invention also provides an ink cartridge, the ink cartridge includes a casing for accommodating ink, an ink outlet located in front of the casing, and a chip according to any one of claims 1-13, the chip is fixedly mounted on the casing , along the up-down direction, the ink outlet is located below the casing, and the chip is located above the casing.
进一步的,墨盒还包括设置在壳体上的检测部,沿前后方向,芯片与检测部相邻设置,喷墨打印机根据其中设置的感应器所检测到的检测部的信号或者墨盒是否被安装,或者所安装的墨盒型号。Further, the ink cartridge also includes a detection part arranged on the casing, along the front-back direction, the chip is arranged adjacent to the detection part, and the inkjet printer detects the signal of the detection part detected by the sensor provided therein or whether the ink cartridge is installed, Or the model of the installed ink cartridge.
优选的,检测部为沿前后方向、上下方向和左右方向延伸的板状物,沿左右方向,检测部的尺寸不小于中间接触部的尺寸;或,平面L1经过中间接触部在左右方向的中心,平面L2经过检测部在左右方向的中心,平面L1和平面L2相互平行且不重合。Preferably, the detection part is a plate-like object extending in the front-rear direction, the up-down direction and the left-right direction, and the size of the detection part is not smaller than the size of the middle contact part along the left-right direction; or, the plane L1 passes through the center of the middle contact part in the left-right direction. , the plane L2 passes through the center of the detection part in the left-right direction, and the plane L1 and the plane L2 are parallel to each other and do not overlap.
发明发明本发明涉及的芯片与触针接触时,位于左右方向的两个末端接触部受到触针所施加的向下的压力,芯片的左右两侧可被有效定位,这样,与中间接触部对应的触针不仅不必再向中间接触部施加向下的压力,只要该触针能够与中间接触部接触即可,因而,中间接触部以及与中间接触部对应的触针位置精度要求被降低。When the chip involved in the present invention is in contact with the stylus, the two end contact parts located in the left and right directions are subjected to the downward pressure exerted by the stylus, and the left and right sides of the chip can be effectively positioned, thus, corresponding to the middle contact part The stylus does not need to exert downward pressure on the intermediate contact part, as long as the stylus can contact the intermediate contact part, therefore, the requirements on the positional accuracy of the intermediate contact part and the stylus corresponding to the intermediate contact part are reduced.
附图说明Description of drawings
图1是本发明涉及的墨盒的立体图。FIG. 1 is a perspective view of an ink cartridge according to the present invention.
图2是本发明涉及的墨盒沿上下方向从上向下观察时的俯视图。FIG. 2 is a plan view of the ink cartridge according to the present invention when viewed from top to bottom in the vertical direction.
图3是本发明涉及的第一种芯片的立体图。FIG. 3 is a perspective view of the first chip according to the present invention.
图4是本发明涉及的第二种芯片的立体图。4 is a perspective view of a second type of chip according to the present invention.
图5是本发明涉及的第三种芯片的立体图。FIG. 5 is a perspective view of a third chip according to the present invention.
图6是本发明涉及的第四种芯片的立体图。FIG. 6 is a perspective view of a fourth chip according to the present invention.
图7是本发明涉及的第五种芯片的立体图。7 is a perspective view of a fifth chip according to the present invention.
具体实施方式Detailed ways
下面结合附图详细描述本发明的实施例。Embodiments of the present invention will be described in detail below with reference to the accompanying drawings.
图1是本发明涉及的墨盒的立体图。墨盒100大体呈长方体形,能够以可拆卸的方式与喷墨打印机中的墨盒安装部结合,所述墨盒安装部中设置有触针部9,根据墨盒100中芯片5的接触部数量,触针部9中触针90的数量与接触部的数量对应。墨盒100具有沿前后方向延伸的长度,沿左右方向延伸的宽度和沿上下方向延伸的高度,前后方向、左右方向和上下方向相互垂直,墨盒100沿前后方向向前被安装至喷墨打印机,向后被取出;每个触针90被设置成呈片状,并可沿上下方向运动,沿左右方向观察时,多个触针90相互重叠,因而,多个触针90呈一行排布,喷墨打印机内的电路结构可被简化,每个触针90包括位于最下方的顶点94以及与顶点94相邻的侧面,如图1所示,沿前后方向,触针90具有位于顶点94前方的前侧面91和位于顶点94后方的后侧面92,沿左右方向,触针90具有位于顶点94左方的左侧面93和位于顶点94右方的右侧面(未示出)。FIG. 1 is a perspective view of an ink cartridge according to the present invention. The
如图所示,墨盒100包括容纳墨水的壳体2、位于壳体2前方的出墨部3和定位部4,壳体2中的墨水通过出墨口3被供应至喷墨打印机,定位部4中设置有弹性件,在墨盒100的安装过程中,弹性件发生弹性变形,并产生将墨盒100向后推动的力,沿上下方向,出墨部3位于壳体2的下方,定位部4位于壳体2的上方。As shown in the figure, the
为便于进行墨盒100的取出操作,墨盒100还包括设置在壳体2上的受力部6以及与受力部6相邻设置的容纳部7,操作人员将手指放入容纳部7,向受力部6施加向后的拉力,在弹性件的弹性复位力共同作用下,墨盒100可被轻易的取出,进一步的,所述弹性件也可不必设置,此时,操作人员仅通过手指向受力部6施加向后的拉力也可将墨盒100取出。优选的,在墨盒100处于直立姿态或被安装至喷墨打印机的姿态时,受力部6为从壳体2突出的突起,可以向上突出,也可以向前或向后突出,容纳部7位于受力部6的前方,当墨盒100的高度受限时,容纳部7为从墨盒100的上表面向下凹陷形成凹槽,当墨盒100的高度不受限时,容纳部7为墨盒100上表面的一部分;受力部6的突出尺寸不被限定,既可以具有由普通量具测量出的尺寸,也可以是设置在壳体2上的筋条。In order to facilitate the take-out operation of the
继续如图1所示,壳体2的上表面8为平面,在墨盒100的安装和取出过程中,壳体2的上方受到来自喷墨打印机内壁的干涉可被有效消除,例如,如果喷墨打印机与壳体2的上表面相对的内壁设置有面向壳体2的限位部,该限位部可沿上下方向移动,在墨盒100的安装过程中,限位部可被平面8支撑而不会与墨盒100的其他部件产生干涉,相反的,在墨盒100的取出过程中,限位部也不会与墨盒100的其他部件产生干涉。Continuing as shown in FIG. 1 , the
墨盒100还包括安装在壳体2上方的芯片5,当墨盒被安装至喷墨打印机的预定位置时,芯片5与设备中的触针电连接,沿上下方向,所述芯片5可以高于上表面8,也可以低于上表面8,还可以与上表面8齐平,沿上下方向,将芯片5和出墨部3分开设置,且芯片5高于出墨部3,有利于防止从出墨部3中泄漏的墨水流到芯片5而造成芯片短路。进一步的,墨盒100还包括设置在壳体2上的检测部21,所述检测部21与芯片5沿前后方向相邻设置,检测部21可被设置在喷墨打印机中感应器检测,例如,沿左右方向,喷墨打印机中设置有光发射件和光接收件,在墨盒100的安装过程中,当检测部21到达光发射件和光接收件之间时,光接收件将不能接收到光发射件发射的光线,或者接收到的光线强度变弱,因而,检测部21可被称为光衰减部,喷墨打印机可获知墨盒被安装的信号,进一步的,喷墨打印机还可以根据光接收件不能接收到光发射件发射的光线的时长、次数等参数或者根据光接收件接收到的光发射件发射的光线的强度、时长等参数确定被安装的墨盒型号。所述光衰减部21可以采用反射、折射或吸收等方式衰减光线,沿前后方向和上下方向,光衰减部21与芯片5的相对位置均不必被限定,需要说明的是,当采用芯片5位于光衰减部21前方的布局时,优选的,芯片5位于光衰减部21的下方,这样,在墨盒100的安装过程中,位于前方的芯片5不会对光衰减部21的检测造成影响。The
实施例一Example 1
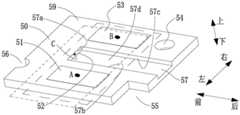
图2是本发明涉及的墨盒沿上下方向从上向下观察时的俯视图;图3是本发明涉及的第一种芯片的立体图。FIG. 2 is a top view of the ink cartridge according to the present invention when viewed from top to bottom along the vertical direction; FIG. 3 is a perspective view of the first chip according to the present invention.
芯片5包括基板50以及设置在基板50上的第一接触部51、第二接触部52和第三接触部53,所述第一接触部51和第三接触部53均为沿前后方向和左右方向延伸的导体,一般的,第一接触部51和第三接触部53为设置在基板50上的金属片,所述第一接触部51和第三接触部53位于同一个平面上,沿左右方向,第二接触部52位于第一接触部51和第三接触部53之间,第二接触部52位于另一个平面上;沿左右方向,第一接触部51、第二接触部52和第三接触部53均具有一定的宽度,下文将以每个接触部的宽度值均为d1为例进行描述。The
所述光衰减部21为沿前后方向、上下方向和左右方向延伸的板状物,沿左右方向,光衰减部21具有宽度d2,满足d2不小于d1,也就是说,相对于接触部,光衰减部21具有更大尺寸的宽度,这样,利用具有较大宽度的光衰减部21,墨盒100可被更稳定的定位在喷墨打印机中;尤其是对于在前后方向与光衰减部21相对的接触部来说,在墨盒100的安装过程中,光衰减部21位于该接触部的下游而先进入喷墨打印机中的墨盒安装部,因而,光衰减部21可将该接触部所对应的墨盒安装部区域进行预清洁。The
如图2所示,平面L1经过第二接触部52在左右方向的中心,平面L2经过光衰减部21在左右方向的中心,所述平面L1和平面L2均与左右方向垂直,换句话说,平面L1和平面L2相互平行,本发明实施例中,平面L1和平面L2不重合,此种设计将允许墨盒100的中心与第二接触部52的宽度中心发生偏移,因而,墨盒100用于容纳墨水的空间可被增大,例如,当平面L1位于平面L2的左侧时,墨盒100用于容纳墨水的空间可向左侧增大,相反的,当平面L1位于平面L2的右侧时,墨盒100用于容纳墨水的空间可向右侧增大。As shown in FIG. 2 , the plane L1 passes through the center of the
所述芯片5采用三点结合的方式被固定,相应的,壳体2设置有与芯片5结合的第一固定部22、第二固定部23和第三固定部24,其中,第一固定部22与芯片5的第一被固定部54结合,第二固定部23与芯片5的第二被固定部55结合,第三固定部24与第三被固定部56结合。所述第一被固定部54和第二被固定部55位于芯片5的同一侧,第三被固定部56位于芯片5的另一侧,利用此种三点结合的方式不仅可有效固定芯片5,还能有效提升芯片5的安装效率。The
第一被固定部54为设置在基板50上并沿上下方向贯通的通孔,所述通孔54的周围被基板50包围;第二被固定部55为设置在基板50上并沿上下方向贯通的缺口,所述缺口55位于基板50的角部位置,沿与上下方向垂直的方向,缺口55具有至少一个方向不被基板50包围,优选的,沿与上下方向垂直的方向,缺口55具有两个方向不被基板50包围,如图3所示,缺口55的后方和左方均不被基板50包围,缺口55的右方平面和前方平面相交,更优选的,缺口55的右方平面和前方平面相互垂直;第三被固定部56为设置在基板50上并沿上下方向贯通的弧形凹槽,如图3所示,弧形凹槽56从基板50的前方末端向后方凹陷;相应的,第一固定部22、第二固定部23和第三固定部24分别具有可与第一被固定部54的形状、第二被固定部55的形状和第三被固定部56的形状匹配的形状,即,第一固定部22为圆柱体,第二固定部23为棱柱体,第三固定部24为具有圆弧表面的柱状体,在与上下方向垂直的平面上,第一被固定部54、第二被固定部55和第三被固定部56的形状不同,在芯片5的安装过程中,形状不同的各个被固定部可有效确保芯片5沿着正确的安装方向被安装。The first fixed
芯片5具有面向上方的上表面59,第一接触部51和第二接触部53被设置在上表面59上;芯片5还包括设置在基板50上的限位槽57,如图3所示,沿上下方向,限位槽57从上表面59向下凹陷形成,所述限位槽57的上方和后方敞开,具有面向后方的第一侧表面57a、面向右方的第二侧表面57b、面向左方的第三侧表面57c和面向上方的第四侧表面57d,第二侧表面57b和第三侧表面57c相互平行,第四侧表面57d与上表面59相互平行,优选的,第一侧表面57a同时与第二侧表面57b、第三侧表面57c和第四侧表面57d垂直,第二接触部52可以位于第一侧表面57a、第二侧表面57b、第三侧表面57c和第四侧表面57d中的任意一个上,也就是说,第二接触部52所在的平面与第一接触部51所在的平面垂直,还与第三接触部53所在的平面垂直,沿左右方向,第一接触部51、第二接触部52和第三接触部53不再对齐设置;当芯片5与喷墨打印机中的触针接触时,第一接触部51与相应的触针形成接触点A,第三接触部53与相应的触针形成接触点B,第二接触部52与相应的触针形成接触点C,第一表面S1经过接触点A和接触点B,第二表面S2经过接触点C,所述第一表面和第二表面不重合,其中,第一表面与上下方向垂直,第二表面既可以与上下方向垂直也可以与上下方向平行,因而,根据接触点C的位置,第一表面与第二表面之间具有相互平行和相互垂直两种状态;更具体的,第二表面还可以被描述成,至少经过第二接触部52中包括接触点C的区域,该区域是指在第二接触部52上能够形成一个平面的范围,当第二接触部52为平板状时,第二表面经过第二接触部52中接触点C所在的平面,即第二接触部52与第二触针接触的面,当第二接触部52为非平板状时,第二表面至少经过第二接触部52中包括有接触点C的区域。The
具体的,当墨盒100被安装至预定位置时,第一接触部51和第三接触部53均与喷墨打印机中对应触针的顶点94接触,与第一接触部51接触的触针被称为第一触针,与第三接触部53接触的触针被称为第三触针,第二接触部52与喷墨打印机中对应触针的侧面接触,与第二接触部52接触的触针被称为第二触针,所述第一触针、第二触针和第三触针沿左右方向对齐,并间隔排布,所述第一触针的顶点和第三触针的顶点分别向第一接触部51和第三接触部53施加向下的压力,芯片5在左右方向的受力可被保持平衡,第二触针的侧面向第二接触部52施加向前的推力,所述推力方向与墨盒的取出方向相反,因而,墨盒100可被更稳定的定位在喷墨打印机的预定位置。Specifically, when the
本实施例涉及的芯片5以及具有该芯片5的墨盒100具有如下有益效果:The
沿左右方向,第一接触部51和第三接触部53分别位于第二接触部52的两侧,当第一触针和第三触针分别向着第一接触部51和第三接触部53施加向下的压力时,芯片5的左右两侧可被有效定位,尤其是第一接触部51和第三接触部53被设置成相对于第二接触部52对称时,芯片5的受力将更平稳,即使第二触针与第二接触部52的接触位置出现偏差,或者第二触针向第二接触部52施加的力的方向出现偏差,芯片5以及安装有该芯片5的墨盒100也能够保持稳定。In the left-right direction, the
进一步的,第二触针不仅不必再向第二接触部52施加向下的压力,而且第二触针的位置精度要求也可降低,只要第二触针能够在第二接触部52的左右范围内与第二接触部52接触即可,对于第二接触部52和第二触针来说,二者的位置精度要求也可降低。如上所述,第二接触部52还可以被设置在第二侧表面57b、第三侧表面57c和第四侧表面57d中的任意一个上,当第二接触部52被设置在第二侧表面57b或第三侧表面57c时,第二触针的左侧面93或右侧面将与第二接触部52接触,此时,第二触针与第二接触部52之间将形成面接触,接触点C可以是所述接触面中的任意一个点,当第二接触部52被设置在第三侧表面57c时,第二触针的顶点94与第三侧表面57c接触,接触点C将位于第三侧表面57c上,也就是说,第二触针可以被设置成沿左右方向在第二侧表面57b和第三侧表面57c之间运动,因而,第二接触部52和第二触针的位置精度要求均被降低。Further, the second contact pin not only does not need to exert downward pressure on the
当接触点C位于第一侧表面57a时,第二表面与前后方向垂直,即使定位部4中的弹性件向墨盒施加有向后的作用力,由于第二触针向着第二接触部52施加向前的推力,因而,墨盒100可被稳定的定位在喷墨打印机中。When the contact point C is located on the
优选的,芯片5设置有所述三个接触部,每个接触部与触针均形成接触点A/B/C,经过接触点A和接触点B的平面不经过接触点C,所述三个接触部的设计使得芯片5的结构和墨盒安装部中触针的结构被简化,当墨盒100需要通过芯片5与喷墨打印机建立通信连接时,数量较少的接触部可确保芯片5与喷墨打印机中的触针更快更稳定的实现接触,尤其在位于左右方向两侧的第一接触部51和第三接触部53分别被第一触针和第三触针向下抵接的情况下,只需要确保位于第一触针和第三触针之间的第二触针能够与位于第一接触部51和第三接触部53之间的第二接触部52接触即可。Preferably, the
当第二接触部52被设置在第一侧表面57a或第四侧表面57d时,第二接触部52沿左右方向具有相应的尺寸,即使第二触针的顶点被磨损或发生变形,只要所述侧面能够与第二接触部52接触即可,从而降低了第二触针的形状要求。When the
如上所述,所述限位槽57的第二侧表面57b、第三侧表面57c和第四侧表面57d均可设置第二接触部52,当第二接触部52被设置在第二侧表面57b或第三侧表面57c时,第二表面与左右方向垂直,当第二接触部52被设置在第四侧表面57d时,第二表面与上下方向垂直,即使第二触针整体位置发生偏移或整体形状发生变形,只要第二触针进入了限位槽57内,芯片5与触针的电连接仍然能够实现。As described above, the
更优选的,沿前后方向,接触点C不超出第一接触部51和/或第三接触部53的范围,此种布局方式可有效利用基板50的表面积,对于喷墨打印机来说,可使得触针布置的更集中,从而有效控制喷墨打印机的尺寸。相反的,在不考虑基板50的表面利用率或者喷墨打印机中尺寸的情况下,沿前后方向,接触点C还可以位于第一接触部51和/或第三接触部53的范围之外,此时,第二触针的前侧面91与第二接触部52接触;当限位槽57被设置成向上和向前敞开时,第二触针的后侧面92与第二接触部52接触。More preferably, the contact point C does not exceed the range of the
实施例二
图4是本发明涉及的第二种芯片的立体图。4 is a perspective view of a second type of chip according to the present invention.
为便于描述,与实施例一相同的部件将采用相同的编号,本实施例中,芯片的限位槽57被设置成沿上下方向贯通,进一步的,限位槽57的后方也不再被基板50包围,此时,限位槽57不再具有第四侧表面57d。For the convenience of description, the same components as those in the first embodiment will be given the same numbers. In this embodiment, the limiting
本实施例涉及的芯片5以及具有该芯片的墨盒100不仅具有上述有益效果,还可在墨盒100被安装至预定位置时,第二触针能够不再被第四侧表面57d限制而完全向下伸展开,不仅可增加第二触针与第二接触部52的接触面积,还可增大第二触针对第二接触部52向前施加的推力,同时,第二触针受到的磨损也可减小。The
实施例三
图5是本发明涉及的第三种芯片的立体图。FIG. 5 is a perspective view of a third chip according to the present invention.
为便于描述,与实施例二相同的部件将采用相同的编号,在实施例二的基础上,本实施例中的芯片5还包括设置在限位槽57前方的引导槽58,如图所示,引导槽58从基板上表面59向下凹陷形成,沿左右方向,引导槽58具有与第二接触部52相同的尺寸,且引导槽58所在的基板连接第一接触部51所在的基板以及第三接触部53所在的基板。For the convenience of description, the same components as those in the second embodiment will use the same numbers. On the basis of the second embodiment, the
本实施例涉及的芯片5以及具有该芯片的墨盒100不仅具有上述有益效果,还可在墨盒100的安装和取出过程中,减小第二触针与基板50的摩擦,从而更好的保护第二触针。作为本实施例的变形,第二接触部52还可以被设置在引导槽58上。The
实施例四Embodiment 4
图6是本发明涉及的第四种芯片的立体图。FIG. 6 is a perspective view of a fourth chip according to the present invention.
本实施例中,与上述实施例相同的部件将采用相同的编号,在实施例三的基础上,本实施例中的芯片5还包括设置在限位槽57前方的连接台5c,所述连接台5c连接第一接触部51所在的基板和第三接触部53所在的基板,沿上下方向,连接台5c高于上表面59,所述连接台5c面向上方的表面或面向后方的表面均可被布置成第二接触部52,因而,接触点C既可以位于连接台5c面向上方的表面上,此时,第二表面经过该面向上方的表面,接触点C也可以位于连接台5c面向后方的表面上,此时,第二表面经过该面向后方的表面。In this embodiment, the same components as those in the above-mentioned embodiments will be given the same numbers. On the basis of the third embodiment, the
然而,无论接触点C在哪个表面,所述第一表面和第二表面均不重合,同样的,根据接触点C所在的位置,第一表面和第二表面既可以相互平行也可以相互垂直。当接触点C位于连接台5c面向上方的表面时,第二触针在上下方向的尺寸可缩短,或者,在尺寸不变的情况下,第二触针产生更大的变形量,进而使得芯片5受到的向下压力更大;当接触点C位于连接台5c面向后方的表面时,同样的,第二触针在上下方向的尺寸也可缩短,或者,在尺寸不变的情况下,第二触针向连接台5c施加更大的向前推力。However, no matter which surface the contact point C is on, the first surface and the second surface are not coincident. Likewise, according to the position of the contact point C, the first surface and the second surface can be either parallel to each other or perpendicular to each other. When the contact point C is located on the upward facing surface of the
可以理解的是,连接台5c还可以被设置在限位槽57的后方,此时,连接台5c具有面向上方的表面和面向前方的表面,当接触点C位于面向前方的表面上时,第二触针可在限位槽57的导引作用下顺利到达与第二接触部52接触的位置;所述第二接触部52同样还可以被设置在限位槽57的第二侧表面57b和第三侧表面57c中的任何一个上。It can be understood that the connection table 5c can also be arranged behind the limiting
优选的,本实施例中的接触点C同样可被设置成,沿前后方向,接触点C不超出第一接触部51和/或第三接触部53的范围,以提高基板50的表面利用率或减小喷墨打印机的尺寸。Preferably, the contact point C in this embodiment can also be set so that the contact point C does not exceed the range of the
实施例五
图7是本发明涉及的第五种芯片的立体图。7 is a perspective view of a fifth chip according to the present invention.
本实施例中,连接台5c被设置成在前后方向超出第一接触部51和第三接触部53的范围,且限位槽57不再设置,接触点C位于连接台5c面向上方的表面上,此时,第一表面和第二表面相互平行。In the present embodiment, the connection table 5c is arranged to extend beyond the range of the
根据以上描述,优选的,沿前后方向,接触点C不超出第一接触部51和/或第三接触部53的范围,此时,位于图中虚线后方连接台5c上的接触部不再起作用,也就是说,位于虚线后方的接触部有或没有均不会影响芯片5的使用。According to the above description, preferably, the contact point C does not exceed the range of the
相反的,在不考虑基板50的表面利用率或者喷墨打印机中尺寸的情况下,沿前后方向,接触点C还可以位于第一接触部51和/或第三接触部53的范围之外,即沿前后方向,接触点C位于虚线后方的接触部上。On the contrary, without considering the surface utilization rate of the
基于上述发明构思,限位槽57的敞口方向并不限于图中所示,即限位槽57还可以向前敞口,沿前后方向,所述引导槽58或连接台5c与限位槽57相邻布置,当设置有该芯片5的墨盒100向前安装时,第二触针更容易沿着限位槽57与第二接触部接触;所述第一表面S1和第二表面S2还可以被设置成,第二表面S2被设置成与上下方向垂直,第一表面S1与第二表面S2垂直,即现有的第一接触部51所在的区域和第三接触部53所在的区域均相对于第二接触部52向下凹陷,此时,沿前后方向,第二接触部52相对于第一接触部51和第三接触部53向后突出,且第一接触部51和第三接触部53分别位于与前后方向垂直的表面上,当此种芯片5与触针接触时,第一接触部51和第三接触部53将同时受到向前的推力,第二接触部52受到向下的压力,也就是说,触针向第一接触部51和第三接触部53施加的作用力方向相同,为向前的方向,触针向第二接触部52施加的作用力为向下的方向,也就是说,触针向第一接触部51和第三接触部53施加的作用力的方向与触针向第二接触部52施加的作用力的方向不同,但此时的芯片5仍然能够被稳定的定位,墨盒100也能够稳定的安装在喷墨打印机中。Based on the above-mentioned inventive concept, the opening direction of the limiting
根据上述实施例可以延展的是,当芯片的接触部数量多于三个,且多个接触部均沿左右方向排布时,为描述方便,位于左右方向末端的接触部被称为末端接触部,位于两个末端接触部之间的接触部被称为中间接触部,此时,中间接触部的数量将不少于两个,每个接触部与喷墨打印机中相应的触针接触形成接触点,所述多个接触部可被设置成,第一表面S1和第二表面S2不重合,其中,第一表面S1为经过位于左右方向末端的接触部上的一个接触点所在的平面,第二表面S2为至少经过包括一个中间接触部中的接触点的区域,所述第一表面S1和第二表面S2可以相互垂直,也可以相互平行。According to the above embodiment, when the number of contact parts of the chip is more than three, and the plurality of contact parts are arranged in the left and right direction, for the convenience of description, the contact part located at the end of the left and right direction is called the terminal contact part , the contact part located between the two end contact parts is called the intermediate contact part, at this time, the number of intermediate contact parts will be no less than two, and each contact part is in contact with the corresponding stylus in the inkjet printer point, the plurality of contact parts may be arranged such that the first surface S1 and the second surface S2 do not overlap, wherein the first surface S1 is a plane passing through a contact point on the contact part located at the end of the left-right direction, and the first surface S1 The two surfaces S2 are regions that pass through at least a contact point in one intermediate contact portion, and the first surface S1 and the second surface S2 may be perpendicular to each other, or may be parallel to each other.
优选的,沿前后方向,至少一个中间接触部的接触点不超出末端接触部的范围,更优选的,沿左右方向,两个末端接触部到中间接触部的距离相等;还可理解的是,两个末端接触部所在的平面既可以重合,也可以相互平行,当两个末端接触部中形成接触点的表面所在的平面重合时,第一表面经过所述重合的平面,当两个末端接触部中形成接触点的表面所在的平面相互平行时,第一表面可以是两个末端接触部所在的平面中的任意一个,当两个末端接触部中形成接触点的表面为非平面状时,第一表面为经过包括有接触点A和接触点B中任意一个的区域。Preferably, along the front-rear direction, the contact point of at least one middle contact portion does not exceed the range of the end contact portion, and more preferably, along the left-right direction, the distances from the two end contact portions to the middle contact portion are equal; it is also understandable that, The planes on which the two end contact parts are located can either overlap or be parallel to each other. When the planes on which the surfaces forming the contact points in the two end contact parts are located overlap, the first surface passes through the coincident plane, and when the two ends contact When the planes on which the surfaces of the two end contact parts are located are parallel to each other, the first surface can be any one of the planes where the two end contact parts are located. When the surfaces of the two end contact parts where the contact points are formed are non-planar, The first surface passes through an area including any one of the contact point A and the contact point B.
例如,当芯片设置有沿左右方向排布的五个接触部时,沿左右方向,从左向右依次为第一接触部、第二接触部、第三接触部、第四接触部和第五接触部,此时,第一接触部和第五接触部为末端接触部,第二接触部、第三接触部和第四接触部均可被称为中间接触部,且第一接触部所在的平面和第五接触部所在的平面均与第二接触部所在的平面、第三接触部所在的平面和第四接触部所在的平面不重合,优选的,第三接触部所在的平面被设置成与第一接触部所在的平面、第五接触部所在的平面垂直;进一步的,第二接触部、第三接触部和第四接触部还可以被设置成,第二接触部所在的平面和第四接触部所在的平面均与第一接触部所在的平面、第三接触部所在的平面和第五接触部所在的平面垂直。For example, when the chip is provided with five contact parts arranged in the left-right direction, the order from left to right in the left-right direction is the first contact part, the second contact part, the third contact part, the fourth contact part and the fifth contact part. The contact part, at this time, the first contact part and the fifth contact part are terminal contact parts, the second contact part, the third contact part and the fourth contact part can all be called intermediate contact parts, and the first contact part is located The plane and the plane where the fifth contact portion is located are not coincident with the plane where the second contact portion is located, the plane where the third contact portion is located, and the plane where the fourth contact portion is located. Preferably, the plane where the third contact portion is located is set to It is perpendicular to the plane where the first contact portion is located and the plane where the fifth contact portion is located; further, the second contact portion, the third contact portion and the fourth contact portion can also be set so that the plane where the second contact portion is located is the The planes where the four contact portions are located are all perpendicular to the plane where the first contact portion is located, the plane where the third contact portion is located, and the plane where the fifth contact portion is located.
当芯片设置有沿左右方向排布的四个接触部时,沿左右方向,从左向右依次为第一接触部、第二接触部、第三接触部和第四接触部,此时,第一接触部和第四接触部为末端接触部,第二接触部和第三接触部为中间接触部,且第一接触部所在的平面和第四接触部所在的平面均与第二接触部所在的平面和第三接触部所在的平面不重合,优选的,第一接触部所在的平面和第四接触部所在的平面均与第二接触部所在的平面和第三接触部所在的平面垂直。When the chip is provided with four contact parts arranged in the left-right direction, along the left-right direction, there are the first contact part, the second contact part, the third contact part and the fourth contact part in order from left to right. The first contact portion and the fourth contact portion are terminal contact portions, the second contact portion and the third contact portion are intermediate contact portions, and the plane where the first contact portion is located and the plane where the fourth contact portion is located are both the same as the second contact portion. The plane where the first contact part is located and the plane where the fourth contact part is located are both perpendicular to the plane where the second contact part is located and the plane where the third contact part is located.
如上所述,当将中间接触部所在的平面设置成与两个末端接触部所在的平面不重合,尤其是二者相互垂直时,喷墨打印机中与两个末端接触部对应的触针向所述两个末端接触部施加压力使得芯片被稳定的定位,喷墨打印机中与中间接触部对应的触针位置精度要求可被降低。As mentioned above, when the plane on which the intermediate contact portion is located is set to not coincide with the plane on which the two end contact portions are located, especially when the two are perpendicular to each other, the stylus corresponding to the two end contact portions in the inkjet printer will face all the The pressure applied by the two end contact parts enables the chip to be stably positioned, and the requirement on the positional precision of the stylus corresponding to the middle contact part in the inkjet printer can be reduced.
| Application Number | Priority Date | Filing Date | Title | 
|---|---|---|---|
| CN2022206346200 | 2022-03-22 | ||
| CN202220634620 | 2022-03-22 | 
| Publication Number | Publication Date | 
|---|---|
| CN114932752Atrue CN114932752A (en) | 2022-08-23 | 
| Application Number | Title | Priority Date | Filing Date | 
|---|---|---|---|
| CN202210390461.9APendingCN114932752A (en) | 2022-03-22 | 2022-04-14 | Chip and ink box | 
| CN202220864643.0UActiveCN217574532U (en) | 2022-03-22 | 2022-04-14 | Chip and ink box | 
| Application Number | Title | Priority Date | Filing Date | 
|---|---|---|---|
| CN202220864643.0UActiveCN217574532U (en) | 2022-03-22 | 2022-04-14 | Chip and ink box | 
| Country | Link | 
|---|---|
| CN (2) | CN114932752A (en) | 
| Publication number | Priority date | Publication date | Assignee | Title | 
|---|---|---|---|---|
| CN114932752A (en)* | 2022-03-22 | 2022-08-23 | 中山诚威科技有限公司 | Chip and ink box | 
| Publication number | Priority date | Publication date | Assignee | Title | 
|---|---|---|---|---|
| WO2017101249A1 (en)* | 2015-12-14 | 2017-06-22 | 珠海纳思达企业管理有限公司 | Inkjet printer chip and inkjet printer | 
| WO2019072010A1 (en)* | 2017-10-12 | 2019-04-18 | 珠海纳思达企业管理有限公司 | Chip and ink cartridge | 
| CN111532030A (en)* | 2020-05-26 | 2020-08-14 | 珠海益捷科技有限公司 | Chip and ink cartridge with the chip | 
| CN211684116U (en)* | 2019-07-12 | 2020-10-16 | 珠海纳思达企业管理有限公司 | Chip mounted on ink box and ink box using chip | 
| CN215243807U (en)* | 2020-07-03 | 2021-12-21 | 珠海纳思达企业管理有限公司 | Ink box | 
| CN217574532U (en)* | 2022-03-22 | 2022-10-14 | 中山诚威科技有限公司 | Chip and ink box | 
| Publication number | Priority date | Publication date | Assignee | Title | 
|---|---|---|---|---|
| WO2017101249A1 (en)* | 2015-12-14 | 2017-06-22 | 珠海纳思达企业管理有限公司 | Inkjet printer chip and inkjet printer | 
| WO2019072010A1 (en)* | 2017-10-12 | 2019-04-18 | 珠海纳思达企业管理有限公司 | Chip and ink cartridge | 
| CN211684116U (en)* | 2019-07-12 | 2020-10-16 | 珠海纳思达企业管理有限公司 | Chip mounted on ink box and ink box using chip | 
| CN111532030A (en)* | 2020-05-26 | 2020-08-14 | 珠海益捷科技有限公司 | Chip and ink cartridge with the chip | 
| CN215243807U (en)* | 2020-07-03 | 2021-12-21 | 珠海纳思达企业管理有限公司 | Ink box | 
| CN217574532U (en)* | 2022-03-22 | 2022-10-14 | 中山诚威科技有限公司 | Chip and ink box | 
| Publication number | Publication date | 
|---|---|
| CN217574532U (en) | 2022-10-14 | 
| Publication | Publication Date | Title | 
|---|---|---|
| US7950789B2 (en) | Liquid container | |
| CN102407678B (en) | Liquid storage container and liquid spraying device | |
| KR101472663B1 (en) | Electrical connector | |
| JP6206934B2 (en) | Inkjet cartridge | |
| US20160134040A1 (en) | Plug connector having a guide frame | |
| JP2010111116A (en) | Circuit board and liquid supplying unit | |
| EP2000311A2 (en) | Liquid cartridge and circuit board | |
| CN114932752A (en) | Chip and ink box | |
| CN110202942B (en) | Imaging box and chip applied to imaging box | |
| KR20130007442A (en) | Module comprising connector and connector included in the module | |
| JP5627312B2 (en) | Liquid discharge head and method of assembling liquid discharge head | |
| CN105492210B (en) | Liquid ink box | |
| JP4295305B2 (en) | Cable connector | |
| KR101715463B1 (en) | Connector and connector assembly | |
| CN217553495U (en) | Ink box | |
| CN213353955U (en) | Coupling assembly and ink container | |
| CN212555519U (en) | Chip and ink box with same | |
| JP4737430B2 (en) | Carriage device, recording device, liquid ejecting device | |
| CN217197472U (en) | Ink box | |
| JP2007010763A (en) | Optical module | |
| CN220576879U (en) | Chip and ink box | |
| CN206170872U (en) | Be provided with ink horn of chip | |
| CN219927275U (en) | Liquid box | |
| JP2008268030A (en) | Electrical component | |
| JPS5846550Y2 (en) | Connector for integrated circuit mounting board | 
| Date | Code | Title | Description | 
|---|---|---|---|
| PB01 | Publication | ||
| PB01 | Publication | ||
| SE01 | Entry into force of request for substantive examination | ||
| SE01 | Entry into force of request for substantive examination |