









技术领域technical field
本申请涉及网络通信安全技术领域,特别是涉及一种身份鉴别方法和装置。The present application relates to the technical field of network communication security, and in particular, to an identity authentication method and device.
背景技术Background technique
目前,通信网络通常要求在用户和网络接入点之间执行双向身份鉴别,确保合法用户访问合法网络,在已有的实体鉴别方案中,实体的身份要么统一采用数字证书,要么实体之间采用预共享密钥的形式,但在实际应用中某些场景下,面临一端采用数字证书作为身份凭证、另一端采用预共享密钥作为身份凭证的情况,这对实体身份鉴别机制提出了挑战。At present, communication networks usually require two-way identity authentication between users and network access points to ensure that legitimate users can access legitimate networks. The form of pre-shared key, but in some scenarios in practical applications, one end uses a digital certificate as an identity credential, and the other end uses a pre-shared key as an identity credential, which poses a challenge to the entity identity authentication mechanism.
另外,在身份鉴别过程中,直接暴露实体的身份信息,而某些时候,实体的身份信息包含了实体的若干私密或敏感信息,譬如身份证号、家庭住址、银行卡信息等,若被攻击者截获继而被其利用从事非法活动,后果将不堪设想,如何在不暴露身份敏感信息的前提下完成实体身份鉴别成为当务之急。In addition, in the process of identity authentication, the identity information of the entity is directly exposed, and sometimes, the identity information of the entity contains some private or sensitive information of the entity, such as ID number, home address, bank card information, etc. If someone intercepted and then used it to engage in illegal activities, the consequences would be unimaginable. How to complete entity identification without exposing sensitive identity information has become a top priority.
发明内容SUMMARY OF THE INVENTION
为了解决上述技术问题,本申请提供了一种身份鉴别方法和装置,能够实现在请求设备采用数字证书、鉴别接入控制器采用预共享密钥作为身份凭证的情况下实体双向身份鉴别以及实体的身份保护。In order to solve the above-mentioned technical problems, the present application provides an identity authentication method and device, which can realize the two-way identity authentication of the entity and the identification of the entity in the case that the requesting device adopts a digital certificate and the authentication access controller adopts a pre-shared key as the identity credential. Identity protection.
有鉴于此,本申请第一方面提供了一种身份鉴别方法,包括:In view of this, the first aspect of the present application provides an identity authentication method, including:
鉴别接入控制器接收请求设备发送的身份密文消息,所述身份密文消息包括第一身份信息密文;所述第一身份信息密文是所述请求设备利用加密证书的公钥对包括所述请求设备的身份信息和所述请求设备的第一身份密钥在内的信息加密生成的;所述请求设备的身份信息包括所述请求设备的数字证书;所述第一身份密钥包括第二密钥;The authentication access controller receives the identity ciphertext message sent by the requesting device, where the identity ciphertext message includes the first identity information ciphertext; the first identity information ciphertext is the public key pair of the encryption certificate used by the requesting device, including The identity information of the requesting device and the information including the first identity key of the requesting device are encrypted and generated; the identity information of the requesting device includes the digital certificate of the requesting device; the first identity key includes the second key;
所述鉴别接入控制器向其信任的第一鉴别服务器发送第一鉴别请求消息,所述第一鉴别请求消息中包括所述第一身份信息密文和所述鉴别接入控制器的身份鉴别码;所述鉴别接入控制器的身份鉴别码是所述鉴别接入控制器利用与所述第一鉴别服务器的预共享密钥,采用与所述第一鉴别服务器约定的密码算法对包括所述第一身份信息密文在内的信息计算生成的;The authentication access controller sends a first authentication request message to its trusted first authentication server, where the first authentication request message includes the ciphertext of the first identity information and the identity authentication of the authentication access controller The identity authentication code of the authentication access controller is that the authentication access controller uses the pre-shared key with the first authentication server, and adopts the cryptographic algorithm agreed with the first authentication server to pair all data including It is calculated and generated from the information including the ciphertext of the first identity information;
所述鉴别接入控制器接收所述第一鉴别服务器发送的第一鉴别响应消息,所述第一鉴别响应消息包括第一鉴别结果信息、所述请求设备信任的第二鉴别服务器的第一数字签名、第二鉴别结果信息密文和所述第一鉴别服务器的第一消息鉴别码;所述第一鉴别结果信息中包括对所述鉴别接入控制器的第一验证结果,所述第一数字签名是所述第二鉴别服务器对包括所述第一鉴别结果信息在内的签名数据计算生成的数字签名,所述第二鉴别结果信息密文是利用所述第二密钥对包括第二鉴别结果信息在内的信息加密生成的,所述第二鉴别结果信息中包括对所述请求设备的数字证书的第二验证结果,所述第一鉴别服务器的第一消息鉴别码是所述第一鉴别服务器利用与所述鉴别接入控制器的预共享密钥,采用与所述鉴别接入控制器约定的密码算法对包括所述第二鉴别结果信息密文在内的信息计算生成的;The authentication access controller receives a first authentication response message sent by the first authentication server, where the first authentication response message includes first authentication result information and a first number of the second authentication server trusted by the requesting device signature, the ciphertext of the second authentication result information, and the first message authentication code of the first authentication server; the first authentication result information includes the first verification result of the authentication access controller, the first authentication result information The digital signature is a digital signature calculated and generated by the second authentication server on the signature data including the first authentication result information, and the ciphertext of the second authentication result information is obtained by using the second key pair including the second authentication result information. The information including the authentication result information is encrypted and generated, the second authentication result information includes the second verification result of the digital certificate of the requesting device, and the first message authentication code of the first authentication server is the first message authentication code of the first authentication server. An authentication server uses the pre-shared key with the authentication access controller, and adopts the cryptographic algorithm agreed with the authentication access controller to calculate and generate the information including the ciphertext of the second authentication result information;
所述鉴别接入控制器利用与所述第一鉴别服务器的预共享密钥,采用与所述第一鉴别服务器约定的密码算法验证所述第一鉴别服务器的第一消息鉴别码,若验证通过,向所述请求设备发送第三鉴别响应消息,所述第三鉴别响应消息中包括身份鉴别结果信息密文,所述身份鉴别结果信息密文是所述鉴别接入控制器利用消息加密密钥对包括第一鉴别结果信息和所述第一数字签名在内的加密数据加密生成的;The authentication access controller uses the pre-shared key with the first authentication server, and uses the cryptographic algorithm agreed with the first authentication server to verify the first message authentication code of the first authentication server. If the verification passes , send a third authentication response message to the requesting device, the third authentication response message includes an identity authentication result information ciphertext, and the identity authentication result information ciphertext is the authentication access controller using a message encryption key Generated by encrypting the encrypted data including the first authentication result information and the first digital signature;
所述请求设备利用所述消息加密密钥解密所述身份鉴别结果信息密文得到所述第一鉴别结果信息和所述第一数字签名;The requesting device decrypts the ciphertext of the identity authentication result information by using the message encryption key to obtain the first authentication result information and the first digital signature;
所述请求设备利用所述第二鉴别服务器的公钥对所述第一数字签名进行验证,若验证通过,则所述请求设备根据所述第一鉴别结果信息中的第一验证结果确定所述鉴别接入控制器的身份鉴别结果;当所述请求设备确定所述鉴别接入控制器的身份鉴别结果为合法时,向所述鉴别接入控制器发送第四鉴别响应消息;或者,The requesting device verifies the first digital signature by using the public key of the second authentication server, and if the verification is passed, the requesting device determines the first digital signature according to the first verification result in the first authentication result information. The identity authentication result of the authentication access controller; when the requesting device determines that the identity authentication result of the authentication access controller is legal, it sends a fourth authentication response message to the authentication access controller; or,
所述请求设备利用所述第二鉴别服务器的公钥对所述第一数字签名进行验证,若验证通过,则所述请求设备向所述鉴别接入控制器发送第四鉴别响应消息以及根据所述第一鉴别结果信息中的第一验证结果确定所述鉴别接入控制器的身份鉴别结果;或者,The requesting device verifies the first digital signature by using the public key of the second authentication server, and if the verification is passed, the requesting device sends a fourth authentication response message to the authentication access controller and sends a fourth authentication response message to the authentication access controller. The first verification result in the first authentication result information determines the identity authentication result of the authentication access controller; or,
所述请求设备利用所述第二鉴别服务器的公钥对所述第一数字签名进行验证;若所述第一数字签名验证通过,则所述请求设备根据所述第一鉴别结果信息中的第一验证结果确定所述鉴别接入控制器的身份鉴别结果;所述请求设备向所述鉴别接入控制器发送第四鉴别响应消息;The requesting device verifies the first digital signature by using the public key of the second authentication server; if the verification of the first digital signature passes, the requesting device verifies the first digital signature according to the first authentication result information. A verification result determines the identity authentication result of the authentication access controller; the requesting device sends a fourth authentication response message to the authentication access controller;
其中,所述第四鉴别响应消息包括第二密钥密文,所述第二密钥密文是利用所述消息加密密钥对包括所述第二密钥在内的信息加密生成的;Wherein, the fourth authentication response message includes a second key ciphertext, and the second key ciphertext is generated by encrypting information including the second key by using the message encryption key;
所述鉴别接入控制器接收到所述第四鉴别响应消息后,利用所述消息加密密钥解密所述第二密钥密文得到第二密钥,利用所述第二密钥对所述第二鉴别结果信息密文进行解密得到第二鉴别结果信息,根据所述第二鉴别结果信息中的第二验证结果确定所述请求设备的身份鉴别结果。After receiving the fourth authentication response message, the authentication access controller decrypts the second key ciphertext by using the message encryption key to obtain a second key, and uses the second key to encrypt the second key. The ciphertext of the second authentication result information is decrypted to obtain second authentication result information, and the identity authentication result of the requesting device is determined according to the second verification result in the second authentication result information.
本申请第二方面提供了一种请求设备,包括:A second aspect of the present application provides a requesting device, including:
加密模块,用于利用加密证书的公钥对包括所述请求设备的身份信息和所述请求设备的第一身份密钥在内的信息加密生成第一身份信息密文,所述请求设备的身份信息包括所述请求设备的数字证书,所述第一身份密钥包括第二密钥;An encryption module, configured to encrypt the information including the identity information of the requesting device and the first identity key of the requesting device by using the public key of the encryption certificate to generate a ciphertext of the first identity information, the identity of the requesting device the information includes a digital certificate for the requesting device, and the first identity key includes a second key;
发送模块,用于向鉴别接入控制器发送身份密文消息,所述身份密文消息包括所述第一身份信息密文;a sending module, configured to send an identity ciphertext message to the authentication access controller, where the identity ciphertext message includes the first identity information ciphertext;
接收模块,用于接收所述鉴别接入控制器发送的第三鉴别响应消息,所述第三鉴别响应消息中包括身份鉴别结果信息密文,所述身份鉴别结果信息密文是所述鉴别接入控制器利用消息加密密钥对包括第一鉴别结果信息和第一数字签名在内的加密数据加密生成的;所述第一鉴别结果信息中包括对所述鉴别接入控制器的第一验证结果,所述第一数字签名是所述请求设备信任的第二鉴别服务器对包括所述第一鉴别结果信息在内的签名数据计算生成的数字签名;The receiving module is configured to receive a third authentication response message sent by the authentication access controller, where the third authentication response message includes an identity authentication result information ciphertext, and the identity authentication result information ciphertext is the authentication access controller. The incoming controller encrypts the encrypted data including the first authentication result information and the first digital signature by using the message encryption key; the first authentication result information includes the first verification of the authentication access controller. As a result, the first digital signature is a digital signature calculated and generated by the second authentication server trusted by the requesting device on the signature data including the first authentication result information;
解密模块,用于利用所述消息加密密钥解密所述身份鉴别结果信息密文得到所述第一鉴别结果信息和所述第一数字签名;A decryption module for decrypting the ciphertext of the identity authentication result information using the message encryption key to obtain the first authentication result information and the first digital signature;
验证模块,用于利用所述第二鉴别服务器的公钥对所述第一数字签名进行验证,若验证通过,则确定模块根据所述第一鉴别结果信息中的第一验证结果确定所述鉴别接入控制器的身份鉴别结果;当所述确定模块确定所述鉴别接入控制器的身份鉴别结果为合法时,所述发送模块向所述鉴别接入控制器发送第四鉴别响应消息;或者,A verification module, configured to use the public key of the second authentication server to verify the first digital signature, and if the verification is passed, the determination module determines the authentication according to the first verification result in the first authentication result information The identity authentication result of the access controller; when the determining module determines that the identity authentication result of the authentication access controller is valid, the sending module sends a fourth authentication response message to the authentication access controller; or ,
用于利用所述第二鉴别服务器的公钥对所述第一数字签名进行验证,若验证通过,则所述发送模块向所述鉴别接入控制器发送第四鉴别响应消息以及确定模块根据所述第一鉴别结果信息中的第一验证结果确定所述鉴别接入控制器的身份鉴别结果;或者,For using the public key of the second authentication server to verify the first digital signature, if the verification is passed, the sending module sends a fourth authentication response message to the authentication access controller and the determination module is based on the The first verification result in the first authentication result information determines the identity authentication result of the authentication access controller; or,
用于利用所述第二鉴别服务器的公钥对所述第一数字签名进行验证;若所述第一数字签名验证通过,则确定模块根据所述第一鉴别结果信息中的第一验证结果确定所述鉴别接入控制器的身份鉴别结果;所述发送模块向所述鉴别接入控制器发送第四鉴别响应消息;for verifying the first digital signature by using the public key of the second authentication server; if the first digital signature is verified, the determination module determines according to the first verification result in the first authentication result information the identity authentication result of the authentication access controller; the sending module sends a fourth authentication response message to the authentication access controller;
其中,所述第四鉴别响应消息包括第二密钥密文,所述第二密钥密文是所述加密模块利用消息加密密钥对包括所述第二密钥在内的信息加密生成的。Wherein, the fourth authentication response message includes a second key ciphertext, and the second key ciphertext is generated by the encryption module using a message encryption key to encrypt information including the second key .
本申请第三方面提供了一种鉴别接入控制器,包括:A third aspect of the present application provides an authentication access controller, including:
接收模块,用于接收请求设备发送的身份密文消息,所述身份密文消息包括第一身份信息密文;所述第一身份信息密文是所述请求设备利用加密证书的公钥对包括所述请求设备的身份信息和所述请求设备的第一身份密钥在内的信息加密生成的;所述请求设备的身份信息包括所述请求设备的数字证书;所述第一身份密钥包括第二密钥;A receiving module, configured to receive an identity ciphertext message sent by a requesting device, where the identity ciphertext message includes a first identity information ciphertext; the first identity information ciphertext is a public key pair that the requesting device utilizes an encryption certificate to include: The identity information of the requesting device and the information including the first identity key of the requesting device are encrypted and generated; the identity information of the requesting device includes the digital certificate of the requesting device; the first identity key includes the second key;
发送模块,用于向所述鉴别接入控制器信任的第一鉴别服务器发送第一鉴别请求消息,所述第一鉴别请求消息中包括所述第一身份信息密文和所述鉴别接入控制器的身份鉴别码;所述鉴别接入控制器的身份鉴别码是所述鉴别接入控制器利用与所述第一鉴别服务器的预共享密钥,采用与所述第一鉴别服务器约定的密码算法对包括所述第一身份信息密文在内的信息计算生成的;A sending module, configured to send a first authentication request message to a first authentication server trusted by the authentication access controller, where the first authentication request message includes the first identity information ciphertext and the authentication access control The identity authentication code of the authentication access controller; the authentication access controller's identity authentication code is that the authentication access controller uses the pre-shared key with the first authentication server and adopts the password agreed with the first authentication server. The algorithm calculates and generates the information including the ciphertext of the first identity information;
所述接收模块还用于接收所述第一鉴别服务器发送的第一鉴别响应消息,所述第一鉴别响应消息包括第一鉴别结果信息、所述请求设备信任的第二鉴别服务器的第一数字签名、第二鉴别结果信息密文和所述第一鉴别服务器的第一消息鉴别码;所述第一鉴别结果信息中包括对所述鉴别接入控制器的第一验证结果,所述第一数字签名是所述第二鉴别服务器对包括所述第一鉴别结果信息在内的签名数据计算生成的数字签名,所述第二鉴别结果信息密文是利用所述第二密钥对包括第二鉴别结果信息在内的信息加密生成的,所述第二鉴别结果信息中包括对所述请求设备的数字证书的第二验证结果,所述第一鉴别服务器的第一消息鉴别码是所述第一鉴别服务器利用与所述鉴别接入控制器的预共享密钥,采用与所述鉴别接入控制器约定的密码算法对包括所述第二鉴别结果信息密文在内的信息计算生成的;The receiving module is further configured to receive a first authentication response message sent by the first authentication server, where the first authentication response message includes first authentication result information and a first number of the second authentication server trusted by the requesting device signature, the ciphertext of the second authentication result information, and the first message authentication code of the first authentication server; the first authentication result information includes the first verification result of the authentication access controller, the first authentication result information The digital signature is a digital signature calculated and generated by the second authentication server on the signature data including the first authentication result information, and the ciphertext of the second authentication result information is obtained by using the second key pair including the second authentication result information. The information including the authentication result information is encrypted and generated, the second authentication result information includes the second verification result of the digital certificate of the requesting device, and the first message authentication code of the first authentication server is the first message authentication code of the first authentication server. An authentication server uses the pre-shared key with the authentication access controller, and adopts the cryptographic algorithm agreed with the authentication access controller to calculate and generate the information including the ciphertext of the second authentication result information;
验证模块,用于利用与所述第一鉴别服务器的预共享密钥,采用与所述第一鉴别服务器约定的密码算法验证所述第一鉴别服务器的第一消息鉴别码;a verification module, configured to use the pre-shared key with the first authentication server to verify the first message authentication code of the first authentication server by adopting a cryptographic algorithm agreed with the first authentication server;
所述发送模块,还用于若验证通过,向所述请求设备发送第三鉴别响应消息,所述第三鉴别响应消息中包括身份鉴别结果信息密文,所述身份鉴别结果信息密文是所述鉴别接入控制器利用消息加密密钥对包括第一鉴别结果信息和所述第一数字签名在内的加密数据加密生成的;The sending module is further configured to send a third authentication response message to the requesting device if the verification is passed, where the third authentication response message includes the ciphertext of the identity authentication result information, and the ciphertext of the identity authentication result information is the The authentication access controller uses a message encryption key to encrypt and generate encrypted data including the first authentication result information and the first digital signature;
所述接收模块,还用于接收所述请求设备发送的第四鉴别响应消息,所述第四鉴别响应消息包括第二密钥密文,所述第二密钥密文是利用所述消息加密密钥对包括所述第二密钥在内的信息加密生成的;The receiving module is further configured to receive a fourth authentication response message sent by the requesting device, where the fourth authentication response message includes a second key ciphertext, and the second key ciphertext is encrypted by using the message The key is generated by encrypting the information including the second key;
解密模块,用于利用所述消息加密密钥解密所述第二密钥密文得到第二密钥,利用所述第二密钥对所述第二鉴别结果信息密文进行解密得到第二鉴别结果信息;A decryption module, configured to decrypt the second key ciphertext by using the message encryption key to obtain a second key, and use the second key to decrypt the second authentication result information ciphertext to obtain a second authentication result information;
确定模块,用于根据所述第二鉴别结果信息中的第二验证结果确定所述请求设备的身份鉴别结果。A determination module, configured to determine the identity authentication result of the requesting device according to the second verification result in the second authentication result information.
本申请第四方面提供了一种第一鉴别服务器,包括:A fourth aspect of the present application provides a first authentication server, including:
接收模块,用于接收鉴别接入控制器发送的第一鉴别请求消息,所述第一鉴别请求消息中包括第一身份信息密文和所述鉴别接入控制器的身份鉴别码,所述第一身份信息密文是请求设备利用加密证书的公钥对包括所述请求设备的身份信息和所述请求设备的第一身份密钥在内的信息加密生成的,所述请求设备的身份信息包括所述请求设备的数字证书,所述第一身份密钥包括第二密钥,所述鉴别接入控制器的身份鉴别码是所述鉴别接入控制器利用与所述第一鉴别服务器的预共享密钥,采用与所述第一鉴别服务器约定的密码算法对包括所述第一身份信息密文在内的信息计算生成的;The receiving module is configured to receive the first authentication request message sent by the authentication access controller, where the first authentication request message includes the first identity information ciphertext and the identity authentication code of the authentication access controller, the first authentication request message An identity information ciphertext is generated by the requesting device by encrypting the information including the identity information of the requesting device and the first identity key of the requesting device by using the public key of the encryption certificate, and the identity information of the requesting device includes The digital certificate of the requesting device, the first identity key includes a second key, and the identity authentication code of the authentication access controller is the authentication access controller using the pre-preset with the first authentication server. a shared key, which is calculated and generated from the information including the ciphertext of the first identity information by using the cryptographic algorithm agreed with the first authentication server;
发送模块,用于向所述鉴别接入控制器发送第一鉴别响应消息,所述第一鉴别响应消息包括第一鉴别结果信息、所述请求设备信任的第二鉴别服务器的第一数字签名、第二鉴别结果信息密文和所述第一鉴别服务器的第一消息鉴别码;所述第一鉴别结果信息中包括对所述鉴别接入控制器的第一验证结果,所述第一数字签名是所述第二鉴别服务器对包括所述第一鉴别结果信息在内的签名数据计算生成的数字签名,所述第二鉴别结果信息密文是利用所述第二密钥对包括第二鉴别结果信息在内的信息加密生成的,所述第二鉴别结果信息中包括对所述请求设备的数字证书的第二验证结果,所述第一鉴别服务器的第一消息鉴别码是所述第一鉴别服务器利用与所述鉴别接入控制器的预共享密钥,采用与所述鉴别接入控制器约定的密码算法对包括所述第二鉴别结果信息密文在内的信息计算生成的。A sending module, configured to send a first authentication response message to the authentication access controller, where the first authentication response message includes first authentication result information, the first digital signature of the second authentication server trusted by the requesting device, The ciphertext of the second authentication result information and the first message authentication code of the first authentication server; the first authentication result information includes the first verification result of the authentication access controller, the first digital signature is a digital signature generated by the second authentication server on the signature data including the first authentication result information, and the ciphertext of the second authentication result information is obtained by using the second key pair to include the second authentication result The information including the information is encrypted and generated, the second authentication result information includes the second verification result of the digital certificate of the requesting device, and the first message authentication code of the first authentication server is the first authentication code. The server uses the pre-shared key with the authentication access controller, and uses the cryptographic algorithm agreed with the authentication access controller to calculate and generate the information including the ciphertext of the second authentication result information.
本申请第五方面提供了一种第二鉴别服务器,包括:A fifth aspect of the present application provides a second authentication server, including:
接收模块,用于接收第一鉴别服务器发送的第二鉴别请求消息,所述第二鉴别请求消息中包括第一鉴别结果信息、第一身份信息密文和第二数字签名或所述第二鉴别请求消息中包括第一鉴别结果信息、第一身份信息密文和第二消息鉴别码;其中,所述第一身份信息密文是请求设备利用加密证书的公钥对包括所述请求设备的身份信息和所述请求设备的第一身份密钥在内的信息加密生成的,所述请求设备的身份信息包括所述请求设备的数字证书,所述第一身份密钥包括第二密钥;所述第二数字签名是所述第一鉴别服务器对包括所述第一鉴别结果信息和所述第一身份信息密文在内的签名数据计算生成的或所述第二消息鉴别码是所述第一鉴别服务器对包括所述第一鉴别结果信息和所述第一身份信息密文在内的信息计算生成的;A receiving module, configured to receive a second authentication request message sent by the first authentication server, where the second authentication request message includes the first authentication result information, the ciphertext of the first identity information and the second digital signature or the second authentication The request message includes the first authentication result information, the ciphertext of the first identity information and the second message authentication code; wherein, the ciphertext of the first identity information is the identity of the requesting device that is used by the requesting device using the public key of the encryption certificate information and information including the first identity key of the requesting device are encrypted and generated, the identity information of the requesting device includes the digital certificate of the requesting device, and the first identity key includes the second key; the The second digital signature is calculated and generated by the first authentication server on the signature data including the first authentication result information and the ciphertext of the first identity information, or the second message authentication code is the first authentication code. An authentication server calculates and generates the information including the first authentication result information and the ciphertext of the first identity information;
验证模块,用于利用所述第一鉴别服务器的公钥验证所述第二数字签名或利用与所述第一鉴别服务器的预共享密钥验证所述第二消息鉴别码,若验证通过,则利用加密证书对应的私钥解密所述第一身份信息密文得到所述请求设备的数字证书和所述第二密钥,对所述请求设备的数字证书进行合法性验证得到第二验证结果;A verification module, configured to verify the second digital signature using the public key of the first verification server or verify the second message verification code using the pre-shared key with the first verification server, if the verification is passed, then Decrypt the ciphertext of the first identity information with the private key corresponding to the encryption certificate to obtain the digital certificate of the requesting device and the second key, and perform legality verification on the digital certificate of the requesting device to obtain a second verification result;
生成模块,用于根据包括所述第二验证结果在内的信息生成所述第二鉴别结果信息,利用所述第二密钥对包括第二鉴别结果信息在内的信息加密生成第二鉴别结果信息密文,对包括所述第一鉴别结果信息在内的签名数据计算生成第一数字签名,对包括所述第二鉴别结果信息密文在内的签名数据计算生成第三数字签名或对包括所述第二鉴别结果信息密文在内的信息计算生成第三消息鉴别码;A generating module, configured to generate the second authentication result information according to the information including the second authentication result, and use the second key to encrypt the information including the second authentication result information to generate the second authentication result Information ciphertext, calculating the signature data including the first authentication result information to generate a first digital signature, calculating the signature data including the second authentication result information ciphertext to generate a third digital signature or The information including the ciphertext of the second authentication result information is calculated to generate a third message authentication code;
发送模块,用于向所述第一鉴别服务器发送的第二鉴别响应消息,所述第二鉴别响应消息中包括所述第一鉴别结果信息、所述第一数字签名、所述第二鉴别结果信息密文和所述第三数字签名或所述第二鉴别响应消息中包括所述第一鉴别结果信息、所述第一数字签名、所述第二鉴别结果信息密文和所述第三消息鉴别码。A sending module, configured to send a second authentication response message to the first authentication server, where the second authentication response message includes the first authentication result information, the first digital signature, and the second authentication result The ciphertext of the information and the third digital signature or the second authentication response message includes the first authentication result information, the first digital signature, the ciphertext of the second authentication result information, and the third message Authentication code.
由上可知:在本申请提供的一种身份鉴别方法中,请求设备采用数字证书作为其身份凭证,鉴别接入控制器采用预共享密钥作为其身份凭证,在身份鉴别过程中,请求设备先向鉴别接入控制器发送身份密文消息,该身份密文消息中包括第一身份信息密文,即请求设备利用加密证书的公钥对包括请求设备的身份信息和请求设备的第一身份密钥在内的信息加密生成的密文,其中,请求设备的身份信息包括其数字证书,第一身份密钥包括第二密钥,鉴别接入控制器利用与其信任的第一鉴别服务器的预共享密钥和约定的密码算法对包括第一身份信息密文在内的信息计算生成鉴别接入控制器的身份鉴别码,并向第一鉴别服务器发送携带有第一身份信息密文和鉴别接入控制器的身份鉴别码的第一鉴别请求消息,由请求设备信任的第二鉴别服务器对请求设备的数字证书的合法性进行验证,由所述第一鉴别服务器对鉴别接入控制器的身份鉴别码进行验证,完成验证后,第一鉴别服务器向鉴别接入控制器发送第一鉴别响应消息,第一鉴别响应消息中包括第一鉴别结果信息、第二鉴别服务器的第一数字签名、第二鉴别结果信息密文及第一鉴别服务器的第一消息鉴别码,然后鉴别接入控制器利用与第一鉴别服务器的预共享密钥和约定的密码算法验证第一鉴别服务器的第一消息鉴别码,验证通过后,向请求设备发送携带身份鉴别结果信息密文的第三鉴别响应消息,请求设备利用消息加密密钥解密身份鉴别结果信息密文得到第一鉴别结果信息,并从中获得鉴别接入控制器的验证结果,当确定鉴别接入控制器身份合法时,向鉴别接入控制器发送包括第二密钥密文的第四鉴别响应消息,鉴别接入控制器利用消息加密密钥解密第二密钥密文得到第二密钥,利用第二密钥对第二鉴别结果信息密文解密得到第二鉴别结果信息,从第二鉴别结果信息中获取请求设备的验证结果,从而实现请求设备和鉴别接入控制器的双向身份鉴别,为保证只有合法用户才能访问合法网络奠定基础。并且,实体的身份信息和/或身份鉴别结果信息以密文形式传输,保障私密信息在传输过程中的安全性,实现实体的身份保护。It can be seen from the above: in an identity authentication method provided by this application, the requesting device uses a digital certificate as its identity credential, and the authentication access controller uses a pre-shared key as its identity credential. Send an identity ciphertext message to the authentication access controller, the identity ciphertext message includes the first identity information ciphertext, that is, the requesting device uses the public key of the encryption certificate to pair the identity information of the requesting device and the first identity secret of the requesting device. The ciphertext generated by the encryption of the information including the key, wherein the identity information of the requesting device includes its digital certificate, the first identity key includes the second key, and the authentication access controller utilizes the pre-sharing with the first authentication server it trusts. The key and the agreed cryptographic algorithm calculate the information including the first identity information ciphertext to generate an identity authentication code that authenticates the access controller, and send the ciphertext carrying the first identity information and the authentication access controller to the first authentication server. The first authentication request message of the identity authentication code of the controller, the second authentication server trusted by the requesting device verifies the legality of the digital certificate of the requesting device, and the first authentication server authenticates the identity of the authentication access controller. After the verification is completed, the first authentication server sends a first authentication response message to the authentication access controller. The first authentication response message includes the first authentication result information, the first digital signature of the second authentication server, the second authentication response The ciphertext of the authentication result information and the first message authentication code of the first authentication server, and then the authentication access controller uses the pre-shared key with the first authentication server and the agreed cryptographic algorithm to verify the first message authentication code of the first authentication server , after the verification is passed, send the third authentication response message carrying the ciphertext of the identity authentication result information to the requesting device, and the requesting device uses the message encryption key to decrypt the ciphertext of the identity authentication result information to obtain the first authentication result information, and obtains the authentication access from it. The authentication result of the controller, when it is determined that the identity of the authentication access controller is valid, the authentication access controller sends a fourth authentication response message including the ciphertext of the second key to the authentication access controller, and the authentication access controller uses the message encryption key to decrypt the first authentication response message. The second key is obtained from the two-key ciphertext, and the second authentication result information ciphertext is decrypted with the second key to obtain the second authentication result information, and the verification result of the requesting device is obtained from the second authentication result information, so as to realize the requesting device. The two-way identity authentication of the access controller and the authentication access controller lays the foundation for ensuring that only legitimate users can access the legitimate network. In addition, the entity's identity information and/or identity authentication result information is transmitted in the form of cipher text, which ensures the security of private information during the transmission process and realizes the entity's identity protection.
附图说明Description of drawings
为了更清楚地说明本申请实施例或现有技术中的技术方案,下面将对实施例或现有技术描述中所需要使用的附图作简单地介绍,显而易见地,下面描述中的附图仅是本申请的一些实施例,对于本领域普通技术人员来讲,在不付出创造性劳动性的前提下,还可以根据这些附图获得其他的附图。In order to more clearly illustrate the embodiments of the present application or the technical solutions in the prior art, the following briefly introduces the accompanying drawings that are used in the description of the embodiments or the prior art. Obviously, the drawings in the following description are only These are some embodiments of the present application, and for those of ordinary skill in the art, other drawings can also be obtained from these drawings without any creative effort.
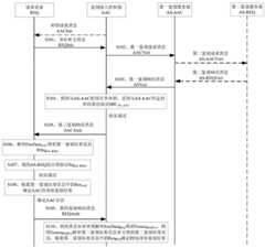
图1为本申请实施例提供的一种身份鉴别方法的示意图;1 is a schematic diagram of an identity authentication method provided by an embodiment of the present application;
图2为本申请实施例提供的一种请求设备REQ和鉴别接入控制器AAC协商消息加密密钥的方法的示意图;2 is a schematic diagram of a method for requesting a device REQ and an authentication access controller AAC to negotiate a message encryption key according to an embodiment of the present application;
图3为本申请实施例提供的一种身份鉴别方法的示意图,其中“*”表示可选的字段或可选的操作;3 is a schematic diagram of an identity authentication method provided by an embodiment of the present application, wherein "*" represents an optional field or an optional operation;
图4为本申请实施例提供的一种身份鉴别方法的示意图,其中“*”表示可选的字段或可选的操作;4 is a schematic diagram of an identity authentication method provided by an embodiment of the present application, wherein "*" represents an optional field or an optional operation;
图5为本申请实施例提供的一种身份鉴别方法的示意图,其中“*”表示可选的字段或可选的操作;5 is a schematic diagram of an identity authentication method provided by an embodiment of the present application, wherein "*" represents an optional field or an optional operation;
图6为本申请实施例提供的一种身份鉴别方法的示意图,其中“*”表示可选的字段或可选的操作;6 is a schematic diagram of an identity authentication method provided by an embodiment of the present application, wherein "*" represents an optional field or an optional operation;
图7为本申请实施例提供的一种请求设备REQ的结构框图;7 is a structural block diagram of a requesting device REQ provided by an embodiment of the present application;
图8为本申请实施例提供的一种鉴别接入控制器AAC的结构框图;FIG. 8 is a structural block diagram of an authentication access controller AAC according to an embodiment of the present application;
图9为本申请实施例提供的一种第一鉴别服务器AS-AAC的结构框图;FIG. 9 is a structural block diagram of a first authentication server AS-AAC according to an embodiment of the present application;
图10为本申请实施例提供的一种第二鉴别服务器AS-REQ的结构框图。FIG. 10 is a structural block diagram of a second authentication server AS-REQ according to an embodiment of the present application.
具体实施方式Detailed ways
在通信网络中,请求设备可以通过鉴别接入控制器访问网络,为了确保访问网络的请求设备属于合法用户,以及请求设备访问的网络为合法网络,鉴别接入控制器和请求设备之间需要进行双向身份鉴别(Mutual Identity Authentication,简称MIA)。In a communication network, the requesting device can access the network through the authentication access controller. In order to ensure that the requesting device accessing the network belongs to a legitimate user and the network that the requesting device accesses is a legitimate network, the authentication between the access controller and the requesting device needs to be performed. Mutual Identity Authentication (MIA for short).
以目前的无线通信和移动通信场景为例,在请求设备通过鉴别接入控制器接入无线网络的场景下,请求设备可以为手机、个人数字助理(Personal Digital Assitant,简称PDA)、平板电脑等终端设备,鉴别接入控制器可以是无线接入点、无线路由器等网络侧设备。在请求设备通过鉴别接入控制器接入有线网络的场景下,请求设备可以为台式机、笔记本电脑等终端设备,鉴别接入控制器可以是交换机或路由器等网络侧设备。在请求设备通过鉴别接入控制器接入第四/五代移动通信技术(the 4th/5th Generation mobilecommunication technology,简称4G/5G)网络的场景下,请求设备可以为手机、平板电脑等终端设备,鉴别接入控制器可以为基站等网络侧设备。当然,本申请同样适用于其他有线网络、近距离通信网络等各种数据通信场景。Taking the current wireless communication and mobile communication scenarios as an example, in the scenario where the requesting device accesses the wireless network through the authentication access controller, the requesting device may be a mobile phone, a personal digital assistant (PDA), a tablet computer, etc. The terminal device, the authentication access controller can be a network side device such as a wireless access point and a wireless router. In the scenario where the requesting device accesses the wired network through the authentication access controller, the requesting device may be a terminal device such as a desktop computer or a notebook computer, and the authentication access controller may be a network-side device such as a switch or a router. In the scenario where the requesting device accesses the 4th/5th Generation mobile communication technology (4G/5G) network through the authentication access controller, the requesting device may be a terminal device such as a mobile phone and a tablet computer. The access controller may be a network side device such as a base station. Of course, the present application is also applicable to various data communication scenarios such as other wired networks and short-range communication networks.
然而,在目前已有的实体鉴别方案中,实体的身份凭证要么统一采用数字证书的形式,要么统一采用预共享密钥的形式,而针对实际应用中一端采用数字证书作为身份凭证、另一端采用预共享密钥作为身份凭证的情况,并没有提出简洁、有效的身份鉴别机制。并且在身份鉴别消息的传输过程中,直接暴露实体的身份信息,导致其安全性无法得到保障。However, in the existing entity authentication scheme, the identity certificate of the entity is either in the form of a digital certificate or a pre-shared key. When the pre-shared key is used as an identity certificate, no concise and effective authentication mechanism is proposed. In addition, in the transmission process of the identity authentication message, the identity information of the entity is directly exposed, so that its security cannot be guaranteed.
为了解决上述技术问题,本申请实施例提供了一种身份鉴别方法,针对请求设备采用数字证书,鉴别接入控制器采用预共享密钥的鉴别方式的应用场景,由鉴别接入控制器信任的第一鉴别服务器验证鉴别接入控制器的身份鉴别码得到第一验证结果,由请求设备信任的第二鉴别服务器验证请求设备数字证书的合法性得到第二验证结果,请求设备和鉴别接入控制器分别依据对方实体所对应的验证结果来确定对方实体是否合法,实现鉴别接入控制器与请求设备之间的双向身份鉴别,从而为确保只有合法用户才能与合法网络通信奠定基础。并且实体的私密信息如身份标识、鉴别结果信息等以密文形式传输,保障了私密信息在传输过程中的安全性,实现实体的身份保护。In order to solve the above technical problem, an embodiment of the present application provides an identity authentication method. For the application scenario in which the requesting device adopts a digital certificate and the authentication access controller adopts the pre-shared key authentication method, the authentication access controller trusts the application scenario. The first authentication server verifies the identity authentication code of the authentication access controller to obtain the first verification result, and the second authentication server trusted by the requesting device verifies the legality of the digital certificate of the requesting device to obtain the second verification result, and the requesting device and the authentication access control The device determines whether the other entity is legal according to the corresponding verification results of the counterpart entity, and realizes the two-way identity authentication between the authentication access controller and the requesting device, thus laying the foundation for ensuring that only legal users can communicate with the legal network. In addition, the private information of the entity, such as identity identification, authentication result information, etc., is transmitted in the form of cipher text, which ensures the security of the private information during the transmission process and realizes the identity protection of the entity.
为便于介绍,在本申请实施例中,将以请求设备(REQuester,简称REQ)、鉴别接入控制器(Authentication Access Controller,简称AAC)和鉴别服务器(AuthenticationServer,简称AS)为例对本申请的身份鉴别方法进行介绍。For ease of introduction, in the embodiments of the present application, a requesting device (REQuester, REQ for short), an Authentication Access Controller (AAC for short), and an Authentication Server (AS for short) will be used as examples to describe the identity of the present application. The identification method is introduced.
其中,AAC信任的AS称为第一鉴别服务器AS-AAC,REQ信任的AS称为第二鉴别服务器AS-REQ。AS-REQ持有符合ISO/IEC 9594-8/ITU X.509、其他标准或其他技术体系规定的数字证书和数字证书对应的私钥,AS-AAC能够验证AAC的身份合法性,AS-REQ能够验证REQ的数字证书的合法性。AS-AAC和AS-REQ可以是同一AS也可以是不同的AS,当AS-AAC与AS-REQ相同时,即非漫游情况;当AS-AAC与AS-REQ不相同时,即漫游情况,此时AS-AAC与AS-REQ之间具有有效的预共享密钥,或者,当AS-AAC持有符合ISO/IEC9594-8/ITU X.509、其他标准或其他技术体系规定的数字证书和数字证书对应的私钥时,AS-AAC与AS-REQ相互信任,且知晓对方的数字证书或数字证书中的公钥。证书解密服务器(Certificate Sever-Decrypt,简称CS-DEC)持有符合ISO/IEC 9594-8/ITU X.509、其他标准或其他技术体系规定的加密证书和加密证书对应的私钥,其加密证书可以有一张也可以有多张,CS-DEC可以是独立的服务器,也可以驻留在AS-AAC和/或AS-REQ中。The AS trusted by AAC is called the first authentication server AS-AAC, and the AS trusted by REQ is called the second authentication server AS-REQ. AS-REQ holds digital certificates and private keys corresponding to digital certificates that comply with ISO/IEC 9594-8/ITU X.509, other standards or other technical systems. AS-AAC can verify the legitimacy of AAC's identity. AS-REQ Can verify the legitimacy of REQ's digital certificate. AS-AAC and AS-REQ can be the same AS or different ASs. When AS-AAC is the same as AS-REQ, it is a non-roaming situation; when AS-AAC is different from AS-REQ, it is a roaming situation. At this time, there is a valid pre-shared key between AS-AAC and AS-REQ, or, when AS-AAC holds a digital certificate that complies with ISO/IEC9594-8/ITU X.509, other standards or other technical systems and When the private key corresponding to the digital certificate is used, AS-AAC and AS-REQ trust each other and know each other's digital certificate or the public key in the digital certificate. The certificate decryption server (Certificate Sever-Decrypt, CS-DEC for short) holds the encryption certificate and the private key corresponding to the encryption certificate in accordance with ISO/IEC 9594-8/ITU X.509, other standards or other technical systems, and its encryption certificate There can be one or more, and the CS-DEC can be a standalone server or reside in AS-AAC and/or AS-REQ.
REQ可以是参与身份鉴别过程的一个端点,与AAC建立连接,访问AAC提供的服务,且通过AAC访问AS,REQ持有符合ISO/IEC 9594-8/ITU X.509、其他标准或其他技术体系规定的数字证书和数字证书对应的私钥,REQ知晓AS-REQ的数字证书或数字证书中的公钥,并知晓CS-DEC的加密证书或加密证书中的公钥。AAC可以是参与身份鉴别过程的另一个端点,与REQ建立连接,提供服务,并与REQ通信,且可直接访问AS-AAC,AAC与AS-AAC之间具有预共享密钥,且在某些情况下知晓CS-DEC的加密证书或加密证书中的公钥。REQ can be an endpoint participating in the authentication process, establish a connection with AAC, access services provided by AAC, and access AS through AAC, REQ holds ISO/IEC 9594-8/ITU X.509, other standards or other technical systems For the specified digital certificate and the private key corresponding to the digital certificate, REQ knows the digital certificate of AS-REQ or the public key in the digital certificate, and knows the encryption certificate of CS-DEC or the public key in the encryption certificate. The AAC can be another endpoint that participates in the authentication process, establishes a connection with the REQ, provides services, communicates with the REQ, and can directly access the AS-AAC, with a pre-shared key between the AAC and the AS-AAC, and in some If you know the encryption certificate of CS-DEC or the public key in the encryption certificate.
下面结合图1,说明本申请实施例提供的一种身份鉴别方法,该方法包括:1, an identity authentication method provided by the embodiment of the present application is described, and the method includes:
S101、AAC接收REQ发送的身份密文消息REQInit。S101. The AAC receives the identity ciphertext message REQInit sent by the REQ.
所述REQInit中包括第一身份信息密文EncPubAS_REQ。其中,EncPubAS_REQ是REQ利用加密证书的公钥对包括REQ的身份信息和REQ的第一身份密钥在内的加密数据加密生成的;REQ的身份信息包括REQ的数字证书CertREQ,第一身份密钥包括第二密钥NonceREQPub。The REQInit includes the first identity information ciphertext EncPubAS_REQ . Wherein, EncPubAS_REQ is generated by REQ using the public key of the encrypted certificate to encrypt the encrypted data including the identity information of REQ and the first identity key of REQ; the identity information of REQ includes the digital certificate CertREQ of REQ, the first identity The keys include the second key NonceREQPub .
S102、AAC向其信任的AS-AAC发送第一鉴别请求消息AACVeri。S102. The AAC sends a first authentication request message AACVeri to the AS-AAC it trusts.
所述AACVeri中包括EncPubAS_REQ和AAC的身份鉴别码MICAAC。其中,MICAAC是AAC利用与AS-AAC的预共享密钥KAAC_AS,采用与AS-AAC约定的密码算法对包括EncPubAS_REQ在内的信息计算生成的。作为一个示例,AAC与AS-AAC约定的密码算法可以是杂凑算法,通过利用所述KAAC_AS,结合杂凑算法对包括AACVeri中MICAAC字段之前的其他字段,如包括EncPubAS_REQ在内的信息,进行杂凑运算得到杂凑值,将该杂凑值作为AAC的身份鉴别码MICAAC。如此,由AS-AAC对MICAAC进行验证得到第一验证结果ResAAC,由REQ信任的AS-REQ对解密EncPubAS_REQ得到的CertREQ进行验证得到第二验证结果ResREQ。The AACVeri includes the identification code MICAAC of EncPubAS_REQ and AAC. The MICAAC is calculated and generated by the AAC using the pre-shared key KAAC_AS with the AS-AAC and the cryptographic algorithm agreed with the AS-AAC on the information including the EncPubAS_REQ . As an example, the cryptographic algorithm agreed by AAC and AS-AAC may be a hash algorithm. By using the KAAC_AS , combined with the hash algorithm, other fields including the MICAAC field in AACVeri, such as the information including EncPubAS_REQ , are processed A hash value is obtained by the hash operation, and the hash value is used as the identification code MIC AAC of theAAC . In this way, the AS-AAC verifies the MICAAC to obtain the first verification result ResAAC , and the AS-REQ trusted by the REQ verifies the CertREQ obtained by decrypting the EncPubAS_REQ to obtain the second verification result ResREQ .
需要说明的是,当AAC信任的AS-AAC和REQ信任的AS-REQ为同一个鉴别服务器时,REQ和AAC共同信任的鉴别服务器可以用AS-AAC(当然也可以用AS-REQ)来表示。此情形下,可以由AS-AAC(也可以表示为AS-REQ)对所述MICAAC进行验证得到ResAAC,对解密EncPubAS_REQ得到的所述CertREQ进行合法性验证得到ResREQ。其中,对EncPubAS_REQ的解密操作可以由证书解密服务器CS-DEC执行,CS-DEC利用所述加密证书对应的私钥解密EncPubAS_REQ,AS-AAC(也可以表示为AS-REQ)从CS-DEC获取解密得到的CertREQ;或者,AS-AAC(也可以表示为AS-REQ)利用驻留在AS-AAC(也可以表示为AS-REQ)中的CS-DEC的加密证书对应的私钥解密EncPubAS_REQ得到CertREQ。在验证所述MICAAC时,AS-AAC(也可以表示为AS-REQ)先确定与AAC的预共享密钥KAAC_AS和约定的密码算法,再利用所述KAAC_AS,采用所述密码算法对包括AACVeri中MICAAC字段之前的其他字段,如包括EncPubAS_REQ在内的信息,在本地计算生成MICAAC,然后将计算出的MICAAC与接收到的MICAAC进行比较,从而完成对MICAAC的验证。AS-AAC在确定所述KAAC_AS和密码算法时,可以预先确知与AAC具有的有效的预共享密钥KAAC_AS和密码算法;此外,AACVeri中还可以携带AAC的身份标识IDAAC,AS-AAC可以根据IDAAC确定与AAC具有的有效的预共享密钥KAAC_AS和密码算法。It should be noted that when the AS-AAC trusted by AAC and the AS-REQ trusted by REQ are the same authentication server, the authentication server trusted by REQ and AAC can be represented by AS-AAC (of course, AS-REQ can also be used) . In this case, the MICAAC can be verified by AS-AAC (which can also be expressed as AS-REQ) to obtain ResAAC , and the CertREQ obtained by decrypting the EncPubAS_REQ can be verified to obtain ResREQ . Wherein, the decryption operation of EncPubAS_REQ can be performed by the certificate decryption server CS-DEC, CS-DEC decrypts EncPubAS_REQ by using the private key corresponding to the encrypted certificate, and AS-AAC (also can be expressed as AS-REQ) from CS-DEC Obtain the CertREQ that decryption obtains; Or, AS-AAC (also can be expressed as AS-REQ) utilizes the private key corresponding to the encryption certificate of CS-DEC residing in AS-AAC (also can be expressed as AS-REQ) to decrypt EncPubAS_REQ get CertREQ . When verifying the MICAAC , AS-AAC (which can also be expressed as AS-REQ) first determines the pre-shared key KAAC_AS with AAC and the agreed cryptographic algorithm, and then uses the KAAC_AS to use the cryptographic algorithm to Include other fields before the MICAAC field in AACVeri, such as information including EncPubAS_REQ , calculate the MICAAC locally, and then compare the calculated MICAAC with the received MICAAC to complete the verification of the MICAAC . When the AS-AAC determines the KAAC_AS and the cryptographic algorithm, it can pre-determine the effective pre-shared key KAAC_AS and the cryptographic algorithm with the AAC; The AAC can determine the valid pre-shared key KAAC_AS and the cryptographic algorithm it has with the AAC according to the IDAAC .
接着,AS-AAC(也可以表示为AS-REQ)根据包括所述ResAAC在内的信息生成第一鉴别结果信息PubAAC,根据包括所述ResREQ在内的信息生成第二鉴别结果信息PubREQ,利用解密EncPubAS_REQ得到的NonceREQPub对包括PubREQ在内的信息加密得到第二鉴别结果信息密文(例如,可以将NonceREQPub与PubREQ进行异或运算生成第二鉴别结果信息密文即PubREQ⊕NonceREQPub),并利用所述KAAC_AS,采用所述密码算法对包括所述第二鉴别结果信息密文在内的信息计算生成AS-AAC的第一消息鉴别码MICAS_AAC(也可以表示为AS-REQ的第一消息鉴别码MICAS_REQ),对包括所述PubAAC在内的签名数据计算生成第一数字签名SigAS_AAC1(也可以表示为SigAS_REQ1),根据包括所述PubAAC、所述SigAS_AAC1(也可以表示为SigAS_REQ1)、所述第二鉴别结果信息密文和所述MICAS_AAC(也可以表示为MICAS_REQ)在内的信息生成第一鉴别响应消息ASVeri。Next, AS-AAC (may also be expressed as AS-REQ) generates first authentication result information PubAAC according to the information including the ResAAC , and generates second authentication result information Pub according to the information including the ResREQREQ , use the NonceREQPub obtained by decrypting EncPubAS_REQ to encrypt the information including PubREQ to obtain the second authentication result information ciphertext (for example, the NonceREQPub and PubREQ can be XORed to generate the second authentication result information ciphertext i.e. PubREQ ⊕ NonceREQPub ), and use the KAAC_AS to calculate and generate the first message authentication code MICAS_AAC of AS-AAC by using the cryptographic algorithm on the information including the ciphertext of the second authentication result information (you can also Expressed as the first message authentication code MICAS_REQ of AS-REQ), calculate and generate the first digital signature SigAS_AAC1 (also can be expressed as SigAS_REQ1 ) for the signature data including the PubAAC , according to including the PubAAC , The information including the SigAS_AAC1 (which may also be expressed as SigAS_REQ1 ), the ciphertext of the second authentication result information, and the MICAS_AAC (which may also be expressed as MICAS_REQ ) generates a first authentication response message ASVeri.
当AAC信任的AS-AAC和REQ信任的AS-REQ为两个不同的鉴别服务器时,此情形下,由AS-AAC验证所述MICAAC得到ResAAC,由AS-REQ对解密EncPubAS_REQ得到的CertREQ进行合法性验证得到ResREQ。When the AS-AAC trusted by AAC and the AS-REQ trusted by REQ are two different authentication servers, in this case, the AS-AAC verifies the MICAAC to obtain the ResAAC , and the AS-REQ decrypts the EncPubAS_REQ to obtain the Res AAC. The validity of CertREQ is verified to obtain ResREQ .
具体地,AS-AAC利用与AAC的预共享密钥KAAC_AS,采用与AAC约定的密码算法对所述MICAAC进行验证得到ResAAC,根据包括所述ResAAC在内的信息生成第一鉴别结果信息PubAAC,对包括所述PubAAC和所述EncPubAS_REQ在内的签名数据计算生成第二数字签名SigAS_AAC2,并向AS-REQ发送第二鉴别请求消息AS-AACVeri,所述AS-AACVeri中包括所述PubAAC、所述EncPubAS_REQ和所述SigAS_AAC2。其中,SigAS_AAC2可替换为MICAS_AAC2,MICAS_AAC2是AS-AAC利用与AS-REQ的预共享密钥,采用与AS-REQ约定的密码算法对包括所述PubAAC、所述EncPubAS_REQ在内的信息计算生成的第二消息鉴别码。Specifically, AS-AAC uses the pre-shared key KAAC_AS with the AAC, uses the cryptographic algorithm agreed with the AAC to verify the MICAAC to obtain ResAAC , and generates the first authentication result according to the information including the ResAAC Information PubAAC , calculate and generate a second digital signature SigAS_AAC2 for the signature data including the PubAAC and the EncPubAS_REQ , and send the second authentication request message AS-AACVeri to AS-REQ, in the AS-AACVeri Including the PubAAC , the EncPubAS_REQ and the SigAS_AAC2 . Wherein, SigAS_AAC2 can be replaced by MICAS_AAC2 , MICAS_AAC2 is that AS-AAC utilizes the pre-shared key with AS-REQ, adopts the cryptographic algorithm agreed with AS-REQ to pair the PubAAC and EncPubAS_REQ . The message calculates the generated second message authentication code.
然后,AS-REQ利用AS-AAC的公钥验证SigAS_AAC2或者利用与AS-AAC的预共享密钥采用与AS-AAC约定的密码算法验证MICAS_AAC2,验证通过后,由AS-REQ对解密所述EncPubAS_REQ得到的CertREQ进行合法性验证得到ResREQ,再根据包括ResREQ在内的信息生成第二鉴别结果信息PubREQ,利用解密所述EncPubAS_REQ得到的NonceREQPub对包括PubREQ在内的信息加密生成第二鉴别结果信息密文,并对包括所述PubAAC在内的签名数据计算生成第一数字签名SigAS_REQ1,对包括所述第二鉴别结果信息密文在内的签名数据计算生成第三数字签名SigAS_REQ3,并向AS-AAC发送第二鉴别响应消息AS-REQVeri,所述AS-REQVeri中包括所述PubAAC、所述SigAS_REQ1、所述第二鉴别结果信息密文和所述SigAS_REQ3。其中,SigAS_REQ3可替换为MICAS_REQ3,MICAS_REQ3是AS-REQ利用与AS-AAC的预共享密钥,采用与AS-AAC约定的密码算法对包括所述第二鉴别结果信息密文在内的信息计算生成的第三消息鉴别码。Then, AS-REQ uses the public key of AS-AAC to verify SigAS_AAC2 or uses the pre-shared key with AS-AAC to verify MICAS_AAC2 using the cryptographic algorithm agreed with AS-AAC. The CertREQ obtained by the described EncPubAS_REQ is verified for validity to obtain the ResREQ , and then the second authentication result information PubREQ is generated according to the information including the ResREQ , and the NonceREQPub obtained by decrypting the described EncPubAS_REQ is used to decipher the information including the PubREQ . The information is encrypted to generate the second authentication result information ciphertext, and the first digital signature SigAS_REQ1 is calculated and generated for the signature data including the PubAAC , and the signature data including the second authentication result information ciphertext is calculated and generated. The third digital signature SigAS_REQ3 , and sends a second authentication response message AS-REQVeri to AS-AAC, the AS-REQVeri includes the PubAAC , the SigAS_REQ1 , the second authentication result information ciphertext and all SigAS_REQ3 described above. Wherein, SigAS_REQ3 can be replaced with MICAS_REQ3 , and MICAS_REQ3 is that AS-REQ uses the pre-shared key with AS-AAC, and adopts the cryptographic algorithm agreed with AS-AAC to pair the ciphertext including the second authentication result information. The information calculates the generated third message authentication code.
AS-AAC利用AS-REQ的公钥验证所述SigAS_REQ3,或者利用与AS-REQ的预共享密钥采用与AS-REQ约定的密码算法验证MICAS_REQ3,验证通过后,由AS-AAC利用所述KAAC_AS,采用与AAC约定的密码算法对包括所述第二鉴别结果信息密文在内的信息计算生成AS-AAC的第一消息鉴别码MICAS_AAC,并根据包括所述PubAAC、所述SigAS_REQ1、所述第二鉴别结果信息密文和所述MICAS_AAC在内的信息生成所述第一鉴别响应消息ASVeri。AS-AAC uses the public key of AS-REQ to verify the SigAS_REQ3 , or uses the pre-shared key with AS-REQ to verify the MICAS_REQ3 using the cryptographic algorithm agreed with AS-REQ. Describe KAAC_AS , adopt the cryptographic algorithm agreed with AAC to calculate and generate the first message authentication code MICAS_AAC of AS-AAC on the information including the ciphertext of the second authentication result information, and according to including the PubAAC , the described Information including SigAS_REQ1 , the ciphertext of the second authentication result information, and the MICAS_AAC generates the first authentication response message ASVeri.
S103、AAC接收AS-AAC发送的第一鉴别响应消息ASVeri。S103. The AAC receives the first authentication response message ASVeri sent by the AS-AAC.
所述ASVeri中包括第一鉴别结果信息、第一数字签名SigAS_REQ1、第二鉴别结果信息密文和AS-AAC的第一消息鉴别码MICAS_AAC。The ASVeri includes the first authentication result information, the first digital signature SigAS_REQ1 , the ciphertext of the second authentication result information and the first message authentication code MICAS_AAC of the AS-AAC.
S104、AAC利用与AS-AAC的预共享密钥,采用与AS-AAC约定的密码算法验证所述MICAS_AAC。S104, the AAC uses the pre-shared key with the AS-AAC, and uses the cryptographic algorithm agreed with the AS-AAC to verify the MICAS_AAC .
若验证通过,则执行S105。其中,AAC利用与AS-AAC的预共享密钥KAAC_AS采用与AS-AAC约定的密码算法对包括第二鉴别结果信息密文在内的信息计算生成MICAS_AAC,将计算出的MICAS_AAC与接收到的MICAS_AAC进行比较,若一致,则MICAS_AAC验证通过,若不一致,则丢弃ASVeri。If the verification is passed, execute S105. Wherein, AAC utilizes the pre-shared key KAAC_AS with AS-AAC and adopts the cryptographic algorithm agreed with AS-AAC to calculate and generate MICAS_AAC for the information including the ciphertext of the second authentication result information, and compare the calculated MICAS_AAC with the received MIC AS_AAC . The received MICAS_AACs are compared. If they are consistent, the MICAS_AAC verification is passed. If they are inconsistent, the ASVeri is discarded.
S105、AAC向REQ发送第三鉴别响应消息AACAuth。S105, AAC sends a third authentication response message AACAuth to REQ.
所述AACAuth中包括身份鉴别结果信息密文EncDataAAC。其中,EncDataAAC是AAC利用消息加密密钥对包括第一鉴别结果信息和第一数字签名SigAS_REQ1在内的加密数据加密生成的。本申请中,将被加密的对象称为加密数据。The AACAuth includes the ciphertext EncDataAAC of the identity authentication result information. The EncDataAAC is generated by the AAC encrypting the encrypted data including the first authentication result information and the first digital signature SigAS_REQ1 by using the message encryption key. In this application, the encrypted object is called encrypted data.
S106、REQ利用消息加密密钥解密EncDataAAC得到第一鉴别结果信息和SigAS_REQ1。S106, REQ decrypts the EncDataAAC by using the message encryption key to obtain the first authentication result information and SigAS_REQ1 .
S107、REQ利用AS-REQ的公钥验证所述SigAS_REQ1。S107, REQ verifies the SigAS_REQ1 by using the public key of AS-REQ.
S108、REQ根据第一鉴别结果信息中的ResAAC确定AAC的身份鉴别结果。S108. The REQ determines the identity authentication result of the AAC according to the ResAAC in the first authentication result information.
由于ResAAC可以反映出AAC是否合法,因此REQ可以根据第一鉴别结果信息中的ResAAC确定AAC是否合法。Since the ResAAC can reflect whether the AAC is legal, the REQ can determine whether the AAC is legal according to the ResAAC in the first authentication result information.
S109、REQ向AAC发送第四鉴别响应消息REQAuth。S109, REQ sends a fourth authentication response message REQAuth to the AAC.
所述REQAuth中包括第二密钥密文EncDataREQ。其中,EncDataREQ是REQ利用消息加密密钥对包括NonceREQPub在内的信息加密生成的。The REQAuth includes the second key ciphertext EncDataREQ . Among them, EncDataREQ is generated by REQ encrypting information including NonceREQPub by using a message encryption key.
需要说明的是:S107至S109的执行顺序并不影响本申请的具体实现,在实际应用中,可根据需求设定S107至S109的执行顺序。优选建议,先执行S107,当REQ对所述SigAS_REQ1验证不通过,则丢弃AACAuth,当REQ对所述SigAS_REQ1验证通过后,再执行S108,当REQ确定AAC为合法时,再执行S109,当REQ确定AAC为不合法时,则REQ根据本地策略选择是否执行S109,考虑到效率,优选方案为不执行并结束本次鉴别过程。It should be noted that the execution order of S107 to S109 does not affect the specific implementation of the present application. In practical applications, the execution order of S107 to S109 can be set according to requirements. Preferably, it is recommended to execute S107 first, and discard AACAuth when REQ fails to verify the SigAS_REQ1 , and then execute S108 after the REQ has passed the SigAS_REQ1 verification. When the REQ determines that AAC is legal, execute S109 again. When the REQ determines that the AAC is illegal, the REQ selects whether to execute S109 according to the local policy. Considering the efficiency, the preferred solution is not to execute and end the current authentication process.
S110、AAC利用消息加密密钥解密所述EncDataREQ得到NonceREQPub,利用NonceREQPub对第二鉴别结果信息密文解密得到第二鉴别结果信息,根据第二鉴别结果信息中的ResREQ确定REQ的身份鉴别结果。S110, AAC uses the message encryption key to decrypt the EncDataREQ to obtain the NonceREQPub , uses the NonceREQPub to decrypt the ciphertext of the second authentication result information to obtain the second authentication result information, and determines the identity of the REQ according to the ResREQ in the second authentication result information Identification results.
由于ResREQ可以反映出REQ是否合法,因此AAC可以根据第二鉴别结果信息中的ResREQ确定REQ是否合法。Since the ResREQ can reflect whether the REQ is legal, the AAC can determine whether the REQ is legal according to the ResREQ in the second authentication result information.
由上述技术方案可以看出,在对请求设备和鉴别接入控制器进行双向身份鉴别时,针对请求设备采用数字证书,鉴别接入控制器采用预共享密钥的鉴别方式的应用场景,由鉴别接入控制信任的第一鉴别服务器利用与鉴别接入控制器约定的预共享密钥对鉴别接入控制器的身份鉴别码进行验证得到第一验证结果,由请求设备信任的第二鉴别服务器对请求设备的数字证书进行验证得到第二验证结果,请求设备和鉴别接入控制器分别获取对方实体所对应的验证结果,可以确定对方实体是否合法,实现鉴别接入控制器与请求设备之间的双向身份鉴别,为确保只有合法用户才能访问合法网络奠定基础。并且实体的私密信息如身份标识、鉴别结果信息等以密文形式传输,保障私密信息在传输过程中的安全性,实现实体的身份保护。It can be seen from the above technical solutions that when performing bidirectional identity authentication between the requesting device and the authentication access controller, the application scenario in which a digital certificate is used for the requesting device and the pre-shared key authentication method is used for the authentication access controller. The first authentication server trusted by the access control uses the pre-shared key agreed with the authentication access controller to verify the identity authentication code of the authentication access controller to obtain a first verification result, which is verified by the second authentication server trusted by the requesting device. The digital certificate of the requesting device is verified to obtain the second verification result, and the requesting device and the authentication access controller obtain the verification results corresponding to the counterpart entity respectively, so as to determine whether the counterpart entity is legal, and realize the authentication between the access controller and the requesting device. Two-way authentication lays the foundation for ensuring that only legitimate users can access legitimate networks. In addition, the private information of the entity, such as identity identification, authentication result information, etc., is transmitted in the form of cipher text, which ensures the security of the private information during the transmission process and realizes the identity protection of the entity.
为保障鉴别结果的可靠性,AAC可以生成消息完整性校验码。例如,S105的AACAuth中还可以包括第一消息完整性校验码MacTagAAC,MacTagAAC是AAC利用消息完整性校验密钥对包括AACAuth中除MacTagAAC外的其他字段计算生成的;则在REQ确定AAC的身份鉴别结果之前,REQ可以利用消息完整性校验密钥验证MacTagAAC,验证通过后再确定AAC的身份鉴别结果。其中,REQ验证MacTagAAC时,应利用所述消息完整性校验密钥对包括AACAuth中除MacTagAAC外的其他字段在本地计算生成MacTagAAC,并对比本地计算的MacTagAAC与接收到的AACAuth中的MacTagAAC是否一致,若一致,则验证通过,若不一致,则验证不通过。To ensure the reliability of the authentication result, AAC can generate a message integrity check code. For example, the AACAuth of S105 may also include the first message integrity check code MacTagAAC , and MacTagAAC is calculated and generated by AAC using the message integrity check key to include other fields in AACAuth except MacTagAAC ; then in REQ Before determining the identity authentication result of the AAC, REQ can use the message integrity check key to verify the MacTagAAC , and then determine the identity authentication result of the AAC after the verification is passed. Wherein, when REQ verifies MacTagAAC , it should use the message integrity check key pair to include other fields in AACAuth except MacTagAAC to generate MacTagAAC locally, and compare the locally calculated MacTagAAC with the received AACAuth Whether theMacTag AACs are consistent. If they are consistent, the verification passes. If they are inconsistent, the verification fails.
同样的,REQ也可以生成消息完整性校验码。例如,S109的REQAuth中还可以包括第二消息完整性校验码MacTagREQ,MacTagREQ是REQ利用消息完整性校验密钥对包括REQAuth中除MacTagREQ外的其他字段计算生成的。相应的,在AAC确定REQ的身份鉴别结果之前,AAC可以利用消息完整性校验密钥验证MacTagREQ,验证通过后再确定REQ的身份鉴别结果。其中,AAC验证MacTagREQ时,应利用所述消息完整性校验密钥对包括REQAuth中除MacTagREQ外的其他字段在本地计算生成MacTagREQ,并对比本地计算的MacTagREQ与接收到的REQAuth中的MacTagREQ是否一致,若一致,则验证通过,若不一致,则验证不通过。Similarly, REQ can also generate message integrity check codes. For example, the REQAuth of S109 may further include the second message integrity check code MacTagREQ , where MacTagREQ is calculated and generated by REQ using the message integrity check key to include other fields in REQAuth except MacTagREQ . Correspondingly, before the AAC determines the identity authentication result of the REQ, the AAC can use the message integrity check key to verify the MacTagREQ , and then determine the identity authentication result of the REQ after the verification is passed. Wherein, when the AAC verifies the MacTagREQ , it should use the message integrity check key pair to include other fields in REQAuth except the MacTagREQ to generate the MacTagREQ locally, and compare the locally calculated MacTagREQ with the received REQAuth. Whether the MacTagREQs are consistent, if they are consistent, the verification is passed; if they are inconsistent, the verification fails.
需要说明的是,REQ和AAC利用的消息完整性校验密钥的生成方式在下一实施例中介绍。It should be noted that the generation method of the message integrity check key used by REQ and AAC is introduced in the next embodiment.
请参考图1,S101的REQInit中还可以包括REQ的数字签名SigREQ,SigREQ的签名数据包括REQInit中SigREQ之前的其他字段,则在AAC确定REQ的身份鉴别结果之前,AAC还要确定SigREQ是否验证通过,若确定SigREQ验证通过,则再根据所述第二鉴别结果信息中的ResREQ确定REQ的身份鉴别结果。本申请中,将被签名的对象称为签名数据。其中,AAC确定SigREQ是否验证通过包括以下方式:Please refer to FIG. 1, REQInit of S101 may also include the digital signature SigREQ of REQ, and the signature data of SigREQ includes other fields before SigREQ in REQInit, then before AAC determines the identity authentication result of REQ, AAC also needs to determine Sig REQ Whether theREQ has passed the verification, and if it is determined that the SigREQ has passed the verification, the identity verification result of the REQ is then determined according to the ResREQ in the second verification result information. In this application, the object to be signed is called signature data. Among them, AAC determines whether the SigREQ is verified through the following methods:
一种实现方式为,当所述第二鉴别结果信息中还包括CertREQ时,AAC利用所述第二鉴别结果信息中的CertREQ验证所述SigREQ,根据验证结果确定SigREQ是否验证通过。另一种实现方式为,AS-REQ利用解密所述EncPubAS_REQ得到的CertREQ验证所述SigREQ,若验证通过,则继续执行后续操作,并向AAC发送第一鉴别响应消息ASVeri,若验证不通过,则不会向AAC发送第一鉴别响应消息ASVeri;因此,若AAC能够接收到ASVeri,则AAC确定所述SigREQ已验证通过。An implementation manner is that when the second authentication result information further includes CertREQ , the AAC uses the CertREQ in the second authentication result information to verify the SigREQ , and determines whether the SigREQ is verified according to the verification result. Another implementation is that AS-REQ uses the CertREQ obtained by decrypting the EncPubAS_REQ to verify the SigREQ , if the verification is passed, then continue to perform subsequent operations, and send the first authentication response message ASVeri to the AAC, if the verification fails If passed, the first authentication response message ASVeri will not be sent to the AAC; therefore, if the AAC can receive the ASVeri, the AAC determines that the SigREQ has passed the verification.
需要说明的是,请求设备和/或鉴别接入控制器产生的随机数、身份标识等信息可以在身份鉴别过程交互的消息中进行传递。正常情况下,接收的消息中携带的随机数和/或身份标识与发送的消息中携带的随机数和/或身份标识应该相同,但在遇到网络抖动或攻击等情况时,可能造成消息中参数信息的丢失或篡改。因此在一些实施例中,还可以通过比较收发消息中的随机数和/或身份标识是否一致来保障鉴别结果的可靠性。It should be noted that information such as random numbers and identity identifiers generated by the requesting device and/or the authentication access controller may be transmitted in messages exchanged in the identity authentication process. Under normal circumstances, the random number and/or ID carried in the received message should be the same as the random number and/or ID carried in the sent message. Loss or tampering of parameter information. Therefore, in some embodiments, the reliability of the authentication result can also be ensured by comparing whether the random numbers and/or identity identifiers in the received and received messages are consistent.
请参考图1,S102的AACVeri中还可以包括AAC的身份标识IDAAC和/或AAC生成的第一随机数NonceAAC,相应地,S103的ASVeri中还包括IDAAC和/或NonceAAC;则在S105之前,AAC可以对ASVeri中的IDAAC和AAC自身的身份标识IDAAC(也就是AAC通过AACVeri发出去的IDAAC)的一致性进行验证,和/或,对ASVeri中的NonceAAC和AAC生成的NonceAAC(也就是AAC通过AACVeri发出去的NonceAAC)的一致性进行验证,若验证通过,则AAC再执行S105。Please refer to Fig. 1, the AACVeri of S102 may also include the first random number Nonce AAC generated by the IDAAC and/or AAC of theAAC , correspondingly, the ASVeri of S103 also includes IDAAC and/or NonceAAC ; then in Before S105, the AAC can verify the consistency of the IDAAC in ASVeri and the IDAAC of the AAC itself (that is, the IDAAC sent by AAC through AACVeri), and/or, generate the NonceAAC and AAC in ASVeri The consistency of the NonceAAC (that is, the NonceAAC sent by the AAC through the AACVeri) is verified, and if the verification is passed, the AAC executes S105 again.
在另一些实施例中,所述第一鉴别结果信息中还可以包括IDAAC,S105的AACAuth中的EncDataAAC的加密数据还包括IDAAC,则在REQ确定AAC的身份鉴别结果之前,REQ还要对所述第一鉴别结果信息中的IDAAC和解密EncDataAAC得到的IDAAC的一致性进行验证,若验证通过,则REQ再根据所述第一鉴别结果信息中的ResAAC确定AAC的身份鉴别结果。In other embodiments, the first authentication result information may further include IDAAC , and the encrypted data of EncDataAAC in AACAuth of S105 also includes IDAAC , then before REQ determines the identity authentication result of AAC, REQ also needs to Verify the consistency of the IDAAC in the first authentication result information and the IDAAC obtained by decrypting the EncDataAAC , if the verification is passed, then REQ determines the identity authentication of the AAC according to the ResAAC in the first authentication result information result.
当然,为了保障鉴别结果的可靠性,REQ也可以对REQ生成的第二随机数NonceREQ和/或REQ的身份标识IDREQ进行一致性验证。Of course, in order to ensure the reliability of the authentication result, the REQ may also perform consistency verification on the second random number Nonce REQ generated by theREQ and/or the identity IDREQ of the REQ.
请参考图1,在S101中,REQ的身份信息还可以包括IDREQ,第一身份密钥还可以包括第三密钥NonceREQID,则第一身份信息密文EncPubAS_REQ的加密数据不仅包括CertREQ和NonceREQPub,还可以包括IDREQ和NonceREQID。相应的,在生成第二鉴别结果信息密文时,还可以利用NonceREQID对包括IDREQ在内的信息加密生成REQ的身份标识密文(简单的,REQ的身份标识密文可以为NonceREQID与IDREQ进行异或运算生成的即IDREQ⊕NonceREQID),则S103的ASVeri中还包括REQ的身份标识密文,S105的AACAuth中的EncDataAAC的加密数据还包括REQ的身份标识密文;相应地,在REQ确定AAC的身份鉴别结果之前,REQ还需要根据自身的身份标识IDREQ和所述NonceREQID对解密EncDataAAC得到的REQ的身份标识密文进行验证,具体验证包括:REQ利用所述NonceREQID对包括REQ自身的身份标识IDREQ在内的信息加密生成REQ的身份标识密文,并将生成的REQ的身份标识密文与解密EncDataAAC得到的REQ的身份标识密文进行一致性验证;或者,REQ利用NonceREQID解密REQ的身份标识密文得到IDREQ,将解密得到的IDREQ与REQ自身的身份标识IDREQ进行一致性验证;若验证通过,则REQ再根据第一鉴别结果信息中的ResAAC确定AAC的身份鉴别结果。Please refer to FIG. 1 , in S101, the identity information of REQ may also include IDREQ , the first identity key may also include a third key NonceREQID , then the encrypted data of the first identity information ciphertext EncPubAS_REQ not only includes CertREQ and NonceREQPub , can also include IDREQ and NonceREQID . Correspondingly, when generating the second authentication result information ciphertext, it is also possible to use NonceREQID to encrypt the information including IDREQ to generate the identity ciphertext of REQ (simple, the identity ciphertext of REQ can be NonceREQID and ID REQ). IDREQ is generated by XOR operation, namely IDREQ ⊕ NonceREQID ), then the ASVeri of S103 also includes the identity ciphertext of REQ, and the encrypted data of EncDataAAC in the AACAuth of S105 also includes the identity ciphertext of REQ; correspondingly Ground, before REQ determines the identity authentication result of AAC, REQ also needs to verify the identity ciphertext of the REQ obtained by decrypting EncDataAAC according to its own identity IDREQ and the NonceREQID , and the specific verification includes: REQ utilizes the described Nonce REQ ID. NonceREQID encrypts the information including REQ's own identity IDREQ to generate REQ's identity ciphertext, and performs consistency verification between the generated REQ's identity ciphertext and the REQ's identity ciphertext obtained by decrypting EncDataAAC Or, REQ utilizes NonceREQID to decrypt the identity ciphertext of REQ to obtain IDREQ , and the ID REQ obtained by decryption and the identity IDREQ ofREQ itself carry out consistency verification; If verification is passed, then REQ then according to the first discrimination result information The ResAAC in the AAC determines the identity authentication result of the AAC.
当然,S101的REQInit中还可以包括NonceREQ,相应地,S102的AACVeri和S103的ASVeri中还可以包括NonceREQ,S105的AACAuth中的EncDataAAC的加密数据还包括NonceREQ。相应地,在REQ确定AAC的身份鉴别结果之前,REQ需要将解密EncDataAAC得到的NonceREQ与REQ生成的NonceREQ的一致性进行验证,若验证通过,则REQ再根据第一鉴别结果信息中的ResAAC确定AAC的身份鉴别结果。Of course, the REQInit of S101 may also include NonceREQ , correspondingly, the AACVeri of S102 and the ASVeri of S103 may also include NonceREQ , and the encrypted data of EncDataAAC in AACAuth of S105 also includes NonceREQ . Correspondingly, before REQ determines the identity authentication result of AAC, REQ needs to verify the consistency between the NonceREQ obtained by decrypting the EncDataAAC and the NonceREQ generated by REQ. ResAAC determines the identity authentication result of AAC.
在上述实施例中,AAC的身份标识IDAAC、第一鉴别结果信息等是以明文形式传输的,考虑到AAC敏感信息的安全性,还可以采用密文形式传输上述信息。In the above embodiment, the identity IDAAC of the AAC, the first authentication result information, etc. are transmitted in plain text. Considering the security of AAC sensitive information, the above information can also be transmitted in cipher text.
请参考图1,在一些实施例中,S102的AACVeri中还可以包括第二身份信息密文EncPubAS_AAC,所述EncPubAS_AAC是AAC利用加密证书的公钥对包括IDAAC和AAC的第二身份密钥在内的信息加密生成的,第二身份密钥包括第四密钥NonceAACPub和第五密钥NonceAACID。相应的,S103的ASVeri中包括第一鉴别结果信息、SigAS_REQ1、AAC的身份标识密文、第二鉴别结果信息密文和MICAS_AAC。其中,第一鉴别结果信息以密文形式存在(例如用所述NonceAACPub对包括PubAAC在内的信息加密生成的,简单的,可以为异或运算生成的即PubAAC⊕NonceAACPub);AAC的身份标识密文是AS-AAC利用所述NonceAACID对包括所述IDAAC在内的信息加密生成的(简单的,可以为异或运算生成的即IDAAC⊕NonceAACID)。Referring to FIG. 1 , in some embodiments, the AACVeri of S102 may further include the second identity information ciphertext EncPubAS_AAC , where the EncPubAS_AAC is a pair of the second identity secret including IDAAC and AAC using the public key of the encryption certificate by AAC The second identity key includes the fourth key NonceAACPub and the fifth key NonceAACID . Correspondingly, the ASVeri of S103 includes the first authentication result information, SigAS_REQ1 , the ciphertext of the identity identification of AAC, the ciphertext of the second authentication result information, and MICAS_AAC . Wherein, the first authentication result information exists in the form of cipher text (for example, the NonceAACPub is used to encrypt and generate information including PubAAC , or simply, it can be generated for the exclusive OR operation, namely PubAAC ⊕Nonce AACPub ); AAC The ciphertext of the identity identifier is generated by AS-AAC by using the NonceAACID to encrypt the information including the IDAAC (simple, it can be generated for the XOR operation, that is, IDAAC ⊕Nonce AACID ).
基于此,AAC在接收到S103的ASVeri后,可以根据AAC自身的身份标识IDAAC和所述第五密钥NonceAACID对AAC的身份标识密文进行验证,具体验证包括:AAC利用所述NonceAACID对包括AAC自身的身份标识IDAAC在内的信息加密生成AAC的身份标识密文,并将生成的AAC的身份标识密文与接收到S103的ASVeri中的AAC的身份标识密文进行一致性验证;或者,AAC利用NonceAACID解密AAC的身份标识密文得到IDAAC,并将解密得到的IDAAC与AAC自身的身份标识IDAAC的一致性进行验证,验证通过后,再向REQ发送AACAuth。其中,S105的AACAuth中的EncDataAAC的加密数据还包括所述NonceAACPub;相应地,在REQ确定AAC的身份鉴别结果之前,REQ可以利用解密EncDataAAC得到的NonceAACPub对第一鉴别结果信息解密得到第一验证结果ResAAC,再根据第一验证结果ResAAC确定AAC的身份鉴别结果。Based on this, after receiving the ASVeri of S103, the AAC can verify the ciphertext of the AAC's identity according to the AAC's own identity IDAAC and the fifth key NonceAACID . The specific verification includes: AAC uses the NonceAACID Encrypt the information including the AAC's own identity IDAAC to generate the AAC's identity ciphertext, and perform consistency verification between the generated AAC's identity ciphertext and the AAC's identity ciphertext received in the ASVeri of S103 Or, AAC uses NonceAACID to decrypt AAC's identity ciphertext to obtain IDAAC , and verifies the consistency between the decrypted IDAAC and AAC's own identity IDAAC , and sends AACAuth to REQ after the verification is passed. Wherein, the encrypted data of the EncDataAAC in the AACAuth of S105 also includes the NonceAACPub ; Correspondingly, before REQ determines the identity authentication result of AAC, REQ can utilize the NonceAACPub obtained by decrypting the EncDataAAC to decrypt the first authentication result information and obtain The first verification result ResAAC , and then the identity authentication result of the AAC is determined according to the first verification result ResAAC .
以上实施例中,REQ与AAC使用的消息加密密钥可以是二者协商得到的也可以是预先共享的,因此本实施例还提供一种REQ和AAC协商消息加密密钥的方法,参见图2,所述方法包括:In the above embodiment, the message encryption key used by REQ and AAC can be obtained through negotiation or shared in advance. Therefore, this embodiment also provides a method for REQ and AAC to negotiate a message encryption key, see FIG. 2 , the method includes:
S201、AAC向REQ发送密钥请求消息AACInit。S201. The AAC sends a key request message AACInit to the REQ.
所述AACInit中包括AAC的密钥交换参数KeyInfoAAC,KeyInfoAAC包括AAC的临时公钥,其中,密钥交换是指如迪菲·赫尔曼(Diffie-Hellman,简称DH)等密钥交换算法。所述AACInit中还可以包括AAC生成的第一随机数NonceAAC。The AACInit includes the key exchange parameter KeyInfoAAC of the AAC, and the KeyInfoAAC includes the temporary public key of the AAC, wherein the key exchange refers to a key exchange algorithm such as Diffie-Hellman (DH for short) . The AACInit may also include the first random number Nonce AAC generated byAAC .
所述AACInit中还可以包括Security capabilitiesAAC,SecuritycapabilitiesAAC表示AAC支持的安全能力参数信息,包括AAC支持的身份鉴别套件(身份鉴别套件中包含一种或多种身份鉴别方法)、对称加密算法、完整性校验算法和/或密钥导出算法等,以供REQ选择使用的特定安全策略,则REQ可以根据Security capabilitiesAAC选择REQ使用的特定安全策略Security capabilitiesREQ。Security capabilitiesREQ表示REQ相应确定使用的身份鉴别方法、对称加密算法、完整性校验算法和/或密钥导出算法等。The AACInit can also include Security capabilitiesAAC , SecuritycapabilitiesAAC represents the security capability parameter information supported by AAC, including the identity authentication suite supported by AAC (the identity authentication suite includes one or more identity authentication methods), symmetric encryption algorithm, complete Security capabilitiesREQ can be selected by REQ according to Security capabilitiesAAC . Security capabilitiesREQ means that REQ determines the identity authentication method, symmetric encryption algorithm, integrity check algorithm and/or key derivation algorithm to be used accordingly.
S202、REQ根据包括REQ的密钥交换参数KeyInfoREQ对应的临时私钥和KeyInfoAAC所包括的临时公钥进行密钥交换计算生成第一密钥,根据包括所述第一密钥在内的信息利用密钥导出算法计算消息加密密钥。S202, REQ performs key exchange calculation according to the temporary private key corresponding to the key exchange parameter KeyInfoREQ including REQ and the temporary public key included in KeyInfoAAC to generate a first key, and according to the information including the first key The message encryption key is calculated using a key derivation algorithm.
若S201的AACInit中还包括AAC生成的NonceAAC,则REQ可以根据包括KeyInfoREQ对应的临时私钥和KeyInfoAAC所包括的临时公钥进行密钥交换计算生成第一密钥K1,将K1结合包括NonceAAC和REQ生成的第二随机数NonceREQ在内的信息,利用协商的或预置的密钥导出算法计算消息加密密钥。协商的密钥导出算法可以是REQ根据AAC发送的SecuritycapabilitiesAAC而选择使用的密钥导出算法。其中,KeyInfoREQ是REQ产生的密钥交换参数,包括REQ的临时公钥。KeyInfoREQ对应的临时私钥是REQ产生的对应于REQ的临时公钥的临时私钥,即所述临时公钥和临时私钥是一对临时公私钥对。If the AACInit of S201 also includes the Nonce AAC generated by theAAC , the REQ can perform the key exchange calculation according to the temporary private key corresponding to the KeyInfoREQ and the temporary public key included in the KeyInfoAAC to generate the first key K1, and combine K1 to include Information including NonceAAC and the second random number NonceREQ generated by REQ, use the negotiated or preset key derivation algorithm to calculate the message encryption key. The negotiated key derivation algorithm may be the key derivation algorithm selected and used by the REQ according to the SecuritycapabilitiesAAC sent by the AAC. Among them, KeyInfoREQ is the key exchange parameter generated by REQ, including the temporary public key of REQ. The temporary private key corresponding to KeyInfoREQ is a temporary private key generated by REQ and corresponding to the temporary public key of REQ, that is, the temporary public key and the temporary private key are a pair of temporary public and private keys.
S203、REQ向AAC发送身份密文消息REQInit。S203, REQ sends an identity ciphertext message REQInit to the AAC.
所述REQInit中包括KeyInfoREQ,以便AAC根据包括KeyInfoAAC对应的临时私钥和KeyInfoREQ所包括的临时公钥在内的信息计算得到消息加密密钥。其中,KeyInfoAAC对应的临时私钥是AAC产生的对应于AAC的临时公钥的临时私钥,即所述临时公钥和临时私钥是一对临时公私钥对。The REQInit includes KeyInfoREQ , so that AAC calculates and obtains the message encryption key according to the information including the temporary private key corresponding to KeyInfoAAC and the temporary public key included in KeyInfoREQ . The temporary private key corresponding to the KeyInfoAAC is a temporary private key generated by the AAC and corresponding to the temporary public key of the AAC, that is, the temporary public key and the temporary private key are a pair of temporary public and private keys.
所述REQInit中还可以包括Security capabilitiesREQ。所述REQInit中还可以包括NonceREQ,以便AAC根据包括所述KeyInfoAAC对应的临时私钥、所述KeyInfoREQ所包括的临时公钥、所述NonceAAC和所述NonceREQ在内的信息计算得到该消息加密密钥。The REQInit may also include Security capabilitiesREQ . The REQInit may also include the NonceREQ , so that the AAC can be calculated according to the information including the temporary private key corresponding to the KeyInfoAAC , the temporary public key included in the KeyInfoREQ , the NonceAAC and the NonceREQ . The message encryption key.
所述REQInit中还可以包括NonceAAC,进而AAC可以在计算消息加密密钥之前,对REQInit中的NonceAAC和AAC生成的NonceAAC的一致性进行验证,以确保AAC接收的REQInit是对AACInit的响应消息。The REQInit may also include the NonceAAC , and the AAC may verify the consistency of the NonceAAC in the REQInit and the NonceAAC generated by the AAC before calculating the message encryption key, to ensure that the REQInit received by the AAC is a response to AACInit information.
S204、AAC根据包括KeyInfoAAC对应的临时私钥和KeyInfoREQ所包括的临时公钥进行密钥交换计算生成所述第一密钥,根据包括所述第一密钥在内的信息利用所述密钥导出算法计算消息加密密钥。S204. AAC performs key exchange calculation according to the temporary private key corresponding to the KeyInfoAAC and the temporary public key included in the KeyInfoREQ to generate the first key, and uses the encrypted key according to the information including the first key. The key derivation algorithm computes the message encryption key.
若所述REQInit中还包括所述NonceREQ,则AAC可以根据包括所述KeyInfoAAC对应的临时私钥和所述KeyInfoREQ所包括的临时公钥进行密钥交换计算生成所述第一密钥K1,将K1结合包括所述NonceAAC和所述NonceREQ在内的信息,利用协商的或预置的密钥导出算法计算该消息加密密钥。其中,协商的密钥导出算法可以是AAC根据REQ发送的SecuritycapabilitiesREQ而选择使用的密钥导出算法。If the REQInit also includes the NonceREQ , the AAC may perform key exchange calculation according to the temporary private key corresponding to the KeyInfoAAC and the temporary public key included in the KeyInfoREQ to generate the first key K1 , combine K1 with the information including the NonceAAC and the NonceREQ , and use the negotiated or preset key derivation algorithm to calculate the message encryption key. The negotiated key derivation algorithm may be the key derivation algorithm selected and used by the AAC according to the SecuritycapabilitiesREQ sent by the REQ.
需要说明的是,在图2实施例中,REQ和AAC也可以生成消息完整性校验密钥。REQ和AAC各自生成消息完整性校验密钥的实施方式与图2实施例中示例的REQ和AAC各自生成消息加密密钥的实施方式相同。例如,AAC可以通过图2实施例的方式利用密钥导出算法导出一串密钥数据,该密钥数据既可以作为消息加密密钥又可以作为消息完整性校验密钥,或者,将该密钥数据中的一部分密钥数据作为消息加密密钥,将另一部分密钥数据作为消息完整性校验密钥;AAC也可以通过图2实施例的方式利用密钥导出算法分次导出两串相同或不同的密钥数据,一串作为消息加密密钥,一串作为消息完整性校验密钥。REQ可以通过图2实施例的方式利用密钥导出算法导出一串密钥数据,该密钥数据既可以作为消息加密密钥又可以作为消息完整性校验密钥,或者,将该密钥数据中的一部分密钥数据作为消息加密密钥,将另一部分密钥数据作为消息完整性校验密钥;REQ也可以通过图2实施例的方式利用密钥导出算法分次导出两串相同或不同的密钥数据,一串作为消息加密密钥,一串作为消息完整性校验密钥。It should be noted that, in the embodiment of FIG. 2, REQ and AAC can also generate a message integrity check key. The implementation manner in which the REQ and the AAC each generate the message integrity check key is the same as the implementation manner in which the REQ and the AAC each generate the message encryption key exemplified in the embodiment of FIG. 2 . For example, AAC can use the key derivation algorithm to derive a string of key data in the manner of the embodiment in FIG. 2, and the key data can be used as both a message encryption key and a message integrity check key, or, the key data can be used as a message encryption key and a message integrity check key. A part of the key data in the key data is used as the message encryption key, and the other part of the key data is used as the message integrity check key; AAC can also use the key derivation algorithm to derive two strings of the same value in stages by using the key derivation algorithm in the embodiment of FIG. 2 Or different key data, one string is used as the message encryption key, and the other string is used as the message integrity check key. REQ can use the key derivation algorithm to derive a string of key data in the manner of the embodiment of FIG. 2, and the key data can be used as both a message encryption key and a message integrity check key, or the key data can be used as A part of the key data is used as the message encryption key, and the other part of the key data is used as the message integrity check key; The key data, one string is used as the message encryption key, and the other string is used as the message integrity check key.
本申请实施例还提供了利用AAC和REQ之间信息交互来确定本次鉴别过程所使用的第一鉴别服务器和/或第二鉴别服务器的方法:The embodiment of the present application also provides a method for determining the first authentication server and/or the second authentication server used in this authentication process by utilizing the information exchange between the AAC and the REQ:
请参考图2,AAC在S201的AACInit中添加AAC信任的至少一个鉴别服务器的身份标识IDAS_AAC,则REQ可以根据所述IDAS_AAC确定自身信任的至少一个鉴别服务器的身份标识IDAS_REQ。具体实现时,REQ从IDAS_AAC中选取至少一个鉴别服务器且是自身信任的鉴别服务器的身份标识作为IDAS_REQ,若选取失败,则REQ将自身信任的至少一个鉴别服务器的身份标识作为IDAS_REQ(其中,选取成功对应非漫游情况,选取失败对应漫游情况),将该IDAS_REQ添加至S203的REQInit中发送给AAC。进而,AAC可以根据IDAS_AAC和IDAS_REQ确定第一鉴别服务器,例如AAC可以判断IDAS_REQ和IDAS_AAC中是否存在至少一个相同的鉴别服务器的身份标识,若存在,即为非漫游情况,AAC从上述至少一个REQ和AAC共同信任的鉴别服务器的身份标识中,确定参与身份鉴别的第一鉴别服务器;若不存在,则为漫游情况,AAC需要根据IDAS_AAC确定参与身份鉴别的第一鉴别服务器AS-AAC,并将IDAS_REQ发送给AS-AAC,以便AS-AAC根据IDAS_REQ确定第二鉴别服务器AS-REQ。Referring to FIG. 2 , AAC adds the identity IDAS_AAC of at least one authentication server trusted by AAC in AACInit of S201, then REQ can determine the identity IDAS_REQ of at least one authentication server trusted by itself according to the IDAS_AAC . When specifically implemented, REQ selects at least one identification server from IDAS_AAC and is the identification of the identification server trusted by itself as IDAS_REQ , if the selection fails, then REQ uses the identification of at least one identification server trusted by itself as IDAS_REQ (wherein , select the success corresponding to the non-roaming situation, and select the failure corresponding to the roaming situation), add the IDAS_REQ to the REQInit of S203 and send it to the AAC. Further, AAC can determine the first authentication server according to IDAS_AAC and IDAS_REQ . For example, AAC can determine whether there is at least one identical authentication server identity in IDAS_REQ and IDAS_AAC . If there is, it is a non-roaming situation. In the identification of at least one authentication server mutually trusted by REQ and AAC, determine the first authentication server participating in identity authentication; if it does not exist, it is a roaming situation, and AAC needs to determine the first authentication server AS-AAC participating in identity authentication according to IDAS_AAC . AAC, and sends the IDAS_REQ to the AS-AAC, so that the AS-AAC determines the second authentication server AS-REQ according to the IDAS_REQ .
作为另一种实现方式,AAC可以不必向REQ发送IDAS_AAC,而由REQ将自身信任的至少一个鉴别服务器的身份标识IDAS_REQ添加至S203的REQInit中发送给AAC。根据IDAS_REQ和AAC自身信任的至少一个鉴别服务器的身份标识IDAS_AAC确定参与身份鉴别的第一鉴别服务器和/或第二鉴别服务器的具体实现方式如前一种实施方式。As another implementation manner, the AAC may not need to send the IDAS_AAC to the REQ, but the REQ adds the IDAS_REQ of at least one authentication server trusted by itself to the REQInit of S203 and sends it to the AAC. The specific implementation of determining the first authentication server and/or the second authentication server participating in the identity authentication according to the IDAS_REQ and the identity IDAS_AAC of at least one authentication server trusted by the AAC itself is as in the previous embodiment.
由于REQ和AAC信任的鉴别服务器可以相同也可以不同,当REQ和AAC信任的鉴别服务器相同时,即为非漫游情况;当REQ和AAC信任的鉴别服务器不同时,即为漫游的情况。下面结合非漫游和漫游的应用场景,对本申请实施例提供的身份鉴别方法进行介绍:(一)非漫游情况下,REQ身份保护的身份鉴别方法;(二)非漫游情况下,REQ和AAC身份保护的身份鉴别方法;(三)漫游情况下,REQ身份保护的身份鉴别方法;(四)漫游情况下,REQ和AAC身份保护的身份鉴别方法。Since the authentication servers trusted by REQ and AAC can be the same or different, when the authentication servers trusted by REQ and AAC are the same, it is a non-roaming situation; when the authentication servers trusted by REQ and AAC are different, it is a roaming situation. In the following, the identity authentication method provided by the embodiment of the present application will be introduced in combination with the application scenarios of non-roaming and roaming: (1) in the case of non-roaming, the identity authentication method of REQ identity protection; (2) in the case of non-roaming, the identity authentication method of REQ and AAC (3) In the case of roaming, the identity authentication method of REQ identity protection; (4) In the case of roaming, the identity authentication method of REQ and AAC identity protection.
参见图3,为上述(一)情况下一种身份鉴别方法的实施例。其中,可以用AS-AAC表示(当然也可以用AS-REQ表示)REQ和AAC共同信任的鉴别服务器。在该实施例中,REQ和AAC之间的消息加密密钥协商过程被并行地融合到了身份鉴别过程中,更便于工程实施。该身份鉴别方法包括:Referring to FIG. 3, it is an embodiment of an identity authentication method in the above-mentioned (1) case. Among them, AS-AAC can be used to represent (of course, AS-REQ can also be used to represent) an authentication server jointly trusted by REQ and AAC. In this embodiment, the message encryption key negotiation process between REQ and AAC is integrated into the identity authentication process in parallel, which is more convenient for engineering implementation. The identification method includes:
S301、AAC生成NonceAAC和KeyInfoAAC,根据需要生成Security capabilitesAAC。S301, AAC generates NonceAAC and KeyInfoAAC , and generates Security capabilitesAAC as required.
S302、AAC向REQ发送密钥请求消息AACInit。S302. The AAC sends a key request message AACInit to the REQ.
所述AACInit中包括NonceAAC、KeyInfoAAC和Security capabilitesAAC。其中,Security capabilitesAAC为可选字段,表示AAC支持的安全能力参数信息,包括AAC支持的身份鉴别套件、对称加密算法和/或密钥导出算法等(下文同)。The AACInit includes NonceAAC , KeyInfoAAC and Security capabilitesAAC . Among them, Security capabilitesAAC is an optional field, indicating the security capability parameter information supported by AAC, including the identity authentication suite, symmetric encryption algorithm and/or key derivation algorithm supported by AAC (the same below).
S303、REQ接收到AACInit后,执行下述操作(若无特别说明或逻辑上的关系,本文中以(1)、(2)……编号的动作并不因为有编号而存在必然的先后顺序,全文同),包括:S303. After REQ receives AACInit, perform the following operations (if there is no special description or logical relationship, the actions numbered in (1), (2)... The same as the full text), including:
(1)、生成NonceREQ和KeyInfoREQ;(1), generate NonceREQ and KeyInfoREQ ;
(2)、根据需要生成Security capabilitiesREQ;(2), generate Security capabilitiesREQ as needed;
(3)、根据包括KeyInfoREQ对应的临时私钥和KeyInfoAAC所包括的临时公钥进行密钥交换计算生成第一密钥K1,将K1结合NonceAAC、NonceREQ及其他信息(REQ和AAC采用的其他信息是相同的且可选的,譬如特定字符串等)利用协商的或预置的密钥导出算法计算消息加密密钥和消息完整性校验密钥;这一步可以移至在后续需要使用消息加密密钥、消息完整性校验密钥时再执行;(3), according to including the temporary private key corresponding to KeyInfoREQ and the temporary public key included in KeyInfoAAC , perform key exchange calculation to generate the first key K1, combine K1 with NonceAAC , NonceREQ and other information (REQ and AAC adopt other information is the same and optional, such as a specific string, etc.) use the negotiated or preset key derivation algorithm to calculate the message encryption key and the message integrity check key; this step can be moved to the subsequent need Execute when the message encryption key and the message integrity check key are used;
(4)、生成NonceREQID和NonceREQPub;(4), generate NonceREQID and NonceREQPub ;
(5)、利用加密证书的公钥计算EncPubAS_REQ;(5), utilize the public key of encryption certificate to calculate EncPubAS_REQ ;
(6)、计算REQ的数字签名SigREQ。(6), calculate the digital signature Sig REQ ofREQ .
S304、REQ向AAC发送身份密文消息REQInit。S304, REQ sends an identity ciphertext message REQInit to the AAC.
所述REQInit中包括NonceAAC、NonceREQ、Security capabilitiesREQ、KeyInfoREQ、EncPubAS_REQ及SigREQ。其中,SigREQ的签名数据包括REQInit中SigREQ之前的其他字段,例如包括NonceAAC、NonceREQ、Security capabilitiesREQ、KeyInfoREQ及EncPubAS_REQ;NonceAAC应等于AACInit中的相应字段;EncPubAS_REQ的加密数据包括IDREQ、CertREQ、NonceREQID和NonceREQPub;Security capabilitiesREQ为可选字段,REQ是否生成Security capabilitiesREQ取决于AAC向REQ发送的AACInit中是否携带Security capabilitiesAAC。Security capabilitiesREQ表示REQ根据Security capabilitesAAC作出的特定安全策略的选择,即REQ确定使用的身份鉴别方法、对称加密算法和/或密钥导出算法等(下文同)。The REQInit includes NonceAAC , NonceREQ , Security capabilitiesREQ , KeyInfoREQ , EncPubAS_REQ and SigREQ . Among them, the signature data of SigREQ includes other fields before SigREQ in REQInit, such as including NonceAAC , NonceREQ , Security capabilitiesREQ , KeyInfoREQ and EncPubAS_REQ ; NonceAAC should be equal to the corresponding field in AACInit; encrypted data of EncPubAS_REQ Including IDREQ , CertREQ , NonceREQID and NonceREQPub ; Security capabilitiesREQ is an optional field, whether REQ generates Security capabilitiesREQ depends on whether the AACInit sent by AAC to REQ carries Security capabilitiesAAC . Security capabilitiesREQ represents the selection of a specific security policy made by REQ according to the Security capabilitesAAC , that is, the identity authentication method, symmetric encryption algorithm and/or key derivation algorithm, etc. determined by REQ (the same below).
S305、AAC接收到REQInit,执行下述操作,包括:S305, AAC receives REQInit, and performs the following operations, including:
(1)、检查REQInit中的NonceAAC与AAC生成的NonceAAC是否一致,若不一致,则丢弃REQInit;(1) Check whether the NonceAAC in REQInit is consistent with the Nonce AAC generated byAAC , if not, discard REQInit;
(2)、根据包括所述KeyInfoAAC对应的临时私钥和所述KeyInfoREQ所包括的临时公钥进行密钥交换计算生成第一密钥K1,将K1结合NonceAAC、NonceREQ及其他信息(AAC和REQ采用的其他信息是相同的且可选的,譬如特定字符串等)利用协商的或预置的密钥导出算法计算消息加密密钥和消息完整性校验密钥;当然,这一步也可以移至在后续需要使用消息加密密钥、消息完整性校验密钥时再执行。(2), according to including the temporary private key corresponding to the KeyInfoAAC and the temporary public key included in the KeyInfoREQ , perform key exchange calculation to generate the first key K1, combine K1 with NonceAAC , NonceREQ and other information ( Other information used by AAC and REQ is the same and optional, such as specific strings, etc.) using the negotiated or preset key derivation algorithm to calculate the message encryption key and the message integrity check key; of course, this step It can also be moved to the execution when the message encryption key and the message integrity check key need to be used later.
(3)、计算生成MICAAC。(3), calculate and generate MICAAC .
S306、AAC向AS-AAC发送第一鉴别请求消息AACVeri。S306. The AAC sends a first authentication request message AACVeri to the AS-AAC.
所述AACVeri中包括EncPubAS_REQ、NonceREQ、IDAAC、NonceAAC及MICAAC。其中,EncPubAS_REQ、NonceREQ应分别等于REQInit中的相应字段;IDAAC、NonceAAC是AAC的身份标识IDAAC和AAC产生的NonceAAC;MICAAC是AAC利用与AS-AAC的预共享密钥KAAC_AS,采用与AS-AAC约定的杂凑算法对AACVeri中MICAAC之前的其他字段在内的信息计算得到的杂凑值。例如,当AACVeri中依次包括EncPubAS_REQ、NonceREQ、IDAAC、NonceAAC及MICAAC时,AAC利用所述KAAC_AS,采用所述杂凑算法对包括EncPubAS_REQ、NonceREQ、IDAAC和NonceAAC在内的信息计算得到MICAAC。The AACVeri includes EncPubAS_REQ , NonceREQ , IDAAC , NonceAAC and MICAAC . Wherein, EncPubAS_REQ , NonceREQ should be equal to the corresponding field in REQInit respectively; IDAAC , NonceAAC are the NonceAAC that the IDAAC of AAC and AAC produce; MICAAC is that AAC utilizes the pre-shared key K with AS-AACAAC_AS , the hash value obtained by using the hash algorithm agreed with AS-AAC to calculate the information including other fields before the MICAAC in AACVeri. For example, when AACVeri includes EncPubAS_REQ , NonceREQ , IDAAC , NonceAAC and MICAAC in sequence, AAC uses the KAAC_AS and adopts the hash algorithm to include EncPubAS_REQ , NonceREQ , IDAAC and NonceAAC The information is calculated to obtain MICAAC .
S307、AS-AAC接收到AACVeri后,执行下述操作,包括:S307. After receiving the AACVeri, AS-AAC performs the following operations, including:
(1)、验证MICAAC得到ResAAC,根据包括ResAAC和IDAAC在内的信息生成PubAAC;(1), verify that MICAAC obtains ResAAC , and generate PubAAC according to the information including ResAAC and IDAAC ;
其中,AS-AAC根据AACVeri中的IDAAC确定与AAC的预共享密钥KAAC_AS和杂凑算法,利用所述KAAC_AS,采用所述杂凑算法对AACVeri中MICAAC之前的其他字段在本地计算出MICAAC,并将其和接收到的MICAAC进行比较,若相同,则MICAAC验证通过,AS-AAC判定AAC的身份鉴别结果为合法,若不同,则MICAAC验证不通过,AS-AAC根据本地策略执行如下操作,包括:丢弃AACVeri,或者判定AAC的身份鉴别结果为不合法等。Wherein, AS-AAC determines the pre-shared key KAAC_AS with AAC and a hash algorithm according to the IDAAC in AACVeri, uses the KAAC_AS and uses the hash algorithm to locally calculate the MIC for other fields before the MICAAC in AACVeriAAC , and compare it with the received MICAAC . If the same, the MICAAC verification is passed, and AS-AAC determines that the AAC's identity authentication result is legal. If it is different, the MICAAC verification fails. The policy performs the following operations, including: discarding the AACVeri, or determining that the identity authentication result of the AAC is invalid, etc.
(2)、利用加密证书对应的私钥解密EncPubAS_REQ得到IDREQ、CertREQ、NonceREQID和NonceREQPub,验证CertREQ的合法性得到ResREQ,根据包括ResREQ和CertREQ在内的信息生成PubREQ;(2) Decrypt EncPubAS_REQ with the private key corresponding to the encrypted certificate to obtain IDREQ , CertREQ , NonceREQID and NonceREQPub , verify the legitimacy of CertREQ to obtain ResREQ , and generate Pub according to the information including ResREQ and CertREQREQ ;
(3)、利用NonceREQID对IDREQ进行异或运算得到IDREQ⊕NonceREQID,利用NonceREQPub对PubREQ进行异或运算得到PubREQ⊕NonceREQPub;(3), utilize NonceREQID to carry out XOR operation to IDREQ to obtain IDREQ ⊕NonceREQID , utilize NonceREQPub to carry out XOR operation to PubREQ to obtain PubREQ ⊕NonceREQPub ;
(4)、计算第一数字签名SigAS_AAC1,计算AS-AAC的第一消息鉴别码MICAS_AAC。(4) Calculate the first digital signature SigAS_AAC1 , and calculate the first message authentication code MICAS_AAC of the AS-AAC.
S308、AS-AAC向AAC发送第一鉴别响应消息ASVeri。S308, the AS-AAC sends the first authentication response message ASVeri to the AAC.
所述ASVeri中包括IDREQ⊕NonceREQID、NonceREQ、PubAAC、SigAS_AAC1、IDAAC、NonceAAC、PubREQ⊕NonceREQPub及MICAS_AAC。其中,IDREQ、NonceREQ、IDAAC、NonceAAC应分别等于AACVeri中的相应字段;SigAS_AAC1的签名数据包括IDREQ⊕NonceREQID、NonceREQ、PubAAC;MICAS_AAC是AS-AAC利用所述KAAC_AS,采用与AAC约定的杂凑算法对包括IDAAC、NonceAAC和PubREQ⊕NonceREQPub在内的信息计算生成的。The ASVeri includes IDREQ ⊕ NonceREQID , NonceREQ , PubAAC , SigAS_AAC1 , IDAAC , NonceAAC , PubREQ ⊕ NonceREQPub and MICAS_AAC . Among them, IDREQ , NonceREQ , IDAAC , and NonceAAC should be equal to the corresponding fields in AACVeri respectively; the signature data of SigAS_AAC1 includes IDREQ ⊕ NonceREQID , NonceREQ , PubAAC ; MICAS_AAC is that AS-AAC uses the KAAC_AS , which is calculated and generated from information including IDAAC , NonceAAC and PubREQ ⊕NonceREQPub using the hash algorithm agreed with AAC.
S309、AAC接收到ASVeri后,执行下述操作,包括:S309. After AAC receives ASVeri, it performs the following operations, including:
(1)、检查ASVeri中的IDAAC、NonceAAC是否分别与AAC自身的身份标识IDAAC、AAC生成的NonceAAC相同;若不同,则丢弃ASVeri;(1), check whether IDAAC and NonceAAC in AVSeri are the same as AAC's own identity IDAAC and NonceAAC generated by AAC, respectively; if they are different, discard ASVeri;
(2)、验证MICAS_AAC;若验证不通过,则丢弃ASVeri;(2), verify the MICAS_AAC ; if the verification fails, discard the ASVeri;
其中,AAC利用所述KAAC_AS,采用与AS-AAC约定的杂凑算法对包括IDAAC、NonceAAC和PubREQ⊕NonceREQPub在内的信息在本地计算出MICAS_AAC,并将其与接收到的MICAS_AAC进行比较,若相同,则MICAS_AAC验证通过,若不同,则MICAS_AAC验证不通过。Wherein, AAC utilizes the KAAC_AS , adopts the hash algorithm agreed with AS-AAC to calculate the MICAS_AAC locally for the information including IDAAC , NonceAAC and PubREQ ⊕ NonceREQPub , and compares it with the received MICAS_AAC is compared. If they are the same, the MICAS_AAC verification passes. If they are different, the MICAS_AAC verification fails.
(3)、利用消息加密密钥计算身份鉴别结果信息密文EncDataAAC;(3), utilize the message encryption key to calculate the identity authentication result information ciphertext EncDataAAC ;
(4)、计算第一消息完整性校验码MacTagAAC。(4) Calculate the first message integrity check code MacTagAAC .
S310、AAC向REQ发送第三鉴别响应消息AACAuth。S310. AAC sends a third authentication response message AACAuth to REQ.
所述AACAuth中包括NonceAAC、NonceREQ、EncDataAAC和MacTagAAC。其中,NonceREQ和NonceAAC为可选字段,且分别等于REQInit中的NonceREQ和AAC生成的NonceAAC。EncDataAAC的加密数据包括IDREQ⊕NonceREQID、NonceREQ、PubAAC、SigAS_AAC1和IDAAC,且IDREQ⊕NonceREQID、NonceREQ、PubAAC、SigAS_AAC1来源于ASVeri,IDAAC应等于AAC自身的身份标识IDAAC。MacTagAAC的计算过程为:利用消息完整性校验密钥采用完整性校验算法对包括AACAuth中除MacTagAAC外的其他字段在内的信息计算生成MacTagAAC。The AACAuth includes NonceAAC , NonceREQ , EncDataAAC and MacTagAAC . Among them, NonceREQ and NonceAAC are optional fields and are respectively equal to NonceREQ and NonceAAC generated by AAC in REQInit. The encrypted data of EncDataAAC includes IDREQ ⊕ NonceREQID , NonceREQ , PubAAC , SigAS_AAC1 and IDAAC , and IDREQ ⊕ NonceREQID , NonceREQ , PubAAC , SigAS_AAC1 comes from ASVeri, and IDAAC should be equal to AAC's own Identifier IDAAC . The calculation process of the MacTagAAC is as follows: using the message integrity check key and the integrity check algorithm to calculate and generate the MacTagAAC for the information including other fields in AACAuth except the MacTag AAC.
S311、REQ接收到AACAuth后,执行下述操作,包括:S311. After receiving the AACAuth, REQ performs the following operations, including:
(1)、若AACAuth中携带NonceREQ和/或NonceAAC,则检查NonceREQ是否与REQ生成的NonceREQ相同,和/或,检查NonceAAC是否与AACInit中的NonceAAC相同;(1) If AACAuth carries NonceREQ and/or NonceAAC , check whether the NonceREQ is the same as the NonceREQ generated by REQ, and/or, check whether the NonceAAC is the same as the NonceAAC in AACInit;
(2)、验证MacTagAAC;(2), verify MacTagAAC ;
验证过程为:利用消息完整性校验密钥采用完整性校验算法对包括AACAuth中除MacTagAAC外的其他字段在内的信息在本地计算MacTagAAC(该计算方式与AAC计算MacTagAAC的方式相同),将计算的MacTagAAC与接收到的MacTagAAC比较。The verification process is: use the message integrity check key and use the integrity check algorithm to calculate the MacTagAAC locally for the information including the other fields in AACAuth except the MacTag AAC( this calculation method is the same as the way AAC calculates the MacTagAAC . ) to compare the calculated MacTagAAC with the received MacTagAAC .
(3)、利用消息加密密钥解密EncDataAAC得到IDREQ⊕NonceREQID、NonceREQ、PubAAC、SigAS_AAC1和IDAAC;(3), utilize message encryption key to decrypt EncDataAAC to obtain IDREQ ⊕ NonceREQID , NonceREQ , PubAAC , SigAS_AAC1 and IDAAC ;
(4)、利用NonceREQID对IDREQ⊕NonceREQID进行异或运算恢复IDREQ,检查IDREQ、NonceREQ是否分别与REQ自身的身份标识IDREQ、REQ生成的NonceREQ相同;(4), use NonceREQID to perform XOR operation on IDREQ ⊕ NonceREQID to restore IDREQ , check whether IDREQ and NonceREQ are the same as the NonceREQ generated by REQ's own identity IDREQ and REQ respectively;
(5)、检查PubAAC中的IDAAC和解密得到的IDAAC是否一致;(5), check whether the IDAAC in the PubAAC is consistent with the IDAAC obtained by decryption;
(6)、利用AS-AAC的公钥验证SigAS_AAC1;(6), utilize the public key of AS-AAC to verify SigAS_AAC1 ;
(7)、若上述检查与验证中任一步不通过,则立即丢弃AACAuth;若上述检查和验证均通过后,根据PubAAC中的ResAAC确定AAC的身份鉴别结果;若AAC为不合法,则结束本次鉴别过程;(7) If any one of the above checks and verifications fails, discard AACAuth immediately; if the above checks and verifications pass, determine the identity authentication result of AAC according to ResAAC in PubAAC ; if AAC is illegal, then end the identification process;
(8)、利用消息加密密钥计算第二密钥密文EncDataREQ;(8), utilize the message encryption key to calculate the second key ciphertext EncDataREQ ;
(9)、计算第二消息完整性校验码MacTagREQ。(9) Calculate the second message integrity check code MacTagREQ .
S312、REQ向AAC发送第四鉴别响应消息REQAuth。S312. REQ sends a fourth authentication response message REQAuth to the AAC.
所述REQAuth中包括NonceAAC、NonceREQ、EncDataREQ及MacTagREQ。其中,NonceREQ和NonceAAC为可选字段,且应分别等于REQ生成的NonceREQ和AACInit中的NonceAAC;EncDataREQ的加密数据包括NonceREQPub。MacTagREQ的计算过程为:利用消息完整性校验密钥采用完整性校验算法对包括REQAuth中除MacTagREQ外的其他字段在内的信息计算生成MacTagREQ。The REQAuth includes NonceAAC , NonceREQ , EncDataREQ and MacTagREQ . Among them, NonceREQ and NonceAAC are optional fields, and should be equal to Nonce REQ generated byREQ and NonceAAC in AACInit respectively; the encrypted data of EncDataREQ includes NonceREQPub . The calculation process of the MacTagREQ is as follows: using the message integrity check key and the integrity check algorithm to calculate and generate the MacTagREQ for information including other fields in REQAuth except the MacTag REQ.
S313、AAC接收到REQAuth后,执行下述操作,包括:S313. After receiving the REQAuth, the AAC performs the following operations, including:
(1)、若REQAuth中携带NonceREQ和/或NonceAAC,则检查NonceREQ是否与REQInit中的NonceREQ相同,和/或,检查NonceAAC是否与AAC生成的NonceAAC相同;(1) If the NonceREQ and/or NonceAAC are carried in REQAuth, check whether the NonceREQ is the same as the NonceREQ in REQInit, and/or, check whether the NonceAAC is the same as the NonceAAC generated by AAC;
(2)、验证MacTagREQ;(2), verify MacTagREQ ;
验证过程为:利用消息完整性校验密钥采用完整性校验算法对包括REQAuth中除MacTagREQ外的其他字段在内的信息在本地计算MacTagREQ(该计算方式与REQ计算MacTagREQ的方式相同),并将计算的MacTagREQ与接收到的MacTagREQ进行比较。The verification process is: use the message integrity check key and use the integrity check algorithm to calculate the MacTagREQ locally for the information including other fields in REQAuth except the MacTag REQ( this calculation method is the same as the way REQ calculates the MacTagREQ . ) and compare the calculated MacTagREQ with the received MacTagREQ .
(3)、利用消息加密密钥解密EncDataREQ得到NonceREQPub;(3), utilize message encryption key to decrypt EncDataREQ to obtain NonceREQPub ;
(4)、利用NonceREQPub对PubREQ⊕NonceREQPub进行异或运算恢复PubREQ;(4), utilize NonceREQPub to carry out XOR operation to PubREQ ⊕ NonceREQPub to restore PubREQ ;
(5)、利用PubREQ中的CertREQ验证SigREQ;(5), utilize the CertREQ in the PubREQ to verify the SigREQ ;
(6)、上述检查及验证均通过,则根据PubREQ中的ResREQ确定REQ的身份鉴别结果;上述检查与验证中任一项不通过,则立即丢弃REQAuth。(6) If the above checks and verifications are all passed, the identity authentication result of REQ is determined according to ResREQ in PubREQ ; if any of the above checks and verifications fail, REQAuth will be discarded immediately.
由此,在S311和S313分别实现对AAC和对REQ的身份鉴别,即实现REQ和AAC的双向身份鉴别,并且REQ的身份标识IDREQ、数字证书CertREQ、鉴别结果等全程以密文形式传输,实现REQ的身份保护。Thus, at S311 and S313, the identification of the AAC and the REQ is realized respectively, that is, the two-way identification of the REQ and the AAC is realized, and the identification IDREQ of the REQ, the digital certificate CertREQ , the identification result, etc. are transmitted in cipher text throughout the process. , to realize the identity protection of REQ.
需要说明的是,S313中验证SigREQ的操作也可以改为在S307中先行执行,其中,SigREQ可以通过S306的AACVeri传递至AS-AAC,则在S307中,AS-AAC还要利用CertREQ验证SigREQ,验证通过后再执行后续操作,此情形下,在S313中AAC不再验证SigREQ,此时PubREQ中可以不包括CertREQ。It should be noted that the operation of verifying SigREQ in S313 can also be changed to be performed first in S307, where SigREQ can be passed to AS-AAC through AACVeri of S306, then in S307, AS-AAC also uses CertREQ Verify the SigREQ , and perform subsequent operations after the verification is passed. In this case, the AAC does not verify the SigREQ in S313, and the PubREQ may not include the CertREQ in this case.
参见图4,为上述(二)情况下一种身份鉴别方法的实施例。其中,可以用AS-AAC表示(当然也可以用AS-REQ表示)REQ和AAC共同信任的鉴别服务器。在该实施例中,REQ和AAC之间的消息加密密钥协商过程被并行地融合到了身份鉴别过程中,更便于工程实施。该身份鉴别方法包括:Referring to FIG. 4 , it is an embodiment of an identity authentication method in the above-mentioned (2) case. Among them, AS-AAC can be used to represent (of course, AS-REQ can also be used to represent) an authentication server jointly trusted by REQ and AAC. In this embodiment, the message encryption key negotiation process between REQ and AAC is integrated into the identity authentication process in parallel, which is more convenient for engineering implementation. The identification method includes:
S401、AAC生成NonceAAC和KeyInfoAAC,根据需要生成Security capabilitiesAAC。S401, AAC generates NonceAAC and KeyInfoAAC , and generates Security capabilitiesAAC as required.
S402、AAC向REQ发送密钥请求消息AACInit。S402. The AAC sends a key request message AACInit to the REQ.
所述AACInit中包括NonceAAC、KeyInfoAAC和Security capabilitesAAC。其中,Security capabilitiesAAC为可选字段。The AACInit includes NonceAAC , KeyInfoAAC and Security capabilitesAAC . Among them, Security capabilitiesAAC is an optional field.
S403、REQ接收到AACInit后,执行下述操作,包括:S403. After REQ receives AACInit, the following operations are performed, including:
(1)、生成NonceREQ和KeyInfoREQ;(1), generate NonceREQ and KeyInfoREQ ;
(2)、根据需要生成Security capabilitiesREQ;(2), generate Security capabilitiesREQ as needed;
(3)、根据包括KeyInfoREQ对应的临时私钥和KeyInfoAAC所包括的临时公钥进行密钥交换计算生成第一密钥K1,将K1结合NonceAAC、NonceREQ及其他信息(REQ和AAC采用的其他信息是相同的且可选的,譬如特定字符串等)利用协商的或预置的密钥导出算法计算消息加密密钥和消息完整性校验密钥;当然,这一步也可以移至在后续需要使用消息加密密钥、消息完整性校验密钥时再执行;(3), according to including the temporary private key corresponding to KeyInfoREQ and the temporary public key included in KeyInfoAAC , perform key exchange calculation to generate the first key K1, combine K1 with NonceAAC , NonceREQ and other information (REQ and AAC adopt other information is the same and optional, such as specific strings, etc.) use the negotiated or preset key derivation algorithm to calculate the message encryption key and the message integrity check key; of course, this step can also be moved to Execute when the message encryption key and message integrity check key need to be used later;
(4)、生成NonceREQID和NonceREQPub;(4), generate NonceREQID and NonceREQPub ;
(5)、利用加密证书的公钥计算EncPubAS_REQ;(5), utilize the public key of encryption certificate to calculate EncPubAS_REQ ;
(6)、计算SigREQ。(6), calculate SigREQ .
S404、REQ向AAC发送身份密文消息REQInit。S404, REQ sends an identity ciphertext message REQInit to the AAC.
所述REQInit中包括NonceAAC、NonceREQ、Security capabilitiesREQ、KeyInfoREQ、EncPubAS_REQ及SigREQ。其中,EncPubAS_REQ是REQ利用加密证书的公钥对包括IDREQ、CertREQ、NonceREQPub和NonceREQID在内的加密数据进行加密生成的;SigREQ的签名数据包括REQInit中SigREQ之前的其他字段,例如包括NonceAAC、NonceREQ、Security capabilitiesREQ、KeyInfoREQ及EncPubAS_REQ;Security capabilitiesREQ为可选字段,REQ是否生成SecuritycapabilitiesREQ取决于AAC向REQ发送的AACInit中是否携带Security capabilitiesAAC。The REQInit includes NonceAAC , NonceREQ , Security capabilitiesREQ , KeyInfoREQ , EncPubAS_REQ and SigREQ . Among them, EncPubAS_REQ is generated by REQ using the public key of the encryption certificate to encrypt the encrypted data including IDREQ , CertREQ , NonceREQPub and NonceREQID ; the signature data of SigREQ includes other fields before SigREQ in REQInit, For example, it includes NonceAAC , NonceREQ , Security capabilitiesREQ , KeyInfoREQ and EncPubAS_REQ ; Security capabilitiesREQ is an optional field, and whether REQ generates SecuritycapabilitiesREQ depends on whether the AACInit sent by AAC to REQ carries Security capabilitiesAAC .
S405、AAC接收到REQInit后,执行如下操作,包括:S405. After receiving REQInit, the AAC performs the following operations, including:
(1)、检查REQInit中的NonceAAC与AAC生成的NonceAAC是否一致,若不一致,则丢弃REQInit;(1) Check whether the NonceAAC in REQInit is consistent with the Nonce AAC generated byAAC , if not, discard REQInit;
(2)、根据包括所述KeyInfoAAC对应的临时私钥和所述KeyInfoREQ所包括的临时公钥进行密钥交换计算生成第一密钥K1,将K1结合NonceAAC、NonceREQ及其他信息(AAC和REQ采用的其他信息是相同的且可选的,譬如特定字符串等)利用协商的或预置的密钥导出算法计算消息加密密钥和消息完整性校验密钥;当然,这一步也可以移至在后续需要使用消息加密密钥、消息完整性校验密钥时再执行。(2), according to including the temporary private key corresponding to the KeyInfoAAC and the temporary public key included in the KeyInfoREQ , perform key exchange calculation to generate the first key K1, combine K1 with NonceAAC , NonceREQ and other information ( Other information used by AAC and REQ is the same and optional, such as specific strings, etc.) using the negotiated or preset key derivation algorithm to calculate the message encryption key and the message integrity check key; of course, this step It can also be moved to the execution when the message encryption key and the message integrity check key need to be used later.
(3)、生成NonceAACPub和NonceAACID;(3), generate NonceAACPub and NonceAACID ;
(4)、利用加密证书的公钥计算生成EncPubAS_AAC;(4), utilize the public key calculation of encryption certificate to generate EncPubAS_AAC ;
(5)、计算生成MICAAC。(5), calculate and generate MICAAC .
S406、AAC向AS-AAC发送第一鉴别请求消息AACVeri。S406. The AAC sends a first authentication request message AACVeri to the AS-AAC.
所述AACVeri中包括EncPubAS_REQ、NonceREQ、EncPubAS_AAC、NonceAAC及MICAAC。其中,NonceREQ应等于REQInit中的相应字段,NonceAAC应等于AAC生成的NonceAAC。EncPubAS_AAC是AAC利用加密证书的公钥对包括IDAAC、NonceAACID、NonceAACPub在内的信息加密生成的;MICAAC是AAC利用与AS-AAC的预共享密钥KAAC_AS,采用与AS-AAC约定的杂凑算法对AACVeri中MICAAC之前的其他字段计算的杂凑值。The AACVeri includes EncPubAS_REQ , NonceREQ , EncPubAS_AAC , NonceAAC and MICAAC . Among them, NonceREQ shall be equal to the corresponding field in REQInit, and NonceAAC shall be equal to Nonce AAC generated byAAC . EncPubAS_AAC is generated by AAC using the public key of the encryption certificate to encrypt information including IDAAC , NonceAACID , NonceAACPub ; MICAAC is AAC using the pre-shared key KAAC_AS with AS-AAC, using the same as AS-AAC The hash value calculated by the agreed hash algorithm for other fields before the MICAAC in AACVeri.
S407、AS-AAC接收到AACVeri后,执行下述操作,包括:S407. After receiving the AACVeri, AS-AAC performs the following operations, including:
(1)、利用加密证书对应的私钥解密EncPubAS_AAC得到IDAAC、NonceAACID和NonceAACPub;(1), decrypt EncPubAS_AAC with the private key corresponding to the encryption certificate to obtain IDAAC , NonceAACID and NonceAACPub ;
(2)、验证MICAAC得到ResAAC,根据包括ResAAC和IDAAC在内的信息生成PubAAC;(2), verify that MICAAC obtains ResAAC , and generate PubAAC according to the information including ResAAC and IDAAC ;
其中,AS-AAC根据IDAAC确定与AAC的预共享密钥KAAC_AS和杂凑算法,利用所述KAAC_AS,采用所述杂凑算法对所述AACVeri中MICAAC之前的其他字段在本地计算出MICAAC,并将其和接收到的MICAAC进行比较,若相同,则MICAAC验证通过,AS-AAC判定AAC的身份鉴别结果为合法,若不同,则MICAAC验证不通过,AS-AAC根据本地策略执行如下操作,包括:丢弃AACVeri,或者判定AAC的身份鉴别结果为不合法等。Wherein, AS-AAC determines the pre-shared key KAAC_AS with AAC and a hash algorithm according to IDAAC , and uses the KAAC_AS to calculate the MICAAC locally for other fields before the MICAAC in the AACVeri by using the hash algorithm , and compare it with the received MICAAC . If they are the same, the MICAAC verification is passed, and AS-AAC determines that the AAC's identity authentication result is legal. If they are different, the MICAAC verification fails. Perform the following operations, including: discarding the AACVeri, or determining that the identity authentication result of the AAC is invalid, etc.
(3)、利用加密证书对应的私钥解密EncPubAS_REQ得到IDREQ、CertREQ、NonceREQID和NonceREQPub;(3), decrypt EncPubAS_REQ with the private key corresponding to the encryption certificate to obtain IDREQ , CertREQ , NonceREQID and NonceREQPub ;
(4)、验证CertREQ的合法性得到ResREQ,根据包括ResREQ和CertREQ在内的信息生成PubREQ;(4), verify the legitimacy of CertREQ to obtain ResREQ , and generate PubREQ according to the information including ResREQ and CertREQ ;
(5)、利用NonceREQID对IDREQ进行异或运算得到REQ的身份标识密文IDREQ⊕NonceREQID,利用NonceAACID对IDAAC进行异或运算得到AAC的身份标识密文IDAAC⊕NonceAACID,利用NonceAACPub对PubAAC进行异或运算得到PubAAC⊕NonceAACPub,利用NonceREQPub对PubREQ进行异或运算得到PubREQ⊕NonceREQPub;(5), use NonceREQID to perform XOR operation on IDREQ to obtain the identity ciphertext IDREQ ⊕NonceREQID of REQ, and use NonceAACID to perform XOR operation on IDAAC to obtain the identity ciphertext IDAAC ⊕NonceAACID of AAC, Use NonceAACPub to perform XOR operation on PubAAC to obtain PubAAC ⊕NonceAACPub , and use NonceREQPub to perform XOR operation on PubREQ to obtain PubREQ ⊕NonceREQPub ;
(6)、计算第一数字签名SigAS_AAC1和AS-AAC的第一消息鉴别码MICAS_AAC。(6) Calculate the first digital signature SigAS_AAC1 and the first message authentication code MICAS_AAC of AS-AAC.
S408、AS-AAC向AAC发送第一鉴别响应消息ASVeri。S408, the AS-AAC sends the first authentication response message ASVeri to the AAC.
所述ASVeri中包括IDREQ⊕NonceREQID、NonceREQ、PubAAC⊕NonceAACPub、SigAS_AAC1、IDAAC⊕NonceAACID、NonceAAC、PubREQ⊕NonceREQPub和MICAS_AAC。其中,IDREQ、NonceREQ、IDAAC、NonceAAC应分别等于AACVeri中的相应字段。SigAS_AAC1的签名数据包括IDREQ⊕NonceREQID、NonceREQ和PubAAC⊕NonceAACPub;MICAS_AAC是AS-AAC利用所述KAAC_AS,采用与AAC约定的杂凑算法对包括IDAAC⊕NonceAACID、NonceAAC和PubREQ⊕NonceREQPub在内的信息计算生成的。The ASVeri includes IDREQ ⊕ NonceREQID , NonceREQ , PubAAC ⊕ NonceAACPub , SigAS_AAC1 , IDAAC ⊕ NonceAACID , NonceAAC , PubREQ ⊕ NonceREQPub and MICAS_AAC . Among them, IDREQ , NonceREQ , IDAAC , and NonceAAC should be respectively equal to the corresponding fields in AACVeri. The signature data of SigAS_AAC1 includes IDREQ ⊕ NonceREQID , NonceREQ and PubAAC ⊕ NonceAACPub ; MICAS_AAC is that AS-AAC utilizes the KAAC_AS and adopts the hash algorithm pair agreed with AAC including IDAAC ⊕ NonceAACID , NonceAAC It is generated by information calculation including PubREQ ⊕NonceREQPub .
S409、AAC接收到ASVeri后,执行下述操作,包括:S409. After AAC receives ASVeri, it performs the following operations, including:
(1)、利用NonceAACID对IDAAC⊕NonceAACID进行异或运算恢复IDAAC,检查IDAAC、NonceAAC是否分别与AAC自身的身份标识IDAAC、AAC生成的NonceAAC相同;若不同,则丢弃ASVeri;(1), use NonceAACID to perform XOR operation on IDAAC ⊕ NonceAACID to restore IDAAC , check whether IDAAC and NonceAAC are the same as the NonceAAC generated by AAC's own identity IDAAC and AAC respectively; if they are different, discard them ASVeri;
(2)、验证MICAS_AAC;若验证不通过,则丢弃ASVeri;(2), verify the MICAS_AAC ; if the verification fails, discard the ASVeri;
其中,AAC利用所述KAAC_AS,采用与AS-AAC约定的杂凑算法对包括IDAAC⊕NonceAACID、NonceAAC和PubREQ⊕NonceREQPub在内的信息在本地计算出MICAS_AAC,并将其与接收到的MICAS_AAC进行比较,若相同,则MICAS_AAC验证通过,若不同,则MICAS_AAC验证不通过;The AAC uses the KAAC_AS to calculate the MICAS_AAC locally for the information including IDAAC ⊕ NonceAACID , NonceAAC and PubREQ ⊕ NonceREQPub using the hash algorithm agreed with AS-AAC, and compares it with the receiving The received MICAS_AAC is compared, if it is the same, the MICAS_AAC verification passes, if it is different, the MICAS_AAC verification fails;
(3)、利用消息加密密钥计算生成EncDataAAC;(3), utilize message encryption key to calculate and generate EncDataAAC ;
(4)、计算生成MacTagAAC。(4), calculate and generate MacTagAAC .
S410、AAC向REQ发送第三鉴别响应消息AACAuth。S410. AAC sends a third authentication response message AACAuth to REQ.
所述AACAuth中包括NonceAAC、NonceREQ、EncDataAAC和MacTagAAC。其中,NonceREQ和NonceAAC为可选字段,且应分别等于REQInit中NonceREQ、AAC生成的NonceAAC。EncDataAAC的加密数据包括IDREQ⊕NonceREQID、NonceREQ、PubAAC⊕NonceAACPub、SigAS_AAC1、NonceAACPub和IDAAC,其中,IDREQ⊕NonceREQID、NonceREQ、PubAAC⊕NonceAACPub、SigAS_AAC1来源于ASVeri;MacTagAAC的计算过程如图3实施例中相关描述。The AACAuth includes NonceAAC , NonceREQ , EncDataAAC and MacTagAAC . Among them, NonceREQ and NonceAAC are optional fields, and should be equal to NonceREQ and NonceAAC generated by AAC in REQInit respectively. The encrypted data of EncDataAAC includes IDREQ ⊕NonceREQID , NonceREQ , PubAAC ⊕NonceAACPub , SigAS_AAC1 , NonceAACPub and IDAAC , where IDREQ ⊕NonceREQID , NonceREQ , PubAAC ⊕NonceAACPub , SigAS_AAC1 source The calculation process ofAAC in ASVeri; MacTag is described in the embodiment of FIG. 3 .
S411、REQ接收到AACAuth后,执行下述操作,包括:S411. After receiving the AACAuth, REQ performs the following operations, including:
(1)、若AACAuth中存在NonceREQ和/或NonceAAC,则检查NonceREQ是否与REQ生成的NonceREQ相同,和/或,检查NonceAAC是否与AACInit中的NonceAAC相同;(1) If there is NonceREQ and/or NonceAAC in AACAuth, check whether the NonceREQ is the same as the NonceREQ generated by REQ, and/or, check whether the NonceAAC is the same as the NonceAAC in AACInit;
(2)、验证MacTagAAC;验证过程如图3实施例中相关描述;(2), verify MacTagAAC ; The verification process is described in relation to the embodiment as shown in Figure 3;
(3)、利用消息加密密钥解密EncDataAAC得到IDREQ⊕NonceREQID、NonceREQ、PubAAC⊕NonceAACPub、SigAS_AAC1、NonceAACPub和IDAAC;(3), decrypt EncDataAAC with message encryption key to obtain IDREQ ⊕ NonceREQID , NonceREQ , PubAAC ⊕ NonceAACPub , SigAS_AAC1 , NonceAACPub and IDAAC ;
(4)、利用NonceREQID对IDREQ⊕NonceREQID进行异或运算恢复IDREQ,利用NonceAACPub对PubAAC⊕NonceAACPub进行异或运算恢复PubAAC;(4), utilize NonceREQID to carry out XOR operation to IDREQ ⊕ NonceREQID to restore IDREQ , and utilize NonceAACPub to carry out XOR operation to PubAAC ⊕ NonceAACPub to restore PubAAC ;
(5)、检查IDREQ、NonceREQ是否分别与REQ自身的身份标识IDREQ、REQ生成的NonceREQ是否相同;(5), check whether IDREQ and NonceREQ are the same as the NonceREQ generated by REQ's own identity IDREQ and REQ respectively;
(6)、检查PubAAC中的IDAAC是否与解密得到的IDAAC一致;(6), check whether the IDAAC in the PubAAC is consistent with the IDAAC obtained by decryption;
(7)、利用AS-AAC的公钥验证SigAS_AAC1;(7), utilize the public key of AS-AAC to verify SigAS_AAC1 ;
(8)、若上述检查与验证中任一步不通过,则立即丢弃AACAuth;若上述检查和验证均通过后,根据PubAAC中的ResAAC确定AAC的身份鉴别结果;若确定AAC为不合法,则结束本次鉴别过程;(8) If any one of the above checks and verifications fails, discard AACAuth immediately; if the above checks and verifications pass, determine the identity authentication result of AAC according to ResAAC in PubAAC ; if it is determined that AAC is illegal, then end the identification process;
(9)、利用消息加密密钥计算生成EncDataREQ;(9), utilize message encryption key to calculate and generate EncDataREQ ;
(10)、计算生成MacTagREQ。(10), calculate and generate MacTagREQ .
S412、REQ向AAC发送第四鉴别响应消息REQAuth。S412. REQ sends a fourth authentication response message REQAuth to the AAC.
所述REQAuth中包括NonceAAC、NonceREQ、EncDataREQ和MacTagREQ。其中,NonceREQ和NonceAAC为可选字段,且应分别等于REQ生成的NonceREQ、AACInit中的NonceAAC。EncDataREQ的加密数据包括NonceREQPub。MacTagREQ的计算过程如图3实施例中相关描述。The REQAuth includes NonceAAC , NonceREQ , EncDataREQ and MacTagREQ . Among them, NonceREQ and NonceAAC are optional fields, and should be equal to NonceREQ generated by REQ and NonceAAC in AACInit respectively. EncDataREQ 's encrypted data includes NonceREQPub . The calculation process of the MacTagREQ is described in relation to the embodiment in FIG. 3 .
S413、AAC接收到REQAuth后,执行下述操作,包括:S413. After receiving REQAuth, AAC performs the following operations, including:
(1)、若REQAuth中携带NonceAAC和/或NonceREQ,则检查NonceAAC和AAC生成的NonceAAC是否相同,和/或,检查NonceREQ是否与REQInit中的NonceREQ相同;(1) If REQAuth carries NonceAAC and/or NonceREQ , check whether NonceAAC and Nonce AAC generated byAAC are the same, and/or, check whether NonceREQ is the same as NonceREQ in REQInit;
(2)、验证MacTagREQ;验证过程如图3实施例中相关描述;(2), verify MacTagREQ ; The verification process is described in relation to the embodiment as shown in Figure 3;
(3)、利用消息加密密钥解密EncDataREQ得到NonceREQPub;(3), utilize message encryption key to decrypt EncDataREQ to obtain NonceREQPub ;
(4)、利用NonceREQPub对PubREQ⊕NonceREQPub进行异或运算恢复PubREQ;(4), utilize NonceREQPub to carry out XOR operation to PubREQ ⊕ NonceREQPub to restore PubREQ ;
(5)、利用PubREQ中的CertREQ验证SigREQ;(5), utilize the CertREQ in the PubREQ to verify the SigREQ ;
(6)、上述检查及验证均通过,则根据PubREQ中的ResREQ确定REQ的身份鉴别结果;上述检查与验证中任一步不通过,则立即丢弃REQAuth。(6) If the above checks and verifications are all passed, the identity authentication result of REQ is determined according to the ResREQ in the PubREQ ; if any step of the above checks and verifications fails, REQAuth is immediately discarded.
由此,在S411和S413分别实现对AAC和对REQ的身份鉴别,即实现REQ和AAC的双向身份鉴别,并且REQ的身份标识IDREQ、数字证书CertREQ、鉴别结果及AAC的身份标识IDAAC、鉴别结果等全程以密文形式传输,实现REQ和AAC的身份保护。Thus, at S411 and S413, the identification of AAC and REQ is realized respectively, that is, the two-way identification of REQ and AAC is realized, and the identification IDREQ of REQ, the digital certificate CertREQ , the identification result and the identification IDAAC of AAC are realized. , authentication results, etc. are transmitted in cipher text throughout the process to realize the identity protection of REQ and AAC.
需要说明的是,S413中验证SigREQ的操作也可以改为在S407中先行执行,其中,SigREQ可以通过S406的AACVeri传递至AS-AAC,则在S407中,AS-AAC还需要验证SigREQ,验证通过后再执行后续操作;此情形下,在S413中AAC不再验证SigREQ,此时PubREQ中可以不包括CertREQ。It should be noted that the operation of verifying SigREQ in S413 can also be changed to be performed first in S407, where SigREQ can be passed to AS-AAC through AACVeri of S406, then in S407, AS-AAC also needs to verify SigREQ , and then perform subsequent operations after the verification is passed; in this case, the AAC no longer verifies the SigREQ in S413 , and the PubREQ may not include the CertREQ in this case.
参见图5,为上述(三)情况下一种身份鉴别方法的实施例,在该实施例中,REQ和AAC之间的消息加密密钥协商过程被并行地融合到了身份鉴别过程中,更便于工程实施。该身份鉴别方法包括:Referring to FIG. 5, it is an embodiment of an identity authentication method under the above (3) situation. In this embodiment, the message encryption key negotiation process between REQ and AAC is merged into the identity authentication process in parallel, which is more convenient Project implementation. The identification method includes:
S501、AAC生成NonceAAC和KeyInfoAAC,根据需要生成Security capabilitiesAAC。S501, AAC generates NonceAAC and KeyInfoAAC , and generates Security capabilitiesAAC as required.
S502、AAC向REQ发送密钥请求消息AACInit。S502. The AAC sends a key request message AACInit to the REQ.
所述AACInit中包括NonceAAC、KeyInfoAAC、Security capabilitiesAAC和IDAS_AAC。其中,Security capabilitiesAAC和IDAS_AAC为可选字段,且IDAS_AAC表示AAC信任的至少一个鉴别服务器的身份标识,用于使得REQ根据IDAS_AAC确定是否存在共同信任的鉴别服务器(下文同)。The AACInit includes NonceAAC , KeyInfoAAC , Security capabilitiesAAC and IDAS_AAC . Among them, Security capabilitiesAAC and IDAS_AAC are optional fields, and IDAS_AAC represents the identity of at least one authentication server trusted by AAC, which is used to make REQ determine whether there is a mutually trusted authentication server (the same below) according to IDAS_AAC .
S503、REQ接收到AACInit后,执行下述操作,包括:S503. After receiving the AACInit, the REQ performs the following operations, including:
(1)、生成NonceREQ、NonceREQID、NonceREQPub和KeyInfoREQ;(1), generate NonceREQ , NonceREQID , NonceREQPub and KeyInfoREQ ;
(2)、根据需要生成IDAS_REQ和Security capabilitiesREQ;(2), generate IDAS_REQ and Security capabilitiesREQ as needed;
(3)、根据包括KeyInfoREQ对应的临时私钥和KeyInfoAAC所包括的临时公钥进行密钥交换计算生成第一密钥K1,将K1结合NonceAAC、NonceREQ及其他信息(REQ和AAC采用的其他信息是相同的且可选的,譬如特定字符串等)利用协商的或预置的密钥导出算法计算消息加密密钥和消息完整性校验密钥;当然,本步骤也可以移至在后续需要使用消息加密密钥、消息完整性校验密钥时再执行。(3), according to including the temporary private key corresponding to KeyInfoREQ and the temporary public key included in KeyInfoAAC , perform key exchange calculation to generate the first key K1, combine K1 with NonceAAC , NonceREQ and other information (REQ and AAC adopt other information is the same and optional, such as specific strings, etc.) use the negotiated or preset key derivation algorithm to calculate the message encryption key and the message integrity check key; of course, this step can also be moved to Execute when the message encryption key and message integrity check key need to be used later.
(4)、利用加密证书的公钥计算生成EncPubAS_REQ;(4), utilize the public key calculation of encryption certificate to generate EncPubAS_REQ ;
(5)、计算REQ的数字签名SigREQ。(5), calculate the digital signature Sig REQ ofREQ .
S504、REQ向AAC发送身份密文消息REQInit。S504, REQ sends an identity ciphertext message REQInit to the AAC.
所述REQInit中包括NonceAAC、NonceREQ、Security capabilitiesREQ、KeyInfoREQ、IDAS_REQ、EncPubAS_REQ及SigREQ。其中,NonceAAC应等于AACInit中的相应字段;SigREQ的签名数据包括REQInit中SigREQ之前的其他字段,例如包括NonceAAC、NonceREQ、SecuritycapabilitiesREQ、KeyInfoREQ、IDAS_REQ及EncPubAS_REQ;EncPubAS_REQ的加密数据包括IDREQ、CertREQ、NonceREQID和NonceREQPub。Security capabilitiesREQ和IDAS_REQ为可选字段,且IDAS_REQ表示REQ信任的至少一个鉴别服务器的身份标识,当AACInit中存在IDAS_AAC时,REQ尽量从其信任的鉴别服务器中选择至少一个与IDAS_AAC中相同的鉴别服务器作为IDAS_REQ,若选择失败,则将自身信任的至少一个鉴别服务器作为IDAS_REQ;当AACInit中不存在IDAS_AAC时,REQ将自身信任的至少一个鉴别服务器作为IDAS_REQ(下文同)。The REQInit includes NonceAAC , NonceREQ , Security capabilitiesREQ , KeyInfoREQ , IDAS_REQ , EncPubAS_REQ and SigREQ . Among them, NonceAAC should be equal to the corresponding field in AACInit; the signature data of SigREQ includes other fields before SigREQ in REQInit, for example including NonceAAC , NonceREQ , SecuritycapabilitiesREQ , KeyInfoREQ , IDAS_REQ and EncPubAS_REQ ; EncPubAS_REQ 's The encrypted data includes IDREQ , CertREQ , NonceREQID and NonceREQPub . Security capabilitiesREQ and IDAS_REQ are optional fields, and IDAS_REQ represents the identity of at least one authentication server trusted by REQ. When IDAS_AAC exists in AACInit, REQ tries to select at least one authentication server from its trusted authentication servers with IDAS_AAC The same authentication server is used as IDAS_REQ . If the selection fails, at least one authentication server trusted by itself is used as IDAS_REQ ; when IDAS_AAC does not exist in AACInit, REQ uses at least one authentication server trusted by itself as IDAS_REQ (the same below) .
S505、AAC接收到REQInit后,执行下述操作,包括:S505. After receiving REQInit, the AAC performs the following operations, including:
(1)、检查REQInit中的NonceAAC与AAC生成的NonceAAC是否一致,若不一致,则丢弃REQInit;(1) Check whether the NonceAAC in REQInit is consistent with the Nonce AAC generated byAAC , if not, discard REQInit;
(2)、根据包括所述KeyInfoAAC对应的临时私钥和所述KeyInfoREQ所包括的临时公钥进行密钥交换计算生成第一密钥K1,将K1结合NonceAAC、NonceREQ及其他信息(AAC和REQ采用的其他信息是相同的且可选的,譬如特定字符串等)利用协商的或预置的密钥导出算法计算消息加密密钥和消息完整性校验密钥;(2), according to including the temporary private key corresponding to the KeyInfoAAC and the temporary public key included in the KeyInfoREQ , perform key exchange calculation to generate the first key K1, combine K1 with NonceAAC , NonceREQ and other information ( Other information used by AAC and REQ is the same and optional, such as a specific character string, etc.) using the negotiated or preset key derivation algorithm to calculate the message encryption key and the message integrity check key;
(3)、计算生成MICAAC;(3), calculate and generate MICAAC ;
(4)、若REQInit中携带IDAS_REQ且AACInit中携带IDAS_AAC,则AAC判断IDAS_REQ和IDAS_AAC是否存在至少一个相同的鉴别服务器的身份标识,若存在,即为非漫游情况,AAC从上述至少一个REQ和AAC共同信任的鉴别服务器的身份标识中,确定参与身份鉴别的第一鉴别服务器;若不存在,则为漫游情况,AAC需要根据IDAS_AAC确定参与身份鉴别的第一鉴别服务器AS-AAC,并将IDAS_REQ发送给AS-AAC,以便AS-AAC根据IDAS_REQ确定第二鉴别服务器AS-REQ;或者,(4) If the IDAS_REQ is carried in REQInit and the ID AS_AAC is carried inAACInit , then AAC judges whether IDAS_REQ and IDAS_AAC have at least one identical identification server identity. In the identity of an authentication server trusted by REQ and AAC, determine the first authentication server participating in identity authentication; if it does not exist, it is a roaming situation, and AAC needs to determine the first authentication server AS-AAC participating in identity authentication according to IDAS_AAC , and send the IDAS_REQ to the AS-AAC, so that the AS-AAC determines the second authentication server AS-REQ according to the IDAS_REQ ; or,
若REQInit中携带IDAS_REQ但AACInit中不携带IDAS_AAC,则AAC判断IDAS_REQ和AAC所信任的鉴别服务器是否存在至少一个相同的鉴别服务器的身份标识,若存在,即为非漫游情况,AAC从上述至少一个REQ和AAC共同信任的鉴别服务器的身份标识中,确定参与身份鉴别的第一鉴别服务器;若不存在,则为漫游情况,AAC需要根据自身信任的鉴别服务器确定参与身份鉴别的第一鉴别服务器AS-AAC,并将IDAS_REQ发送给AS-AAC,以便AS-AAC根据IDAS_REQ确定第二鉴别服务器AS-REQ;If the IDAS_REQ is carried in REQInit but the ID AS_AAC is not carried inAACInit , the AAC determines whether the IDAS_REQ and the authentication server trusted by the AAC have at least one identical ID of the authentication server. If so, it is a non-roaming situation. In the identity identifier of at least one authentication server trusted by REQ and AAC, determine the first authentication server participating in identity authentication; if it does not exist, it is a roaming situation, and AAC needs to determine the first authentication participating in identity authentication according to the authentication server trusted by itself. The server AS-AAC sends the IDAS_REQ to the AS-AAC, so that the AS-AAC determines the second authentication server AS-REQ according to the IDAS_REQ ;
需要说明的是,此实施例判断出的结果应为漫游情况。It should be noted that the result determined in this embodiment should be a roaming situation.
S506、AAC向AS-AAC发送第一鉴别请求消息AACVeri。S506. The AAC sends the first authentication request message AACVeri to the AS-AAC.
所述AACVeri中包括NonceAAC、NonceREQ、IDAS_REQ、EncPubAS_REQ、IDAAC及MICAAC。其中,IDAS_REQ为可选字段;MICAAC是AAC利用与AS-AAC的预共享密钥KAAC_AS,采用与AS-AAC约定的杂凑算法对AACVeri中MICAAC之前的其他字段在内的信息计算得到的杂凑值。The AACVeri includes NonceAAC , NonceREQ , IDAS_REQ , EncPubAS_REQ , IDAAC and MICAAC . Among them, IDAS_REQ is an optional field; MICAAC is calculated by AAC using the pre-shared key KAAC_AS with AS-AAC and using the hash algorithm agreed with AS-AAC to calculate the information including other fields before MICAAC in AACVeri hash value of .
S507、AS-AAC接收到AACVeri后,执行下述操作,包括:S507. After receiving the AACVeri, AS-AAC performs the following operations, including:
(1)、验证MICAAC得到ResAAC,根据包括ResAAC和IDAAC在内的信息生成PubAAC;验证MICAAC的过程参见图3实施例中相关内容;(1), verify MICAAC and obtain ResAAC , generate PubAAC according to the information including ResAAC and IDAAC ; The process of verifying MICAAC refers to relevant content in the embodiment of Fig. 3;
(2)、若AACVeri中存在IDAS_REQ,则AS-AAC根据IDAS_REQ确定第二鉴别服务器AS-REQ;若不存在,则表示AS-AAC已确知AS-REQ;(2), if there is IDAS_REQ in AACVeri, then AS-AAC determines the second authentication server AS-REQ according to IDAS_REQ ; if it does not exist, it means that AS-AAC has confirmed AS-REQ;
(3)、计算生成第二数字签名SigAS_AAC2。(3), calculate and generate the second digital signature SigAS_AAC2 .
S508、AS-AAC向AS-REQ发送第二鉴别请求消息AS-AACVeri。S508, AS-AAC sends a second authentication request message AS-AACVeri to AS-REQ.
所述AS-AACVeri中包括NonceAAC、NonceREQ、EncPubAS_REQ、IDAAC、PubAAC和SigAS_AAC2。其中,NonceAAC、NonceREQ、EncPubAS_REQ、IDAAC应分别等于AACVeri中的相应字段;SigAS_AAC2的签名数据包括AS-AACVeri中SigAS_AAC2之前的其他字段。The AS-AACVeri includes NonceAAC , NonceREQ , EncPubAS_REQ , IDAAC , PubAAC and SigAS_AAC2 . Among them, NonceAAC , NonceREQ , EncPubAS_REQ , and IDAAC should be respectively equal to the corresponding fields in AACVeri; the signature data of SigAS_AAC2 includes other fields before SigAS_AAC2 in AS-AACVeri.
S509、AS-REQ接收到AS-AACVeri后,利用AS-AAC的公钥验证SigAS_AAC2。S509, after AS-REQ receives AS-AACVeri, it uses the public key of AS-AAC to verify SigAS_AAC2 .
若验证通过,则执行S510。If the verification is passed, execute S510.
S510、AS-REQ向CS-DEC发送第一解密请求消息AS-REQReq。S510. The AS-REQ sends the first decryption request message AS-REQReq to the CS-DEC.
所述AS-REQReq中包括EncPubAS_REQ。The AS-REQReq includes EncPubAS_REQ .
S511、CS-DEC利用加密证书对应的私钥解密EncPubAS_REQ得到IDREQ、CertREQ、NonceREQID和NonceREQPub。S511 , CS-DEC decrypts EncPubAS_REQ by using the private key corresponding to the encrypted certificate to obtain IDREQ , CertREQ , NonceREQID and NonceREQPub .
S512、CS-DEC向AS-REQ发送第一解密响应消息CS-DECRep。S512. The CS-DEC sends the first decryption response message CS-DECRep to the AS-REQ.
所述CS-DECRep中包括IDREQ、CertREQ、NonceREQID和NonceREQPub。The CS-DECRep includes IDREQ , CertREQ , NonceREQID and NonceREQPub .
S513、AS-REQ接收到CS-DECRep后,执行下述操作,包括:S513. After receiving the CS-DECRep, the AS-REQ performs the following operations, including:
(1)、验证CertREQ的合法性得到ResREQ,根据包括ResREQ和CertREQ在内的信息生成PubREQ;(1), verify the legitimacy of CertREQ to obtain ResREQ , and generate PubREQ according to the information including ResREQ and CertREQ ;
(2)、利用NonceREQID对IDREQ进行异或运算得到IDREQ⊕NonceREQID,利用NonceREQPub对PubREQ进行异或运算得到PubREQ⊕NonceREQPub;(2), utilize NonceREQID to carry out XOR operation to IDREQ to obtain IDREQ ⊕NonceREQID , utilize NonceREQPub to carry out XOR operation to PubREQ to obtain PubREQ ⊕NonceREQPub ;
(3)、计算第一数字签名SigAS_REQ1和第三数字签名SigAS_REQ3。(3) Calculate the first digital signature SigAS_REQ1 and the third digital signature SigAS_REQ3 .
S514、AS-REQ向AS-AAC发送第二鉴别响应消息AS-REQVeri。S514. The AS-REQ sends the second authentication response message AS-REQVeri to the AS-AAC.
所述AS-REQVeri中包括IDREQ⊕NonceREQID、NonceREQ、PubAAC、SigAS_REQ1、IDAAC、NonceAAC、PubREQ⊕NonceREQPub和SigAS_REQ3。其中,IDREQ、NonceREQID和NonceREQPub应分别等于CS-DECRep中的相应字段;SigAS_REQ1的签名数据包括IDREQ⊕NonceREQID、NonceREQ、PubAAC;SigAS_REQ3的签名数据包括IDAAC、NonceAAC、PubREQ⊕NonceREQPub。The AS-REQVeri includes IDREQ ⊕ NonceREQID , NonceREQ , PubAAC , SigAS_REQ1 , IDAAC , NonceAAC , PubREQ ⊕ NonceREQPub and SigAS_REQ3 . Among them, IDREQ , NonceREQID and NonceREQPub should be respectively equal to the corresponding fields in CS-DECRep; the signature data of SigAS_REQ1 includes IDREQ ⊕ NonceREQID , NonceREQ , PubAAC ; the signature data of SigAS_REQ3 includes IDAAC , NonceAAC , PubREQ ⊕Nonce REQPub .
S515、AS-AAC接收到AS-REQVeri后,执行下述操作,包括:S515. After the AS-AAC receives the AS-REQVeri, it performs the following operations, including:
(1)、利用AS-REQ的公钥验证SigAS_REQ3,若验证不通过,则丢弃AS-REQVeri;(1), use the public key of AS-REQ to verify SigAS_REQ3 , if the verification fails, discard AS-REQVeri;
(2)、计算AS-AAC的第一消息鉴别码MICAS_AAC。(2) Calculate the first message authentication code MICAS_AAC of the AS-AAC.
S516、AS-AAC向AAC发送第一鉴别响应消息ASVeri。S516. The AS-AAC sends the first authentication response message ASVeri to the AAC.
所述ASVeri中包括IDREQ⊕NonceREQID、NonceREQ、PubAAC、SigAS_REQ1、IDAAC、NonceAAC、PubREQ⊕NonceREQPub和MICAS_AAC。其中,IDREQ⊕NonceREQID、NonceREQ、PubAAC、SigAS_REQ1、IDAAC、NonceAAC、PubREQ⊕NonceREQPub应分别等于AS-REQVeri中的相应字段;MICAS_AAC是AS-AAC利用所述KAAC_AS,采用与AAC约定的杂凑算法对包括IDAAC、NonceAAC和PubREQ⊕NonceREQPub在内的信息计算的杂凑值。The ASVeri includes IDREQ ⊕ NonceREQID , NonceREQ , PubAAC , SigAS_REQ1 , IDAAC , NonceAAC , PubREQ ⊕ NonceREQPub and MICAS_AAC . Among them, IDREQ ⊕ NonceREQID , NonceREQ , PubAAC , SigAS_REQ1 , IDAAC , NonceAAC , PubREQ ⊕ NonceREQPub should be respectively equal to the corresponding fields in AS-REQVeri; MICAS_AAC is AS-AAC using the KAAC_AS , the hash value calculated for information including IDAAC , NonceAAC and PubREQ ⊕ NonceREQPub using the hash algorithm agreed with AAC.
S517、AAC接收到ASVeri后,执行下述操作,包括:S517. After AAC receives ASVeri, it performs the following operations, including:
(1)、检查ASVeri中的IDAAC、NonceAAC是否分别AAC自身的身份标识IDAAC、AAC生成的NonceAAC相同;若不同,则丢弃ASVeri;(1), check whether the ID AAC and NonceAAC in the AVSeri are the same as the IDAAC and the NonceAAC generated by the AAC's own identification IDAAC , respectively; if they are different, discard the ASVeri;
(2)、验证MICAS_AAC,若验证不通过,则丢弃ASVeri;验证过程参见图3实施例的相关内容;(2), verify the MICAS_AAC , if the verification fails, then discard ASVeri; the verification process refers to the relevant content of the embodiment of FIG. 3;
(3)、利用消息加密密钥计算EncDataAAC;计算MacTagAAC。(3), utilize the message encryption key to calculate EncDataAAC ; calculate MacTagAAC .
S518、AAC向REQ发送第三鉴别响应消息AACAuth。S518, AAC sends a third authentication response message AACAuth to REQ.
所述AACAuth中包括NonceAAC、NonceREQ、EncDataAAC和MacTagAAC。其中,NonceREQ、NonceAAC为可选字段,应分别等于REQInit中的NonceREQ、AAC生成的NonceAAC;EncDataAAC是AAC利用消息加密密钥,采用对称加密算法对包括IDREQ⊕NonceREQID、NonceREQ、PubAAC、SigAS_REQ1和IDAAC在内的加密数据加密生成的;MacTagAAC的计算过程参见图3实施例的相关内容。The AACAuth includes NonceAAC , NonceREQ , EncDataAAC and MacTagAAC . Among them, NonceREQ and NonceAAC are optional fields, which should be equal to NonceREQ and NonceAAC generated by AAC in REQInit respectively; EncDataAAC is that AAC uses a message encryption key, and adopts a symmetric encryption algorithm to include IDREQ ⊕ NonceREQID , Nonce The encrypted data includingREQ , PubAAC , SigAS_REQ1 and IDAAC are encrypted and generated; for the calculation process of MacTagAAC , refer to the related content of the embodiment in FIG. 3 .
S519、REQ接收到AACAuth后,执行下述操作,包括:S519. After receiving the AACAuth, REQ performs the following operations, including:
(1)、若AACAuth中存在NonceREQ和/或NonceAAC,则检查NonceREQ是否与REQ生成的NonceREQ相同,和/或,检查NonceAAC是否与AACInit中的NonceAAC相同;(1) If there is NonceREQ and/or NonceAAC in AACAuth, check whether the NonceREQ is the same as the NonceREQ generated by REQ, and/or, check whether the NonceAAC is the same as the NonceAAC in AACInit;
(2)、验证MacTagAAC;验证过程参见图3实施例的相关内容;(2), verify MacTagAAC ; Verification process is referring to the relevant content of the embodiment of Fig. 3;
(3)、利用消息加密密钥解密EncDataAAC得到IDREQ⊕NonceREQID、NonceREQ、PubAAC、SigAS_REQ1和IDAAC;(3), utilize message encryption key to decrypt EncDataAAC to obtain IDREQ ⊕ NonceREQID , NonceREQ , PubAAC , SigAS_REQ1 and IDAAC ;
(4)、利用NonceREQID对IDREQ⊕NonceREQID进行异或运算恢复IDREQ;(4), utilize NonceREQID to carry out XOR operation to IDREQ ⊕ NonceREQID to restore IDREQ ;
(5)、检查IDREQ、NonceREQ是否分别与REQ自身的身份标识IDREQ、REQ生成的NonceREQ相同;(5), check whether IDREQ and NonceREQ are the same as the NonceREQ generated by REQ's own identity IDREQ and REQ respectively;
(6)、检查解密得到的IDAAC和PubAAC中的IDAAC是否一致;(6), check whether the ID AAC in the decrypted IDAAC and the IDAAC in the PubAAC are consistent;
(7)、利用AS-REQ的公钥验证SigS_REQ1;(7), utilize the public key of AS-REQ to verify SigS_REQ1 ;
(8)、若上述检查与验证中任一步不通过,则立即丢弃AACAuth;若上述检查和验证均通过后,根据PubAAC中的ResAAC确定AAC的身份鉴别结果;若AAC为不合法,则结束本次鉴别过程;(8) If any one of the above checks and verifications fails, discard AACAuth immediately; if the above checks and verifications pass, determine the identity authentication result of AAC according to ResAAC in PubAAC ; if AAC is illegal, then end the identification process;
(9)、利用消息加密密钥计算EncDataREQ;(9), utilize message encryption key to calculate EncDataREQ ;
(10)、计算MacTagREQ。(10), calculate MacTagREQ .
S520、REQ向AAC发送第四鉴别响应消息REQAuth。S520. REQ sends a fourth authentication response message REQAuth to the AAC.
所述REQAuth中包括NonceAAC、NonceREQ、EncDataREQ和MacTagREQ。其中,NonceREQ和NonceAAC为可选字段,应分别等于REQ生成的NonceREQ和AACInit中的NonceAAC;EncDataREQ的加密数据包括NonceREQPub;MacTagREQ的计算过程参见图3实施例的相关内容。The REQAuth includes NonceAAC , NonceREQ , EncDataREQ and MacTagREQ . Wherein, NonceREQ and NonceAAC are optional fields, should be equal to the NonceAAC in the NonceREQ and AACInit that REQ generates respectively; The encrypted data of EncDataREQ includes NonceREQPub ; The calculation process of MacTagREQ refers to the relevant content of the embodiment of Fig. 3.
S521、AAC接收到REQAuth后执行下述操作,包括:S521. After receiving REQAuth, AAC performs the following operations, including:
(1)、若REQAuth中存在NonceAAC和/或NonceREQ,则检查NonceAAC是否与AAC生成的NonceAAC相同,和/或,检查NonceREQ是否与REQInit中的NonceREQ相同;(1) If there is NonceAAC and/or NonceREQ in REQAuth, check whether the NonceAAC is the same as the NonceAAC generated by AAC, and/or, check whether the NonceREQ is the same as the NonceREQ in REQInit;
(2)、验证MacTagREQ;验证过程参见图3实施例的相关内容;(2), verify MacTagREQ ; Verification process is referring to the relevant content of the embodiment of Fig. 3;
(3)、利用消息加密密钥解密EncDataREQ得到NonceREQPub;(3), utilize message encryption key to decrypt EncDataREQ to obtain NonceREQPub ;
(4)、利用NonceREQPub对PubREQ⊕NonceREQPub进行异或运算恢复PubREQ;(4), utilize NonceREQPub to carry out XOR operation to PubREQ ⊕ NonceREQPub to restore PubREQ ;
(5)、利用PubREQ中的CertREQ验证SigREQ;(5), utilize the CertREQ in the PubREQ to verify the SigREQ ;
(6)、上述检查及验证均通过,则根据PubREQ中的ResREQ确定REQ的身份鉴别结果;上述检查与验证中任一步不通过,则立即丢弃REQAuth。(6) If the above checks and verifications are all passed, the identity authentication result of REQ is determined according to the ResREQ in the PubREQ ; if any step of the above checks and verifications fails, REQAuth is immediately discarded.
由此,在S519和S521分别实现漫游情况下对AAC和对REQ的身份鉴别,即实现REQ和AAC的双向身份鉴别,并且REQ的鉴别结果全程以密文传输,实现REQ的身份保护。Therefore, in S519 and S521, the identity authentication of the AAC and the REQ is realized respectively in the case of roaming, that is, the bidirectional identity authentication of the REQ and the AAC is realized, and the authentication result of the REQ is transmitted in cipher text throughout the whole process to realize the identity protection of the REQ.
需要说明的是,(1)、S521中验证SigREQ的操作也可以改为在S513中先行执行,其中,SigREQ可以通过S506的AACVeri及S508的AS-AACVeri传递至AS-REQ,则在S513中,AS-REQ还要利用CertREQ验证SigREQ,验证通过后再执行后续操作。此情形下,在S521中AAC不再验证SigREQ,此时PubREQ中可以不包括CertREQ。(2)、S507、S508中的第二数字签名SigAS_AAC2可以替换为第二消息鉴别码MICAS_AAC2,其中,MICAS_AAC2是AS-AAC利用与AS-REQ的预共享密钥,采用与AS-REQ约定的杂凑算法对包括AS-AACVeri中MICAS_AAC2之前的其他字段计算的杂凑值;则S509中AS-REQ验证SigAS_AAC2替换为验证MICAS_AAC2。S513、S514中的第三数字签名SigAS_REQ3可以替换为第三消息鉴别码MICAS_REQ3,其中,MICAS_REQ3是AS-REQ利用与AS-AAC的预共享密钥,采用与AS-AAC约定的杂凑算法对包括AS-REQVeri中的IDAAC、NonceAAC、PubREQ⊕NonceREQPub在内的字段计算的杂凑值;则S515中AS-AAC验证SigAS_REQ3替换为验证MICAS_REQ3。It should be noted that (1), the operation of verifying SigREQ in S521 can also be changed to be executed first in S513, wherein SigREQ can be passed to AS-REQ through AACVeri of S506 and AS-AACVeri of S508, then in S513 , AS-REQ also uses CertREQ to verify SigREQ , and then performs subsequent operations after the verification is passed. In this case, the AAC no longer verifies the SigREQ in S521, and the CertREQ may not be included in the PubREQ at this time. (2) The second digital signature SigAS_AAC2 in S507 and S508 can be replaced with the second message authentication code MICAS_AAC2 , wherein MICAS_AAC2 is that AS-AAC utilizes the pre-shared key with AS-REQ, adopts the pre-shared key with AS-REQ The hash value calculated by the agreed hash algorithm for other fields including the MICAS_AAC2 in the AS-AACVeri; then the AS-REQ verification SigAS_AAC2 in S509 is replaced by the verification MICAS_AAC2 . The third digital signature SigAS_REQ3 in S513 and S514 can be replaced with the third message authentication code MICAS_REQ3 , wherein MICAS_REQ3 is the hash algorithm agreed with AS-AAC by AS-REQ using the pre-shared key with AS-AAC The hash value calculated for the fields including IDAAC , NonceAAC , and PubREQ ⊕ NonceREQPub in AS-REQVeri; then in S515, the AS-AAC verification SigAS_REQ3 is replaced by the verification MICAS_REQ3 .
参见图6,为上述(四)情况下一种身份鉴别方法的实施例,在该实施例中,REQ和AAC之间的消息加密密钥协商过程被并行地融合到了身份鉴别过程中,更便于工程实施。该身份鉴别方法包括:Referring to FIG. 6, it is an embodiment of an identity authentication method in the above-mentioned (4) situation. In this embodiment, the message encryption key negotiation process between REQ and AAC is merged into the identity authentication process in parallel, which is more convenient Project implementation. The identification method includes:
S601、AAC生成NonceAAC和KeyInfoAAC,根据需要生成Security capabilitiesAAC。S601, AAC generates NonceAAC and KeyInfoAAC , and generates Security capabilitiesAAC as required.
S602、AAC向REQ发送密钥请求消息AACInit。S602. The AAC sends a key request message AACInit to the REQ.
所述AACInit中包括NonceAAC、KeyInfoAAC、Security capabilitiesAAC和IDAS_AAC。其中,Security capabilitiesAAC和IDAS_AAC为可选字段。The AACInit includes NonceAAC , KeyInfoAAC , Security capabilitiesAAC and IDAS_AAC . Among them, Security capabilitiesAAC and IDAS_AAC are optional fields.
S603、REQ接收到AACInit后,执行下述操作,包括:S603. After REQ receives AACInit, the following operations are performed, including:
(1)、生成NonceREQ、NonceREQID、NonceREQPub和KeyInfoREQ;(1), generate NonceREQ , NonceREQID , NonceREQPub and KeyInfoREQ ;
(2)、根据需要生成IDAS_REQ和Security capabilitiesREQ;(2), generate IDAS_REQ and Security capabilitiesREQ as needed;
(3)、根据包括KeyInfoREQ对应的临时私钥和KeyInfoAAC所包括的临时公钥进行密钥交换计算生成第一密钥K1,将K1结合NonceAAC、NonceREQ及其他信息(REQ和AAC采用的其他信息是相同的且可选的,譬如特定字符串等)利用协商的或预置的密钥导出算法计算消息加密密钥和消息完整性校验密钥;当然,本步骤也可以移至在后续需要使用消息加密密钥、消息完整性校验密钥时再执行;(3), according to including the temporary private key corresponding to KeyInfoREQ and the temporary public key included in KeyInfoAAC , perform key exchange calculation to generate the first key K1, combine K1 with NonceAAC , NonceREQ and other information (REQ and AAC adopt other information is the same and optional, such as specific strings, etc.) use the negotiated or preset key derivation algorithm to calculate the message encryption key and the message integrity check key; of course, this step can also be moved to Execute when the message encryption key and message integrity check key need to be used later;
(4)、利用加密证书的公钥计算EncPubAS_REQ;(4), utilize the public key of encryption certificate to calculate EncPubAS_REQ ;
(5)、计算REQ的数字签名SigREQ。(5), calculate the digital signature Sig REQ ofREQ .
S604、REQ向AAC发送身份密文消息REQInit。S604. REQ sends an identity ciphertext message REQInit to the AAC.
所述REQInit中包括NonceAAC、NonceREQ、Security capabilitiesREQ、KeyInfoREQ、IDAS_REQ、EncPubAS_REQ及SigREQ。其中,NonceAAC应等于AACInit中的相应字段;SecuritycapabilitiesREQ和IDAS_REQ为可选字段;EncPubAS_REQ的加密数据包括IDREQ、CertREQ、NonceREQID和NonceREQPub;SigREQ的签名数据包括REQInit中SigREQ之前的其他字段,例如包括NonceAAC、NonceREQ、Security capabilitiesREQ、KeyInfoREQ、IDAS_REQ及EncPubAS_REQ。The REQInit includes NonceAAC , NonceREQ , Security capabilitiesREQ , KeyInfoREQ , IDAS_REQ , EncPubAS_REQ and SigREQ . Wherein, NonceAAC should be equal to the corresponding field in AACInit; SecuritycapabilitiesREQ and IDAS_REQ are optional fields; EncPubAS_REQ encrypted data includes IDREQ , CertREQ , NonceREQID and NonceREQPub ; SigREQ signature data includes SigREQ in REQInit Other fields before, for example, include NonceAAC , NonceREQ , Security capabilitiesREQ , KeyInfoREQ , IDAS_REQ and EncPubAS_REQ .
S605、AAC接收到REQInit后,执行下述操作,包括:S605. After receiving REQInit, the AAC performs the following operations, including:
(1)、检查REQInit中的NonceAAC与AAC生成的NonceAAC是否一致,若不一致,则丢弃REQInit;(1) Check whether the NonceAAC in REQInit is consistent with the Nonce AAC generated byAAC , if not, discard REQInit;
(2)、根据包括所述KeyInfoAAC对应的临时私钥和所述KeyInfoREQ所包括的临时公钥进行密钥交换计算生成第一密钥K1,将K1结合NonceAAC、NonceREQ及其他信息(AAC和REQ采用的其他信息是相同的且可选的,譬如特定字符串等)利用协商的或预置的密钥导出算法计算消息加密密钥和消息完整性校验密钥;(2), according to including the temporary private key corresponding to the KeyInfoAAC and the temporary public key included in the KeyInfoREQ , perform key exchange calculation to generate the first key K1, combine K1 with NonceAAC , NonceREQ and other information ( Other information used by AAC and REQ is the same and optional, such as a specific character string, etc.) using the negotiated or preset key derivation algorithm to calculate the message encryption key and the message integrity check key;
(3)、利用加密证书的公钥计算EncPubAS_AAC;(3), utilize the public key of encryption certificate to calculate EncPubAS_AAC ;
(4)、计算生成MICAAC;(4), calculate and generate MICAAC ;
(5)、确定参与身份鉴别的AS-AAC的过程同图5实施例相关内容。(5) The process of determining the AS-AAC participating in the identity authentication is the same as the related content of the embodiment in FIG. 5 .
S606、AAC向AS-AAC发送第一鉴别请求消息AACVeri。S606. The AAC sends a first authentication request message AACVeri to the AS-AAC.
所述AACVeri中包括REQInit、EncPubAS_AAC、NonceAAC和MICAAC。其中,EncPubAS_AAC是AAC利用加密证书的公钥对包括IDAAC、NonceAACID、NonceAACPub在内的信息加密生成的;MICAAC是AAC利用与AS-AAC的预共享密钥KAAC_AS,采用与AS-AAC约定的杂凑算法对AACVeri中MICAAC之前的其他字段计算的杂凑值。The AACVeri includes REQInit, EncPubAS_AAC , NonceAAC and MICAAC . Among them, EncPubAS_AAC is generated by AAC using the public key of the encryption certificate to encrypt information including IDAAC , NonceAACID , NonceAACPub ; MICAAC is AAC using the pre-shared key KAAC_AS with AS-AAC, using the same AS-AAC pre-shared key K AAC_AS. - The hash value calculated by the hash algorithm of the AAC convention for other fields before the MICAAC in AACVeri.
S607、AS-AAC向CS-DEC发送第二解密请求消息AS-AACReq。S607. The AS-AAC sends the second decryption request message AS-AACReq to the CS-DEC.
所述AS-AACReq中包括EncPubAS_AAC。The AS-AACReq includes EncPubAS_AAC .
S608、CS-DEC利用加密证书对应的私钥解密EncPubAS_AAC得到IDAAC、NonceAACPub和NonceAACID。S608 , CS-DEC decrypts EncPubAS_AAC by using the private key corresponding to the encryption certificate to obtain IDAAC , NonceAACPub and NonceAACID .
S609、CS-DEC向AS-AAC发送第二解密响应消息CS-DECRep。S609. The CS-DEC sends the second decryption response message CS-DECRep to the AS-AAC.
所述CS-DECRep中包括IDAAC、NonceAACPub和NonceAACID。The CS-DECRep includes IDAAC , NonceAACPub and NonceAACID .
S610、AS-AAC接收到CS-DECRep后,执行下述操作,包括:S610. After receiving the CS-DECRep, the AS-AAC performs the following operations, including:
(1)、验证MICAAC得到ResAAC,根据包括ResAAC和IDAAC在内的信息生成PubAAC;验证过程参见图4实施例中相关内容;(1), verify MICAAC to obtain ResAAC , generate PubAAC according to the information including ResAAC and IDAAC ; The verification process is referring to the relevant content in the embodiment of Fig. 4;
(2)、利用NonceAACID对IDAAC进行异或运算得到IDAAC⊕NonceAACID,利用NonceAACPub对PubAAC进行异或运算得到PubAAC⊕NonceAACPub,(2), use NonceAACID to perform XOR operation on IDAAC to obtain IDAAC ⊕NonceAACID , and use NonceAACPub to perform XOR operation on PubAAC to obtain PubAAC ⊕NonceAACPub ,
(3)、计算第二数字签名SigAS_AAC2。(3), calculate the second digital signature SigAS_AAC2 .
S611、AS-AAC向AS-REQ发送第二鉴别请求消息AS-AACVeri。S611. AS-AAC sends a second authentication request message AS-AACVeri to AS-REQ.
所述AS-AACVeri中包括REQInit、IDAAC⊕NonceAACID、PubAAC⊕NonceAACPub和SigAS_AAC2。其中,SigAS_AAC2的签名数据包括AS-AACVeri中SigAS_AAC2之前的其他字段。The AS-AACVeri includes REQInit, IDAAC ⊕NonceAACID , PubAAC ⊕Nonce AACPub and SigAS_AAC2 . The signature data of SigAS_AAC2 includes other fields before SigAS_AAC2 in AS-AACVeri.
S612、AS-REQ接收到AS-AACVeri后,利用AS-AAC的公钥验证SigAS_AAC2。S612. After receiving the AS-AACVeri, the AS-REQ uses the public key of the AS-AAC to verify the SigAS_AAC2 .
若验证通过,则执行S613。If the verification is passed, execute S613.
S613、AS-REQ向CS-DEC发送第一解密请求消息AS-REQReq。S613. The AS-REQ sends the first decryption request message AS-REQReq to the CS-DEC.
所述AS-REQReq中包括EncPubAS_REQ。The AS-REQReq includes EncPubAS_REQ .
S614、CS-DEC利用加密证书对应的私钥解密EncPubAS_REQ得到IDREQ、CertREQ、NonceREQID和NonceREQPub。S614, CS-DEC decrypts EncPubAS_REQ by using the private key corresponding to the encrypted certificate to obtain IDREQ , CertREQ , NonceREQID and NonceREQPub .
S615、CS-DEC向AS-REQ发送第一解密响应消息CS-DECRep。S615. The CS-DEC sends the first decryption response message CS-DECRep to the AS-REQ.
所述CS-DECRep中包括IDREQ、CertREQ、NonceREQID和NonceREQPub。The CS-DECRep includes IDREQ , CertREQ , NonceREQID and NonceREQPub .
S616、AS-REQ接收到CS-DECRep后,执行下述操作,包括:S616. After receiving the CS-DECRep, the AS-REQ performs the following operations, including:
(1)、利用CertREQ验证SigREQ,若验证不通过,则丢弃CS-DECRep;(1), use CertREQ to verify SigREQ , if the verification fails, then discard CS-DECRep;
(2)、验证CertREQ的合法性得到ResREQ,根据包括ResREQ在内的信息生成PubREQ;(2), verify the legitimacy of CertREQ to obtain ResREQ , and generate PubREQ according to the information including Res REQ;
(3)、利用NonceREQID对IDREQ进行异或运算得到IDREQ⊕NonceREQID,利用NonceREQPub对PubREQ进行异或运算得到PubREQ⊕NonceREQPub;(3), utilize NonceREQID to carry out XOR operation to IDREQ to obtain IDREQ ⊕NonceREQID , utilize NonceREQPub to carry out XOR operation to PubREQ to obtain PubREQ ⊕NonceREQPub ;
(4)、计算生成第一数字签名SigAS_REQ1和第三数字签名SigAS_REQ3。(4) Calculate and generate the first digital signature SigAS_REQ1 and the third digital signature SigAS_REQ3 .
S617、AS-REQ向AS-AAC发送第二鉴别响应消息AS-REQVeri。S617. The AS-REQ sends the second authentication response message AS-REQVeri to the AS-AAC.
所述AS-REQVeri包括IDREQ⊕NonceREQID、NonceREQ、PubAAC⊕NonceAACPub、SigAS_REQ1、IDAAC⊕NonceAACID、NonceAAC、PubREQ⊕NonceREQPub和SigAS_REQ3,其中,SigAS_REQ1的签名数据包括IDREQ⊕NonceREQID、NonceREQ和PubAAC⊕NonceAACPub,SigAS_REQ3的签名数据包括IDAAC⊕NonceAACID、NonceAAC和PubREQ⊕NonceREQPub。The AS-REQVeri includes IDREQ ⊕ NonceREQID , NonceREQ , PubAAC ⊕ NonceAACPub , SigAS_REQ1 , IDAAC ⊕ NonceAACID , NonceAAC , PubREQ ⊕ NonceREQPub and SigAS_REQ3 , wherein the signature data of SigAS_REQ1 includes IDREQ ⊕NonceREQID , NonceREQ and PubAAC ⊕NonceAACPub , the signature data of SigAS_REQ3 includes IDAAC ⊕NonceAACID , NonceAAC and PubREQ ⊕NonceREQPub .
S618、AS-AAC接收到AS-REQVeri后,执行下述操作,包括:S618. After the AS-AAC receives the AS-REQVeri, it performs the following operations, including:
(1)、利用AS-REQ的公钥验证SigAS_REQ3;若验证不通过,则丢弃AS-REQVeri;(1), utilize the public key of AS-REQ to verify SigAS_REQ3 ; If the verification fails, then discard AS-REQVeri;
(2)、计算AS-AAC的第一消息鉴别码MICAS_AAC。(2) Calculate the first message authentication code MICAS_AAC of the AS-AAC.
S619、AS-AAC向AAC发送第一鉴别响应消息ASVeri。S619. The AS-AAC sends a first authentication response message ASVeri to the AAC.
所述ASVeri中包括IDREQ⊕NonceREQID、NonceREQ、PubAAC⊕NonceAACPub、SigAS_REQ1、IDAAC⊕NonceAACID、NonceAAC、PubREQ⊕NonceREQPub和MICAS_AAC。其中,IDREQ⊕NonceREQID、NonceREQ、PubAAC⊕NonceAACPub、SigAS_REQ1、IDAAC⊕NonceAACID、NonceAAC、PubREQ⊕NonceREQPub应分别等于AS-REQVeri中的相应字段;MICAS_AAC是AS-AAC利用所述KAAC_AS,采用与AAC约定的杂凑算法对包括IDAAC⊕NonceAACID、NonceAAC和PubREQ⊕NonceREQPub在内的信息计算的杂凑值。The ASVeri includes IDREQ ⊕ NonceREQID , NonceREQ , PubAAC ⊕ NonceAACPub , SigAS_REQ1 , IDAAC ⊕ NonceAACID , NonceAAC , PubREQ ⊕ NonceREQPub and MICAS_AAC . Among them, IDREQ ⊕NonceREQID , NonceREQ , PubAAC ⊕NonceAACPub , SigAS_REQ1 , IDAAC ⊕NonceAACID , NonceAAC , PubREQ ⊕NonceREQPub should be respectively equal to the corresponding fields in AS-REQVeri; MICAS_AAC is AS- Using the KAAC_AS , AAC uses the hash algorithm agreed with AAC to calculate a hash value for information including IDAAC ⊕NonceAACID , NonceAAC and PubREQ ⊕NonceREQPub .
S620、AAC接收到ASVeri后,执行下述操作,包括:S620. After AAC receives ASVeri, the following operations are performed, including:
(1)、利用NonceAACID对IDAAC⊕NonceAACID进行异或运算恢复IDAAC,检查IDAAC、NonceAAC是否分别与AAC自身的身份标识IDAAC、AAC生成的NonceAAC相同;若不同,则丢弃ASVeri;(1), use NonceAACID to perform XOR operation on IDAAC ⊕ NonceAACID to restore IDAAC , check whether IDAAC and NonceAAC are the same as the NonceAAC generated by AAC's own identity IDAAC and AAC respectively; if they are different, discard them ASVeri;
(2)、验证MICAS_AAC;若验证不通过,则丢弃ASVeri;验证过程参见图4实施例中的相关内容;(2), verify MICAS_AAC ; If verification fails, then discard ASVeri; Verification process refers to the relevant content in the embodiment of Fig. 4;
(3)、利用消息加密密钥计算EncDataAAC;(3), utilize message encryption key to calculate EncDataAAC ;
(4)、计算MacTagAAC。(4), calculate MacTagAAC .
S621、AAC向REQ发送第三鉴别响应消息AACAuth。S621. AAC sends a third authentication response message AACAuth to REQ.
所述AACAuth中包括NonceAAC、NonceREQ、EncDataAAC和MacTagAAC。其中,NonceREQ和NonceAAC为可选字段,且应分别等于REQInit中的NonceREQ和AAC生成的NonceAAC;EncDataAAC是AAC利用消息加密密钥,采用对称加密算法对包括IDREQ⊕NonceREQID、NonceREQ、PubAAC⊕NonceAACPub、NonceAACPub、SigAS_REQ1和IDAAC在内的加密数据加密生成的;MacTagAAC的计算方式如图3实施例中相关描述。The AACAuth includes NonceAAC , NonceREQ , EncDataAAC and MacTagAAC . Among them, NonceREQ and NonceAAC are optional fields, and should be equal to the Nonce AAC generated by NonceREQ andAAC in REQInit respectively; EncDataAAC is AAC using a message encryption key, using a symmetric encryption algorithm to include IDREQ ⊕ NonceREQID , The encrypted data including NonceREQ , PubAAC ⊕ NonceAACPub , NonceAACPub , SigAS_REQ1 and IDAAC are encrypted and generated; the calculation method of MacTagAAC is described in the embodiment of FIG. 3 .
S622、REQ接收到AACAuth后,执行下述操作,包括:S622. After receiving the AACAuth, REQ performs the following operations, including:
(1)、若AACAuth中存在NonceREQ和/或NonceAAC,则检查NonceREQ是否与REQ生成的NonceREQ相同,和/或,检查NonceAAC是否与AACInit中的NonceAAC相同;(1) If there is NonceREQ and/or NonceAAC in AACAuth, check whether the NonceREQ is the same as the NonceREQ generated by REQ, and/or, check whether the NonceAAC is the same as the NonceAAC in AACInit;
(2)、验证MacTagAAC;验证过程如图3实施例中相关描述;(2), verify MacTagAAC ; The verification process is described in the relevant description in the embodiment of Fig. 3;
(3)、利用消息加密密钥解密EncDataAAC得到IDREQ⊕NonceREQID、NonceREQ、PubAAC⊕NonceAACPub、NonceAACPub、SigAS_REQ1和IDAAC;(3), decrypt EncDataAAC with message encryption key to obtain IDREQ ⊕ NonceREQID , NonceREQ , PubAAC ⊕ NonceAACPub , NonceAACPub , SigAS_REQ1 and IDAAC ;
(4)、利用NonceREQID对IDREQ⊕NonceREQID进行异或运算恢复IDREQ,利用NonceAACPub对PubAAC⊕NonceAACPub进行异或运算恢复PubAAC;(4), utilize NonceREQID to carry out XOR operation to IDREQ ⊕ NonceREQID to restore IDREQ , and utilize NonceAACPub to carry out XOR operation to PubAAC ⊕ NonceAACPub to restore PubAAC ;
(5)、检查IDREQ、NonceREQ是否分别与REQ自身的身份标识IDREQ、REQ生成的NonceREQ相同;(5), check whether IDREQ and NonceREQ are the same as the NonceREQ generated by REQ's own identity IDREQ and REQ respectively;
(6)、检查PubAAC中的IDAAC是否与解密得到的IDAAC一致;(6), check whether the IDAAC in the PubAAC is consistent with the IDAAC obtained by decryption;
(7)、利用AS-REQ的公钥验证SigAS_REQ1;(7), utilize the public key of AS-REQ to verify SigAS_REQ1 ;
(8)、上述检查与验证中任一步不通过,则立即丢弃AACAuth;上述检查和验证均通过后,根据PubAAC中的ResAAC确定AAC的身份鉴别结果;若AAC为不合法,则结束本次鉴别过程;(8) If any one of the above checks and verifications fails, AACAuth will be discarded immediately; after all the above checks and verifications are passed, the identity authentication result of AAC will be determined according to ResAAC in PubAAC ; secondary identification process;
(9)、利用消息加密密钥计算生成EncDataREQ;计算生成MacTagREQ。(9), utilize the message encryption key to calculate and generate EncDataREQ ; calculate and generate MacTagREQ .
S623、REQ向AAC发送第四鉴别响应消息REQAuth。S623. REQ sends a fourth authentication response message REQAuth to the AAC.
所述REQAuth中包括NonceAAC、NonceREQ、EncDataREQ和MacTagREQ。其中,NonceAAC和NonceREQ为可选字段,且应分别等于AACInit中的NonceAAC和REQ生成的NonceREQ;EncDataREQ的加密数据包括NonceREQPub;MacTagREQ的计算过程如图3实施例中相关描述。The REQAuth includes NonceAAC , NonceREQ , EncDataREQ and MacTagREQ . Wherein, NonceAAC and NonceREQ are optional fields, and should be equal to the Nonce REQ generated by NonceAAC andREQ in AACInit respectively; The encrypted data of EncDataREQ includes NonceREQPub ; The calculation process of MacTagREQ is described in relation to the embodiment as shown in Figure 3 .
S624、AAC接收到REQAuth后,执行下述操作,包括:S624. After receiving REQAuth, AAC performs the following operations, including:
(1)、若REQAuth中存在NonceAAC和/或NonceREQ,则检查NonceAAC和AAC生成的NonceAAC是否相同,和/或,检查NonceREQ是否与REQInit中的NonceREQ相同;(1) If there is NonceAAC and/or NonceREQ in REQAuth, check whether NonceAAC and Nonce AAC generated byAAC are the same, and/or, check whether NonceREQ is the same as NonceREQ in REQInit;
(2)、验证MacTagREQ;验证过程如图3实施例中相关描述;(2), verify MacTagREQ ; The verification process is described in relation to the embodiment as shown in Figure 3;
(3)、利用消息加密密钥解密EncDataREQ得到NonceREQPub;(3), utilize message encryption key to decrypt EncDataREQ to obtain NonceREQPub ;
(4)、利用NonceREQPub对PubREQ⊕NonceREQPub进行异或运算恢复PubREQ;(4), utilize NonceREQPub to carry out XOR operation to PubREQ ⊕ NonceREQPub to restore PubREQ ;
(5)、上述检查及验证均通过,则根据PubREQ中的ResREQ确定REQ的身份鉴别结果;上述检查与验证中任一步不通过,则立即丢弃REQAuth。(5) If the above checks and verifications are all passed, the identity authentication result of REQ is determined according to the ResREQ in the PubREQ ; if any step of the above checks and verifications fails, REQAuth is immediately discarded.
由此,在S622和S624分别实现了漫游情况下对AAC和对REQ的身份鉴别,即实现REQ和AAC的双向身份鉴别,并且REQ和AAC的鉴别结果全程以密文传输,实现了REQ和AAC的身份保护。Thus, in S622 and S624, the identity authentication of the AAC and the REQ in the case of roaming is realized respectively, that is, the bidirectional identity authentication of the REQ and the AAC is realized, and the authentication results of the REQ and AAC are transmitted in cipher text throughout the whole process, realizing the REQ and AAC. identity protection.
需要说明的是,S610、S611中的第二数字签名SigAS_AAC2可以替换为第二消息鉴别码MICAS_AAC2,其中,MICAS_AAC2是AS-AAC利用与AS-REQ的预共享密钥,采用与AS-REQ约定的杂凑算法对包括AS-AACVeri中MICAS_AAC2之前的其他字段计算的杂凑值;则S612中AS-REQ验证SigAS_AAC2替换为验证MICAS_AAC2。S616、S617中的第三数字签名SigAS_REQ3可以替换为第三消息鉴别码MICAS_REQ3,其中,MICAS_REQ3是AS-REQ利用与AS-AAC的预共享密钥,采用与AS-AAC约定的杂凑算法对包括AS-REQVeri中的IDAAC⊕NonceAACID、NonceAAC和PubREQ⊕NonceREQPub在内的字段计算的杂凑值;则S618中AS-AAC验证SigAS_REQ3替换为验证MICAS_REQ3。It should be noted that the second digital signature SigAS_AAC2 in S610 and S611 can be replaced with the second message authentication code MICAS_AAC2 , where MICAS_AAC2 is the pre-shared key used by AS-AAC with AS-REQ, and the The hash algorithm agreed by REQ includes the hash value calculated by other fields before MICAS_AAC2 in AS-AACVeri; then the AS-REQ verification SigAS_AAC2 in S612 is replaced by the verification MICAS_AAC2 . The third digital signature SigAS_REQ3 in S616 and S617 can be replaced with a third message authentication code MICAS_REQ3 , wherein MICAS_REQ3 is the hash algorithm agreed with AS-AAC by AS-REQ using the pre-shared key with AS-AAC The hash value calculated for the fields including IDAAC ⊕ NonceAACID , NonceAAC and PubREQ ⊕ NonceREQPub in AS-REQVeri; then in S618 the AS-AAC verification SigAS_REQ3 is replaced by the verification MICAS_REQ3 .
在上述各实施例中,每条消息还可以携带一个杂凑值HASHX_Y,该杂凑值HASHX_Y是该消息的发送方实体X利用杂凑算法对接收到的对端实体Y发送的最新前序消息计算得到的,用于对端实体Y来验证实体X是否接收到完整的最新前序消息。其中,HASHREQ_AAC表示REQ对接收到的AAC发送的最新前序消息计算的杂凑值,HASHAAC_REQ表示AAC对接收到的REQ发送的最新前序消息计算的杂凑值,HASHAAC_AS-AAC表示AAC对接收到的AS-AAC发送的最新前序消息计算的杂凑值,HASHAS-AAC_AAC表示AS-AAC对接收到的AAC发送的最新前序消息计算的杂凑值,HASHAS-AAC_AS-REQ表示AS-AAC对接收到的AS-REQ发送的最新前序消息计算的杂凑值,HASHAS-REQ_AS-AAC表示AS-REQ对接收到的AS-AAC发送的最新前序消息计算的杂凑值。若发送方实体X当前发送的消息为实体X和实体Y之间交互的首条消息,意味着实体X未曾收到对端实体Y发送的前序消息,则该条消息中HASHX_Y可以不存在或者无意义。In each of the above embodiments, each message may also carry a hash value HASHX_Y , and the hash value HASHX_Y is calculated by the sender entity X of the message using the hash algorithm on the latest pre-order message sent by the peer entity Y received. obtained, which is used by the peer entity Y to verify whether the entity X has received the complete latest pre-order message. Among them, HASHREQ_AAC represents the hash value calculated by REQ on the latest pre-order message sent by the received AAC, HASHAAC_REQ represents the hash value calculated by AAC on the latest pre-order message sent by the received REQ, and HASHAAC_AS-AAC represents the hash value calculated by AAC on the received Hash value calculated by the latest pre-order message sent by the received AS-AAC, HASHAS-AAC_AAC represents the hash value calculated by AS-AAC for the latest pre-order message sent by the received AAC, HASHAS-AAC_AS-REQ represents the AS-AAC Hash value calculated for the latest pre-order message sent by AS-REQ received, HASHAS-REQ_AS-AAC indicates the hash value calculated by AS-REQ for the latest pre-order message sent by AS-AAC received. If the message currently sent by the sender entity X is the first message in the interaction between entity X and entity Y, it means that entity X has not received the pre-order message sent by the peer entity Y, then HASHX_Y may not exist in the message or meaningless.
对应的,对端实体Y接收到实体X发送的消息后,若该条消息中包含HASHX_Y,则当实体Y未曾向实体X发送过前序消息时,实体Y忽略HASHX_Y;当实体Y曾向实体X发送过前序消息时,实体Y利用杂凑算法对之前向实体X发送的最新前序消息在本地计算杂凑值,并与接收到的消息中携带的杂凑值HASHX_Y比较,若一致,则执行后续步骤,否则丢弃或者结束本次鉴别过程。Correspondingly, after the peer entity Y receives the message sent by the entity X, if the message contains HASHX_Y , then when the entity Y has not sent the preorder message to the entity X, the entity Y ignores the HASHX_Y ; When sending a pre-order message to entity X, entity Y uses the hash algorithm to calculate the hash value locally for the latest pre-order message previously sent to entity X, and compares it with the hash value HASHX_Y carried in the received message. Then execute the following steps, otherwise discard or end the current authentication process.
本发明中,对实体X而言,对端实体Y向实体X发送的前序消息指的是:实体X向对端实体Y发送消息M之前,接收过的对端实体Y向实体X发送的消息;对端实体Y向实体X发送的最新前序消息指的是:实体X向对端实体Y发送消息M之前,接收的对端实体Y向实体X发送的最新一条消息。若实体X向其对端实体Y发送的消息M是实体X和实体Y之间交互的第一条消息,则实体X向其对端实体Y发送消息M之前,不存在对端实体Y向实体X发送的前序消息。In the present invention, for the entity X, the pre-order message sent by the peer entity Y to the entity X refers to the received message M sent by the peer entity Y to the entity X before the entity X sends the message M to the peer entity Y. Message; the latest pre-order message sent by peer entity Y to entity X refers to the latest message sent by peer entity Y to entity X before entity X sends message M to peer entity Y. If the message M sent by entity X to its peer entity Y is the first message exchanged between entity X and entity Y, then there is no peer entity Y to the entity before entity X sends message M to its peer entity Y The preorder message sent by X.
上述图3至图6所对应实施例中的可选字段和可选操作,在说明书附图的图3至图6中用“*”表示。以上所有实施例涉及的消息中所包括的各个内容不限定顺序,并且在没有特别说明的情况下,不限定消息接收方收到消息后对相关消息的操作顺序以及对消息中所包括的内容进行处理的顺序。The optional fields and optional operations in the embodiments corresponding to FIG. 3 to FIG. 6 are represented by “*” in FIG. 3 to FIG. 6 of the accompanying drawings. The contents included in the messages involved in all the above embodiments are not limited in order, and unless otherwise specified, the order of operations performed by the message receiver on the related messages after receiving the message and the content included in the message are not limited. order of processing.
基于图1至图6所对应的方法实施例,参见图7,本申请实施例还提供了一种请求设备700,包括:Based on the method embodiments corresponding to FIGS. 1 to 6 , and referring to FIG. 7 , an embodiment of the present application further provides a requesting
加密模块710,用于利用加密证书的公钥对包括所述请求设备的身份信息和所述请求设备的第一身份密钥在内的信息加密生成第一身份信息密文,所述请求设备的身份信息包括所述请求设备的数字证书,所述第一身份密钥包括第二密钥;The
发送模块720,用于向鉴别接入控制器发送身份密文消息,所述身份密文消息包括所述第一身份信息密文;A sending
接收模块730,用于接收所述鉴别接入控制器发送的第三鉴别响应消息,所述第三鉴别响应消息中包括身份鉴别结果信息密文,所述身份鉴别结果信息密文是所述鉴别接入控制器利用消息加密密钥对包括第一鉴别结果信息和第一数字签名在内的加密数据加密生成的;所述第一鉴别结果信息中包括对所述鉴别接入控制器的第一验证结果,所述第一数字签名是所述请求设备信任的第二鉴别服务器对包括所述第一鉴别结果信息在内的签名数据计算生成的数字签名;A receiving
解密模块740,用于利用所述消息加密密钥解密所述身份鉴别结果信息密文得到所述第一鉴别结果信息和所述第一数字签名;A
验证模块750,用于利用所述第二鉴别服务器的公钥对所述第一数字签名进行验证,若验证通过,则确定模块760根据所述第一鉴别结果信息中的第一验证结果确定所述鉴别接入控制器的身份鉴别结果;当确定模块760确定所述鉴别接入控制器的身份鉴别结果为合法时,发送模块720向所述鉴别接入控制器发送第四鉴别响应消息;或者,The
验证模块750用于利用所述第二鉴别服务器的公钥对所述第一数字签名进行验证,若验证通过,则发送模块720向所述鉴别接入控制器发送第四鉴别响应消息以及确定模块760根据所述第一鉴别结果信息中的第一验证结果确定所述鉴别接入控制器的身份鉴别结果;或者,The
验证模块750用于利用所述第二鉴别服务器的公钥对所述第一数字签名进行验证;若所述第一数字签名验证通过,则确定模块760根据所述第一鉴别结果信息中的第一验证结果确定所述鉴别接入控制器的身份鉴别结果;发送模块720向所述鉴别接入控制器发送第四鉴别响应消息;The
其中,所述第四鉴别响应消息包括第二密钥密文,所述第二密钥密文是加密模块710利用消息加密密钥对包括所述第二密钥在内的信息加密生成的。The fourth authentication response message includes a second key ciphertext, and the second key ciphertext is generated by the
可选的,接收模块730还用于:在发送模块720发送身份密文消息之前,接收所述鉴别接入控制器发送的密钥请求消息,所述密钥请求消息中包括所述鉴别接入控制器的密钥交换参数;所述请求设备还包括:Optionally, the receiving
计算模块,用于根据包括所述请求设备的密钥交换参数对应的临时私钥和所述鉴别接入控制器的密钥交换参数所包括的临时公钥进行密钥交换计算生成第一密钥,根据包括所述第一密钥在内的信息利用密钥导出算法计算所述消息加密密钥;A calculation module, configured to perform key exchange calculation and generate a first key according to the temporary private key corresponding to the key exchange parameter of the requesting device and the temporary public key included in the key exchange parameter of the authentication access controller , calculate the message encryption key by using a key derivation algorithm according to the information including the first key;
则所述身份密文消息中还包括所述请求设备的密钥交换参数。Then, the identity ciphertext message also includes the key exchange parameter of the requesting device.
可选的,所述密钥请求消息中还包括所述鉴别接入控制器生成的第一随机数;则所述计算模块具体用于:根据包括所述第一密钥、所述第一随机数和所述请求设备生成的第二随机数在内的信息计算所述消息加密密钥;对应的,所述身份密文消息中还包括所述第二随机数。Optionally, the key request message further includes a first random number generated by the authentication access controller; then the calculation module is specifically configured to: The message encryption key is calculated using information including the number and the second random number generated by the requesting device; correspondingly, the identity ciphertext message also includes the second random number.
可选的,所述密钥请求消息中还包括所述鉴别接入控制器支持的安全能力参数信息;确定模块760还用于根据所述安全能力参数信息确定所述请求设备使用的特定安全策略;则所述身份密文消息中还包括所述特定安全策略。Optionally, the key request message further includes security capability parameter information supported by the authentication access controller; the determining
可选的,所述密钥请求消息中还包括所述鉴别接入控制器信任的至少一个鉴别服务器的身份标识;则确定模块760还用于根据所述鉴别接入控制器信任的至少一个鉴别服务器的身份标识,确定所述请求设备信任的至少一个鉴别服务器的身份标识;则所述身份密文消息中还包括所述请求设备信任的至少一个鉴别服务器的身份标识。Optionally, the key request message also includes the identity of at least one authentication server trusted by the authentication access controller; then the determining
可选的,发送模块720发送的身份密文消息中还包括所述请求设备信任的至少一个鉴别服务器的身份标识。Optionally, the identity ciphertext message sent by the sending
可选的,所述请求设备的身份信息还包括所述请求设备的身份标识;所述第一身份密钥还包括第三密钥;则所述第一鉴别响应消息中还包括所述请求设备的身份标识密文;所述请求设备的身份标识密文是利用所述第三密钥对包括所述请求设备的身份标识在内的信息加密生成的;Optionally, the identity information of the requesting device further includes the identity of the requesting device; the first identity key further includes a third key; then the first authentication response message also includes the requesting device The identity ciphertext of the requesting device; the identity ciphertext of the requesting device is generated by using the third key to encrypt the information including the identity of the requesting device;
所述第三鉴别响应消息中的身份鉴别结果信息密文的加密数据还包括所述请求设备的身份标识密文;所述解密模块解密所述身份鉴别结果信息密文还得到所述请求设备的身份标识密文;The encrypted data of the ciphertext of the identity authentication result information in the third authentication response message also includes the ciphertext of the identity identification of the requesting device; the decryption module decrypts the ciphertext of the identity authentication result information and obtains the ciphertext of the requesting device. ID ciphertext;
则在确定模块760确定所述鉴别接入控制器的身份鉴别结果之前,验证模块750还用于根据所述请求设备自身的身份标识和所述第三密钥对所述请求设备的身份标识密文进行验证。Then, before the
可选的,接收模块730接收的第三鉴别响应消息中还包括第一消息完整性校验码;则在确定模块760确定所述鉴别接入控制器的身份鉴别结果之前,验证模块750还用于利用消息完整性校验密钥对所述第一消息完整性校验码进行验证;其中,所述消息完整性校验密钥与所述消息加密密钥的生成方式相同。Optionally, the third authentication response message received by the receiving
可选的,发送模块720发送的第四鉴别响应消息中还包括第二消息完整性校验码,所述第二消息完整性校验码是所述请求设备利用消息完整性校验密钥对包括所述第四鉴别响应消息中除所述第二消息完整性校验码外的其他字段计算生成的;其中,所述消息完整性校验密钥与所述消息加密密钥的生成方式相同。Optionally, the fourth authentication response message sent by the sending
可选的,所述第一鉴别结果信息是利用所述第四密钥对包括所述鉴别接入控制器的第一验证结果在内的信息加密生成的;所述第三鉴别响应消息中的身份鉴别结果信息密文的加密数据还包括所述第四密钥;Optionally, the first authentication result information is generated by encrypting the information including the first authentication result of the authentication access controller by using the fourth key; The encrypted data of the ciphertext of the identity authentication result information also includes the fourth key;
则解密模块740解密所述身份鉴别结果信息密文还得到所述第四密钥,解密模块740还用于利用所述第四密钥解密所述第一鉴别结果信息得到第一验证结果。Then, the
可选的,所述请求设备向所述鉴别接入控制器发送的消息还包括所述请求设备对接收到的所述鉴别接入控制器发送的最新前序消息计算的杂凑值。Optionally, the message sent by the requesting device to the authentication access controller further includes a hash value calculated by the requesting device on the received latest pre-order message sent by the authentication access controller.
参见图8,本申请实施例还提供了一种鉴别接入控制器800,包括:Referring to FIG. 8, an embodiment of the present application further provides an
接收模块810,用于接收请求设备发送的身份密文消息,所述身份密文消息包括第一身份信息密文;所述第一身份信息密文是所述请求设备利用加密证书的公钥对包括所述请求设备的身份信息和所述请求设备的第一身份密钥在内的信息加密生成的;所述请求设备的身份信息包括所述请求设备的数字证书;所述第一身份密钥包括第二密钥;The receiving
发送模块820,用于向所述鉴别接入控制器信任的第一鉴别服务器发送第一鉴别请求消息,所述第一鉴别请求消息中包括所述第一身份信息密文和所述鉴别接入控制器的身份鉴别码;所述鉴别接入控制器的身份鉴别码是所述鉴别接入控制器利用与所述第一鉴别服务器的预共享密钥,采用与所述第一鉴别服务器约定的密码算法对包括所述第一身份信息密文在内的信息计算生成的;A sending
接收模块810还用于接收所述第一鉴别服务器发送的第一鉴别响应消息,所述第一鉴别响应消息包括第一鉴别结果信息、所述请求设备信任的第二鉴别服务器的第一数字签名、第二鉴别结果信息密文和所述第一鉴别服务器的第一消息鉴别码;所述第一鉴别结果信息中包括对所述鉴别接入控制器的第一验证结果,所述第一数字签名是所述第二鉴别服务器对包括所述第一鉴别结果信息在内的签名数据计算生成的数字签名,所述第二鉴别结果信息密文是利用所述第二密钥对包括第二鉴别结果信息在内的信息加密生成的,所述第二鉴别结果信息中包括对所述请求设备的数字证书的第二验证结果,所述第一鉴别服务器的第一消息鉴别码是所述第一鉴别服务器利用与所述鉴别接入控制器的预共享密钥,采用与所述鉴别接入控制器约定的密码算法对包括所述第二鉴别结果信息密文在内的信息计算生成的;The receiving
验证模块830,用于利用与所述第一鉴别服务器的预共享密钥,采用与所述第一鉴别服务器约定的密码算法验证所述第一鉴别服务器的第一消息鉴别码;A
发送模块820,还用于若验证通过,向所述请求设备发送第三鉴别响应消息,所述第三鉴别响应消息中包括身份鉴别结果信息密文,所述身份鉴别结果信息密文是所述鉴别接入控制器利用消息加密密钥对包括第一鉴别结果信息和所述第一数字签名在内的加密数据加密生成的;The sending
接收模块810,还用于接收所述请求设备发送的第四鉴别响应消息,所述第四鉴别响应消息包括第二密钥密文,所述第二密钥密文是利用所述消息加密密钥对包括所述第二密钥在内的信息加密生成的;The receiving
解密模块840,用于利用所述消息加密密钥解密所述第二密钥密文得到第二密钥,利用所述第二密钥对所述第二鉴别结果信息密文进行解密得到第二鉴别结果信息;The
确定模块850,用于根据所述第二鉴别结果信息中的第二验证结果确定所述请求设备的身份鉴别结果。The determining
可选的,发送模块820还用于:在接收所述身份密文消息之前,向所述请求设备发送密钥请求消息,所述密钥请求消息中包括所述鉴别接入控制器的密钥交换参数;则所述身份密文消息中还包括所述请求设备的密钥交换参数;所述鉴别接入控制器还包括:Optionally, the sending
计算模块,用于根据包括所述鉴别接入控制器的密钥交换参数对应的临时私钥和所述请求设备的密钥交换参数所包括的临时公钥进行密钥交换计算生成第一密钥,根据包括所述第一密钥在内的信息利用密钥导出算法计算所述消息加密密钥。A calculation module, configured to perform key exchange calculation and generate a first key according to the temporary private key corresponding to the key exchange parameter of the authentication access controller and the temporary public key included in the key exchange parameter of the requesting device , and calculate the message encryption key by using a key derivation algorithm according to the information including the first key.
可选的,所述密钥请求消息中还包括所述鉴别接入控制器生成的第一随机数;对应的,所述身份密文消息中还包括所述请求设备生成的第二随机数;所述计算模块具体用于:根据包括所述第一密钥、所述第一随机数和所述第二随机数在内的信息计算所述消息加密密钥。Optionally, the key request message further includes a first random number generated by the authentication access controller; correspondingly, the identity ciphertext message further includes a second random number generated by the requesting device; The calculation module is specifically configured to calculate the message encryption key according to information including the first key, the first random number and the second random number.
可选的,所述身份密文消息中还包括所述第一随机数;在所述计算模块计算所述消息加密密钥之前,验证模块830还用于对所述身份密文消息中的第一随机数和所述鉴别接入控制器生成的第一随机数的一致性进行验证。Optionally, the identity ciphertext message further includes the first random number; before the computing module calculates the message encryption key, the
可选的,所述密钥请求消息中还包括所述鉴别接入控制器信任的至少一个鉴别服务器的身份标识;对应的,所述身份密文消息中还包括所述请求设备信任的至少一个鉴别服务器的身份标识;确定模块850还用于根据所述身份密文消息中所述请求设备信任的至少一个鉴别服务器的身份标识和所述密钥请求消息中所述鉴别接入控制器信任的至少一个鉴别服务器的身份标识,确定所述第一鉴别服务器。Optionally, the key request message further includes an identity identifier of at least one authentication server trusted by the authentication access controller; correspondingly, the identity ciphertext message also includes at least one authentication server trusted by the requesting device. The identity identifier of the authentication server; the determining
可选的,所述身份密文消息中还包括所述请求设备信任的至少一个鉴别服务器的身份标识;确定模块850还用于根据所述请求设备信任的至少一个鉴别服务器的身份标识和所述鉴别接入控制器信任的鉴别服务器的身份标识,确定所述第一鉴别服务器。Optionally, the identity ciphertext message also includes the identity of the at least one authentication server trusted by the requesting device; the determining
可选的,所述第一鉴别请求消息中还包括所述鉴别接入控制器的身份标识和/或所述鉴别接入控制器生成的第一随机数;对应的,所述第一鉴别响应消息中还包括所述鉴别接入控制器的身份标识和/或所述第一随机数;则验证模块830还用于在发送模块820发送第三鉴别响应消息之前,对所述第一鉴别响应消息中的所述鉴别接入控制器的身份标识和所述鉴别接入控制器自身的身份标识的一致性进行验证;和/或,对所述第一鉴别响应消息中的所述第一随机数和所述鉴别接入控制器生成的第一随机数的一致性进行验证。Optionally, the first authentication request message further includes the identity of the authentication access controller and/or the first random number generated by the authentication access controller; correspondingly, the first authentication response The message also includes the identity of the authentication access controller and/or the first random number; then the
可选的,所述第一鉴别请求消息中还包括第二身份信息密文,所述第二身份信息密文是所述鉴别接入控制器利用加密证书对包括所述鉴别接入控制器的身份标识和所述鉴别接入控制器的第二身份密钥在内的信息加密生成的,所述第二身份密钥包括第四密钥和第五密钥;Optionally, the first authentication request message further includes a ciphertext of second identity information, where the ciphertext of the second identity information is the authentication access controller using an encrypted certificate to pair the authentication access controller with the ciphertext. The identity identifier and the information including the second identity key for identifying the access controller are encrypted and generated, and the second identity key includes a fourth key and a fifth key;
相应的,所述第一鉴别响应消息中还包括所述鉴别接入控制器的身份标识密文;所述第一鉴别结果信息是利用所述第四密钥对包括所述鉴别接入控制器的第一验证结果在内的信息加密生成的;所述鉴别接入控制器的身份标识密文是利用所述第五密钥对包括所述鉴别接入控制器的身份标识在内的信息加密生成的;Correspondingly, the first authentication response message further includes the identity ciphertext of the authentication access controller; the first authentication result information includes the authentication access controller using the fourth key pair. The information including the first verification result of the authentication access controller is encrypted and generated; the ciphertext of the identity identification of the authentication access controller is to use the fifth key to encrypt the information including the identification of the authentication access controller. Generated;
验证模块830还用于:根据所述鉴别接入控制器自身的身份标识和所述第五密钥对所述鉴别接入控制器的身份标识密文进行验证;若验证通过,则发送模块820再向所述请求设备发送第三鉴别响应消息;其中,所述第三鉴别响应消息中的身份鉴别结果信息密文的加密数据还包括所述第四密钥。The
可选的,发送模块820发送的所述第三鉴别响应消息中还包括第一消息完整性校验码,所述第一消息完整性校验码是所述鉴别接入控制器利用消息完整性校验密钥对包括所述第三鉴别响应消息中除所述第一消息完整性校验码外的其他字段计算生成的;其中,所述消息完整性校验密钥与所述消息加密密钥的生成方式相同。Optionally, the third authentication response message sent by the sending
可选的,接收模块810接收的所述第四鉴别响应消息中还包括第二消息完整性校验码;则在确定模块850确定所述请求设备的身份鉴别结果之前,验证模块830还用于利用消息完整性校验密钥验证所述第二消息完整性校验码;其中,所述消息完整性校验密钥与所述消息加密密钥的生成方式相同。Optionally, the fourth authentication response message received by the receiving
可选的,当所述身份密文消息中还包括所述请求设备的数字签名时,确定模块850还用于:在确定所述请求设备的身份鉴别结果之前,确定所述请求设备的数字签名是否验证通过,若确定所述请求设备的数字签名验证通过,则再根据所述第二鉴别结果信息中的第二验证结果确定所述请求设备的身份鉴别结果。Optionally, when the identity ciphertext message also includes the digital signature of the requesting device, the determining
可选的,确定模块850通过以下方式确定所述请求设备的数字签名是否验证通过:Optionally, the determining
所述第二鉴别服务器利用所述请求设备的数字证书对所述请求设备的数字签名进行验证,若接收模块810接收到所述第一鉴别响应消息,则确定模块850确定所述请求设备的数字签名已验证通过;或者,The second authentication server verifies the digital signature of the requesting device by using the digital certificate of the requesting device. If the receiving
当所述第二鉴别结果信息中还包括所述请求设备的数字证书时,由验证模块830利用所述请求设备的数字证书对所述请求设备的数字签名进行验证,确定模块850根据验证结果确定所述请求设备的数字签名是否验证通过。When the second authentication result information also includes the digital certificate of the requesting device, the
可选的,所述鉴别接入控制器向所述请求设备发送的消息还包括所述鉴别接入控制器对接收到的所述请求设备发送的最新前序消息计算的杂凑值;所述鉴别接入控制器向所述第一鉴别服务器发送的消息还包括所述鉴别接入控制器对接收到的所述第一鉴别服务器发送的最新前序消息计算的杂凑值。Optionally, the message sent by the authentication access controller to the requesting device further includes a hash value calculated by the authentication access controller on the received latest pre-order message sent by the requesting device; the authentication The message sent by the access controller to the first authentication server further includes a hash value calculated by the authentication access controller on the received latest pre-order message sent by the first authentication server.
参见图9,本申请实施例还提供了一种第一鉴别服务器900,包括:Referring to FIG. 9, an embodiment of the present application further provides a
接收模块910,用于接收鉴别接入控制器发送的第一鉴别请求消息,所述第一鉴别请求消息中包括第一身份信息密文和所述鉴别接入控制器的身份鉴别码,所述第一身份信息密文是请求设备利用加密证书的公钥对包括所述请求设备的身份信息和所述请求设备的第一身份密钥在内的信息加密生成的,所述请求设备的身份信息包括所述请求设备的数字证书,所述第一身份密钥包括第二密钥,所述鉴别接入控制器的身份鉴别码是所述鉴别接入控制器利用与所述第一鉴别服务器的预共享密钥,采用与所述第一鉴别服务器约定的密码算法对包括所述第一身份信息密文在内的信息计算生成的;The receiving
发送模块920,用于向所述鉴别接入控制器发送第一鉴别响应消息,所述第一鉴别响应消息包括第一鉴别结果信息、所述请求设备信任的第二鉴别服务器的第一数字签名、第二鉴别结果信息密文和所述第一鉴别服务器的第一消息鉴别码;所述第一鉴别结果信息中包括对所述鉴别接入控制器的第一验证结果,所述第一数字签名是所述第二鉴别服务器对包括所述第一鉴别结果信息在内的签名数据计算生成的数字签名,所述第二鉴别结果信息密文是利用所述第二密钥对包括第二鉴别结果信息在内的信息加密生成的,所述第二鉴别结果信息中包括对所述请求设备的数字证书的第二验证结果,所述第一鉴别服务器的第一消息鉴别码是所述第一鉴别服务器利用与所述鉴别接入控制器的预共享密钥,采用与所述鉴别接入控制器约定的密码算法对包括所述第二鉴别结果信息密文在内的信息计算生成的。A sending
可选的,所述第一鉴别服务器900还包括:Optionally, the
第一验证模块,用于对所述鉴别接入控制器的身份鉴别码进行验证得到第一验证结果,利用加密证书对应的私钥解密所述第一身份信息密文得到所述请求设备的数字证书和所述第二密钥,对所述请求设备的数字证书进行合法性验证得到第二验证结果;The first verification module is used to verify the identity authentication code of the authentication access controller to obtain a first verification result, and decrypt the ciphertext of the first identity information by using the private key corresponding to the encryption certificate to obtain the digital code of the requesting device. the certificate and the second key, and perform legality verification on the digital certificate of the requesting device to obtain a second verification result;
第一生成模块,用于根据包括所述第一验证结果在内的信息生成所述第一鉴别结果信息,根据包括所述第二验证结果在内的信息生成所述第二鉴别结果信息,利用所述第二密钥对包括第二鉴别结果信息在内的信息加密生成第二鉴别结果信息密文,对包括所述第一鉴别结果信息在内的签名数据计算生成第一数字签名,对包括所述第二鉴别结果信息密文在内的信息计算生成第一鉴别服务器的第一消息鉴别码;The first generation module is configured to generate the first identification result information according to the information including the first verification result, generate the second identification result information according to the information including the second verification result, and use the The second key encrypts the information including the second authentication result information to generate the ciphertext of the second authentication result information, calculates the signature data including the first authentication result information to generate the first digital signature, and generates the first digital signature for the information including the first authentication result information. The information including the ciphertext of the second authentication result information is calculated to generate the first message authentication code of the first authentication server;
第二生成模块,用于根据包括所述第一鉴别结果信息、所述第一数字签名、所述第二鉴别结果信息密文和所述第一鉴别服务器的第一消息鉴别码在内的信息生成所述第一鉴别响应消息。The second generating module is configured to, based on information including the first authentication result information, the first digital signature, the ciphertext of the second authentication result information and the first message authentication code of the first authentication server The first authentication response message is generated.
可选的,第一鉴别服务器900还包括:Optionally, the
第二验证模块,用于对所述鉴别接入控制器的身份鉴别码进行验证得到第一验证结果;a second verification module, configured to verify the identity authentication code of the authentication access controller to obtain a first verification result;
第三生成模块,用于根据包括所述第一验证结果在内的信息生成所述第一鉴别结果信息,对包括所述第一鉴别结果信息和所述第一身份信息密文在内的签名数据计算生成第二数字签名或对包括所述第一鉴别结果信息和所述第一身份信息密文在内的信息计算生成第二消息鉴别码;A third generating module, configured to generate the first authentication result information according to the information including the first verification result, and sign the first authentication result information and the ciphertext of the first identity information. Data calculation to generate a second digital signature or calculation of information including the first authentication result information and the ciphertext of the first identity information to generate a second message authentication code;
所述发送模块,还用于向第二鉴别服务器发送第二鉴别请求消息,所述第二鉴别请求消息中包括所述第一鉴别结果信息、所述第一身份信息密文和所述第二数字签名或所述第二鉴别请求消息中包括所述第一鉴别结果信息、所述第一身份信息密文和所述第二消息鉴别码;The sending module is further configured to send a second authentication request message to the second authentication server, where the second authentication request message includes the first authentication result information, the ciphertext of the first identity information and the second authentication request message. The digital signature or the second authentication request message includes the first authentication result information, the ciphertext of the first identity information, and the second message authentication code;
所述接收模块,还用于接收所述第二鉴别服务器发送的第二鉴别响应消息,所述第二鉴别响应消息中包括所述第一鉴别结果信息、第一数字签名、第二鉴别结果信息密文和第三数字签名或所述第二鉴别响应消息中包括所述第一鉴别结果信息、第一数字签名、第二鉴别结果信息密文和第三消息鉴别码;其中,所述第一数字签名是所述第二鉴别服务器对包括所述第一鉴别结果信息在内的签名数据计算生成的;所述第三数字签名是所述第二鉴别服务器对包括所述第二鉴别结果信息密文在内的签名数据计算生成的或所述第三消息鉴别码是所述第二鉴别服务器对包括所述第二鉴别结果信息密文在内的信息计算生成的;The receiving module is further configured to receive a second authentication response message sent by the second authentication server, where the second authentication response message includes the first authentication result information, the first digital signature, and the second authentication result information The ciphertext and the third digital signature or the second authentication response message include the first authentication result information, the first digital signature, the ciphertext of the second authentication result information and the third message authentication code; wherein the first authentication result information The digital signature is calculated and generated by the second authentication server on the signature data including the first authentication result information; the third digital signature is the encryption of the second authentication result information including the second authentication result information by the second authentication server. The signature data including the text is calculated and generated or the third message authentication code is generated by the second authentication server on the information including the cipher text of the second authentication result information;
第三验证模块,用于利用所述第二鉴别服务器的公钥验证所述第三数字签名或利用与所述第二鉴别服务器的预共享密钥验证所述第三消息鉴别码;a third verification module, configured to use the public key of the second authentication server to verify the third digital signature or to verify the third message authentication code using the pre-shared key with the second authentication server;
第四生成模块,用于若验证通过,则对包括所述第二鉴别结果信息密文在内的信息计算生成所述第一鉴别服务器的第一消息鉴别码,根据包括所述第一鉴别结果信息、所述第一数字签名、所述第二鉴别结果信息密文和所述第一鉴别服务器的第一消息鉴别码在内的信息生成所述第一鉴别响应消息。The fourth generation module is used to calculate and generate the first message authentication code of the first authentication server for the information including the ciphertext of the second authentication result information, if the verification is passed, according to the information including the first authentication result Information including the information, the first digital signature, the ciphertext of the second authentication result information, and the first message authentication code of the first authentication server generates the first authentication response message.
可选的,所述第一鉴别服务器向所述鉴别接入控制器发送的消息还包括所述第一鉴别服务器对接收到的所述鉴别接入控制器发送的最新前序消息计算的杂凑值;所述第一鉴别服务器向所述第二鉴别服务器发送的消息还包括所述第一鉴别服务器对接收到的所述第二鉴别服务器发送的最新前序消息计算的杂凑值。Optionally, the message sent by the first authentication server to the authentication access controller further includes a hash value calculated by the first authentication server on the received latest pre-order message sent by the authentication access controller. ; The message sent by the first authentication server to the second authentication server further includes a hash value calculated by the first authentication server for the latest pre-order message sent by the second authentication server received.
参见图10,本申请实施例还提供了一种第二鉴别服务器1000,包括:Referring to FIG. 10, an embodiment of the present application further provides a
接收模块1010,用于接收第一鉴别服务器发送的第二鉴别请求消息,所述第二鉴别请求消息中包括第一鉴别结果信息、第一身份信息密文和第二数字签名或所述第二鉴别请求消息中包括第一鉴别结果信息、第一身份信息密文和第二消息鉴别码;其中,所述第一身份信息密文是请求设备利用加密证书的公钥对包括所述请求设备的身份信息和所述请求设备的第一身份密钥在内的信息加密生成的,所述请求设备的身份信息包括所述请求设备的数字证书,所述第一身份密钥包括第二密钥;所述第二数字签名是所述第一鉴别服务器对包括所述第一鉴别结果信息和所述第一身份信息密文在内的签名数据计算生成的或所述第二消息鉴别码是所述第一鉴别服务器对包括所述第一鉴别结果信息和所述第一身份信息密文在内的信息计算生成的;The
验证模块1020,用于利用所述第一鉴别服务器的公钥验证所述第二数字签名或利用与所述第一鉴别服务器的预共享密钥验证所述第二消息鉴别码,若验证通过,则利用加密证书对应的私钥解密所述第一身份信息密文得到所述请求设备的数字证书和所述第二密钥,对所述请求设备的数字证书进行合法性验证得到第二验证结果;A
生成模块1030,用于根据包括所述第二验证结果在内的信息生成所述第二鉴别结果信息,利用所述第二密钥对包括第二鉴别结果信息在内的信息加密生成第二鉴别结果信息密文,对包括所述第一鉴别结果信息在内的签名数据计算生成第一数字签名,对包括所述第二鉴别结果信息密文在内的签名数据计算生成第三数字签名或对包括所述第二鉴别结果信息密文在内的信息计算生成第三消息鉴别码;A
发送模块1040,用于向所述第一鉴别服务器发送的第二鉴别响应消息,所述第二鉴别响应消息中包括所述第一鉴别结果信息、所述第一数字签名、所述第二鉴别结果信息密文和所述第三数字签名或所述第二鉴别响应消息中包括所述第一鉴别结果信息、所述第一数字签名、所述第二鉴别结果信息密文和所述第三消息鉴别码。A sending
可选的,所述第二鉴别服务器向所述第一鉴别服务器发送的消息还包括所述第二鉴别服务器对接收到的所述第一鉴别服务器发送的最新前序消息计算的杂凑值。Optionally, the message sent by the second authentication server to the first authentication server further includes a hash value calculated by the second authentication server on the received latest pre-order message sent by the first authentication server.
本领域普通技术人员可以理解:实现上述方法实施例的全部或部分步骤可以通过程序指令相关的硬件来完成,前述程序可以存储于计算机可读取存储介质中,该程序在执行时,执行包括上述方法实施例的步骤;而前述的存储介质可以是下述介质中的至少一种:只读存储器(英文:Read-Only Memory,缩写:ROM)、RAM、磁碟或者光盘等各种可以存储程序代码的介质。Those of ordinary skill in the art can understand that all or part of the steps of implementing the above method embodiments may be completed by program instructions related to hardware, the foregoing program may be stored in a computer-readable storage medium, and when the program is executed, the execution includes the above The steps of the method embodiment; and the aforementioned storage medium may be at least one of the following media: read-only memory (English: Read-Only Memory, abbreviation: ROM), RAM, magnetic disk or optical disk and other various programs that can store programs medium of code.
需要说明的是,本说明书中的各个实施例均采用递进的方式描述,各个实施例之间相同相似的部分互相参见即可,每个实施例重点说明的都是与其他实施例的不同之处。尤其,对于设备及系统实施例而言,由于其与方法实施例相一致和对应,所以描述得比较简单,相关之处参见方法实施例的部分说明即可。以上所描述的设备及系统实施例仅是示意性的,其中作为分离部件说明的模块可以是或者也可以不是物理上分开的,作为模块显示的部件可以是或者也可以不是物理模块,即可以位于一个地方,或者也可以分布到多个网络单元上。可以根据实际的需要选择其中的部分或者全部模块来实现本实施例方案的目的。本领域普通技术人员在不付出创造性劳动的情况下,即可以理解并实施。It should be noted that each embodiment in this specification is described in a progressive manner, and the same and similar parts between the various embodiments can be referred to each other, and each embodiment focuses on the differences from other embodiments. place. In particular, for the device and system embodiments, since they are consistent with and correspond to the method embodiments, the description is relatively simple, and reference may be made to some descriptions of the method embodiments for related parts. The device and system embodiments described above are only schematic, wherein the modules described as separate components may or may not be physically separated, and the components displayed as modules may or may not be physical modules, that is, they may be located in One place, or it can be distributed over multiple network elements. Some or all of the modules may be selected according to actual needs to achieve the purpose of the solution in this embodiment. Those of ordinary skill in the art can understand and implement it without creative effort.
以上所述,仅为本申请的一种具体实施方式,但本申请的保护范围并不局限于此,任何熟悉本技术领域的技术人员在本申请揭露的技术范围内,可轻易想到的变化或替换,都应涵盖在本申请的保护范围之内。因此,本申请的保护范围应该以权利要求的保护范围为准。The above is only a specific embodiment of the present application, but the protection scope of the present application is not limited to this. Substitutions should be covered within the protection scope of this application. Therefore, the protection scope of the present application should be subject to the protection scope of the claims.
| Application Number | Priority Date | Filing Date | Title |
|---|---|---|---|
| CN202011569210.4ACN114760038A (en) | 2020-12-26 | 2020-12-26 | Identity authentication method and device |
| PCT/CN2021/140178WO2022135418A1 (en) | 2020-12-26 | 2021-12-21 | Identity authentication method and apparatus |
| Application Number | Priority Date | Filing Date | Title |
|---|---|---|---|
| CN202011569210.4ACN114760038A (en) | 2020-12-26 | 2020-12-26 | Identity authentication method and device |
| Publication Number | Publication Date |
|---|---|
| CN114760038Atrue CN114760038A (en) | 2022-07-15 |
| Application Number | Title | Priority Date | Filing Date |
|---|---|---|---|
| CN202011569210.4APendingCN114760038A (en) | 2020-12-26 | 2020-12-26 | Identity authentication method and device |
| Country | Link |
|---|---|
| CN (1) | CN114760038A (en) |
| WO (1) | WO2022135418A1 (en) |
| Publication number | Priority date | Publication date | Assignee | Title |
|---|---|---|---|---|
| CA2524303A1 (en)* | 2003-04-29 | 2004-11-11 | Azaire Networks Inc. | Method and system for providing sim-based roaming over existing wlan public access infrastructure |
| CN1298194C (en)* | 2004-03-22 | 2007-01-31 | 西安电子科技大学 | Radio LAN security access method based on roaming key exchange authentication protocal |
| CN100512312C (en)* | 2006-12-18 | 2009-07-08 | 西安西电捷通无线网络通信有限公司 | Ternary structural coordinate access control method |
| CN101420694A (en)* | 2008-12-16 | 2009-04-29 | 天津工业大学 | WAPI-XG1 access and fast switch authentication method |
| CN101631114B (en)* | 2009-08-19 | 2011-09-21 | 西安西电捷通无线网络通信股份有限公司 | Identity authentication method based on public key certificate and system thereof |
| CN102752306B (en)* | 2012-07-09 | 2016-09-28 | 广州杰赛科技股份有限公司 | Digital media management method and system based on mark |
| Publication number | Publication date |
|---|---|
| WO2022135418A1 (en) | 2022-06-30 |
| Publication | Publication Date | Title |
|---|---|---|
| KR101706117B1 (en) | Apparatus and method for other portable terminal authentication in portable terminal | |
| CN101807998A (en) | Authentication | |
| WO2022135391A1 (en) | Identity authentication method and apparatus, and storage medium, program and program product | |
| EP4270866A1 (en) | Identity authentication method and apparatus, device, chip, storage medium, and program | |
| CN114760026A (en) | Identity authentication method and device | |
| WO2022135392A1 (en) | Identity authentication method and apparatus, device, chip, storage medium, and program | |
| WO2022135379A1 (en) | Identity authentication method and apparatus | |
| WO2022135387A1 (en) | Identity authentication method and apparatus | |
| WO2022135394A1 (en) | Identity authentication method and apparatus, storage medium, program, and program product | |
| CN114760032A (en) | Identity authentication method and device | |
| WO2022135384A1 (en) | Identity authentication method and apparatus | |
| US12438878B2 (en) | Method and device for identity authentication | |
| WO2022135404A1 (en) | Identity authentication method and device, storage medium, program, and program product | |
| CN116233843A (en) | B5G/6G network slice authentication method for industrial Internet | |
| WO2022135383A1 (en) | Identity authentication method and apparatus | |
| WO2022135393A1 (en) | Identity authentication method, authentication access controller, requesting device, authentication server, storage medium, program, and program product | |
| WO2022135418A1 (en) | Identity authentication method and apparatus | |
| WO2022135385A1 (en) | Identity authentication method and apparatus | |
| JP7534757B2 (en) | IDENTITY AUTHENTICATION METHOD, APPARATUS, DEVICE, CHIP, STORAGE MEDIUM, AND PROGRAM | |
| CN114760045A (en) | Identity authentication method and device | |
| WO2022135382A1 (en) | Identity authentication method and apparatus | |
| CN114760031A (en) | Identity authentication method and device | |
| WO2022135378A1 (en) | Identity authentication method and apparatus | |
| WO2022135380A1 (en) | Identity authentication method and apparatus |
| Date | Code | Title | Description |
|---|---|---|---|
| PB01 | Publication | ||
| PB01 | Publication | ||
| SE01 | Entry into force of request for substantive examination | ||
| SE01 | Entry into force of request for substantive examination | ||
| EE01 | Entry into force of recordation of patent licensing contract | Application publication date:20220715 Assignee:RICHINFO TECHNOLOGY CO.,LTD. Assignor:CHINA IWNCOMM Co.,Ltd. Contract record no.:X2025610000017 Denomination of invention:A method and device for identity authentication License type:Common License Record date:20250730 | |
| EE01 | Entry into force of recordation of patent licensing contract |