






技术领域technical field
本发明涉及性能测试设备技术领域,特别是涉及一种板级振动试验装置及试验方法。The invention relates to the technical field of performance testing equipment, in particular to a plate-level vibration testing device and a testing method.
背景技术Background technique
振动试验用于评定设备在其预期的运输和使用环境中的抗振能力,目的在于发现产品设计、工艺、制造中的缺陷,充分掌握产品应力响应特性和薄弱环节,以此判断产品是否合格。Vibration test is used to evaluate the anti-vibration ability of equipment in its expected transportation and use environment. The purpose is to find defects in product design, process and manufacturing, and to fully grasp the stress response characteristics and weak links of the product, so as to judge whether the product is qualified.
板级振动试验的夹具需要考虑试件在实际使用过程中的安装方式,以真实模拟试件在运输和使用时的振动环境。由于PCB板材刚度小的特点,在试验过程中的过安装或者欠安装都会影响试验结果的准确性和有效性。同时,由于不同电路板上的元器件布局差异大,能够根据元器件的布局,调节对PCB板上不同位置预紧力大小的夹具将更具有通用性。The fixture for the plate-level vibration test needs to consider the installation method of the specimen during actual use, so as to simulate the vibration environment of the specimen during transportation and use. Due to the low stiffness of the PCB board, over-installation or under-installation during the test will affect the accuracy and validity of the test results. At the same time, due to the large differences in the layout of components on different circuit boards, it is more versatile to be able to adjust the clamps with the preload at different positions on the PCB according to the layout of the components.
传统的试验夹具主要为两种,第一种将PCB试件两边进行固定,固定后的PCB板级组件可简化为相应的支撑梁结构,但随着PCB板尺寸的增大,其固有频率会下降,在受到随机振动应力时,PCB板越易发生共振,使电路板越易损坏,在实际使用中,往往可以在板远离紧固点的位置,增加胶粘的方式来增加对板的支撑点,约束板内部区域的运动,增加PCB板的固有频率。但由于胶粘的方式不利于PCB板的重复拆装,并且粘胶容易在振动过程中松脱,会影响试验准确性;第二种夹具避让了表面元器件,对PCB板上围绕表面元器件的“回”型的区域施加压紧力,板的四周被夹具完全压紧,使得通常在PCB板外围预留的引出端也被夹具盖住。引出端无法使用,使得在进行振动试验过程中,PCB板无法与外部电路,如电源、信号激励、信号接收等电路,进行连接,即仅能对不处于工作状态的PCB板进行试验,且试件受到的紧固力面积大于实际应用的情况,即出现了过安装的情况。过安装会使得试件实际受到的振动量级小于实际情况,降低了对实际应用进行模拟的试验有效性,也影响了试验的准确性。There are two main types of traditional test fixtures. The first is to fix both sides of the PCB specimen. The fixed PCB board-level components can be simplified into corresponding support beam structures. However, as the size of the PCB increases, its natural frequency will increase. When it is subjected to random vibration stress, the PCB board is more likely to resonate, which makes the circuit board more easily damaged. In actual use, it is often possible to increase the support for the board by adding glue at the position where the board is far from the fastening point. The point, constrains the movement of the inner area of the board, and increases the natural frequency of the PCB board. However, the method of gluing is not conducive to the repeated disassembly and assembly of the PCB board, and the glue is easily loosened during the vibration process, which will affect the accuracy of the test; the second type of fixture avoids the surface components, and has no effect on the surface components on the PCB board. Pressing force is applied to the "return" type area, and the periphery of the board is completely pressed by the clamp, so that the terminal that is usually reserved on the periphery of the PCB board is also covered by the clamp. The terminal can not be used, so that during the vibration test process, the PCB board cannot be connected with external circuits, such as power supply, signal excitation, signal reception and other circuits, that is, only the PCB board that is not in working state can be tested, and the test If the tightening force area of the parts is larger than the actual application, there is an over-installation situation. Over-installation will make the actual vibration magnitude of the specimen less than the actual situation, which reduces the validity of the test for simulating the actual application, and also affects the accuracy of the test.
发明内容SUMMARY OF THE INVENTION
基于此,本发明在于克服现有技术存在的问题,提供一种可提高试验准确性的板级振动试验装置及试验方法。Based on this, the present invention is to overcome the problems existing in the prior art, and to provide a plate-level vibration test device and a test method that can improve the test accuracy.
其技术方案如下:Its technical solutions are as follows:
一种板级振动试验装置,包括:A board-level vibration test device, comprising:
支撑限位件,所述支撑限位件为多个,所述支撑限位件包括用于与试件可拆卸连接的连接部,所有的所述连接部用于沿所述试件的周向设置;及Support limiters, there are multiple support limiters, the support limiters include connecting parts for detachable connection with the test piece, and all the connecting parts are used for the circumferential direction of the test piece settings; and
加强组件,所述加强组件包括第一调整件及第二调整件,所述第一调整件与所述第二调整件之间的距离可调并用于夹持所述试件的中部。The reinforcement assembly includes a first adjustment piece and a second adjustment piece, the distance between the first adjustment piece and the second adjustment piece is adjustable and is used for clamping the middle part of the test piece.
上述板级振动试验装置,可利用支撑限位件的连接部对试件进行周向固定,方便在进行振动测试时将振动通过支撑限位件传递给试件,同时第一调整件及第二调整件之间的距离可调并能够对试件的中部进行夹持固定,通过第一调整件及第二调整件的夹持也可将振动传递至试件的中部,且第一调整件及第二调整件对试件的夹持固定无需在试件上开孔,避免过安装或者欠安装情况的出现,使试件的振动情况更贴近试件的实际使用情况,能够有效提高试验的准确性及有效性。同时第一调整件及第二调整件可根据需要选择夹持或不夹持试件,使用灵活。The above-mentioned plate-level vibration test device can use the connecting part of the support limiter to fix the test piece in the circumferential direction, so that the vibration can be transmitted to the test piece through the support limiter during the vibration test. The distance between the adjustment pieces is adjustable and can clamp and fix the middle part of the test piece, and the vibration can also be transmitted to the middle part of the test piece through the clamping of the first adjustment piece and the second adjustment piece, and the first adjustment piece and the The clamping and fixing of the test piece by the second adjustment piece does not require opening holes on the test piece, which avoids the occurrence of over-installation or under-installation, makes the vibration of the test piece closer to the actual use of the test piece, and can effectively improve the accuracy of the test. sex and effectiveness. At the same time, the first adjustment piece and the second adjustment piece can be selected to clamp or not clamp the test piece according to the needs, and the use is flexible.
在其中一个实施例中,上述板级振动试验装置还包括底座,所述支撑限位件及所述加强组件设于所述底座上,所述加强组件及所述支撑限位件在所述底座上的位置可调。In one embodiment, the above-mentioned board-level vibration test device further includes a base, the support and limit member and the reinforcement component are arranged on the base, and the reinforcement component and the support limiter are located on the base position is adjustable.
在其中一个实施例中,所述加强组件还包括支撑梁,所述支撑梁包括连接的竖向件及横向件,所述底座上设有多个间隔设置的定位部,所述竖向件及所述第二调整件分别与不同的所述定位部配合,使所述竖向件与所述第二调整件分别与所述底座可拆卸连接,当所述竖向件设于所述底座上时,所述横向件与所述底座间隔设置,所述第一调整件可移动设于所述横向件上,使所述第一调整件与所述第二调整件之间的距离可调。In one embodiment, the reinforcement assembly further includes a support beam, the support beam includes a connected vertical member and a transverse member, the base is provided with a plurality of positioning portions arranged at intervals, the vertical member and The second adjusting member is respectively matched with the different positioning portions, so that the vertical member and the second adjusting member are respectively detachably connected to the base. When the vertical member is installed on the base When the transverse member is spaced from the base, the first adjustment member is movably arranged on the transverse member, so that the distance between the first adjustment member and the second adjustment member can be adjusted.
在其中一个实施例中,上述板级振动试验装置还包括第一固定件及第二固定件,所述定位部为设于所述底座上的开孔,所述第一固定件穿设所述竖向件并与所述定位部螺纹配合,所述第一固定件为螺钉或螺栓,所述第二固定件穿设所述第二调整件并与所述定位部螺纹配合,所述第二固定件为螺钉或螺栓。In one embodiment, the above-mentioned board-level vibration test device further includes a first fixing member and a second fixing member, the positioning portion is an opening provided on the base, and the first fixing member passes through the The vertical piece is screwed with the positioning portion, the first fixing piece is a screw or a bolt, the second fixing piece is passed through the second adjusting piece and is screwed with the positioning portion, and the second fixing piece is threaded with the positioning portion. The fixing parts are screws or bolts.
在其中一个实施例中,所述横向件上设有阶梯孔,所述阶梯孔包括沿靠近所述第二调整件的方向依次设置的第一孔段及第二孔段,所述第一孔段的孔径大于所述第二孔段的孔径,所述第一调整件的外壁与所述第二孔段的孔壁螺纹配合。In one embodiment, the transverse member is provided with a stepped hole, and the stepped hole includes a first hole segment and a second hole segment arranged in sequence along a direction close to the second adjusting member, the first hole The diameter of the segment is larger than that of the second hole segment, and the outer wall of the first adjusting member is threadedly matched with the hole wall of the second hole segment.
在其中一个实施例中,上述板级振动试验装置还包括第三固定件,所述底座上设有多个装配孔,所述第三固定件穿设所述支撑限位件并与所述装配孔螺纹配合,所述第三固定件为螺钉或螺栓。In one embodiment, the above-mentioned board-level vibration test device further includes a third fixing member, a plurality of mounting holes are provided on the base, and the third fixing member passes through the supporting and limiting member and is assembled with the The holes are threaded, and the third fixing member is a screw or a bolt.
在其中一个实施例中,所述支撑限位件还包括调整部,所述调整部与所述连接部连接,所述调整部上设有条形孔,所述第三固定件穿设所述条形孔并能够沿所述条形孔的长度方向滑动。In one embodiment, the supporting and limiting member further includes an adjusting portion, the adjusting portion is connected with the connecting portion, the adjusting portion is provided with a strip hole, and the third fixing member passes through the adjusting portion. The strip hole can slide along the length direction of the strip hole.
在其中一个实施例中,所述第一调整件靠近所述第二调整件的一端设有第一缓冲件,所述第二调整件靠近所述第一调整件的一端设有第二缓冲件,当所述第一调整件与所述第二调整件夹持所述试件时,所述第一缓冲件与所述第二缓冲件分别与所述试件的两侧抵接。In one embodiment, one end of the first adjusting member close to the second adjusting member is provided with a first buffer member, and one end of the second adjusting member close to the first adjusting member is provided with a second buffer member , when the first adjusting piece and the second adjusting piece clamp the test piece, the first buffer piece and the second buffer piece are respectively abutted on both sides of the test piece.
一种试验方法,包括以下步骤:A test method comprising the following steps:
对试件建模,得到所述试件的模型;Model the test piece to obtain the model of the test piece;
将所述试件的固定方式及使用环境中的振动应力信息作为参数引入所述模型,对所述模型进行振动仿真;The fixing method of the test piece and the vibration stress information in the operating environment are introduced into the model as parameters, and the model is subjected to vibration simulation;
获取所述模型在振动仿真过程中的振动量级分布;obtaining the vibration magnitude distribution of the model during the vibration simulation process;
当所述振动量级分布中存在振动量级大于预定量级的区域时,在所述模型中与所述区域对应的位置处增加固定支点,再次获取所述模型在振动仿真过程中的振动量级分布,直至所述振动量级分布中不存在振动量级大于预定量级的区域。When a region with a vibration magnitude greater than a predetermined magnitude exists in the vibration magnitude distribution, a fixed fulcrum is added at a position corresponding to the region in the model, and the vibration magnitude of the model during the vibration simulation process is obtained again order distribution until there is no region in which the vibration magnitude is greater than a predetermined magnitude in the vibration magnitude distribution.
上述试验方法,可通过对试件进行建模,并对建模后的模型引入试件的固定方式及使用环境的振动应力信息,使模型的振动仿真能够模拟试件的振动测试,通过对模型在振动仿真过程中的振动量级分布进行获取并与预定量级进行比对,可了解模型在振动仿真过程中是否出现振动量级大于预定量级的区域,对振动量级大于预定量级的区域增加固定支点,并再次进行振动仿真,直至模型的振动量级分布中不存在振动量级大于预定量级的区域,此时模型的振动仿真与试件的使用环境贴近,可提高试验的准确性及有效性。The above test method can model the specimen and introduce the fixing method of the specimen and the vibration stress information of the operating environment into the modeled model, so that the vibration simulation of the model can simulate the vibration test of the specimen. In the vibration simulation process, the vibration magnitude distribution is obtained and compared with the predetermined magnitude, so as to know whether there is an area with the vibration magnitude greater than the predetermined magnitude in the model during the vibration simulation process. The fixed fulcrum is added to the area, and the vibration simulation is performed again until there is no region with a vibration magnitude greater than a predetermined magnitude in the vibration magnitude distribution of the model. At this time, the vibration simulation of the model is close to the use environment of the specimen, which can improve the accuracy of the test. sex and effectiveness.
在其中一个实施例中,上述试验方法还包括以下步骤:In one embodiment, the above-mentioned test method further comprises the following steps:
当所述振动量级分布中不存在振动量级大于预定量级的区域时,对所述试件进行振动测试,所述试件的固定方式与所述模型在振动仿真过程中的固定方式相同;When there is no region with a vibration magnitude greater than a predetermined magnitude in the vibration magnitude distribution, a vibration test is performed on the specimen, and the fixing method of the specimen is the same as that of the model during the vibration simulation process. ;
获取所述试件在振动测试过程中的振动量级分布并与所述模型在振动仿真过程中的振动量级分布对比;Obtain the vibration magnitude distribution of the specimen during the vibration test process and compare it with the vibration magnitude distribution of the model during the vibration simulation process;
所述试件及所述模型在对应位置处的振动量级之间的差值为误差值,当所述误差值大于预定差值时,改变所述试件及所述模型的固定方式并重复上述步骤,直至所述误差值小于所述预定差值。The difference between the vibration levels of the test piece and the model at the corresponding position is the error value. When the error value is greater than the predetermined difference, the fixing method of the test piece and the model is changed and repeated The above steps are performed until the error value is smaller than the predetermined difference value.
附图说明Description of drawings
构成本申请的一部分的附图用于来提供对本发明的进一步理解,本发明的示意性实施例及其说明用于解释本发明,并不构成对本发明的不当限定。The accompanying drawings constituting a part of the present application are used to provide further understanding of the present invention, and the exemplary embodiments of the present invention and their descriptions are used to explain the present invention and do not constitute an improper limitation of the present invention.
为了更清楚地说明本发明实施例中的技术方案,下面将对实施例描述中所需要使用的附图作简单地介绍,显而易见地,下面描述中的附图仅仅是本发明的一些实施例,对于本领域普通技术人员来讲,在不付出创造性劳动的前提下,还可以根据这些附图获得其他的附图。In order to illustrate the technical solutions in the embodiments of the present invention more clearly, the following briefly introduces the accompanying drawings used in the description of the embodiments. Obviously, the accompanying drawings in the following description are only some embodiments of the present invention. For those of ordinary skill in the art, other drawings can also be obtained from these drawings without creative effort.
图1为本发明实施例所述的板级振动试验装置的俯视图;1 is a top view of the plate-level vibration test device according to an embodiment of the present invention;
图2为图1的A-A向剖视图;Fig. 2 is A-A sectional view of Fig. 1;
图3为图1的侧视图;Fig. 3 is the side view of Fig. 1;
图4为本发明实施例所述的支撑梁的结构示意图;4 is a schematic structural diagram of a support beam according to an embodiment of the present invention;
图5为本发明实施例所述的第二调整件的侧视图;5 is a side view of the second adjusting member according to the embodiment of the present invention;
图6为图5的俯视图;Fig. 6 is the top view of Fig. 5;
图7为图2中B处的放大图。FIG. 7 is an enlarged view of B in FIG. 2 .
附图标记说明:Description of reference numbers:
100、支撑限位件;110、连接部;120、调整部;121、条形孔;200、加强组件;210、第一调整件;220、第二调整件;221、接触部;222、第一分部;223、第二分部;224、安装孔;230、支撑梁;231、竖向件;232、横向件;232a、阶梯孔;300、底座;301、定位部;400、第三固定件;510、第一缓冲件;520、第二缓冲件;10、试件。100, supporting and limiting member; 110, connecting part; 120, adjusting part; 121, strip hole; 200, reinforcing assembly; 210, first adjusting part; 220, second adjusting part; 221, contact part; 222, No. A subsection; 223, second subsection; 224, mounting hole; 230, support beam; 231, vertical piece; 232, transverse piece; 232a, stepped hole; 300, base; 301, positioning part; 400, third Fixing piece; 510, first buffer piece; 520, second buffer piece; 10, test piece.
具体实施方式Detailed ways
为使本发明的上述目的、特征和优点能够更加明显易懂,下面结合附图对本发明的具体实施方式做详细的说明。在下面的描述中阐述了很多具体细节以便于充分理解本发明。但是本发明能够以很多不同于在此描述的其它方式来实施,本领域技术人员可以在不违背本发明内涵的情况下做类似改进,因此本发明不受下面公开的具体实施例的限制。In order to make the above objects, features and advantages of the present invention more clearly understood, the specific embodiments of the present invention will be described in detail below with reference to the accompanying drawings. In the following description, numerous specific details are set forth in order to provide a thorough understanding of the present invention. However, the present invention can be implemented in many other ways different from those described herein, and those skilled in the art can make similar improvements without departing from the connotation of the present invention. Therefore, the present invention is not limited by the specific embodiments disclosed below.
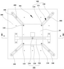
如图1至图3所示,一实施例公开了一种板级振动试验装置,包括支撑限位件100及加强组件200。支撑限位件100为多个。支撑限位件100包括用于与试件10可拆卸连接的连接部110,所有的连接部110用于沿试件10的周向设置。加强组件200包括第一调整件210及第二调整件220,第一调整件210与第二调整件220之间的距离可调并用于夹持试件10的中部。As shown in FIG. 1 to FIG. 3 , an embodiment discloses a board-level vibration test device, which includes a
上述板级振动试验装置,可利用支撑限位件100的连接部110对试件10进行周向固定,方便在进行振动测试时将振动通过支撑限位件100传递给试件10,同时第一调整件210及第二调整件220之间的距离可调并能够对试件10的中部进行夹持固定,通过第一调整件210及第二调整件220的夹持也可将振动传递至试件10的中部,且第一调整件210及第二调整件220对试件10的夹持固定无需在试件10上开孔,避免过安装或者欠安装情况的出现,使试件10的振动情况更贴近试件10的实际使用情况,能够有效提高试验的准确性及有效性。同时第一调整件210及第二调整件220可根据需要选择夹持或不夹持试件10,使用灵活。The above-mentioned board-level vibration test device can use the connecting
可选地,上述板级振动试验装置还包括振动台,支撑限位件100及加强组件200均直接或间接设于振动台上,将振动台的振动传递至试件10用于进行振动测试。Optionally, the above-mentioned plate-level vibration test device further includes a vibration table, and the support and
本具体实施例中,试件10为板状,例如PCB板,在其他实施例中,试件10也可为其他形状,例如杆状、柱状等。In this specific embodiment, the
其中,当试件10为板件时,不同的支撑限位件100分别与试件10的各个边角处连接,使试件10被充分固定。Wherein, when the
在其中一个实施例中,如图1至图3所示,上述板级振动试验装置还包括底座300,支撑限位件100及加强组件200设于底座300上。加强组件200及支撑限位件100在底座300上的位置可调。此时可根据情况对加强组件200及支撑限位件100在底座300上的位置进行调整,以调整试件10被固定的支点,使试件10在振动测试中更贴近试件10的实际使用情况,提高振动测试的准确性。In one embodiment, as shown in FIG. 1 to FIG. 3 , the above-mentioned board-level vibration test apparatus further includes a
可选地,底座300设于振动台上。具体地,底座300与振动台可拆卸连接,可先将支撑限位件100及加强组件200安装于底座300上,再将底座300与振动台连接,方便装配。Optionally, the
在其中一个实施例中,如图1至图4所示,加强组件200还包括支撑梁230,支撑梁230包括连接的竖向件231及横向件232。底座300上设有多个间隔设置的定位部301。竖向件231及第二调整件220分别与不同的定位部301配合,使竖向件231与第二调整件220分别与底座300可拆卸连接。当竖向件231设于底座300上时,横向件232与底座300间隔设置。第一调整件210可移动设于横向件232上,使第一调整件210与第二调整件220之间的距离可调。当加强组件200与试件10装配后,竖向件231位于试件10的一侧,横向件232可伸向试件10的中部,方便第一调整件210与第二调整件220配合对试件10的中部进行夹持,不会发生位置干涉。同时利用竖向件231及第二调整件220分别与不同的定位部301配合,能够对支撑梁230及第二调整件220的位置进行调整,方便适应不同规格的试件10及对试件10上的固定支点的位置进行调整,对试件10的固定效果更好,可提高振动测试的准确性。In one embodiment, as shown in FIGS. 1 to 4 , the
可选地,加强组件200可为一个或至少两个,可根据实际情况进行选用。具体地,支撑梁231跟第二调整件220可为一个;或支撑梁231跟第二调整件220可为至少两个。Optionally, there may be one or at least two reinforcing
可选地,竖向件231为两个,两个竖向件231分别与横向件232的两端连接,此时支撑梁230的结构更稳定,使第一调整件210与第二调整件220能够提供更大的夹紧力,对试件10的夹紧效果更好。Optionally, there are two
本具体实施例中,支撑梁230与第二调整件220分别独立设置,支撑梁230及第二调整件220可分别调整在底座300上的位置。在其他实施例中,支撑梁230与第二调整件220连接,此时支撑梁230与第二调整件220调整在底座300上的位置时,支撑梁230与第二调整件220之间的位置不变,可方便第一调整件210与第二调整件220对准。In this specific embodiment, the supporting
在其他实施例中,加强组件200也可通过与底座300滑动配合的方式调整在底座300上的位置;或底座300上设有多个平行的倒T型槽,在调整了加强组件200在底座300上的位置后,可利用螺栓组件与倒T型槽的配合对加强组件200进行固定。In other embodiments, the position of the
可选地,横向件232上沿长度方向设有与多个配合部,第一调整件210的数量为至少两个,第一调整件210与第二调整件220的数量对应设置,第一调整件210与配合部可拆卸连接,可根据需要选择一对或至少两对第一调整件210与第二调整件220,实现对试件10中部的单点或至少两点固定。Optionally, the
在其中一个实施例中,如图1至图3所示,上述板级振动试验装置还包括第一固定件及第二固定件。定位部301为设于底座300上的开孔,第一固定件穿设竖向件231并与定位部301螺纹配合。第一固定件为螺钉或螺栓。第二固定件穿设第二调整件220并与定位部301螺纹配合。第二固定件为螺钉或螺栓。通过第一固定件及第二固定件与定位部301的螺纹配合,可实现支撑梁230及第二调整件220的安装及拆卸,操作方便。In one embodiment, as shown in FIG. 1 to FIG. 3 , the above-mentioned board-level vibration test apparatus further includes a first fixing member and a second fixing member. The
其中,第一固定件及第二固定件可相同或具有不同的规格。Wherein, the first fixing member and the second fixing member may be the same or have different specifications.
可选地,如图5及图6所示,第二调整件220包括接触部221、第一分部222及第二分部223,第一分部222及第二分部223分别位于接触部221的两侧,第一分部222及第二分部223上均设有长条形的安装孔224,第二固定件穿设安装孔224并与定位部301螺纹配合,第二固定件可沿安装孔224的长度方向滑动,此时第二固定件在与定位部301螺纹配合后,还可通过安装孔224与第二固定件的配合对第二调整件220的位置进行微调,提高测试的准确性。Optionally, as shown in FIG. 5 and FIG. 6 , the
在其中一个实施例中,如图2及图7所示,横向件232上设有阶梯孔232a,阶梯孔232a包括沿靠近第二调整件220的方向依次设置的第一孔段及第二孔段,第一孔段的孔径大于第二孔段的孔径,第一调整件210的外壁与第二孔段的孔壁螺纹配合。横向件232上的阶梯孔232a可方便第一调整件210的对准及安装,同时第一孔段及第二孔段的连接处可对第一调整件210进行限位,防止第一调整件210移动形成过大对试件10造成影响。In one embodiment, as shown in FIG. 2 and FIG. 7 , the
在其中一个实施例中,如图1至图3所示,上述板级振动试验装置还包括第三固定件400,底座300上设有多个装配孔,第三固定件400穿设支撑限位件100并与装配孔螺纹配合,第三固定件400为螺钉或螺栓。可通过第三固定件400穿过支撑限位件100并与不同的装配孔螺纹配合,对支撑限位件100在底座300上的位置进行调整,以调整对试件10的固定支点及适应不同规格的试件10。In one embodiment, as shown in FIG. 1 to FIG. 3 , the above-mentioned board-level vibration test device further includes a
可选地,定位部301即为上述装配孔,此时通过螺栓或螺钉能够实现对加强组件200及支撑限位件100在底座300上位置的调整,操作方便,同时底座300的加工更简单。Optionally, the
在其中一个实施例中,如图1至图3所示,支撑限位件100还包括调整部120,调整部120与连接部110连接,调整部120上设有条形孔121,第三固定件400穿设条形孔121并能够沿条形孔121的长度方向滑动。当第三固定件400已经与装配孔螺纹配合后,也可通过拧松第三固定件400,再使调整部120与第三固定件400相对滑动的方式调整支撑限位件100的位置,操作更方便。In one embodiment, as shown in FIG. 1 to FIG. 3 , the supporting and limiting
在其中一个实施例中,如图2及图7所示,第一调整件210靠近第二调整件220的一端设有第一缓冲件510,第二调整件220靠近第一调整件210的一端设有第二缓冲件520,当第一调整件210与第二调整件220夹持试件10时,第一缓冲件510与第二缓冲件520分别与试件10的两侧抵接。此时第一缓冲件510及第二缓冲件520可对试件10进行夹持,同时不会对试件10上的元件造成损伤。In one embodiment, as shown in FIG. 2 and FIG. 7 , one end of the
一实施例公开了一种试验方法,包括以下步骤:An embodiment discloses a test method, comprising the following steps:
对试件10建模,得到试件10的模型;Model the
将试件10的固定方式及使用环境中的振动应力信息作为参数引入模型,对模型进行振动仿真;The fixing method of the
获取模型在振动仿真过程中的振动量级分布;Obtain the vibration magnitude distribution of the model during the vibration simulation process;
当振动量级分布中存在振动量级大于预定量级的区域时,在模型中与区域对应的位置处增加固定支点,再次获取模型在振动仿真过程中的振动量级分布,直至振动量级分布中不存在振动量级大于预定量级的区域。When there is a region with a vibration magnitude greater than a predetermined magnitude in the vibration magnitude distribution, a fixed fulcrum is added at the position corresponding to the region in the model, and the vibration magnitude distribution of the model during the vibration simulation process is obtained again, until the vibration magnitude distribution There are no regions in which the vibration magnitude is greater than a predetermined magnitude.
上述试验方法,可通过对试件10进行建模,并对建模后的模型引入试件10的固定方式及使用环境的振动应力信息,使模型的振动仿真能够模拟试件10的振动测试,通过对模型在振动仿真过程中的振动量级分布进行获取并与预定量级进行比对,可了解模型在振动仿真过程中是否出现振动量级大于预定量级的区域,对振动量级大于预定量级的区域增加固定支点,并再次进行振动仿真,直至模型的振动量级分布中不存在振动量级大于预定量级的区域,此时模型的振动仿真与试件10的使用环境贴近,可提高试验的准确性及有效性。In the above-mentioned test method, the
可选地,试件10的初始的固定方式为利用多个支撑限位件100,支撑限位件100包括用于与试件10可拆卸连接的连接部110,所有的连接部110用于沿试件10的周向设置。Optionally, the initial fixing method of the
可选地,当振动量级分布中存在振动量级大于预定量级的区域时,在模型中与区域对应的位置处增加固定支点,可为利用加强组件200的第一调整件210及第二调整件220对上述区域进行夹持固定。Optionally, when there is a region with a vibration magnitude greater than a predetermined magnitude in the vibration magnitude distribution, a fixed fulcrum is added at a position corresponding to the region in the model, which can be the first adjusting
在其中一个实施例中,上述试验方法还包括以下步骤:In one embodiment, the above-mentioned test method further comprises the following steps:
当振动量级分布中不存在振动量级大于预定量级的区域时,对试件10进行振动测试,试件10的固定方式与模型在振动仿真过程中的固定方式相同;When there is no region where the vibration magnitude is greater than the predetermined magnitude in the vibration magnitude distribution, a vibration test is performed on the
获取试件10在振动测试过程中的振动量级分布并与模型在振动仿真过程中的振动量级分布对比;Obtain the vibration magnitude distribution of the
试件10及模型在对应位置处的振动量级之间的差值为误差值,当误差值大于预定差值时,改变试件10及模型的固定方式并重复上述步骤,直至误差值小于预定差值。The difference between the vibration levels of the
当振动量级分布中不存在振动量级大于预定量级的区域时,根据模型在振动仿真过程中的固定方式对试件10进行固定安装,并对试件10进行振动测试,获取试件10在振动测试过程中的振动量级分布并与模型在振动仿真过程中的振动量级分布对比,若误差值大于预定差值时,说明模型的振动仿真与试件10的使用环境相差较大,改变试件10及模型的固定方式并再次进行振动仿真及振动测试,直至误差值小于预定差值,此时模型的振动仿真与试件10的使用环境贴近,可提高试验的准确性及有效性。When there is no region where the vibration magnitude is greater than a predetermined magnitude in the vibration magnitude distribution, the
其中,试件10及模型在对应位置处的振动量级之间的差值为误差值,具体为将试件10上的一处位置作为取样点,获取取样点的振动量级,同时模型为根据试件10建模得到,则模型上具有与上述取样点对应的模拟点,获取模拟点的振动量级,可将取样点的振动量级及模拟点的振动量级的差值作为上述误差值。Among them, the difference between the vibration levels of the
以上实施例的各技术特征可以进行任意的组合,为使描述简洁,未对上述实施例中的各个技术特征所有可能的组合都进行描述,然而,只要这些技术特征的组合不存在矛盾,都应当认为是本说明书记载的范围。The technical features of the above embodiments can be combined arbitrarily. In order to make the description simple, all possible combinations of the technical features in the above embodiments are not described. However, as long as there is no contradiction in the combination of these technical features It is considered to be the range described in this specification.
以上实施例仅表达了本发明的几种实施方式,其描述较为具体和详细,但并不能因此而理解为对发明专利范围的限制。应当指出的是,对于本领域的普通技术人员来说,在不脱离本发明构思的前提下,还可以做出若干变形和改进,这些都属于本发明的保护范围。因此,本发明专利的保护范围应以所附权利要求为准。The above examples only represent several embodiments of the present invention, and the descriptions thereof are specific and detailed, but should not be construed as a limitation on the scope of the invention patent. It should be pointed out that for those of ordinary skill in the art, without departing from the concept of the present invention, several modifications and improvements can also be made, which all belong to the protection scope of the present invention. Therefore, the protection scope of the patent of the present invention should be subject to the appended claims.
在本发明的描述中,需要理解的是,术语“中心”、“纵向”、“横向”、“长度”、“宽度”、“厚度”、“上”、“下”、“前”、“后”、“左”、“右”、“竖直”、“水平”、“顶”、“底”、“内”、“外”、“顺时针”、“逆时针”、“轴向”、“径向”、“周向”等指示的方位或位置关系为基于附图所示的方位或位置关系,仅是为了便于描述本发明和简化描述,而不是指示或暗示所指的装置或元件必须具有特定的方位、以特定的方位构造和操作,因此不能理解为对本发明的限制。In the description of the present invention, it should be understood that the terms "center", "longitudinal", "lateral", "length", "width", "thickness", "upper", "lower", "front", " Back, Left, Right, Vertical, Horizontal, Top, Bottom, Inner, Outer, Clockwise, Counterclockwise, Axial , "radial", "circumferential" and other indicated orientations or positional relationships are based on the orientations or positional relationships shown in the accompanying drawings, and are only for the convenience of describing the present invention and simplifying the description, rather than indicating or implying the indicated device or Elements must have a particular orientation, be constructed and operate in a particular orientation and are therefore not to be construed as limitations of the invention.
此外,术语“第一”、“第二”仅用于描述目的,而不能理解为指示或暗示相对重要性或者隐含指明所指示的技术特征的数量。由此,限定有“第一”、“第二”的特征可以明示或者隐含地包括至少一个该特征。在本发明的描述中,“多个”的含义是至少两个,例如两个,三个等,除非另有明确具体的限定。In addition, the terms "first" and "second" are only used for descriptive purposes, and should not be construed as indicating or implying relative importance or implying the number of indicated technical features. Thus, a feature delimited with "first", "second" may expressly or implicitly include at least one of that feature. In the description of the present invention, "plurality" means at least two, such as two, three, etc., unless otherwise expressly and specifically defined.
在本发明中,除非另有明确的规定和限定,术语“安装”、“相连”、“连接”、“固定”等术语应做广义理解,例如,可以是固定连接,也可以是可拆卸连接,或成一体;可以是机械连接,也可以是电连接;可以是直接相连,也可以通过中间媒介间接相连,可以是两个元件内部的连通或两个元件的相互作用关系,除非另有明确的限定。对于本领域的普通技术人员而言,可以根据具体情况理解上述术语在本发明中的具体含义。In the present invention, unless otherwise expressly specified and limited, the terms "installed", "connected", "connected", "fixed" and other terms should be understood in a broad sense, for example, it may be a fixed connection or a detachable connection , or integrated; it can be a mechanical connection or an electrical connection; it can be directly connected or indirectly connected through an intermediate medium, it can be the internal connection of two elements or the interaction relationship between the two elements, unless otherwise specified limit. For those of ordinary skill in the art, the specific meanings of the above terms in the present invention can be understood according to specific situations.
在本发明中,除非另有明确的规定和限定,第一特征在第二特征“上”或“下”可以是第一和第二特征直接接触,或第一和第二特征通过中间媒介间接接触。而且,第一特征在第二特征“之上”、“上方”和“上面”可是第一特征在第二特征正上方或斜上方,或仅仅表示第一特征水平高度高于第二特征。第一特征在第二特征“之下”、“下方”和“下面”可以是第一特征在第二特征正下方或斜下方,或仅仅表示第一特征水平高度小于第二特征。In the present invention, unless otherwise expressly specified and limited, a first feature "on" or "under" a second feature may be in direct contact between the first and second features, or the first and second features indirectly through an intermediary touch. Also, the first feature being "above", "over" and "above" the second feature may mean that the first feature is directly above or obliquely above the second feature, or simply means that the first feature is level higher than the second feature. The first feature being "below", "below" and "below" the second feature may mean that the first feature is directly below or obliquely below the second feature, or simply means that the first feature has a lower level than the second feature.
需要说明的是,当元件被称为“固定于”或“设置于”另一个元件,它可以直接在另一个元件上或者也可以存在居中的元件。当一个元件被认为是“连接”另一个元件,它可以是直接连接到另一个元件或者可能同时存在居中元件。本文所使用的术语“垂直的”、“水平的”、“上”、“下”、“左”、“右”以及类似的表述只是为了说明的目的,并不表示是唯一的实施方式。It should be noted that when an element is referred to as being "fixed to" or "disposed on" another element, it can be directly on the other element or an intervening element may also be present. When an element is referred to as being "connected" to another element, it can be directly connected to the other element or intervening elements may also be present. The terms "vertical", "horizontal", "upper", "lower", "left", "right" and similar expressions used herein are for the purpose of illustration only and do not represent the only embodiment.
| Application Number | Priority Date | Filing Date | Title |
|---|---|---|---|
| CN202210526152.XACN114608779B (en) | 2022-05-16 | 2022-05-16 | Plate-level vibration test device and test method |
| Application Number | Priority Date | Filing Date | Title |
|---|---|---|---|
| CN202210526152.XACN114608779B (en) | 2022-05-16 | 2022-05-16 | Plate-level vibration test device and test method |
| Publication Number | Publication Date |
|---|---|
| CN114608779A CN114608779A (en) | 2022-06-10 |
| CN114608779Btrue CN114608779B (en) | 2022-09-23 |
| Application Number | Title | Priority Date | Filing Date |
|---|---|---|---|
| CN202210526152.XAActiveCN114608779B (en) | 2022-05-16 | 2022-05-16 | Plate-level vibration test device and test method |
| Country | Link |
|---|---|
| CN (1) | CN114608779B (en) |
| Publication number | Priority date | Publication date | Assignee | Title |
|---|---|---|---|---|
| CN115824947B (en)* | 2023-02-20 | 2023-06-30 | 荣耀终端有限公司 | Verification device for constitutive parameters of viscoelastic materials |
| Publication number | Priority date | Publication date | Assignee | Title |
|---|---|---|---|---|
| US4357575A (en)* | 1980-06-17 | 1982-11-02 | Dit-Mco International Corporation | Apparatus for use in testing printed circuit process boards having means for positioning such boards in proper juxtaposition with electrical contacting assemblies |
| US5723798A (en)* | 1996-10-18 | 1998-03-03 | Delco Electronics Corporation | Measuring and controlling panel singulation shock |
| CN101871837A (en)* | 2009-04-23 | 2010-10-27 | 友达光电股份有限公司 | Multiple Fixtures |
| CN206362920U (en)* | 2016-08-31 | 2017-07-28 | 西安合众思壮导航技术有限公司 | Pcb board vibration absorber and direction-finding receiver |
| CN109211500A (en)* | 2018-07-16 | 2019-01-15 | 中国航空综合技术研究所 | The analysis method for reliability under interconnection solder joint Random Vibration Load is encapsulated for PBGA |
| CN210198668U (en)* | 2019-08-29 | 2020-03-27 | 安徽英威达电气有限公司 | Frequency converter circuit board vibration testing device |
| CN210741800U (en)* | 2019-10-12 | 2020-06-12 | 闳康技术检测(上海)有限公司 | Stepped impact clamp |
| CN215065133U (en)* | 2021-03-26 | 2021-12-07 | 中国电子产品可靠性与环境试验研究所((工业和信息化部电子第五研究所)(中国赛宝实验室)) | Damping vibration attenuation performance test platform |
| CN216117899U (en)* | 2021-08-30 | 2022-03-22 | 重庆胜琦隆科技有限公司 | PCBA board testing arrangement is with drive part structure of buckling |
| CN216132655U (en)* | 2021-07-09 | 2022-03-25 | 浙江树人学院(浙江树人大学) | Vibration testing device |
| Publication number | Priority date | Publication date | Assignee | Title |
|---|---|---|---|---|
| US11353375B2 (en)* | 2019-06-28 | 2022-06-07 | Teradyne, Inc. | Using vibrations to position devices in a test system |
| Publication number | Priority date | Publication date | Assignee | Title |
|---|---|---|---|---|
| US4357575A (en)* | 1980-06-17 | 1982-11-02 | Dit-Mco International Corporation | Apparatus for use in testing printed circuit process boards having means for positioning such boards in proper juxtaposition with electrical contacting assemblies |
| US5723798A (en)* | 1996-10-18 | 1998-03-03 | Delco Electronics Corporation | Measuring and controlling panel singulation shock |
| CN101871837A (en)* | 2009-04-23 | 2010-10-27 | 友达光电股份有限公司 | Multiple Fixtures |
| CN206362920U (en)* | 2016-08-31 | 2017-07-28 | 西安合众思壮导航技术有限公司 | Pcb board vibration absorber and direction-finding receiver |
| CN109211500A (en)* | 2018-07-16 | 2019-01-15 | 中国航空综合技术研究所 | The analysis method for reliability under interconnection solder joint Random Vibration Load is encapsulated for PBGA |
| CN210198668U (en)* | 2019-08-29 | 2020-03-27 | 安徽英威达电气有限公司 | Frequency converter circuit board vibration testing device |
| CN210741800U (en)* | 2019-10-12 | 2020-06-12 | 闳康技术检测(上海)有限公司 | Stepped impact clamp |
| CN215065133U (en)* | 2021-03-26 | 2021-12-07 | 中国电子产品可靠性与环境试验研究所((工业和信息化部电子第五研究所)(中国赛宝实验室)) | Damping vibration attenuation performance test platform |
| CN216132655U (en)* | 2021-07-09 | 2022-03-25 | 浙江树人学院(浙江树人大学) | Vibration testing device |
| CN216117899U (en)* | 2021-08-30 | 2022-03-22 | 重庆胜琦隆科技有限公司 | PCBA board testing arrangement is with drive part structure of buckling |
| Publication number | Publication date |
|---|---|
| CN114608779A (en) | 2022-06-10 |
| Publication | Publication Date | Title |
|---|---|---|
| US8549929B2 (en) | Compact pipe specimen | |
| CN114608779B (en) | Plate-level vibration test device and test method | |
| CN104296791B (en) | Printed circuit board test probe clamping device | |
| CN109596296A (en) | Vibration test fixture | |
| CN112945715A (en) | Vibration impact and acceleration experiment fixture device | |
| CN110715785A (en) | Three-dimensional vibration test device for radio frequency coaxial cable connector assembly | |
| CN109596416B (en) | Clamping plate and clamp | |
| CN209664692U (en) | A kind of soldering cramping apparatus device | |
| CN217276790U (en) | Mechanical impact test support for offshore wind power low-frequency transmission transformer | |
| US20130168520A1 (en) | Testing apparatus | |
| CN212158982U (en) | Reliability test fixture and reliability test device for naval cabinets | |
| CN210863799U (en) | Test fixture | |
| CN102486745A (en) | HDD Emulator | |
| CN220729602U (en) | Circuit board vibration tool | |
| CN113740702B (en) | Printed board vibration test device | |
| CN209166777U (en) | Vibratory impulse test fixture | |
| CN221123760U (en) | Vibration fatigue test fixture for thin-wall structure | |
| CN221056012U (en) | A vibration test fixture for power steering motor | |
| CN221123757U (en) | A vibrating fatigue test fixture for reinforced wall panels | |
| CN221571718U (en) | Clamp force testing tool for clamp | |
| CN221630955U (en) | A fixture for vibration testing of surface mount components | |
| CN221123759U (en) | Vibration fatigue test fixture for thin-wall structure in airplane | |
| CN111562075B (en) | Reliability test fixture and reliability test device | |
| CN222318700U (en) | Vibration test fixture and vibration test device | |
| CN110779792A (en) | A fixture for impact test of grid stiffened plate |
| Date | Code | Title | Description |
|---|---|---|---|
| PB01 | Publication | ||
| PB01 | Publication | ||
| SE01 | Entry into force of request for substantive examination | ||
| SE01 | Entry into force of request for substantive examination | ||
| GR01 | Patent grant | ||
| GR01 | Patent grant |