Movatterモバイル変換


[0]ホーム

URL:


CN114554074A - Driving structure for optical actuator and corresponding camera module - Google Patents

Driving structure for optical actuator and corresponding camera module
Download PDF

Info

Publication number
CN114554074A
CN114554074ACN202011521767.0ACN202011521767ACN114554074ACN 114554074 ACN114554074 ACN 114554074ACN 202011521767 ACN202011521767 ACN 202011521767ACN 114554074 ACN114554074 ACN 114554074A
Authority
CN
China
Prior art keywords
driving
coil
lens
magnet pair
base
Prior art date
Legal status (The legal status is an assumption and is not a legal conclusion. Google has not performed a legal analysis and makes no representation as to the accuracy of the status listed.)
Granted
Application number
CN202011521767.0A
Other languages
Chinese (zh)
Other versions
CN114554074B (en
Inventor
刘佳
李剑虹
魏罕钢
吴湖
Current Assignee (The listed assignees may be inaccurate. Google has not performed a legal analysis and makes no representation or warranty as to the accuracy of the list.)
Ningbo Sunny Opotech Co Ltd
Original Assignee
Ningbo Sunny Opotech Co Ltd
Priority date (The priority date is an assumption and is not a legal conclusion. Google has not performed a legal analysis and makes no representation as to the accuracy of the date listed.)
Filing date
Publication date
Application filed by Ningbo Sunny Opotech Co LtdfiledCriticalNingbo Sunny Opotech Co Ltd
Priority to CN202011521767.0ApriorityCriticalpatent/CN114554074B/en
Publication of CN114554074ApublicationCriticalpatent/CN114554074A/en
Application grantedgrantedCritical
Publication of CN114554074BpublicationCriticalpatent/CN114554074B/en
Activelegal-statusCriticalCurrent
Anticipated expirationlegal-statusCritical

Links

Images

Classifications

Landscapes

Abstract

The present application relates to a drive structure for an optical actuator, comprising: a first driving unit adapted to mount a lens, the lens driving coil being mounted to a first movable portion of the first driving unit; the second driving part is suitable for mounting the photosensitive assembly, the photosensitive assembly driving coil is mounted on a second movable part of the second driving part, the second movable part is positioned below the second base part, and the photosensitive assembly is positioned below the second movable part; the first driving part and the second driving part are provided with a shared magnet which is arranged on the first base part or the second base part, the first driving part drives the lens to translate in the directions of the x axis and the y axis through the electromagnetic induction of the lens driving coil and the shared magnet, and the second driving part drives the photosensitive chip to translate in the directions of the x axis and the y axis through the electromagnetic induction of the photosensitive component driving coil and the shared magnet; and the first driving part is mounted on an upper surface of the second base part. The application also provides a corresponding camera module.

Description

Driving structure for optical actuator and corresponding camera module
RELATED APPLICATIONS
The present application is a divisional application of a parent application with chinese patent application No. 202011338741.2, entitled "drive structure for optical actuator and corresponding camera module", filed on 25/11/2020.
Technical Field
The invention relates to the technical field of camera equipment, in particular to a driving structure for an optical actuator and a corresponding camera module.
Background
With the increase of the demand of consumers for mobile phone photographing, the functions of a mobile phone camera (i.e., a camera module) are more and more abundant, functions of portrait photographing, telephoto photographing, optical zooming, optical anti-shake and the like are all integrated in a camera with a limited volume, and the functions of auto-focusing, optical anti-shake, optical zooming and the like are often realized by an optical actuator (sometimes also referred to as a motor).
Fig. 1 shows a typical camera module with a motor in the prior art. Referring to fig. 1, the camera module generally includes alens 1, a motor mechanism 2 (which may be simply referred to as a motor), and aphotosensitive member 3. In the shooting state of the camera module, light from a shooting object is focused on aphotosensitive element 3a of aphotosensitive assembly 3 through alens 1. Structurally, thelens 1 is fixed to a motor carrier (specifically shown in fig. 1) of a motor, and the motor carrier is a movable component which can drive thelens 1 to move in the optical axis direction under the action of a driving element of the motor to realize a focusing function. For a camera module with an optical anti-shake (OIS) function, the motor usually has a more complicated structure. This is because the motor needs to drive thelens 1 to move in other degrees of freedom (e.g., in a direction perpendicular to the optical axis) in addition to the lens to move in the optical axis direction to compensate for a shake at the time of shooting. In general, the shake of the image pickup module includes translation in a direction perpendicular to the optical axis (translation in the x-axis and y-axis directions) and rotation (rotation in the xoy plane, whose rotation axis direction may be substantially the same as the optical axis), and tilt shake (rotation around the x-axis and y-axis, and tilt shake is also called tilt shake in the field of image pickup modules). When the gyroscope (or other position sensing element) in the module detects the shake in a certain direction, a command can be sent to make the motor drive the lens to move a distance in the opposite direction, so as to compensate the shake of the lens. Generally, the lens is only translated and/or rotated in a direction perpendicular to the optical axis to compensate the shake of the camera module, because if the lens is rotated around the x and y axes, i.e. if the anti-shake effect is achieved through tilt adjustment of the lens, the imaging quality of the module may be reduced, and even the basic imaging quality requirement may be difficult to achieve due to imaging blur.
However, as the imaging quality of the mobile phone camera module is higher and higher, the volume and weight of the lens are larger and larger, and the requirement for the driving force of the motor is also higher and higher. However, the current electronic devices (such as mobile phones) also have a great limitation on the size of the camera module, and the occupied size of the motor increases correspondingly with the increase of the lens. In other words, in the trend of the lens barrel toward larger volume and larger weight, the driving force provided by the motor is difficult to increase accordingly. On the premise that the driving force is limited, the heavier the lens is, the shorter the stroke of the motor capable of driving the lens to move is, and the anti-shake capability is affected. On the other hand, the heavier the lens, the slower the motor can drive the lens to move, and the longer the lens reaches the predetermined compensation position, which also affects the anti-shake effect.
Therefore, a solution capable of improving the anti-shake stroke and anti-shake response speed of the camera module is urgently needed.
Disclosure of Invention
The invention aims to overcome the defects of the prior art and provide a solution capable of improving the anti-shake stroke and anti-shake response speed of a camera module.
To solve the above technical problem, the present invention provides a driving structure for an optical actuator, comprising: a first driving part adapted to mount a lens, the first driving part including a first base part, a first movable part movably connected to the first base part, and a lens driving coil mounted to the first movable part; the x axis and the y axis are coordinate axes perpendicular to the optical axis of the lens, and the x axis and the y axis are perpendicular to each other; the second driving part is suitable for mounting a photosensitive assembly, the second driving part comprises a second base part, a second movable part and a photosensitive assembly driving coil mounted on the second movable part, the second movable part is positioned below the second base part and movably connected with the second base part, and the photosensitive assembly is positioned below the second movable part and fixed on the second movable part; the first driving part and the second driving part are provided with a common magnet, the common magnet is arranged on the first base part or the second base part, the photosensitive assembly comprises a photosensitive chip, the first driving part drives the lens to translate in the directions of the x axis and the y axis through the electromagnetic induction of the lens driving coil and the common magnet, and the second driving part drives the photosensitive chip to translate in the directions of the x axis and the y axis through the electromagnetic induction of the photosensitive assembly driving coil and the common magnet; and the first driving part is mounted on an upper surface of the second base part.
Determining a lens moving distance b for driving the lens to move by the first driving module and a photosensitive chip moving distance c for driving the photosensitive chip to move by the second driving module according to the detected inclined shaking angle a of the camera module; the lens moving distance b, the photosensitive chip moving distance c and the image space focal length f of the camera module meet the following requirements: a is arctan (b/f) + arctan (c/f).
The driving structure further comprises a driving logic module, wherein the driving logic module is used for keeping the proportion of the lens moving distance b to the photosensitive chip moving distance c at a preset fixed proportion.
Wherein the driving structure further comprises a driving logic module having an anti-shake thresholdK, the driving logic module is used for keeping the proportion of the lens moving distance b to the photosensitive chip moving distance c at a preset fixed proportion when the inclined jitter angle a is smaller than or equal to the anti-jitter threshold K, and enabling the photosensitive chip moving distance c to reach the maximum value c of the moving stroke when the inclined jitter angle a is larger than the anti-jitter threshold KmaxThe lens moving distance b is in accordance with the relation b ═ tan (a/f) -cmaxAnd (6) calculating.
The preset fixed proportion of the moving distance of the lens and the moving distance of the photosensitive chip is set according to the weight of the lens, the driving force of the first driving part, the weight of the photosensitive chip or the photosensitive assembly and the driving force of the second driving part, so that the time for moving the lens and the photosensitive chip to the respective anti-shake target positions is consistent.
The first base part and the second base part are fixedly bonded through a glue material; in a top view, the rubber material is arranged outside the common magnet.
Wherein the second movable part is movably connected with the second base part by a ball, and a degree of freedom of movement of the second movable part relative to the second base part is limited within the xoy plane by a suspension system based on the ball; the second driving part is also used for driving the photosensitive chip to rotate on the xoy plane; the second movable part and the second base part are provided with light through holes at the centers.
The driving structure further comprises a rear shell positioned below the second driving part, the rear shell is connected with the second base part and forms an accommodating cavity, and the second movable part and the photosensitive assembly are both positioned in the accommodating cavity; and a gap is arranged between the photosensitive assembly and the bottom of the rear shell.
The second movable part is provided with an extension arm extending downwards, and the extension arm is bonded with a circuit board of the photosensitive assembly; the extension arm is provided with FPC, FPC direct welding is in the circuit board.
Wherein the second base portion comprises a base and a cover, the cover comprises a side wall which is formed by extending downwards from the base and surrounds the second movable portion, and a bearing platform which is formed by extending horizontally inwards from the side wall; the ball and the edge area of the second movable portion are sandwiched between the base and the bearing table.
The upper surface of the second base portion is provided with a step structure, the step structure comprises a first step surface located on the outer side and a second step surface located on the inner side, and the height of the second step surface is lower than that of the first step surface.
Wherein, the upper surface of the marginal area of the second movable part has the recess, the ball is arranged in the recess.
Wherein an upper surface of an edge region of the second movable part has a depressed step, an outer side step surface of the depressed step is lower than an inner side step surface thereof, and the depressed step forms a receiving cavity for receiving the ball together with the side wall of the cover and the base.
Wherein the ball is located between the bearing platform and the second movable portion.
And a layer of balls are respectively arranged between the substrate and the second movable part and between the second movable part and the bearing platform.
The outer side surface of the second movable part is provided with an inward concave clamping groove, and the bearing platform is embedded into the clamping groove.
The ball is arranged in the four corner area of the second driving part, glue is arranged between the lower end face of the second movable part and the upper end face of the lens base of the photosensitive assembly, and the glue avoids the four corner area of the second movable part.
The common magnet is disposed in an edge region of the second base portion, and the photosensitive-unit driving coil is disposed in an edge region of the second movable portion.
Wherein, in the second driving part, a coil magnet combination formed by the common magnet and the photosensitive assembly driving coil comprises a first coil magnet pair, a second coil magnet pair and a third coil magnet pair; the first coil magnet pair and the second coil magnet pair are used for providing driving force in the x-axis direction; the third coil magnet pair is used for providing driving force in the y-axis direction; in a top view, the second driving portion has a rectangular shape, the first coil magnet pair and the second coil magnet pair are respectively arranged along a first side and a second side of the second driving portion, the first side and the second side do not intersect, the second coil magnet pair is arranged along a third side of the second driving portion, and the third side intersects with both the first side and the second side; and the lens driving coil includes a first lens driving coil, a second lens driving coil and a third lens driving coil respectively disposed above the first coil magnet pair, the second coil magnet pair and the third coil magnet pair; the common magnets of the first lens driving coil and the first coil magnet pair, and the common magnets of the second lens driving coil and the second coil magnet pair are used for providing driving force in the x-axis direction, and the common magnets of the third lens driving coil and the third coil magnet pair are used for providing driving force in the y-axis direction.
The first base part comprises a motor base positioned below the first movable part, the motor base is provided with a light through hole, the common magnet is arranged in the edge area of the motor base, and the lens driving coil is arranged at the bottom of the first movable part; the magnet coil pair formed by the shared magnet and the lens driving coil comprises a first coil magnet pair, a second coil magnet pair and a third coil magnet pair; the first coil magnet pair and the second coil magnet pair are used for providing driving force in the x-axis direction; the third coil magnet pair is used for providing driving force in the y-axis direction; in a top view, the outer contour of the first driving part is rectangular, the first coil magnet pair and the second coil magnet pair are respectively arranged along a first side and a second side of the first driving part, the first side and the second side do not intersect, the third coil magnet pair is arranged along a third side of the second driving part, and the third side intersects with the first side and the second side; the photosensitive assembly driving coil comprises a first photosensitive assembly driving coil, a second photosensitive assembly driving coil and a third photosensitive assembly driving coil which are respectively arranged below the first coil magnet pair, the second coil magnet pair and the third coil magnet pair; the common magnets of the first photosensitive assembly driving coil and the first coil magnet pair, and the common magnets of the second photosensitive assembly driving coil and the second coil magnet pair are used for providing driving force in the x-axis direction, and the common magnets of the third photosensitive assembly driving coil and the third coil magnet pair are used for providing driving force in the y-axis direction.
And in a top view, a notch or a through hole is formed in the second base part at a position corresponding to the photosensitive assembly driving coil.
Wherein a magnet coil pair constituted by the common magnet and the photosensitive-component driving coil includes: a first coil magnet pair, a second coil magnet pair and a third coil magnet pair; the first coil magnet pair and the second coil magnet pair are used for providing driving force in the x-axis direction; the third coil magnet pair is used for providing driving force in the y-axis direction; in a top view, the outer contour of the second driving part is rectangular, the first coil magnet pair and the second coil magnet pair are respectively arranged along a first side and a second side of the first driving part, the first side and the second side do not intersect, the third coil magnet pair is arranged along a third side of the second driving part, and the third side intersects with the first side and the second side; the lens driving coil comprises an x-axis lens driving coil and a y-axis lens driving coil, the x-axis lens driving coil is located right above the first coil magnet pair, and the y-axis lens driving coil is located right above the third coil magnet pair.
According to another aspect of the present application, there is also provided a camera module, which includes: a lens; a photosensitive assembly; and a driving structure for an optical actuator as set forth in any of the foregoing aspects; the lens is mounted on the first driving portion, and the photosensitive assembly is mounted on the second driving portion.
Compared with the prior art, the application has at least one of the following technical effects:
1. this application can improve the anti-shake stroke of the module of making a video recording to can compensate the great shake of the module of making a video recording.
2. This application can improve the anti-shake response speed of the module of making a video recording.
3. The driving structure for the optical actuator has the advantage of compact structure, and is particularly suitable for miniaturized camera modules.
4. In some embodiments of the present application, the setting can be performed according to the weight of the lens, the driving force of the first driving portion, the weight of the photosensitive chip (or the photosensitive assembly), the driving force of the second driving portion, and other factors, so that the time for the lens and the photosensitive chip to move to the respective anti-shake target positions is substantially consistent, and a better anti-shake effect is obtained.
5. In some embodiments of this application, can reduce the interference that the connecting band removed the sensitization subassembly anti-shake through the suspension type circuit board to guarantee anti-shake stroke and response speed effectively.
6. In some embodiments of the application, can reduce the volume that is used for first base portion or second base portion to be used for installing the magnetite through the magnetite of sharing, help the anti-shake camera module realize the reduction in the direction of height.
Drawings
FIG. 1 illustrates a typical camera module having a motor in the prior art;
fig. 2 is a schematic cross-sectional view illustrating a camera module with an anti-shake function according to an embodiment of the present application;
fig. 3 is a schematic cross-sectional view illustrating a camera module with an anti-shake function according to another embodiment of the present application;
FIG. 4 is a schematic diagram illustrating the relationship between the moving distance of the lens and the photosensitive chip and the inclination angle of the module under four different conditions in the present application;
fig. 5 is a schematic cross-sectional view illustrating a camera module according to an embodiment of the present application;
fig. 6 is a schematic cross-sectional view illustrating a camera module according to another embodiment of the present disclosure;
fig. 7 shows a schematic cross-sectional view of a camera module in a further embodiment of the present application;
fig. 8 is a schematic cross-sectional view illustrating a camera module according to still another embodiment of the present application;
FIG. 9a illustrates a perspective view of a second drive portion in one embodiment of the present application;
FIG. 9b illustrates an exploded perspective view of the second drive portion in one embodiment of the subject application;
FIG. 10a is a schematic cross-sectional view of a second driving portion and a photosensitive assembly according to an embodiment of the present application;
figure 10b shows a schematic cross-sectional view of a second driving portion with balls arranged on the underside of the movable portion according to a variant embodiment of the present application;
FIG. 10c shows a schematic cross-sectional view of a second drive section with two layers of balls according to a variant embodiment of the present application;
FIG. 11a shows a schematic cross-sectional view of a second drive section in an embodiment of the present application;
FIG. 11b shows an assembled view of the second drive portion in one embodiment of the present application;
FIG. 11c shows a schematic cross-sectional view of a second drive section in another embodiment of the present application;
FIG. 12 shows a schematic cross-sectional view of a second drive portion in yet another embodiment of the present application;
FIG. 13a illustrates a schematic bottom view of the movable portion of the second drive portion in one embodiment of the present application;
fig. 13b shows a schematic bottom view of the movable part of the second driving part in another embodiment of the present application;
FIG. 14 illustrates a mounting position of the drive element of the second drive portion at a bottom view angle in one embodiment of the present application;
FIG. 15a shows a schematic cross-sectional view of a second drive section of an embodiment of the present application including a drive element;
FIG. 15b is a schematic cross-sectional view of a camera module according to an embodiment of the present application;
fig. 15c shows a schematic cross-sectional view of a camera module according to yet another embodiment of the present application;
fig. 15d shows a schematic cross-sectional view of a camera module according to a variant embodiment of the present application;
fig. 15e shows a perspective view of the second driving part with the second base part having the notch;
FIG. 15f is an exploded perspective view of the second base portion with the second drive portion having a notch;
fig. 15g shows a perspective view of the second driving part with the through hole of the second basic part;
fig. 15h shows a perspective exploded view of the second driving part with the through hole of the second base part;
FIG. 16a is a schematic cross-sectional view of a camera module in an embodiment of the present application;
fig. 16b is a schematic view showing an assembly manner of the camera module in an embodiment of the present application;
FIG. 16c shows a schematic cross-sectional view of a camera module in another embodiment of the present application;
fig. 17 shows an arrangement of the camera module and the connecting band thereof in an embodiment of the present application;
FIG. 18 illustrates an assembled perspective view of the second driving portion and the photosensitive assembly in one embodiment of the present application;
FIG. 19 illustrates an exploded view of the second drive portion and photosensitive assembly in one embodiment of the present application;
FIG. 20 is a perspective view of a photosensitive assembly and a suspended circuit board used therein according to one embodiment of the present application;
fig. 21a shows a schematic front view of a suspension board in an embodiment of the present application after deployment;
fig. 21b shows a schematic view of the back side of a hanging wiring board after deployment in one embodiment of the present application.
Detailed Description
For a better understanding of the present application, various aspects of the present application will be described in more detail with reference to the accompanying drawings. It should be understood that the detailed description is merely illustrative of exemplary embodiments of the present application and does not limit the scope of the present application in any way. Like reference numerals refer to like elements throughout the specification. The expression "and/or" includes any and all combinations of one or more of the associated listed items.
It should be noted that the expressions first, second, etc. in this specification are used only to distinguish one feature from another feature, and do not indicate any limitation on the features. Thus, a first body discussed below may also be referred to as a second body without departing from the teachings of the present application.
In the drawings, the thickness, size, and shape of an object have been slightly exaggerated for convenience of explanation. The figures are purely diagrammatic and not drawn to scale.
It will be further understood that the terms "comprises," "comprising," "includes," "including," "has," "including," and/or "including," when used in this specification, specify the presence of stated features, integers, steps, operations, elements, and/or components, but do not preclude the presence or addition of one or more other features, integers, steps, operations, elements, components, and/or groups thereof. Moreover, when a statement such as "at least one of" appears after a list of listed features, the entirety of the listed features is modified rather than modifying individual elements in the list. Furthermore, the use of "may" mean "one or more embodiments of the application" when describing embodiments of the application. Also, the term "exemplary" is intended to refer to an example or illustration.
As used herein, the terms "substantially," "about," and the like are used as terms of table approximation and not as terms of table degree, and are intended to account for inherent deviations in measured or calculated values that will be recognized by those of ordinary skill in the art.
Unless otherwise defined, all terms (including technical and scientific terms) used herein have the same meaning as commonly understood by one of ordinary skill in the art to which this application belongs. It will be further understood that terms, such as those defined in commonly used dictionaries, should be interpreted as having a meaning that is consistent with their meaning in the context of the relevant art and will not be interpreted in an idealized or overly formal sense unless expressly so defined herein.
It should be noted that the embodiments and features of the embodiments in the present application may be combined with each other without conflict.
The invention is further described below with reference to the figures and the specific embodiments.
Fig. 2 is a schematic cross-sectional view illustrating a camera module with an anti-shake function according to an embodiment of the present application. Referring to fig. 2, in the present embodiment, the image capturing module includes alens 10, aphotosensitive assembly 20, afirst driving portion 30, and asecond driving portion 40. Wherein thephotosensitive assembly 20 includes aphotosensitive chip 21. Thefirst driving part 30 is configured to drive thelens 10 to move in both x and y directions, and the second drivingpart 40 is configured to drive thephotosensitive chip 21 to move in both x and y directions. In this embodiment, the x and y directions are perpendicular to each other and are parallel to the light-sensing surface of the light-sensing element 20. The z direction is parallel to the normal direction of the light-sensing surface. For the sake of understanding, fig. 2 also shows a three-dimensional rectangular coordinate system constructed based on x, y, and z directions. In this embodiment, the control module drives thelens 10 and thephotosensitive chip 21 to move in opposite directions at the same time, so as to achieve optical anti-shake of the camera module. Specifically, thelens 1 and thephotosensitive chip 21 are configured to be driven simultaneously and move in opposite directions, for example, when thelens 10 is driven to move in the positive x-axis direction, thephotosensitive chip 21 is driven to move in the negative x-axis direction; when thelens 10 is driven to move towards the positive y-axis direction, thephotosensitive chip 21 is driven to move towards the negative y-axis direction; alternatively, thelens 10 is driven to move in the x-axis and the y-axis, and thephotosensitive chip 21 is driven to move in the x-axis and the y-axis in the opposite direction to the movement of thelens 10, in other words, when the movement in the x-axis and the y-axis is required, the directions of the displacement vector of thelens 10 and the displacement vector of thephotosensitive chip 21 are opposite on the xoy plane. The camera module generally includes a position sensor for detecting shake of the camera module or a terminal device (i.e., an electronic device, such as a mobile phone, on which the camera module is mounted). When the shake is detected, the position sensor sends a signal to the camera module to drive thelens 10 and thephotosensitive chip 21 to move correspondingly to compensate the shake, so that the purpose of optical anti-shake is achieved. In this embodiment, thelens 10 and thephotosensitive chip 21 are configured to move simultaneously, and the moving directions of thelens 10 and thephotosensitive chip 21 are opposite, so that a faster response can be realized, and a better anti-shake effect is achieved. In addition, the anti-shake angle range of the camera module is usually limited by the suspension system and the driving system, and a relatively large compensation angle range cannot be achieved. In addition, in the present embodiment, by driving thelens 10 or thephotosensitive chip 21 to move in opposite directions at the same time, compared with a scheme of driving only thelens 10 to move, a stroke of the relative movement between thelens 10 and thephotosensitive chip 21 is larger (for convenience of description, the stroke of the relative movement may be referred to as an anti-shake stroke), and a better compensation effect may be achieved. Particularly, due to the increase of the anti-shake stroke, the embodiment also has a good compensation effect on the tilt shake of the camera module. Further, the moving direction of the anti-shake movement of the embodiment can be defined in the xoy plane, and the optical axis of thelens 10 or thephotosensitive chip 21 does not need to be inclined, thereby avoiding the image blur problem caused by the anti-shake movement.
Further, in another embodiment of the present application, thephotosensitive chip 21 can also be driven by thesecond driving portion 40 to rotate in the xoy plane, so as to compensate for the shake in the rotation direction of the image capturing module.
Further, still referring to fig. 2, in an embodiment of the present application, the image pickup module includes a first drivingpart 30, alens 10, asecond driving part 40, and aphotosensitive assembly 20. Thelens 10 is mounted on thefirst driving unit 30. Thefirst driving unit 30 may have a cylindrical first motor carrier, which may be a movable portion of the first driving unit, and the lens may be mounted on an inner side surface of the first motor carrier. The first driving portion further has a stationary portion, or base portion. In this embodiment, the base portion may be implemented as a motor housing. The motor housing may include a base and a cover. The base is provided with a light through hole. The movable part is movably connected with the base part. The drive element may be a coil magnet combination, which may be mounted between the movable part and the base part. For example between the first motor carrier and the motor housing. In fact, the first driving part in the present embodiment may directly adopt the common structure of the optical anti-shake motor in the prior art. Further, in the present embodiment, thesecond driving portion 40 may be supported and fixed on the bottom surface of the first drivingportion 30. Thesecond driving unit 40 may include a base unit and a movable unit. Wherein the base portion is directly connected with the first driving portion. The movable part is positioned below the base part and movably connected with the base part. Thephotosensitive assembly 20 includes acircuit board 23, aphotosensitive chip 21 mounted on a surface of the circuit board, and alens holder 22 surrounding thephotosensitive chip 21. The base of themirror base 22 may be attached to the surface of thecircuit board 23, and the top surface thereof may be fixed to the movable portion of thesecond driving portion 40. Thelens holder 22 has a light-passing hole at the center, and afilter 24 is mounted on the lens holder 22 (thefilter 24 can also be regarded as a component of the photosensitive assembly 20). Under the driving of the movable portion of thesecond driving portion 40, thephotosensitive assembly 20 can translate in the x and y directions or rotate on the xoy plane with respect to the base portion. For convenience of description, the base portion of the first drivingportion 30 is sometimes referred to as a first base portion, the base portion of thesecond driving portion 40 is sometimes referred to as a second base portion, the movable portion of the first drivingportion 30 is sometimes referred to as a first movable portion, and the movable portion of thesecond driving portion 40 is sometimes referred to as a second movable portion.
Fig. 3 is a schematic cross-sectional view illustrating a camera module with an anti-shake function according to another embodiment of the present application. In this embodiment, the image capturing module includes afirst driving portion 30, alens 10, asecond driving portion 40, and aphotosensitive assembly 20. Thelens 10 is mounted on thefirst driving unit 30. The structure and assembly of the first drivingpart 30 and thelens 10 may be the same as those of the previous embodiment shown in fig. 2, and are not described again. The present embodiment differs from the previous embodiment in that: thesecond driving portion 40 is located inside thephotosensitive assembly 20. In this embodiment, thephotosensitive assembly 20 includes acircuit board 23, alens holder 22, afilter 24, and aphotosensitive chip 21. The base of thelens holder 22 may be mounted on the surface of thecircuit board 23, and the top surface thereof may be fixed to the base of thefirst driving unit 30. Thelens holder 22 has a light-passing hole at the center thereof, and afilter 24 is mounted on thelens holder 22. Thelens holder 22, thefilter 24 and thecircuit board 23 may form a cavity, and thephotosensitive chip 21 is located in thecavity 25. In this embodiment, thesecond driving portion 40 may be located in thecavity 25. Specifically, the base portion of thesecond driving portion 40 may be mounted on the surface of thecircuit board 23, and the movable portion of thesecond driving portion 40 may be movably connected to the base portion. Thephotosensitive chip 21 is mounted on the surface of the movable portion. In this way, thephotosensitive chip 21 can be translated in the x and y directions or rotated on the xoy plane with respect to the base portion by the movable portion of thesecond driving portion 40.
Different structural implementations of the second driving part of the camera module according to the present application are described above with reference to two embodiments. The following further introduces a method for compensating the tilt jitter of the camera module based on the design idea of the present application.
Fig. 4 is a schematic diagram illustrating the relationship between the moving distance of the lens and the photosensitive chip and the inclination angle of the module under four different conditions in the present application. The position A in the figure represents the moving distance combination of the lens and the photosensitive chip for compensating the shake angle a of the camera module. As shown in fig. 4, the lens moving distance is b, the photosensitive chip (hereinafter sometimes simply referred to as chip) moving distance is c, and the lens or chip moving distance may be equivalent to an angle of an image plane from an optical axis in optical imaging. Specifically, when the lens is translated by a distance b in the xoy plane, it causes an arithmetic relationship between the image plane offsetangle α 1 and the image distance, which is different at different shooting distances, where the image distance is replaced with the image space focal distance for the sake of calculation and convenience of expression. Specifically, it causes the relationship between the image plane offsetangle α 1 and the lens image space focal length f to be: tan (α 1) ═ b/f, which causes the relationship between the image planeshift angle α 2 and the lens image focal length f when the photosensitive chip is translated by a distance c in the xoy plane, to be: tan (α 2) ═ c/f. In this embodiment, the moving directions of the lens and the photosensitive chip are opposite, so the calculation mode of the comprehensive compensation angle a of the camera module is as follows:α 1+α 2 is arctan (b/f) + arctan (c/f). In one embodiment, the moving distance of the lens and the photosensitive chip may be set to be the same, i.e., b ═ c. In another embodiment, the distance that the lens and the photosensitive chip move may be set to be unequal, for example, the distance that the lens moves may be greater than the distance that the photosensitive chip moves, i.e., b > c. In this embodiment, the second driving portion may select a smaller-sized driver (such as a mems driver, etc., and the movable stroke of such a driver is usually relatively small), so as to help achieve miniaturization of the camera module as a whole.
Further, in an embodiment of the present application, a ratio between a lens moving distance and a photo sensor moving distance is optionally set to maintain a fixed ratio, for example, b/c is 6:4, or b/c is 7:3, or b/c is 5:5, and the moving distances of the lens and the photo sensor maintain the preset ratio no matter what compensation value (for example, the comprehensive compensation angle a) of the camera module shake, which is beneficial to uniformity of compensation effect of the camera module in a compensation range and also beneficial to reduction of design difficulty of the camera module anti-shake system driving logic module.
Further, in a configuration in which the lens movement distance and the photosensitive chip movement distance are subjected to anti-shake movement based on a fixed ratio, since the movable range of the photosensitive chip is small, shake of the image pickup module may exceed the maximum movement stroke of the photosensitive chip sometimes. Therefore, in an embodiment of the present application, an anti-shake threshold may be set, for example, a threshold K may be set for a shake angle a that needs to be compensated, and when the actually calculated shake angle a is smaller than or equal to the anti-shake threshold K, the lens moving distance b and the photosensitive chip moving distance c are maintained at a fixed ratio, which may be set in advance, for example, b/c is 6:4, b/c is 7:3, or b/c is 5: 5. When the actually calculated shaking angle a is larger than the anti-shaking threshold K, the moving distance c of the photosensitive chip is the maximum value of the moving stroke, namely the maximum stroke c of the photosensitive chipmaxAnd the lens moving distance b is tan (a/f) -cmax. In other words, when the image pickup moduleWhen the shake angle to be compensated is above the anti-shake threshold K, the lens is moved to the maximum value corresponding to the moving distance of the photosensitive chip (i.e. the maximum stroke c of the photosensitive chip) based on the preset fixed proportionmax) After the position of (a), the first driving unit may drive the lens to move continuously until the lens moving distance b is tan (a/f) -cmax. At the same time, the photosensitive chip is firstly synchronously moved to the maximum value c of the moving distance of the photosensitive chip in the opposite directionmaxAnd then remain stationary.
Further, in another embodiment of the present application, the maximum stroke b of the lens movement is within the xoy planemaxThe corresponding anti-shake angle (the anti-shake angle refers to the angle of the camera module inclined shake) can be smaller than the maximum stroke c of the photosensitive chipmaxThe corresponding anti-shake angle. Under this kind of design, the anti-shake system of the module of making a video recording can have faster response speed. In a high-end lens, the lens often has more lenses, for example, the number of lenses in a rear main shooting lens in a current smart phone can reach 8, in order to further improve the imaging quality, some lenses also use glass lenses, which all result in larger lens weight. When the driving force is not increased significantly, the speed at which the driving device drives the lens to move will decrease. And the weight of the photosensitive chip or the photosensitive assembly is relatively light, and the photosensitive chip or the photosensitive assembly can reach the preset position with small driving force. Therefore, in the scheme of the embodiment, the advantages that the weight of the photosensitive chip or the photosensitive assembly is relatively close and the moving speed is relatively high can be better utilized, and the response speed of the camera module anti-shake system is effectively improved.
Further, in another embodiment of the present application, the fixed ratio of the moving distance of the lens to the moving distance of the photosensitive chip may be set according to the weight of the lens, the driving force of the first driving portion, the weight of the photosensitive chip (or the photosensitive assembly), the driving force of the second driving portion, and other factors, and a suitable fixed ratio is set, so that the time for the lens and the photosensitive chip to move to the respective anti-shake target positions is substantially the same, thereby obtaining a better anti-shake effect. Specifically, the weight of the lens and the driving force of the first driving portion may substantially determine the moving speed of the lens, and the weight of the photosensitive chip (or the photosensitive assembly) and the driving force of the second driving portion may substantially determine the moving speed of the photosensitive chip, and when the moving speed of the lens is smaller than the moving speed of the photosensitive chip (for example, when the weight of the lens is large), the moving distance of the photosensitive chip may occupy a larger proportion when the fixed proportion is set, so that the characteristic that the moving speed of the photosensitive chip is fast can be utilized, so that the photosensitive chip moves a longer distance, and the time for moving the lens and the photosensitive chip to the respective anti-shake target positions is substantially the same.
Further, in another embodiment of the present application, the first driving portion may employ a driving element having a large driving force, and a suspension system having a large stroke. For example, the first drive portion may be driven using an SMA (shape memory alloy) element. Compare traditional coil magnet combination, the SMA component can provide great drive power with less occupation space, consequently first drive division can design compacter, is favorable to making a video recording the miniaturization of module.
Further, fig. 5 shows a schematic cross-sectional view of a camera module in an embodiment of the present application. Referring to fig. 5, in the present embodiment, thesecond base portion 41 of thesecond driving portion 40 is fixed with the base portion (not specifically shown in fig. 5) of the first drivingportion 30. Thelens 10 may be mounted to a movable portion (e.g., a first motor carrier, not specifically shown in fig. 5) of the first drivingportion 30. Thephotosensitive assembly 20 includes acircuit board 23, aphotosensitive chip 21, alens holder 22, anoptical filter 24, and the like. Thephotosensitive member 20 may be mounted to the secondmovable portion 42 of thesecond driving portion 40. Specifically, the bottom surface of the secondmovable portion 42 may bear against the top surface of themirror base 22 of thephotosensitive assembly 20. In thesecond driving portion 40, thesecond base portion 41 and the secondmovable portion 42 may be elastically connected by a suspension system. In this embodiment, the suspension system allows the secondmovable part 42 to translate in the xoy plane with respect to thesecond base part 41. Alternatively, the suspension system may be a ball system, which has the advantages of: in the z direction, the secondmovable part 42 and thesecond base part 41 are in contact with each other through the balls, the secondmovable part 42 moves only in the xoy plane, and the movement in the optical axis direction can be prevented by the balls between the secondmovable part 42 and thesecond base part 41, thereby avoiding the influence on the focusing of the image pickup module.
Alternatively, in another embodiment, the suspension system may comprise an elastic element (e.g., a spring) by which the fixed part and the movable part are connected, which allows the movable part to translate relative to the base part in the xoy plane, but prevents the movable part from moving relative to the base part outside the xoy plane. Compared with a ball system, the elastic element has the advantages that: the elastic element can provide an initial force between the base part and the movable part, and the initial force can be matched with the driving force of the driving element to control the moving distance of the movable part or keep the position of the movable part, so that the driving element is not required to be additionally arranged to provide a conjugate driving force to control the position of the movable part. If a ball system is used, the movable part is free to move in the xoy direction relative to the base part in the case of a drive element which does not provide a driving force, so that it is often necessary to provide at least one pair of mutually opposite driving forces to control the holding of the movable part in its initial position.
Further, still referring to fig. 5, in one embodiment of the present application, anti-shake may be achieved by driving the entirephotosensitive assembly 20 to move. Simultaneously,circuit board 23,sensitization chip 21,microscope base 22, the encapsulation oflight filter 24 are as an organic whole, andcircuit board 23,microscope base 22,light filter 24 form an enclosure space, andsensitization chip 21 holds in this enclosure space, has promotedsensitization subassembly 20's closure, has guaranteed thatsensitization chip 21 images and does not receive the influence of dust in module preparation or the use of making a video recording.
In this embodiment, still referring to fig. 5, in an embodiment of the present application, the back surface of the circuit board may directly bear against a terminal device (i.e., an electronic device carrying the camera module, such as a mobile phone), and specifically, the back surface of thecircuit board 23 may bear against a main board or other bearingmember 90 of the terminal device. Although the secondmovable portion 42 is connected to thephotosensitive assembly 20 and thesecond base portion 41 is connected to the first drivingportion 30 in the present embodiment, it is understood that the secondmovable portion 42 and thesecond base portion 41 move relatively. In the anti-shake movement, the opposite movement direction means: the moving direction of the movable part of the first driving part relative to the base part is opposite to the moving direction of the movable part of the second driving part relative to the base part.
Further, fig. 6 shows a schematic cross-sectional view of a camera module according to another embodiment of the present application. Referring to fig. 6, in the present embodiment, arear case 49 is added below thesecond driving portion 40, therear case 49 is connected to thesecond base portion 41 of thesecond driving portion 40, and forms an accommodating cavity, and the secondmovable portion 42 of thesecond driving portion 40 and thephotosensitive assembly 20 are accommodated in the accommodating cavity. As shown in fig. 6, there may be agap 49a between thephotosensitive assembly 20 and the bottom of therear housing 49. That is, thephotosensitive assembly 20 is suspended, and thephotosensitive assembly 20 is connected to only the secondmovable portion 42 of thesecond driving portion 40. In this embodiment, therear housing 49 directly bears against the terminal device. Since therear case 49 connects the terminal device, thesecond driving unit 40, and the base of thefirst driving unit 30, the movable portions of thefirst driving unit 30 and thesecond driving unit 40 respectively drive thelens 10 and thephotosensitive assembly 20 to move in opposite directions simultaneously with respect to the terminal device during the anti-shake process. Further, in the present embodiment, the secondmovable portion 42 of thesecond driving portion 40 is directly bonded to the upper end surface of thephotosensitive assembly 20, so that thefilter 24 can be spaced from the external space, thereby preventing debris generated by friction or collision of the secondmovable portion 42 during movement relative to thesecond base portion 41 from directly falling onto the surface of thefilter 24.
Fig. 7 shows a schematic cross-sectional view of a camera module in a further embodiment of the present application. Referring to fig. 7, in the present embodiment, the first drivingpart 30 is implemented to be adapted to drive thelens 10 to move in the optical axis direction to implement a focusing function, while also being adapted to drive thelens 10 to move in the xoy plane to implement an anti-shake function. Optionally, the first drivingpart 30 includes at least two carriers, namely afirst carrier 31 and asecond carrier 32, thelens 10 is supported by thefirst carrier 31, a suspension system is disposed between thefirst carrier 31 and thesecond carrier 32, and a suspension system is disposed between thesecond carrier 32 and thehousing 33 of the first drivingpart 30. In this embodiment, the suspension system between thefirst carrier 31 and the second carrier 32 (i.e. the first suspension system) is configured as a ball bearing system, and the suspension system between thesecond carrier 32 and the housing 33 (i.e. the second suspension system) is a suspension system based on elastic elements (e.g. spring plates). In the present embodiment, the second suspension system is provided outside the first suspension system, the first suspension system allowing thelens 10 and thefirst carrier 31 to translate in the xoy plane to realize the anti-shake function, and the second suspension system allowing thelens 10, thefirst carrier 31, and thesecond carrier 32 to integrally move in the optical axis direction to realize the focusing function. Alternatively, in another embodiment, the second suspension system may also be arranged inside the first suspension system. In another modified embodiment, the second suspension system may also be disposed below the first suspension system. In this embodiment, the suspension system refers to a system in which two members are movably connected and the degree of freedom of relative movement (i.e., the moving direction) of the two members is limited. These two articulatable parts may be referred to as a base part and a movable part, respectively. Typically, the suspension system is used in conjunction with a drive element (e.g., an SMA element or a coil magnet combination). Wherein a driving force is provided by the driving element, under which driving force the movable part is moved relative to the base part in a movement direction defined by the suspension system.
Further, fig. 8 shows a schematic cross-sectional view of a camera module in still another embodiment of the present application. Referring to fig. 8, the movable portion of thesecond driving portion 40 of the present embodiment may be provided with a downward extendingextension arm 42a, and theextension arm 42a is adhered to thecircuit board 23 of thephotosensitive assembly 20. Theextension arm 42a may be provided with anFPC board 42b, and theFPC board 42b may be directly soldered to thewiring board 23, thereby electrically connecting the driving element mounted on the movable portion to thewiring board 23. This embodiment can prevent the glue from flowing onto the filter when thephotosensitive assembly 20 is bonded to the movable portion, thereby affecting the image formation. In addition, in the embodiment, a gap is formed between the upper end surface (i.e., the top end) of thephotosensitive assembly 20 and thesecond driving portion 40, so that the color filter can be prevented from being scratched or broken.
Further, fig. 9a shows a schematic perspective view of the second driving part in an embodiment of the present application, and fig. 9b shows a schematic perspective exploded view of the second driving part in an embodiment of the present application. Referring to fig. 9a and 9b, in the present embodiment, the secondmovable portion 42 and thesecond base portion 41 of thesecond driving portion 40 each have a light-passing hole at the center through which light passing through the lens is incident on the photosensitive chip and imaged. In the present embodiment, fourballs 80 are preferably provided at the four corners (four corner positions in a plan view) of thesecond driving portion 40.
Further, fig. 10a is a schematic cross-sectional view illustrating a second driving portion and a photosensitive assembly in an embodiment of the present application. Referring to fig. 10a, in the present embodiment, thesecond driving portion 40 includes a secondmovable portion 42 and asecond base portion 41, wherein thesecond base portion 41 includes abase 41a and acover 41 b. Thecover 41b includes aside wall 41c extending downward from thebase 41a to surround the secondmovable portion 42, and asupport base 41d extending horizontally inward from theside wall 41 c. The top of thesidewall 41c is connected to thebase 41a, and the lower surface of theedge region 42a of the secondmovable portion 42 can be abutted against the upper surface of the abutment table 41 d. Theballs 80 and theedge area 42a of the secondmovable portion 42 are sandwiched between thebase 41a and the bearing table 41d of thecover 41b, ensuring that the secondmovable portion 42 and thesecond base portion 41 do not move relative to each other in the optical axis direction (i.e., the z-axis direction). In this way, thesecond driving portion 40 allows only the secondmovable portion 42 to translate in the xoy plane with respect to thesecond base portion 41. More specifically, at least one accommodating space is provided between thebase 41a and thecover 41b, the accommodating space is provided with theballs 80, and the secondmovable part 42 and thebase 41a are respectively closely attached to theballs 80, so that the secondmovable part 42 and thesecond base part 41 are ensured not to generate relative movement in the optical axis direction. The secondmovable portion 42 may include amain body portion 42b and anedge region 42a, and the thickness of theedge region 42a may be smaller than the thickness of themain body portion 42 b. The lower surface (also referred to as a lower end surface or a bottom surface) of themain body portion 42b may be lower than the lower surface (also referred to as a lower end surface or a bottom surface) of thecover 41b, so as to ensure that thephotosensitive assembly 20 does not contact thecover 41b after being attached to the secondmovable portion 42, and avoid thephotosensitive assembly 20 from touching or rubbing the cover during the anti-shake movement.
Further, still referring to fig. 10a, in an embodiment of the present application, the upper surface of thesecond base part 41 may have a step structure, and the step structure may include afirst step surface 41e located at the outer side and asecond step surface 41f located at the inner side, and the height of thesecond step surface 41f is lower than that of thefirst step surface 41e, so as to provide a larger axial (i.e., z-axis direction) moving space for focusing of the camera module. In this embodiment, the first driving portion may be attached to thefirst step surface 41e of thesecond base portion 41 of thesecond driving portion 40. The upper surface of theedge region 42a of the secondmovable portion 42 may be formed with a groove that can receive theball 80 and restrict the movement of theball 80 within the groove, while also retaining debris generated by the friction of theball 80 with the secondmovable portion 42 or thesecond base portion 41 within the groove. Also, since theballs 80 can be placed in the grooves, the secondmovable part 42, thebase 41a of thesecond base part 41, and thecover 41b can be more conveniently assembled. In another embodiment, the boss of the groove positioned at the outer side can be eliminated, and the transverse size of the second driving part can be reduced by the design, so that the miniaturization of the camera module is facilitated. Since the outwardly located projection of the recess is eliminated, the recess is now effectively degraded into a recessed step, the outer step face of which is lower than the inner step face, and which forms together with the side wall of the cover and the base a receiving chamber for receiving the ball.
Further, in one embodiment of the present application, the edge area of the movable part may be provided with a plurality of grooves, and the number of grooves may match the number of balls. Each ball is accommodated in the corresponding groove. The bottom surface of the groove can be a plane, so that the movable part can not incline during translation, and meanwhile, the movable part and the base part can relatively move on three axes in the xoy plane only through a single layer of ball. Alternatively, a substrate recess may be provided at a position of the substrate corresponding to the movable portion recess. This design enables the thickness of the second drive portion to be reduced with a constant ball diameter. The bottom surface of the groove or the bottom surface of the recessed step (i.e., the outer step surface of the recessed step) is a flat surface, and allows the movable part to rotate in the xoy plane, i.e., around the z-axis, with respect to the base part. The direction of rotation about the z-axis may be referred to as the Rz direction, and may also be referred to as the Rz-axis rotation. In this embodiment, the photosensitive chip can move in the three directions of x, y and Rz to realize anti-shake, so that the photosensitive chip has better anti-shake capability. Since the three directions of movement x, y, Rz are all in the xoy plane, the relative movement in the xoy plane in three axes, i.e. in the x, y, Rz directions, is described above.
Fig. 10b shows a schematic cross-sectional view of the second driving part with balls arranged on the lower side of the movable part in a variant embodiment of the present application. Referring to fig. 10b, in the present embodiment, theballs 80 are located between the bearingplatform 41d of thecover 41b and the secondmovable portion 42. At the positions corresponding to theballs 80, theedge area 42a of the secondmovable portion 42 and/or the bearing table 41d may be provided with a groove, and the groove bottom surface of the groove may be provided as a flat surface, thereby allowing the secondmovable portion 42 to move only in the xoy plane with respect to thesecond base portion 41, and no inclination is generated when moving in the xoy plane.
Fig. 10c shows a schematic cross-sectional view of a second drive section with two layers of balls according to a variant embodiment of the present application. In this embodiment, two layers ofballs 81 and 82 are provided. Specifically, a single layer ofballs 81 is provided between thebase 41a and the secondmovable portion 42, and a single layer ofballs 82 is provided between the secondmovable portion 42 and the bearing table 41d of thecover 41 b. Compared with the embodiment shown in fig. 10a, in this embodiment, since the layer ofballs 82 is added between the secondmovable portion 42 and thebearing platform 41d, the secondmovable portion 42 does not directly rub against thebearing platform 41d during the anti-shake movement, and the generation of debris is reduced. And the resistance of the secondmovable portion 42 when moving can be reduced by providing the two layers ofballs 81 and 82.
Further, fig. 11a shows a schematic cross-sectional view of the second driving portion in an embodiment of the present application. Referring to fig. 11a, in the present embodiment, an outer side surface of the secondmovable portion 42 is provided with an inwardly recessed engaginggroove 42c, and abearing platform 41d of thecover 41b of thesecond base portion 41 is fitted into the engaginggroove 42 c. In this solution, the lower end surface of thesecond driving portion 40 may have a larger area, and when thelens base 22 is attached to the secondmovable portion 42, the glue may be disposed in an area further outside thelens base 22, so that the glue is as far away from the optical filter as possible, thereby reducing a risk that the glue flows onto theoptical filter 24, and completely avoiding a risk that thelens base 22 rubs against thesecond base portion 41 during the anti-shake movement process. Further, in the present embodiment, the secondmovable portion 42 may be a split type, for example, the secondmovable portion 42 may include a firstmovable portion member 43 and a second movable portionsecond member 44, and the side surface of the secondmovable portion member 44 and/or the firstmovable portion member 43 is recessed inward to form the engaginggroove 42 c. Further, fig. 11b shows an assembly schematic of the second driving part in an embodiment of the present application. Referring to fig. 11a and 11b, in the assembly process of thesecond driving portion 42, the movable portionfirst member 43, thesecond base portion 41 and theballs 80 may be assembled, and then the movable portionsecond member 44 may be attached to the lower end surface of the movable portionfirst member 43. With the design, the lens base is not required to be contacted with the base part when being attached, and meanwhile, the glue can be arranged at the position close to the edge of the lens base (the base part with four corners is not required to be avoided) to avoid the pollution of the color filter caused by the glue.
Alternatively, fig. 11c shows a schematic cross-sectional view of the second driving portion in another embodiment of the present application. Referring to fig. 11c, in the present embodiment, the secondmovable portion 42 may be integrally formed, that is, the lockingslot 42c is directly formed when the secondmovable portion 42 is formed. And thecover 41b may be split. Referring to fig. 11b, thecover 41b may include two separate cover members 41b1 and 41b2, and the two separate cover members 41b1 and 41b2 may be transversely inserted into the lockingslots 42c of the secondmovable portion 42 from the left and right sides, respectively, to fix the axial (i.e., z-axis) positions of the secondmovable portion 42 and thesecond base portion 41, thereby completing the encapsulation of thesecond driving portion 40.
Further, fig. 12 shows a schematic cross-sectional view of the second driving portion in a further embodiment of the present application. Referring to fig. 12, in the present embodiment, an outer side surface of the secondmovable portion 42 is provided with an inwardly recessed catchinggroove 42c in which both thebearing platform 41d of thesecond base portion 41 and theballs 80 are disposed.
Further, in one embodiment of the present application, the movable portion is bonded to the upper end surface of the lens holder of the photosensitive assembly, thereby achieving connection between the movable portion and the photosensitive assembly. In a modified embodiment, the movable portion may also be configured to have an extension arm extending downward, and the circuit board of the photosensitive component is bonded through the extension arm, so as to connect the movable portion and the photosensitive component. Referring to fig. 8 in combination, in the scheme of attaching thewiring board 23 to theextension arm 42a of the movable portion, alternatively, the mirror base may be selected to be asmall mirror base 22a having a relatively low height, thesmall mirror base 22a is used only for mounting thephotosensitive chip 24, and anelectronic component 25 having a relatively high height, such as a capacitor or the like, is disposed outside thephotosensitive chip 21 and thesmall mirror base 22 a. This kind of scheme can reduce the microscope base height to reduce the back burnt of making a video recording the module, and then reduced the whole height of module. In the present embodiment, since at least a portion of the electronic component is disposed outside the lens holder, it is preferable that the outer side surface of the movable portion of thesecond driving portion 40 has the engaging groove, so that the extending arm is disposed at the edge of the second driving portion, and the extending arm is far away from the electronic component as far as possible, thereby avoiding the electronic component being affected by the glue.
Fig. 13a shows a schematic bottom view of the movable part of the second driving part in an embodiment of the present application. In this embodiment, theglue 50 is disposed between the lower end surface of the secondmovable portion 42 and the upper end surface of the lens holder of the photosensitive assembly. The arrangement of theglue 50 can avoid the four corners area, so that theglue 50 is prevented from leaking into the gaps of the ball containing structures at the four corners, and the anti-shaking movement is prevented from causing negative effects. Meanwhile, the edge of the secondmovable part 42 can be prevented from being too close to the optical filter, and the risk of the optical filter being polluted by glue is reduced. Fig. 13b shows a schematic bottom view of the movable part of the second driving part in another embodiment of the present application. In this embodiment, theglue 50 may be arranged in a closed loop along the edge area of the lower end face of the secondmovable part 42. This design may increase the closeness of the photosensitive assembly and prevent dust from falling onto the color filter.
It should be noted that the above embodiments can be combined with each other, for example, the slot designs shown in fig. 11a, 11b and 12 can be combined with the double ball design. Wherein the recess/recessed step may be provided on the bearing platform or on the movable part.
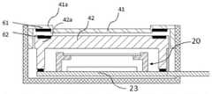
Further, fig. 14 shows a mounting position of the driving element of the second driving portion at a bottom view angle in one embodiment of the present application. Fig. 15a shows a schematic cross-sectional view of a second drive section containing a drive element in an embodiment of the present application. In this embodiment, themagnet 61 may be provided in the edge region of thesecond base portion 41, and thecoil 62 may be provided in theedge region 42a of the secondmovable portion 42. Thecoil 62 may be connected to thecircuit board 23 of thephotosensitive assembly 20 by soldering through an FPC board (flexible board) provided on the secondmovable portion 42. Since the secondmovable portion 42 and thephotosensitive assembly 20 move synchronously during the anti-shake process, thecoil 62 is soldered to thecircuit board 23 through the FPC board, so that no relative movement of the lead or the soldering portion during the movement can be ensured, and the risk of electrical connection failure or poor contact at the soldering position can be reduced. In this embodiment, a magnet may be provided on thebase 41a of thesecond base portion 41.
Further, fig. 15b shows a schematic cross-sectional view of a camera module according to an embodiment of the present application. Referring to fig. 14 and 15b, in an embodiment of the present application, the driving elements of the first drivingpart 30 and the second drivingpart 40 are both coil magnet combinations, and the first drivingpart 30 and the second drivingpart 40 may have a common magnet 61'. The common magnet 61' may be provided in thefirst base portion 31 or in the second base portion 41 (see fig. 15 b). For convenience of description, the coil of the first drivingpart 30 is referred to as alens driving coil 62a, and the coil of the second drivingpart 40 is referred to as a photosensitive-assembly driving coil 62 b. Thelens driving coil 62a is attached to the firstmovable portion 32, and the photosensitive-unit driving coil 62b is attached to the secondmovable portion 42. In this embodiment, thefirst driving unit 30 drives thelens 10 to translate in the x-axis and y-axis directions by electromagnetic induction of thelens driving coil 62a and the common magnet 61 ', and thesecond driving unit 40 drives the photosensitive chip to translate in the x-axis and y-axis directions by electromagnetic induction of the photosensitivemember driving coil 62b and the common magnet 61'. Further, in the present embodiment, the common magnet 61' is provided in the edge region of thesecond base portion 41, and the photosensitive-unit driving coil 62b is provided in the edge region of the secondmovable portion 42. For convenience of description, in thesecond driving portion 40, the common magnet 61' and the photosensitive-unit driving coil 62b are referred to as a coil-magnet combination. Referring to fig. 14 in combination, in the present embodiment, the coil magnet assembly includes, in a top view, a firstcoil magnet pair 63, a secondcoil magnet pair 64, and a thirdcoil magnet pair 65; wherein the firstcoil magnet pair 63 and the secondcoil magnet pair 64 are configured to provide a driving force in the x-axis direction; the thirdcoil magnet pair 65 is for providing a driving force in the y-axis direction. Thesecond driving portion 40 has a rectangular outer shape in a plan view, the firstcoil magnet pair 61 and the secondcoil magnet pair 62 are arranged along a first side 48 and asecond side 49 of thesecond driving portion 40, respectively, and the first side 48 and thesecond side 49 do not intersect with each other. The secondcoil magnet pair 63 is arranged along athird side 47 of thesecond driving portion 40, and thethird side 47 intersects both the first side 48 and thesecond side 49. Correspondingly, in the present embodiment, the lens driving coils include a first lens driving coil 62a1, a second lens driving coil 62a2, and a third lens driving coil disposed above the firstcoil magnet pair 63, the secondcoil magnet pair 64, and the thirdcoil magnet pair 65, respectively (not shown in fig. 15b, whose positions in a top view angle may refer to the positions of the thirdcoil magnet pair 65 in fig. 14). The first lens driving coil 62a1 and the common magnet 61 ' of the firstcoil magnet pair 63, and the second lens driving coil 62a2 and the common magnet 61 ' of the secondcoil magnet pair 64 are used to provide driving force in the x-axis direction, and the third lens driving coil and the common magnet 61 ' of the thirdcoil magnet pair 65 are used to provide driving force in the y-axis direction.
Further, fig. 15c shows a schematic cross-sectional view of a camera module according to still another embodiment of the present application. Refer to fig. 14 and 15 c. In this embodiment, thefirst base portion 31 may include amotor base 31a located below the firstmovable portion 32, and themotor base 31a has a light hole. In this embodiment, the common magnet 61' is attached to an edge region of themotor base 31 a; the firstmovable part 32 has a cylindrical shape, the lens is attached to an inner surface of the firstmovable part 32, and thelens driving coil 62a (for example, the first lens driving coil 62a1 and the second lens driving coil 62a2) is attached to a bottom of the firstmovable part 32. In the present embodiment, the magnet coil pair composed of the common magnet 61' and thelens driving coil 62a includes a firstcoil magnet pair 63, a secondcoil magnet pair 64, and a third coil magnet pair 65 (see fig. 14); wherein the firstcoil magnet pair 63 and the secondcoil magnet pair 64 are used for providing driving force in the x-axis direction; the thirdcoil magnet pair 65 is for providing a driving force in the y-axis direction; and the first and second pairs ofcoil magnets 63 and 64 are arranged along first and second sides of the first drivingpart 30, respectively, which do not intersect, and the third pair ofcoil magnets 65 is arranged along a third side of the first drivingpart 30, which intersects both the first and second sides. The photosensitiveassembly driving coil 62b includes a first photosensitive assembly driving coil, a second photosensitive assembly driving coil and a third photosensitive assembly driving coil which are respectively disposed below the firstcoil magnet pair 63, the secondcoil magnet pair 64 and the thirdcoil magnet pair 65; the common magnets of the first photosensitive assembly driving coil and the first coil magnet pair, and the common magnets of the second photosensitive assembly driving coil and the second coil magnet pair are used for providing driving force of thephotosensitive assembly 20 in the x-axis direction, and the common magnets of the third photosensitive assembly driving coil and the third coil magnet pair are used for providing driving force of thephotosensitive assembly 20 in the y-axis direction.
Further, in one modified embodiment of the present application, one of the first and second lens driving coils in the first driving portion may be omitted, that is, the first base portion of the first driving portion may mount only the first lens driving coil or only the second lens driving coil to provide the driving force in the x-axis direction. In this embodiment, the lens does not need to rotate around the z-axis with freedom of movement, and the x-axis and y-axis movement can be realized by reserving the first lens driving coil and the third lens driving coil. Specifically, in this embodiment, the magnet coil pair constituted by the common magnet and the photosensitive-unit driving coil includes: a first coil magnet pair, a second coil magnet pair and a third coil magnet pair; the first coil magnet pair and the second coil magnet pair are used for providing driving force in the x-axis direction; the third coil magnet pair is used for providing driving force in the y-axis direction; and in a top view, an outer contour of the second driving portion is rectangular, the first coil magnet pair and the second coil magnet pair are respectively arranged along a first side and a second side of the first driving portion, the first side and the second side do not intersect, the third coil magnet pair is arranged along a third side of the second driving portion, and the third side intersects with both the first side and the second side. The lens drive coil includes an x-axis lens drive coil that may be located directly above the first coil magnet pair and a y-axis lens drive coil that may be located directly above the third coil magnet pair. And the lens driving coil may not be arranged right above the second coil magnet pair. The design can reduce the number of the lens driving coils of the first movable part, and is favorable for reducing the difficulty of realizing the electric connection between the coils of the first movable part and the circuit board of the photosensitive assembly, thereby reducing the process cost and improving the production yield. Meanwhile, due to the Rz movement freedom (i.e., the freedom of rotation about the z-axis) by the second movable portion, the present embodiment can still achieve the relative rotation between the photosensitive chip and the electronic terminal device (e.g., mobile phone) in the Rz freedom.
Further, fig. 15d shows a schematic cross-sectional view of a camera module according to a modified embodiment of the present application. This embodiment can be considered as a variation of the embodiment of fig. 15 c. Referring to fig. 15d, in the present embodiment, the common magnet is mounted on the bottom of the first base portion (e.g., on the motor base). With this design, the distance between thelens driving coil 62a and the common magnet 61' in the first driving unit is small, and the driving force of the coil magnet pair of the first driving unit can be increased. However, the distance between the common magnet 61' and the coil of the second driving portion (the photosensitive-member driving coil 62b) may be relatively large. Therefore, in the present embodiment, thenotch 68 or the throughhole 69 may be disposed at a position of thesecond base portion 41 corresponding to the common magnet 61 '(i.e., the photosensitive assembly driving coil is not shielded by the second base portion in a top view due to the hollow structure), so as to avoid reducing the electromagnetic force between the common magnet 61' and the photosensitiveassembly driving coil 62b due to the blocking of thesecond base portion 41. In this embodiment, thenotch 68 or the throughhole 69 is a hollowed-out structure formed by hollowing out a part of the block on the second base portion. Further, fig. 15e shows a schematic perspective view of the second driving portion with the second base portion having the notch, and fig. 15f shows a schematic perspective exploded view of the second driving portion with the second base portion having the notch. Referring to fig. 15e and 15f, it can be seen that thenotch 68 refers to a hollow structure not surrounded by the non-hollow blocks of the second base portion on at least one side. For example, when the coil is disposed at a position close to the outer side surface of the second driving portion, an edge block of the second base portion corresponding to the coil may be hollowed out to form the notch. The photosensitive assembly drive coil may be any one or more of the first photosensitive assembly drive coil, the second photosensitive assembly drive coil, and the third photosensitive assembly drive coil. Fig. 15g shows a perspective view of the second driving part with the through hole of the second base part, and fig. 15h shows an exploded perspective view of the second driving part with the through hole of the second base part. Referring to fig. 15g and 15h, it can be seen that the throughhole 69 is a hollow structure surrounded by the non-hollow blocks of thesecond base portion 41. In this embodiment, thebase 41b of thesecond base portion 41 is located between themotor base 31a and the secondmovable portion 42, and therefore thenotch 68 or the throughhole 69 is located on the base 41b of thesecond base portion 41. Note that the throughhole 69 is a through hole in the edge region for avoiding the magnetic field of the magnet, and is not a light passing hole in the center.
In the above embodiments, the design concept of the magnet shared by the first driving portion and the second driving portion is adopted, which can reduce the occupied volume for mounting the magnet for the first base portion or the second base portion, and help to reduce the thickness of the base of the first base portion (e.g., the motor base) or the second base portion (the base of the second base portion is usually located between the first base portion and the second movable portion), thereby helping to reduce the height of the anti-shake camera module.
In the above embodiment, the bottom surface of the first base portion and the top surface of the second base portion may be bonded by a first adhesive material, so as to bond a first combination of the first driving portion and the lens assembly and a second combination of the second driving portion and the photosensitive assembly, thereby forming a complete camera module. The first rubber material may be arranged outside the common magnet of the first base portion or the second base portion in a plan view. This design may avoid that the adhesion between the first and second basis parts is negatively affected. This is because the glue is usually selected according to the materials of the first base portion and the second base portion, and therefore the adhesion force between the glue and the magnet is usually weaker than the adhesion force between the glue and the first base portion and the second base portion. Therefore, in this embodiment, the arrangement position of the glue avoids the common magnet of the first base portion or the second base portion, which can help to improve the structural strength and reliability of the camera module.
Further, according to an embodiment of the application, in the module of making a video recording, the sensitization subassembly can include the circuit board, install in the sensitization chip on circuit board surface, install in circuit board surface and around the microscope base around the sensitization chip, install in the light filter of microscope base, and install in circuit board surface just is located the electronic component in the microscope base outside. In the second driving portion, the second movable portion may have a rigid extension arm extending downward, the extension arm is bonded to the circuit board of the photosensitive assembly, the extension arm surrounds the mirror base, and the electronic component is located in a gap between an inner side surface of the extension arm and an outer side surface of the mirror base; and the photosensitive assembly driving coil is electrically connected with the circuit board through an FPC, the FPC is attached to the side surface of the extension arm, and the FPC is directly soldered on the circuit board. In this embodiment, the rigid extension arm surrounding the mirror base can protect the electronic components. The electronic components may be resistors, capacitors, etc., and they may form various functional circuits required by the camera module together with the circuits in the circuit board.
Further, fig. 16a shows a schematic cross-sectional view of a camera module in an embodiment of the present application. Referring to fig. 16a, in the present embodiment, the side wall of therear case 49 may have a first throughhole 49b for a Flexible Printed Circuit (FPC) of thecircuit board 23 to pass through, thereby achieving electrical connection with a main board or other components of the terminal device. Thebottom plate 49c of therear case 49 may have a second throughhole 49d at the center thereof to facilitate the assembly of the camera module. The process of assembling the camera module may include: thelens 10 is first mounted on the first drivingportion 30, thesecond driving portion 40 is then attached to the bottom of the first drivingportion 30, and finally thephotosensitive element 20 is attached to the secondmovable portion 42 of thesecond driving portion 40 upward through the second throughhole 49d at the bottom of therear case 49.
Fig. 16b is a schematic diagram illustrating an assembly of the camera module according to an embodiment of the present application. In this embodiment, thephotosensitive assembly 20 may be optionally placed on the adjustingdevice 29, and the second throughhole 49d in the bottom of therear case 49 allows the adjustingdevice 29 to determine the preferred position and posture of thephotosensitive assembly 20 through the active calibration process, and then to be bonded to the secondmovable portion 42 of thesecond driving portion 40 through theglue 28.
Fig. 16c shows a schematic cross-sectional view of a camera module in another embodiment of the present application. Referring to fig. 16c, in this embodiment, the bottom of therear case 49 is acomplete bottom plate 49c, that is, thebottom plate 49c is not provided with a second through hole, when assembling, thesecond driving portion 40 and thephotosensitive component 20 may be attached together to form a first assembly, the first drivingportion 30 and thelens 10 are assembled together to form a second assembly, then the relative position of the first assembly and the second assembly is determined through the active calibration process (the active calibration includes adjustment of position and posture), and finally the first drivingportion 30 and thesecond driving portion 40 are attached according to the relative position determined by the active calibration, wherein theglue 27 for attaching the first assembly and the second assembly may be disposed between the bottom surface of the first drivingportion 30 and the top surface of thesecond driving portion 40.
Further, fig. 17 shows an arrangement manner of the camera module and the connecting belt thereof in an embodiment of the present application. Referring to fig. 17, in the present embodiment, the image capturing module may include a first connectingbelt 26a and a second connectingbelt 26b, the first connectingbelt 26a is disposed at a top region of the first drivingportion 30 and electrically connected to the first drivingportion 30, and the second connectingbelt 26b is communicated with thecircuit board 23 of thephotosensitive assembly 20. Wherein the second connectingbelt 26b can be provided with a plurality of bends to form a bending lamination shape so as to buffer the stress caused by the movement of thephotosensitive assembly 20. The ends of the second connectingstrips 26b may be provided with connectors that are optionally press-fitted and electrically connected to the center posts, and then the center posts 26c are used to conduct the motherboard (or other components) of the terminal device. Similarly, the end of the first connectingbelt 26a can be connected to a connector, which is fixed and electrically connected to the middlerotating column 26c by pressing, and the main board (or other components) of the terminal device is conducted through the middlerotating column 26 c. In the solution of the present embodiment, the conducting circuit of the first drivingportion 30 can be separated from thephotosensitive element 20, and is not affected by the movement of thephotosensitive element 20. Thesecond connection strap 26b and the middlerotating post 26c may be accommodated in thesecond housing 70, thefirst connection strap 26a is located outside thesecond housing 70, and the top of thesecond housing 70 may have a third through hole 70a so that the connector of thefirst connection strap 26a extends into and is electrically communicated with thesecond connection strap 26b or the middlerotating post 26 c.
In the above embodiment, the first driving portion and the second driving portion may constitute a driving structure for the optical actuator, in which the first driving portion is adapted to mount the lens, the second driving portion is adapted to mount the photosensitive component, and the lens and the photosensitive chip are configured to be driven simultaneously and move in opposite directions. For example, if the lens is driven to move in the positive x-axis direction, the photosensitive chip is driven to move in the negative x-axis direction; the lens is driven to move towards the positive direction of the y axis, and then the photosensitive chip is driven to move towards the negative direction of the y axis; or the lens is driven to move in the x axis and the y axis, and the photosensitive chip is driven to move in the opposite direction to the lens movement in the x axis and the y axis, in other words, when the lens needs to move in the x axis and the y axis simultaneously, the directions of the displacement vector of the lens and the displacement vector of the photosensitive chip on the xoy plane are opposite. In this embodiment, dispose camera lens and sensitization chip into and move simultaneously, and camera lens and sensitization chip moving direction are opposite, can realize faster response, and it is better to have better anti-shake effect. In addition, the anti-shake angle range of the camera module is limited by the suspension system and the driving system, and a relatively large compensation angle range cannot be achieved. In addition, in this embodiment, by driving the lens or the photosensitive chip to move in opposite directions at the same time, compared with a scheme of driving only the lens to move, a stroke of the relative movement between the lens and the photosensitive chip is larger (for convenience of description, the stroke of the relative movement may be referred to as an anti-shake stroke), and a better compensation effect may be achieved. Particularly, due to the increase of the anti-shake stroke, the embodiment also has a good compensation effect on the tilt shake of the camera module. Furthermore, the moving direction of the anti-shake movement of the embodiment can be limited in the xoy plane, and the optical axis of the lens or the photosensitive chip does not need to be inclined, so that the image blurring problem caused by the anti-shake movement is avoided.
Further, in the camera module, the circuit board of the photosensitive assembly generally includes a rigid circuit board main body and a flexible connection belt, one end of the flexible connection belt is connected to the circuit board main body, and the other end of the flexible connection belt is connected to and conducts the main board or other components of the electronic device through the connector. In the prior art, the flexible connecting band of the photosensitive assembly is usually led out from the side of the circuit board main body, and the flexible connecting band is approximately parallel to the surface of the circuit board column. In this arrangement, the flexible connection belt may generate a large resistance to the movement of the circuit board main body, which may increase the force required to drive the circuit board main body to move, resulting in insufficient anti-shake compensation stroke and reduced response speed. Also, the resistance caused by the connection belt is irregular, which makes it difficult for the second driving portion to compensate for the resistance, possibly causing a decrease in accuracy of the anti-shake compensation. Therefore, the present embodiment provides a suspended circuit board as the circuit board of the photosensitive component adapted to the second driving portion, which will help to overcome the above-mentioned drawbacks caused by the connection tape.
Fig. 18 is a perspective view illustrating an assembled second driving unit and photosensitive assembly according to an embodiment of the present disclosure. Fig. 19 shows an exploded view of the second driving portion and the photosensitive member in one embodiment of the present application. Fig. 20 is a perspective view of a photosensitive assembly and a suspension board used therein according to an embodiment of the present application. Referring to fig. 18, 19 and 20, in the camera module according to the embodiment, thephotosensitive element 20 is connected to the secondmovable portion 42 of thesecond driving portion 40, so that the circuit boardmain body 71 can move in the xoy plane under the driving of the secondmovable portion 42. Thecircuit board 23 of the present embodiment is designed as a suspended structure. Specifically, thecircuit board 23 includes a rigid circuit boardmain body 71 and aflexible connection tape 72, theconnection tape 72 may include athird connection tape 72a and afourth connection tape 72b, and thethird connection tape 72a and thefourth connection tape 72b may be respectively led out from two opposite side surfaces (for convenience of description, the two opposite side surfaces may be referred to as afirst side surface 74a and asecond side surface 74b) of the circuit boardmain body 71 and bent upward. The bentthird connection band 72a and the bentfourth connection band 72b may form a hangingportion 75, respectively. The suspendingportion 75 may be connected with the base portion of the second driving portion 40 (or the first driving portion 30) to form a suspending structure. The suspension structure allows the base portion to suspend the circuit boardmain body 71 and the components mounted on the surface thereof (i.e., suspend the photosensitive assembly 20) by thebent portion 73 of theflexible connection tape 72. Specifically, in one example, thesuspension portion 75 may have a through hole (suspension hole 75a), and thesecond base portion 41 of thesecond driving portion 40 may have acorresponding hook 75b, and thehook 75b hooks the through hole of thesuspension portion 75 to connect thesuspension portion 75. In the prior art, the connecting band and the circuit board main body are generally in the same plane, and the deflection of the connecting band relative to the circuit board main body on the same plane can generate larger resistance. In the present embodiment, the connecting position of the connectingband 72 and the circuit boardmain body 71 is provided with a bendingportion 73 formed by bending upward, and at this time, the resistance generated by the connectingband 72 relative to the circuit boardmain body 71 in the xoy plane (which can be regarded as a horizontal plane) is relatively small.
Further, in an embodiment of the present application, thethird connection tape 72a and thefourth connection tape 72b may extend along the periphery of the circuit boardmain body 71 and thephotosensitive assembly 20, so that theconnection tape 72 surrounds the photosensitive assembly on at least three sides. And, thethird connection strap 72a and thefourth connection strap 72b are connected to each other and electrically conducted. Thephotosensitive assembly 20 has afirst side 74a and asecond side 74b that are aligned with the circuit boardmain body 71. Thefirst side 74a and thesecond side 74b are oppositely disposed (i.e., mutually intersected), and thethird side 74c of thephotosensitive member 20 is intersected with both thefirst side 74a and thesecond side 74 b. The connectingband 72 may surround thefirst side 74a, thesecond side 74b and thethird side 74c of thephotosensitive assembly 20. The third connectingband 72a is led out from thefirst side surface 74a of the circuit boardmain body 71 and bent upward to form thebent portion 73, and then extends along thefirst side surface 74a of thephotosensitive assembly 20, and is bent in the horizontal direction at a corner and continues to extend along thethird side surface 74 c. The fourth connectingband 72b is led out from thesecond side 74b of the circuit boardmain body 71 and bent upward to form anotherbent portion 73, and then extends along thesecond side 74b of thephotosensitive assembly 20, and is horizontally bent at a corner and continues to extend along thethird side 74 c. The third connectingband 72a and the fourth connectingband 72b can be joined and conducted to each other at thethird side 74c, thereby forming a complete connectingband 72. The three connection belt sections at thefirst side 74a, thesecond side 74b and thethird side 74c may respectively have at least onesuspension portion 75, and eachsuspension portion 75 has at least one through hole to connect with thesecond base portion 41 of the second driving portion 40 (or the first driving portion 30). In this embodiment, the suspendingportion 75 can suspend the circuit boardmain body 71 through the bendingportions 73 located at two opposite sides of the circuit boardmain body 71, so that when the circuit boardmain body 71 is driven by thesecond driving portion 40 to move, the bendingportions 73 and the connectingband 72 can be bent and deformed, and the moving stroke of the circuit boardmain body 71 is satisfied.
Further, in an embodiment of the present application, the hangingportions 73 of the three connection belt sections located at thefirst side 74a, thesecond side 74b and thethird side 74c may each be reinforced by a rigid substrate. For example, a rigid substrate may be attached to a partial region of the flexible connection tape to form thesuspension portion 73. And other areas of the flexible connecting belt still keep a flexible state so as to be capable of bending and deforming and meet the moving stroke of the circuit boardmain body 71.
Further, in an embodiment of the present application, the connection band section located on thethird side 74c may have a rigid suspension portion 75c, the suspension portion 75c may lead out afifth connection band 76, and thefifth connection band 76 may be used for connecting a main board of an electronic device (e.g., a mobile phone).
Further, in another embodiment of the present application, the suspension portion may also be connected with an external bracket (not shown in the drawings), which is directly or indirectly fixed with the base portion of the second driving portion. In the present application, the suspension portion may be fixed to the base portion of the second driving portion by another intermediary. The intermediate member may be directly or indirectly fixed to the base portion of the second driving portion. The intermediate has hooks for hooking the suspending part, or the intermediate is adhered to the suspending part. The intermediary member may be an external frame, a base of the first driving unit, or another intermediary member.
Further, in another embodiment of the present application, the suspension portion may not have the through hole. In this embodiment, the suspension portion may be fixed to the base portion of the second driving portion (or to the base portion of the first driving portion or the outer bracket) by bonding. Further, in another embodiment of the present application, the third connecting band and the fourth connecting band may be rigid-flexible boards, wherein the portion forming the suspension portion may be a rigid board, and both the portion connecting the suspension portion and the bent portion formed by bending upward may be a flexible board. Since the suspension portion is directly formed by the hard plate, the suspension portion in this embodiment may not be reinforced by attaching a rigid substrate.
Further, in an embodiment of the present application, the circuit board main body, the third connecting band and the fourth connecting band may be formed by a complete rigid-flex board.
Further, still referring to fig. 18, 19 and 20, in an embodiment of the present application, the circuit board may further have a fixingportion 76a for fixing thefifth connection band 76, which is designed to prevent the circuit boardmain body 71, thethird connection band 72a and thefourth connection band 72b from being affected by external factors.
Further, fig. 21a shows a schematic front view of a suspension board in an embodiment of the present application after deployment; fig. 21b shows a schematic view of the back side of a hanging wiring board after deployment in one embodiment of the present application. Referring to fig. 21a and 21b, in this embodiment, thecircuit board 23 may be formed by a rigid-flex board. The sections of the third connectingband 72a and the fourth connectingband 72b on thethird side 74c can be snapped together byconnectors 78 and 79 (refer to fig. 20), so that the third connectingband 72a and the fourth connectingband 72b are fixed and further electrically connected. The third connectingband 72a and the fourth connectingband 72b are provided with circuits therein to lead out the circuits in the circuit boardmain body 71, and further connected to an external circuit through the fifth connectingband 76 and theconnector 77 thereof. Since the third connectingband 72a and the fourth connectingband 72b can respectively lead out a part of the circuit through the corresponding bendingpart 73 formed by bending upwards, the circuit required to be led out by each bendingpart 73 can be reduced, so that the width of each bendingpart 73 can be reduced, and the resistance of the flexible connectingband 72 to the movement of the circuit boardmain body 71 can be further reduced, and the driving force required to be provided by the second drivingpart 40 can be further reduced. Note that in other embodiments of the present application, the circuit of the circuit board main body may also be led out through only one of the bent portions (for example, the bent portion bent upward of the third connection tape or the bent portion bent upward of the fourth connection tape).
Finally, it should be noted that the above embodiments are only used for illustrating the technical solutions of the present invention and are not limited. Although the present invention has been described in detail with reference to the embodiments, it will be understood by those skilled in the art that various changes may be made and equivalents may be substituted without departing from the spirit and scope of the invention as defined in the appended claims.

Claims (23)

19. The driving structure for an optical actuator according to claim 18, wherein a coil magnet combination of the common magnet and the photosensitive-component driving coil in the second driving section includes a first coil magnet pair, a second coil magnet pair, and a third coil magnet pair; the first coil magnet pair and the second coil magnet pair are used for providing driving force in the x-axis direction; the third coil magnet pair is used for providing driving force in the y-axis direction; in a top view, the second driving portion has a rectangular shape, the first coil magnet pair and the second coil magnet pair are respectively arranged along a first side and a second side of the second driving portion, the first side and the second side do not intersect, the second coil magnet pair is arranged along a third side of the second driving portion, and the third side intersects with both the first side and the second side; and is
a magnet coil pair composed of the common magnet and the lens driving coil comprises a first coil magnet pair, a second coil magnet pair and a third coil magnet pair; the first coil magnet pair and the second coil magnet pair are used for providing driving force in the x-axis direction; the third coil magnet pair is used for providing driving force in the y-axis direction; in a top view, the outer contour of the first driving part is rectangular, the first coil magnet pair and the second coil magnet pair are respectively arranged along a first side and a second side of the first driving part, the first side and the second side do not intersect, the third coil magnet pair is arranged along a third side of the second driving part, and the third side intersects with the first side and the second side; and is
22. A driving structure for an optical actuator according to claim 20, wherein the pair of magnet coils of the common magnet and the photosensitive-component driving coil includes: a first coil magnet pair, a second coil magnet pair and a third coil magnet pair; the first coil magnet pair and the second coil magnet pair are used for providing driving force in the x-axis direction; the third coil magnet pair is used for providing driving force in the y-axis direction; in a top view, the outer contour of the second driving part is rectangular, the first coil magnet pair and the second coil magnet pair are respectively arranged along a first side and a second side of the first driving part, the first side and the second side do not intersect, the third coil magnet pair is arranged along a third side of the second driving part, and the third side intersects with the first side and the second side;
CN202011521767.0A2020-11-252020-11-25Driving structure for optical actuator and corresponding camera moduleActiveCN114554074B (en)

Priority Applications (1)

Application NumberPriority DateFiling DateTitle
CN202011521767.0ACN114554074B (en)2020-11-252020-11-25Driving structure for optical actuator and corresponding camera module

Applications Claiming Priority (2)

Application NumberPriority DateFiling DateTitle
CN202011338741.2ACN114554071B (en)2020-11-252020-11-25 Driving structure for optical actuator and corresponding camera module
CN202011521767.0ACN114554074B (en)2020-11-252020-11-25Driving structure for optical actuator and corresponding camera module

Related Parent Applications (1)

Application NumberTitlePriority DateFiling Date
CN202011338741.2ADivisionCN114554071B (en)2020-11-252020-11-25 Driving structure for optical actuator and corresponding camera module

Publications (2)

Publication NumberPublication Date
CN114554074Atrue CN114554074A (en)2022-05-27
CN114554074B CN114554074B (en)2024-10-22

Family

ID=81659614

Family Applications (3)

Application NumberTitlePriority DateFiling Date
CN202011520196.9AActiveCN114554073B (en)2020-11-252020-11-25Driving structure for optical actuator and corresponding camera module
CN202011338741.2AActiveCN114554071B (en)2020-11-252020-11-25 Driving structure for optical actuator and corresponding camera module
CN202011521767.0AActiveCN114554074B (en)2020-11-252020-11-25Driving structure for optical actuator and corresponding camera module

Family Applications Before (2)

Application NumberTitlePriority DateFiling Date
CN202011520196.9AActiveCN114554073B (en)2020-11-252020-11-25Driving structure for optical actuator and corresponding camera module
CN202011338741.2AActiveCN114554071B (en)2020-11-252020-11-25 Driving structure for optical actuator and corresponding camera module

Country Status (1)

CountryLink
CN (3)CN114554073B (en)

Cited By (2)

* Cited by examiner, † Cited by third party
Publication numberPriority datePublication dateAssigneeTitle
WO2023232001A1 (en)*2022-05-312023-12-07宁波舜宇光电信息有限公司Driving device and camera module
TWI833668B (en)*2023-07-032024-02-21大陸商宏啟勝精密電子(秦皇島)有限公司Lens module and method for manufacturing the same

Families Citing this family (1)

* Cited by examiner, † Cited by third party
Publication numberPriority datePublication dateAssigneeTitle
CN115442528B (en)*2022-08-312024-05-14维沃移动通信有限公司 Camera modules and electronic devices

Citations (4)

* Cited by examiner, † Cited by third party
Publication numberPriority datePublication dateAssigneeTitle
US20110181740A1 (en)*2008-09-302011-07-28Hiroyuki WatanabeImage blur correction device, imaging lens unit, and camera unit
CN105573014A (en)*2016-01-222016-05-11南昌欧菲光电技术有限公司Camera module with focusing and anti-shaking functions
CN108427166A (en)*2017-02-152018-08-21三星电子株式会社Camera model and double camera module
CN111698352A (en)*2019-03-142020-09-22南昌欧菲光电技术有限公司Camera module and electronic equipment

Family Cites Families (7)

* Cited by examiner, † Cited by third party
Publication numberPriority datePublication dateAssigneeTitle
CN101017309B (en)*2006-02-082010-10-27松下电器产业株式会社 Image shake correction device and camera
CN107277309B (en)*2016-04-082020-06-05台湾东电化股份有限公司 camera module
CN109975898A (en)*2017-12-272019-07-05华为技术有限公司A kind of control method of lens module and lens module
CN209299370U (en)*2018-12-272019-08-23欧菲影像技术(广州)有限公司 Camera module and smart terminal
CN210725001U (en)*2019-10-112020-06-09南昌欧菲光电技术有限公司Camera module and electronic equipment
CN211239952U (en)*2020-03-312020-08-11维沃移动通信有限公司Camera module and electronic equipment
CN111479046A (en)*2020-04-172020-07-31维沃移动通信有限公司 A camera module and electronic equipment

Patent Citations (4)

* Cited by examiner, † Cited by third party
Publication numberPriority datePublication dateAssigneeTitle
US20110181740A1 (en)*2008-09-302011-07-28Hiroyuki WatanabeImage blur correction device, imaging lens unit, and camera unit
CN105573014A (en)*2016-01-222016-05-11南昌欧菲光电技术有限公司Camera module with focusing and anti-shaking functions
CN108427166A (en)*2017-02-152018-08-21三星电子株式会社Camera model and double camera module
CN111698352A (en)*2019-03-142020-09-22南昌欧菲光电技术有限公司Camera module and electronic equipment

Cited By (3)

* Cited by examiner, † Cited by third party
Publication numberPriority datePublication dateAssigneeTitle
WO2023232001A1 (en)*2022-05-312023-12-07宁波舜宇光电信息有限公司Driving device and camera module
CN119213779A (en)*2022-05-312024-12-27宁波舜宇光电信息有限公司 A driving device and a camera module
TWI833668B (en)*2023-07-032024-02-21大陸商宏啟勝精密電子(秦皇島)有限公司Lens module and method for manufacturing the same

Also Published As

Publication numberPublication date
CN114554071B (en)2024-10-22
CN114554073B (en)2024-10-18
CN114554073A (en)2022-05-27
CN114554074B (en)2024-10-22
CN114554071A (en)2022-05-27

Similar Documents

PublicationPublication DateTitle
EP4254929A1 (en)Driving structure for optical actuator and corresponding camera module
CN114531527B (en) Optical image stabilization camera module
CN114449159B (en)Driving structure for optical anti-shake camera module and corresponding camera module
CN114554074A (en)Driving structure for optical actuator and corresponding camera module
US12323706B2 (en)Optical image stabilization camera module
CN114513588A (en)SMA motor, camera module and electronic equipment
CN114554068B (en)Optical anti-shake camera module
CN114520858B (en)Optical anti-shake camera module
CN114428435B (en)Driving structure for optical actuator and corresponding camera module
US20240276088A1 (en)Driving structure for use in optical actuator, corresponding photographing module, and assembly method
CN114554070B (en)Optical anti-shake camera module
CN116939346A (en)Lens driving device and camera module thereof

Legal Events

DateCodeTitleDescription
PB01Publication
PB01Publication
SE01Entry into force of request for substantive examination
SE01Entry into force of request for substantive examination
GR01Patent grant
GR01Patent grant

[8]ページ先頭

©2009-2025 Movatter.jp