















技术领域technical field
本发明涉及通信技术领域,尤其涉及一种会话建立方法、装置、电子设备及存储介质。The present invention relates to the field of communication technologies, and in particular, to a session establishment method, apparatus, electronic device and storage medium.
背景技术Background technique
为满足URLLC的极高可靠性要求,可以采用冗余用户平面路径(Redundant userplane paths)的方案,即为业务设置2个冗余的PDU(packet data unit,分组数据单元)会话,2个冗余PDU(packet data unit,分组数据单元)会话采用独立的用户面传输路径,某条用户面故障不影响业务正常使用。In order to meet the extremely high reliability requirements of URLLC, the scheme of redundant user plane paths (Redundant userplane paths) can be adopted, that is, two redundant PDU (packet data unit, packet data unit) sessions are set up for the service, two redundant A PDU (packet data unit, packet data unit) session adopts an independent user plane transmission path, and the failure of a certain user plane does not affect the normal use of services.
现有的冗余PDU会话建立方法有两种,第一种是基于双连接的冗余平面路径,此种方案下,当一对PDU会话需要冗余用户平面时,接入网RAN需要建立和维护双连接,一对PDU会话分别对应的MgNB和SgNB都有一个独立的PDCP(Packet Data Convergence Protocol,分组数据汇聚协议)实体来处理两个独立的用户平面路径,RAN网络复杂性高。且实际网络部署时,MgNB和SgNB可能绑定不同厂家,不利于引入竞争;第二种是单设备多UE的用户平面冗余,每个终端设备需要集成多个UE(User Equipment,用户设备),终端成本高,实现复杂。There are two existing redundant PDU session establishment methods. The first is a redundant plane path based on dual connections. Under this scheme, when a pair of PDU sessions requires a redundant user plane, the access network RAN needs to establish and To maintain dual connectivity, the MgNB and SgNB corresponding to a pair of PDU sessions have an independent PDCP (Packet Data Convergence Protocol) entity to process two independent user plane paths, and the RAN network complexity is high. And in the actual network deployment, MgNB and SgNB may be bound to different manufacturers, which is not conducive to the introduction of competition; the second is the user plane redundancy of single equipment and multiple UEs, and each terminal equipment needs to integrate multiple UEs (User Equipment, user equipment). , the terminal cost is high, and the implementation is complicated.
因此,如何提出一种实现简单且节约成本的PDU会话建立方法,成为亟需解决的问题。Therefore, how to propose a simple and cost-saving PDU session establishment method has become an urgent problem to be solved.
发明内容SUMMARY OF THE INVENTION
本发明提供一种会话建立方法、装置、电子设备及存储介质,用以解决现有技术中PDU冗余会话建立成本高,实现复杂的缺陷,实现流程简单且节约成本的PDU冗余会话建立。The present invention provides a session establishment method, device, electronic device and storage medium, which are used to solve the defects of high cost and complex implementation of PDU redundant session establishment in the prior art, and realize simple and cost-saving PDU redundant session establishment.
第一方面,本发明提供一种会话建立方法,应用于包括至少2个目标用户识别卡USIM(Universal Subscriber Identity Module)卡的终端,包括:通过目标基站发送对应的PDU会话建立请求,所述目标基站配置有对应于USIM卡的归属PLMN(Public Land MobileNetwork,公共陆地移动网)网络标识,所述PDU会话请求携带有与对应的目标基站中相同的归属PLMN网络标识,以使目标SMF(Session Management Function,会话管理功能)基于所述PDU会话建立请求建立对应于所述归属PLMN网络标识的PDU会话;In a first aspect, the present invention provides a session establishment method, which is applied to a terminal including at least two target subscriber identity cards USIM (Universal Subscriber Identity Module) cards, including: sending a corresponding PDU session establishment request through a target base station, the target The base station is configured with a home PLMN (Public Land Mobile Network) network identity corresponding to the USIM card, and the PDU session request carries the same home PLMN network identity as in the corresponding target base station, so that the target SMF (Session Management Function, session management function) establishes a PDU session corresponding to the home PLMN network identity based on the PDU session establishment request;
其中,与所述终端中至少2个USIM卡对应的至少2个目标基站之间相互独立且属于同一接入网RAN(radio access network,无线电接入网)且覆盖同一区域;所述包括至少2个USIM卡的终端对应建立至少2个PDU会话。Wherein, at least two target base stations corresponding to at least two USIM cards in the terminal are independent from each other, belong to the same access network RAN (radio access network, radio access network), and cover the same area; the at least two target base stations include at least two Each USIM card terminal corresponds to establish at least two PDU sessions.
根据本发明一个实施例的会话建立方法,通过目标基站发送对应的PDU会话建立请求,包括:According to a session establishment method according to an embodiment of the present invention, sending a corresponding PDU session establishment request through a target base station includes:
通过目标基站向目标AMF(Access and Mobility Management Function)发送对应的PDU会话建立请求,以使所述目标AMF接收到所述PDU会话建立请求后,选定目标SMF并转发所述PDU会话建立请求;Send the corresponding PDU session establishment request to the target AMF (Access and Mobility Management Function) through the target base station, so that after receiving the PDU session establishment request, the target AMF selects the target SMF and forwards the PDU session establishment request;
所述选定目标SMF包括所述目标AMF选定对应的SMF池中的目标SMF,或所述目标AMF直接选定目标SMF。The selected target SMF includes that the target AMF selects the target SMF in the corresponding SMF pool, or the target AMF directly selects the target SMF.
根据本发明一个实施例的会话建立方法,所述PDU会话建立请求中还携带有与对应的目标基站对应于同一USIM卡的用户身份标识SUPI(SUbscription PermanentIdentifier,用户永久标识符);所述终端中至少2个USIM卡各自对应的SUPI号段归属于同一个UDM/UDR;According to the session establishment method of an embodiment of the present invention, the PDU session establishment request further carries a SUPI (SUbscription PermanentIdentifier, user permanent identifier) that corresponds to the same USIM card as the corresponding target base station; The corresponding SUPI number segments of at least two USIM cards belong to the same UDM/UDR;
所述方法还包括:The method also includes:
在所述终端初始注册时,通过目标基站向目标AMF发送对应的注册请求,所述注册请求中携带有与对应的目标基站中相同的归属PLMN网络标识和与所述对应的目标基站对应于同一USIM卡的用户身份加密标识SUCI,所述SUCI基于对应于同一USIM卡的SUPI加密获得,以使所述目标AMF在用户鉴权流程通过后从所述SUPI号段归属的UDM/UDR获取所述USIM卡的签约数据;When the terminal is initially registered, a corresponding registration request is sent to the target AMF through the target base station, and the registration request carries the same home PLMN network identity as that of the corresponding target base station and the same identity as the corresponding target base station. The user identity encryption identifier SUCI of the USIM card, the SUCI is obtained based on the SUPI encryption corresponding to the same USIM card, so that the target AMF obtains the SUPI number from the UDM/UDR to which the SUPI number segment belongs after the user authentication process passes. USIM card contract data;
其中,所述用户鉴权流程是所述目标AMF基于所述SUCI寻址到用户归属的AUSF且所述AUSF基于所述SUCI寻址到对应的UDM/UDR(Unified Data Management,统一数据管理功能/Unified Data Repository,统一数据存储功能)之后进行的鉴权流程。The user authentication process is that the target AMF addresses the AUSF to which the user belongs based on the SUCI, and the AUSF addresses the corresponding UDM/UDR (Unified Data Management) based on the SUCI. Unified Data Repository, the authentication process after the unified data storage function).
根据本发明一个实施例的会话建立方法,所述方法还包括:According to a session establishment method according to an embodiment of the present invention, the method further includes:
在所述终端开机选网时,基于所述对应于USIM卡的归属PLMN网络标识,选择配置有相同归属PLMN网络标识的目标基站。When the terminal is powered on and selects a network, based on the home PLMN network identification corresponding to the USIM card, a target base station configured with the same home PLMN network identification is selected.
第二方面,本发明提供一种会话建立方法,包括:In a second aspect, the present invention provides a method for establishing a session, including:
接收包括至少2个USIM卡的终端通过目标基站发送的对应的PDU会话建立请求,所述目标基站配置有对应于USIM卡的归属PLMN网络标识,所述PDU会话请求携带有与对应的目标基站中相同的归属PLMN网络标识;Receive a corresponding PDU session establishment request sent by a terminal including at least 2 USIM cards through a target base station, the target base station is configured with a home PLMN network identifier corresponding to the USIM card, and the PDU session request carries the corresponding target base station. The same home PLMN network identity;
基于所述PDU会话建立请求,建立对应于所述归属PLMN网络标识的PDU会话;Based on the PDU session establishment request, establish a PDU session corresponding to the identity of the home PLMN network;
其中,与所述终端中至少2个USIM卡对应的至少2个目标基站之间相互独立且属于同一接入网RAN且覆盖同一区域;Wherein, at least two target base stations corresponding to at least two USIM cards in the terminal are independent of each other and belong to the same access network RAN and cover the same area;
所述包括至少2个USIM卡的终端对应建立至少2个PDU会话。The terminal including at least two USIM cards correspondingly establishes at least two PDU sessions.
根据本发明一个实施例的会话建立方法,所述PDU会话建立请求中还携带有与对应的目标基站对应于同一USIM卡的用户身份标识SUPI;所述终端中至少2个USIM卡各自对应的SUPI号段归属于同一个UDM/UDR;According to the session establishment method of an embodiment of the present invention, the PDU session establishment request further carries the user identity SUPI corresponding to the same USIM card as the corresponding target base station; the SUPI corresponding to at least two USIM cards in the terminal respectively The number segment belongs to the same UDM/UDR;
所述基于所述PDU会话建立请求,建立对应于所述归属PLMN网络标识的PDU会话,包括:The establishing a PDU session corresponding to the home PLMN network identity based on the PDU session establishment request includes:
向与所述目标基站对应于同一USIM卡的SUPI号段归属的UDM/UDR获取所述USIM卡的签约数据;Obtain the subscription data of the USIM card from the UDM/UDR to which the SUPI number segment of the same USIM card belongs to the target base station;
基于所述签约数据获取对应于所述SUPI的冗余会话号码RSN参数,确定为所述终端建立对应于所述归属PLMN网络标识的PDU会话;Obtain the redundant session number RSN parameter corresponding to the SUPI based on the subscription data, and determine to establish a PDU session corresponding to the home PLMN network identity for the terminal;
确定所述PDU会话对应的归属PLMN网络标识与所述PDU会话建立请求中的归属PLMN网络标识匹配,选择目标UPF;Determine that the home PLMN network identity corresponding to the PDU session matches the home PLMN network identity in the PDU session establishment request, and select the target UPF;
基于所述归属PLMN网络标识,为所述PDU会话分配对应的IP地址,完成建立PDU会话。Based on the home PLMN network identifier, a corresponding IP address is allocated to the PDU session, and the establishment of the PDU session is completed.
根据本发明一个实施例的会话建立方法,所述选择目标UPF,包括:According to the session establishment method according to an embodiment of the present invention, the selecting a target UPF includes:
在预设的对应的UPF池中选择目标UPF;或Select the target UPF from the preset corresponding UPF pool; or
基于所述对应于USIM卡的归属PLMN网络标识,选择目标UPF。The target UPF is selected based on the home PLMN network identity corresponding to the USIM card.
第三方面,本发明提供一种会话建立装置,包括:In a third aspect, the present invention provides a session establishment device, comprising:
发送模块,用于通过目标基站发送对应的PDU会话建立请求,所述目标基站配置有对应于USIM卡的归属PLMN网络标识,所述PDU会话请求携带有与对应的目标基站中相同的归属PLMN网络标识,以使目标SMF基于所述PDU会话建立请求建立对应于所述归属PLMN网络标识的PDU会话;A sending module, configured to send a corresponding PDU session establishment request through a target base station, where the target base station is configured with a home PLMN network identity corresponding to the USIM card, and the PDU session request carries the same home PLMN network as in the corresponding target base station identification, so that the target SMF establishes a PDU session corresponding to the identity of the home PLMN network based on the PDU session establishment request;
其中,与所述终端中至少2个USIM卡对应的至少2个目标基站之间相互独立且属于同一接入网RAN且覆盖同一区域;所述包括至少2个USIM卡的终端对应建立至少2个PDU会话。Wherein, at least 2 target base stations corresponding to at least 2 USIM cards in the terminal are independent from each other and belong to the same access network RAN and cover the same area; the terminal including at least 2 USIM cards correspondingly establish at least 2 PDU session.
第四方面,本发明提供一种电子设备,包括存储器、处理器及存储在存储器上并可在处理器上运行的计算机程序,所述处理器执行所述程序时实现如第一方面所提供的会话建立方法的步骤。In a fourth aspect, the present invention provides an electronic device, comprising a memory, a processor, and a computer program stored in the memory and executable on the processor, the processor implementing the program as provided in the first aspect when the processor executes the program Steps of the session establishment method.
第五方面,本发明提供一种非暂态计算机可读存储介质,其上存储有计算机程序,该计算机程序被处理器执行时实现如第一方面所提供的会话建立方法的步骤。In a fifth aspect, the present invention provides a non-transitory computer-readable storage medium on which a computer program is stored, and when the computer program is executed by a processor, implements the steps of the session establishment method provided in the first aspect.
本发明提供的会话建立方法、装置、电子设备及存储介质,通过采用包括至少2个目标用户识别卡USIM卡的终端,并提前在对应的至少2个目标基站配置有对应于USIM卡的归属PLMN网络标识,以实现终端可以向对应的目标基站分别发送对应的PDU会话建立请求,实现建立至少两个PDU会话,不需要RAN建立和维护双连接,可以降低RAN网络部署的复杂性,也不需要终端设备中集成多个UE,可以降低终端的成本和PDU冗余会话建立的复杂性。The session establishment method, device, electronic device and storage medium provided by the present invention use a terminal including at least two target subscriber identity cards, USIM cards, and configure at least two corresponding target base stations with home PLMNs corresponding to the USIM cards in advance. Network identification, so that the terminal can send the corresponding PDU session establishment request to the corresponding target base station respectively, and realize the establishment of at least two PDU sessions, without the need for RAN to establish and maintain dual connections, which can reduce the complexity of RAN network deployment, and does not require Integrating multiple UEs in a terminal device can reduce the cost of the terminal and the complexity of establishing a redundant PDU session.
附图说明Description of drawings
为了更清楚地说明本发明实施例或现有技术中的技术方案,下面将对实施例或现有技术描述中所需要使用的附图作一简单地介绍,显而易见地,下面描述中的附图是本发明的一些实施例,对于本领域普通技术人员来讲,在不付出创造性劳动的前提下,还可以根据这些附图获得其他的附图。In order to more clearly illustrate the embodiments of the present invention or the technical solutions in the prior art, the following briefly introduces the accompanying drawings that need to be used in the description of the embodiments or the prior art. Obviously, the accompanying drawings in the following description These are some embodiments of the present invention. For those of ordinary skill in the art, other drawings can also be obtained according to these drawings without creative efforts.
图1是现有技术提供的一种冗余PDU会话建立方法示意图;1 is a schematic diagram of a method for establishing a redundant PDU session provided by the prior art;
图2是现有技术提供的一种冗余PDU会话建立方法的网络结构示意图;2 is a schematic diagram of a network structure of a method for establishing a redundant PDU session provided by the prior art;
图3是现有技术提供的一种冗余PDU会话建立方法流程示意图;3 is a schematic flowchart of a method for establishing a redundant PDU session provided by the prior art;
图4是现有技术提供的另一种冗余PDU会话建立方法示意图;4 is a schematic diagram of another method for establishing a redundant PDU session provided by the prior art;
图5是现有技术提供的另一种冗余PDU会话建立方法的网络结构示意图;5 is a schematic diagram of a network structure of another method for establishing a redundant PDU session provided by the prior art;
图6是本发明提供的一种会话建立方法的流程示意图;6 is a schematic flowchart of a session establishment method provided by the present invention;
图7是本发明提供的一种终端结构示意图;7 is a schematic structural diagram of a terminal provided by the present invention;
图8是本发明提供的一种目标SMF选择方法示意图;8 is a schematic diagram of a target SMF selection method provided by the present invention;
图9是本发明提供的一种GPSI与SUPI的对应关系以及SUPI与HPLMN ID的对应关系示意图;9 is a schematic diagram of the correspondence between a GPSI and SUPI and the correspondence between SUPI and HPLMN ID provided by the present invention;
图10是本发明提供的一种目标AMF与目标基站连接示意图;10 is a schematic diagram of the connection between a target AMF provided by the present invention and a target base station;
图11是本发明提供的另一种会话建立方法的流程示意图;11 is a schematic flowchart of another session establishment method provided by the present invention;
图12是本发明提供的一种会话建立流程示意图;12 is a schematic diagram of a session establishment process provided by the present invention;
图13是本发明提供的一种冗余会话示意图;13 is a schematic diagram of a redundant session provided by the present invention;
图14是本发明提供的一种UPF选择方式示意图;14 is a schematic diagram of a UPF selection method provided by the present invention;
图15是本发明提供的一种会话建立装置的结构示意图;15 is a schematic structural diagram of a session establishment apparatus provided by the present invention;
图16是本发明提供的一种电子设备的实体结构示意图。FIG. 16 is a schematic diagram of the physical structure of an electronic device provided by the present invention.
具体实施方式Detailed ways
为使本发明实施例的目的、技术方案和优点更加清楚,下面将结合本发明实施例中的附图,对本发明实施例中的技术方案进行清楚、完整地描述,显然,所描述的实施例是本发明一部分实施例,而不是全部的实施例。基于本发明中的实施例,本领域普通技术人员在没有作出创造性劳动前提下所获得的所有其他实施例,都属于本发明保护的范围。In order to make the purposes, technical solutions and advantages of the embodiments of the present invention clearer, the technical solutions in the embodiments of the present invention will be clearly and completely described below with reference to the accompanying drawings in the embodiments of the present invention. Obviously, the described embodiments These are some embodiments of the present invention, but not all embodiments. Based on the embodiments of the present invention, all other embodiments obtained by those of ordinary skill in the art without creative efforts shall fall within the protection scope of the present invention.
为了更好地描述本发明各实施例,首先对以下术语进行解释:In order to better describe the various embodiments of the present invention, the following terms are first explained:
5G:第五代移动通信系统;5G: the fifth generation mobile communication system;
gNB:5G基站;gNB: 5G base station;
5GC:5G核心网;5GC: 5G core network;
RAN:无线接入网络;RAN: radio access network;
UE:用户设备;UE: user equipment;
PDU连接服务:一种在UE和数据网络之间提供PDU交换的服务;PDU connection service: a service that provides PDU exchange between the UE and the data network;
PDU会话:UE与提供PDU连接服务的数据网络之间的关联;PDU session: the association between the UE and the data network that provides the PDU connection service;
DNN:数据网络名称;DNN: data network name;
AMF:接入和移动性管理功能;AMF: access and mobility management functions;
5G-GUTI:5G全球唯一临时标识符,由AMF在UE注册过程中分配给UE;5G-GUTI: 5G globally unique temporary identifier, which is assigned to the UE by the AMF during the UE registration process;
NSSAI:网络切片标识;NSSAI: network slice identifier;
SUPI:5G的用户永久标识符,同4G的IMSI;SUPI: 5G user permanent identifier, the same as 4G IMSI;
SUCI:用户隐藏标识符,是隐藏的SUPI,以便在空口中安全传送;SUCI: User hidden identifier, which is a hidden SUPI for safe transmission over the air interface;
GPSI:5G通用公共用户标识符,同4G的MSISDN;GPSI: 5G general public user identifier, same as 4G MSISDN;
AUSF:认证服务器,负责5G用户鉴权;AUSF: Authentication server, responsible for 5G user authentication;
UDM/UDR:5G统一数据管理,与HSS融合设置,以使用户不换卡不换号使用5G;UDM/UDR: 5G unified data management, integrated with HSS, so that users can use 5G without changing cards or numbers;
PCF:5G的策略控制功能,同4G的PCRF;PCF: The policy control function of 5G is the same as the PCRF of 4G;
SMF:5G的会话管理功能;SMF: 5G session management function;
UPF:5G用户平面功能;UPF: 5G user plane function;
RHF:冗余处理功能。RHF: Redundant processing function.
5G面向三大应用场景:eMBB(增强移动宽带),URLLC(超高可靠性超低时延通信)、mMTC(海量物联网)。其中URLLC业务特点是超高可靠、超低时延、极高的可用性,主要业务包括工业控制、智能电网、无人驾驶、远程手术等,这些业务对网络安全可靠的要求极高,可靠性要求几乎100%,一旦在数据传输的过程中网络故障导致传输中断,造成的损失将难以估量。因此,对运营商网络的可靠性提出了极高的要求。5G is oriented to three major application scenarios: eMBB (enhanced mobile broadband), URLLC (ultra-reliable and ultra-low-latency communication), and mMTC (massive Internet of things). Among them, URLLC services are characterized by ultra-high reliability, ultra-low latency, and extremely high availability. The main services include industrial control, smart grid, unmanned driving, and remote surgery. These services have extremely high requirements for network security and reliability. Almost 100%, once the network failure causes the transmission to be interrupted in the process of data transmission, the loss will be immeasurable. Therefore, extremely high requirements are placed on the reliability of the operator's network.
为满足URLLC(Ultra-relaible and Low Latency Communication,极可靠低时延通信)的极高可靠性要求,可以采用冗余用户平面路径(Redundant user plane paths)的方案,即为业务设置至少2个冗余的PDU会话,该至少2个冗余PDU会话采用独立的用户面传输路径,其中某条用户面故障不影响业务正常使用。In order to meet the extremely high reliability requirements of URLLC (Ultra-relaible and Low Latency Communication), the scheme of redundant user plane paths can be adopted, that is, at least two redundant user plane paths can be set for services. For the remaining PDU sessions, the at least two redundant PDU sessions use independent user plane transmission paths, and the failure of one of the user planes does not affect the normal use of services.
首先对两种采用冗余用户平面路径(Redundant user plane paths)的方案进行介绍:First, two schemes using redundant user plane paths are introduced:
方案一:基于双连接的冗余平面路径;Scheme 1: redundant plane paths based on dual connections;
图1是现有技术提供的一种冗余PDU会话建立方法示意图,图2是现有技术提供的一种冗余PDU会话建立方法的网络结构示意图,如图1和图2所示,本发明中,可以使一个终端设备能够在网络中建立两个冗余的PDU会话,两个冗余PDU会话的用户面路径独立:第一个PDU会话通过gNB1从UE跨越到UPF1,第二个PDU会话通过gNB2从UE跨越到UPF2。冗余处理功能(RHF),位于主机A和主机B内,对于设备内的主机A,两个PDU会话作为不同的网络接口出现,使主机成为多宿主,其中冗余只跨到中间节点,而不跨到终端主机。Fig. 1 is a schematic diagram of a method for establishing a redundant PDU session provided by the prior art, Fig. 2 is a schematic diagram of a network structure of a method for establishing a redundant PDU session provided by the prior art, as shown in Figs. , can enable a terminal device to establish two redundant PDU sessions in the network, and the user plane paths of the two redundant PDU sessions are independent: the first PDU session spans from UE to UPF1 through gNB1, and the second PDU session Span from UE to UPF2 via gNB2. Redundancy Handling Function (RHF), located in Host A and Host B, for Host A within the device, the two PDU sessions appear as different network interfaces, making the host multi-homed, where redundancy only spans intermediate nodes, while Does not span to end hosts.
方案一中要求UE和NR均支持双连接。单个UE具有与主gNB(MgNB)和辅助gNB(SgNB)的用户面连接。控制面和N1通过MgNB进行处理。MgNB通过Xn接口控制SgNB的选择和双连接建立。In
方案一中冗余的两个PDU会话,一个通过MgNB连接至UPF1作为PDU会话锚点,另一个通过SgNB连接至UPF2作为PDU会话锚点。UPF1和UPF2连接到同一个数据网络(DN),UPF1和UPF2分别由SMF1和SMF2控制,其中SMF1和SMF2可能重合。该技术方案要求运营商在同一覆盖区域内至少部署2套独立的gNB、2套独立的UPF及2套独立的传输,从而支持端到端冗余用户平面路径。In the two redundant PDU sessions in
方案一,目标SMF根据PDU会话建立请求消息中UE提供的冗余序列号(RSN)来感知冗余会话。RSN的存在表示冗余处理,RSN的值表示是否正在建立第一个或第二个PDU会话。目标SMF基于RSN的UE指示或基于DNN或S-NSSAI的网络配置,为用户的两个PDU会话选择不同的UPF。当PDU会话被建立时,RAN使用双连接处理MgNB上的第一个PDU会话和SgNB上的第二个PDU会话。最初,两个PDU会话使用相同的MgNB,随即RAN中建立双连接之后,PDU会话2的用户面连接切换至SgNB。
图3是现有技术提供的一种冗余PDU会话建立方法流程示意图,如图3所示,包括以下步骤:FIG. 3 is a schematic flowchart of a method for establishing a redundant PDU session provided by the prior art, as shown in FIG. 3 , including the following steps:
1、UE请求建立第一个PDU会话。在PDU会话建立请求消息中携带冗余序列号RSN。SMF1根据UE提供的RSN指示,确定建立冗余PDU会话且这是冗余PDU会话的第一个PDU会话。SMF1根据冗余序列号或网络配置选择UPF1,选择当前gNB是MgNB。1. The UE requests the establishment of the first PDU session. The redundant sequence number RSN is carried in the PDU session establishment request message. According to the RSN indication provided by the UE, the SMF1 determines to establish a redundant PDU session and this is the first PDU session of the redundant PDU session. SMF1 selects UPF1 according to the redundant serial number or network configuration, and selects the current gNB as MgNB.
2.同样,UE请求建立第二个PDU会话。SMF2根据UE提供的RSN,确定建立冗余PDU会话且这是冗余PDU会话的第二个PDU会话。SMF2根据冗余序列号或网络配置选择UPF2,选择当前gNB是MgNB。2. Likewise, the UE requests the establishment of a second PDU session. According to the RSN provided by the UE, the SMF2 determines to establish a redundant PDU session and this is the second PDU session of the redundant PDU session. SMF2 selects UPF2 according to the redundant serial number or network configuration, and selects the current gNB as MgNB.
步骤2之后,两个PDU会话的用户面仍然均通过MgNB。After step 2, the user planes of the two PDU sessions still pass through the MgNB.
3.之后在RAN中建立双连接。MgNB选择SgNB,指示用户面PDU会话2由SgNB处理,用户面的PDU会话1由MgNB处理。PDU会话2的用户面数据由MgNB转发至SgNB。3. Afterwards a dual connection is established in the RAN. The MgNB selects the SgNB and instructs the user plane PDU session 2 to be handled by the SgNB, and the user
4.双连接建立之后,第二个PDU会话的用户面路径从MgNB切换到SgNB。4. After the dual connection is established, the user plane path of the second PDU session is switched from MgNB to SgNB.
至此,PDU会话1和PDU会话2的用户面在RAN和CN中都有独立的路径。So far, the user planes of
方案一中,当一对PDU会话需要冗余用户平面时,RAN需要建立和维护双连接,使MgNB和SgNB都有一个独立的PDCP实体来处理两个独立的用户平面路径,RAN网络复杂性高。且实际网络部署时,MgNB和SgNB可能同厂家绑定,不利于引入竞争。In
方案二:单设备多UE的用户平面冗余;Scheme 2: User plane redundancy with single device and multiple UEs;
图4是现有技术提供的另一种冗余PDU会话建立方法示意图,图5是现有技术提供的另一种冗余PDU会话建立方法的网络结构示意图,如图4和图5所示,终端设备能够在5G网络上设置多个冗余PDU会话,多个冗余PDU会话的路径独立。该技术方案要求终端设备具备两个UE.FIG. 4 is a schematic diagram of another method for establishing a redundant PDU session provided by the prior art, and FIG. 5 is a schematic diagram of a network structure of another method for establishing a redundant PDU session provided by the prior art, as shown in FIGS. 4 and 5 , The terminal device can set up multiple redundant PDU sessions on the 5G network, and the paths of the multiple redundant PDU sessions are independent. This technical solution requires that the terminal device has two UEs.
第一个PDU会话从UE1通过gNB1跨越到UPF1,而第二个PDU会话从UE2通过gNB2跨越到UPF2。基于这两个独立的PDU会话,建立了两个独立的路径。对于设备内的主机A,这两个UE提供不同的网络接口,使主机冗余连接。其中冗余只跨到中间节点,而不跨到终端主机。The first PDU session spans from UE1 through gNB1 to UPF1, while the second PDU session spans from UE2 through gNB2 to UPF2. Based on these two independent PDU sessions, two independent paths are established. For host A within the device, the two UEs provide different network interfaces, making the hosts redundantly connected. The redundancy spans only to intermediate nodes, not to end hosts.
该技术方案中,利用将多个UE集成到终端设备中。多个PDU会话是由多个UE设置的,它们使用独立的RAN(gNB)和CN(UPF)实体。UE1和UE2分别连接到gNB1和gNB2,UE1通过gNB1建立一个PDU会话到UPF1,UE2通过gNB2建立一个PDU会话到UPF2。UPF1和UPF2连接到同一个数据网络(DN)。UPF1和UPF2分别由SMF1和SMF2控制,其中SMF1和SMF2可能重合。In this technical solution, multiple UEs are integrated into the terminal equipment. Multiple PDU sessions are set up by multiple UEs using separate RAN (gNB) and CN (UPF) entities. UE1 and UE2 are connected to gNB1 and gNB2 respectively, UE1 establishes a PDU session to UPF1 through gNB1, and UE2 establishes a PDU session to UPF2 through gNB2. UPF1 and UPF2 are connected to the same data network (DN). UPF1 and UPF2 are controlled by SMF1 and SMF2, respectively, where SMF1 and SMF2 may overlap.
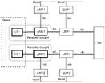
该技术方案中,通过定义可靠性组(RG)来实现为同一设备中不同的UE选择不同的gNB。通过将终端设备中的UE和网络中的gNB编为多个可靠性组,确保每个UE在与它属于同一个可靠性组内选择gNB,从而使得网络为同一设备的不同UE分配不同的gNB。如下图所示:In this technical solution, different gNBs are selected for different UEs in the same device by defining a reliability group (RG). By arranging the UEs in the terminal equipment and the gNBs in the network into multiple reliability groups, it is ensured that each UE selects a gNB in the same reliability group as it belongs, so that the network can assign different gNBs to different UEs of the same device. . As shown below:
该技术方案中,UE的可靠性分组(RG)可以显式地配置到UE,也可以作为UE签约数据的一部分,也可以源自其他系统参数(如SUPI,PEI,S-NSSAI等)。UE可以在注册请求消息中提供其UE RG(可靠性组)。目标AMF确定UE RG并将其存储在UE上下文中。当UE转换到连接态时,UE RG被发送到gNB,保存在RAN上下文中,因此每个gNB都知道所连接的UE的可靠性组(RG)。In this technical solution, the reliability group (RG) of the UE may be explicitly configured to the UE, or may be part of the UE subscription data, or may be derived from other system parameters (such as SUPI, PEI, S-NSSAI, etc.). The UE may provide its UE RG (Reliability Group) in the Registration Request message. The target AMF determines the UE RG and stores it in the UE context. When the UE transitions to the connected state, the UE RG is sent to the gNB, which is kept in the RAN context, so each gNB knows the reliability group (RG) of the connected UE.
该技术方案中,gNB的可靠性组由O&M系统预先配置。在建立Xn连接时,gNB可以学习相邻gNB的可靠性组。In this technical solution, the reliability group of the gNB is preconfigured by the O&M system. When establishing Xn connections, gNBs can learn the reliability group of neighboring gNBs.
该技术方案中,目标SMF使用现有的机制为这两个PDU会话选择不同的UPF。选择可以基于不同DNN的UE配置或网络配置,也可以基于两个UE的不同切片。或者,也可以使用UE的RG作为UPF选择的输入。In this technical solution, the target SMF uses an existing mechanism to select different UPFs for the two PDU sessions. The selection can be based on UE configuration or network configuration of different DNNs, or different slices of the two UEs. Alternatively, the UE's RG can also be used as the input for the UPF selection.
方案二中,每个终端设备需要集成多个UE,终端成本高,实现复杂。In the second solution, each terminal device needs to integrate multiple UEs, the terminal cost is high, and the implementation is complicated.
因此,本发明各实施例提出一种基于双卡双待终端的5G高可靠性场景下实现冗余用户平面路径的方法,与方案一相比,不需要RAN建立和维护双连接,以降低RAN网络部署的复杂性;与方案二相比,不需要终端设备中集成多个UE,以降低终端的成本和复杂性。Therefore, each embodiment of the present invention proposes a method for implementing redundant user plane paths in a 5G high-reliability scenario based on dual-card dual-standby terminals. Compared with
图6是本发明提供的一种会话建立方法的流程示意图,如图6所示,该方法应用于包括至少2个目标用户识别卡USIM卡的终端,该方法具体包括如下步骤:FIG. 6 is a schematic flowchart of a session establishment method provided by the present invention. As shown in FIG. 6 , the method is applied to a terminal including at least two target subscriber identity cards, USIM cards, and the method specifically includes the following steps:
步骤600,通过目标基站发送对应的PDU会话建立请求,所述目标基站配置有对应于USIM卡的归属PLMN网络标识,所述PDU会话请求携带有与对应的目标基站中相同的归属PLMN网络标识,以使目标SMF基于所述PDU会话建立请求建立对应于所述归属PLMN网络标识的PDU会话;In
其中,与所述终端中至少2个USIM卡对应的至少2个目标基站之间相互独立且属于同一接入网RAN且覆盖同一区域;所述包括至少2个USIM卡的终端对应建立至少2个PDU会话。Wherein, at least 2 target base stations corresponding to at least 2 USIM cards in the terminal are independent from each other and belong to the same access network RAN and cover the same area; the terminal including at least 2 USIM cards correspondingly establish at least 2 PDU session.
具体地,终端可以通过每一个USIM卡对应的目标基站发送对应的PDU会话建立请求,目标SMF接收到PDU会话建立请求后,基于PDU会话建立请求建立对应于所述归属PLMN网络标识的PDU会话,因此,在建立PDU会话时,可以建立与终端中USIM卡同等数量的PDU会话。Specifically, the terminal may send a corresponding PDU session establishment request through the target base station corresponding to each USIM card, and after receiving the PDU session establishment request, the target SMF establishes a PDU session corresponding to the home PLMN network identity based on the PDU session establishment request, Therefore, when establishing a PDU session, the same number of PDU sessions as the USIM card in the terminal can be established.
具体地,为了实现每一个USIM卡对应的目标基站发送对应的PDU会话建立请求,可以预先在目标基站配置有对应于USIM卡的归属PLMN网络标识,同时,PDU会话请求中可以携带有与对应的目标基站中相同的归属PLMN网络标识,每一个目标基站则可以实现发送携带有自身对应的USIM卡的归属PLMN网络标识的PDU会话建立请求。Specifically, in order to enable the target base station corresponding to each USIM card to send the corresponding PDU session establishment request, the target base station can be pre-configured with the home PLMN network identifier corresponding to the USIM card, and at the same time, the PDU session request can carry the corresponding PLMN network identifier. With the same home PLMN network identifier in the target base station, each target base station can implement sending a PDU session establishment request carrying the home PLMN network identifier of its corresponding USIM card.
具体地,为了避免需要集成至少2个终端带来的成本高的问题,本发明采用包括至少2个目标用户识别卡USIM卡的终端,且该终端支持多待多通功能。Specifically, in order to avoid the problem of high cost caused by the need to integrate at least two terminals, the present invention adopts a terminal including at least two target subscriber identity cards USIM cards, and the terminal supports the multi-standby and multi-pass function.
以一个终端中包括2个USIM卡为例,图7是本发明提供的一种终端结构示意图,如图7所示的一种UE,集成在终端设备中,UE包括两个卡槽,可以插入2个USIM卡,支持单模双卡双待双通功能,可以避免每个终端设备需要集成多个UE,终端成本高,实现复杂的缺陷。Taking a terminal including two USIM cards as an example, FIG. 7 is a schematic structural diagram of a terminal provided by the present invention. As shown in FIG. 7, a UE is integrated in a terminal device. The UE includes two card slots, which can be inserted into Two USIM cards support single-mode, dual-card, dual-standby, and dual-communication functions, which can avoid the need to integrate multiple UEs for each terminal device, resulting in high terminal costs and complex implementation.
具体地,运营商在开卡时,可以为上述UE设置2个USIM卡,并为每个USIM卡配置不同的归属PLMN网络标识HPLMN ID。Specifically, when opening a card, the operator may set two USIM cards for the above-mentioned UE, and configure a different home PLMN network identifier HPLMN ID for each USIM card.
具体地,为了实现不需要RAN建立和维护双连接,与终端中至少2个USIM卡对应的至少2个目标基站之间可以相互独立且属于同一接入网RAN且覆盖同一区域。Specifically, in order to realize that the RAN does not need to establish and maintain dual connections, at least two target base stations corresponding to at least two USIM cards in the terminal can be independent of each other, belong to the same access network RAN and cover the same area.
以2个目标基站为例,RAN中包括2个独立的gNB,2个gNB覆盖统一区域且位于不同机房,且机房电源、传输等相互独立,以确定由于机房、电源、传输等故障时,至少1个gNB能传输业务,其中一个基站故障不会影响另一个基站。2个gNB使用不同的无线频段。运营商可以为上述2个独立的gNB配置不同的PLMN ID,且配置的PLMN ID与UE USIM卡中保存的HPLMNID一一对应,如为gNB1和USIM卡1配置PLMN ID1,为gNB2和USIM卡2配置PLMN ID2,终端通过gNB1发送携带有PLMN ID1的PDU会话请求,通过gNB2发送携带有PLMN ID2的PDU会话请求。Taking two target base stations as an example, the RAN includes two independent gNBs. The two gNBs cover the same area and are located in different computer rooms, and the power supply and transmission of the computer rooms are independent of each other. One gNB can transmit services, and the failure of one base station will not affect the other base station. The 2 gNBs use different radio frequency bands. The operator can configure different PLMN IDs for the above two independent gNBs, and the configured PLMN IDs correspond one-to-one with the HPLMNIDs stored in the UE USIM card. For example, configure PLMN ID1 for gNB1 and
本发明提供的会话建立方法,通过采用包括至少2个目标用户识别卡USIM卡的终端,并提前在对应的至少2个目标基站配置有对应于USIM卡的归属PLMN网络标识,以实现终端可以向对应的目标基站分别发送对应的PDU会话建立请求,实现建立至少两个PDU会话,不需要RAN建立和维护双连接,可以降低RAN网络部署的复杂性,也不需要终端设备中集成多个UE,可以降低终端的成本和PDU冗余会话建立的复杂性。The session establishment method provided by the present invention adopts a terminal including at least two target subscriber identity cards, USIM cards, and configures at least two corresponding target base stations with home PLMN network identifiers corresponding to the USIM cards in advance, so that the terminal can communicate with the USIM card. The corresponding target base stations respectively send corresponding PDU session establishment requests to realize the establishment of at least two PDU sessions, without the need for the RAN to establish and maintain dual connections, which can reduce the complexity of RAN network deployment, and does not require the integration of multiple UEs in the terminal equipment. It is possible to reduce the cost of the terminal and the complexity of PDU redundant session establishment.
可选地,基于以上任一实施例,通过目标基站发送对应的PDU会话建立请求,包括:Optionally, based on any of the above embodiments, the corresponding PDU session establishment request is sent by the target base station, including:
通过目标基站向目标AMF发送对应的PDU会话建立请求,以使所述目标AMF接收到所述PDU会话建立请求后,选定目标SMF并转发所述PDU会话建立请求;Sending the corresponding PDU session establishment request to the target AMF by the target base station, so that after the target AMF receives the PDU session establishment request, it selects the target SMF and forwards the PDU session establishment request;
所述选定目标SMF包括所述目标AMF选定对应的SMF池中的目标SMF,或所述目标AMF直接选定目标SMF。The selected target SMF includes that the target AMF selects the target SMF in the corresponding SMF pool, or the target AMF directly selects the target SMF.
具体地,终端通过目标基站发送对应的PDU会话建立请求时,可以通过目标基站向对应的目标AMF发送对应的PDU会话请求,目标AMF接收到PDU会话建立请求后,选定目标SMF并转发该PDU会话建立请求,以使目标SMF可以接收到该PDU会话建立请求,并建立该PDU会话建立请求对应的PDU会话。Specifically, when the terminal sends the corresponding PDU session establishment request through the target base station, it can send the corresponding PDU session request to the corresponding target AMF through the target base station. After receiving the PDU session establishment request, the target AMF selects the target SMF and forwards the PDU A session establishment request, so that the target SMF can receive the PDU session establishment request, and establish a PDU session corresponding to the PDU session establishment request.
以UE请求建立2个PDU会话为例,UE分别向AMF1和AMF2发送一条PDU SessionEstablishment消息(分别携带用户签约的HPLMN ID1、HPLMN ID2),目标AMF分别选择目标SMF。Taking the UE requesting to establish two PDU sessions as an example, the UE sends a PDU SessionEstablishment message (respectively carrying the HPLMN ID1 and HPLMN ID2 subscribed by the user) to AMF1 and AMF2 respectively, and the target AMF selects the target SMF respectively.
可以理解的是,目标AMF选择目标SMF时可以取决于运营商策略和实际的网络部署,基于现有的选择机制比如根据DNN、S-NSSAI、TAI等进行选择,目标AMF可以选择同一套目标SMF,也可以选择不同的目标SMF。It can be understood that the target AMF can choose the target SMF depending on the operator's strategy and the actual network deployment. Based on the existing selection mechanism, such as DNN, S-NSSAI, TAI, etc., the target AMF can choose the same set of target SMFs. , you can also choose a different target SMF.
图8是本发明提供的一种目标SMF选择方法示意图,如图8所示,例如可以规定必须选择不同的目标SMF,可以将SMF部署为2个SMF POOL,分别对应不同的目标AMF。FIG. 8 is a schematic diagram of a target SMF selection method provided by the present invention. As shown in FIG. 8 , for example, it can be specified that different target SMFs must be selected, and the SMFs can be deployed as two SMF POOLs, corresponding to different target AMFs respectively.
例如对目标SMF的选择并无限制,可以由目标AMF直接进行目标SMF的选择。For example, there is no limit to the selection of the target SMF, and the target AMF can directly select the target SMF.
可选地,基于以上任一实施例,所述PDU会话建立请求中还携带有与对应的目标基站对应于同一USIM卡的用户身份标识SUPI;所述终端中至少2个USIM卡各自对应的SUPI号段归属于同一个UDM/UDR;Optionally, based on any of the above embodiments, the PDU session establishment request also carries a user identity SUPI corresponding to the same USIM card as the corresponding target base station; the SUPI corresponding to at least two USIM cards in the terminal The number segment belongs to the same UDM/UDR;
所述方法还包括:The method also includes:
在所述终端初始注册时,通过目标基站向目标AMF发送对应的注册请求,所述注册请求中携带有与对应的目标基站中相同的归属PLMN网络标识和与所述对应的目标基站对应于同一USIM卡的用户身份加密标识SUCI,所述SUCI基于对应于同一USIM卡的SUPI加密获得,以使所述目标AMF在用户鉴权流程通过后从所述SUPI号段归属的UDM/UDR获取所述USIM卡的签约数据;When the terminal is initially registered, a corresponding registration request is sent to the target AMF through the target base station, and the registration request carries the same home PLMN network identity as that of the corresponding target base station and the same identity as the corresponding target base station. The user identity encryption identifier SUCI of the USIM card, the SUCI is obtained based on the SUPI encryption corresponding to the same USIM card, so that the target AMF obtains the SUPI number from the UDM/UDR to which the SUPI number segment belongs after the user authentication process passes. USIM card contract data;
其中,所述用户鉴权流程是所述目标AMF基于所述SUCI寻址到用户归属的AUSF且所述AUSF基于所述SUCI寻址到对应的UDM/UDR之后进行的鉴权流程。The user authentication process is an authentication process performed after the target AMF addresses the user's home AUSF based on the SUCI and the AUSF addresses the corresponding UDM/UDR based on the SUCI.
具体地,终端通过至少两个目标基站一一对应发送的至少两个PDU会话建立请求中还携带有与对应的目标基站对应于同一USIM卡的用户身份标识SUPI;Specifically, the at least two PDU session establishment requests sent by the terminal through the at least two target base stations in a one-to-one correspondence also carry the user identity SUPI corresponding to the same USIM card as the corresponding target base station;
可以理解的是,终端中至少2个USIM卡各自对应的SUPI号段归属于同一个UDM/UDR。It can be understood that the corresponding SUPI number segments of at least two USIM cards in the terminal belong to the same UDM/UDR.
以一个UE中配置有2个USIM卡为例,图9是本发明提供的一种GPSI与SUPI的对应关系以及SUPI与HPLMN ID的对应关系示意图。如图9所示,运营商为UE的每个USIM卡配置不同的SUPI(例如卡1:SUPI1;卡2:SUPI2),为2个SUPI分配同一个GPSI。GPSI与SUPI的对应关系以及SUPI与HPLMN ID的对应关系,可以作为UE签约数据保存在运营商UDM/UDR中。运营商为UE分配SUPI时,需要确保SUPI1和SUPI2归属于同一套UDM/UDR,以便网络按照SUPI进行寻址时,寻址到同一套UDM/UDR。Taking two USIM cards configured in one UE as an example, FIG. 9 is a schematic diagram of the correspondence between GPSI and SUPI and the correspondence between SUPI and HPLMN ID provided by the present invention. As shown in FIG. 9 , the operator configures different SUPIs for each USIM card of the UE (for example, card 1: SUPI1; card 2: SUPI2), and allocates the same GPSI to two SUPIs. The correspondence between the GPSI and the SUPI and the correspondence between the SUPI and the HPLMN ID can be stored in the operator's UDM/UDR as UE subscription data. When the operator allocates SUPI to the UE, it needs to ensure that SUPI1 and SUPI2 belong to the same set of UDM/UDR, so that the network addresses to the same set of UDM/UDR when addressing according to SUPI.
具体地,UDM/UDR保存UE的签约数据,UE签约数据中包括1个GPSI和2个SUPI,还可以在UE签约数据中包括冗余会话号码(RSN)参数,RSN参数指示网络为上述UE建立2个PDU会话。其中RSN1映射至SUPI1,RSN2映射至SUPI2。Specifically, the UDM/UDR saves the subscription data of the UE. The UE subscription data includes 1 GPSI and 2 SUPIs, and may also include a redundant session number (RSN) parameter in the UE subscription data. The RSN parameter instructs the network to establish for the above-mentioned UE. 2 PDU sessions. Where RSN1 maps to SUPI1 and RSN2 maps to SUPI2.
具体地,终端初始注册时,通过目标基站向目标AMF发送对应的注册请求,注册请求中携带有与对应的目标基站中相同的归属PLMN网络标识和与所述对应的目标基站对应于同一USIM卡的用户身份加密标识SUCI,目标AMF在用户鉴权流程通过后可以从SUPI号段归属的UDM/UDR获取所述USIM卡的签约数据。Specifically, when the terminal initially registers, a corresponding registration request is sent to the target AMF through the target base station, and the registration request carries the same home PLMN network identity as the corresponding target base station and the same USIM card corresponding to the corresponding target base station. The user identity encryption identifies SUCI, the target AMF can obtain the subscription data of the USIM card from the UDM/UDR to which the SUPI number segment belongs after the user authentication process is passed.
以一个UE中配置有2个USIM卡为例,UE在进行初始注册时,可以通过gNB1向AMF1发送注册请求消息,通过gNB2向AMF2发送注册请求消息。在消息中携带HPLMN ID、SUCI等(SUCI由SUPI加密得到)参数。AMF可以根据SUCI,寻址到用户归属的AUSF,然后AUSF可以根据SUCI寻址到对应的UDM/UDR,之后进行鉴权流程。鉴权通过后,AMF可以从用户归属的UDM下载用户的签约数据(包括GPSI、SUPI1、RSN1、SUPI2、RSN2等)。Taking two USIM cards configured in a UE as an example, when the UE performs initial registration, it can send a registration request message to AMF1 through gNB1, and send a registration request message to AMF2 through gNB2. Parameters such as HPLMN ID and SUCI (SUCI is encrypted by SUPI) are carried in the message. The AMF can address the AUSF to which the user belongs according to the SUCI, and then the AUSF can address the corresponding UDM/UDR according to the SUCI, and then performs the authentication process. After the authentication is passed, the AMF can download the user's subscription data (including GPSI, SUPI1, RSN1, SUPI2, RSN2, etc.) from the user's home UDM.
可以理解的是,AMF1和AMF2可以是同一AMF,也可以是两个不同的AMF。It can be understood that AMF1 and AMF2 may be the same AMF, or may be two different AMFs.
如果AMF1和AMF2重合,则AMF保存用户的签约数据;如果不重合,则AMF1和AMF2分别保存用户的签约数据。If AMF1 and AMF2 overlap, AMF saves the user's subscription data; if not, AMF1 and AMF2 save the user's subscription data respectively.
图10是本发明提供的一种AMF与目标基站连接示意图。如图10所示,AMF1和AMF2与gNB1和gNB2可以全连接。运营商在进行网络配置时,对于gNB1配置AMF1为主、AMF2为备,对于gNB2配置AMF2为主、AMF1为备。UE在进行初始注册过程中,gNB选择AMF时,优选主AMF,主AMF不可用时再选择备AMF。FIG. 10 is a schematic diagram of the connection between an AMF provided by the present invention and a target base station. As shown in Figure 10, AMF1 and AMF2 can be fully connected to gNB1 and gNB2. During network configuration, the operator configures AMF1 as the master and AMF2 as the backup for gNB1, and configures AMF2 as the master and AMF1 as the backup for gNB2. During the initial registration process of the UE, when the gNB selects the AMF, the primary AMF is preferred, and the secondary AMF is selected when the primary AMF is unavailable.
可选地,基于以上任一实施例,所述方法还包括:Optionally, based on any of the above embodiments, the method further includes:
在所述终端开机选网时,基于所述对应于USIM卡的归属PLMN网络标识,选择配置有相同归属PLMN网络标识的目标基站。When the terminal is powered on and selects a network, based on the home PLMN network identity corresponding to the USIM card, a target base station configured with the same home PLMN network identity is selected.
具体地,终端在开机选网时,可以根据USIM卡中保存的HPLMN ID,选择配置有相同归属PLMN网络标识的目标基站。Specifically, when the terminal is powered on and selects a network, it can select a target base station configured with the same home PLMN network identifier according to the HPLMN ID stored in the USIM card.
以一个UE中配置有2个USIM卡为例,USIM卡1中保存的HPLMN ID1,USIM卡2中保存的HPLMN ID2,gNB1中配置有HPLMN ID1,gNB2中配置有HPLMN ID2,则UE在初始开机选网时,可以根据USIM卡中保存的HPLMN ID,为USIM卡1优先选择gNB1,为USIM卡2优先选择gNB2。Take a UE configured with two USIM cards as an example, the HPLMN ID1 stored in
本发明提供的会话建立方法,通过采用包括至少2个目标用户识别卡USIM卡的终端,并提前在对应的至少2个目标基站配置有对应于USIM卡的归属PLMN网络标识,以实现终端可以向对应的目标基站分别发送对应的PDU会话建立请求,实现建立至少两个PDU会话,不需要RAN建立和维护双连接,可以降低RAN网络部署的复杂性,也不需要终端设备中集成多个UE,可以降低终端的成本和PDU冗余会话建立的复杂性。The session establishment method provided by the present invention adopts a terminal including at least two target subscriber identity cards, USIM cards, and configures at least two corresponding target base stations with home PLMN network identifiers corresponding to the USIM cards in advance, so that the terminal can communicate with the USIM card. The corresponding target base stations respectively send corresponding PDU session establishment requests to realize the establishment of at least two PDU sessions, without the need for the RAN to establish and maintain dual connections, which can reduce the complexity of RAN network deployment, and does not require the integration of multiple UEs in the terminal equipment. It is possible to reduce the cost of the terminal and the complexity of PDU redundant session establishment.
图11是本发明提供的另一种会话建立方法的流程示意图。如图11所示,该方法包括如下步骤:FIG. 11 is a schematic flowchart of another session establishment method provided by the present invention. As shown in Figure 11, the method includes the following steps:
步骤1100,接收包括至少2个USIM卡的终端通过目标基站发送的对应的PDU会话建立请求,所述目标基站配置有对应于USIM卡的归属PLMN网络标识,所述PDU会话请求携带有与对应的目标基站中相同的归属PLMN网络标识;Step 1100: Receive a corresponding PDU session establishment request sent by a terminal including at least 2 USIM cards through a target base station, where the target base station is configured with a home PLMN network identity corresponding to the USIM card, and the PDU session request carries a corresponding PDU session request. The same home PLMN network identity in the target base station;
具体地,目标SMF可以接收终端通过每一个USIM卡对应的目标基站发送的对应的PDU会话建立请求。Specifically, the target SMF may receive the corresponding PDU session establishment request sent by the terminal through the target base station corresponding to each USIM card.
步骤1110,基于所述PDU会话建立请求,建立对应于所述归属PLMN网络标识的PDU会话;
其中,与所述终端中至少2个USIM卡对应的至少2个目标基站之间相互独立且属于同一接入网RAN且覆盖同一区域;Wherein, at least two target base stations corresponding to at least two USIM cards in the terminal are independent of each other and belong to the same access network RAN and cover the same area;
所述包括至少2个USIM卡的终端对应建立至少2个PDU会话。The terminal including at least two USIM cards correspondingly establishes at least two PDU sessions.
具体地,目标SMF接收到PDU会话建立请求后,可以基于PDU会话建立请求建立对应于所述归属PLMN网络标识的PDU会话,因此,在为终端建立PDU会话时,最终可以建立与终端中USIM卡同等数量的PDU会话。Specifically, after receiving the PDU session establishment request, the target SMF can establish a PDU session corresponding to the identity of the home PLMN network based on the PDU session establishment request. Therefore, when establishing a PDU session for a terminal, it can finally establish a connection with the USIM card in the terminal. Equal number of PDU sessions.
具体地,为了实现每一个USIM卡对应的目标基站发送对应的PDU会话建立请求,可以预先在目标基站配置有对应于USIM卡的归属PLMN网络标识,同时,PDU会话请求中可以携带有与对应的目标基站中相同的归属PLMN网络标识,每一个目标基站则可以实现发送携带有自身对应的USIM卡的归属PLMN网络标识的PDU会话建立请求。Specifically, in order to enable the target base station corresponding to each USIM card to send the corresponding PDU session establishment request, the target base station can be pre-configured with the home PLMN network identifier corresponding to the USIM card, and at the same time, the PDU session request can carry the corresponding PLMN network identifier. With the same home PLMN network identifier in the target base station, each target base station can implement sending a PDU session establishment request carrying the home PLMN network identifier of its corresponding USIM card.
以一个终端中包括2个USIM卡为例,每个终端包括一个UE,UE包括两个卡槽,可以插入2个USIM卡,支持单模双卡双待双通功能,可以避免每个终端设备需要集成多个UE,终端成本高,实现复杂的缺陷。Take a terminal including 2 USIM cards as an example, each terminal includes a UE, and the UE includes two card slots, which can be inserted into 2 USIM cards, and supports the single-mode dual-card dual-standby dual-pass function, which can avoid the need for each terminal device. Multiple UEs need to be integrated, the terminal cost is high, and the implementation is complicated.
具体地,运营商在开卡时,可以为上述UE设置2个USIM卡,并为每个USIM卡配置不同的归属PLMN网络标识HPLMN ID。Specifically, when opening a card, the operator may set two USIM cards for the above-mentioned UE, and configure a different home PLMN network identifier HPLMN ID for each USIM card.
具体地,为了实现不需要RAN建立和维护双连接,与终端中至少2个USIM卡对应的至少2个目标基站之间可以相互独立且属于同一接入网RAN且覆盖同一区域。Specifically, in order to realize that the RAN does not need to establish and maintain dual connections, at least two target base stations corresponding to at least two USIM cards in the terminal can be independent of each other, belong to the same access network RAN and cover the same area.
以2个目标基站为例,RAN中包括2个独立的gNB,2个gNB覆盖统一区域且位于不同机房,且机房电源、传输等相互独立,以确定由于机房、电源、传输等故障时,至少1个gNB能传输业务。2个gNB使用不同的无线频段。运营商需为上述2个独立的gNB配置不同的PLMNID,且配置的PLMN ID与UE USIM卡中保存的HPLMN ID一一对应,如为gNB1和USIM卡1配置PLMN ID1,为gNB2和USIM卡2配置PLMN ID2,终端通过gNB1发送携带有PLMN ID1的PDU会话请求,通过gNB2发送携带有PLMN ID2的PDU会话请求。Taking two target base stations as an example, the RAN includes two independent gNBs. The two gNBs cover the same area and are located in different computer rooms, and the power supply and transmission of the computer rooms are independent of each other. 1 gNB can transmit services. The 2 gNBs use different radio frequency bands. The operator needs to configure different PLMNIDs for the above two independent gNBs, and the configured PLMN IDs are in one-to-one correspondence with the HPLMN IDs stored in the UE USIM card. For example, configure PLMN ID1 for gNB1 and
本发明提供的会话建立方法,通过采用包括至少2个目标用户识别卡USIM卡的终端,并提前在对应的至少2个目标基站配置有对应于USIM卡的归属PLMN网络标识,以实现目标SMF可以接收终端向对应的目标基站分别发送的对应的PDU会话建立请求,进而基于PDU会话请求建立对应的PDU会话,可以实现最终为一个终端建立至少两个PDU会话,不需要RAN建立和维护双连接,可以降低RAN网络部署的复杂性,也不需要终端设备中集成多个UE,可以降低终端的成本和PDU冗余会话建立的复杂性。The session establishment method provided by the present invention adopts a terminal including at least two target subscriber identity cards, USIM cards, and configures at least two corresponding target base stations with home PLMN network identifiers corresponding to the USIM cards in advance, so that the target SMF can be Receiving the corresponding PDU session establishment requests sent by the terminal to the corresponding target base station respectively, and then establishing the corresponding PDU session based on the PDU session request, it is possible to finally establish at least two PDU sessions for one terminal, without the need for the RAN to establish and maintain dual connections, The complexity of RAN network deployment can be reduced, and multiple UEs do not need to be integrated in the terminal device, which can reduce the cost of the terminal and the complexity of establishing a PDU redundant session.
可选地,基于以上任一实施例,所述PDU会话建立请求中还携带有与对应的目标基站对应于同一USIM卡的用户身份标识SUPI;所述终端中至少2个USIM卡各自对应的SUPI号段归属于同一个UDM/UDR;Optionally, based on any of the above embodiments, the PDU session establishment request also carries a user identity SUPI corresponding to the same USIM card as the corresponding target base station; the SUPI corresponding to at least two USIM cards in the terminal The number segment belongs to the same UDM/UDR;
所述基于所述PDU会话建立请求,建立对应于所述归属PLMN网络标识的PDU会话,包括:The establishing a PDU session corresponding to the home PLMN network identity based on the PDU session establishment request includes:
向与所述目标基站对应于同一USIM卡的SUPI号段归属的UDM/UDR获取所述USIM卡的签约数据;Obtain the subscription data of the USIM card from the UDM/UDR to which the SUPI number segment of the same USIM card belongs to the target base station;
基于所述签约数据获取对应于所述SUPI的冗余会话号码RSN参数,确定为所述终端建立对应于所述归属PLMN网络标识的PDU会话;Obtain the redundant session number RSN parameter corresponding to the SUPI based on the subscription data, and determine to establish a PDU session corresponding to the home PLMN network identity for the terminal;
确定所述PDU会话对应的归属PLMN网络标识与所述PDU会话建立请求中的归属PLMN网络标识匹配,选择目标UPF;Determine that the home PLMN network identity corresponding to the PDU session matches the home PLMN network identity in the PDU session establishment request, and select the target UPF;
基于所述归属PLMN网络标识,为所述PDU会话分配对应的IP地址,完成建立PDU会话。Based on the home PLMN network identifier, a corresponding IP address is allocated to the PDU session, and the establishment of the PDU session is completed.
具体地,终端通过至少两个目标基站一一对应发送的至少两个PDU会话建立请求中还携带有与对应的目标基站对应于同一USIM卡的用户身份标识SUPI;Specifically, the at least two PDU session establishment requests sent by the terminal through the at least two target base stations in a one-to-one correspondence also carry the user identity SUPI corresponding to the same USIM card as the corresponding target base station;
可以理解的是,终端中至少2个USIM卡各自对应的SUPI号段归属于同一个UDM/UDR。It can be understood that the corresponding SUPI number segments of at least two USIM cards in the terminal belong to the same UDM/UDR.
以一个UE中配置有2个USIM卡为例,运营商为UE的每个USIM卡配置不同的SUPI(例如卡1:SUPI1;卡2:SUPI2),为2个SUPI分配同一个GPSI。GPSI与SUPI的对应关系以及SUPI与HPLMN ID的对应关系,可以作为UE签约数据保存在运营商UDM/UDR中。运营商为UE分配SUPI时,需要确保SUPI1和SUPI2归属于同一套UDM/UDR,以便网络按照SUPI进行寻址时,寻址到同一套UDM/UDR。Taking two USIM cards configured in a UE as an example, the operator configures different SUPIs (eg card 1: SUPI1; card 2: SUPI2) for each USIM card of the UE, and allocates the same GPSI to the two SUPIs. The correspondence between the GPSI and the SUPI and the correspondence between the SUPI and the HPLMN ID can be stored in the operator's UDM/UDR as UE subscription data. When the operator allocates SUPI to the UE, it needs to ensure that SUPI1 and SUPI2 belong to the same set of UDM/UDR, so that the network addresses to the same set of UDM/UDR when addressing according to SUPI.
具体地,UDM/UDR保存UE的签约数据,UE签约数据中包括1个GPSI和2个SUPI,并在UE签约数据中包括冗余会话号码(RSN)参数,RSN参数指示网络为上述UE建立2个PDU会话。其中RSN1映射至SUPI1,RSN2映射至SUPI2。Specifically, the UDM/UDR stores the UE's subscription data, the UE's subscription data includes 1 GPSI and 2 SUPIs, and the UE's subscription data includes a redundant session number (RSN) parameter, and the RSN parameter instructs the network to establish 2 PDU session. Where RSN1 maps to SUPI1 and RSN2 maps to SUPI2.
具体地,目标SMF基于PDU会话建立请求,建立对应于归属PLMN网络标识的PDU会话时,可以向与目标基站对应于同一USIM卡的SUPI号段归属的UDM/UDR获取所述USIM卡的签约数据;并基于该签约数据获取对应于SUPI的冗余会话号码RSN参数,确定为终端建立对应于所述归属PLMN网络标识的PDU会话;随后确定PDU会话对应的归属PLMN网络标识与PDU会话建立请求中的归属PLMN网络标识匹配,然后可以选择目标UPF;并基于所述归属PLMN网络标识,为所述PDU会话分配对应的IP地址,完成建立PDU会话。Specifically, when the target SMF establishes a PDU session corresponding to the home PLMN network identity based on the PDU session establishment request, it can obtain the subscription data of the USIM card from the UDM/UDR to which the SUPI number segment of the same USIM card as the target base station belongs. And obtain the redundant session number RSN parameter corresponding to SUPI based on this subscription data, determine to establish the PDU session corresponding to the described home PLMN network identity for the terminal; Then determine that the home PLMN network identity corresponding to the PDU session and the PDU session establishment request The home PLMN network identifier of the PDU is matched, and then the target UPF can be selected; and based on the home PLMN network identifier, a corresponding IP address is allocated to the PDU session, and the establishment of the PDU session is completed.
具体地,SUPI号段用于表征其归属的UDM/UDR。Specifically, the SUPI number segment is used to represent the UDM/UDR to which it belongs.
以一个终端建立2个PDU会话为例,图12是本发明提供的一种会话建立流程示意图。如图12所示,目标AMF接收到PDU会话建立请求,并选定目标SMF之后,分别向各自选定的目标SMF转发PDU Session Establishment消息(携带HPLMN ID),目标SMF可以根据用户的SUPI,向用户归属的UDM/UDR获取用户签约数据。并根据用户签约数据中的RSN(冗余会话号码)参数,确定为UE建立冗余PDU会话。随后根据PDU Session Establishment消息中携带的用户的HPLMN ID,确定是冗余PDU会话的第一个PDU会话还是第二个PDU会话。Taking the establishment of two PDU sessions by one terminal as an example, FIG. 12 is a schematic diagram of a session establishment process provided by the present invention. As shown in Figure 12, after receiving the PDU session establishment request and selecting the target SMF, the target AMF forwards the PDU Session Establishment message (carrying the HPLMN ID) to the respective selected target SMFs. The user's home UDM/UDR obtains user subscription data. And according to the RSN (redundant session number) parameter in the user subscription data, it is determined to establish a redundant PDU session for the UE. Then, according to the HPLMN ID of the user carried in the PDU Session Establishment message, it is determined whether it is the first PDU session or the second PDU session of the redundant PDU session.
如果HPLMN ID=HPLMN1,则目标SMF确定这是冗余会话的第一个PDU会话,如果HPLMN ID=HPLMN2,则SMF确定这是冗余会话的第二个PDU会话。随后目标SMF可以选择目标UPF,并为UE的每个PDU会话分配IP地址,如为PDU会话1分配IP地址1,为PDU会话2分配IP地址2。然后,网络执行后续标准PDU会话建立流程,完成PDU会话建立。If HPLMN ID=HPLMN1, the target SMF determines that this is the first PDU session of the redundant session, and if HPLMN ID=HPLMN2, the SMF determines that this is the second PDU session of the redundant session. The target SMF can then select the target UPF, and assign an IP address to each PDU session of the UE, such as assigning
至此,网络为UE建立了两个冗余的PDU会话。图13是本发明提供的一种冗余会话示意图。如图13所示,第一个PDU会话用户面经gNB1跨越至UPF1,经UPF1连接外部DN。第二个PDU会话用户面经gNB2跨越至UPF2,经UPF2连接外部DN。So far, the network has established two redundant PDU sessions for the UE. FIG. 13 is a schematic diagram of a redundant session provided by the present invention. As shown in Figure 13, the user plane of the first PDU session spans to UPF1 via gNB1, and connects to the external DN via UPF1. The second PDU session user plane spans to UPF2 via gNB2, and connects to the external DN via UPF2.
具体地,用户数据可以在冗余的两个PDU会话路径上传送。主机A向主机B发送数据时,内置的RHF实体(冗余处理功能)将数据复制为相同的两份,一份数据通过UE的PDU会话1的用户面传送至主机B,另一份通过UE的PDU会话2的用户面传送至主机B。主机B的RHF实体收到两份一样的数据后,只保留一份数据,舍弃掉另一份数据,把数据送至主机B。反之主机B向主机A发送数据时,也是如此。Specifically, user data can be transmitted on redundant two PDU session paths. When host A sends data to host B, the built-in RHF entity (redundant processing function) copies the data into two identical copies, one of which is transmitted to host B through the user plane of UE's
具体地,本发明通过建立2条冗余的、独立的PDU会话用户平面路径,保证了路径上任何一个节点故障,不影响业务数据正常传送和业务使用,从而确保了业务的可靠性。Specifically, by establishing two redundant and independent PDU session user plane paths, the present invention ensures that any node failure on the path does not affect the normal transmission of service data and service use, thereby ensuring service reliability.
可选地,基于以上任一实施例,所述选择目标UPF,包括:Optionally, based on any of the above embodiments, the selecting the target UPF includes:
在预设的对应的UPF池中选择目标UPF;或Select the target UPF from the preset corresponding UPF pool; or
基于所述对应于USIM卡的归属PLMN网络标识,选择目标UPF。The target UPF is selected based on the home PLMN network identity corresponding to the USIM card.
具体地,目标SMF在选择目标UPF时,可以把HPLMN ID作为选择UPF参数,如对应HPLMN ID1,为PDU会话1优先选择UPF POOL内网元序号为奇数的UPF;对应HPLMN ID2,为PDU会话2优先选择UPF POOL内网元序号为偶数的UPF。从而确保冗余的PDU会话选择的UPF是不同的。Specifically, when the target SMF selects the target UPF, the HPLMN ID can be used as the selection UPF parameter. For example, corresponding to HPLMN ID1, for
具体地,图14是本发明提供的一种UPF选择方式示意图。如图14所示,网络部署时可以将UPF部署为2个UPF POOL,分别对应不同的目标SMF,目标SMF在选择目标UPF时,可以在预设的对应的UPF池中选择目标UPF。Specifically, FIG. 14 is a schematic diagram of a UPF selection method provided by the present invention. As shown in Figure 14, during network deployment, the UPF can be deployed as two UPF POOLs, which correspond to different target SMFs. When the target SMF selects the target UPF, the target UPF can be selected from the preset corresponding UPF pool.
具体地,SMF根据用户的GPSI,选择PCF/UDR,请求会话有关的策略,与PCF/UDR建立SM策略关联。之后根据SM策略及DNN、S-NSSAI、TAI等参数,选择UPF。为保证冗余的PDU会话选择的UPF是不同的,网络部署时可以将UPF部署为2个UPF POOL,分别对应不同的SMF,SMF在自身对应的UPF池中选择目标UPF。Specifically, the SMF selects the PCF/UDR according to the GPSI of the user, requests a policy related to the session, and establishes an SM policy association with the PCF/UDR. Then select UPF according to the SM strategy and parameters such as DNN, S-NSSAI, and TAI. To ensure that the UPFs selected for redundant PDU sessions are different, the UPFs can be deployed as two UPF POOLs during network deployment, which correspond to different SMFs, and the SMFs select the target UPF in their corresponding UPF pools.
具体地,本发明中的CN,至少包括2个独立的UPF,2个UPF位于不同的机房,使用不同的电源、传输等,以确保由于机房、电源、传输等故障时,至少1个UPF能传输业务。Specifically, the CN in the present invention includes at least two independent UPFs, and the two UPFs are located in different computer rooms and use different power supplies, transmissions, etc., to ensure that at least one UPF can transmission business.
本发明提供的会话建立方法,通过采用包括至少2个目标用户识别卡USIM卡的终端,并提前在对应的至少2个目标基站配置有对应于USIM卡的归属PLMN网络标识,以实现目标SMF可以接收终端向对应的目标基站分别发送的对应的PDU会话建立请求,进而基于PDU会话请求建立对应的PDU会话,可以实现最终为一个终端建立至少两个PDU会话,不需要RAN建立和维护双连接,可以降低RAN网络部署的复杂性,也不需要终端设备中集成多个UE,可以降低终端的成本和PDU冗余会话建立的复杂性。The session establishment method provided by the present invention adopts a terminal including at least two target subscriber identity cards, USIM cards, and configures at least two corresponding target base stations with home PLMN network identifiers corresponding to the USIM cards in advance, so that the target SMF can be Receiving the corresponding PDU session establishment requests sent by the terminal to the corresponding target base station respectively, and then establishing the corresponding PDU session based on the PDU session request, it is possible to finally establish at least two PDU sessions for one terminal, without the need for the RAN to establish and maintain dual connections, The complexity of RAN network deployment can be reduced, and multiple UEs do not need to be integrated in the terminal device, which can reduce the cost of the terminal and the complexity of establishing a PDU redundant session.
下面对本发明提供的会话建立装置进行描述,下文描述的会话建立装置与上文描述的会话建立方法可相互对应参照。The session establishment apparatus provided by the present invention will be described below, and the session establishment apparatus described below and the session establishment method described above may refer to each other correspondingly.
图15是本发明提供的一种会话建立装置的结构示意图。如图15所示,该装置包括发送模块1510,其中:FIG. 15 is a schematic structural diagram of a session establishment apparatus provided by the present invention. As shown in FIG. 15, the apparatus includes a
发送模块1510用于通过目标基站发送对应的PDU会话建立请求,所述目标基站配置有对应于USIM卡的归属PLMN网络标识,所述PDU会话请求携带有与对应的目标基站中相同的归属PLMN网络标识,以使目标SMF基于所述PDU会话建立请求建立对应于所述归属PLMN网络标识的PDU会话;The sending
其中,与所述终端中至少2个USIM卡对应的至少2个目标基站之间相互独立且属于同一接入网RAN且覆盖同一区域;所述包括至少2个USIM卡的终端对应建立至少2个PDU会话。Wherein, at least 2 target base stations corresponding to at least 2 USIM cards in the terminal are independent from each other and belong to the same access network RAN and cover the same area; the terminal including at least 2 USIM cards correspondingly establish at least 2 PDU session.
具体地,会话建立装置通过发送模块1510通过配置有对应于USIM卡的归属PLMN网络标识的目标基站发送携带有与对应的目标基站中相同的归属PLMN网络标识的PDU会话建立请求,目标SMF接收到对应的PDU会话建立请求后,可以基于PDU会话建立请求建立对应于所述归属PLMN网络标识的PDU会话。Specifically, the session establishment device sends, through the sending
在此需要说明的是,本申请实施例提供的上述装置,能够实现上述方法实施例所实现的所有方法步骤,且能够达到相同的技术效果,在此不再对本实施例中与方法实施例相同的部分及有益效果进行具体赘述。It should be noted here that the above-mentioned device provided by the embodiment of the present application can realize all the method steps realized by the above-mentioned method embodiment, and can achieve the same technical effect, and the same as the method embodiment in this embodiment is not repeated here. The parts and beneficial effects will be described in detail.
本发明提供的会话建立装置,通过采用包括至少2个目标用户识别卡USIM卡的终端,并提前在对应的至少2个目标基站配置有对应于USIM卡的归属PLMN网络标识,以实现终端可以向对应的目标基站分别发送对应的PDU会话建立请求,实现建立至少两个PDU会话,不需要RAN建立和维护双连接,可以降低RAN网络部署的复杂性,也不需要终端设备中集成多个UE,可以降低终端的成本和PDU冗余会话建立的复杂性。The session establishment device provided by the present invention adopts a terminal including at least two target subscriber identity cards, USIM cards, and configures at least two corresponding target base stations with home PLMN network identifiers corresponding to the USIM cards in advance, so that the terminal can communicate with the USIM card. The corresponding target base stations respectively send corresponding PDU session establishment requests to realize the establishment of at least two PDU sessions, without the need for the RAN to establish and maintain dual connections, which can reduce the complexity of RAN network deployment, and does not require the integration of multiple UEs in the terminal equipment. It is possible to reduce the cost of the terminal and the complexity of PDU redundant session establishment.
图16是本发明提供的一种电子设备的实体结构示意图,如图16所示,该电子设备可以包括:处理器(processor)1610、通信接口(Communications Interface)1620、存储器(memory)1630和通信总线1640,其中,处理器1610,通信接口1620,存储器1630通过通信总线1640完成相互间的通信。处理器1610可以调用存储器1630中的逻辑指令,以执行会话建立方法,该方法包括:FIG. 16 is a schematic diagram of the physical structure of an electronic device provided by the present invention. As shown in FIG. 16 , the electronic device may include: a processor (processor) 1610, a communications interface (Communications Interface) 1620, a memory (memory) 1630 and a communication The
通过目标基站发送对应的PDU会话建立请求,所述目标基站配置有对应于USIM卡的归属PLMN网络标识,所述PDU会话请求携带有与对应的目标基站中相同的归属PLMN网络标识,以使目标SMF基于所述PDU会话建立请求建立对应于所述归属PLMN网络标识的PDU会话;A corresponding PDU session establishment request is sent by the target base station, the target base station is configured with the home PLMN network identifier corresponding to the USIM card, and the PDU session request carries the same home PLMN network identifier as that in the corresponding target base station, so that the target SMF establishes a PDU session corresponding to the home PLMN network identity based on the PDU session establishment request;
其中,与所述终端中至少2个USIM卡对应的至少2个目标基站之间相互独立且属于同一接入网RAN且覆盖同一区域;所述包括至少2个USIM卡的终端对应建立至少2个PDU会话。Wherein, at least 2 target base stations corresponding to at least 2 USIM cards in the terminal are independent from each other and belong to the same access network RAN and cover the same area; the terminal including at least 2 USIM cards correspondingly establish at least 2 PDU session.
此外,上述的存储器1630中的逻辑指令可以通过软件功能单元的形式实现并作为独立的产品销售或使用时,可以存储在一个计算机可读取存储介质中。基于这样的理解,本发明的技术方案本质上或者说对现有技术做出贡献的部分或者该技术方案的部分可以以软件产品的形式体现出来,该计算机软件产品存储在一个存储介质中,包括若干指令用以使得一台计算机设备(可以是个人计算机,服务器,或者网络设备等)执行本发明各个实施例所述方法的全部或部分步骤。而前述的存储介质包括:U盘、移动硬盘、只读存储器(ROM,Read-Only Memory)、随机存取存储器(RAM,Random Access Memory)、磁碟或者光盘等各种可以存储程序代码的介质。In addition, the above-mentioned logic instructions in the
另一方面,本发明还提供一种计算机程序产品,所述计算机程序产品包括存储在非暂态计算机可读存储介质上的计算机程序,所述计算机程序包括程序指令,当所述程序指令被计算机执行时,计算机能够执行上述各方法实施例所提供的会话建立方法,该方法包括:In another aspect, the present invention also provides a computer program product, the computer program product comprising a computer program stored on a non-transitory computer-readable storage medium, the computer program comprising program instructions, when the program instructions are executed by a computer During execution, the computer can execute the session establishment method provided by the above method embodiments, and the method includes:
通过目标基站发送对应的PDU会话建立请求,所述目标基站配置有对应于USIM卡的归属PLMN网络标识,所述PDU会话请求携带有与对应的目标基站中相同的归属PLMN网络标识,以使目标SMF基于所述PDU会话建立请求建立对应于所述归属PLMN网络标识的PDU会话;A corresponding PDU session establishment request is sent by the target base station, the target base station is configured with the home PLMN network identifier corresponding to the USIM card, and the PDU session request carries the same home PLMN network identifier as that in the corresponding target base station, so that the target SMF establishes a PDU session corresponding to the home PLMN network identity based on the PDU session establishment request;
其中,与所述终端中至少2个USIM卡对应的至少2个目标基站之间相互独立且属于同一接入网RAN且覆盖同一区域;所述包括至少2个USIM卡的终端对应建立至少2个PDU会话。Wherein, at least 2 target base stations corresponding to at least 2 USIM cards in the terminal are independent from each other and belong to the same access network RAN and cover the same area; the terminal including at least 2 USIM cards correspondingly establish at least 2 PDU session.
又一方面,本发明还提供一种非暂态计算机可读存储介质,其上存储有计算机程序,该计算机程序被处理器执行时实现以执行上述各实施例提供的会话建立方法,该方法包括:接收包括至少2个USIM卡的终端通过目标基站发送的对应的PDU会话建立请求,所述目标基站配置有对应于USIM卡的归属PLMN网络标识,所述PDU会话请求携带有与对应的目标基站中相同的归属PLMN网络标识;In yet another aspect, the present invention also provides a non-transitory computer-readable storage medium on which a computer program is stored, and the computer program is implemented when executed by a processor to execute the session establishment method provided by the above embodiments, the method comprising: : Receive a corresponding PDU session establishment request sent by a terminal including at least two USIM cards through a target base station, the target base station is configured with a home PLMN network identity corresponding to the USIM card, and the PDU session request carries a corresponding target base station. The same home PLMN network identity in ;
基于所述PDU会话建立请求,建立对应于所述归属PLMN网络标识的PDU会话;Based on the PDU session establishment request, establish a PDU session corresponding to the identity of the home PLMN network;
其中,与所述终端中至少2个USIM卡对应的至少2个目标基站之间相互独立且属于同一接入网RAN且覆盖同一区域;Wherein, at least two target base stations corresponding to at least two USIM cards in the terminal are independent of each other and belong to the same access network RAN and cover the same area;
所述包括至少2个USIM卡的终端对应建立至少2个PDU会话。The terminal including at least two USIM cards correspondingly establishes at least two PDU sessions.
以上所描述的装置实施例仅仅是示意性的,其中所述作为分离部件说明的单元可以是或者也可以不是物理上分开的,作为单元显示的部件可以是或者也可以不是物理单元,即可以位于一个地方,或者也可以分布到多个网络单元上。可以根据实际的需要选择其中的部分或者全部模块来实现本实施例方案的目的。本领域普通技术人员在不付出创造性的劳动的情况下,即可以理解并实施。The device embodiments described above are only illustrative, wherein the units described as separate components may or may not be physically separated, and the components shown as units may or may not be physical units, that is, they may be located in One place, or it can be distributed over multiple network elements. Some or all of the modules may be selected according to actual needs to achieve the purpose of the solution in this embodiment. Those of ordinary skill in the art can understand and implement it without creative effort.
通过以上的实施方式的描述,本领域的技术人员可以清楚地了解到各实施方式可借助软件加必需的通用硬件平台的方式来实现,当然也可以通过硬件。基于这样的理解,上述技术方案本质上或者说对现有技术做出贡献的部分可以以软件产品的形式体现出来,该计算机软件产品可以存储在计算机可读存储介质中,如ROM/RAM、磁碟、光盘等,包括若干指令用以使得一台计算机设备(可以是个人计算机,服务器,或者网络设备等)执行各个实施例或者实施例的某些部分所述的方法。From the description of the above embodiments, those skilled in the art can clearly understand that each embodiment can be implemented by means of software plus a necessary general hardware platform, and certainly can also be implemented by hardware. Based on this understanding, the above-mentioned technical solutions can be embodied in the form of software products in essence or the parts that make contributions to the prior art, and the computer software products can be stored in computer-readable storage media, such as ROM/RAM, magnetic A disc, an optical disc, etc., includes several instructions for causing a computer device (which may be a personal computer, a server, or a network device, etc.) to perform the methods described in various embodiments or some parts of the embodiments.
最后应说明的是:以上实施例仅用以说明本发明的技术方案,而非对其限制;尽管参照前述实施例对本发明进行了详细的说明,本领域的普通技术人员应当理解:其依然可以对前述各实施例所记载的技术方案进行修改,或者对其中部分技术特征进行等同替换;而这些修改或者替换,并不使相应技术方案的本质脱离本发明各实施例技术方案的精神和范围。Finally, it should be noted that the above embodiments are only used to illustrate the technical solutions of the present invention, but not to limit them; although the present invention has been described in detail with reference to the foregoing embodiments, those of ordinary skill in the art should understand that it can still be The technical solutions described in the foregoing embodiments are modified, or some technical features thereof are equivalently replaced; and these modifications or replacements do not make the essence of the corresponding technical solutions deviate from the spirit and scope of the technical solutions of the embodiments of the present invention.
| Application Number | Priority Date | Filing Date | Title |
|---|---|---|---|
| CN202011267906.1ACN114501681B (en) | 2020-11-13 | 2020-11-13 | Session establishment method, device, electronic device and storage medium |
| Application Number | Priority Date | Filing Date | Title |
|---|---|---|---|
| CN202011267906.1ACN114501681B (en) | 2020-11-13 | 2020-11-13 | Session establishment method, device, electronic device and storage medium |
| Publication Number | Publication Date |
|---|---|
| CN114501681Atrue CN114501681A (en) | 2022-05-13 |
| CN114501681B CN114501681B (en) | 2025-05-27 |
| Application Number | Title | Priority Date | Filing Date |
|---|---|---|---|
| CN202011267906.1AActiveCN114501681B (en) | 2020-11-13 | 2020-11-13 | Session establishment method, device, electronic device and storage medium |
| Country | Link |
|---|---|
| CN (1) | CN114501681B (en) |
| Publication number | Priority date | Publication date | Assignee | Title |
|---|---|---|---|---|
| CN118828442A (en)* | 2023-04-18 | 2024-10-22 | 中关村泛联移动通信技术创新应用研究院 | Business establishment method, device, equipment and medium |
| CN119383758A (en)* | 2024-12-20 | 2025-01-28 | 中国电信股份有限公司 | Session management method and communication system |
| Publication number | Priority date | Publication date | Assignee | Title |
|---|---|---|---|---|
| CN101841801A (en)* | 2009-03-16 | 2010-09-22 | 中国移动通信集团公司 | Methods and systems for registration and communication in IMS network and user terminal |
| CN109729122A (en)* | 2017-10-31 | 2019-05-07 | 华为技术有限公司 | Method and device for determining Ethernet MAC address |
| CN110495214A (en)* | 2017-04-19 | 2019-11-22 | Lg电子株式会社 | For handling the method and AMF node of PDU session establishment process |
| CN110915293A (en)* | 2017-06-19 | 2020-03-24 | 夏普株式会社 | User device, communication control method of user device, core network device, communication control method of core network, SMF, and communication control method of SMF |
| CN111148274A (en)* | 2018-11-01 | 2020-05-12 | 北京三星通信技术研究有限公司 | Method for session establishment, session management function entity, base station and storage medium |
| WO2020146619A1 (en)* | 2019-01-10 | 2020-07-16 | Cisco Technology, Inc. | Selecting a user plane function (upf) for layer 2 networks |
| US20200351969A1 (en)* | 2017-12-29 | 2020-11-05 | Telefonaktiebolaget Lm Ericsson (Publ) | Methods providing dual connectivity for redundant user plane paths and related network nodes |
| WO2020226079A1 (en)* | 2019-05-03 | 2020-11-12 | Nec Corporation | Core network node, ue, access network node and controlling method |
| Publication number | Priority date | Publication date | Assignee | Title |
|---|---|---|---|---|
| CN101841801A (en)* | 2009-03-16 | 2010-09-22 | 中国移动通信集团公司 | Methods and systems for registration and communication in IMS network and user terminal |
| CN110495214A (en)* | 2017-04-19 | 2019-11-22 | Lg电子株式会社 | For handling the method and AMF node of PDU session establishment process |
| CN110915293A (en)* | 2017-06-19 | 2020-03-24 | 夏普株式会社 | User device, communication control method of user device, core network device, communication control method of core network, SMF, and communication control method of SMF |
| CN109729122A (en)* | 2017-10-31 | 2019-05-07 | 华为技术有限公司 | Method and device for determining Ethernet MAC address |
| WO2019085635A1 (en)* | 2017-10-31 | 2019-05-09 | 华为技术有限公司 | Method and apparatus for determining ethernet mac address |
| US20200259783A1 (en)* | 2017-10-31 | 2020-08-13 | Huawei Technologies Co., Ltd. | Method and apparatus for determining ethernet mac address |
| US20200351969A1 (en)* | 2017-12-29 | 2020-11-05 | Telefonaktiebolaget Lm Ericsson (Publ) | Methods providing dual connectivity for redundant user plane paths and related network nodes |
| CN111148274A (en)* | 2018-11-01 | 2020-05-12 | 北京三星通信技术研究有限公司 | Method for session establishment, session management function entity, base station and storage medium |
| WO2020146619A1 (en)* | 2019-01-10 | 2020-07-16 | Cisco Technology, Inc. | Selecting a user plane function (upf) for layer 2 networks |
| WO2020226079A1 (en)* | 2019-05-03 | 2020-11-12 | Nec Corporation | Core network node, ue, access network node and controlling method |
| Title |
|---|
| HUAWEI, HISILICON: "S2-2003975 "KI#1 KI#3, New Sol: N3GPP for MUSIM Service Concurrency."", 3GPP TSG_SA\\WG2_ARCH, no. 2, 22 May 2020 (2020-05-22), pages 1 - 2* |
| Publication number | Priority date | Publication date | Assignee | Title |
|---|---|---|---|---|
| CN118828442A (en)* | 2023-04-18 | 2024-10-22 | 中关村泛联移动通信技术创新应用研究院 | Business establishment method, device, equipment and medium |
| CN119383758A (en)* | 2024-12-20 | 2025-01-28 | 中国电信股份有限公司 | Session management method and communication system |
| Publication number | Publication date |
|---|---|
| CN114501681B (en) | 2025-05-27 |
| Publication | Publication Date | Title |
|---|---|---|
| JP2022119961A (en) | Method and device for selecting access and mobility management function in a mobile communication system | |
| CN114503630A (en) | Method and device for activating 5G user | |
| EP3267721B1 (en) | Air-interface protocol stack configuration method, and data transmission method and device | |
| CN116325845B (en) | Secure communication method, device and system | |
| US20140026207A1 (en) | Method, device, and communication system for establishing connection with network management system | |
| CN107666723B (en) | An information transmission method, fusion gateway and system | |
| JP2021530892A (en) | Communication method and communication device | |
| CN106572517A (en) | Network slice processing method, access network selecting method and apparatus | |
| JP7720328B2 (en) | Method and apparatus for discovering and selecting a network that provides connectivity for provisioning user subscription data | |
| US20230090543A1 (en) | User Plane Security Enforcement Information Determining Method, Apparatus, and System | |
| US20250168615A1 (en) | Identifying ue-to-ue communication and relaying traffic via ue-to-ue communication | |
| WO2023137579A1 (en) | Emergency service providing method and apparatus, device, and storage medium | |
| CN114501681A (en) | Session establishing method, device, electronic equipment and storage medium | |
| CN103813402A (en) | Communication path switching method, device, processing device and system | |
| TW202410713A (en) | Communication method and apparatus | |
| JP7649801B2 (en) | Method and apparatus for searching and selecting a server for terminal authentication and subscriber data transfer - Patents.com | |
| WO2023060607A1 (en) | Service access method, apparatus, and device, and storage medium | |
| CN111741514B (en) | Network access information configuration method and device | |
| CN114666863B (en) | Data routing method and device | |
| WO2025065986A1 (en) | Method, apparatus and system for managing a mission | |
| KR20250135488A (en) | Method and apparatus for handling pdu session of network slicing based on access type | |
| CN120785950A (en) | Method and communication device for determining Edge Application Server (EAS) | |
| CN119892803A (en) | Wireless communication method, apparatus, device, storage medium, and program product | |
| WO2025086159A1 (en) | Communication method and related product | |
| KR20250031380A (en) | Method and apparatus for handling multi access pdu(protocol data unit) session of network slicing in wireless communication system |
| Date | Code | Title | Description |
|---|---|---|---|
| PB01 | Publication | ||
| PB01 | Publication | ||
| SE01 | Entry into force of request for substantive examination | ||
| SE01 | Entry into force of request for substantive examination | ||
| GR01 | Patent grant | ||
| GR01 | Patent grant |