







技术领域technical field
本发明涉及植物萃取技术领域,具体为一种植物萃取混合物的溶剂分离装置。The invention relates to the technical field of plant extraction, in particular to a solvent separation device for plant extraction mixture.
背景技术Background technique
随着生活质量的提高,人们对食物的要求越来越高,目前出现一种将植物营养成分通过乙醇或者乙酸乙酯萃取出来,从而浓缩,剔除杂质,从而便于食用并提高口感,萃取后需要将萃取使用的溶剂与营养物质分离,目前常采用蒸馏法进行分离,但是,现有的蒸馏分离装置在加热过程中难以对萃取液进行充分均匀加热,导致萃取液底部过热,而顶部热量较低,难以充分蒸馏,为此我们提出一种植物萃取混合物的溶剂分离装置用于解决上述问题。With the improvement of the quality of life, people's requirements for food are getting higher and higher. At present, there is a way to extract plant nutrients through ethanol or ethyl acetate, so as to concentrate and remove impurities, so as to facilitate eating and improve the taste. The solvent used for extraction is separated from the nutrient, and the distillation method is often used for separation. However, it is difficult for the existing distillation separation device to fully and uniformly heat the extract during the heating process, resulting in overheating at the bottom of the extract and low heat at the top. , it is difficult to fully distill, so we propose a solvent separation device for plant extraction mixture to solve the above problems.
发明内容SUMMARY OF THE INVENTION
本发明的目的在于提供一种植物萃取混合物的溶剂分离装置,以解决上述背景技术中提出的问题。The purpose of the present invention is to provide a solvent separation device for plant extraction mixture, so as to solve the problems raised in the above-mentioned background art.
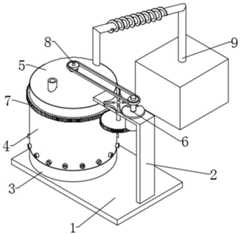
为实现上述目的,本发明提供如下技术方案:一种植物萃取混合物的溶剂分离装置,包括底座,所述底座上固定安装加热盘,所述加热盘上放置蒸发罐,所述底座的边缘固定安装机架,所述机架上固定安装罐盖,所述罐盖转动卡接加热管,所述机架上安装驱动机构,所述蒸发罐与罐盖间安装旋转机构和提拉机构,所述旋转机构和提拉机构连接驱动机构,所述罐盖连接冷凝机构。In order to achieve the above purpose, the present invention provides the following technical solutions: a solvent separation device for plant extraction mixture, comprising a base, a heating plate is fixedly installed on the base, an evaporation tank is placed on the heating plate, and the edge of the base is fixedly installed a rack, a tank cover is fixedly installed on the rack, the tank cover rotates and clamps the heating tube, a drive mechanism is installed on the rack, a rotating mechanism and a pulling mechanism are installed between the evaporation tank and the tank cover, the The rotating mechanism and the pulling mechanism are connected with the driving mechanism, and the tank cover is connected with the condensation mechanism.
优选的,所述驱动机构包括主动轴和传动轴,所述机架上转动卡接主动轴和传动轴,所述主动轴和传动轴上分别固定套接主动轮和槽轮,所述主动轮的外壁开有转槽,所述槽轮的外壁开有多个止动槽,相邻两个所述止动槽间的槽轮外壁上开有推槽,所述转槽中部的主动轮端面固定安装推杆,所述推杆卡接推槽,所述机架的底面固定安装电机,所述电机的输出轴连接主动轴的底部,所述主动轴的顶部通过传动带连接提拉机构,所述传动轴的底部连接旋转机构。Preferably, the driving mechanism includes a driving shaft and a transmission shaft, the driving shaft and the transmission shaft are rotatably connected to the frame, and the driving shaft and the transmission shaft are respectively fixed with a socket driving wheel and a sheave, and the driving wheel The outer wall of the sheave is provided with a turning groove, the outer wall of the sheave is provided with a plurality of stop grooves, the outer wall of the sheave between the two adjacent stop grooves is provided with a push groove, and the end face of the driving wheel in the middle of the turning groove The push rod is fixedly installed, the push rod is clamped to the push groove, the bottom surface of the frame is fixedly installed with a motor, the output shaft of the motor is connected to the bottom of the driving shaft, and the top of the driving shaft is connected to the pulling mechanism through the transmission belt, so The bottom of the transmission shaft is connected with a rotating mechanism.
优选的,所述止动槽沿槽轮圆周方向均匀分布有四个,所述推杆为L型结构,且推杆的直径等于推槽的宽度。Preferably, there are four stop grooves evenly distributed along the circumferential direction of the sheave, the push rod is an L-shaped structure, and the diameter of the push rod is equal to the width of the push groove.
优选的,所述旋转机构包括齿轮,所述传动轴的底部固定套接齿轮,所述蒸发罐的外壁固定套接齿环,所述齿环啮合齿轮,所述罐盖上固定套接固定杆,所述固定杆的底部固定安装多个固定片,所述蒸发罐的内壁底部固定安装多个转动片,所述固定杆上安装有提拉机构。Preferably, the rotating mechanism includes a gear, the bottom of the transmission shaft is fixed with a socket gear, the outer wall of the evaporation tank is fixed with a socket gear ring, the gear ring is engaged with the gear, and a socket fixed rod is fixed on the tank cover A plurality of fixed pieces are fixedly installed on the bottom of the fixing rod, a plurality of rotating pieces are fixedly installed on the bottom of the inner wall of the evaporation tank, and a pulling mechanism is installed on the fixed rod.
优选的,所述提拉机构包括转筒,所述固定杆内转动套接转筒,所述转筒的顶部固定安装从动轴,所述从动轴贯穿固定杆并与主动轴间套接传动带,所述固定杆的外壁滑动套接滑动环,所述滑动环的外壁固定安装多个吊杆,所述吊杆上固定安装刮板,所述刮板正对相邻两个转动片的间隙,所述固定杆上开有通槽,所述滑动环的内壁固定安装滑杆,所述滑杆滑动贯穿通槽,所述转筒的外壁开有两个螺旋槽,且螺旋槽的两端相互连通,所述滑杆滑动卡接在滑杆内。Preferably, the pulling mechanism includes a rotating drum, the rotating drum is rotatably sleeved in the fixing rod, a driven shaft is fixedly installed on the top of the rotating drum, and the driven shaft penetrates the fixing rod and is sleeved with the driving shaft. The transmission belt, the outer wall of the fixed rod is slidably sleeved with the sliding ring, the outer wall of the sliding ring is fixedly installed with a plurality of suspension rods, and the scraper is fixedly installed on the suspension rod, and the scraper is facing the two adjacent rotating plates. There is a through groove on the fixed rod, the inner wall of the sliding ring is fixedly installed with a sliding rod, the sliding rod slides through the through groove, the outer wall of the rotating drum has two spiral grooves, and the two spiral grooves The ends are communicated with each other, and the sliding rod is slidably clamped in the sliding rod.
优选的,所述转动片和刮板均为网状结构,所述螺旋槽两端沿转筒圆周方向的夹角为180°,所述滑杆的直径等于螺旋槽的宽度。Preferably, the rotating blade and the scraper are both mesh structures, the included angle between the two ends of the spiral groove along the circumferential direction of the drum is 180°, and the diameter of the sliding rod is equal to the width of the spiral groove.
优选的,所述罐盖上固定套接有进料管,所述蒸发罐的外壁底部固定套接多个出料管,且出料管分别正对相邻两个转动片的间隙,且进料管和出料管上均安装有阀门。Preferably, a feed pipe is fixedly sleeved on the tank cover, a plurality of discharge pipes are fixedly sleeved on the bottom of the outer wall of the evaporation tank, and the discharge pipes are respectively facing the gap between two adjacent rotating pieces, and the feed pipes are Valves are installed on both the feed pipe and the discharge pipe.
优选的,所述冷凝机构包括储液箱,所述储液箱的顶部固定套接出气管的一端,所述出气管的另一端固定套接罐盖,所述出气管上螺旋套设有冷凝管,所述出气管靠近储液箱的一端安装防吸机构。Preferably, the condensation mechanism includes a liquid storage tank, the top of the liquid storage tank is fixedly sleeved with one end of the air outlet pipe, the other end of the air outlet pipe is fixedly sleeved with the tank cover, and the air outlet pipe is screwed with a condenser An anti-suction mechanism is installed at one end of the air outlet pipe close to the liquid storage tank.
优选的,所述防吸机构包括球囊,所述球囊固定套接在出气管的底部,所述球囊正对出气管的外壁开有通孔,所述球囊的内壁通过拉绳安装有封堵球,所述封堵球位于通孔的正下方,所述球囊的底部固定套接出液管。Preferably, the anti-suction mechanism includes a balloon, the balloon is fixedly sleeved on the bottom of the trachea, the balloon has a through hole facing the outer wall of the trachea, and the inner wall of the balloon is installed by a pulling rope There is a blocking ball, the blocking ball is located just below the through hole, and the bottom of the balloon is fixedly sleeved with a liquid outlet pipe.
优选的,所述冷凝管的两端连接有冷水管循环管,所述封堵球为空心球状结构,且封堵球的外径大于通孔的直径。Preferably, both ends of the condensation pipe are connected with a cold water pipe circulation pipe, the blocking ball is a hollow spherical structure, and the outer diameter of the blocking ball is larger than the diameter of the through hole.
本发明的有益效果在于:The beneficial effects of the present invention are:
1、电机带动主动轴连续转动,则主动轮连续转动,主动轮和槽轮构成槽轮机构,主动轮转动一圈,使得推杆推动推槽,从而槽轮转动四分之一圈,实现间歇转动,则从动轴通过齿轮带动齿环间歇转动,则蒸发罐间歇转动,同时,主动轴通过传动带带动从动轴转动,则转筒连续转动,使得螺旋槽推动滑杆沿通槽进行升降,则滑动环进行往复升降,此时,蒸发罐旋转时,滑动环上升,刮板位于转动片上方,则转动片转动,结合固定片水平搅拌萃取液,然后蒸发罐停止,滑动环下移,刮板沿相邻两个转动片间隙插入,从而对萃取液进行竖直搅动,实现萃取液全方面充分受热,同时,刮板对转动片和蒸发罐内壁进行刮拭,便于营养成分位于蒸发罐底部,便于溶剂完全蒸发后将萃取物放出;1. The motor drives the driving shaft to rotate continuously, and the driving wheel rotates continuously. The driving wheel and the sheave form a sheave mechanism. The driving wheel rotates once, so that the push rod pushes the push groove, so that the sheave rotates a quarter of a turn to realize intermittent Rotation, the driven shaft drives the gear ring to rotate intermittently through the gear, and the evaporation tank rotates intermittently. At the same time, the driving shaft drives the driven shaft to rotate through the transmission belt, and the rotating drum rotates continuously, so that the spiral groove pushes the sliding rod to move up and down along the through groove. Then the sliding ring goes up and down reciprocatingly. At this time, when the evaporation tank rotates, the sliding ring rises, and the scraper is located above the rotating plate, the rotating plate rotates, and the extraction liquid is stirred horizontally with the fixed plate, and then the evaporation tank stops, the sliding ring moves down, scraping The plate is inserted along the gap between the two adjacent rotating sheets, so as to vertically stir the extraction liquid, so that the extraction liquid can be fully heated in all aspects. , it is convenient to release the extract after the solvent is completely evaporated;
2、萃取液充分受热使得溶剂蒸发,蒸发气体沿出气管流动,通过冷凝管内的冷水对溶剂蒸汽进行冷凝,则溶剂从出气管流入球囊,此时封堵球在重力作用下与通孔分离,溶剂气液混合物能够流入储液箱内,储液箱底部放置冷的溶剂,则气液混合物进入冷的溶剂后,气态溶剂再次被冷却成液体,达到充分冷凝的目的,蒸馏结束后,加热盘停止加热,此时蒸发罐内温度降低,产生负压,封堵球在负压作用下将通孔封堵,避免溶剂倒吸。2. The extraction liquid is fully heated to make the solvent evaporate, the evaporated gas flows along the gas outlet pipe, and the solvent vapor is condensed by the cold water in the condenser pipe, and the solvent flows into the balloon from the gas outlet pipe, and the blocking ball is separated from the through hole under the action of gravity. , the solvent gas-liquid mixture can flow into the liquid storage tank, and the cold solvent is placed at the bottom of the liquid storage tank. After the gas-liquid mixture enters the cold solvent, the gaseous solvent is cooled into liquid again to achieve the purpose of sufficient condensation. After the distillation is completed, heating The plate stops heating, at this time, the temperature in the evaporation tank decreases, and negative pressure is generated, and the blocking ball blocks the through hole under the action of negative pressure to prevent the solvent from being sucked back.
附图说明Description of drawings
图1为本发明实施例提供的一种植物萃取混合物的溶剂分离装置的结构示意图。FIG. 1 is a schematic structural diagram of a solvent separation device for a plant extraction mixture according to an embodiment of the present invention.
图2为本发明驱动机构处结构示意图。FIG. 2 is a schematic view of the structure of the drive mechanism of the present invention.
图3为本发明蒸发罐处剖面结构示意图。FIG. 3 is a schematic diagram of the cross-sectional structure of the evaporation tank of the present invention.
图4为本发明图3中A处放大结构示意图。FIG. 4 is an enlarged schematic view of the structure at A in FIG. 3 of the present invention.
图5为本发明提拉机构处结构示意图。FIG. 5 is a schematic view of the structure of the pulling mechanism of the present invention.
图6为本发明转筒处结构示意图。FIG. 6 is a schematic view of the structure of the rotating drum of the present invention.
图7为本发明冷凝机构结构示意图。FIG. 7 is a schematic structural diagram of the condensation mechanism of the present invention.
图8为本发明图7中B处放大结构示意图。FIG. 8 is an enlarged schematic view of the structure at B in FIG. 7 of the present invention.
图中:1、底座;2、机架;3、加热盘;4、蒸发罐;5、罐盖;6、驱动机构;61、主动轴;62、主动轮;63、电机;64、传动轴;65、槽轮;66、止动槽;67、推槽;68、推杆;69、转槽;7、旋转机构;71、齿轮;72、齿环;73、固定杆;74、转动片;75、固定片;8、提拉机构;81、从动轴;82、转筒;83、螺旋槽;84、滑动环;85、通槽;86、滑杆;87、吊杆;88、刮板;9、冷凝机构;91、储液箱;92、出气管;93、冷凝管;94、防吸机构;941、球囊;942、通孔;943、出液管;944、封堵球。In the figure: 1. Base; 2. Rack; 3. Heating plate; 4. Evaporating tank; 5. Tank cover; 6. Driving mechanism; 61. Drive shaft; 62, Drive wheel; 63, Motor; 64, Drive shaft ; 65, sheave; 66, stop groove; 67, push groove; 68, push rod; 69, turn groove; 7, rotary mechanism; 71, gear; 72, gear ring; 73, fixed rod; 74, rotating piece ;75, fixed piece; 8, pulling mechanism; 81, driven shaft; 82, drum; 83, spiral groove; 84, sliding ring; 85, through groove; 86, sliding rod; 87, hanger rod; 88, Scraper; 9. Condensing mechanism; 91. Liquid storage tank; 92. Outlet pipe; 93. Condensing pipe; 94. Anti-suction mechanism; 941, Balloon; 942, Through hole; ball.
具体实施方式Detailed ways
下面将结合本发明实施例中的附图,对本发明实施例中的技术方案进行清楚、完整地描述,显然,所描述的实施例仅仅是本发明一部分实施例,而不是全部的实施例。基于本发明中的实施例,本领域普通技术人员在没有做出创造性劳动前提下所获得的所有其他实施例,都属于本发明保护的范围。The technical solutions in the embodiments of the present invention will be clearly and completely described below with reference to the accompanying drawings in the embodiments of the present invention. Obviously, the described embodiments are only a part of the embodiments of the present invention, but not all of the embodiments. Based on the embodiments of the present invention, all other embodiments obtained by those of ordinary skill in the art without creative efforts shall fall within the protection scope of the present invention.
实施例:如图1至图8所示,本发明提供了一种植物萃取混合物的溶剂分离装置,包括底座1,底座1上固定安装加热盘3,加热盘3上放置蒸发罐4,底座1的边缘固定安装机架2,机架2上固定安装罐盖5,罐盖5转动卡接加热管4,机架2上安装驱动机构6,蒸发罐4与罐盖5间安装旋转机构7和提拉机构8,旋转机构7和提拉机构8连接驱动机构6,罐盖5连接冷凝机构9。萃取液加入蒸发罐4内,加热盘3进行加热,驱动机构6同时带动旋转机构7和提拉机构8,旋转机构7对萃取液进行圆周方向搅动,提拉机构8对萃取液进行竖直方向搅动,使得萃取液充分且均匀受热,便于溶剂充分蒸发分离,然后通过冷凝机构9进行冷凝收集。Example: As shown in Figures 1 to 8, the present invention provides a solvent separation device for plant extraction mixture, comprising a
优选的,驱动机构6包括主动轴61和传动轴64,机架2上转动卡接主动轴61和传动轴64,主动轴61和传动轴64上分别固定套接主动轮62和槽轮65,主动轮62的外壁开有转槽69,槽轮65的外壁开有多个止动槽66,相邻两个止动槽66间的槽轮65外壁上开有推槽67,转槽69中部的主动轮62端面固定安装推杆68,推杆68卡接推槽67,机架2的底面固定安装电机63,电机63的输出轴连接主动轴61的底部,主动轴61的顶部通过传动带连接提拉机构8,传动轴64的底部连接旋转机构7,止动槽66沿槽轮65圆周方向均匀分布有四个,推杆68为L型结构,且推杆68的直径等于推槽67的宽度。Preferably, the
旋转机构7包括齿轮71,传动轴64的底部固定套接齿轮71,蒸发罐4的外壁固定套接齿环72,齿环72啮合齿轮71,罐盖5上固定套接固定杆73,固定杆73的底部固定安装多个固定片75,蒸发罐4的内壁底部固定安装多个转动片74,固定杆73上安装有提拉机构8。The
提拉机构8包括转筒82,固定杆73内转动套接转筒82,转筒82的顶部固定安装从动轴81,从动轴81贯穿固定杆73并与主动轴61间套接传动带,固定杆73的外壁滑动套接滑动环84,滑动环84的外壁固定安装多个吊杆87,吊杆87上固定安装刮板88,刮板88正对相邻两个转动片74的间隙,固定杆73上开有通槽85,滑动环84的内壁固定安装滑杆86,滑杆86滑动贯穿通槽85,转筒82的外壁开有两个螺旋槽83,且螺旋槽83的两端相互连通,滑杆86滑动卡接在滑杆86内,转动片74和刮板88均为网状结构,螺旋槽83两端沿转筒82圆周方向的夹角为180°,滑杆86的直径等于螺旋槽83的宽度。The pulling mechanism 8 includes a rotating drum 82, the rotating drum 82 is rotatably sleeved in the fixed rod 73, a driven shaft 81 is fixedly installed on the top of the rotating drum 82, and the driven shaft 81 penetrates the fixed rod 73 and is sleeved with the driving shaft 61 with a transmission belt, The outer wall of the fixed rod 73 is slidably sleeved with the sliding ring 84, and the outer wall of the sliding ring 84 is fixedly installed with a plurality of suspension rods 87, and the suspension rod 87 is fixedly installed with a scraper 88, and the scraper 88 is facing the gap between the two adjacent rotating pieces 74, The fixed rod 73 is provided with a through groove 85, the inner wall of the sliding ring 84 is fixedly installed with a sliding rod 86, the sliding rod 86 slides through the through groove 85, and the outer wall of the drum 82 has two spiral grooves 83, and the two ends of the spiral groove 83 Connected with each other, the sliding rod 86 is slidably clamped in the sliding rod 86, the rotating piece 74 and the scraper 88 are both mesh structures, the included angle between the two ends of the spiral groove 83 along the circumferential direction of the rotating drum 82 is 180°, and the angle of the sliding rod 86 The diameter is equal to the width of the helical groove 83 .
驱动机构6、旋转机构7和提拉机构8进行联动,电机63带动主动轴61连续转动,则主动轮62连续转动,主动轮62和槽轮65构成槽轮机构,主动轮62转动一圈,使得推杆68推动推槽67,从而槽轮65转动四分之一圈,实现间歇转动,则从动轴64通过齿轮71带动齿环72间歇转动,则蒸发罐4间歇转动,同时,主动轴61通过传动带带动从动轴转动,则转筒82连续转动,使得螺旋槽83推动滑杆86沿通槽85进行升降,则滑动环84进行往复升降,此时,蒸发罐4旋转时,滑动环84上升,刮板88位于转动片74上方,则转动片74转动,结合固定片75水平搅拌萃取液,然后蒸发罐4停止,滑动环84下移,刮板88沿相邻两个转动片74间隙插入,从而对萃取液进行竖直搅动,实现萃取液全方面充分受热,同时,刮板88对转动片74和蒸发罐4内壁进行刮拭,便于营养成分位于蒸发罐底部,便于溶剂完全蒸发后将萃取物放出。The
优选的,罐盖5上固定套接有进料管,蒸发罐4的外壁底部固定套接多个出料管,且出料管分别正对相邻两个转动片74的间隙,且进料管和出料管上均安装有阀门,冷凝机构9包括储液箱91,储液箱91的顶部固定套接出气管92的一端,出气管92的另一端固定套接罐盖5,出气管92上螺旋套设有冷凝管93,出气管92靠近储液箱91的一端安装防吸机构94,防吸机构94包括球囊941,球囊941固定套接在出气管92的底部,球囊941正对出气管92的外壁开有通孔942,球囊941的内壁通过拉绳安装有封堵球944,封堵球944位于通孔942的正下方,球囊941的底部固定套接出液管943,冷凝管93的两端连接有冷水管循环管,封堵球944为空心球状结构,且封堵球944的外径大于通孔942的直径,则溶剂蒸汽沿出气管92流动,通过冷凝管93内的冷水对溶剂蒸汽进行冷凝,则溶剂从出气管92流入球囊941,此时封堵球944在重力作用下与通孔942分离,溶剂气液混合物能够流入储液箱91内,储液箱91底部放置冷的溶剂,则气液混合物进入冷的溶剂后,气态溶剂再次被冷却成液体,达到充分冷凝的目的,蒸馏结束后,加热盘3停止加热,此时蒸发罐4内温度降低,产生负压,封堵球944在负压作用下将通孔942封堵,避免溶剂倒吸。Preferably, a feed pipe is fixedly sleeved on the tank cover 5, and a plurality of discharge pipes are fixedly sleeved on the bottom of the outer wall of the
使用时,萃取液放入蒸发罐4内,加热盘3进行加热,电机63带动主动轴61连续转动,则主动轮62连续转动,主动轮62和槽轮65构成槽轮机构,主动轮62转动一圈,使得推杆68推动推槽67,从而槽轮65转动四分之一圈,实现间歇转动,则从动轴64通过齿轮71带动齿环72间歇转动,则蒸发罐4间歇转动,同时,主动轴61通过传动带带动从动轴转动,则转筒82连续转动,使得螺旋槽83推动滑杆86沿通槽85进行升降,则滑动环84进行往复升降,此时,蒸发罐4旋转时,滑动环84上升,刮板88位于转动片74上方,则转动片74转动,结合固定片75水平搅拌萃取液,然后蒸发罐4停止,滑动环84下移,刮板88沿相邻两个转动片74间隙插入,从而对萃取液进行竖直搅动,实现萃取液全方面充分受热,同时,刮板88对转动片74和蒸发罐4内壁进行刮拭,便于营养成分位于蒸发罐底部,便于溶剂完全蒸发后将萃取物放出,萃取液充分受热使得溶剂蒸发,蒸发气体沿出气管92流动,通过冷凝管93内的冷水对溶剂蒸汽进行冷凝,则溶剂从出气管92流入球囊941,此时封堵球944在重力作用下与通孔942分离,溶剂气液混合物能够流入储液箱91内,储液箱91底部放置冷的溶剂,则气液混合物进入冷的溶剂后,气态溶剂再次被冷却成液体,达到充分冷凝的目的,蒸馏结束后,加热盘3停止加热,此时蒸发罐4内温度降低,产生负压,封堵球944在负压作用下将通孔942封堵,避免溶剂倒吸。During use, the extraction liquid is put into the
尽管已经示出和描述了本发明的实施例,对于本领域的普通技术人员而言,可以理解在不脱离本发明的原理和精神的情况下可以对这些实施例进行多种变化、修改、替换和变型,本发明的范围由所附权利要求及其等同物限定。Although embodiments of the present invention have been shown and described, it will be understood by those skilled in the art that various changes, modifications, and substitutions can be made in these embodiments without departing from the principle and spirit of the invention and modifications, the scope of the present invention is defined by the appended claims and their equivalents.
| Application Number | Priority Date | Filing Date | Title |
|---|---|---|---|
| CN202210133737.5ACN114392572A (en) | 2022-02-10 | 2022-02-10 | A solvent separation device for plant extraction mixture |
| Application Number | Priority Date | Filing Date | Title |
|---|---|---|---|
| CN202210133737.5ACN114392572A (en) | 2022-02-10 | 2022-02-10 | A solvent separation device for plant extraction mixture |
| Publication Number | Publication Date |
|---|---|
| CN114392572Atrue CN114392572A (en) | 2022-04-26 |
| Application Number | Title | Priority Date | Filing Date |
|---|---|---|---|
| CN202210133737.5APendingCN114392572A (en) | 2022-02-10 | 2022-02-10 | A solvent separation device for plant extraction mixture |
| Country | Link |
|---|---|
| CN (1) | CN114392572A (en) |
| Publication number | Priority date | Publication date | Assignee | Title |
|---|---|---|---|---|
| CN115121533A (en)* | 2022-07-29 | 2022-09-30 | 重庆恒伟林汽车零部件有限公司 | Cleaning device for aluminum parts of automobile chassis |
| CN115445237A (en)* | 2022-09-29 | 2022-12-09 | 赖展恩 | A kind of plant extraction method |
| CN115746958A (en)* | 2022-11-21 | 2023-03-07 | 广东顺大食品调料有限公司 | Natural tea extract fragrance base ultrasonic-assisted low-temperature continuous countercurrent extraction process |
| CN116061332A (en)* | 2023-03-07 | 2023-05-05 | 天津精华石化有限公司 | Mixing equipment for processing based on polyacrylic resin |
| Publication number | Priority date | Publication date | Assignee | Title |
|---|---|---|---|---|
| CN115121533A (en)* | 2022-07-29 | 2022-09-30 | 重庆恒伟林汽车零部件有限公司 | Cleaning device for aluminum parts of automobile chassis |
| CN115445237A (en)* | 2022-09-29 | 2022-12-09 | 赖展恩 | A kind of plant extraction method |
| CN115746958A (en)* | 2022-11-21 | 2023-03-07 | 广东顺大食品调料有限公司 | Natural tea extract fragrance base ultrasonic-assisted low-temperature continuous countercurrent extraction process |
| CN115746958B (en)* | 2022-11-21 | 2024-05-10 | 广东顺大食品调料有限公司 | Ultrasonic-assisted low-temperature continuous countercurrent extraction process for natural tea aroma extraction base |
| CN116061332A (en)* | 2023-03-07 | 2023-05-05 | 天津精华石化有限公司 | Mixing equipment for processing based on polyacrylic resin |
| Publication | Publication Date | Title |
|---|---|---|
| CN114392572A (en) | A solvent separation device for plant extraction mixture | |
| CN106063998B (en) | MVR systems are rotated in a kind of single tank | |
| CN109529387B (en) | A rotating multi-plate scraper disk thin film evaporator and its working method | |
| CN112707458A (en) | Forced circulation mechanical vapor compression equipment | |
| CN209485124U (en) | A kind of oil-poor cooling system | |
| CN118987640A (en) | Energy-saving environment-friendly type efficient steam-converted evaporator | |
| CN115228421A (en) | Preparation process of ultra-wide artificial graphite high-conductivity film material | |
| CN220182844U (en) | A kind of heavy metal wastewater treatment equipment | |
| CN101693148A (en) | Novel vacuum concentrator | |
| CN102240459B (en) | Solution concentrator unit | |
| CN116255804A (en) | Vertical vacuum drying mixer | |
| CN212954385U (en) | High negative pressure waste liquid evaporation concentration equipment | |
| CN209279704U (en) | A kind of device for recycling condensed water | |
| CN211608178U (en) | Fungus mushroom drying device | |
| CN222304760U (en) | Anti-caking L-carnitine production concentration tank | |
| CN221412264U (en) | Vegetable oil extraction device | |
| CN222368379U (en) | A negative pressure evaporation distillation device | |
| CN208205664U (en) | A kind of energy-saving low-temperature negative pressure drying machine | |
| CN111692855A (en) | Tea roller vacuum withering machine and vacuum withering method | |
| CN216703349U (en) | A high-pressure infusion separation solvent device | |
| CN222641929U (en) | Photosensitive wet film raw material mixing device | |
| CN214130305U (en) | A uniformly heated evaporator | |
| CN211999444U (en) | A rotary drying device for sludge treatment | |
| CN222013541U (en) | Bromoacetic acid negative pressure rectification sampling device | |
| CN219307931U (en) | A drying device for fermented liquid |
| Date | Code | Title | Description |
|---|---|---|---|
| PB01 | Publication | ||
| PB01 | Publication | ||
| WD01 | Invention patent application deemed withdrawn after publication | Application publication date:20220426 |