











技术领域technical field
本申请涉及半导体制造技术领域,具体涉及一种裂缝停止结构。The present application relates to the technical field of semiconductor manufacturing, and in particular, to a crack stop structure.
背景技术Background technique
随着半导体器件设计的复杂化和精细化,设计中互连线的使用持续增加另外,为了减少BEOL产生的电容,使用low-k时,IMD的机械特性被弱化,在分离芯片的切割(sawing)阶段经常发生削片破裂等情况,造成产品损伤。互连线的尺寸被设计的越来越小,为了实现芯片的各种进阶功能,互连线密度也被设置的越来越大。为改善由于金属导线间距变窄所导致的RC延迟,现在越来越多地使用物理强度低、介电系数小的Low-k物质。在从晶圆中切割分离出各个芯片时,由于变弱的膜质产生的破裂和破损等情况导致的芯片损伤的情况越来越多。With the complexity and refinement of the design of semiconductor devices, the use of interconnect lines in the design continues to increase. In addition, in order to reduce the capacitance generated by the BEOL, when using low-k, the mechanical properties of the IMD are weakened, and the cutting of the separated chips (sawing ) stage often occurs chip breakage, etc., resulting in product damage. The size of the interconnect lines is designed to be smaller and smaller, and in order to realize various advanced functions of the chip, the interconnect line density is also set to be larger and larger. In order to improve the RC delay caused by the narrowing of the metal wire spacing, low-k materials with low physical strength and low dielectric coefficient are increasingly used. When dicing and separating each chip from a wafer, chip damage due to cracking and breakage due to weakened film quality is increasing.
发明内容SUMMARY OF THE INVENTION
本申请的目的是提供一种裂缝停止结构。为了对披露的实施例的一些方面有一个基本的理解,下面给出了简单的概括。该概括部分不是泛泛评述,也不是要确定关键/重要组成元素或描绘这些实施例的保护范围。其唯一目的是用简单的形式呈现一些概念,以此作为后面的详细说明的序言。An object of the present application is to provide a crack stop structure. In order to provide a basic understanding of some aspects of the disclosed embodiments, a brief summary is given below. This summary is not intended to be an extensive review, nor is it intended to identify key/critical elements or delineate the scope of protection of these embodiments. Its sole purpose is to present some concepts in a simplified form as a prelude to the detailed description that follows.
根据本申请实施例的一个方面,提供一种裂缝停止结构,包括:According to an aspect of the embodiments of the present application, a crack stop structure is provided, including:
第一裂缝停止线,包括相对设置的相对设置的第一阻塞线组和第二阻塞线组;a first crack stop line, comprising a first block line group and a second block line group that are oppositely disposed;
其中,所述第一阻塞线组和所述第二阻塞线组均包括多个阻塞线;每个所述阻塞线在竖直方向上包括至少一个互连线;在同一水平面的所述第一阻塞线组的互连线与所述第二阻塞线组的互连线交错设置,以在所述第一阻塞线组的互连线与所述第二阻塞线组的互连线之间形成从所述第一裂缝停止线的一侧延伸到另一侧的弯曲通道。Wherein, the first blocking wire group and the second blocking wire group each include a plurality of blocking wires; each of the blocking wires includes at least one interconnecting wire in the vertical direction; the first blocking wires on the same horizontal plane The interconnecting lines of the blocking line group are arranged in a staggered manner with the interconnecting lines of the second blocking line group to form between the interconnecting lines of the first blocking line group and the interconnecting lines of the second blocking line group A curved channel extending from one side of the first crack stop line to the other.
本申请实施例的其中一个方面提供的技术方案可以包括以下有益效果:The technical solution provided by one aspect of the embodiments of the present application may include the following beneficial effects:
本申请实施例提供的裂缝停止结构,第一裂缝停止线包括相对设置的第一阻塞线组和第二阻塞线组,第一阻塞线组的阻塞线与第二阻塞线组的阻塞线交错设置,能够有效阻止裂缝延伸前进,减少削片破裂等情况的发生。In the crack stop structure provided by the embodiment of the present application, the first crack stop line includes a first block line group and a second block line group that are oppositely arranged, and the block lines of the first block line group and the block lines of the second block line group are arranged alternately , which can effectively prevent the crack from extending and advancing, and reduce the occurrence of chipping and other situations.
本申请的其他特征和优点将在随后的说明书中阐述,并且,部分地从说明书中变得显而易见,或者,部分特征和优点可以从说明书中推知或毫无疑义地确定,或者通过实施本申请实施例了解。本申请的目的和其他优点可通过在所写的说明书、权利要求书、以及附图中所特别指出的结构来实现和获得。Other features and advantages of the present application will be set forth in the description that follows, and, in part, will become apparent from the description, or may be inferred or unambiguously determined from the description, or may be implemented by practice of the present application. example to understand. The objectives and other advantages of the application may be realized and attained by the structure particularly pointed out in the written description, claims, and drawings.
附图说明Description of drawings
为了更清楚地说明本申请实施例或现有技术中的技术方案,下面将对实施例或现有技术描述中所需要使用的附图作简单地介绍,显而易见地,下面描述中的附图仅仅是本申请中记载的一些实施例,对于本领域普通技术人员来讲,在不付出创造性劳动的前提下,还可以根据这些附图获得其他的附图。In order to more clearly illustrate the embodiments of the present application or the technical solutions in the prior art, the following briefly introduces the accompanying drawings that are used in the description of the embodiments or the prior art. Obviously, the drawings in the following description are only These are some embodiments described in this application. For those of ordinary skill in the art, other drawings can also be obtained based on these drawings without any creative effort.
图1示出了本申请实施例1的裂缝停止结构的结构示意图;Fig. 1 shows the structural schematic diagram of the crack stop structure of Example 1 of the present application;
图2示出了对应于图1的另一视角的结构示意图;FIG. 2 shows a schematic structural diagram corresponding to another perspective of FIG. 1;
图3示出了实施例1中的互连线的立体形状;FIG. 3 shows the three-dimensional shape of the interconnection line in
图4示出了本申请实施例2的裂缝停止结构的结构示意图;Fig. 4 shows the structural schematic diagram of the crack stop structure of Example 2 of the present application;
图5示出了对应于图4的另一视角的结构示意图;FIG. 5 shows a schematic structural diagram corresponding to another viewing angle of FIG. 4;
图6示出了去掉图5中的两个第三互连线之后的结构示意图;FIG. 6 shows a schematic structural diagram after removing the two third interconnecting lines in FIG. 5;
图7示出了本申请实施例3的裂缝停止结构的结构示意图;Fig. 7 shows the structural schematic diagram of the crack stop structure of Example 3 of the present application;
图8示出了对应于图7的另一视角的结构示意图;FIG. 8 shows a schematic structural diagram corresponding to another perspective of FIG. 7;
图9示出了本申请实施例4的裂缝停止结构的结构示意图;Fig. 9 shows the structural schematic diagram of the crack stop structure of Example 4 of the present application;
图10示出了对应于图9的另一视角的结构示意图;FIG. 10 shows a schematic structural diagram corresponding to another viewing angle of FIG. 9;
图11示出了本申请实施例5的裂缝停止结构的结构示意图;FIG. 11 shows a schematic structural diagram of the crack stop structure of Example 5 of the present application;
图12示出了本申请实施例的裂缝停止结构阻止裂缝延伸的原理示意图。FIG. 12 is a schematic diagram showing the principle of the crack stop structure preventing crack extension according to an embodiment of the present application.
具体实施方式Detailed ways
以下,将参照附图来描述本公开的实施例。但是应该理解,这些描述只是示例性的,而并非要限制本公开的范围。此外,在以下说明中,省略了对公知结构和技术的描述,以避免不必要地混淆本公开的概念。Hereinafter, embodiments of the present disclosure will be described with reference to the accompanying drawings. It should be understood, however, that these descriptions are exemplary only, and are not intended to limit the scope of the present disclosure. Also, in the following description, descriptions of well-known structures and techniques are omitted to avoid unnecessarily obscuring the concepts of the present disclosure.
在附图中示出了根据本公开实施例的各种结构示意图。这些图并非是按比例绘制的,其中为了清楚表达的目的,放大了某些细节,并且可能省略了某些细节。图中所示出的各种区域、层的形状以及它们之间的相对大小、位置关系仅是示例性的,实际中可能由于制造公差或技术限制而有所偏差,并且本领域技术人员根据实际所需可以另外设计具有不同形状、大小、相对位置的区域/层。Various structural schematic diagrams according to embodiments of the present disclosure are shown in the accompanying drawings. The figures are not to scale, some details have been exaggerated for clarity, and some details may have been omitted. The shapes of the various regions and layers shown in the figures, as well as their relative sizes and positional relationships are only exemplary, and may vary in practice due to manufacturing tolerances or technical limitations, and those skilled in the art will Regions/layers with different shapes, sizes, relative positions can be additionally designed as desired.
在本公开的上下文中,当将一层/元件称作位于另一层/元件“上”时,该层/元件可以直接位于该另一层/元件上,或者它们之间可以存在居中层/元件。另外,如果在一种朝向中一层/元件位于另一层/元件“上”,那么当调转朝向时,该层/元件可以位于该另一层/元件“下”。In the context of this disclosure, when a layer/element is referred to as being "on" another layer/element, it can be directly on the other layer/element or intervening layers/elements may be present therebetween. element. In addition, if a layer/element is "on" another layer/element in one orientation, then when the orientation is reversed, the layer/element can be "under" the other layer/element.
实施例1Example 1
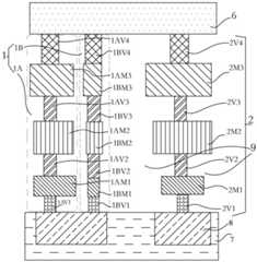
如图1和图2所示,本实施例提供了一种裂缝停止结构,包括第一裂缝停止线1、第二裂缝停止线2和顶层互连线6。As shown in FIG. 1 and FIG. 2 , the present embodiment provides a crack stop structure including a first
第一裂缝停止线1与第二裂缝停止线2的顶部均连接到同一顶层互连线6底面上。The tops of the first
第一裂缝停止线1位于切割线通道(Scribe lane)区域一侧。第二裂缝停止线2位于第一裂缝停止线1的远离切割线通道区域的一侧。The first
第一裂缝停止线1包括相对设置的两个阻塞线组,分别为第一阻塞线组和第二阻塞线组。每个阻塞线组均包括若干形状、结构完全相同的阻塞线。The first
第一阻塞线组包括若干第一阻塞线1A,第二阻塞线组包括若干第二阻塞线1B。第一阻塞线组的第一阻塞线1A和第二阻塞线组的第二阻塞线1B交错设置。第一阻塞线1A与第二阻塞线1B的结构和形状完全相同。The first blocking wire group includes several
每一阻塞线包括交叉层叠设置的四个金属插塞和三个互连线,每相邻两金属插塞之间夹有一互连线,相邻两互连线之间通过一金属插塞相连接。Each blocking line includes four metal plugs and three interconnecting lines arranged in a cross-laminated arrangement, an interconnecting line is sandwiched between each two adjacent metal plugs, and a metal plug is connected between the two adjacent interconnecting lines. connect.
第一阻塞线1A包括由下而上依次层叠设置的第一金属插塞1AV1、第一互连线1AM1、第二金属插塞1AV2、第二互连线1AM2、第三金属插塞1AV3、第三互连线1AM3和第四金属插塞1AV4。The
第二阻塞线1B与第一阻塞线1A的结构相同,包括由下而上依次层叠设置的第一金属插塞1BV1、第一互连线1BM1、第二金属插塞1BV2、第二互连线1BM2、第三金属插塞1BV3、第三互连线1BM3和第四金属插塞1BV4。The
第一金属插塞1AV1和第一金属插塞1BV1分别与半导体基底层7上的有源区8相连接。沿着图2中的A-A’得到的剖视结构如图1所示。The first metal plugs 1AV1 and 1BV1 are respectively connected to the
阻塞线的每一互连线均为对称结构,每一互连线均具有一垂直于顶层互连线6底面的对称平面,对称平面能够将互连线分为互相对称的两部分。在本实施例中,阻塞线的三个互连线的对称平面为同一平面。Each interconnection line of the blocking line has a symmetrical structure, each interconnection line has a symmetry plane perpendicular to the bottom surface of the
互连线的顶视形状为如图2所示的形状,为“[”或“]”的形状。互连线的立体形状如图3所示。每一互连线包括一体成型的背板1-1和两个侧板1-2。两个侧板1-2分别位于背板1-1的两侧且侧板1-2与背板1-1互相垂直,背板1-1和两个侧板1-2即围成一个凹槽1-3。互连线为对称结构,具有一对称平面α,对称平面α将互连线分为镜面对称的两部分。The top view shape of the interconnection line is the shape shown in FIG. 2 , which is the shape of “[” or “]”. The three-dimensional shape of the interconnection line is shown in FIG. 3 . Each interconnection line includes an integrally formed back plate 1-1 and two side plates 1-2. The two side panels 1-2 are respectively located on both sides of the back panel 1-1, and the side panels 1-2 and the back panel 1-1 are perpendicular to each other. The back panel 1-1 and the two side panels 1-2 form a concave shape. Slots 1-3. The interconnection line is a symmetrical structure, and has a symmetry plane α, and the symmetry plane α divides the interconnection line into two mirror-symmetrical parts.
第二裂缝停止线2包括交叉层叠设置的四个金属插塞和三个互连线,每相邻两金属插塞之间夹有一互连线,每个互连线均为长方体形状。第二裂缝停止线2包括由下而上依次层叠设置的第一金属插塞2V1、第一互连线2M1、第二金属插塞2V2、第二互连线2M2、第三金属插塞2V3、第三互连线2M3和第四金属插塞2V4。第二裂缝停止线2的第一金属插塞2V1与半导体基底层7上的另一有源区8相连接。如图1所示,顶层互连线6与半导体基底层7之间填充有金属间介质层(IMD)9。第一裂缝停止线1和第二裂缝停止线2被金属间介质层(IMD)9所包裹。The second
在本实施例中,所有第一阻塞线1A和所有第二阻塞线1B交错设置,相邻两个第三互连线1AM3侧板伸入同一第三互连线1BM3的凹槽内,同时,相邻两个第三互连线1BM3侧板伸入同一第三互连线1AM3的凹槽内。In this embodiment, all the
第二裂缝停止线2包括交叉层叠设置的四个金属插塞和三个互连线,其三个互连线均为长方体形状。The second
如图12所示,半导体基底层7上具有切割通道区4、保护圈3和电路区5,切割通道区4上产生裂缝C,裂缝C延伸前进,首先遇到第一裂缝停止线1,第一裂缝停止线1能够对裂缝形成第一道防线,阻止裂缝延伸,第一阻塞线组和第二阻塞线组交错设置,形成从第一裂缝停止线1一侧延伸到其另一侧的弯曲通道T,阻塞线起到阻止裂缝C前进的作用,如果裂缝C进入弯曲通道T,则极容易分化为更小的裂缝,从而第一裂缝停止线1起到阻止、分化裂缝C的作用;当第一裂缝停止线1不能阻止裂缝C前进时,第一阻塞线组和第二阻塞线组至少能够使裂缝C分化成更小的裂缝;如果裂缝C延伸穿过了第一阻塞线组的缝隙,则第二阻塞线组继续阻止裂缝C延伸前进,如果裂缝C又穿过了第二阻塞线组的缝隙,则第二裂缝停止线2作为第二道防线阻止裂缝C继续延伸。两道防线阻止裂缝C延伸,能够有效阻止裂缝延伸,减少削片破裂等情况的发生。As shown in FIG. 12 , the
实施例2Example 2
阻塞线的第一互连线和第三互连线的对称平面为同一垂直于顶层互连线6底面的平面,如图4-图6所示,与实施例1不同的是,第二互连线的对称平面与第一互连线的对称平面不是同一平面,第二互连线的对称平面与第一互连线的对称平面互相平行。相邻两个第三互连线1AM3侧板伸入同一第三互连线1BM3的凹槽内,同时,相邻两个第三互连线1BM3侧板伸入同一第三互连线1AM3的凹槽内。相邻两个第二互连线1AM2侧板伸入同一第三互连线1BM2的凹槽内,同时,相邻两个第三互连线1BM2侧板伸入同一第三互连线1AM2的凹槽内。沿着图5中的A-A’得到的剖视结构如图4所示。The symmetry plane of the first interconnection line and the third interconnection line of the blocking line is the same plane perpendicular to the bottom surface of the top
实施例3Example 3
如图7和图8所示,与实施例1不同的是,1AM2与1BM2均为长方体形状且1AM2与1BM2连接为一体,所有1AM2连接为一体,所有1BM2连接为一体,所有1AM2和所有1BM2连接为长方体形状的一体互连线整体层1M2。相邻两个第三互连线1AM3侧板伸入同一第三互连线1BM3的凹槽内,同时,相邻两个第三互连线1BM3侧板伸入同一第三互连线1AM3的凹槽内。沿着图8中的A-A’得到的剖视结构如图7所示。As shown in Figures 7 and 8, the difference from
实施例4Example 4
如图9和图10所示,在实施例2的基础上,与实施例2不同的是,第一裂缝停止线1与第二裂缝停止线2的顶部分别连接到顶层互连线6a和顶层互连线6b上。顶层互连线6a和顶层互连线6b互相之间不接触,顶层互连线6a的顶面、底面分别与顶层互连线6b的顶面、底面位于同一平面上。沿着图10中的A-A’得到的剖视结构如图9所示。如图9所示,在顶层互连线6a和顶层互连线6b下方、半导体基底层7上方的空间内填充有金属间介质层(IMD)9。第一裂缝停止线1和第二裂缝停止线2被金属间介质层(IMD)9所包裹。As shown in FIGS. 9 and 10 , on the basis of
实施例5Example 5
如图11所示,与实施例1提供的裂缝停止结构不同,本实施例提供的裂缝停止结构中,第一阻塞线1A包括一个互连线1AM和两个金属插塞1AV1和1AV2,第二阻塞线1B包括一个互连线1BM和两个金属插塞1BV1和1BV2,第二裂缝停止线2包括一个互连线2M和两个金属插塞2V1和2V2。As shown in FIG. 11 , different from the crack stop structure provided by
当发生由切割引起的裂缝时,裂缝机械性直行延伸,由第一阻塞线的互连线进行第1次阻挡,将额外的力量分散至比互连线脆弱的绝缘膜部分,接着在第二阻塞线中再次阻挡破裂延伸前进的力量。即使裂缝通过了这两道阻塞线,还有第二裂缝停止线可以使裂缝停止延伸。When a crack caused by dicing occurs, the crack extends mechanically straight, and the first blocking is performed by the interconnection line of the first blocking line, and the extra force is distributed to the part of the insulating film which is weaker than the interconnection line, and then the second blockage line is performed. The blocking line again blocks the force of the rupture extending forward. Even if the crack passes through these two blocking lines, there is a second crack stop line that stops the crack from extending.
另外,在其他的一些实施例中,互连线的宽度和互连线之间的空间为工艺允许的最小尺寸。弯折形态的互连线除最上层的互连线外,其他互连线可以均以相同形态存在于水平方向上的同一位置,以配线形态的金属插塞连接上下层。另外,第一阻塞线、第二阻塞线和第二裂缝停止线中的互连线和金属插塞的数目也可以是其他数目,不仅仅局限于上述实施例中的数目。In addition, in some other embodiments, the width of the interconnect lines and the space between the interconnect lines are the smallest dimensions allowed by the process. Except for the interconnection line of the uppermost layer, the interconnection lines of the bent form can all exist in the same position in the horizontal direction in the same form, and the upper and lower layers are connected by metal plugs in the form of wiring. In addition, the numbers of interconnecting lines and metal plugs in the first blocking line, the second blocking line, and the second crack-stopping line may also be other numbers, which are not limited to the numbers in the above embodiments.
本申请实施例提供的裂缝停止结构,包括两条裂缝停止线,从而对裂缝形成双重阻止;第一裂缝停止线包括相对设置的第一阻塞线组和第二阻塞线组,第一阻塞线组的阻塞线与第二阻塞线组的阻塞线交错设置,能够有效阻止裂缝延伸前进,减少削片破裂等情况的发生。The crack stop structure provided by the embodiment of the present application includes two crack stop lines, thereby forming a double stop for cracks; the first crack stop line includes a first block line group and a second block line group arranged oppositely, and the first block line group The blocking lines of the first block and the blocking lines of the second blocking line group are arranged staggered, which can effectively prevent the cracks from extending and advancing, and reduce the occurrence of chipping and other situations.
在以上的描述中,对于各层的构图、刻蚀等技术细节并没有做出详细的说明。但是本领域技术人员应当理解,可以通过各种技术手段,来形成所需形状的层、区域等。另外,为了形成同一结构,本领域技术人员还可以设计出与以上描述的方法并不完全相同的方法。另外,尽管在以上分别描述了各实施例,但是这并不意味着各个实施例中的措施不能有利地结合使用。本申请的技术方案并不只局限于这几个实施例,也不只局限于这几层金属线,可以在其他实施例中随意搭配和按照规律增加金属互连层。In the above description, technical details such as patterning and etching of each layer are not described in detail. However, those skilled in the art should understand that various technical means can be used to form layers, regions, etc. of desired shapes. In addition, in order to form the same structure, those skilled in the art can also design methods that are not exactly the same as those described above. Additionally, although the various embodiments are described above separately, this does not mean that the measures in the various embodiments cannot be used in combination to advantage. The technical solution of the present application is not limited to these several embodiments, nor is it limited to these several layers of metal wires. In other embodiments, metal interconnect layers can be arbitrarily matched and regularly added.
以上对本公开的实施例进行了描述。但是,这些实施例仅仅是为了说明的目的,而并非为了限制本公开的范围。本公开的范围由所附权利要求及其等价物限定。不脱离本公开的范围,本领域技术人员可以做出多种替代和修改,这些替代和修改都应落在本公开的范围之内。Embodiments of the present disclosure have been described above. However, these examples are for illustrative purposes only, and are not intended to limit the scope of the present disclosure. The scope of the present disclosure is defined by the appended claims and their equivalents. Without departing from the scope of the present disclosure, those skilled in the art can make various substitutions and modifications, and these substitutions and modifications should all fall within the scope of the present disclosure.
| Application Number | Priority Date | Filing Date | Title |
|---|---|---|---|
| CN202011140778.4ACN114388449A (en) | 2020-10-22 | 2020-10-22 | crack stop structure |
| Application Number | Priority Date | Filing Date | Title |
|---|---|---|---|
| CN202011140778.4ACN114388449A (en) | 2020-10-22 | 2020-10-22 | crack stop structure |
| Publication Number | Publication Date |
|---|---|
| CN114388449Atrue CN114388449A (en) | 2022-04-22 |
| Application Number | Title | Priority Date | Filing Date |
|---|---|---|---|
| CN202011140778.4APendingCN114388449A (en) | 2020-10-22 | 2020-10-22 | crack stop structure |
| Country | Link |
|---|---|
| CN (1) | CN114388449A (en) |
| Publication number | Priority date | Publication date | Assignee | Title |
|---|---|---|---|---|
| US6022791A (en)* | 1997-10-15 | 2000-02-08 | International Business Machines Corporation | Chip crack stop |
| US20090096104A1 (en)* | 2007-10-15 | 2009-04-16 | Samsung Electronics Co., Ltd. | Semiconductor device having crack stop structure |
| US20100193918A1 (en)* | 2009-02-04 | 2010-08-05 | West Jeffrey A | Embedded scribe lane crack arrest structure for improved ic package reliability of plastic flip chip devices |
| US20140264767A1 (en)* | 2013-03-14 | 2014-09-18 | Infineon Technologies Ag | Wafer, Integrated Circuit Chip and Method for Manufacturing an Integrated Circuit Chip |
| CN210224038U (en)* | 2019-08-28 | 2020-03-31 | 上海和辉光电有限公司 | Flexible display panel and display device |
| Publication number | Priority date | Publication date | Assignee | Title |
|---|---|---|---|---|
| US6022791A (en)* | 1997-10-15 | 2000-02-08 | International Business Machines Corporation | Chip crack stop |
| US20090096104A1 (en)* | 2007-10-15 | 2009-04-16 | Samsung Electronics Co., Ltd. | Semiconductor device having crack stop structure |
| US20100193918A1 (en)* | 2009-02-04 | 2010-08-05 | West Jeffrey A | Embedded scribe lane crack arrest structure for improved ic package reliability of plastic flip chip devices |
| US20140264767A1 (en)* | 2013-03-14 | 2014-09-18 | Infineon Technologies Ag | Wafer, Integrated Circuit Chip and Method for Manufacturing an Integrated Circuit Chip |
| CN210224038U (en)* | 2019-08-28 | 2020-03-31 | 上海和辉光电有限公司 | Flexible display panel and display device |
| Publication | Publication Date | Title |
|---|---|---|
| CN102446865B (en) | Crack arrest barrier layer and method of manufacturing the same | |
| CN110663292B (en) | Wiring substrate | |
| CN103140921A (en) | Probe card and method for manufacturing same | |
| CN111863783B (en) | Three-dimensional packaged semiconductor structure | |
| CN206806725U (en) | Semiconductor laser refrigeration structure, semiconductor laser and its folded battle array | |
| TWI314777B (en) | Reinforced interconnection structures, methods for forming the same, fuse structures and integrated circuit chips | |
| US9355960B2 (en) | Electromagnetic bandgap structure for three dimensional ICS | |
| US9041193B2 (en) | Semiconductor substrate including a cooling channel and method of forming a semiconductor substrate including a cooling channel | |
| KR20150088846A (en) | Stackable high-density metal-oxide-metal capacitor with minimum top plate parasitic capacitance | |
| US8536677B2 (en) | Capacitor structure | |
| CN114388449A (en) | crack stop structure | |
| KR102801216B1 (en) | Vertical memory device | |
| TWI877077B (en) | Semiconductor devices | |
| TWM573072U (en) | Semiconductor component wafer | |
| TWI497690B (en) | 3d stacking semiconductor device and manufacturing method thereof | |
| TW201336053A (en) | Semiconductor structure and manufacturing method of the same | |
| KR20110130111A (en) | Semiconductor integrated circuit | |
| US11056427B2 (en) | Chip package | |
| TWI487092B (en) | Semiconductor structure and manufacturing method of the same | |
| TWI484643B (en) | Capacitor structure | |
| KR100933687B1 (en) | Array contacts to prevent virtual contact formation | |
| CN104681559B (en) | Semiconductor structure and manufacturing method thereof | |
| CN105552079B (en) | Semiconductor device and method for manufacturing the same | |
| KR20240174174A (en) | Semiconductor devices having seal ring | |
| CN114284219A (en) | Semiconductor device with a plurality of transistors |
| Date | Code | Title | Description |
|---|---|---|---|
| PB01 | Publication | ||
| PB01 | Publication | ||
| SE01 | Entry into force of request for substantive examination | ||
| SE01 | Entry into force of request for substantive examination |