





技术领域technical field
本发明属于医疗器械领域,涉及一种用于血管钙化破碎治疗的微孔电极。The invention belongs to the field of medical devices, and relates to a microporous electrode used for the treatment of vascular calcification and fragmentation.
背景技术Background technique
血管钙化是指钙质物沉积在血管壁的一种病变,其会导致血管壁变硬,顺应性降低,也易于引发心肌缺血、左心室肥大、心力衰竭、血栓形成、斑块破裂等致死率与致残率较高的疾病。血管钙化经常贯穿于各种复杂的血管病变,且钙化病变往往伴随血管成角、扭曲病变。同时,钙化病变部位对血管扩张的反应较差。Vascular calcification refers to a disease in which calcium deposits on the blood vessel wall, which can lead to the hardening of the blood vessel wall and reduce its compliance. It is also prone to myocardial ischemia, left ventricular hypertrophy, heart failure, thrombosis, plaque rupture and other death diseases with high rates of disability and disability. Vascular calcification often runs through various complex vascular lesions, and calcified lesions are often accompanied by angulation and distortion of blood vessels. At the same time, calcified lesions were less responsive to vasodilation.
处理血管钙化病变的传统方法主要包括:非顺应性球囊、切割球囊、刻痕球囊、斑块旋磨术,准分子激光。这些方法通常只能适用于轻、中度的钙化病变,只能对浅层钙化进行处理,而对重度、深层钙化无能为力。甚至还存在引发冠状动脉夹层、冠状动脉穿孔、心动过缓及房室传导阻滞、冠状动脉痉挛、慢血流/无复流、远端栓塞现象等并发症的风险。可以看到,对于血管钙化,临床仍存在较大的痛点,有较多未被满足的需求。The traditional methods of treating vascular calcification lesions mainly include: non-compliant balloon, cutting balloon, scoring balloon, rotational atherectomy, and excimer laser. These methods are usually only applicable to mild and moderate calcified lesions, and can only deal with superficial calcifications, but cannot do anything for severe and deep calcifications. There is even a risk of complications such as coronary dissection, coronary perforation, bradycardia and atrioventricular block, coronary spasm, slow flow/no-reflow, and distal embolism. It can be seen that for vascular calcification, there are still major clinical pain points, and there are many unmet needs.
液相脉冲放电等离子体技术是一种利用在水中高压脉冲放电进而产生等离子体的技术。伴随着液相脉冲放电等离子体的生成,还会产生冲击波和声波等机械波。将液相放电装置放入血管中,利用液相脉冲放电产生的冲击波和声波破碎血管钙化层,不仅可实现血管钙化传统治疗方法的效果,同时冲击波及声波还可直达深层钙化区域进行钙化层破碎。同时,由于液相脉冲放电冲击波及声波与血管等人体组织为柔性接触,因此不会对正常器官组织造成损伤。Liquid phase pulse discharge plasma technology is a technology that uses high voltage pulse discharge in water to generate plasma. Along with the generation of liquid-phase pulse discharge plasma, mechanical waves such as shock waves and acoustic waves are also generated. The liquid phase discharge device is placed in the blood vessel, and the shock wave and sound wave generated by the liquid phase pulse discharge are used to break the vascular calcification layer, which can not only achieve the effect of the traditional treatment method of vascular calcification, but also can directly reach the deep calcification area to break the calcification layer. . At the same time, because the liquid-phase pulse discharge shock wave and sound wave are in flexible contact with human tissues such as blood vessels, they will not cause damage to normal organs and tissues.
现有的血管内钙化的血管内冲击波技术及装置的电极结构复杂,造价高昂,且难以制造。The electrodes of the existing intravascular shock wave technology and device for intravascular calcification are complex in structure, expensive to manufacture, and difficult to manufacture.
发明内容SUMMARY OF THE INVENTION
为了克服上述现有技术中存在的问题,本发明提出一种用于血管钙化破碎治疗的微孔电极,便于制造、成本低廉、使用寿命更久,且能够稳定放电。In order to overcome the above-mentioned problems in the prior art, the present invention proposes a microporous electrode for the treatment of vascular calcification and fragmentation, which is easy to manufacture, has a low cost, has a longer service life, and can discharge stably.
本发明解决上述问题的技术方案是:一种用于血管钙化破碎治疗的微孔电极,其特殊之处在于:The technical solution of the present invention to solve the above problems is: a microporous electrode for the treatment of vascular calcification and fragmentation, the special features of which are:
包括球囊,球囊内填充液体介质;所述球囊内贯穿有导管,导管内设有阴极导电丝和阳极导电丝,所述阳极导电丝的外表设有绝缘层;所述导管壁上设有第一通孔和第二通孔,第一通孔为阴极放电孔;绝缘层上设有第三通孔,第二通孔、第三通孔连通,共同构成阳极放电孔;所述阴极导电丝通过阴极放电孔与球囊内的液体介质连通;所述阳极导电丝通过阳极放电孔与球囊内的液体介质连通。Including a balloon, the balloon is filled with a liquid medium; a catheter runs through the balloon, and the catheter is provided with a cathode conductive wire and an anode conductive wire, and the outer surface of the anode conductive wire is provided with an insulating layer; the catheter wall is provided with There are a first through hole and a second through hole, the first through hole is a cathode discharge hole; a third through hole is arranged on the insulating layer, and the second through hole and the third through hole are connected to form an anode discharge hole; the cathode The conductive wire communicates with the liquid medium in the balloon through the cathode discharge hole; the anode conductive wire communicates with the liquid medium in the balloon through the anode discharge hole.
优选的,所述所述阴极导电丝和阳极导电丝在导管内平行设置。Preferably, the cathode conductive wire and the anode conductive wire are arranged in parallel in the conduit.
优选的,所述阴极放电孔、阳极放电孔相对设置。Preferably, the cathode discharge holes and the anode discharge holes are arranged opposite to each other.
优选的,所述阴极导电丝和阳极导电丝均为高熔点的金属导电丝。Preferably, both the cathode conductive wire and the anode conductive wire are metal conductive wires with high melting point.
优选的,所述阴极导电丝和阳极导电丝连接脉冲电源,阴极导电丝和阳极导电丝在脉冲电源驱动下,在球囊内的液体介质中放电产生机械波。Preferably, the cathode conductive wire and the anode conductive wire are connected to a pulse power supply, and the cathode conductive wire and the anode conductive wire are driven by the pulse power supply to discharge in the liquid medium in the balloon to generate mechanical waves.
本发明还提出另一种用于血管钙化破碎治疗的微孔电极,其特征在于:The present invention also proposes another microporous electrode for the treatment of vascular calcification and fragmentation, which is characterized in that:
包括球囊,球囊内填充液体介质;所述球囊内贯穿导管,导管内设有阳极导电丝,所述阳极导电丝的外表设有绝缘层;绝缘层外表设有金属涂层,所述金属涂层为放电阴极。还包括第一放电微孔和第二放电微孔;第一放电微孔和第二放电微孔均是穿过导管、金属涂层和绝缘层;所述阳极导电丝通过阳极放电孔与球囊内的液体介质连通。It includes a balloon, which is filled with a liquid medium; the balloon runs through a catheter, and the catheter is provided with an anode conductive wire, and the outer surface of the anode conductive wire is provided with an insulating layer; the outer surface of the insulating layer is provided with a metal coating, and the The metal coating is the discharge cathode. It also includes a first discharge micro-hole and a second discharge micro-hole; the first discharge micro-hole and the second discharge micro-hole pass through the conduit, the metal coating and the insulating layer; the anode conductive wire passes through the anode discharge hole and the balloon The liquid medium within is communicated.
优选的,所述第一放电微孔和第二放电微孔相对设置。Preferably, the first discharge micro-holes and the second discharge micro-holes are disposed opposite to each other.
优选的,所述阳极导电丝为高熔点的金属导电丝。Preferably, the anode conductive wire is a high melting point metal conductive wire.
优选的,所述放电阴极和阳极导电丝连接脉冲电源,放电阴极和阳极导电丝在脉冲电源驱动下,可在球囊内的液体介质中放电产生机械波。Preferably, the discharge cathode and the anode conductive wire are connected to a pulsed power supply, and the discharge cathode and the anode conductive wire can be discharged in the liquid medium in the balloon to generate mechanical waves when driven by the pulsed power supply.
优选的,所述导管、金属涂层、绝缘层和阳极导电丝同轴设置。Preferably, the conduit, the metal coating, the insulating layer and the anode conductive wire are arranged coaxially.
本发明的优点:Advantages of the present invention:
(1)本发明提出的微孔电极结构简单,制造成本低廉,放电稳定。(1) The microporous electrode proposed by the present invention has a simple structure, low manufacturing cost and stable discharge.
(2)本发明提出的微孔电极使用寿命更长,降低使用成本。(2) The microporous electrode proposed by the present invention has a longer service life and reduces the use cost.
(3)本发明提出的微孔电极电能转化效率高,可以更高的能量效率产生机械波以用于血管钙化治疗。(3) The microporous electrode proposed in the present invention has high electric energy conversion efficiency, and can generate mechanical waves with higher energy efficiency for the treatment of vascular calcification.
附图说明Description of drawings
图1为平行式微孔电极剖面结构图;1 is a cross-sectional structural diagram of a parallel microporous electrode;
图2为平行式微孔电极效果图;Figure 2 is an effect diagram of a parallel microporous electrode;
图3为平行式微孔电极容纳在球囊中的效果图;Fig. 3 is the effect diagram of the parallel microporous electrode accommodated in the balloon;
图4为平行式微孔电极剖面结构图;4 is a cross-sectional structural diagram of a parallel microporous electrode;
图5为平行式微孔电极效果图;Figure 5 is an effect diagram of a parallel microporous electrode;
图6为平行式微孔电极容纳在球囊中的效果图。FIG. 6 is an effect diagram of the parallel microporous electrode accommodated in the balloon.
其中:1-球囊,2-导管,3-阴极导电丝,4-阳极导电丝,5-绝缘层,6-第一通孔,7-第二通孔,8-第三通孔,9-金属涂层,10-第一放电微孔,11-第二放电微孔。Among them: 1-balloon, 2-catheter, 3-cathode conductive wire, 4-anode conductive wire, 5-insulation layer, 6-first through hole, 7-second through-hole, 8-third through-hole, 9 - metal coating, 10-first discharge micropores, 11-second discharge micropores.
具体实施方式Detailed ways
为使本发明实施方式的目的、技术方案和优点更加清楚,下面将结合本发明实施方式中的附图,对本发明实施方式中的技术方案进行清楚、完整地描述,显然,所描述的实施方式是本发明一部分实施方式,而不是全部的实施方式。基于本发明中的实施方式,本领域普通技术人员在没有做出创造性劳动前提下所获得的所有其他实施方式,都属于本发明保护的范围。因此,以下对在附图中提供的本发明的实施方式的详细描述并非旨在限制要求保护的本发明的范围,而是仅仅表示本发明的选定实施方式。In order to make the purposes, technical solutions and advantages of the embodiments of the present invention clearer, the technical solutions in the embodiments of the present invention will be clearly and completely described below with reference to the accompanying drawings in the embodiments of the present invention. Obviously, the described embodiments These are some embodiments of the present invention, but not all of them. Based on the embodiments of the present invention, all other embodiments obtained by persons of ordinary skill in the art without creative efforts shall fall within the protection scope of the present invention. Accordingly, the following detailed description of the embodiments of the invention provided in the accompanying drawings is not intended to limit the scope of the invention as claimed, but is merely representative of selected embodiments of the invention.
针对血管钙化治疗需求,本发明提出一种利用液相脉冲放电等离子体技术破碎血管钙化层的微孔电极。Aiming at the demand for vascular calcification treatment, the present invention proposes a microporous electrode that utilizes the liquid-phase pulse discharge plasma technology to break the vascular calcification layer.
本发明提出的用于血管钙化破碎治疗的微孔电极包括两种结构,分别平行式和同轴式。The microporous electrode for the treatment of vascular calcification and fragmentation proposed by the present invention includes two types of structures, namely, the parallel type and the coaxial type.
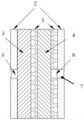
一种用于血管钙化破碎治疗的微孔电极,参见图1至图3,此为平行式微孔电极,包括球囊1,球囊1内填充液体介质;所述球囊1内贯穿有导管2,导管2内设有阴极导电丝3和阳极导电丝4,所述阳极导电丝4的外表包裹有绝缘层5。所述阴极导电丝3和阳极导电丝4在导管2内平行设置。A microporous electrode used for the treatment of vascular calcification and fragmentation, see Figures 1 to 3, this is a parallel microporous electrode, including a
所述导管2壁上设有第一通孔6和第二通孔7,第一通孔6为阴极放电孔;绝缘层5上设有第三通孔8,第二通孔7、第三通孔8连通,共同构成阳极放电孔;所述阴极导电丝3通过阴极放电孔与球囊1内的液体介质连通;所述阳极导电丝4通过阳极放电孔与球囊1内的液体介质连通。The wall of the
所述阴极导电丝3和阳极导电丝4连接脉冲电源,阴极导电丝3和阳极导电丝4在脉冲电源驱动下,在球囊1内的液体介质中放电产生机械波,包括冲击波和声波。机械波经由球囊传导至钙化层。The cathodic
作为本发明的一个优选实施例,所述阴极放电孔、阳极放电孔相对设置。As a preferred embodiment of the present invention, the cathode discharge holes and the anode discharge holes are arranged opposite to each other.
作为本发明的一个优选实施例,所述阴极导电丝3和阳极导电丝4均为高熔点的金属导电丝。As a preferred embodiment of the present invention, the cathode
实施例1Example 1
参见图1至图3,一种用于血管钙化破碎治疗的微孔电极,包括球囊1,所述球囊1内贯穿有导管2,球囊1内部充满液体介质。导管2内设有阴极导电丝3和阳极导电丝4,所述阳极导电丝4的外表包裹有绝缘层5。所述阴极导电丝3和阳极导电丝4均为高熔点的金属导电丝,且二者在导管2内平行设置。Referring to FIGS. 1 to 3 , a microporous electrode for the treatment of vascular calcification and fragmentation includes a
所述导管2壁上设有第一通孔6和第二通孔7,第一通孔6为阴极放电孔;绝缘层5上设有第三通孔8,第二通孔7、第三通孔8连通,共同构成阳极放电孔;所述阴极导电丝3通过阴极放电孔与球囊1内的液体介质连通;所述阳极导电丝4通过阳极放电孔与球囊1内的液体介质连通。所述阴极放电孔、阳极放电孔相对设置。The wall of the
所述阴极导电丝3和阳极导电丝4连接脉冲电源,阴极导电丝3和阳极导电丝4在脉冲电源驱动下,在球囊1内的液体介质中放电产生机械波,包括冲击波和声波。机械波经由球囊传导至钙化层。The cathodic
另一种用于血管钙化破碎治疗的微孔电极,参见图4至图6,此为同轴式微孔电极,包括球囊1,球囊1内填充液体介质;所述球囊1内贯穿导管2,导管2内设有阳极导电丝4,所述阳极导电丝4的外表设有绝缘层5;绝缘层5外表设有金属涂层9,所述金属涂层9为放电阴极。还包括第一放电微孔10和第二放电微孔11。第一放电微孔10和第二放电微孔11均是穿过导管2、金属涂层9和绝缘层5;所述阳极导电丝4通过阳极放电孔与球囊1内的液体介质连通。所述导管2、金属涂层9、绝缘层5和阳极导电丝4同轴设置。Another microporous electrode used for vascular calcification and fragmentation treatment, see Figure 4 to Figure 6, this is a coaxial microporous electrode, including a
作为本发明的一个优选实施例,所述第一放电微孔10和第二放电微孔11相对设置。As a preferred embodiment of the present invention, the
作为本发明的一个优选实施例,所述阳极导电丝4为高熔点的金属导电丝。As a preferred embodiment of the present invention, the anode
作为本发明的一个优选实施例,所述放电阴极和阳极导电丝4连接脉冲电源,放电阴极和阳极导电丝4在脉冲电源驱动下,可在球囊1内的液体介质中放电产生机械波。As a preferred embodiment of the present invention, the discharge cathode and anode
实施例2Example 2
参见图4至图6,一种用于血管钙化破碎治疗的微孔电极,包括球囊1,球囊1内填充满液体介质;所述球囊1内贯穿有一根导管2,导管2内从内到外依次设有:阳极导电丝4、绝缘层5、金属涂层9。所述金属涂层9为放电阴极。所述第一放电微孔10和第二放电微孔11相对设置,且二者均是穿过导管2、金属涂层9和绝缘层5;所述阳极导电丝4通过阳极放电孔与球囊1内的液体介质连通。所述导管2、金属涂层9、绝缘层5和阳极导电丝4同轴设置。所述阳极导电丝4为高熔点的金属导电丝。Referring to FIG. 4 to FIG. 6 , a microporous electrode for vascular calcification and fragmentation treatment includes a
所述放电阴极和阳极导电丝4连接常见脉冲电源,放电阴极和阳极导电丝4在脉冲电源驱动下,可在球囊1内的液体介质中放电产生机械波。The discharge cathode and the anode
本发明提出的微孔电极可利用液相脉冲放电等离子体在血管内产生冲击波和声波等机械波。该微孔电极被安装在球囊内。球囊内部充满所需溶液介质,球囊内部充满压力,液相脉冲放电等离子体产生的机械波经由球囊向血管钙化层传导。由于冲击波和声波传播的特性,液相脉冲放电所产生冲击波可传导至血管钙化浅层、中层和深层,进而对全部血管钙化进行破碎治疗。The microporous electrode proposed by the present invention can generate mechanical waves such as shock waves and sound waves in the blood vessel by using liquid-phase pulse discharge plasma. The microporous electrode is mounted inside the balloon. The inside of the balloon is filled with the required solution medium, the inside of the balloon is filled with pressure, and the mechanical wave generated by the liquid-phase pulse discharge plasma is conducted to the vascular calcification layer through the balloon. Due to the characteristics of shock wave and sound wave propagation, the shock wave generated by the liquid-phase pulse discharge can be conducted to the superficial, middle and deep layers of vascular calcification, and then the whole vascular calcification can be broken and treated.
以上所述仅为本发明的实施例,并非以此限制本发明的保护范围,凡是利用本发明说明书及附图内容所作的等效结构或等效流程变换,或直接或间接运用在其他相关的系统领域,均同理包括在本发明的保护范围内。The above descriptions are only the embodiments of the present invention, and are not intended to limit the protection scope of the present invention. Any equivalent structure or equivalent process transformation made by using the contents of the description and drawings of the present invention, or directly or indirectly applied to other related The system field is similarly included in the protection scope of the present invention.
| Application Number | Priority Date | Filing Date | Title |
|---|---|---|---|
| CN202111500131.2ACN114305652A (en) | 2021-12-09 | 2021-12-09 | A microporous electrode for the treatment of vascular calcification and fragmentation |
| PCT/CN2022/137651WO2023104164A1 (en) | 2021-12-09 | 2022-12-08 | Microporous electrode for disruption treatment of vascular calcification |
| Application Number | Priority Date | Filing Date | Title |
|---|---|---|---|
| CN202111500131.2ACN114305652A (en) | 2021-12-09 | 2021-12-09 | A microporous electrode for the treatment of vascular calcification and fragmentation |
| Publication Number | Publication Date |
|---|---|
| CN114305652Atrue CN114305652A (en) | 2022-04-12 |
| Application Number | Title | Priority Date | Filing Date |
|---|---|---|---|
| CN202111500131.2APendingCN114305652A (en) | 2021-12-09 | 2021-12-09 | A microporous electrode for the treatment of vascular calcification and fragmentation |
| Country | Link |
|---|---|
| CN (1) | CN114305652A (en) |
| WO (1) | WO2023104164A1 (en) |
| Publication number | Priority date | Publication date | Assignee | Title |
|---|---|---|---|---|
| WO2023104164A1 (en)* | 2021-12-09 | 2023-06-15 | 深圳先进技术研究院 | Microporous electrode for disruption treatment of vascular calcification |
| Publication number | Priority date | Publication date | Assignee | Title |
|---|---|---|---|---|
| JPH06125915A (en)* | 1992-10-21 | 1994-05-10 | Inter Noba Kk | Catheter type medical instrument |
| CN108452426A (en)* | 2018-03-16 | 2018-08-28 | 上海心至医疗科技有限公司 | A kind of foley's tube based on electrohydraulic effect |
| US20200129196A1 (en)* | 2018-10-25 | 2020-04-30 | Medtronic Vascular, Inc. | Cavitation catheter |
| CN111388086A (en)* | 2020-06-08 | 2020-07-10 | 上海微创医疗器械(集团)有限公司 | Electrode balloon catheter |
| CN111601560A (en)* | 2017-11-17 | 2020-08-28 | 冲击波医疗公司 | Low profile electrode for a shock waveguide |
| US20210085347A1 (en)* | 2019-09-24 | 2021-03-25 | Shockwave Medical, Inc. | Lesion crossing shock wave catheter |
| CN112971914A (en)* | 2021-02-09 | 2021-06-18 | 哈尔滨医科大学 | Intravascular perfusion shock wave lithotripsy catheter system |
| CN113317845A (en)* | 2021-03-23 | 2021-08-31 | 上海百心安生物技术股份有限公司 | Pulse balloon with grounding treatment on inner wall and application thereof |
| CN214966283U (en)* | 2020-12-16 | 2021-12-03 | 深圳市赛禾医疗技术有限公司 | Pressure wave sacculus pipe |
| Publication number | Priority date | Publication date | Assignee | Title |
|---|---|---|---|---|
| US10702293B2 (en)* | 2008-06-13 | 2020-07-07 | Shockwave Medical, Inc. | Two-stage method for treating calcified lesions within the wall of a blood vessel |
| US9642673B2 (en)* | 2012-06-27 | 2017-05-09 | Shockwave Medical, Inc. | Shock wave balloon catheter with multiple shock wave sources |
| US9138249B2 (en)* | 2012-08-17 | 2015-09-22 | Shockwave Medical, Inc. | Shock wave catheter system with arc preconditioning |
| EP3240603B1 (en)* | 2014-12-30 | 2019-05-01 | The Spectranetics Corporation | Laser-induced fluid filled balloon catheter |
| NL2019807B1 (en)* | 2017-10-26 | 2019-05-06 | Boston Scient Scimed Inc | Shockwave generating device |
| CN113648048A (en)* | 2021-07-15 | 2021-11-16 | 深圳市赛禾医疗技术有限公司 | Shock wave balloon catheter system with controllable discharge |
| CN114305652A (en)* | 2021-12-09 | 2022-04-12 | 深圳先进技术研究院 | A microporous electrode for the treatment of vascular calcification and fragmentation |
| Publication number | Priority date | Publication date | Assignee | Title |
|---|---|---|---|---|
| JPH06125915A (en)* | 1992-10-21 | 1994-05-10 | Inter Noba Kk | Catheter type medical instrument |
| CN111601560A (en)* | 2017-11-17 | 2020-08-28 | 冲击波医疗公司 | Low profile electrode for a shock waveguide |
| CN108452426A (en)* | 2018-03-16 | 2018-08-28 | 上海心至医疗科技有限公司 | A kind of foley's tube based on electrohydraulic effect |
| US20200129196A1 (en)* | 2018-10-25 | 2020-04-30 | Medtronic Vascular, Inc. | Cavitation catheter |
| US20210085347A1 (en)* | 2019-09-24 | 2021-03-25 | Shockwave Medical, Inc. | Lesion crossing shock wave catheter |
| CN111388086A (en)* | 2020-06-08 | 2020-07-10 | 上海微创医疗器械(集团)有限公司 | Electrode balloon catheter |
| CN214966283U (en)* | 2020-12-16 | 2021-12-03 | 深圳市赛禾医疗技术有限公司 | Pressure wave sacculus pipe |
| CN112971914A (en)* | 2021-02-09 | 2021-06-18 | 哈尔滨医科大学 | Intravascular perfusion shock wave lithotripsy catheter system |
| CN113317845A (en)* | 2021-03-23 | 2021-08-31 | 上海百心安生物技术股份有限公司 | Pulse balloon with grounding treatment on inner wall and application thereof |
| Publication number | Priority date | Publication date | Assignee | Title |
|---|---|---|---|---|
| WO2023104164A1 (en)* | 2021-12-09 | 2023-06-15 | 深圳先进技术研究院 | Microporous electrode for disruption treatment of vascular calcification |
| Publication number | Publication date |
|---|---|
| WO2023104164A1 (en) | 2023-06-15 |
| Publication | Publication Date | Title |
|---|---|---|
| US12402897B2 (en) | System for treating thrombus in body lumens | |
| EP2362798B1 (en) | Shockwave valvuloplasty catheter system | |
| JP7725796B2 (en) | Thrombolysis promotion module and interventional thrombus removal device | |
| JP4873816B2 (en) | Flexible tip catheter with guide wire tracking mechanism | |
| WO2022127509A1 (en) | Pressure wave balloon catheter | |
| WO2022127508A1 (en) | Pressure wave balloon catheter | |
| US6540733B2 (en) | Proton generating catheters and methods for their use in enhancing fluid flow through a vascular site occupied by a calcified vascular occlusion | |
| WO2023284213A1 (en) | Discharge-controllable shock wave balloon catheter system | |
| CN114533198A (en) | Shock wave balloon catheter device and medical equipment | |
| WO2023072154A1 (en) | Electrode balloon catheter | |
| CN214966283U (en) | Pressure wave sacculus pipe | |
| CN217853181U (en) | Shock wave sacculus pipe device and medical equipment | |
| CN115778485A (en) | Shock wave generating device, shock wave generating system and method | |
| JP2024507847A (en) | selectively isolated ultrasonic transducer | |
| CN114305652A (en) | A microporous electrode for the treatment of vascular calcification and fragmentation | |
| CN105105845A (en) | Plasma device used for ablating atherosclerotic plaques and generation method | |
| WO2020192146A1 (en) | Ultrasound balloon catheter assembly, catheter system and usage method | |
| WO2024021159A1 (en) | Burst wave balloon catheter | |
| CN116492014A (en) | An Ultrasound-Shock Wave Therapy System | |
| WO2022127507A1 (en) | Pressure wave balloon catheter and medical device | |
| CN223416278U (en) | Impact waveguide tube system | |
| CN119867873A (en) | Electromagnetic pulse type shock wave balloon and vascular interventional therapy apparatus | |
| CN204411522U (en) | One launches many acoustic beams ultrasonic assembly mutually dorsad | |
| US12402899B2 (en) | Systems, devices, and methods for generating shock waves in a forward direction | |
| US20250176986A1 (en) | Shock wave catheter with shock absorber |
| Date | Code | Title | Description |
|---|---|---|---|
| PB01 | Publication | ||
| PB01 | Publication | ||
| SE01 | Entry into force of request for substantive examination | ||
| SE01 | Entry into force of request for substantive examination |