





技术领域technical field
本公开涉及互联网技术领域,尤其涉及一种基于IPv4地址地理位置信息的IPv6地址定位方法及电子设备。The present disclosure relates to the technical field of the Internet, and in particular to an IPv6 address location method and electronic equipment based on IPv4 address geographic location information.
背景技术Background technique
IP地址地理位置定位技术是确定Internet中IP设备的地理位置的方法,IP地址地理位置被广泛用于广告投放、网站分析、智能路由、网络犯罪研究。随着IPv6大规模的部署,IPv6地址地理定位数据库的需求也越来越大,传统IPv4地址地理定位方法在IPv6稀疏的地址空间已经不适用。IP address geographic location technology is a method to determine the geographic location of IP devices on the Internet. IP address geographic location is widely used in advertising, website analysis, intelligent routing, and cybercrime research. With the large-scale deployment of IPv6, the demand for IPv6 address geolocation database is also increasing. The traditional IPv4 address geolocation method is no longer suitable for the sparse IPv6 address space.
因此,亟需能够对IPv6地址进行高效的地理定位的方法。Therefore, there is an urgent need for a method capable of efficiently geolocating IPv6 addresses.
发明内容Contents of the invention
有鉴于此,本公开的目的在于提出一种基于IPv4地址地理位置信息的IPv6地址定位方法及电子设备。In view of this, the purpose of the present disclosure is to propose an IPv6 address location method and electronic equipment based on IPv4 address geographic location information.
基于上述目的,本公开提供了一种基于IPv4地址地理位置信息的IPv6地址定位方法,包括:Based on the above purpose, the present disclosure provides an IPv6 address location method based on IPv4 address geographic location information, including:
分析IP路由前缀归属自治系统的城市覆盖度,建立IPv6路由前缀-地理位置信息映射;Analyze the city coverage of the autonomous system where the IP routing prefix belongs, and establish IPv6 routing prefix-geographic information mapping;
分析IPv6地址的接口标识中嵌入IPv4地址的特征,建立第一IPv6地址-地理位置信息映射;Analyze the characteristics of the IPv4 address embedded in the interface identifier of the IPv6 address, and establish the first IPv6 address-geographic location information mapping;
基于位置语义分析获得IPv6地址反向域名解析字符串涵盖的地理位置信息,建立第二IPv6地址-地理位置信息映射;Obtaining geographic location information covered by the reverse domain name resolution string of the IPv6 address based on location semantic analysis, and establishing a second IPv6 address-geographic location information mapping;
基于获取的IPv4地址和IPv6地址同源的关联关系,建立第三IPv6地址-地理位置信息映射;Establishing a third IPv6 address-geographic location information mapping based on the obtained IPv4 address and IPv6 address homologous association;
基于所述IPv6路由前缀-地理位置信息映射、所述第一IPv6地址-地理位置信息映射、所述第二IPv6地址-地理位置信息映射和所述第三IPv6地址-地理位置信息映射,创建IPv6地址地理位置库;Based on the IPv6 routing prefix-geographic location information mapping, the first IPv6 address-geographic location information mapping, the second IPv6 address-geographic location information mapping and the third IPv6 address-geographic location information mapping, create an IPv6 Address geolocation library;
将待定位IPv6地址输入所述IPv6地址地理位置库,得到所述待定位IPv6地址对应的地理位置。Inputting the IPv6 address to be located into the IPv6 address geographic location database to obtain the geographic location corresponding to the IPv6 address to be located.
基于相同的目的,本公开还提供了一种电子设备,包括存储器、处理器及存储在存储器上并可在处理器上运行的计算机程序,所述处理器执行所述程序时实现所述的基于IPv4地址地理位置信息的IPv6地址定位方法。Based on the same purpose, the present disclosure also provides an electronic device, including a memory, a processor, and a computer program stored on the memory and operable on the processor. When the processor executes the program, the above-mentioned An IPv6 address positioning method for IPv4 address geographic location information.
从上面所述可以看出,本公开提供的基于IPv4地址地理位置信息的IPv6地址定位方法及电子设备,首先通过分析IP路由前缀归属自治系统的城市覆盖度建立IPv6路由前缀-地理位置信息映射,分析IPv6地址的接口标识中嵌入IPv4地址的特征建立第一IPv6地址-地理位置信息映射,基于位置语义分析获得IPv6地址反向解析字符串涵盖的地理位置信息建立第二IPv6地址-地理位置信息映射,基于智能推断获得IPv4地址和IPv6地址同源的关联关系建立第三IPv6地址-地理位置信息映射,然后基于IPv6路由前缀-地理位置信息映射、第一IPv6地址-地理位置信息映射、第二IPv6地址-地理位置信息映射和第三IPv6地址-地理位置信息映射,创建IPv6地址地理位置库,最后将待定位IPv6地址输入IPv6地址地理位置库,即可得到所述待定位IPv6地址对应的地理位置;该基于IPv4地址地理位置信息的IPv6地址定位方法,通过分析IP路由前缀归属自治系统的城市覆盖度、IPv6地址的接口标识中嵌入IPv4地址的特征、IP地址反向解析字符串涵盖的地理位置信息,并且获得IPv4地址和IPv6地址同源的关联关系,构建IPv6地址地理位置库,经由该IPv6地址地理位置库获得的IPv6地理位置的粒度较细,且无需探测节点,避免大规模地址扫描、精确度较高。As can be seen from the above, the IPv6 address positioning method and electronic equipment based on the IPv4 address geographic location information provided by the present disclosure first establishes the IPv6 routing prefix-geographic location information mapping by analyzing the city coverage of the autonomous system that the IP routing prefix belongs to, Analyze the characteristics of the IPv4 address embedded in the interface identifier of the IPv6 address to establish the first IPv6 address-geographic location information mapping, and obtain the geographic location information covered by the reverse parsing string of the IPv6 address based on the location semantic analysis to establish the second IPv6 address-geographic location information mapping , based on intelligent deduction to obtain the same-source association relationship between IPv4 address and IPv6 address, establish a third IPv6 address-geographic location information mapping, and then based on IPv6 routing prefix-geographic location information mapping, first IPv6 address-geographic location information mapping, second IPv6 address Address-geographic location information mapping and the third IPv6 address-geographic location information mapping, create an IPv6 address geographic location database, and finally input the IPv6 address to be located into the IPv6 address geographic location database to obtain the corresponding geographic location of the IPv6 address to be located ; The IPv6 address positioning method based on the IPv4 address geographic location information, by analyzing the urban coverage of the IP routing prefix belonging to the autonomous system, the characteristics of the IPv4 address embedded in the interface identifier of the IPv6 address, and the geographic location covered by the reverse analysis string of the IP address Information, and obtain the same-source association relationship between IPv4 addresses and IPv6 addresses, and build an IPv6 address geographic location library. The IPv6 geographic location obtained through the IPv6 address geographic location library has a finer granularity and does not need to detect nodes, avoiding large-scale address scanning, Higher accuracy.
附图说明Description of drawings
为了更清楚地说明本公开或相关技术中的技术方案,下面将对实施例或相关技术描述中所需要使用的附图作简单地介绍,显而易见地,下面描述中的附图仅仅是本公开的实施例,对于本领域普通技术人员来讲,在不付出创造性劳动的前提下,还可以根据这些附图获得其他的附图。In order to more clearly illustrate the technical solutions in the present disclosure or related technologies, the following will briefly introduce the accompanying drawings that need to be used in the descriptions of the embodiments or related technologies. Obviously, the accompanying drawings in the following description are only for the present disclosure Embodiments, for those of ordinary skill in the art, other drawings can also be obtained based on these drawings without any creative effort.
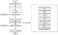
图1为本公开实施例提供的基于IPv4地址地理位置信息的IPv6地址定位方法流程示意图;1 is a schematic flow diagram of an IPv6 address location method based on IPv4 address geographic location information provided by an embodiment of the present disclosure;
图2为本公开实施例提供的IPv6路由前缀-地理位置信息映射的建立流程示例图;FIG. 2 is an example diagram of the establishment process of IPv6 routing prefix-geographic location information mapping provided by an embodiment of the present disclosure;
图3为本公开实施例提供的第一IPv6地址-地理位置信息映射的建立过程示例图;FIG. 3 is an example diagram of the establishment process of the first IPv6 address-geographic location information mapping provided by an embodiment of the present disclosure;
图4为本公开实施例提供的第二IPv6地址-地理位置信息映射的建立过程示例图;FIG. 4 is an example diagram of the establishment process of the second IPv6 address-geographic location information mapping provided by an embodiment of the present disclosure;
图5为本公开实施例提供的第三IPv6地址-地理位置信息映射的建立过程示例图;FIG. 5 is an example diagram of the establishment process of the third IPv6 address-geographic location information mapping provided by an embodiment of the present disclosure;
图6为本公开实施例提供的一种更为具体的电子设备硬件结构示意图。FIG. 6 is a schematic diagram of a more specific hardware structure of an electronic device provided by an embodiment of the present disclosure.
具体实施方式Detailed ways
为使本公开的目的、技术方案和优点更加清楚明白,以下结合具体实施例,并参照附图,对本公开进一步详细说明。In order to make the purpose, technical solutions and advantages of the present disclosure clearer, the present disclosure will be further described in detail below in conjunction with specific embodiments and with reference to the accompanying drawings.
需要说明的是,除非另外定义,本公开实施例使用的技术术语或者科学术语应当为本公开所属领域内具有一般技能的人士所理解的通常意义。本公开实施例中使用的“第一”、“第二”以及类似的词语并不表示任何顺序、数量或者重要性,而只是用来区分不同的组成部分。“包括”或者“包含”等类似的词语意指出现该词前面的元件或者物件涵盖出现在该词后面列举的元件或者物件及其等同,而不排除其他元件或者物件。It should be noted that, unless otherwise defined, the technical terms or scientific terms used in the embodiments of the present disclosure shall have ordinary meanings understood by those skilled in the art to which the present disclosure belongs. "First", "second" and similar words used in the embodiments of the present disclosure do not indicate any sequence, quantity or importance, but are only used to distinguish different components. "Comprising" or "comprising" and similar words mean that the elements or items appearing before the word include the elements or items listed after the word and their equivalents, without excluding other elements or items.
IP地址地理位置定位技术是确定Internet中IP设备的地理位置的方法,IP地址地理位置被广泛用于广告投放、网站分析、智能路由、网络犯罪研究。随着IPv6大规模的部署,IPv6地址地理定位数据库的需求也越来越大,传统IPv4地址地理定位方法在IPv6稀疏的地址空间已经不适用。IP address geographic location technology is a method to determine the geographic location of IP devices on the Internet. IP address geographic location is widely used in advertising, website analysis, intelligent routing, and cybercrime research. With the large-scale deployment of IPv6, the demand for IPv6 address geolocation database is also increasing. The traditional IPv4 address geolocation method is no longer suitable for the sparse IPv6 address space.
传统的IPv6地址的地理位置定位方法主要分为以下三种:The traditional geographical positioning methods of IPv6 addresses are mainly divided into the following three types:
1)通过对权威数据库和商用数据库中地理位置相关信息的自动化分析获取IPv6地址地理位置信息;1) Obtain the geographic location information of IPv6 addresses through automatic analysis of geographic location-related information in authoritative databases and commercial databases;
2)通过收集开启定位服务功能的客户端的GPS等信息获取IPv6地址的地理位置;2) Obtain the geographic location of the IPv6 address by collecting information such as the GPS of the client with the location service function enabled;
3)通过主动探测的方法,根据时延和地理距离的关系,结合网络拓扑信息推测IP地址的地理位置。3) Through the method of active detection, according to the relationship between time delay and geographical distance, combined with network topology information to infer the geographical location of the IP address.
但是,由于权威公开数据库的主要目的是提供互联网资源注册管理,而非IPv6定位,因此仅记录了IPv6相关机构的地理位置属性;另外在商用数据库中,IPv6地理位置定位精度仅在国家级别,并未到达省市。可用的IPv6地址定位的数据库少、信息少。However, since the main purpose of the authoritative public database is to provide Internet resource registration management rather than IPv6 positioning, only the geographic location attributes of IPv6-related institutions are recorded; in addition, in commercial databases, the accuracy of IPv6 geographic location positioning is only at the national level, and Provinces and cities have not been reached. There are few databases and little information on available IPv6 address location.
IPv6地址空间大,近年来在飞速发展,全球都在加快其部署,但是IPv6网络稀疏,活跃度低,通过客户端的GPS等信息获得的活跃地址太少。The IPv6 address space is large, and it has been developing rapidly in recent years, and its deployment is being accelerated all over the world. However, the IPv6 network is sparse and active, and there are too few active addresses obtained through the client's GPS and other information.
基于网络探测的定位方法需要有大量且地理位置分布均匀的已知地理位置的节点用于探测,但目前没有公开的IPv6探测节点。The positioning method based on network detection requires a large number of nodes with known geographic locations and evenly distributed geographic locations for detection, but there is currently no public IPv6 detection node.
因此,亟需能够对IPv6地址进行高效的地理定位的方法。Therefore, there is an urgent need for a method capable of efficiently geolocating IPv6 addresses.
为了解决上述问题,本公开提供了一种基于IPv4地址地理位置信息的IPv6地址定位方法及电子设备,该方法包括通过分析IP路由前缀归属自治系统的城市覆盖度建立IPv6路由前缀-地理位置信息映射,分析IPv6地址的接口标识中嵌入IPv4地址的特征建立第一IPv6地址-地理位置信息映射,基于位置语义分析获得IPv6地址反向解析字符串涵盖的地理位置信息建立第二IPv6地址-地理位置信息映射,基于智能推断获得IPv4地址和IPv6地址同源的关联关系建立第三IPv6地址-地理位置信息映射,然后基于IPv6路由前缀-地理位置信息映射、第一IPv6地址-地理位置信息映射、第二IPv6地址-地理位置信息映射和第三IPv6地址-地理位置信息映射,创建IPv6地址地理位置库,最后将待定位IPv6地址输入IPv6地址地理位置库,即可得到所述待定位IPv6地址对应的地理位置;该方法可以应用于桌面计算机、移动电脑、手机、平板电脑、计算机、智能可穿戴设备、个人数字助理等,具体不做限定。In order to solve the above problems, the present disclosure provides an IPv6 address location method and electronic equipment based on IPv4 address geographic location information, the method includes establishing IPv6 routing prefix-geographic location information mapping by analyzing the city coverage of the autonomous system that the IP routing prefix belongs to , analyze the characteristics of the IPv4 address embedded in the interface identifier of the IPv6 address to establish the first IPv6 address-geographic location information mapping, and obtain the geographic location information covered by the reverse parsing string of the IPv6 address based on the location semantic analysis to establish the second IPv6 address-geographic location information Mapping, based on intelligent inference to obtain the same-source association relationship between IPv4 address and IPv6 address, establish a third IPv6 address-geographic location information mapping, then based on IPv6 routing prefix-geographic location information mapping, first IPv6 address-geographic location information mapping, second IPv6 address-geographic location information mapping and the third IPv6 address-geographic location information mapping, create an IPv6 address geographic location database, and finally input the IPv6 address to be located into the IPv6 address geographic location database to obtain the geographic location corresponding to the IPv6 address to be located location; the method can be applied to desktop computers, mobile computers, mobile phones, tablet computers, computers, smart wearable devices, personal digital assistants, etc., without limitation.
为了便于理解,下面结合附图对该基于IPv4地址地理位置信息的IPv6地址定位方法进行详细说明。For ease of understanding, the IPv6 address positioning method based on the geographic location information of the IPv4 address will be described in detail below in conjunction with the accompanying drawings.
图1为本公开实施例提供的基于IPv4地址地理位置信息的IPv6地址定位方法的流程示意图;如图1所示,该方法可以包括以下步骤:Fig. 1 is a schematic flow diagram of an IPv6 address location method based on IPv4 address geographic location information provided by an embodiment of the present disclosure; as shown in Fig. 1 , the method may include the following steps:
S11、分析IP路由前缀归属自治系统的城市覆盖度,建立IPv6路由前缀-地理位置信息映射。S11. Analyze the city coverage of the autonomous system to which the IP routing prefix belongs, and establish an IPv6 routing prefix-geographic location information mapping.
自治系统(Autonomous System,简称AS)是在内部采用同一种内部网关协议和统一的度量值转发数据包,在不同自治系统之间采用外部网关协议转发数据包的一组路由器。自治系统是网络的集合,更确切的说是连接这些网络的路由器的集合,这些路由器由同一管理机构进行管理并采用相同的路由策略,简单地说,自治系统可以被认为是由单个管理实体(如大学、政府、商业组织或其他类型的互联网服务提供商(ISP))管理的一组相互连接的IP网络。每个自治系统可以宣告一个或多个IPv4/IPv6路由前缀。An autonomous system (AS for short) is a group of routers that use the same interior gateway protocol and unified metric value to forward data packets internally, and use exterior gateway protocols to forward data packets between different autonomous systems. An autonomous system is a collection of networks, more precisely, a collection of routers connecting these networks. These routers are managed by the same management organization and adopt the same routing strategy. Simply put, an autonomous system can be considered as a single management entity ( A group of interconnected IP networks managed by a university, government, commercial organization, or other type of Internet Service Provider (ISP). Each autonomous system can announce one or more IPv4/IPv6 routing prefixes.
在一些可能的实施方式中,分析IP路由前缀归属自治系统的城市覆盖度,建立IPv6路由前缀-地理位置信息映射,可以包括:通过各自治系统宣告的IPv4路由前缀分别确定各自治系统的覆盖范围,并筛选IPv4路由前缀位于单一城市的自治系统,查询IPv4路由前缀位于单一城市的自治系统对应的IPv6路由前缀,得到IPv6路由前缀-地理位置信息映射。In some possible implementations, analyzing the city coverage of the autonomous system that the IP routing prefix belongs to, and establishing an IPv6 routing prefix-geographic location information mapping may include: respectively determining the coverage of each autonomous system through the IPv4 routing prefix announced by each autonomous system , and filter the autonomous systems with IPv4 routing prefixes located in a single city, query the IPv6 routing prefixes corresponding to the autonomous systems with IPv4 routing prefixes located in a single city, and obtain the IPv6 routing prefix-geographic location information mapping.
作为一种实施方式,分析IP路由前缀归属自治系统的城市覆盖度,建立IPv6路由前缀-地理位置信息映射,可以具体包括:As an implementation manner, analyzing the city coverage of the autonomous system where the IP routing prefix belongs, and establishing IPv6 routing prefix-geographic location information mapping may specifically include:
筛选同时宣告IPv4路由前缀与IPv6路由前缀的自治系统;Filter autonomous systems that announce both IPv4 routing prefixes and IPv6 routing prefixes;
根据IPv4地址地理位置库查询筛选得到的各自治系统中每个IPv4路由前缀的地理位置信息,得到IPv4路由前缀-AS-地理位置信息映射;According to the geographic location information of each IPv4 routing prefix in each autonomous system obtained by querying and filtering the IPv4 address geographic location library, the IPv4 routing prefix-AS-geographic location information mapping is obtained;
对IPv4路由前缀-AS-地理位置信息映射进行自治系统分类,得到AS-地理位置信息映射;Carry out autonomous system classification to IPv4 route prefix-AS-geographic location information mapping, obtain AS-geographic location information mapping;
基于AS-地理位置信息映射,筛选地理位置信息中仅包括单个城市的自治系统;Based on the mapping of AS-geographic location information, filter the geographic location information to include only the autonomous system of a single city;
查询地理位置信息中仅包括单个城市的各自治系统对应的IPv6路由前缀,并根据AS-地理位置信息映射,建立IPv6路由前缀-地理位置信息映射。Only the IPv6 routing prefix corresponding to each autonomous system of a single city is included in the query geographic location information, and an IPv6 routing prefix-geographic location information mapping is established according to the AS-geographic location information mapping.
本公开中,IPv4路由前缀-AS-地理位置信息映射包括IPv4路由前缀、自治系统和基于IPv4地址确定的地理位置信息之间的对应关系。AS-地理位置信息映射包括自治系统和基于IPv4地址确定的地理位置信息之间的对应关系,且在该映射中,每个自治系统的地理位置信息中可能对应1个或多个城市。通过筛选获得仅覆盖单个城市的自治系统,且该自治系统中宣告了IPv6路由前缀,则该自治系统中的IPv6路由前缀与该自治系统覆盖的单个城市对应,即可建立IPv6路由前缀-地理位置信息映射。IPv6路由前缀-地理位置信息映射包括IPv6路由前缀与地理位置信息之间的对应关系。In the present disclosure, the mapping of IPv4 routing prefix-AS-geographical location information includes the correspondence between IPv4 routing prefixes, autonomous systems, and geographic location information determined based on IPv4 addresses. The AS-geographic location information mapping includes the correspondence between autonomous systems and geographic location information determined based on IPv4 addresses, and in the mapping, the geographic location information of each autonomous system may correspond to one or more cities. An autonomous system that only covers a single city is obtained by screening, and an IPv6 routing prefix is declared in the autonomous system, then the IPv6 routing prefix in the autonomous system corresponds to a single city covered by the autonomous system, and the IPv6 routing prefix-geographical location can be established information mapping. The IPv6 routing prefix-geographic location information mapping includes the correspondence between the IPv6 routing prefix and the geographic location information.
图2为本公开实施例提供的IPv6路由前缀-地理位置信息映射的建立流程示例图;如图2所示,首先筛选同时宣告IPv4和IPv6路由前缀的AS,查询筛选得到的AS中各IPv4路由前缀的地理位置信息得到IPv4路由前缀-AS-地理位置信息映射,然后按照自治系统进行分类得到AS-地理位置信息映射,保留地理位置信息中仅包含单个城市的自治系统,舍弃地理位置信息中包括多个城市的自治系统,最后查询地理位置信息中仅包含单个城市的自治系统对应的IPv6路由前缀,并根据AS-地理位置信息映射,获得IPv6路由前缀-地理位置信息映射。Figure 2 is an example diagram of the establishment process of the IPv6 routing prefix-geographic location information mapping provided by the embodiment of the present disclosure; The geographic location information of the prefix is obtained from the IPv4 routing prefix-AS-geographic location information mapping, and then classified according to the autonomous system to obtain the AS-geographic location information mapping. The reserved geographic location information only includes the autonomous system of a single city, and the discarded geographic location information includes For the autonomous systems of multiple cities, the geographical location information of the last query contains only the IPv6 routing prefix corresponding to the autonomous system of a single city, and according to the AS-geographic location information mapping, the IPv6 routing prefix-geographic location information mapping is obtained.
可以理解的是,通过建立IPv6路由前缀-地理位置信息映射,在获取IPv6地址的路由前缀后,能够快速得到该路由前缀对应的地理位置信息。It can be understood that by establishing the IPv6 routing prefix-geographic location information mapping, after obtaining the routing prefix of the IPv6 address, the geographic location information corresponding to the routing prefix can be quickly obtained.
S12、分析IPv6地址的接口标识中嵌入IPv4地址的特征,建立第一IPv6地址-地理位置信息映射。S12. Analyze the characteristics of the IPv4 address embedded in the interface identifier of the IPv6 address, and establish a first IPv6 address-geographic location information mapping.
IPv6地址可以清晰地分成两个部分,即用于网络路由的子网前缀(subnetprefix)和用于子网内寻址的接口标识(interface ID,简称IID)。The IPv6 address can be clearly divided into two parts, namely, a subnet prefix (subnet prefix) used for network routing and an interface identifier (interface ID, IID for short) used for addressing within the subnet.
子网前缀是在进行IPv6组网时,终端用户通过互联网服务提供商(InternetService Provider,ISP)、地区互联网注册管理机构(Regional Internet Registry,RIR)、互联网数字分配机构IANA(The Internet Assigned Numbers Authority)等一层一层分配得来。The subnet prefix is used by end users through the Internet Service Provider (Internet Service Provider, ISP), the Regional Internet Registry (Regional Internet Registry, RIR), and the Internet Number Assignment Agency IANA (The Internet Assigned Numbers Authority). Wait for layer by layer to be distributed.
接口标识为64位,用于标识链路上的接口,在每条链路上接口标识必须唯一。接口标识可以通过自动生成或手工生成的方式获得,通过手工生成的接口标识大致可以分为四类:The interface identifier is 64 bits, used to identify the interface on the link, and the interface identifier must be unique on each link. Interface IDs can be obtained automatically or manually. Manually generated interface IDs can be roughly divided into four categories:
1)基于低字节的接口标识生成方案。将接口标识的大部分位都设置为0,只有最后的几字节非零。1) A scheme for generating interface identifiers based on low bytes. Set most of the bits of the interface ID to 0, only the last few bytes are non-zero.
2)基于IPv4地址的接口标识生成方案。例如,将四字节的IPv4地址作为IID最后四个字节。2) A scheme for generating interface identifiers based on IPv4 addresses. For example, take a four-byte IPv4 address as the last four bytes of the IID.
3)基于服务、端口号的接口标识生成方案。例如,将该服务器端口号和编号本身或者十六进制形式直接嵌入到接口标识中。3) Interface identification generation scheme based on service and port number. For example, embed the server port number and the number itself or in hex directly into the interface ID.
4)基于单词的接口标识生成方案。为了便于记忆,也可以使用基于单词的生成方式。4) A word-based interface identification generation scheme. For ease of memory, word-based generation can also be used.
在实际应用中,可以基于对IPv6地址的接口标识的分析,获得IPv6地址的地理位置信息。In practical applications, the geographic location information of the IPv6 address can be obtained based on the analysis of the interface identifier of the IPv6 address.
本公开中,第一IPv6地址-地理位置信息映射是指通过分析IPv6地址的接口标识中嵌入的IPv4地址的特征建立的IPv6地址-地理位置信息映射。第一IPv6地址-地理位置信息映射包括IPv6地址与地理位置信息之间的对应关系。In the present disclosure, the first IPv6 address-geographic location information mapping refers to the IPv6 address-geographic location information mapping established by analyzing the characteristics of the IPv4 address embedded in the interface identifier of the IPv6 address. The first IPv6 address-geographic location information mapping includes correspondence between IPv6 addresses and geographic location information.
在一些可能的实施方式中,分析IPv6地址的接口标识中嵌入IPv4地址的特征,建立第一IPv6地址-地理位置信息映射,可以包括:筛选IPv6地址集中基于IPv4地址生成接口标识的IPv6地址,提取筛选得到的各IPv6地址中嵌入的IPv4地址,并确定提取得到的各IPv4地址的地理位置信息,建立第一IPv6地址-地理位置信息映射。In some possible implementation manners, analyzing the characteristics of the IPv4 address embedded in the interface identifier of the IPv6 address, and establishing the first IPv6 address-geographic location information mapping may include: screening the IPv6 address set based on the IPv4 address to generate the IPv6 address of the interface identifier, extracting The IPv4 addresses embedded in the obtained IPv6 addresses are screened, and the geographic location information of the extracted IPv4 addresses is determined, and a first IPv6 address-geographic location information mapping is established.
作为一种实施方式,分析IPv6地址的接口标识中嵌入IPv4地址的特征,建立第一IPv6地址-地理位置信息映射,可以具体包括:As an implementation manner, analyzing the characteristics of the IPv4 address embedded in the interface identifier of the IPv6 address, and establishing the first IPv6 address-geographic location information mapping may specifically include:
获取IPv6地址集;Get IPv6 address set;
分析IPv6地址集中各IPv6地址的接口标识的生成方式;Analyze the generation method of the interface identification of each IPv6 address in the IPv6 address set;
筛选IPv6地址集中接口标识为基于IPv4地址编码的IPv6地址;Filter the interface in the IPv6 address set and identify it as an IPv6 address based on IPv4 address encoding;
提取筛选得到的各IPv6地址的接口标识中嵌入的IPv4地址;Extracting the IPv4 address embedded in the interface identifier of each IPv6 address obtained after screening;
基于IPv4地址地理位置库确定提取得到的各IPv4地址的地理位置信息,建立第一IPv6地址-地理位置信息映射。The extracted geographic location information of each IPv4 address is determined based on the IPv4 address geographic location database, and a first IPv6 address-geographic location information mapping is established.
本公开中,可以从包含IPv6地址的公开数据源中抽取IPv6地址形成IPv6地址集。获取IPv6地址集后,可以根据其中各IPv6地址的接口标识的特点分析出接口标识的构成模式,判断各IPv6的接口标识是否是基于IPv4地址编码生成。In the present disclosure, IPv6 addresses may be extracted from public data sources containing IPv6 addresses to form an IPv6 address set. After the IPv6 address set is obtained, the composition mode of the interface identifier can be analyzed according to the characteristics of the interface identifier of each IPv6 address, and it can be judged whether each IPv6 interface identifier is generated based on the IPv4 address code.
图3为本公开实施例提供的第一IPv6地址-地理位置信息映射的建立过程示例图;如图3所示,首先收集现有公开的IPv6地址形成IPv6地址集,然后分析各IPv6地址的IID的生成方法,提取基于IPv4地址编码生成IID的IPv6地址,然后提取IID中嵌入的IPv4地址,查询IPv4地址地理位置库确定提取到的各IPv4地址的地理位置信息,形成第一IPv6地址-地理位置信息映射。Fig. 3 is an example diagram of the establishment process of the first IPv6 address-geographic location information mapping provided by the embodiment of the present disclosure; as shown in Fig. 3 , first collect the existing public IPv6 addresses to form an IPv6 address set, and then analyze the IID of each IPv6 address The generating method is to extract the IPv6 address based on the IPv4 address encoding to generate the IID, then extract the IPv4 address embedded in the IID, query the IPv4 address geographic location database to determine the geographic location information of each IPv4 address extracted, and form the first IPv6 address-geographic location information mapping.
可以理解的是,通过分析IPv6地址的接口标识中嵌入的IPv4地址的特征建立IPv6地址-地理位置信息映射,丰富了IPv6地址地理位置库。It can be understood that the IPv6 address-geographic location information mapping is established by analyzing the characteristics of the IPv4 address embedded in the interface identifier of the IPv6 address, which enriches the IPv6 address geographic location library.
S13、基于位置语义分析获得IPv6地址反向域名解析字符串涵盖的地理位置信息,建立第二IPv6地址-地理位置信息映射。S13. Obtain geographic location information covered by the reverse domain name resolution string of the IPv6 address based on location semantic analysis, and establish a second IPv6 address-geographic location information mapping.
域名系统(DNS)是互联网不可分割的一部分。DNS域名解析服务是用于解析域名与IP地址对应关系的服务,功能上可以实现正向解析与反向解析。The Domain Name System (DNS) is an integral part of the Internet. DNS domain name resolution service is a service for resolving the corresponding relationship between domain names and IP addresses, which can realize forward and reverse resolution in function.
正向域名解析就是把域名指向网站所在服务器的IP,让人们通过注册的域名可以访问到网站。IP地址是网络上标识服务器的数字地址,为了方便记忆,使用域名来代替IP地址。域名解析就是域名到IP地址的转换过程,域名的解析工作由DNS服务器完成。DNS服务器会把域名解析到一个IP地址,然后在此IP地址的主机上将一个子目录与域名绑定。域名解析时会添加解析记录,这些记录有:A记录、AAAA记录、CNAME记录、MX记录、NS记录、TXT记录、SRV记录、URL转发。其中A记录将域名指向一个IPv4地址,AAAA记录将域名指向一个IPv6地址。Forward domain name resolution is to point the domain name to the IP of the server where the website is located, so that people can access the website through the registered domain name. An IP address is a numerical address that identifies a server on the network. For the convenience of memory, a domain name is used instead of an IP address. Domain name resolution is the conversion process of domain name to IP address, and the resolution of domain name is completed by DNS server. The DNS server will resolve the domain name to an IP address, and then bind a subdirectory to the domain name on the host at this IP address. Resolution records will be added during domain name resolution. These records include: A record, AAAA record, CNAME record, MX record, NS record, TXT record, SRV record, and URL forwarding. The A record points the domain name to an IPv4 address, and the AAAA record points the domain name to an IPv6 address.
反向域名解析(Reverse DNS,简称rDNS),负责解析IPv4或IPv6地址对应的主机名。rDNS通过查询IP地址的PTR记录来得到该IP地址指向的域名。DNS PTR记录,也称为指针记录或反向DNS记录,是用于存储与IP地址关联的域名或主机名,DNS PTR记录将主机名或域名与IP地址连接起来。Reverse domain name resolution (Reverse DNS, referred to as rDNS), is responsible for resolving the host name corresponding to the IPv4 or IPv6 address. rDNS obtains the domain name pointed to by the IP address by querying the PTR record of the IP address. DNS PTR records, also known as pointer records or reverse DNS records, are used to store domain names or host names associated with IP addresses, and DNS PTR records connect host names or domain names with IP addresses.
反向域名解析的主机名通常用于命名和描述组成互联网的底层物理基础设施,可以从rDNS主机名中提取主机所在的城市、州、国家等地理位置信息以及物理连接特性信息等等。例如:主机名adsl-42.wallingford.ct.bigisp.us中Wallingford对应沃林福德镇,ct对应Connecticut康涅狄格州,us对应美国。The hostname of reverse domain name resolution is usually used to name and describe the underlying physical infrastructure that makes up the Internet. From the rDNS hostname, the geographical location information such as the city, state, and country where the host is located, as well as physical connection characteristics information, etc. can be extracted. For example: in the host name adsl-42.wallingford.ct.bigisp.us, Wallingford corresponds to Wallingford, ct corresponds to Connecticut, and us corresponds to the United States.
在实际应用中,可以基于对IP地址的反向域名解析得到该IP地址对应的地理位置信息;则,在一些可能的实施方式中,基于位置语义分析获得IPv6地址反向域名解析字符串涵盖的地理位置信息,建立第二IPv6地址-地理位置信息映射,可以包括:探测IPv6地址集中各IPv6地址的路由路径,并将探测到的各路由路径中的每跳IPv6地址汇总去重后进行反向域名解析得到其对应的主机名字符串,确定解析得到的各主机名字符串的位置信息,建立第二IPv6地址-地理位置信息映射。In practical applications, the geographical location information corresponding to the IP address can be obtained based on the reverse domain name resolution of the IP address; then, in some possible implementations, the IPv6 address reverse domain name resolution string covered by the Geographic location information, establishing a second IPv6 address-geographic location information mapping, may include: detecting the routing path of each IPv6 address in the IPv6 address set, and summarizing and deduplicating each hop IPv6 address in each detected routing path before reverse The domain name analysis obtains its corresponding host name string, determines the location information of each host name string obtained through analysis, and establishes a second IPv6 address-geographic location information mapping.
作为一种实施方式,基于位置语义分析获得IPv6地址反向域名解析字符串涵盖的地理位置信息,建立第二IPv6地址-地理位置信息映射,具体可以包括:As an implementation, based on location semantic analysis, obtain the geographic location information covered by the reverse domain name resolution string of the IPv6 address, and establish a second IPv6 address-geographic location information mapping, which may specifically include:
获取IPv6地址集;Get IPv6 address set;
对IPv6地址集中的各IPv6地址进行路由路径探测;Perform routing path detection on each IPv6 address in the IPv6 address set;
将探测到的各路由路径中的每跳IPv6地址汇总去重后进行反向域名解析得到其对应的rDNS主机名字符串,建立IPv6地址-rDNS主机名映射;Summarize and deduplicate the detected IPv6 addresses of each hop in each routing path, and perform reverse domain name analysis to obtain its corresponding rDNS host name string, and establish an IPv6 address-rDNS host name mapping;
对IPv6地址-rDNS主机名映射中的各rDNS主机名字符串进行位置语义分析,得到rDNS主机名对应的地理位置信息,建立第二IPv6地址-地理位置信息映射。The location semantic analysis is performed on each rDNS host name string in the IPv6 address-rDNS host name mapping, and the geographic location information corresponding to the rDNS host name is obtained, and a second IPv6 address-geographic location information mapping is established.
本公开中,首先获得包含多个IPv6地址的IPv6地址集,然后通过对各IPv6地址进行路由路径探测得到多条路由路径;在实际应中,由于每条路由路径中可能包括除IPv6地址集中含有的IPv6地址之外的其他多跳IPv6地址,则通过对各路由路径进行探测分别可以得到多跳IPv6地址。并且,通过探测每条路由路径所得到的IPv6地址中可能有重复,则需要将获得的所有跳IPv6地址汇总去重。In this disclosure, first obtain the IPv6 address set containing multiple IPv6 addresses, and then obtain multiple routing paths by performing routing path detection on each IPv6 address; If there are other multi-hop IPv6 addresses other than the specified IPv6 address, the multi-hop IPv6 addresses can be obtained respectively by detecting each routing path. Moreover, there may be duplication in the IPv6 addresses obtained by detecting each routing path, and all the obtained hop IPv6 addresses need to be summarized and deduplicated.
本公开中,第二IPv6地址-地理位置信息映射是指通过获取IPv6地址的反向域名解析字符串涵盖的地理位置信息建立的IPv6地址-地理位置信息映射。第二IPv6地址-地理位置信息映射包括IPv6地址与地理位置信息之间的对应关系。IPv6地址-rDNS主机名映射包括IPv6地址和rDNS主机名的对应关系。In the present disclosure, the second IPv6 address-geographic location information mapping refers to the IPv6 address-geographic location information mapping established by obtaining the geographic location information covered by the reverse domain name resolution string of the IPv6 address. The second IPv6 address-geographic location information mapping includes correspondence between IPv6 addresses and geographic location information. The IPv6 address-rDNS host name mapping includes the correspondence between the IPv6 address and the rDNS host name.
本公开中对rDNS主机名字符串进行位置语义分析时可以采用如下方法进行:In this disclosure, the location semantic analysis of the rDNS host name string can be performed by the following methods:
1)筛除不符合互联网主机命名规则的rDNS主机名;1) Screen out rDNS host names that do not conform to the Internet host naming rules;
2)根据公共域名列表筛除非有效后缀的主机名;2) Filter hostnames with non-valid suffixes according to the public domain name list;
3)将rDNS主机名由ASCII编码转为Unicode编码;3) Convert the rDNS hostname from ASCII encoding to Unicode encoding;
4)分离子域名,形成IPv6地址-子域名对;4) Separate the sub-domain name to form an IPv6 address-sub-domain name pair;
5)根据“.”、“连字符”、“字母与数字对转换”拆分子域名,形成与IPv6地址对应的列表,并去除列表中的数字、与连接特性相关的元素;5) Split subdomain names according to ".", "hyphen", and "letter-number pair conversion" to form a list corresponding to IPv6 addresses, and remove numbers and elements related to connection characteristics in the list;
6)对列表进行地理位置信息的规则匹配(匹配规则含有多种,如城市名、城市名+国家、城市首字母缩写、城市别名、城市连续字母等),获取rDNS主机名对应的地理位置,形成IPv6地址-地理位置信息映射。在实际应用中,可以采用多种匹配规则,例如,城市名、城市名+国家、城市首字母缩写、城市别名、城市连续字母等,具体不做限定。6) Carry out rule matching of geographic location information on the list (matching rules contain multiple types, such as city name, city name+country, city acronym, city alias, city continuous letters, etc.), and obtain the geographic location corresponding to the rDNS host name, An IPv6 address-geographic location information mapping is formed. In practical applications, various matching rules may be used, for example, city name, city name+country, city acronym, city alias, city consecutive letters, etc., which are not specifically limited.
图4为本公开实施例提供的第二IPv6地址-地理位置信息映射的建立过程示例图;如图4所示,首先对IPv6地址进行路由路径探测,提取IPv6地址的路由路径中的每跳IPv6,去重,然后对去重后得到的各跳进行反向域名解析,舍弃不含有rDNS主机名的IPv6地址,保留有rDNS主机名的IPv6地址形成IPv6地址-rDNS主机名映射;然后提取IPv6地址-rDNS主机名映射中包含的各rDNS主机名字符串中的地理位置信息以得到rDNS主机名对应的地理位置信息,形成第二IPv6地址-地理位置信息映射。FIG. 4 is an example diagram of the establishment process of the second IPv6 address-geographic location information mapping provided by the embodiment of the present disclosure; as shown in FIG. , deduplication, and then perform reverse domain name analysis on each hop obtained after deduplication, discard IPv6 addresses that do not contain rDNS hostnames, and retain IPv6 addresses with rDNS hostnames to form IPv6 address-rDNS hostname mappings; then extract IPv6 addresses - Geographical location information in each rDNS hostname string included in the rDNS hostname mapping to obtain the geographic location information corresponding to the rDNS hostname to form a second IPv6 address-geographic location information mapping.
其中提取各rDNS主机名字符串中的地理位置信息的过程如下:去除不遵守互联网主机命名规则的域名,并且去除无公共前缀列表定义的有效后缀的域名,然后将rDNS主机名由ASCII编码转为Unicode编码,分离出子域名,形成IPv6地址-子域名对,根据“.”、“连字符”、“字母与数字对转换”拆分IPv6地址-子域名对中的子域名,形成与IPv6地址对应的列表,并将列表中的数字、与连接特性相关的元素去除,最后列表进行地理位置信息的规则匹配获取rDNS主机名对应的地理位置信息。The process of extracting the geographical location information in each rDNS host name string is as follows: remove the domain names that do not comply with the Internet host naming rules, and remove the domain names without valid suffixes defined by the public prefix list, and then convert the rDNS host name from ASCII encoding to Unicode encoding, separate the sub-domain name, form IPv6 address-sub-domain name pair, split the sub-domain name in IPv6 address-sub-domain name pair according to ".", "hyphen", "letter and number pair conversion", and form IPv6 address The corresponding list, and remove the numbers in the list and the elements related to the connection characteristics, and finally perform the rule matching of the geographic location information on the list to obtain the geographic location information corresponding to the rDNS host name.
可以理解的是,通过获取IPv6地址的反向域名解析字符串涵盖的地理位置信息建立IPv6地址-地理位置信息映射,丰富了IPv6地址地理位置库的内容。It can be understood that the IPv6 address-geographic location information mapping is established by obtaining the geographic location information covered by the reverse domain name resolution string of the IPv6 address, which enriches the content of the IPv6 address geographic location database.
S14、基于获取的IPv4地址和IPv6地址同源的关联关系,建立第三IPv6地址-地理位置信息映射。S14. Establish a third IPv6 address-geographic location information mapping based on the obtained association relationship between the obtained IPv4 address and the IPv6 address.
在实际应用中,由于在IPv4在IPv6的过渡过程中,IPv4和IPv6地址配置在同一台主机上是一种常见现象,所以可以根据IPv4地址和IPv6地址的同源性建立第三IPv6地址-地理位置信息映射。In practical applications, since it is common for IPv4 and IPv6 addresses to be configured on the same host during the transition from IPv4 to IPv6, a third IPv6 address-geographic Mapping of location information.
在一些可能的实施方式中,基于获取的IPv4地址和IPv6地址同源的关联关系,建立第三IPv6地址-地理位置信息映射,可以包括:对IPv4rDNS数据集中各IPv4地址对应的rDNS主机名进行AAAA记录查询,获取各IPv4地址同源的IPv6地址,确定各IPv4地址的地理位置信息,建立第三IPv6地址-地理位置信息映射。In some possible implementation manners, establishing a third IPv6 address-geographic location information mapping based on the obtained IPv4 address and IPv6 address homologous relationship may include: performing AAAA on the rDNS hostname corresponding to each IPv4 address in the IPv4rDNS data set Record query, obtain the IPv6 address of the same source as each IPv4 address, determine the geographic location information of each IPv4 address, and establish a third IPv6 address-geographic location information mapping.
作为一种实施方式,基于获取的IPv4地址和IPv6地址同源的关联关系,建立第三IPv6地址-地理位置信息映射,具体包括:As an implementation manner, based on the obtained IPv4 address and the IPv6 address homologous relationship, a third IPv6 address-geographic location information mapping is established, specifically including:
获取IPv4rDNS数据集;Get the IPv4rDNS dataset;
查询IPv4rDNS数据集中各IPv4地址对应的rDNS主机名的AAAA记录,筛选存在IPv6地址的AAAA记录,得到IPv4地址-IPv6地址-rDNS主机名映射;Query the AAAA record of the rDNS hostname corresponding to each IPv4 address in the IPv4rDNS data set, filter the AAAA record with the IPv6 address, and obtain the IPv4 address-IPv6 address-rDNS hostname mapping;
基于IPv4地址地理位置库,查询各IPv4地址的地理位置信息;Based on the IPv4 address geographic location library, query the geographic location information of each IPv4 address;
基于IPv4地址-IPv6地址-rDNS主机名映射和各IPv4地址的地理位置信息,建立第三IPv6地址-地理位置信息映射。Based on the IPv4 address-IPv6 address-rDNS host name mapping and the geographic location information of each IPv4 address, a third IPv6 address-geographic location information mapping is established.
本公开中,第三IPv6地址-地理位置信息映射是指基于IPv4地址和IPv6地址同源的关联关系建立的IPv6地址-地理位置信息映射。第三IPv6地址-地理位置信息映射包括IPv6地址和地理位置信息的对应关系。In the present disclosure, the third IPv6 address-geographic location information mapping refers to the IPv6 address-geographic location information mapping established based on the same-source association relationship between the IPv4 address and the IPv6 address. The third IPv6 address-geographic location information mapping includes correspondence between IPv6 addresses and geographic location information.
在实际应用中,IPv4rDNS数据集可以由相关数据网站中获得,例如可以从Rapid7网站中获得IPv4rDNS数据集,具体不做限定。In practical applications, the IPv4rDNS data set can be obtained from relevant data websites, for example, the IPv4rDNS data set can be obtained from the Rapid7 website, without limitation.
IPv4地址-IPv6地址-rDNS主机名映射是指IPv4地址、IPv6地址和rDNS主机名的对应关系。IPv4 address-IPv6 address-rDNS host name mapping refers to the correspondence between IPv4 address, IPv6 address and rDNS host name.
图5为本公开实施例提供的IPv6地址-地理位置信息映射的建立过程示例图;如图5所示,首先在Rapid7上获取IPv4rDNS数据集,查找各IPv4地址对应的rDNS主机名的AAAA记录,舍弃没有对应的IPv6地址的AAAA记录,保留有对应的IPv6地址的AAAA记录,形成IPv4地址-IPv6地址-rDNS主机名映射;然后查询IPv4地址的地理位置信息,结合IPv4地址-IPv6地址-rDNS主机名映射,形成第三IPv6地址-地理位置信息映射。Fig. 5 is the example diagram of the establishment process of the IPv6 address-geographic location information mapping provided by the embodiment of the present disclosure; Abandon the AAAA record without corresponding IPv6 address, keep the AAAA record with corresponding IPv6 address, form IPv4 address-IPv6 address-rDNS host name mapping; then query the geographical location information of IPv4 address, combine IPv4 address-IPv6 address-rDNS host name mapping to form a third IPv6 address-geographic location information mapping.
可以理解的是,通过基于IPv4地址和IPv6地址同源的关联关系建立IPv6地址-地理位置信息映射,进一步丰富了IPv6地址地理位置库,利于IPv6地址的定位。It can be understood that by establishing the IPv6 address-geographic location information mapping based on the same source relationship between the IPv4 address and the IPv6 address, the IPv6 address geographic location library is further enriched, which is beneficial to the positioning of the IPv6 address.
S15、基于IPv6路由前缀-地理位置信息映射、第一IPv6地址-地理位置信息映射、第二IPv6地址-地理位置信息映射和第三IPv6地址-地理位置信息映射,创建IPv6地址地理位置库。S15. Create an IPv6 address geographic location database based on the IPv6 routing prefix-geographic location information mapping, the first IPv6 address-geographic location information mapping, the second IPv6 address-geographic location information mapping, and the third IPv6 address-geographic location information mapping.
S16、将待定位IPv6地址输入IPv6地址地理位置库,得到待定位IPv6地址对应的地理位置。S16. Input the IPv6 address to be located into the IPv6 address geographic location database, and obtain the geographic location corresponding to the IPv6 address to be located.
可以理解的是,该基于IPv4地址地理位置信息的IPv6地址定位方法,通过分析IP路由前缀归属自治系统的城市覆盖度、IPv6地址的接口标识中嵌入IPv4地址的特征、IP地址反向解析字符串涵盖的地理位置信息,并且获得IPv4地址和IPv6地址同源的关联关系,构建IPv6地址地理位置库,经由该IPv6地址地理位置库获得的IPv6地理位置的粒度较细,且无需探测节点,避免大规模地址扫描、精确度较高。It can be understood that the IPv6 address positioning method based on the geographic location information of the IPv4 address analyzes the city coverage of the autonomous system that the IP routing prefix belongs to, the characteristics of the IPv4 address embedded in the interface identifier of the IPv6 address, and the reverse analysis of the string of the IP address. The geographic location information covered, and obtain the same-source association relationship between IPv4 addresses and IPv6 addresses, and build an IPv6 address geographic location library. Scale address scanning, high accuracy.
需要说明的是,本公开实施例的方法可以由单个设备执行,例如一台计算机或服务器等。本实施例的方法也可以应用于分布式场景下,由多台设备相互配合来完成。在这种分布式场景的情况下,这多台设备中的一台设备可以只执行本公开实施例的方法中的某一个或多个步骤,这多台设备相互之间会进行交互以完成所述的方法。It should be noted that the methods in the embodiments of the present disclosure may be executed by a single device, such as a computer or a server. The method of this embodiment can also be applied in a distributed scenario, and is completed by cooperation of multiple devices. In the case of such a distributed scenario, one of the multiple devices may only perform one or more steps in the method of the embodiment of the present disclosure, and the multiple devices will interact with each other to complete all described method.
需要说明的是,上述对本公开的一些实施例进行了描述。其它实施例在所附权利要求书的范围内。在一些情况下,在权利要求书中记载的动作或步骤可以按照不同于上述实施例中的顺序来执行并且仍然可以实现期望的结果。另外,在附图中描绘的过程不一定要求示出的特定顺序或者连续顺序才能实现期望的结果。在某些实施方式中,多任务处理和并行处理也是可以的或者可能是有利的。It should be noted that some embodiments of the present disclosure are described above. Other implementations are within the scope of the following claims. In some cases, the actions or steps recited in the claims can be performed in an order different from those in the above-described embodiments and still achieve desirable results. In addition, the processes depicted in the accompanying figures do not necessarily require the particular order shown, or sequential order, to achieve desirable results. Multitasking and parallel processing are also possible or may be advantageous in certain embodiments.
基于同一发明构思,与上述任意实施例方法相对应的,本公开还提供了一种电子设备,包括存储器、处理器及存储在存储器上并可在处理器上运行的计算机程序,所述处理器执行所述程序时实现上任意一实施例所述的基于IPv4地址地理位置信息的IPv6地址定位方法。Based on the same inventive concept, and corresponding to the methods in any of the above embodiments, the present disclosure also provides an electronic device, including a memory, a processor, and a computer program stored in the memory and operable on the processor, the processor When the program is executed, the IPv6 address location method based on the geographic location information of the IPv4 address described in any one of the above embodiments is realized.
图6示出了本实施例所提供的一种更为具体的电子设备硬件结构示意图,该设备可以包括:处理器1010、存储器1020、输入/输出接口1030、通信接口1040和总线1050。其中处理器1010、存储器1020、输入/输出接口1030和通信接口1040通过总线1050实现彼此之间在设备内部的通信连接。FIG. 6 shows a schematic diagram of a more specific hardware structure of an electronic device provided by this embodiment. The device may include: a
处理器1010可以采用通用的CPU(Central Processing Unit,中央处理器)、微处理器、应用专用集成电路(Application Specific Integrated Circuit,ASIC)、或者一个或多个集成电路等方式实现,用于执行相关程序,以实现本说明书实施例所提供的技术方案。The
存储器1020可以采用ROM(Read Only Memory,只读存储器)、RAM(Random AccessMemory,随机存取存储器)、静态存储设备,动态存储设备等形式实现。存储器1020可以存储操作系统和其他应用程序,在通过软件或者固件来实现本说明书实施例所提供的技术方案时,相关的程序代码保存在存储器1020中,并由处理器1010来调用执行。The memory 1020 may be implemented in the form of ROM (Read Only Memory, read only memory), RAM (Random Access Memory, random access memory), static storage device, dynamic storage device, and the like. The memory 1020 can store operating systems and other application programs. When implementing the technical solutions provided by the embodiments of this specification through software or firmware, the relevant program codes are stored in the memory 1020 and invoked by the
输入/输出接口1030用于连接输入/输出模块,以实现信息输入及输出。输入输出/模块可以作为组件配置在设备中(图中未示出),也可以外接于设备以提供相应功能。其中输入设备可以包括键盘、鼠标、触摸屏、麦克风、各类传感器等,输出设备可以包括显示器、扬声器、振动器、指示灯等。The input/
通信接口1040用于连接通信模块(图中未示出),以实现本设备与其他设备的通信交互。其中通信模块可以通过有线方式(例如USB、网线等)实现通信,也可以通过无线方式(例如移动网络、WIFI、蓝牙等)实现通信。The
总线1050包括一通路,在设备的各个组件(例如处理器1010、存储器1020、输入/输出接口1030和通信接口1040)之间传输信息。
需要说明的是,尽管上述设备仅示出了处理器1010、存储器1020、输入/输出接口1030、通信接口1040以及总线1050,但是在具体实施过程中,该设备还可以包括实现正常运行所必需的其他组件。此外,本领域的技术人员可以理解的是,上述设备中也可以仅包含实现本说明书实施例方案所必需的组件,而不必包含图中所示的全部组件。It should be noted that although the above device only shows the
上述实施例的电子设备用于实现前述任一实施例中相应的基于IPv4地址地理位置信息的IPv6地址定位方法,并且具有相应的方法实施例的有益效果,在此不再赘述。The electronic device in the above-mentioned embodiments is used to implement the corresponding IPv6 address location method based on the geographical location information of the IPv4 address in any of the above-mentioned embodiments, and has the beneficial effects of the corresponding method embodiments, which will not be repeated here.
需要说明的是,本公开的实施例还可以以下方式进一步描述:It should be noted that the embodiments of the present disclosure can also be further described in the following ways:
一种基于IPv4地址地理位置信息的IPv6地址定位方法,包括:A method for locating an IPv6 address based on geographic location information of an IPv4 address, comprising:
分析IP路由前缀归属自治系统的城市覆盖度,建立IPv6路由前缀-地理位置信息映射;Analyze the city coverage of the autonomous system where the IP routing prefix belongs, and establish IPv6 routing prefix-geographic information mapping;
分析IPv6地址的接口标识中嵌入IPv4地址的特征,建立第一IPv6地址-地理位置信息映射;Analyze the characteristics of the IPv4 address embedded in the interface identifier of the IPv6 address, and establish the first IPv6 address-geographic location information mapping;
基于位置语义分析获得IPv6地址反向域名解析字符串涵盖的地理位置信息,建立第二IPv6地址-地理位置信息映射;Obtaining geographic location information covered by the reverse domain name resolution string of the IPv6 address based on location semantic analysis, and establishing a second IPv6 address-geographic location information mapping;
基于获取的IPv4地址和IPv6地址同源的关联关系,建立第三IPv6地址-地理位置信息映射;Establishing a third IPv6 address-geographic location information mapping based on the obtained IPv4 address and IPv6 address homologous association;
基于所述IPv6路由前缀-地理位置信息映射、所述第一IPv6地址-地理位置信息映射、所述第二IPv6地址-地理位置信息映射和所述第三IPv6地址-地理位置信息映射,创建IPv6地址地理位置库;Based on the IPv6 routing prefix-geographic location information mapping, the first IPv6 address-geographic location information mapping, the second IPv6 address-geographic location information mapping and the third IPv6 address-geographic location information mapping, create an IPv6 Address geolocation library;
将待定位IPv6地址输入所述IPv6地址地理位置库,得到所述待定位IPv6地址对应的地理位置。Inputting the IPv6 address to be located into the IPv6 address geographic location database to obtain the geographic location corresponding to the IPv6 address to be located.
可选地,所述分析IP路由前缀归属自治系统的城市覆盖度,建立IPv6路由前缀-地理位置信息映射,包括:Optionally, the analysis of the city coverage of the autonomous system attributable to the IP routing prefix, and the establishment of IPv6 routing prefix-geographic location information mapping include:
通过各自治系统宣告的IPv4路由前缀分别确定各自治系统的覆盖范围,并筛选IPv4路由前缀位于单一城市的自治系统,查询IPv4路由前缀位于单一城市的自治系统对应的IPv6路由前缀,得到IPv6路由前缀-地理位置信息映射。Determine the coverage of each autonomous system through the IPv4 routing prefixes announced by each autonomous system, and filter the autonomous systems with IPv4 routing prefixes located in a single city, query the IPv6 routing prefixes corresponding to the autonomous systems with IPv4 routing prefixes located in a single city, and obtain the IPv6 routing prefix - Geolocation information mapping.
可选地,所述分析IP路由前缀归属自治系统的城市覆盖度,建立IPv6路由前缀-地理位置信息映射,具体包括:Optionally, the analysis of the city coverage of the autonomous system that the IP routing prefix belongs to, and the establishment of IPv6 routing prefix-geographic location information mapping specifically include:
筛选同时宣告IPv4路由前缀与IPv6路由前缀的自治系统;Filter autonomous systems that announce both IPv4 routing prefixes and IPv6 routing prefixes;
根据IPv4地址地理位置库查询筛选得到的各自治系统中每个IPv4路由前缀的地理位置信息,得到IPv4路由前缀-AS-地理位置信息映射;According to the geographic location information of each IPv4 routing prefix in each autonomous system obtained by querying and filtering the IPv4 address geographic location library, the IPv4 routing prefix-AS-geographic location information mapping is obtained;
对所述IPv4路由前缀-AS-地理位置信息映射进行自治系统分类,得到AS-地理位置信息映射;Carrying out autonomous system classification to described IPv4 route prefix-AS-geographic location information mapping, obtains AS-geographic location information mapping;
基于所述AS-地理位置信息映射,筛选地理位置信息中仅包括单个城市的自治系统;Based on the AS-geographic location information mapping, the screening geographic location information only includes autonomous systems of a single city;
查询地理位置信息中仅包括单个城市的各自治系统对应的IPv6路由前缀,并根据所述AS-地理位置信息映射,建立IPv6路由前缀-地理位置信息映射。Only the IPv6 routing prefix corresponding to each autonomous system of a single city is included in the query geographic location information, and an IPv6 routing prefix-geographic location information mapping is established according to the AS-geographic location information mapping.
可选地,所述分析IPv6地址的接口标识中嵌入IPv4地址的特征,建立第一IPv6地址-地理位置信息映射,包括:Optionally, said analyzing the characteristics of the IPv4 address embedded in the interface identifier of the IPv6 address, and establishing the first IPv6 address-geographic location information mapping includes:
筛选IPv6地址集中基于IPv4地址生成接口标识的IPv6地址,提取筛选得到的各IPv6地址中嵌入的IPv4地址,并确定提取得到的各IPv4地址的地理位置信息,建立第一IPv6地址-地理位置信息映射。Screen the IPv6 address set based on the IPv4 address to generate the IPv6 address of the interface identifier, extract the IPv4 address embedded in each IPv6 address obtained after screening, and determine the geographic location information of each IPv4 address obtained after extraction, and establish the first IPv6 address-geographic location information mapping .
可选地,所述分析IPv6地址的接口标识中嵌入IPv4地址的特征,建立第一IPv6地址-地理位置信息映射,具体包括:Optionally, said analyzing the characteristics of the IPv4 address embedded in the interface identifier of the IPv6 address, and establishing the first IPv6 address-geographic location information mapping specifically includes:
获取IPv6地址集;Get IPv6 address set;
分析所述IPv6地址集中各IPv6地址的接口标识的生成方式;Analyzing the generation method of the interface identification of each IPv6 address in the IPv6 address set;
筛选所述IPv6地址集中接口标识为基于IPv4地址编码的IPv6地址;Screening the interface in the IPv6 address set is identified as an IPv6 address based on IPv4 address encoding;
提取筛选得到的各IPv6地址的接口标识中嵌入的IPv4地址;Extracting the IPv4 address embedded in the interface identifier of each IPv6 address obtained after screening;
基于IPv4地址地理位置库确定提取得到的各IPv4地址的地理位置信息,建立第一IPv6地址-地理位置信息映射。The extracted geographic location information of each IPv4 address is determined based on the IPv4 address geographic location database, and a first IPv6 address-geographic location information mapping is established.
可选地,所述基于位置语义分析获得IPv6地址反向域名解析字符串涵盖的地理位置信息,建立第二IPv6地址-地理位置信息映射,包括:Optionally, the geographical location information covered by the IPv6 address reverse domain name resolution string is obtained based on the location semantic analysis, and the second IPv6 address-geographic location information mapping is established, including:
探测IPv6地址集中各IPv6地址的路由路径,并将探测到的各路由路径中的每跳IPv6地址汇总去重后进行反向域名解析得到其对应的主机名字符串,确定解析得到的各主机名字符串的位置信息,建立第二IPv6地址-地理位置信息映射。Detect the routing path of each IPv6 address in the IPv6 address set, summarize and deduplicate the IPv6 addresses of each hop in each detected routing path, and then perform reverse domain name analysis to obtain the corresponding host name string, and determine the host name obtained by the analysis The location information of the character string is used to establish a second IPv6 address-geographic location information mapping.
可选地,所述基于位置语义分析获得IPv6地址反向域名解析字符串涵盖的地理位置信息,建立第二IPv6地址-地理位置信息映射,具体包括:Optionally, the location semantic analysis based on obtaining the geographic location information covered by the reverse domain name resolution string of the IPv6 address, and establishing a second IPv6 address-geographic location information mapping specifically includes:
获取IPv6地址集;Get IPv6 address set;
对所述IPv6地址集中的各IPv6地址进行路由路径探测;Perform routing path detection on each IPv6 address in the IPv6 address set;
将探测到的各路由路径中的每跳IPv6地址汇总去重后进行反向域名解析得到其对应的rDNS主机名字符串,建立IPv6地址-rDNS主机名映射;Summarize and deduplicate the detected IPv6 addresses of each hop in each routing path, and perform reverse domain name analysis to obtain its corresponding rDNS host name string, and establish an IPv6 address-rDNS host name mapping;
对所述IPv6地址-rDNS主机名映射中的各rDNS主机名字符串进行位置语义分析,得到rDNS主机名对应的地理位置信息,建立第二IPv6地址-地理位置信息映射。Performing location semantic analysis on each rDNS host name string in the IPv6 address-rDNS host name mapping to obtain geographic location information corresponding to the rDNS host name, and establishing a second IPv6 address-geographic location information mapping.
可选地,所述基于获取的IPv4地址和IPv6地址同源的关联关系,建立第三IPv6地址-地理位置信息映射,包括:Optionally, establishing a third IPv6 address-geographic location information mapping based on the obtained IPv4 address and IPv6 address homologous relationship includes:
对IPv4rDNS数据集中各IPv4地址对应的rDNS主机名进行AAAA记录查询,获取各IPv4地址同源的IPv6地址,确定各IPv4地址的地理位置信息,建立第三IPv6地址-地理位置信息映射。Perform AAAA record query on the rDNS hostname corresponding to each IPv4 address in the IPv4rDNS data set, obtain the IPv6 address with the same source as each IPv4 address, determine the geographic location information of each IPv4 address, and establish a third IPv6 address-geographic location information mapping.
可选地,所述基于获取的IPv4地址和IPv6地址同源的关联关系,建立第三IPv6地址-地理位置信息映射,具体包括:Optionally, establishing a third IPv6 address-geographic location information mapping based on the obtained IPv4 address and IPv6 address homologous relationship, specifically includes:
获取IPv4rDNS数据集;Get the IPv4rDNS dataset;
查询所述IPv4rDNS数据集中各IPv4地址对应的rDNS主机名的AAAA记录,筛选存在IPv6地址的AAAA记录,得到IPv4地址-IPv6地址-rDNS主机名映射;Query the AAAA record of the corresponding rDNS hostname of each IPv4 address in the IPv4rDNS data set, filter the AAAA record of the IPv6 address, and obtain the mapping of IPv4 address-IPv6 address-rDNS hostname;
基于IPv4地址地理位置库,查询各IPv4地址的地理位置信息;Based on the IPv4 address geographic location library, query the geographic location information of each IPv4 address;
基于所述IPv4地址-IPv6地址-rDNS主机名映射和各IPv4地址的地理位置信息,建立第三IPv6地址-地理位置信息映射。Based on the IPv4 address-IPv6 address-rDNS host name mapping and the geographic location information of each IPv4 address, a third IPv6 address-geographic location information mapping is established.
一种电子设备,包括存储器、处理器及存储在存储器上并可在处理器上运行的计算机程序,所述处理器执行所述程序时实现基于IPv4地址地理位置信息的IPv6地址定位方法。An electronic device includes a memory, a processor, and a computer program stored on the memory and operable on the processor. When the processor executes the program, an IPv6 address location method based on IPv4 address geographic location information is implemented.
所属领域的普通技术人员应当理解:以上任何实施例的讨论仅为示例性的,并非旨在暗示本公开的范围(包括权利要求)被限于这些例子;在本公开的思路下,以上实施例或者不同实施例中的技术特征之间也可以进行组合,步骤可以以任意顺序实现,并存在如上所述的本公开实施例的不同方面的许多其它变化,为了简明它们没有在细节中提供。Those of ordinary skill in the art should understand that: the discussion of any of the above embodiments is exemplary only, and is not intended to imply that the scope of the present disclosure (including claims) is limited to these examples; under the idea of the present disclosure, the above embodiments or Combinations between technical features in different embodiments are also possible, steps may be implemented in any order, and there are many other variations of the different aspects of the disclosed embodiments as described above, which are not provided in detail for the sake of brevity.
另外,为简化说明和讨论,并且为了不会使本公开实施例难以理解,在所提供的附图中可以示出或可以不示出与集成电路(IC)芯片和其它部件的公知的电源/接地连接。此外,可以以框图的形式示出装置,以便避免使本公开实施例难以理解,并且这也考虑了以下事实,即关于这些框图装置的实施方式的细节是高度取决于将要实施本公开实施例的平台的(即,这些细节应当完全处于本领域技术人员的理解范围内)。在阐述了具体细节(例如,电路)以描述本公开的示例性实施例的情况下,对本领域技术人员来说显而易见的是,可以在没有这些具体细节的情况下或者这些具体细节有变化的情况下实施本公开实施例。因此,这些描述应被认为是说明性的而不是限制性的。In addition, for simplicity of illustration and discussion, and so as not to obscure the embodiments of the present disclosure, well-known power/supply circuits associated with integrated circuit (IC) chips and other components may or may not be shown in the provided figures. ground connection. Furthermore, devices may be shown in block diagram form in order to avoid obscuring the embodiments of the disclosure, and this also takes into account the fact that details regarding the implementation of these block diagram devices are highly dependent on the implementation of the embodiments of the disclosure to be implemented. platform (ie, the details should be well within the purview of those skilled in the art). Where specific details (eg, circuits) have been set forth to describe example embodiments of the present disclosure, it will be apparent to those skilled in the art that other applications may be made without or with variations from these specific details. Embodiments of the present disclosure are implemented below. Accordingly, these descriptions should be regarded as illustrative rather than restrictive.
尽管已经结合了本公开的具体实施例对本公开进行了描述,但是根据前面的描述,这些实施例的很多替换、修改和变型对本领域普通技术人员来说将是显而易见的。例如,其它存储器架构(例如,动态RAM(DRAM))可以使用所讨论的实施例。Although the disclosure has been described in conjunction with specific embodiments thereof, many alternatives, modifications and variations of those embodiments will be apparent to those of ordinary skill in the art from the foregoing description. For example, other memory architectures such as dynamic RAM (DRAM) may use the discussed embodiments.
本公开实施例旨在涵盖落入所附权利要求的宽泛范围之内的所有这样的替换、修改和变型。因此,凡在本公开实施例的精神和原则之内,所做的任何省略、修改、等同替换、改进等,均应包含在本公开的保护范围之内。The disclosed embodiments are intended to embrace all such alterations, modifications and variations that fall within the broad scope of the appended claims. Therefore, any omissions, modifications, equivalent replacements, improvements, etc. made within the spirit and principles of the embodiments of the present disclosure shall fall within the protection scope of the present disclosure.
| Application Number | Priority Date | Filing Date | Title |
|---|---|---|---|
| CN202111338154.8ACN114301874B (en) | 2021-11-10 | 2021-11-10 | IPv6 address positioning method based on IPv4 address geographical position information and electronic equipment |
| Application Number | Priority Date | Filing Date | Title |
|---|---|---|---|
| CN202111338154.8ACN114301874B (en) | 2021-11-10 | 2021-11-10 | IPv6 address positioning method based on IPv4 address geographical position information and electronic equipment |
| Publication Number | Publication Date |
|---|---|
| CN114301874A CN114301874A (en) | 2022-04-08 |
| CN114301874Btrue CN114301874B (en) | 2022-11-18 |
| Application Number | Title | Priority Date | Filing Date |
|---|---|---|---|
| CN202111338154.8AActiveCN114301874B (en) | 2021-11-10 | 2021-11-10 | IPv6 address positioning method based on IPv4 address geographical position information and electronic equipment |
| Country | Link |
|---|---|
| CN (1) | CN114301874B (en) |
| Publication number | Priority date | Publication date | Assignee | Title |
|---|---|---|---|---|
| CN114745350B (en)* | 2022-04-12 | 2023-04-28 | 中国人民解放军战略支援部队信息工程大学 | IPv6 Target Location Method Based on Delay Constraint and Adjacent Sequence |
| CN116016428B (en)* | 2022-12-21 | 2024-11-29 | 天翼安全科技有限公司 | IPv6 upgrade detection method, device and system for website |
| CN116743707B (en)* | 2023-04-17 | 2024-01-23 | 清华大学 | IP geolocation method and device based on active delay detection |
| CN117499367A (en)* | 2023-10-20 | 2024-02-02 | 天翼安全科技有限公司 | Identification method, device, equipment and medium for IPv6 application service address |
| Publication number | Priority date | Publication date | Assignee | Title |
|---|---|---|---|---|
| CN110769079A (en)* | 2019-10-30 | 2020-02-07 | 杭州迪普科技股份有限公司 | Method and device for retrieving geographic position corresponding to IP |
| CN111368227A (en)* | 2018-12-25 | 2020-07-03 | 阿里巴巴集团控股有限公司 | URL processing method and device |
| CN111447292A (en)* | 2020-02-24 | 2020-07-24 | 北京邮电大学 | IPv6 geographical position positioning method, device, equipment and storage medium |
| CN112995361A (en)* | 2021-04-30 | 2021-06-18 | 鹏城实验室 | Domain name knowledge graph construction method, device, equipment and storage medium |
| Publication number | Priority date | Publication date | Assignee | Title |
|---|---|---|---|---|
| US9426626B2 (en)* | 2014-12-31 | 2016-08-23 | Yahoo! Inc. | Location uncertainty in search |
| Publication number | Priority date | Publication date | Assignee | Title |
|---|---|---|---|---|
| CN111368227A (en)* | 2018-12-25 | 2020-07-03 | 阿里巴巴集团控股有限公司 | URL processing method and device |
| CN110769079A (en)* | 2019-10-30 | 2020-02-07 | 杭州迪普科技股份有限公司 | Method and device for retrieving geographic position corresponding to IP |
| CN111447292A (en)* | 2020-02-24 | 2020-07-24 | 北京邮电大学 | IPv6 geographical position positioning method, device, equipment and storage medium |
| CN112995361A (en)* | 2021-04-30 | 2021-06-18 | 鹏城实验室 | Domain name knowledge graph construction method, device, equipment and storage medium |
| Title |
|---|
| IPv6融合树结构存储及快速查找;张沛等;《小型微型计算机系统》;20181231;全文* |
| Publication number | Publication date |
|---|---|
| CN114301874A (en) | 2022-04-08 |
| Publication | Publication Date | Title |
|---|---|---|
| CN114301874B (en) | IPv6 address positioning method based on IPv4 address geographical position information and electronic equipment | |
| Dan et al. | IP geolocation through reverse DNS | |
| Scheitle et al. | HLOC: Hints-based geolocation leveraging multiple measurement frameworks | |
| CN103220376B (en) | Method for positioning IP (Internet Protocol) by position data of mobile terminal | |
| CN107786678B (en) | Domain name resolution method, device and system | |
| CN104935676A (en) | Method and device for determining IP address segment and its corresponding latitude and longitude | |
| CN111447292B (en) | A kind of IPv6 geographic location positioning method, device, equipment and storage medium | |
| CN107613039B (en) | IP address attribution query method, device, system and storage medium | |
| JP2012530971A (en) | Characterization of unregistered domain names | |
| JP4975926B2 (en) | Network address server | |
| CN111447304B (en) | An anycast recursive domain name system anycast node IP address enumeration method and system | |
| CN104899243A (en) | Method and apparatus for detecting accuracy of POI (Point of Interest) data | |
| CN109327559B (en) | Domain name resolution method and device based on hybrid cloud platform | |
| CN101902442B (en) | Method, system and location information server for obtaining IP geographic location information | |
| CN104102707B (en) | A MapReduce Frame-Oriented Geographic Attribution Information Query Method | |
| CN114221932A (en) | IPv6 active address security assessment method and electronic equipment | |
| CN103546593A (en) | Resolution Method of Node Identifier in Wireless Sensor Networks Based on IP and Non-IP | |
| CN109995885B (en) | Domain name space structure presentation method, device, equipment and medium | |
| CN100397816C (en) | Method for classifying received data packets in network equipment | |
| CN113779165B (en) | IP address geographic position ambiguity judging method and related equipment | |
| CN104166659B (en) | A method and system for judging weight of map data | |
| CN112119614B (en) | Geographic positioning system and method | |
| JP2023508447A (en) | Content delivery system using embedded requestor information | |
| CN107231447A (en) | A kind of website spatial identification method and system | |
| CN117216426A (en) | Object information identification method, device, apparatus, storage medium and program product |
| Date | Code | Title | Description |
|---|---|---|---|
| PB01 | Publication | ||
| PB01 | Publication | ||
| SE01 | Entry into force of request for substantive examination | ||
| SE01 | Entry into force of request for substantive examination | ||
| GR01 | Patent grant | ||
| GR01 | Patent grant | ||
| TR01 | Transfer of patent right | ||
| TR01 | Transfer of patent right | Effective date of registration:20241220 Address after:No. 481, 1st Floor, Building B, No. 2 Yongcheng North Road, Haidian District, Beijing 100094 Patentee after:Beian Shutong (Beijing) Technology Co.,Ltd. Country or region after:China Address before:100876 Beijing city Haidian District Xitucheng Road No. 10 Patentee before:Beijing University of Posts and Telecommunications Country or region before:China |