Movatterモバイル変換


[0]ホーム

URL:


CN114236850A - Head-up display device capable of presenting far and near virtual images - Google Patents

Head-up display device capable of presenting far and near virtual images
Download PDF

Info

Publication number
CN114236850A
CN114236850ACN202111667169.9ACN202111667169ACN114236850ACN 114236850 ACN114236850 ACN 114236850ACN 202111667169 ACN202111667169 ACN 202111667169ACN 114236850 ACN114236850 ACN 114236850A
Authority
CN
China
Prior art keywords
coupling
waveguide
region
light
head
Prior art date
Legal status (The legal status is an assumption and is not a legal conclusion. Google has not performed a legal analysis and makes no representation as to the accuracy of the status listed.)
Pending
Application number
CN202111667169.9A
Other languages
Chinese (zh)
Inventor
赵云
饶轶
Current Assignee (The listed assignees may be inaccurate. Google has not performed a legal analysis and makes no representation or warranty as to the accuracy of the list.)
Goertek Optical Technology Co Ltd
Original Assignee
Goertek Inc
Priority date (The priority date is an assumption and is not a legal conclusion. Google has not performed a legal analysis and makes no representation as to the accuracy of the date listed.)
Filing date
Publication date
Application filed by Goertek IncfiledCriticalGoertek Inc
Priority to CN202111667169.9ApriorityCriticalpatent/CN114236850A/en
Publication of CN114236850ApublicationCriticalpatent/CN114236850A/en
Pendinglegal-statusCriticalCurrent

Links

Images

Classifications

Landscapes

Abstract

Translated fromChinese

本发明公开了一种可呈现远近虚像的平视显示设备,至少包括第一波导、第一光机和第一光线控制装置,第一波导的第一耦入区使第一光机出射的光线进入第一波导,第一波导的第一耦出区使来自第一耦入区的光线至少部分耦合到第一波导之外。第一光线控制装置设置于第一耦出区远离第一波导的一侧,使得第一耦出区的至少部分区域发射出的光线传播方向发生偏折,使得第一耦出区的至少部分区域发射出的光线形成像的像距改变,从而使由第一波导的第一耦出区至少部分区域出射的光线形成像的像距,与由第一波导的第一耦出区其它区域出射的光线形成像的像距不同。因此,本发明平视显示设备可以呈现出不同距离的虚像,使虚拟图像能够与真实环境很好地对应。

Figure 202111667169

The invention discloses a head-up display device capable of presenting near and far virtual images, which at least comprises a first waveguide, a first optical machine and a first light control device. The first coupling region of the first waveguide allows the light emitted by the first optical machine to enter The first waveguide, the first out-coupling region of the first waveguide causes light from the first in-coupling region to couple at least partially out of the first waveguide. The first light control device is arranged on the side of the first coupling-out region away from the first waveguide, so that the propagation direction of the light emitted from at least part of the first coupling-out region is deflected, so that at least part of the first coupling-out region is The image distance formed by the emitted light is changed, so that the image distance formed by the light emitted from at least part of the first out-coupling region of the first waveguide is different from the image distance of the light emitted from other regions of the first out-coupling region of the first waveguide. The image distances formed by the light rays are different. Therefore, the head-up display device of the present invention can present virtual images at different distances, so that the virtual images can correspond well with the real environment.

Figure 202111667169

Description

Head-up display device capable of presenting far and near virtual images
Technical Field
The invention relates to the technical field of virtual reality display, in particular to head-up display equipment capable of presenting far and near virtual images.
Background
Head-Up Display equipment (HUD) is thrown out light by the ray apparatus based on Virtual Reality (Virtual Reality, VR), and light gets into the waveguide, waveguide transmission light and outcoupled light, thereby light gets into people's eye through windshield reflection, makes people's eye can see the Virtual image that is located infinity.
The virtual image formed by the AR-HUD would theoretically be at infinity. However, in an actual driving environment, objects below the field of view of human eyes are closer, objects above the field of view are farther, for example, a vehicle hood is close, a road ahead is farther, and a virtual image presented cannot correspond to a real environment well, so that the use experience of a user is reduced.
Disclosure of Invention
An object of the present invention is to provide a head-up display apparatus that can present virtual images at different distances, enabling the virtual images to correspond well to a real environment.
In order to achieve the purpose, the invention provides the following technical scheme:
a head-up display device capable of presenting a virtual near-far image, comprising at least a first waveguide and a first optical engine, the first waveguide comprising a first in-coupling region for light rays exiting the first optical engine to enter the first waveguide and a first out-coupling region for coupling light rays from the first in-coupling region at least partially out of the first waveguide;
the first light control device is arranged on one side, far away from the first waveguide, of the first coupling-out area and used for enabling the propagation direction of light emitted by at least part of the area of the first coupling-out area to be deflected, and enabling the image distance of light emitted by at least part of the area of the first coupling-out area to be imaged to be changed.
Preferably, the first light control means comprises a first optical element for diverging the passing light rays, or the first light control means comprises a second optical element for converging the passing light rays.
Preferably, the first light controlling means includes a concave lens, a plano-concave lens, a convex lens or a plano-convex lens.
Preferably, the first light control device is configured to deflect a propagation direction of light emitted from an area below the windshield corresponding to the first coupling-out area, or the first light control device is configured to deflect a propagation direction of light emitted from an area above the windshield corresponding to the first coupling-out area.
Preferably, the light source device further includes a plurality of first light control devices, and each of the first light control devices deflects the propagation direction of light emitted from a different region of the first coupling-out region.
Preferably, the optical waveguide further comprises a second waveguide and a second optical engine, the second waveguide comprises a second coupling-in region and a second coupling-out region, the second coupling-in region is used for enabling light emitted by the second optical engine to enter the second waveguide, and the second coupling-out region is used for enabling light from the second coupling-in region to be at least partially coupled out of the second waveguide.
Preferably, a normal to the second waveguide plane is not parallel to a normal to the first waveguide plane.
Preferably, the light emitted from the first coupling-out region of the first waveguide is incident on a first region of a windshield, and the light emitted from the second coupling-out region of the second waveguide is incident on a second region of the windshield, and the first region and the second region are regions of the windshield having different positions in the vertical direction.
Preferably, the optical waveguide further includes a second light control device disposed on a side of the second coupling-out region away from the second waveguide, where the second light control device is configured to deflect a propagation direction of light emitted from at least a partial region of the second coupling-out region, so that an image distance of a line-shaped image of light emitted from at least the partial region of the second coupling-out region is changed.
Preferably, the optical waveguide further comprises a third optical transmitter, the first waveguide further comprises a third coupling-in region, the third coupling-in region is used for enabling light emitted by the third optical transmitter to enter the first waveguide, and the first coupling-out region is further used for enabling light from the third coupling-in region to be at least partially coupled out of the first waveguide.
As can be seen from the foregoing technical solutions, the head-up display device capable of presenting a near-far virtual image provided by the present invention at least includes a first waveguide, a first optical engine, and a first light ray control device, where a first coupling-in region of the first waveguide enables light rays exiting from the first optical engine to enter the first waveguide, and a first coupling-out region of the first waveguide enables light rays from the first coupling-in region to be at least partially coupled out of the first waveguide. The first light control device is arranged on one side of the first coupling-out area far away from the first waveguide, so that the propagation direction of light emitted by at least part of the area of the first coupling-out area is deflected, the image distance of light line-shaped images emitted by at least part of the area of the first coupling-out area is changed, and the image distance of the light emitted by at least part of the area of the first coupling-out area of the first waveguide is different from the image distance of light line-shaped images emitted by other areas of the first coupling-out area of the first waveguide. Therefore, the head-up display device of the present invention can present virtual images at different distances, enabling the virtual images to correspond well to the real environment.
Drawings
In order to more clearly illustrate the embodiments of the present invention or the technical solutions in the prior art, the drawings used in the description of the embodiments or the prior art will be briefly described below, it is obvious that the drawings in the following description are only some embodiments of the present invention, and for those skilled in the art, other drawings can be obtained according to the drawings without creative efforts.
Fig. 1 is a schematic diagram of a head-up display device capable of presenting a virtual far-near image according to an embodiment of the present invention;
fig. 2 is a schematic optical path diagram of a head-up display device capable of presenting a virtual far-near image according to an embodiment of the present invention;
fig. 3 is a schematic optical path diagram of a head-up display device capable of presenting a virtual far-near image according to another embodiment of the present invention;
fig. 4 is a schematic diagram of a head-up display apparatus capable of presenting a virtual far-near image according to another embodiment of the present invention;
fig. 5 is a schematic diagram of a head-up display device capable of presenting a virtual far-near image according to another embodiment of the present invention.
Detailed Description
In order to make those skilled in the art better understand the technical solution of the present invention, the technical solution in the embodiment of the present invention will be clearly and completely described below with reference to the drawings in the embodiment of the present invention, and it is obvious that the described embodiment is only a part of the embodiment of the present invention, and not all embodiments. All other embodiments, which can be derived by a person skilled in the art from the embodiments given herein without making any creative effort, shall fall within the protection scope of the present invention.
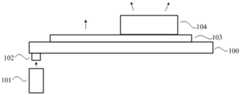
Referring to fig. 1, fig. 1 is a schematic view of a head-up display device capable of presenting a near-far virtual image according to this embodiment, as shown in the figure, the head-up display device at least includes afirst waveguide 100 and a firstoptical engine 101, thefirst waveguide 100 includes a first coupling-inregion 102 and a first coupling-outregion 103, the first coupling-inregion 102 is used for enabling light emitted from the firstoptical engine 101 to enter thefirst waveguide 100, and the first coupling-outregion 103 is used for enabling light from the first coupling-inregion 102 to be at least partially coupled out of thefirst waveguide 100;
the optical waveguide device further includes a firstlight control device 104 disposed on a side of the first coupling-outregion 103 away from thefirst waveguide 100, where the firstlight control device 104 is configured to deflect a propagation direction of light emitted from at least a partial region of the first coupling-outregion 103, so that an image distance of line imaging of light emitted from at least a partial region of the first coupling-outregion 103 is changed.
The waveguide is a waveguide structure capable of guiding light to propagate. The optical machine corresponds to the coupling-in area of the waveguide, and the coupling-in area enables light emitted by the optical machine corresponding to the coupling-in area to enter the waveguide. When the light propagating along the waveguide reaches the outcoupling region, at least a part of the light is emitted out of the waveguide through the outcoupling region. The light is reflected by the windshield and enters human eyes, so that the human eyes can see the image.
The image distance of the line-shaped image of the light emitted by the coupling-out region of the waveguide refers to the distance from the corresponding virtual image to the viewing position, wherein the image distance is formed by the light emitted by the coupling-out region of the waveguide.
The light emitted from the first coupling-outregion 103 of thefirst waveguide 100 passes through the firstlight control device 104, so that the propagation direction of the light emitted from at least a partial region of the first coupling-outregion 103 is deflected, and the image distance of the line image formed by the light emitted from at least a partial region of the first coupling-outregion 103 is changed. Thus, the image distance of the image formed by the light rays emitted from at least a partial region of thefirst outcoupling region 103 of thefirst waveguide 100 is made different from the image distance of the image formed by the light rays emitted from the other regions of thefirst outcoupling region 103 of thefirst waveguide 100, and therefore the present head-up display apparatus can present virtual images at different distances, enabling the virtual images to correspond well to the real environment.
In this embodiment, the specific manner of deflecting the light propagation direction by the firstlight control device 104 is not limited, and the image distance of the light emitted from the first coupling-out region for linear imaging can be changed. Alternatively, the firstlight control device 104 may comprise a first optical element for diverging the passing light, and the light is deflected outwards after passing through the first optical element to increase the angle of the light, so as to change the image distance of the linear image of the light emitted from thefirst outcoupling region 103 of thefirst waveguide 100. Referring to fig. 2, fig. 2 is a schematic optical path diagram of a head-up display device capable of presenting a near-far virtual image according to an embodiment, as shown in the figure, a firstoptical element 105 is disposed on a side of the first coupling-outregion 103 away from thefirst waveguide 100, and the firstoptical element 105 disperses passing light rays. The firstoptical element 105 covers a portion of the first coupling-outregion 103, so that the light emitted from the region corresponding to the first coupling-outregion 103 is diffused. This portion of the light is reflected through thewindshield 109 and enters the viewing position, which corresponds to thevirtual image 107. Light rays emitted from other areas of the first coupling-outregion 103 are reflected by thewindshield 109 and enter the viewing position, and accordingly form avirtual image 108. Then the image distance of the part of the light rays formed by the line is reduced due to the deflection of the light rays by the firstoptical element 105, compared with the light rays emitted from other regions of the first coupling-outregion 103, i.e. the virtual image distance corresponding to the part of the light rays is shortened.
In this embodiment, the specific structure of the firstoptical element 105 is not limited, and the passing light can be diffused. The firstoptical element 105 may employ, but is not limited to, a concave lens or a plano-concave lens.
Alternatively, the firstlight control device 104 may comprise a second optical element for converging the passing light, and the light is converged by deflecting the passing light to the center, so that the image distance of the line image of the light emitted from the first coupling-outregion 103 of thefirst waveguide 100 is changed correspondingly. Referring to fig. 3, fig. 3 is a schematic optical path diagram of a head-up display device capable of presenting a near-far virtual image according to yet another embodiment, as shown in the figure, a secondoptical element 106 is disposed on a side of the first coupling-outregion 103 away from thefirst waveguide 100, and the secondoptical element 106 converges the passing light. This portion of the light is reflected through thewindshield 109 and enters the viewing position, which corresponds to thevirtual image 108. Light rays emitted from other regions of thefirst outcoupling region 103 are reflected by thewindshield 109 and enter the viewing position, and avirtual image 107 is formed correspondingly. Then the image distance of the part of the light rays imaged by the light rays is increased due to the deflection action of the secondoptical element 106 on the light rays compared with the light rays emitted from other areas of the first coupling-outregion 103, i.e. the virtual image distance corresponding to the part of the light rays is further away.
In this embodiment, the specific structure of the secondoptical element 106 is not limited, and the passing light can be converged. The secondoptical element 106 may employ, but is not limited to, a convex lens or a plano-convex lens.
Alternatively, the firstlight control device 104 may be arranged to deflect the propagation direction of the light emitted from the region of the first coupling-outregion 103 corresponding to the area below the windshield, so that the image distance of the light emitted from thefirst waveguide 100 and incident below the windshield to form an image is changed. Generally, in an actual driving environment, an object under the field of vision of human eyes, such as a vehicle hood, is closer, and in order to make a virtual image presented correspond to the actual environment better, the firstlight control device 104 may reduce an image distance at which light emitted from thefirst waveguide 100 and incident below a windshield corresponds to form an image, so that the image corresponds to the actual environment better.
Optionally, the firstlight control device 104 may deflect the propagation direction of the light emitted from the area above the windshield corresponding to the first coupling-outregion 103, so that the image distance of the light emitted from thefirst waveguide 100 and incident above the windshield to form an image is changed correspondingly. For example, in an actual driving environment, a front road or a front building such as a bridge or a tunnel is far away in an equidistant manner, and the image distance of the image formed by the light emitted by thefirst waveguide 100 and incident above the windshield is increased by the firstlight control device 104, so that the virtual image is better corresponding to an object located far away in the actual environment, and the use experience of a user is improved.
Alternatively, the firstlight control device 104 may deflect the propagation direction of the light emitted from the region of the first coupling-outregion 103 corresponding to the left portion of the windshield, so that the distance between the light emitted from thefirst waveguide 100 and incident on the left portion of the windshield to form an image is changed. Similarly, the light emitted from thefirst waveguide 100 and incident on the right portion of the windshield may also be changed in image distance corresponding to the image formed by deflecting the propagation direction of the light emitted from the region of the first coupling-outregion 103 corresponding to the right portion of the windshield by the firstlight control device 104.
Optionally, a plurality of first light control devices may be included, and each first light control device deflects the propagation direction of the light emitted from different areas of the first coupling-outregion 103, so as to correspondingly change the image distance of the linear imaging of the light emitted from different areas of the first coupling-outregion 103. In addition, each of the firstlight controlling devices 104 makes the light emitted from different regions of the first coupling-outregion 103 form image distances of images, and the amount of change of the image distances may be different, so that the light emitted from different regions of the first coupling-outregion 103 respectively form virtual images with different distances. In practical applications, the image distance change amount caused by each firstlight control device 104 can be flexibly set according to display requirements, for example, can be determined according to the position of an object in the real environment. For example, in a real environment, if an object is near, the virtual image displayed corresponding to the object may be closer to the object by the first light control device; if the object in the real environment is far away, the virtual image can be displayed at a longer distance through the first light control device.
Further preferably, on the basis of the above embodiment, the head-up display device may further include a second waveguide and a second optical engine, the second waveguide includes a second coupling-in region and a second coupling-out region, the second coupling-in region is used for enabling the light emitted by the second optical engine to enter the second waveguide, and the second coupling-out region is used for enabling the light from the second coupling-in region to be at least partially coupled out of the second waveguide. Then, the light emitted from the first coupling-out region of the first waveguide and the light emitted from the second coupling-out region of the second waveguide are reflected by the windshield into the human eye, so that the light emitted from the first coupling-out region of the first waveguide and the light emitted from the second coupling-out region of the second waveguide combine to form a presented image.
The head-up display device capable of presenting far and near virtual images is provided with the plurality of waveguides, and the plurality of waveguides emit light to form a presented image in a combined mode, so that the head-up display device is flexible in structure and convenient to control the presented image.
In this embodiment, the arrangement of the first waveguide and the second waveguide is not limited, and the arrangement of the first waveguide and the second waveguide may be, but is not limited to, front-back arrangement or left-right arrangement.
Preferably, the normal to the second waveguide plane may be non-parallel to the normal to the first waveguide plane. In practical application, the normal direction of each waveguide plane can be flexibly set according to the angle of the windshield, the arrangement position of each waveguide or the viewing position, so that emergent rays of each waveguide can be uniformly incident to the viewing position, and the image quality presented when the waveguide is viewed from the viewing position can meet the requirement. Referring to fig. 4, fig. 4 is a schematic diagram of a head-up display device capable of presenting a near-far virtual image according to yet another embodiment, as shown in the figure, the head-up display device includes afirst waveguide 100, a firstoptical machine 101, asecond waveguide 200, and a second optical machine 201, and light emitted from the firstoptical machine 101 enters thefirst waveguide 100. Thesecond waveguide 200 comprises a second coupling-in region 202 and a second coupling-outregion 203, light emitted from the second optical machine 201 enters thesecond waveguide 200 through the second coupling-in region 202, and the second coupling-outregion 203 enables at least part of light propagating in thesecond waveguide 200 to be coupled out of thesecond waveguide 200. Light rays emitted by thefirst outcoupling region 103 of thefirst waveguide 100 and light rays emitted by thesecond outcoupling region 203 of thesecond waveguide 200 are incident on thewindshield 109, respectively. Wherein the normal to the plane of thesecond waveguide 200 is not parallel to the normal to the plane of thefirst waveguide 100.
Alternatively, the light emitted by thefirst outcoupling region 103 of thefirst waveguide 100 is incident on a first region of the windshield, and the light emitted by thesecond outcoupling region 203 of thesecond waveguide 200 is incident on a second region of the windshield, the first region and the second region each being a region where the position of the windshield in the vertical direction is different. Referring to fig. 4, the first area and the second area may be an upper area and a lower area of thewindshield 109, respectively.
Optionally, the optical waveguide further includes a second light control device disposed on a side of the second coupling-out region away from the second waveguide, where the second light control device is configured to deflect a propagation direction of light emitted from at least a partial region of the second coupling-out region, so that an image distance of a line image formed by light emitted from at least the partial region of the second coupling-out region is changed. The light emitted by the second coupling-out region of the second waveguide passes through the second light control device, so that the propagation direction of the light emitted by at least part of the region of the second coupling-out region is deflected, and the image distance of the linear imaging of the light emitted by at least part of the region of the second coupling-out region is changed. Therefore, the image distance of the image formed by the light rays emitted from at least partial region of the second coupling-out region of the second waveguide is different from the image distance of the image formed by the light rays emitted from other regions of the second coupling-out region of the second waveguide, so that the head-up display device can present virtual images with different distances, and the virtual images can well correspond to the real environment.
Further preferably, on the basis of the above embodiments, the head-up display device may further include a third optical machine, the first waveguide further includes a third coupling-in region, the third coupling-in region is configured to enable light emitted by the third optical machine to enter the first waveguide, and the first coupling-out region is further configured to enable light from the third coupling-in region to be at least partially coupled out of the first waveguide.
For the first waveguide, the light rays projected by the first optical machine and the third optical machine are respectively emitted out of the first waveguide through the first coupling-out region of the first waveguide, and the light rays correspondingly coupled out by the optical machines are converged to form the light rays emitted by the first waveguide. Therefore, the head-up display apparatus of the present embodiment can improve the image luminance by using a plurality of photomasks. Referring to fig. 5 in combination, fig. 5 is a schematic diagram of a head-up display device capable of presenting a near-far virtual image according to another embodiment, as shown in the figure, light emitted from the firstoptical machine 101 enters thefirst waveguide 100 through thefirst incoupling region 102, light emitted from the thirdoptical machine 110 enters thefirst waveguide 100 through thethird incoupling region 111, and thefirst incoupling region 103 at least partially couples light from thefirst incoupling region 102 and thethird incoupling region 111 out of thefirst waveguide 100.
Further preferably, on the basis of the above embodiments, the head-up display device may further include a fourth optical engine, the second waveguide further includes a fourth coupling-in region, the fourth coupling-in region is used for enabling light emitted by the fourth optical engine to enter the second waveguide, and the second coupling-out region is used for enabling light from the fourth coupling-in region to be at least partially coupled out of the second waveguide.
For the second waveguide, the light rays projected by the second optical machine and the fourth optical machine are respectively emitted out of the second waveguide through the second coupling-out region of the second waveguide, and the light rays correspondingly coupled out by the optical machines are converged to form the light rays emitted by the second waveguide. Therefore, the head-up display apparatus of the present embodiment can improve the image luminance by using a plurality of photomasks.
The head-up display apparatus capable of presenting a virtual far-near image according to the present invention is described in detail above. The principles and embodiments of the present invention are explained herein using specific examples, which are presented only to assist in understanding the method and its core concepts. It should be noted that, for those skilled in the art, it is possible to make various improvements and modifications to the present invention without departing from the principle of the present invention, and those improvements and modifications also fall within the scope of the claims of the present invention.

Claims (10)

Translated fromChinese
1.一种可呈现远近虚像的平视显示设备,其特征在于,至少包括第一波导和第一光机,所述第一波导包括第一耦入区和第一耦出区,所述第一耦入区用于使所述第一光机出射的光线进入所述第一波导,所述第一耦出区用于使来自所述第一耦入区的光线至少部分耦合到所述第一波导之外;1. A head-up display device capable of presenting near and far virtual images, characterized in that it comprises at least a first waveguide and a first optical machine, the first waveguide includes a first coupling-in region and a first coupling-out region, and the first The coupling-in region is used for making the light emitted from the first optical machine enter the first waveguide, and the first coupling-out region is used for at least partially coupling the light from the first coupling-in region to the first outside the waveguide;还包括第一光线控制装置,设置于所述第一耦出区远离所述第一波导的一侧,所述第一光线控制装置用于使得所述第一耦出区的至少部分区域发射出的光线传播方向发生偏折,使得所述第一耦出区的至少部分区域发射出的光线形成像的像距改变。It also includes a first light control device, disposed on the side of the first coupling-out region away from the first waveguide, the first light-control device is used to make at least part of the first coupling-out region emit light The propagation direction of the light beam is deflected, so that the image distance of the light formed by the light emitted from at least part of the first coupling-out region changes.2.根据权利要求1所述的可呈现远近虚像的平视显示设备,其特征在于,所述第一光线控制装置包括用于使通过光线发散的第一光学元件,或者所述第一光线控制装置包括用于使通过光线汇聚的第二光学元件。2. The head-up display device capable of presenting near and far virtual images according to claim 1, wherein the first light control device comprises a first optical element for diffusing passing light, or the first light control device A second optical element is included for focusing the passing light.3.根据权利要求2所述的可呈现远近虚像的平视显示设备,其特征在于,所述第一光线控制装置包括凹透镜、平凹透镜、凸透镜或者平凸透镜。3 . The head-up display device capable of presenting near and far virtual images according to claim 2 , wherein the first light control device comprises a concave lens, a plano-concave lens, a convex lens or a plano-convex lens. 4 .4.根据权利要求1所述的可呈现远近虚像的平视显示设备,其特征在于,所述第一光线控制装置用于使得所述第一耦出区对应挡风玻璃下方的区域发射出的光线传播方向发生偏折,或者,所述第一光线控制装置用于使得所述第一耦出区对应所述挡风玻璃上方的区域发射出的光线传播方向发生偏折。4 . The head-up display device capable of presenting near and far virtual images according to claim 1 , wherein the first light control device is configured to make the first out-coupling area correspond to the light emitted from the area under the windshield. 5 . The propagation direction is deflected, or the first light control device is configured to deflect the propagation direction of the light emitted by the first coupling-out area corresponding to the area above the windshield.5.根据权利要求1所述的可呈现远近虚像的平视显示设备,其特征在于,包括多个所述第一光线控制装置,各个所述第一光线控制装置分别使得所述第一耦出区的不同区域发射出的光线传播方向发生偏折。5 . The head-up display device capable of presenting near and far virtual images according to claim 1 , wherein the head-up display device comprises a plurality of the first light control devices, and each of the first light control devices makes the first coupling-out area respectively The direction of propagation of light emitted from different regions is deflected.6.根据权利要求1-5任一项所述的可呈现远近虚像的平视显示设备,其特征在于,还包括第二波导和第二光机,所述第二波导包括第二耦入区和第二耦出区,所述第二耦入区用于使所述第二光机出射的光线进入所述第二波导,所述第二耦出区用于使来自所述第二耦入区的光线至少部分耦合到所述第二波导之外。6. The head-up display device capable of presenting near and far virtual images according to any one of claims 1-5, further comprising a second waveguide and a second optical machine, the second waveguide comprising a second coupling region and The second coupling-out region is used for making the light emitted from the second optical machine enter the second waveguide, and the second coupling-out region is used for allowing the light from the second coupling-in region The light is at least partially coupled out of the second waveguide.7.根据权利要求6所述的可呈现远近虚像的平视显示设备,其特征在于,所述第二波导平面的法向与所述第一波导平面的法向不平行。7 . The head-up display device capable of presenting near and far virtual images according to claim 6 , wherein the normal direction of the second waveguide plane is not parallel to the normal direction of the first waveguide plane. 8 .8.根据权利要求6所述的可呈现远近虚像的平视显示设备,其特征在于,由所述第一波导的所述第一耦出区发射出的光线入射到挡风玻璃的第一区域,由所述第二波导的所述第二耦出区发射出的光线入射到所述挡风玻璃的第二区域,所述第一区域和所述第二区域分别是所述挡风玻璃沿竖向方向位置不同的区域。8 . The head-up display device capable of presenting near and far virtual images according to claim 6 , wherein the light emitted by the first out-coupling region of the first waveguide is incident on the first region of the windshield, 9 . The light emitted by the second out-coupling area of the second waveguide is incident on the second area of the windshield, and the first area and the second area are respectively the vertical direction of the windshield. Areas with different orientations and positions.9.根据权利要求6所述的可呈现远近虚像的平视显示设备,其特征在于,还包括第二光线控制装置,设置于所述第二耦出区远离所述第二波导的一侧,所述第二光线控制装置用于使得所述第二耦出区的至少部分区域发射出的光线传播方向发生偏折,使得所述第二耦出区的至少部分区域发射出的光线形成像的像距改变。9 . The head-up display device capable of presenting near and far virtual images according to claim 6 , further comprising a second light control device, disposed on a side of the second coupling-out region away from the second waveguide, so that the The second light control device is used to deflect the propagation direction of the light emitted from at least a part of the second coupling-out region, so that the light emitted from at least a part of the second coupling-out region forms an image of the image distance change.10.根据权利要求1所述的可呈现远近虚像的平视显示设备,其特征在于,还包括第三光机,所述第一波导还包括第三耦人区,所述第三耦入区用于使所述第三光机出射的光线进入所述第一波导,所述第一耦出区还用于使来自所述第三耦入区的光线至少部分耦合到所述第一波导之外。10 . The head-up display device capable of presenting near and far virtual images according to claim 1 , further comprising a third optical machine, the first waveguide further comprising a third coupling region, and the third coupling region In order to make the light emitted from the third optical machine enter the first waveguide, the first out-coupling region is also used for at least partially coupling the light from the third in-coupling region out of the first waveguide .
CN202111667169.9A2021-12-302021-12-30Head-up display device capable of presenting far and near virtual imagesPendingCN114236850A (en)

Priority Applications (1)

Application NumberPriority DateFiling DateTitle
CN202111667169.9ACN114236850A (en)2021-12-302021-12-30Head-up display device capable of presenting far and near virtual images

Applications Claiming Priority (1)

Application NumberPriority DateFiling DateTitle
CN202111667169.9ACN114236850A (en)2021-12-302021-12-30Head-up display device capable of presenting far and near virtual images

Publications (1)

Publication NumberPublication Date
CN114236850Atrue CN114236850A (en)2022-03-25

Family

ID=80745299

Family Applications (1)

Application NumberTitlePriority DateFiling Date
CN202111667169.9APendingCN114236850A (en)2021-12-302021-12-30Head-up display device capable of presenting far and near virtual images

Country Status (1)

CountryLink
CN (1)CN114236850A (en)

Cited By (2)

* Cited by examiner, † Cited by third party
Publication numberPriority datePublication dateAssigneeTitle
WO2024188007A1 (en)*2023-03-142024-09-19华为技术有限公司Display apparatus and transportation means
WO2024207871A1 (en)*2023-04-032024-10-10苏州苏大维格科技集团股份有限公司Head-up display module and vehicle

Citations (8)

* Cited by examiner, † Cited by third party
Publication numberPriority datePublication dateAssigneeTitle
CN207752235U (en)*2017-11-222018-08-21苏州车萝卜汽车电子科技有限公司Windscreen formula head-up display device
WO2019238875A1 (en)*2018-06-152019-12-19Continental Automotive GmbhDevice for displaying a virtual image
CN111948816A (en)*2019-05-172020-11-17未来(北京)黑科技有限公司Head-up display system and motor vehicle
CN112272789A (en)*2018-06-152021-01-26大陆汽车有限责任公司Device for generating virtual images with variable projection distance
CN213457538U (en)*2020-09-082021-06-15未来(北京)黑科技有限公司Head-up display device and head-up display system
CN213814149U (en)*2020-12-232021-07-27的卢技术有限公司Device for enlarging FOV of AR-HUD
CN113219655A (en)*2020-01-212021-08-06未来(北京)黑科技有限公司Vehicle display system that multi-view shows
CN113741038A (en)*2021-09-222021-12-03合肥疆程技术有限公司Display system, head-up display and vehicle

Patent Citations (8)

* Cited by examiner, † Cited by third party
Publication numberPriority datePublication dateAssigneeTitle
CN207752235U (en)*2017-11-222018-08-21苏州车萝卜汽车电子科技有限公司Windscreen formula head-up display device
WO2019238875A1 (en)*2018-06-152019-12-19Continental Automotive GmbhDevice for displaying a virtual image
CN112272789A (en)*2018-06-152021-01-26大陆汽车有限责任公司Device for generating virtual images with variable projection distance
CN111948816A (en)*2019-05-172020-11-17未来(北京)黑科技有限公司Head-up display system and motor vehicle
CN113219655A (en)*2020-01-212021-08-06未来(北京)黑科技有限公司Vehicle display system that multi-view shows
CN213457538U (en)*2020-09-082021-06-15未来(北京)黑科技有限公司Head-up display device and head-up display system
CN213814149U (en)*2020-12-232021-07-27的卢技术有限公司Device for enlarging FOV of AR-HUD
CN113741038A (en)*2021-09-222021-12-03合肥疆程技术有限公司Display system, head-up display and vehicle

Cited By (2)

* Cited by examiner, † Cited by third party
Publication numberPriority datePublication dateAssigneeTitle
WO2024188007A1 (en)*2023-03-142024-09-19华为技术有限公司Display apparatus and transportation means
WO2024207871A1 (en)*2023-04-032024-10-10苏州苏大维格科技集团股份有限公司Head-up display module and vehicle

Similar Documents

PublicationPublication DateTitle
JP4668780B2 (en) Luminescent display device
JP6558017B2 (en) Head-up display
WO2017061040A1 (en)Projection optical system and head-up display device
JP6610099B2 (en) Mirror unit and display device
US6646809B1 (en)Image display apparatus, image display system, and image display element
CN114236850A (en)Head-up display device capable of presenting far and near virtual images
WO2018000806A1 (en)3d head-up display system and method
US9995935B2 (en)Spectacle lens for a display device that can be fitted on the head of a user and generates an image, and display device with such a spectacle lens
JP2024137999A (en) Head-up display
CN113640991A (en)Head-up display system and vehicle
CN110073275A (en)Virtual image display apparatus
WO2020179470A1 (en)Image display device
CN116323282A (en) HUD device
CN107870428B (en)Image display device
CN111458880B (en)Waveguide light field display device and head-mounted augmented reality glasses
CN110325894A (en) virtual image display device
US10609349B2 (en)Image display device for generating an image having a viewing distance which varies in the depth direction
JP7669823B2 (en) Light guide member and display device
CN109991737B (en)Optical projection system
CN116400501A (en)Light transmission structure and head-mounted display device
KR102481708B1 (en)Head-up display device
US12033287B2 (en)Vehicle head-up display device and method
JP3433587B2 (en) Display device
CN110312958A (en) virtual image display device
KR20190042318A (en)Head-up display device

Legal Events

DateCodeTitleDescription
PB01Publication
PB01Publication
SE01Entry into force of request for substantive examination
SE01Entry into force of request for substantive examination
TA01Transfer of patent application right
TA01Transfer of patent application right

Effective date of registration:20221124

Address after:261031 workshop 1, phase III, Geer Photoelectric Industrial Park, 3999 Huixian Road, Yongchun community, Qingchi street, Weifang High tech Zone, Weifang City, Shandong Province

Applicant after:GoerTek Optical Technology Co.,Ltd.

Address before:261031 No.268, Dongfang Road, Weifang High tech Industrial Development Zone, Weifang City, Shandong Province

Applicant before:GOERTEK Inc.

RJ01Rejection of invention patent application after publication
RJ01Rejection of invention patent application after publication

Application publication date:20220325


[8]ページ先頭

©2009-2025 Movatter.jp