Movatterモバイル変換


[0]ホーム

URL:


CN114191586A - A multi-layer disinfection device for clothing fabrics - Google Patents

A multi-layer disinfection device for clothing fabrics
Download PDF

Info

Publication number
CN114191586A
CN114191586ACN202210025433.7ACN202210025433ACN114191586ACN 114191586 ACN114191586 ACN 114191586ACN 202210025433 ACN202210025433 ACN 202210025433ACN 114191586 ACN114191586 ACN 114191586A
Authority
CN
China
Prior art keywords
disinfection
case
pipe
cloth
steam
Prior art date
Legal status (The legal status is an assumption and is not a legal conclusion. Google has not performed a legal analysis and makes no representation as to the accuracy of the status listed.)
Granted
Application number
CN202210025433.7A
Other languages
Chinese (zh)
Other versions
CN114191586B (en
Inventor
董加良
Current Assignee (The listed assignees may be inaccurate. Google has not performed a legal analysis and makes no representation or warranty as to the accuracy of the list.)
Haikou Meilan Qinxuan Technology Service Center
Original Assignee
Nantong Xinkaiyuan Textile Co ltd
Priority date (The priority date is an assumption and is not a legal conclusion. Google has not performed a legal analysis and makes no representation as to the accuracy of the date listed.)
Filing date
Publication date
Application filed by Nantong Xinkaiyuan Textile Co ltdfiledCriticalNantong Xinkaiyuan Textile Co ltd
Priority to CN202210025433.7ApriorityCriticalpatent/CN114191586B/en
Publication of CN114191586ApublicationCriticalpatent/CN114191586A/en
Application grantedgrantedCritical
Publication of CN114191586BpublicationCriticalpatent/CN114191586B/en
Activelegal-statusCriticalCurrent
Anticipated expirationlegal-statusCritical

Links

Images

Classifications

Landscapes

Abstract

The invention belongs to the technical field of fabric processing, and particularly relates to a multilayer garment fabric sterilizing device which comprises a sterilizing case and through grooves formed in two sides of the sterilizing case; the spraying and disinfecting mechanism is fixedly arranged at the top of the disinfecting case, and the bottom of the spraying and disinfecting mechanism penetrates through and extends to the inner cavity of the disinfecting case; the two steam sterilization mechanisms are respectively arranged at the top and the bottom of the sterilization case, and one opposite sides of the two steam sterilization mechanisms penetrate through the inner cavity of the sterilization case; the problem of current disinfection mode mostly be with the surface fabric submergence in the antiseptic solution, need consume a large amount of antiseptic solutions like this, the surface fabric can be very moist moreover, need spend a large amount of time and come the drying again, leads to production efficiency low, and the unilateral antiseptic solution disinfection of using can make the surface fabric disinfection incomplete, can influence subsequent storage and use after selling.

Description

Multilayer sterilizing device for garment fabric
Technical Field
The invention relates to the technical field of fabric processing, in particular to a multilayer sterilizing device for garment fabric.
Background
The fabric is a material for making clothes, and as one of three elements of the clothes, the fabric can not only explain the style and the characteristics of the clothes, but also directly control the expression effects of the color and the shape of the clothes.
The patent application number 202110264076.5 discloses a wastewater treatment device for garment fabric disinfection, wherein the prior fabric is suggested to generate wastewater during disinfection, the prior fabric wastewater is treated by using a stirring device to mix the wastewater for disinfection with a reducing agent, but impurities contained in the wastewater need to be treated in advance, particularly fiber impurities, otherwise, a pipeline can be blocked, a stirring shaft and a stirring paddle can be wound, and the mixing and reducing effects can be influenced.
At present, the surface fabric rolling is last procedure in the weaving, the surface fabric that the rolling is good will be placed and collect, but disinfection and sterilization before the rolling, cloth after the rolling causes mildenes and rot in inside easily otherwise, damage etc. influence the quality of surface fabric, present disinfection mode mostly is with the surface fabric submergence in the antiseptic solution, need consume a large amount of antiseptic solution like this, and the surface fabric can be very moist, need to spend a large amount of time drying again, lead to the production efficiency low, and unilateral use antiseptic solution disinfection can make the surface fabric disinfection incomplete, can influence subsequent and store the use after sale, consequently need a garment materials multilayer degassing unit to satisfy user's demand urgently.
Disclosure of Invention
This section is for the purpose of summarizing some aspects of embodiments of the invention and to briefly introduce some preferred embodiments, and in this section as well as in the abstract and the title of the invention of this application some simplifications or omissions may be made to avoid obscuring the purpose of this section, the abstract and the title of the invention, and such simplifications or omissions are not intended to limit the scope of the invention.
The invention provides a fabric sterilizer, which aims to solve the problems in the existing fabric sterilizer.
To solve the above technical problem, according to an aspect of the present invention, the present invention provides the following technical solutions: a multilayer sterilizing device for garment materials comprises a sterilizing case and through grooves formed in two sides of the sterilizing case;
the spraying and disinfecting mechanism is fixedly arranged at the top of the disinfecting case, and the bottom of the spraying and disinfecting mechanism penetrates through and extends to the inner cavity of the disinfecting case;
the two steam sterilization mechanisms are respectively arranged at the top and the bottom of the sterilization case, and one opposite sides of the two steam sterilization mechanisms penetrate through the inner cavity of the sterilization case;
the two drying mechanisms are respectively and fixedly arranged at the top and the bottom of the disinfection cabinet, and one opposite sides of the two drying mechanisms penetrate through the inner cavity of the disinfection cabinet;
the four roller adsorption mechanisms are matched in pairs and are respectively arranged on two sides of the disinfection cabinet;
the ultraviolet disinfection mechanisms are three in number and are fixedly arranged on the inner wall of the disinfection cabinet at equal intervals;
the water squeezing mechanism is fixedly arranged on the inner wall of the disinfection cabinet and is matched with the spraying disinfection mechanism for use;
the device comprises shell fabric cloth and first guide wheels matched with the shell fabric cloth, wherein the number of the first guide wheels is a plurality of groups and is staggered, the shell fabric cloth is guided to an inner cavity of a disinfection machine case from the space between two drum adsorption mechanisms on the left side, and then is conveyed to a water squeezing mechanism by a spraying disinfection mechanism, then is guided to enter a steam disinfection mechanism and then enters a drying mechanism, and then is guided to the right side after the ultraviolet disinfection mechanism is disinfected by the first guide wheels, and the drum adsorption mechanism is adsorbed and disinfected after the completion.
As a preferable aspect of the multilayer sterilizing apparatus for clothing material according to the present invention, wherein: spray disinfection mechanism and include pipette, imbibition pump, transfer line, fixed pipe and shower nozzle, imbibition pump fixed mounting be in the top of disinfection machine case, the bottom of pipette with the fixed intercommunication of imbibition pump, the top of transfer line with the fixed intercommunication of imbibition pump, the bottom of transfer line run through extremely the inner chamber of disinfection machine case and with fixed pipe is linked together, fixed pipe fixed mounting be in the inner wall of disinfection machine case, the quantity of shower nozzle is a plurality of, and the fixed intercommunication in top is in the bottom of fixed pipe.
As a preferable aspect of the multilayer sterilizing apparatus for clothing material according to the present invention, wherein: the steam disinfection mechanism comprises an air inlet pipe, a high-temperature steam generator, two air outlet pipes, an electric telescopic rod, two telescopic pipes, a steam cover and two cloth feeding grooves, wherein the high-temperature steam generator and the electric telescopic rod are fixedly installed on the disinfection machine case, the front side of the air inlet pipe is communicated with the high-temperature steam generator, one side of the air outlet pipe, which is close to the high-temperature steam generator, is communicated with the high-temperature steam generator, one side of the air outlet pipe, which is far away from the high-temperature steam generator, penetrates through the inner cavity of the disinfection machine case and is communicated with the telescopic pipes, the bottom of the telescopic pipes is communicated with the top of the steam cover, the jacking end of the electric telescopic rod penetrates through the inner cavity of the disinfection machine case and is fixed with the top of the steam cover, and the two cloth feeding grooves are respectively arranged on two sides of the steam cover.
As a preferable aspect of the multilayer sterilizing apparatus for clothing material according to the present invention, wherein: the drying mechanism comprises an air suction pipe, a fan, an exhaust pipe, an air drying cover, two mounting rods and two cloth penetrating grooves, the fan is fixedly mounted on the outer wall surface of the disinfection case, the right side of the air suction pipe is communicated with the fan, one side of the exhaust pipe, which is close to the fan, is communicated with the fan, one side of the exhaust pipe, which is far away from the fan, penetrates through the inner cavity of the disinfection case and is communicated with the air drying cover, the two cloth penetrating grooves are respectively formed in two sides of the air drying cover, and the mounting rods are used for fixedly mounting the air drying cover on the inner wall of the disinfection case.
As a preferable aspect of the multilayer sterilizing apparatus for clothing material according to the present invention, wherein: the cylinder adsorption device includes packing net roller, live-rollers and two mounting brackets, mounting bracket fixed mounting be in on the outer wall of sterilizer case, the live-rollers rotates and installs between two mounting brackets around, the detachable installation of packing net roller is in the surface of live-rollers, the inside packing of packing net roller has active alumina adsorbent.
As a preferable aspect of the multilayer sterilizing apparatus for clothing material according to the present invention, wherein: the ultraviolet disinfection mechanism comprises two fixing frames, a mounting seat and an ultraviolet lamp tube, the fixing frames are fixedly mounted on the inner wall of the disinfection machine box, the mounting seat is fixedly mounted on the side wall of the fixing frame, and the ultraviolet lamp tube is fixedly mounted between one side, opposite to the front mounting seat and the rear mounting seat, of the ultraviolet lamp tube.
As a preferable aspect of the multilayer sterilizing apparatus for clothing material according to the present invention, wherein: crowded water mechanism includes concave template, two branches, a plurality of crowded water board of group and a plurality of water leakage groove, branch is close to one side of concave template with concave template is fixed, concave template pass through branch with the inner wall fixed mounting of sterilizer case, the quantity of a set of crowded water board is two, and installs respectively the top and the bottom of concave template inner wall, the water leakage groove is seted up the bottom of concave template, and is located between the relative one side of two sets of crowded water boards.
As a preferable aspect of the multilayer sterilizing apparatus for clothing material according to the present invention, wherein: the inner wall fixed mounting of disinfection machine case has two division boards, logical groove has been seted up to the inside at division board middle part, the internally mounted that leads to the groove with the second leading wheel that fabric cloth cooperation was used, two division boards keep apart into an solitary steam disinfection cavity with the inside of disinfection machine case.
As a preferable aspect of the multilayer sterilizing apparatus for clothing material according to the present invention, wherein: the disinfection machine is characterized in that a leakage groove matched with the spraying disinfection mechanism is formed in the disinfection machine case, the bottom of the leakage groove is communicated with a liquid discharge pipe, one end of the liquid discharge pipe extends to the outer side of the disinfection machine case, a control valve is sleeved on the surface of the liquid discharge pipe, and disinfectant sprayed in the spraying disinfection mechanism is hydrogen peroxide.
Compared with the prior art, the invention has the beneficial effects that:
1. through setting up cylinder adsorption mechanism, can realize adsorbing sterile function on the top layer of surface fabric cloth top and bottom, through filling active alumina adsorbent in the packing net roller to among the cylinder adsorption mechanism, active alumina adsorbent can be changed, then install the packing net roller on the live-rollers, the live-rollers rotates and installs on the mounting bracket, can rotate on the mounting bracket, surface fabric cloth is when passing through between two packing net rollers, the packing net roller passes through the live-rollers and rotates on the mounting bracket, thereby disinfect surface fabric cloth top and bottom top layer, left side cylinder adsorption mechanism has reached the effect of carrying out preliminary disinfection processing to surface fabric cloth, right side cylinder adsorption mechanism has reached and has carried out final disinfection to surface fabric cloth, the comprehensive thorough disinfection processing of surface fabric cloth has been guaranteed.
2. Spray disinfection mechanism through the setting, can reach and spray sterile function to fabric cloth, reached further to fabric cloth and disinfected, fabric cloth gets into the chamber that sprays of disinfection quick-witted incasement portion after adsorbing through left side cylinder adsorption device, and the imbibition pump carries the inner chamber to the transfer line through the antiseptic solution of pipette with hydrogen peroxide this moment, then carries to fixed pipe through the transfer line, sprays to fabric cloth through the shower nozzle of fixed socle portion and carries out deep disinfection processing.
3. Through setting up crowded water mechanism, can realize extruding the antiseptic solution of absorption in the surface fabric to avoid adsorbing the surface fabric of a large amount of antiseptic solution and get into the steam intracavity, when surface fabric gets into between two crowded water boards, crowded water board extrusion surface fabric makes absorbent antiseptic solution by the separation in the surface fabric, and partial antiseptic solution spills through the water leakage groove, and the cooperation of multiunit crowded water board can guarantee that absorbent antiseptic solution is extruded in the surface fabric.
4. Through setting up steam disinfection mechanism, form steam disinfection cavity between two baffles, can further deep disinfection processing to the face material cloth, after face material cloth is extruded through crowded water mechanism, get into between two steam covers, then two electric telescopic handle carry out the jacking, drive two steam cover relative movement, through advancing cloth groove with partial face material cloth card in the inside of two steam covers, then high temperature steam generator inhales through the intake pipe and changes into high temperature steam and carry it to the inner chamber of outlet duct, the inner chamber of flexible pipe is got into through the outlet duct, then in flexible pipe gets into the steam cover, further deep disinfection processing advances to the face material cloth in the steam cover.
5. Through setting up dry mechanism, can realize carrying out drying process's function to surface fabric cloth, take place the condition of mildening and rot after avoiding moist surface fabric cloth rolling, the surface fabric cloth is through wearing the cloth groove to get into and air-dry the cover inner chamber, and the fan passes through the breathing pipe and carries dry gas to the inside of blast pipe this moment, carries to the inner chamber that air-dries the cover through the blast pipe, then air-dries the surface fabric cloth through air-drying the cover inner chamber and handles, has made things convenient for the follow-up of surface fabric cloth to store.
6. Through setting up ultraviolet ray disinfection mechanism, the irradiation of a plurality of ultraviolet tube in the ultraviolet ray disinfection mechanism can carry out omnidirectional disinfection processing to surface fabric cloth to avoid remaining, thereby avoided surface fabric cloth to take place to milden and rot, the condition of damage.
Drawings
In order to more clearly illustrate the technical solutions of the embodiments of the present invention, the present invention will be described in detail below with reference to the accompanying drawings and detailed embodiments, and it is obvious that the drawings in the following description are only some embodiments of the present invention, and it is obvious for those skilled in the art to obtain other drawings without inventive exercise. Wherein:
FIG. 1 is a schematic perspective view of a multi-layered sterilizing apparatus for clothing material according to the present invention;
FIG. 2 is a cross-sectional view of a sterilization case in a multi-layered garment material sterilization apparatus according to the present invention;
FIG. 3 is a schematic perspective view of a steam sterilizing mechanism of the multi-layered garment material sterilizing apparatus according to the present invention;
FIG. 4 is a schematic perspective view of a wringing mechanism in a multi-layer garment material disinfecting device according to the present invention;
FIG. 5 is a schematic perspective view of a drying mechanism in the multi-layered garment material sterilization apparatus of the present invention;
FIG. 6 is a schematic perspective view of a roller adsorption mechanism in the multi-layer garment material sterilization apparatus according to the present invention;
FIG. 7 is a schematic perspective view of an ultraviolet disinfection mechanism in a multi-layer garment fabric disinfection apparatus according to the present invention;
FIG. 8 is a schematic perspective view of a spray disinfection mechanism in the multi-layer garment material disinfection device of the present invention.
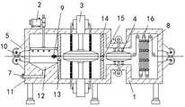
Reference numbers in the figures: 1. sterilizing the chassis; 2. a spray disinfection mechanism; 201. a pipette; 202. a liquid suction pump; 203. a transfusion tube; 204. a fixed tube; 205. a spray head; 3. a steam sterilizing mechanism; 301. an air inlet pipe; 302. a high temperature steam generator; 303. an air outlet pipe; 304. an electric telescopic rod; 305. a telescopic pipe; 306. a steam hood; 307. a cloth feeding groove; 4. a drying mechanism; 401. an air intake duct; 402. a fan; 403. an exhaust pipe; 404. air drying the cover; 405. mounting a rod; 406. a cloth penetrating groove; 5. a drum adsorption mechanism; 501. a filling mesh roller; 502. a rotating roller; 503. a mounting frame; 6. fabric cloth; 7. a control valve; 8. an ultraviolet ray disinfection mechanism; 801. a fixed mount; 802. a mounting seat; 803. an ultraviolet lamp tube; 9. a water squeezing mechanism; 901. a concave plate; 902. a strut; 903. a water squeezing plate; 904. a water leakage groove; 10. a first guide wheel; 11. a liquid discharge pipe; 12. a leak groove; 13. a through groove; 14. a separator plate; 15. a second guide wheel; 16. and (6) penetrating through the groove.
Detailed Description
In order to make the aforementioned objects, features and advantages of the present invention comprehensible, embodiments accompanied with figures are described in detail below.
In the following description, numerous specific details are set forth in order to provide a thorough understanding of the present invention, but the present invention may be practiced in other ways than those specifically described herein, and it will be apparent to those of ordinary skill in the art that the present invention may be practiced without departing from the spirit and scope of the present invention, and therefore the present invention is not limited to the specific embodiments disclosed below.
Next, the present invention will be described in detail with reference to the drawings, wherein for convenience of illustration, the cross-sectional view of the device structure is not enlarged partially according to the general scale, and the drawings are only examples, which should not limit the scope of the present invention. In addition, the three-dimensional dimensions of length, width and depth should be included in the actual fabrication.
Examples
In order to make the objects, technical solutions and advantages of the present invention more apparent, embodiments of the present invention will be described in detail with reference to the accompanying drawings.
As shown in fig. 1-8, a multilayer sterilizing device for clothing materials comprises a sterilizing case 1, through grooves 16 formed in two sides of the sterilizing case 1, a spraying sterilizing mechanism 2, two steam sterilizing mechanisms 3, two drying mechanisms 4, four roller adsorption mechanisms 5, an ultraviolet sterilizing mechanism 8, a water squeezing mechanism 9, fabric cloth 6 and a first guide wheel 10 matched with the fabric cloth 6, wherein the spraying sterilizing mechanism 2 is fixedly installed on the top of the sterilizing case 1, and the bottom of the spraying sterilizing mechanism extends to the inner cavity of the sterilizing case 1 in a penetrating manner; the two steam disinfection mechanisms 3 are respectively arranged at the top and the bottom of the disinfection case 1, and one opposite sides of the two steam disinfection mechanisms 3 penetrate through the inner cavity of the disinfection case 1; the two drying mechanisms 4 are respectively and fixedly arranged at the top and the bottom of the disinfection cabinet 1, and the opposite sides of the two drying mechanisms penetrate through the inner cavity of the disinfection cabinet 1; the roller adsorption mechanisms 5 are matched pairwise and are respectively arranged on two sides of the disinfection cabinet 1; the number of the ultraviolet disinfection mechanisms 8 is three, and the ultraviolet disinfection mechanisms are fixedly arranged on the inner wall of the disinfection cabinet 1 at equal intervals; the wringing mechanism 9 is fixedly arranged on the inner wall of the disinfection cabinet 1 and is matched with the spraying disinfection mechanism 2 for use; the quantity of first leading wheel 10 is a plurality of groups, and is the setting of staggering, and surface fabric cloth 6 leads to the inner chamber of sterilizer case 1 between two cylinder adsorption device 5 on the left side, carries to crowded water mechanism 9 through spraying disinfection mechanism 2, is guided to get into in the drying mechanism 4 behind the steam disinfection mechanism 3 after, then accomplishes the disinfection after being guided to the disinfection of ultraviolet ray disinfection mechanism 8 through first leading wheel 10 and being directed to right side cylinder adsorption device 5 and adsorbing the completion.
In this example, the spray disinfection mechanism 2 comprises a liquid suction pipe 201, a liquid suction pump 202, a liquid transport pipe 203, a fixed pipe 204 and a spray head 205, the liquid suction pump 202 is fixedly installed on the top of the disinfection cabinet 1, the bottom of the liquid suction pipe 201 is fixedly communicated with the liquid suction pump 202, the top of the liquid transport pipe 203 is fixedly communicated with the liquid suction pump 202, the bottom of the liquid transport pipe 203 penetrates through the inner cavity of the disinfection cabinet 1 and is communicated with the fixed pipe 204, the fixed pipe 204 is fixedly installed on the inner wall of the disinfection cabinet 1, the number of the spray heads 205 is a plurality, the top is fixedly communicated with the bottom of the fixed pipe 204, by arranging the spray disinfection mechanism 2, the function of spray disinfection of the fabric 6 can be achieved, the fabric 6 is further disinfected, the fabric 6 enters the spray cavity inside the disinfection cabinet 1 after being adsorbed by the left-side roller adsorption mechanism 5, at this time, the liquid suction pump 202 transports the disinfectant of hydrogen peroxide to the inner cavity of the liquid transport pipe 203 through the liquid suction pump 201, then, the fabric cloth 6 is conveyed to a fixed pipe 204 through a transfusion pipe 203, and sprayed through a spray head 205 at the bottom of the fixed pipe 204 to be subjected to deep disinfection treatment on the fabric cloth 6.
In this example, the steam sterilizing mechanism 3 includes an air inlet pipe 301, a high temperature steam generator 302, two air outlet pipes 303, an electric telescopic rod 304, two telescopic pipes 305, a steam cover 306 and two cloth feeding grooves 307, wherein the high temperature steam generator 302 and the electric telescopic rod 304 are both fixedly mounted on the sterilizing cabinet 1, the front side of the air inlet pipe 301 is communicated with the high temperature steam generator 302, one side of the air outlet pipe 303 close to the high temperature steam generator 302 is communicated with the high temperature steam generator 302, one side of the air outlet pipe 303 far from the high temperature steam generator 302 is penetrated into the inner cavity of the sterilizing cabinet 1 and is communicated with the telescopic pipes 305, the bottom of the telescopic pipe 305 is communicated with the top of the steam cover 306, the jacking end of the electric telescopic rod 304 is penetrated into the inner cavity of the sterilizing cabinet 1 and is fixed with the top of the steam cover 306, the two cloth feeding grooves 307 are respectively arranged at two sides of the steam cover 306, by arranging the steam sterilizing mechanism 3, form steam disinfection cavity between two baffles, can carry out further deep disinfection processing to surface fabric cloth 6, after surface fabric cloth 6 extrudes through crowded water mechanism 9, get into between two steam covers 306, then two electric telescopic handle 304 jack-up, drive two steam covers 306 relative movement, through advancing cloth groove 307 with partial surface fabric cloth 6 card in the inside of two steam covers 306, then high temperature steam generator 302 inhales through intake pipe 301 and changes into high temperature steam and carry it to the inner chamber of outlet duct 303, the inner chamber of flexible pipe 305 is got into through outlet duct 303, then in getting into steam cover 306 through flexible pipe 305, carry out further deep disinfection processing to surface fabric cloth 6 in the steam cover 306.
In this example, the drying mechanism 4 includes an air suction pipe 401, a fan 402, an air exhaust pipe 403, an air drying cover 404, two mounting rods 405 and two cloth passing grooves 406, the fan 402 is fixedly mounted on the outer wall surface of the disinfection cabinet 1, the right side of the air suction pipe 401 is communicated with the fan 402, one side of the air exhaust pipe 403 close to the fan 402 is communicated with the fan 402, one side of the air exhaust pipe 403 far from the fan 402 penetrates into the inner cavity of the disinfection cabinet 1 and is communicated with the air drying cover 404, the two cloth passing grooves 406 are respectively arranged on both sides of the air drying cover 404, the mounting rods 405 are used for fixedly mounting the air drying cover 404 on the inner wall of the disinfection cabinet 1, by arranging the drying mechanism 4, the function of drying the fabric 6 can be realized, the mildew of the moist fabric 6 can be avoided after being rolled, the fabric 6 enters the inner cavity of the air drying cover 404 through the cloth passing grooves 406, at this time, the fan 402 transmits the drying gas to the inside of the air exhaust pipe 403 through the air suction pipe 401, the fabric cloth 6 is conveyed to the inner cavity of the air drying cover 404 through the exhaust pipe 403, and then the fabric cloth 6 passing through the inner cavity of the air drying cover 404 is dried, so that the subsequent storage of the fabric cloth 6 is facilitated.
In this example, the drum adsorption mechanism 5 comprises a filling mesh roller 501, a rotating roller 502 and two mounting frames 503, the mounting frames 503 are fixedly mounted on the outer wall surface of the disinfection cabinet 1, the rotating roller 502 is rotatably mounted between the front and rear two mounting frames 503, the filling mesh roller 501 is detachably mounted on the surface of the rotating roller 502, the interior of the filling mesh roller 501 is filled with an activated alumina adsorbent, by providing the drum adsorption mechanism 5, the function of performing adsorption disinfection on the top and bottom surface layers of the fabric cloth 6 can be realized, by filling the filling mesh roller 501 in the drum adsorption mechanism 5 with the activated alumina adsorbent, the activated alumina adsorbent can be replaced, and then the filling mesh roller 501 is mounted on the rotating roller 502, the rotating roller 502 is rotatably mounted on the mounting frames 503 and can rotate on the mounting frames 503, when the fabric cloth 6 passes between the two filling mesh rollers 501, fill net roller 501 and rotate through live-rollers 502 rotation on mounting bracket 503 to disinfect to surface layer at the top of fabric cloth 6 and bottom, left side cylinder adsorption mechanism 5 has reached the effect of carrying out preliminary disinfection processing to fabric cloth 6, and right side cylinder adsorption mechanism 5 has reached and has carried out final disinfection to fabric cloth 6, has guaranteed that fabric cloth 6's is thoroughly disinfected comprehensively.
In this example, ultravioletray disinfection mechanism 8 includes twomounts 801,mount pad 802 andultraviolet tube 803,mount pad 801 fixed mounting is at the inner wall ofdisinfection machine case 1,mount pad 802 fixed mounting is on the lateral wall ofmount pad 801,ultraviolet tube 803 fixed mounting is between two opposite one sides ofmount pad 802 in the front and back, through setting up ultravioletray disinfection mechanism 8, the irradiation of a plurality ofultraviolet tube 803 in ultravioletray disinfection mechanism 8 can carry out omnidirectional disinfection processing to facematerial cloth 6, in order to avoid remaining, thereby avoidedface material cloth 6 to take place to milden and rot, the condition of damage.
In this example, the wringing mechanism 9 includes a concave plate 901, two supporting rods 902, a plurality of sets of wringing plates 903 and a plurality of water leaking grooves 904, one side of the supporting rod 902 close to the concave plate 901 is fixed with the concave plate 901, the concave plate 901 is fixedly mounted with the inner wall of the disinfection cabinet 1 through the supporting rods 902, the number of the set of wringing plates 903 is two, and the two sets of wringing plates are respectively mounted at the top and the bottom of the inner wall of the concave plate 901, the water leaking grooves 904 are arranged at the bottom of the concave plate 901 and are located between the opposite sides of the two sets of wringing plates 903, by arranging the wringing mechanism 9, the wringing of disinfectant adsorbed in the fabric cloth 6 can be squeezed out, so as to prevent the fabric cloth 6 adsorbing a large amount of disinfectant from entering the steam cavity, when the fabric cloth 6 enters between the two wringing plates 903, the wringing plates 903 squeeze the fabric cloth 6, so that the disinfectant adsorbed in the fabric cloth 6 is separated out, and part of the disinfectant leaks out through the water leaking grooves 904, the cooperation of the multiple groups of water squeezing plates 903 can ensure that the disinfectant adsorbed in the fabric cloth 6 is squeezed out.
In this example, inner wall fixed mounting ofdisinfection machine case 1 has twodivision boards 14,logical groove 13 has been seted up to the inside atdivision board 14 middle part, the internally mounted who leads to groove 13 has second leadingwheel 15 withsurface fabric cloth 6 cooperation use, twodivision boards 14 keep apart into an solitary steam disinfection cavity withdisinfection machine case 1's inside, through setting up twodivision boards 14, can keep apart into a solitary steam disinfection cavity withdisinfection machine case 1's inside, thereby made things convenient forsteam disinfection mechanism 3 to disinfectsurface fabric cloth 6, through setting uplogical groove 13, the passing ofsurface fabric cloth 6 has been made things convenient for, through setting up second leadingwheel 15, the guide effect to surfacefabric cloth 6 has been realized.
In this example, thesmall opening 12 withspray disinfection mechanism 2 looks adaptation is seted up todisinfection machine case 1's inside, the bottom intercommunication ofsmall opening 12 has fluid-discharge tube 11, the one end of fluid-discharge tube 11 extends to the outside ofdisinfection machine case 1, the surface cover of fluid-discharge tube 11 is equipped withcontrol valve 7, the antiseptic solution that sprays in thedisinfection mechanism 2 of spraying is hydrogen peroxide, through setting upsmall opening 12, made things convenient for to spray the antiseptic solution thatdisinfection mechanism 2 spouted down and collected, through setting up fluid-discharge tube 11, made things convenient for the antiseptic solution of collectingsmall opening 12 to discharge, through setting upcontrol valve 7, realized controlling the volume that fluid-discharge tube 11 discharged the antiseptic solution.
The invention is a multilayer sterilizing device for clothing material, firstly, filling active alumina adsorbent into the filling net roller 501 in the roller adsorption mechanism 5, the active alumina adsorbent can be changed, then the filling net roller 501 is installed on the rotating roller 502, the rotating roller 502 is installed on the installation frame 503 to rotate on the installation frame 503, when the cloth 6 passes between the two filling net rollers 501, the filling net roller 501 rotates on the installation frame 503 through the rotating roller 502 to sterilize the top and bottom surface layers of the cloth 6, the cloth 6 passes through the left roller adsorption mechanism 5 to enter the spray cavity in the sterilizing cabinet 1, at this time, the liquid suction pump 202 transmits the disinfectant of hydrogen peroxide to the inner cavity of the infusion tube 203 through the liquid suction tube 201, then transmits to the fixed tube 204 through the infusion tube 203, sprays through the spray nozzle 205 at the bottom of the fixed tube 204 to perform deep sterilization treatment on the cloth 6, when the fabric cloth 6 after spray disinfection enters between the two water squeezing plates 903, the water squeezing plates 903 squeeze the fabric cloth 6, so that disinfectant absorbed in the fabric cloth 6 is separated out, part of the disinfectant leaks out through the water leaking tank 904, the cooperation of the multiple water squeezing plates 903 can ensure that the disinfectant absorbed in the fabric cloth 6 is squeezed out, then the disinfectant enters the steam disinfection cavity under the guiding action of the second guide wheel 15, the fabric cloth 6 enters between the two steam covers 306, then the two electric telescopic rods 304 lift up to drive the two steam covers 306 to move relatively, part of the fabric cloth 6 is clamped inside the two steam covers 306 through the cloth inlet groove 307, then the high-temperature steam generator 302 sucks the high-temperature steam through the air inlet pipe 301 and transfers the high-temperature steam to the inner cavity of the air outlet pipe 303, enters the inner cavity of the telescopic pipe 305 through the air outlet pipe 303, and then enters the steam covers 306 through the telescopic pipe 305, the fabric cloth 6 in the steam cover 306 is further subjected to deep disinfection treatment, the fabric cloth 6 is guided to an inner cavity of an air drying cover 404 through a second guide wheel 15 installed in a right side isolation plate 14 after steam disinfection is finished, the fabric cloth 6 enters the inner cavity of the air drying cover 404 through a cloth penetrating groove 406, at the moment, a fan 402 conveys dry gas to the inside of an exhaust pipe 403 through an air suction pipe 401, the dry gas is conveyed to the inner cavity of the air drying cover 404 through the exhaust pipe 403, then the fabric cloth 6 passing through the inner cavity of the air drying cover 404 is subjected to air drying treatment, subsequent storage of the fabric cloth 6 is facilitated, finally, the fabric cloth is guided downwards by a first guide wheel 10, ultraviolet light emitted by an ultraviolet lamp tube 803 is subjected to irradiation disinfection treatment, and finally the fabric cloth is guided out through a right side roller adsorption mechanism 5 to be subjected to rolling treatment.
While the invention has been described above with reference to an embodiment, various modifications may be made and equivalents may be substituted for elements thereof without departing from the scope of the invention. In particular, the various features of the disclosed embodiments of the invention may be used in any combination, provided that no structural conflict exists, and the combinations are not exhaustively described in this specification merely for the sake of brevity and resource conservation. Therefore, it is intended that the invention not be limited to the particular embodiments disclosed, but that the invention will include all embodiments falling within the scope of the appended claims.

Claims (9)

2. The multilayer garment fabric disinfecting device of claim 1, wherein: spray disinfection mechanism (2) and include pipette (201), imbibition pump (202), transfer line (203), fixed pipe (204) and shower nozzle (205), imbibition pump (202) fixed mounting be in the top of disinfection machine case (1), the bottom of pipette (201) with imbibition pump (202) fixed intercommunication, the top of transfer line (203) with imbibition pump (202) fixed intercommunication, the bottom of transfer line (203) runs through to the inner chamber of disinfection machine case (1) and with fixed pipe (204) are linked together, fixed pipe (204) fixed mounting be in the inner wall of disinfection machine case (1), the quantity of shower nozzle (205) is a plurality of, and the fixed intercommunication in top is in the bottom of fixed pipe (204).
3. The multilayer garment fabric disinfecting device of claim 1, wherein: the steam disinfection mechanism (3) comprises an air inlet pipe (301), a high-temperature steam generator (302), two air outlet pipes (303), an electric telescopic rod (304), two telescopic pipes (305), a steam cover (306) and two cloth feeding grooves (307), wherein the high-temperature steam generator (302) and the electric telescopic rod (304) are fixedly installed on the disinfection cabinet (1), the front side of the air inlet pipe (301) is communicated with the high-temperature steam generator (302), one side, close to the high-temperature steam generator (302), of the air outlet pipe (303) is communicated with the high-temperature steam generator (302), one side, far away from the high-temperature steam generator (302), of the air outlet pipe (303) penetrates through the inner cavity of the disinfection cabinet (1) and is communicated with the telescopic pipes (305), the bottom of the telescopic pipes (305) is communicated with the top of the steam cover (306), the jacking end of the electric telescopic rod (304) penetrates through the inner cavity of the disinfection cabinet (1) and is fixed with the top of the steam cover (306), and the two cloth feeding grooves (307) are respectively arranged on two sides of the steam cover (306).
4. The multilayer garment fabric disinfecting device of claim 1, wherein: drying mechanism (4) include breathing pipe (401), fan (402), blast pipe (403), air-dry cover (404), two installation poles (405) and two wear cloth groove (406), fan (402) fixed mounting be in on the outer wall of disinfection machine case (1), the right side of breathing pipe (401) with fan (402) are linked together, one side that blast pipe (403) are close to fan (402) with fan (402) are linked together, one side that fan (402) were kept away from in blast pipe (403) runs through to the inner chamber of disinfection machine case (1) and with air-dry cover (404) are linked together, and two wear cloth groove (406) are seted up respectively air-dry the both sides of cover (404), installation pole (405) are used for with air-dry cover (404) fixed mounting be in the inner wall of disinfection machine case (1).
7. The multilayer garment fabric disinfecting device of claim 1, wherein: the water squeezing mechanism (9) comprises a concave plate (901), two supporting rods (902), a plurality of groups of water squeezing plates (903) and a plurality of water leaking grooves (904), wherein one side, close to the concave plate (901), of each supporting rod (902) is fixed with the concave plate (901), the concave plate (901) is fixedly installed on the inner wall of the disinfection cabinet (1) through the supporting rods (902), the number of the groups of water squeezing plates (903) is two, the two groups of water squeezing plates are respectively installed at the top and the bottom of the inner wall of the concave plate (901), and the water leaking grooves (904) are formed in the bottom of the concave plate (901) and are located between the two groups of water squeezing plates (903) on the opposite sides.
CN202210025433.7A2022-01-112022-01-11Garment materials multilayer degassing unitActiveCN114191586B (en)

Priority Applications (1)

Application NumberPriority DateFiling DateTitle
CN202210025433.7ACN114191586B (en)2022-01-112022-01-11Garment materials multilayer degassing unit

Applications Claiming Priority (1)

Application NumberPriority DateFiling DateTitle
CN202210025433.7ACN114191586B (en)2022-01-112022-01-11Garment materials multilayer degassing unit

Publications (2)

Publication NumberPublication Date
CN114191586Atrue CN114191586A (en)2022-03-18
CN114191586B CN114191586B (en)2023-04-07

Family

ID=80658325

Family Applications (1)

Application NumberTitlePriority DateFiling Date
CN202210025433.7AActiveCN114191586B (en)2022-01-112022-01-11Garment materials multilayer degassing unit

Country Status (1)

CountryLink
CN (1)CN114191586B (en)

Cited By (1)

* Cited by examiner, † Cited by third party
Publication numberPriority datePublication dateAssigneeTitle
CN117159762A (en)*2023-09-202023-12-05浙江百依服装有限公司Ultraviolet sterilization treatment equipment and process for textile fabric

Citations (5)

* Cited by examiner, † Cited by third party
Publication numberPriority datePublication dateAssigneeTitle
JPH0849161A (en)*1994-08-021996-02-20N S Bureen:KkProcessing system and method for clothing
CN108505267A (en)*2018-04-192018-09-07盐城市峻珑纱线有限公司A kind of weaving dryer with sterilization shapping function
CN109631542A (en)*2018-11-082019-04-16湖州萌星服饰有限公司A kind of textile process device
CN109763278A (en)*2019-03-012019-05-17马鞍山金姿纺织装饰用品有限公司A kind of fabrics multistage chlorination equipment and its sterilization process
CN215274728U (en)*2021-06-102021-12-24江西广徐包装有限公司Plastic woven cloth sterilization treatment device

Patent Citations (5)

* Cited by examiner, † Cited by third party
Publication numberPriority datePublication dateAssigneeTitle
JPH0849161A (en)*1994-08-021996-02-20N S Bureen:KkProcessing system and method for clothing
CN108505267A (en)*2018-04-192018-09-07盐城市峻珑纱线有限公司A kind of weaving dryer with sterilization shapping function
CN109631542A (en)*2018-11-082019-04-16湖州萌星服饰有限公司A kind of textile process device
CN109763278A (en)*2019-03-012019-05-17马鞍山金姿纺织装饰用品有限公司A kind of fabrics multistage chlorination equipment and its sterilization process
CN215274728U (en)*2021-06-102021-12-24江西广徐包装有限公司Plastic woven cloth sterilization treatment device

Cited By (2)

* Cited by examiner, † Cited by third party
Publication numberPriority datePublication dateAssigneeTitle
CN117159762A (en)*2023-09-202023-12-05浙江百依服装有限公司Ultraviolet sterilization treatment equipment and process for textile fabric
CN117159762B (en)*2023-09-202024-04-16浙江百依服装有限公司Ultraviolet sterilization treatment equipment and process for textile fabric

Also Published As

Publication numberPublication date
CN114191586B (en)2023-04-07

Similar Documents

PublicationPublication DateTitle
CN209187628U (en)A kind of non-woven fabrics sterilizing unit
CN111780498B (en)Medicine equipment drying device
CN114836913A (en)Weaving cloth drying process device
CN114191586A (en) A multi-layer disinfection device for clothing fabrics
CN113668158A (en)Novel cleaning and drying device before dyeing of textile fabric
CN219700589U (en)Degerming device is used in production of cotton gentle piece of cloth
CN111764078A (en) A kind of production equipment for textile drying treatment
JP2021074490A (en)Ultraviolet sterilization apparatus of medical cupping glass
CN112295000A (en)Sterilization equipment is used in bandage production
CN114452410A (en)Compound sterilizing machine based on surface fabric
CN112460964A (en)Rotatory medical instrument disinfection drying equipment who bloies
CN112220941A (en)Rapid disinfection equipment for epidemic prevention mask
CN113476063A (en)Artificial intelligence medical image auxiliary diagnosis instrument
CN118078519A (en) A Chinese medicine hot compress device
CN218923323U (en)Novel textile processing is with weaving cloth disinfection device
CN211214560U (en)Textile disinfection device for textile processing
CN219307443U (en)Cleaning and sterilizing equipment for plush toy
CN211705383U (en)Textile disinfection device for spinning
CN210059109U (en)Automatic cleaning machine for rotating cage
CN220989276U (en)A degassing unit for textile processing
CN113605013A (en)Textile disinfection equipment for spinning
CN218572556U (en)Surface fabric degassing unit is used in cotton-padded clothes production
CN107723810A (en)A kind of device for being used in ramie process fix ramie stripes
CN217357834U (en)Combined drying and sterilizing equipment for preparing traditional Chinese medicine chemical reference substances
CN205869004U (en)Cleaning device for test tube

Legal Events

DateCodeTitleDescription
PB01Publication
PB01Publication
SE01Entry into force of request for substantive examination
SE01Entry into force of request for substantive examination
GR01Patent grant
GR01Patent grant
TR01Transfer of patent right

Effective date of registration:20250513

Address after:Room 207-04, 2nd Floor, Longxing Mansion, No. 26 West Second Street, Daying Mountain, Meilan District, Haikou City, Hainan Province, China 570100

Patentee after:Haikou Meilan Qinxuan Technology Service Center

Country or region after:China

Address before:226000 Jiangsu Province Nantong City Hai'an City Chengdong Town Donghai Avenue (East) 12th Floor 2 Room

Patentee before:Nantong xinkaiyuan Textile Co.,Ltd.

Country or region before:China

TR01Transfer of patent right

[8]ページ先頭

©2009-2025 Movatter.jp