Movatterモバイル変換


[0]ホーム

URL:


CN114176721A - Interatrial septum stoma device - Google Patents

Interatrial septum stoma device
Download PDF

Info

Publication number
CN114176721A
CN114176721ACN202111572648.2ACN202111572648ACN114176721ACN 114176721 ACN114176721 ACN 114176721ACN 202111572648 ACN202111572648 ACN 202111572648ACN 114176721 ACN114176721 ACN 114176721A
Authority
CN
China
Prior art keywords
handle
sheath
interatrial septum
proximal
sheath tube
Prior art date
Legal status (The legal status is an assumption and is not a legal conclusion. Google has not performed a legal analysis and makes no representation as to the accuracy of the status listed.)
Granted
Application number
CN202111572648.2A
Other languages
Chinese (zh)
Other versions
CN114176721B (en
Inventor
邱硕实
焦政军
王钰
刘玉博
范军
王森
周国磊
宋睿
Current Assignee (The listed assignees may be inaccurate. Google has not performed a legal analysis and makes no representation or warranty as to the accuracy of the list.)
Shanghai Shenqi Medical Technology Co Ltd
Original Assignee
Shanghai Shenqi Medical Technology Co Ltd
Priority date (The priority date is an assumption and is not a legal conclusion. Google has not performed a legal analysis and makes no representation as to the accuracy of the date listed.)
Filing date
Publication date
Application filed by Shanghai Shenqi Medical Technology Co LtdfiledCriticalShanghai Shenqi Medical Technology Co Ltd
Priority to CN202111572648.2ApriorityCriticalpatent/CN114176721B/en
Publication of CN114176721ApublicationCriticalpatent/CN114176721A/en
Priority to PCT/CN2022/128011prioritypatent/WO2023116191A1/en
Application grantedgrantedCritical
Publication of CN114176721BpublicationCriticalpatent/CN114176721B/en
Activelegal-statusCriticalCurrent
Anticipated expirationlegal-statusCritical

Links

Images

Classifications

Landscapes

Abstract

The invention relates to the technical field of medical instruments, and particularly discloses an interatrial septum stoma device which comprises a first sheath, wherein the far end of the first sheath is connected with a support piece; the second sheath tube is sleeved on the first sheath tube, and the distal end of the second sheath tube is connected with the cutting assembly; the handle assembly is connected with the near ends of the first sheath tube and the second sheath tube and used for controlling the first sheath tube to move axially relative to the second sheath tube so as to drive the supporting piece to be far away from or close to the cutting assembly. Above-mentioned setting can make support piece pass the pre-trompil of interatrial septum department before cutting interatrial septum tissue to the removal through first sheath pipe makes the support piece that is in the contraction state can press from both sides the interatrial septum tissue that needs the cutting with the cutting assembly, and after the cutting assembly was accomplished the cutting stoma, control support piece pulled into the inner chamber of cutting assembly and shutoff cutting assembly's distal end opening with the tissue that cuts down. When the cutting assembly is withdrawn from the interatrial septum to the outside of the body, the cut tissue is prevented from scattering into the body and forming embolism.

Description

Interatrial septum stoma device
Technical Field
The invention relates to the technical field of medical instruments, in particular to an interatrial septum ostomy device.
Background
Currently, most heart failure begins with left heart failure, which manifests itself primarily as pulmonary circulation congestion, and for chronic heart failure caused by persistent high pressure in the left atrium, the usual solution is to implant a shunt device in the interatrial space between the left atrium and the right atrium, redistributing the amount of atrial blood and reducing the pressure imbalance in the room.
An interatrial ostomy is a stoma at the patient's interatrial septum, thereby creating a shunt for the left and right heart rooms, used to treat pulmonary hypertension (right-to-left shunt) or left heart failure (left-to-right shunt), and has proven clinically effective.
Conventional interatrial septum ostomy methods, such as balloon interatrial septum ostomy, have a tendency for the myocardial tissue to recoil after the stoma and over time the stoma may shrink or even close completely. In order to solve the problem that the stoma is reduced or even closed, the prior art provides an ostomy bracket, which can respectively disclose an implant for atrial shunt.
However, implants for atrial shunts leave the device in place at the stoma, which can easily lead to thrombosis, or the device falling off, forming an embolism. In addition, the passage is closed and the shunting action is lost, as endothelial attachment can cause the instrument opening to be blocked. In addition, there is a high risk of cutting the endocardial tissue during the procedure by means of a mechanical or high frequency electrotome, which may lead to the cut tissue falling out and forming emboli, for example, during the operation of the intraoperative grasping device, or during retrieval. Furthermore, loosening of the grasping device can easily result in damage to other myocardial tissue if it is cut during the cutting process.
Disclosure of Invention
It is an object of the present invention to provide an interatrial septum ostomy device that allows for the approach of a support member to a cutting assembly within the heart to retrieve cut tissue without the risk of embolization.
In order to achieve the purpose, the invention adopts the following technical scheme:
the present invention provides an interatrial septum ostomy device, comprising:
the distal end of the first sheath is connected with a supporting piece;
the second sheath tube is sleeved on the first sheath tube, and the far end of the second sheath tube is connected with a cutting assembly;
and the handle assembly is connected with the near ends of the first sheath tube and the second sheath tube and used for controlling the first sheath tube to axially move relative to the second sheath tube so as to drive the support piece to be far away from or close to the cutting assembly.
Preferably, the handle assembly comprises a first handle and a second handle, the first handle is sleeved on the second handle and can slide along the axial direction relative to the second handle, the first handle is connected with the proximal end of the first sheath, and the second handle is connected with the proximal end of the second sheath.
Preferably, the second handle comprises a proximal section, a transition section and a distal section which are sequentially connected along a proximal end to distal end direction, the first handle is sleeved on the proximal section, the outer diameter of the transition section is larger than that of the proximal section, the proximal end of the transition section is provided with a diameter-changing portion, and the outer diameter of the diameter-changing portion is gradually increased along the proximal end to distal end direction.
Preferably, the first handle is arranged at the proximal end side of the second handle, the second handle is provided with a through inner cavity, and the proximal end of the first sheath tube passes through the second handle and then is connected with the first handle.
Preferably, a guide rod is arranged on the inner wall of the first handle, the guide rod is arranged in parallel with the axial direction of the first sheath tube, a first sliding block is arranged at the near end of the second handle, a first sliding groove is arranged on the first sliding block, and the first sliding groove slides along the guide rod;
or the inner wall of the first handle is provided with a limiting groove, the limiting groove is parallel to the axial direction of the first sheath pipe, the near end of the second handle is provided with a second sliding block, and the second sliding block slides along the limiting groove.
Preferably, a stop annular groove is formed in the inner wall of the proximal end of the second handle; the far end of the first sliding block is provided with a stop block, and the stop block is clamped in the stop annular groove.
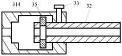
Preferably, the interatrial septum ostomy device further comprises a locking screw, a locking screw hole which is radially communicated is formed in the side wall of the first handle, and the locking screw is in threaded connection with the locking screw hole and abuts against the second handle.
Preferably, the distal section comprises a drive assembly for driving the second sheath to move relative to the second handle.
Preferably, the driving assembly comprises a rolling wheel and a screw rod, the rolling wheel is provided with a threaded through hole, the threaded through hole is axially parallel to the second sheath tube, and the screw rod is in threaded fit in the threaded through hole and is connected with the proximal end of the second sheath tube.
Preferably, the drive assembly further comprises a limit assembly for restricting axial and circumferential movement of the screw.
The invention has the beneficial effects that:
the invention provides an interatrial septum stoma device, which comprises a first sheath, wherein the far end of the first sheath is connected with a support piece; the second sheath tube is sleeved on the first sheath tube, and the distal end of the second sheath tube is connected with the cutting assembly; the handle assembly is connected with the near ends of the first sheath tube and the second sheath tube and used for controlling the first sheath tube to move axially relative to the second sheath tube so as to drive the supporting piece to be far away from or close to the cutting assembly. The aforesaid setting can make support piece pass the pre-trompil of interatrial septum department before cutting interatrial septum tissue to the removal through first sheath pipe makes the support piece that is in the contraction state can press from both sides the interatrial septum tissue that needs the cutting with the cutting assembly, and after the cutting assembly was accomplished the cutting stoma, control support piece pulled into the inner chamber of cutting assembly and shutoff cutting assembly's distal end opening with the tissue that cuts down. The cutting assembly is prevented from withdrawing from the interatrial septum to the outside of the body, and cut tissues are prevented from scattering into the body and forming embolism.
Drawings
FIG. 1 is a schematic view of the structure of a compartmental ostomy device according to an embodiment of the invention;
FIG. 2 is a schematic structural diagram of a supporting member, a pushing rod and a first sheath according to an embodiment of the present invention;
FIG. 3 is a schematic structural diagram of a cutting blade, a supporting member, a pushing rod and a first sheath according to an embodiment of the present invention;
FIG. 4 is a schematic structural view of a handle assembly in an embodiment of the present invention;
FIG. 5 is a first schematic view of the internal structure of the handle assembly according to the embodiment of the present invention;
FIG. 6 is a schematic structural diagram of a first slider according to an embodiment of the present invention;
FIG. 7 is a schematic structural diagram of a first housing according to an embodiment of the invention;
FIG. 8 is a schematic structural diagram of a second housing in an embodiment of the invention;
FIG. 9 is a second schematic view of the internal structure of the handle assembly in accordance with the embodiment of the present invention;
FIG. 10 is a schematic view of the internal structure of the distal segment in an embodiment of the present invention.
In the figure:
100. a support member; 200. a cutting knife; 300. a push rod;
1. a second sheath;
2. a first sheath tube;
3. a handle assembly; 31. a first handle; 311. a guide bar; 312. locking the screw hole; 313. a stopper portion; 314. a limiting groove; 32. a second handle; 321. a first housing; 3211. a first stopper groove; 3212. a first snap projection; 3213. a second chute; 322. a second housing; 3221. a second stopper groove; 3222. a second snap projection; 323. a transition section; 324. a distal segment; 325. a drive assembly; 3251. a rolling wheel; 3252. a screw; 32521. a third slider; 32522. connecting holes; 33. locking the screw; 34. a first slider; 341. a first chute; 342. a stop block; 3421. a card slot; 35. and a second slider.
Detailed Description
The technical solutions of the present invention will be described clearly and completely with reference to the accompanying drawings, and it should be understood that the described embodiments are some, but not all embodiments of the present invention. All other embodiments, which can be derived by a person skilled in the art from the embodiments given herein without making any creative effort, shall fall within the protection scope of the present invention.
In the description of the present invention, it should be noted that the terms "center", "upper", "lower", "left", "right", "vertical", "horizontal", "inner", "outer", etc., indicate orientations or positional relationships based on the orientations or positional relationships shown in the drawings, and are only for convenience of description and simplicity of description, but do not indicate or imply that the device or element being referred to must have a particular orientation, be constructed and operated in a particular orientation, and thus, should not be construed as limiting the present invention. Furthermore, the terms "first," "second," and the like are used for descriptive purposes only and are not to be construed as indicating or implying relative importance. Where the terms "first position" and "second position" are two different positions, and where a first feature is "over", "above" and "on" a second feature, it is intended that the first feature is directly over and obliquely above the second feature, or simply means that the first feature is at a higher level than the second feature. A first feature being "under," "below," and "beneath" a second feature includes the first feature being directly under and obliquely below the second feature, or simply meaning that the first feature is at a lesser elevation than the second feature.
In the description of the present invention, it should be noted that, unless otherwise explicitly specified or limited, the terms "mounted," "connected," and "connected" are to be construed broadly, e.g., as meaning either a fixed connection, a removable connection, or an integral connection; can be mechanically or electrically connected; they may be connected directly or indirectly through intervening media, or they may be interconnected between two elements. The specific meanings of the above terms in the present invention can be understood in specific cases to those skilled in the art.
Reference will now be made in detail to embodiments of the present invention, examples of which are illustrated in the accompanying drawings, wherein like or similar reference numerals refer to the same or similar elements or elements having the same or similar function throughout. The embodiments described below with reference to the accompanying drawings are illustrative only for the purpose of explaining the present invention, and are not to be construed as limiting the present invention.
As shown in fig. 1 to 10, the present embodiment provides a interatrial septum ostomy device including afirst sheath 2, asecond sheath 1 and ahandle assembly 3. Wherein, the distal end of thefirst sheath 2 is connected with asupport 100; thesecond sheath tube 1 is sleeved on thefirst sheath tube 2, and the far end of thesecond sheath tube 1 is connected with a cutting assembly; handlecomponent 3 connects the near-end offirst sheath pipe 2 andsecond sheath pipe 1, and handlecomponent 3 is used for controlling the axial displacement offirst sheath pipe 2 forsecond sheath pipe 1 to drivesupport piece 100 and keep away from or be close to the cutting assembly. In this embodiment, the supportingmember 100 may be an elastic woven mesh. In other embodiments, thesupport member 100 may be other structural members that provide support and deformation functions.
In this embodiment, the above arrangement enables the supportingmember 100 to pass through the pre-opening hole at the interatrial septum before cutting the interatrial septum tissue, and enables the supportingmember 100 in the contracted state to clamp the interatrial septum tissue to be cut with the cutting assembly by the movement of thefirst sheath tube 2, and controls the supportingmember 100 to pull the cut tissue into the inner cavity of the cutting assembly and close the distal opening of the cutting assembly after the cutting assembly completes the cutting of the stoma. The cutting assembly is prevented from withdrawing from the interatrial septum to the outside of the body, and cut tissues are prevented from scattering into the body and forming embolism.
In this embodiment, the cutting assembly includes a cuttingknife 200, and the edge of the cuttingknife 200 is circular. The outer diameter of thesupport member 100 in the contracted state is slightly smaller than the inner diameter of the cutting edge, so that thesupport member 100 and the cut tissue are withdrawn together into the inner cavity of thecutting blade 200 after thecutting blade 200 completes the cutting of the stoma.
The interatrial septum stoma device of this embodiment still includes the third sheath, and the third sheath is worn to locate bysecond sheath 1, andfirst sheath 2 is located tosecond sheath 1 cover, and cuttingknife 200 is connected in the distal end ofsecond sheath 1. Thepush rod 300 is inserted into thefirst sheath 2, and one end thereof is welded to thesupport 100. The expansion and contraction of thepush rod 300 with respect to thefirst sheath 2 can drive thesupport 100 to switch between the contracted state and the expanded state.
It should be noted that the distal and proximal ends referred to in the present invention are proximal to the operator and distal to the operator in the atrial septum ostomy device.
In this embodiment, optionally, thehandle assembly 3 includes afirst handle 31 and asecond handle 32, thefirst handle 31 is sleeved on thesecond handle 32, and thefirst handle 31 can slide axially relative to thesecond handle 32, thefirst handle 31 is connected to the proximal end of thefirst sheath 2, and thesecond handle 32 is connected to the proximal end of thesecond sheath 1. With the help of the above arrangement, thefirst handle 31 is driven to drive the distal end of thefirst sheath 2 to be close to or far away from the cutting assembly, and the distal end position of thefirst sheath 2 is adjusted to clamp the atrial septal tissue to be cut. During the use, also can advance earlier the distal end offirst sheath pipe 2 in order to pass the trompil in advance of interatrial septum department, then makesupport piece 100 change into the shrink state from the expansion state to drivefirst sheath pipe 2 and move along distal end to near-end direction so thatsupport piece 100 pastes the distal side at the interatrial septum, cuttingknife 200 advances forward at this moment and excises the interatrial septum tissue of centre gripping between cuttingknife 200 andsupport piece 100. Thefirst sheath 2 remains stationary during thecutting blade 200 to cut the atrial septum tissue.
As shown in fig. 4, optionally, thesecond handle 32 includes a proximal section, atransition section 323, and adistal section 324 sequentially connected in a proximal-to-distal direction, thefirst handle 31 is sleeved on the proximal section, an outer diameter of thetransition section 323 is greater than an outer diameter of the proximal section, and a proximal end of thetransition section 323 is provided with a diameter-variable portion, and an outer diameter of the diameter-variable portion gradually increases in the proximal-to-distal direction. The arrangement enables thefirst handle 31 to abut against thetransition section 323 after moving for a certain distance relative to thesecond handle 32, thereby realizing the mechanical limit function and improving the safety of the operation.
Specifically, in the embodiment, thefirst handle 31 is provided with a stoppingportion 313, the stoppingportion 313 is an arc funnel shape with an opening facing thesecond handle 32, and thetransition section 323 is matched with the stoppingportion 313 in structure and is in a spherical shape. When thestop 313 and thetransition 323 abut, thefirst handle 31 is stationary relative to thesecond handle 32. In addition, because thetransition section 323 is held by an operator during use, the spherical arrangement can also improve the holding comfort of the user.
Further, thefirst handle 31 is provided on the proximal end side of thesecond handle 32, thesecond handle 32 has a through lumen, and the proximal end of thefirst sheath tube 2 is connected to thefirst handle 31 after passing through thesecond handle 32. This setting makesfirst sheath pipe 2 locate insidesecond handle 32 forfirst handle 31 is when moving relativesecond handle 32, can not touchfirst sheath pipe 2, avoids it to receive the damage, has improved the security of device, and makes interatrial septum ostomy device compact structure.
Referring to fig. 5 to 6, in this embodiment, specifically, aguide rod 311 is disposed on an inner wall of thefirst handle 31, theguide rod 311 is disposed in parallel with an axial direction of thefirst sheath 2, afirst slider 34 is disposed at a proximal end of thesecond handle 32, a first slidingslot 341 is disposed on thefirst slider 34, and the first slidingslot 341 slides along theguide rod 311. Above-mentioned setting can realize spacingfirst sheath pipe 2 in axial and ascending week, has avoidedfirst sheath pipe 2 to follow circumferential direction, has restrictedfirst sheath pipe 2 at the ascending displacement distance of axial simultaneously.
Further, twoguide rods 311 are provided, and the twoguide rods 311 are symmetrical with respect to the axis of thefirst handle 31. In this embodiment, specifically, theguide rod 311 is formed by two grooves, the grooves are disposed in parallel with the axial direction of thefirst handle 31, the first slidinggroove 341 is formed by two protrusions, that is, the outer contour of the projection of the first slidingblock 34 along the extending direction of thefirst sheath 2 is H-shaped, and after assembly, the two protrusions are respectively located in the two grooves. The length of the groove is 1-10 cm, preferably 2-3 cm.
Wherein, theguide rod 311 and thefirst handle 31 can be screwed or integrally formed. Theguide rod 311 and thefirst handle 31 are integrally formed, so that the production process can be reduced, the production efficiency can be improved, and thefirst handle 31 can be further reinforced. In this embodiment, it is preferable that the contact surface of theguide rod 311 and the first slidinggroove 341 is coated with lubricating grease to improve the sliding performance.
Further, the cross section of theguide rod 311 may be arc-shaped or square, and the cross section of the first slidinggroove 341 may be identical to the cross section of theguide rod 311, or may be arc-shaped or square. Of course, the cross section of thefirst runner 341 may not be the same as the cross section of theguide rod 311. For example, when the cross section of theguide rod 311 is arc-shaped, the cross section of the first slidinggroove 341 may be square, and this arrangement enables the outer profile of the cross section of theguide rod 311 to form an inscribed circle of the inner profile of the cross section of the first slidinggroove 341 when theguide rod 311 and the first slidinggroove 341 are matched, that is, the gap between theguide rod 311 and the first slidinggroove 341 is large, and the receiving space is large, so that more lubricating grease can be received, and the period in which theguide rod 311 can smoothly slide in the first slidinggroove 341 is prolonged.
7-8, optionally, a stop annular groove is provided on the inner wall of the proximal end of thesecond handle 32; the distal end of thefirst slider 34 is provided with astop block 342, and thestop block 342 is clamped in the stop annular groove. By means of the arrangement of the structure, the first slidingblock 34 and thesecond handle 32 are easy to assemble and firm to connect.
Optionally, thesecond handle 32 includes afirst housing 321 and asecond housing 322, thefirst housing 321 and thesecond housing 322 are respectively provided with a first stoppinggroove 3211 and a second stoppinggroove 3221, and after thefirst housing 321 and thesecond housing 322 are connected, the first stoppinggroove 3211 and the second stoppinggroove 3221 are enclosed to form a stopping annular groove; one end of thefirst slider 34 is provided with astop block 342, and thestop block 342 is clamped in the stop annular groove. This arrangement improves the efficiency of connecting thesecond handle 32 and thefirst slider 34, and facilitates the processing of thesecond handle 32 having a relatively complicated structure.
Further, afirst locking protrusion 3212 and asecond locking protrusion 3222 are respectively disposed in the first stoppinggroove 3211 and the second stoppinggroove 3221, two lockinggrooves 3421 are circumferentially disposed on the stoppingblock 342, and when the stoppingblock 342 is located in the stopping annular groove, thefirst locking protrusion 3212 and thesecond locking protrusion 3222 are respectively located in the two lockinggrooves 3421. This arrangement prevents thestopper 342 from rotating relative to thesecond handle 32, and provides guidance during installation, thereby preventing installation misalignment and improving installation efficiency.
In this embodiment, thefirst housing 321 and thesecond housing 322 are connected by clamping, bonding or screwing. Further, a sealing gasket is disposed between thefirst housing 321 and thesecond housing 322 to increase the sealing performance of thesecond handle 32.First casing 321 andsecond casing 322 all are equipped with the mounting groove, and two mounting groove formation installation chambeies afterfirst casing 321 andsecond casing 322 are connected, and the installation intracavity is located to bar installation sand grip.
Referring to fig. 9, in another embodiment of the present embodiment, a limitinggroove 314 is formed on an inner wall of thefirst handle 31, the limitinggroove 314 is arranged in parallel with an axial direction of thefirst sheath 2, asecond slider 35 is arranged at a proximal end of thesecond handle 32, and thesecond slider 35 slides along the limitinggroove 314.
Alternatively, thesecond slider 35 may be a pin. The length of the limitinggroove 314 is 1-10 cm. Preferably, the length of therestraint slot 314 is 2-3 centimeters. The limitinggroove 314 can guide thefirst handle 31 and thesecond handle 32, and can limit the maximum displacement of the relative movement of thefirst handle 31 and thesecond handle 32.
Regarding the connection relationship between the pin and thesecond handle 32, in this embodiment, optionally, thesecond handle 32 is provided with a fixing hole, and the pin is provided in the fixing hole. This arrangement makes the connection of the pin to thesecond handle 32 more secure. In this embodiment, the pin's simple structure is convenient for produce and assembly. Specifically, the fixing hole is a threaded hole, a stud is arranged at one end of the pin, and the stud is in threaded connection with the threaded hole. In other embodiments of this embodiment, the pin is integrally formed with thesecond handle 32. This arrangement reduces the number of manufacturing steps and improves the efficiency of pin andsecond handle 32 production.
In this embodiment, thestop portion 313 and thetransition portion 323 are disposed to prevent thefirst handle 31 from moving too far relative to thesecond handle 32 due to the limitation failure of the limitinggroove 314 and thesecond slider 35 in the axial direction of thefirst handle 31.
Preferably, the interatrial septum ostomy device further comprises a lockingscrew 33, a lockingscrew hole 312 which is radially penetrated is arranged on the side wall of thefirst handle 31, and the lockingscrew 33 is in threaded connection with the lockingscrew hole 312 and abuts against thesecond handle 32. This setting makesfirst sheath pipe 2 remove when predetermineeing the position, can remain stable state, avoids thefirst sheath pipe 2 of cutting process to take place to remove, leads to the cutting position skew to appear, causes the damage to the interatrial interval.
As shown in fig. 10, in this embodiment, thedistal segment 324 optionally includes a drivingassembly 325, and the drivingassembly 325 is used for driving thesecond sheath 1 to move relative to thesecond handle 32. With the above arrangement, thesecond sheath 1 can be driven, thereby completing the distal movement of the cutting assembly. Specifically, the drivingassembly 325 includes arolling wheel 3251 and ascrew rod 3252, therolling wheel 3251 is provided with a threaded through hole, the threaded through hole is arranged in parallel with the axial direction of thesecond sheath tube 1, and thescrew rod 3252 is threaded-fitted in the threaded through hole and connected with the proximal end of thesecond sheath tube 1. With the arrangement of the structure, the rotation of therolling wheel 3251 is converted into the linear motion of thesecond sheath tube 1, and the moving precision is improved. Further, the cross-sectional shape of the thread of the threaded through-hole is trapezoidal to achieve locking of thesecond sheath 1.
Optionally, drive assembly 325 further includes a limit assembly for restricting axial and circumferential movement ofscrew 3252. The limiting assembly comprises a second slidinggroove 3213 and a third slidingblock 32521, the second slidinggroove 3213 is arranged in thefirst shell 321 and is parallel to the axial direction of thesecond sheath tube 1, and the third slidingblock 32521 is arranged in thescrew 3252. Thethird slider 32521 is slidable in the second slidinggroove 3213.
Optionally, thescrew rod 3252 is provided with an inner cavity penetrating along the axial direction, and the side wall of thescrew rod 3252 is provided with a connectinghole 32522 penetrating along the radial direction; thesecond sheath 1 is inserted into the inner cavity, and the connection screw is screwed into theconnection hole 32522 and abuts against thesecond sheath 1.
It should be understood that the above-described embodiments of the present invention are merely examples for clearly illustrating the present invention, and are not intended to limit the embodiments of the present invention. Other variations and modifications will be apparent to persons skilled in the art in light of the above description. And are neither required nor exhaustive of all embodiments. Any modification, equivalent replacement, and improvement made within the spirit and principle of the present invention should be included in the protection scope of the claims of the present invention.

Claims (10)

CN202111572648.2A2021-12-212021-12-21Room separates ostomy deviceActiveCN114176721B (en)

Priority Applications (2)

Application NumberPriority DateFiling DateTitle
CN202111572648.2ACN114176721B (en)2021-12-212021-12-21Room separates ostomy device
PCT/CN2022/128011WO2023116191A1 (en)2021-12-212022-10-27Atrial septostomy device

Applications Claiming Priority (1)

Application NumberPriority DateFiling DateTitle
CN202111572648.2ACN114176721B (en)2021-12-212021-12-21Room separates ostomy device

Publications (2)

Publication NumberPublication Date
CN114176721Atrue CN114176721A (en)2022-03-15
CN114176721B CN114176721B (en)2024-07-02

Family

ID=80605762

Family Applications (1)

Application NumberTitlePriority DateFiling Date
CN202111572648.2AActiveCN114176721B (en)2021-12-212021-12-21Room separates ostomy device

Country Status (1)

CountryLink
CN (1)CN114176721B (en)

Cited By (2)

* Cited by examiner, † Cited by third party
Publication numberPriority datePublication dateAssigneeTitle
WO2023116191A1 (en)*2021-12-212023-06-29上海申淇医疗科技有限公司Atrial septostomy device
CN117752388A (en)*2024-02-182024-03-26北京心祐医疗科技有限公司Room space punching device

Citations (6)

* Cited by examiner, † Cited by third party
Publication numberPriority datePublication dateAssigneeTitle
US20200315599A1 (en)*2019-04-032020-10-08V-Wave Ltd.Systems and methods for delivering implantable devices across an atrial septum
CN112568971A (en)*2019-09-302021-03-30北京迈迪顶峰医疗科技有限公司Interatrial septum stoma device
CN112568973A (en)*2019-09-302021-03-30北京迈迪顶峰医疗科技有限公司Interatrial septum stoma device
CN214017733U (en)*2021-06-012021-08-24上海心瑞医疗科技有限公司Interatrial septum stoma device
CN215079182U (en)*2021-03-262021-12-10上海申淇医疗科技股份有限公司Conveying sheath pipe
CN218279747U (en)*2021-12-212023-01-13上海申淇医疗科技有限公司Interatrial septum stoma device

Patent Citations (6)

* Cited by examiner, † Cited by third party
Publication numberPriority datePublication dateAssigneeTitle
US20200315599A1 (en)*2019-04-032020-10-08V-Wave Ltd.Systems and methods for delivering implantable devices across an atrial septum
CN112568971A (en)*2019-09-302021-03-30北京迈迪顶峰医疗科技有限公司Interatrial septum stoma device
CN112568973A (en)*2019-09-302021-03-30北京迈迪顶峰医疗科技有限公司Interatrial septum stoma device
CN215079182U (en)*2021-03-262021-12-10上海申淇医疗科技股份有限公司Conveying sheath pipe
CN214017733U (en)*2021-06-012021-08-24上海心瑞医疗科技有限公司Interatrial septum stoma device
CN218279747U (en)*2021-12-212023-01-13上海申淇医疗科技有限公司Interatrial septum stoma device

Cited By (2)

* Cited by examiner, † Cited by third party
Publication numberPriority datePublication dateAssigneeTitle
WO2023116191A1 (en)*2021-12-212023-06-29上海申淇医疗科技有限公司Atrial septostomy device
CN117752388A (en)*2024-02-182024-03-26北京心祐医疗科技有限公司Room space punching device

Also Published As

Publication numberPublication date
CN114176721B (en)2024-07-02

Similar Documents

PublicationPublication DateTitle
CN114176721A (en)Interatrial septum stoma device
US11877718B2 (en)Thrombus removal device
EP1909660B1 (en)Endocardial lead removing apparatus
CN112568973B (en)Interatrial septum ostomy device
US20110208207A1 (en)Endocardial lead removing apparatus
CN114145813B (en)Room separates ostomy device
US20170113017A1 (en)Adjustable curved medical catheter and assembling method thereof
US11583442B2 (en)Device and method for creating a channel in soft tissue
CN112568971B (en)Interatrial septum ostomy device
EP3950052A1 (en)Leadless pacemaker and leadless pacemaker system
CN211156129U (en)Interatrial septum stoma device
CN218279747U (en)Interatrial septum stoma device
CN114098916B (en)Room separates ostomy device
CN104337553A (en)Heart hole opener
CN114176720A (en)Interatrial septum stoma device
CN218305043U (en) atrial septostomy device
CN211156127U (en)Interatrial septum stoma device
CN113116500B (en)Ostomy system
CN218305042U (en) atrial septostomy device
CN218305041U (en) atrial septostomy device
CN114052897B (en)Atrial shunt apparatus and ostomy apparatus
CN112568974B (en) Atrial septostomy
CN213963583U (en)Blood vessel intracavity puncture device
CN213940864U (en)Handle for auricle clamp conveying system and auricle clamp conveying system
CN209863948U (en)Bone saw for orthopedic doctor

Legal Events

DateCodeTitleDescription
PB01Publication
PB01Publication
SE01Entry into force of request for substantive examination
SE01Entry into force of request for substantive examination
GR01Patent grant

[8]ページ先頭

©2009-2025 Movatter.jp