Movatterモバイル変換


[0]ホーム

URL:


CN114167606A - Optical waveguide assembly and display device including the same - Google Patents

Optical waveguide assembly and display device including the same
Download PDF

Info

Publication number
CN114167606A
CN114167606ACN202010951427.5ACN202010951427ACN114167606ACN 114167606 ACN114167606 ACN 114167606ACN 202010951427 ACN202010951427 ACN 202010951427ACN 114167606 ACN114167606 ACN 114167606A
Authority
CN
China
Prior art keywords
liquid crystal
coupling
crystal grating
grating
light
Prior art date
Legal status (The legal status is an assumption and is not a legal conclusion. Google has not performed a legal analysis and makes no representation as to the accuracy of the status listed.)
Granted
Application number
CN202010951427.5A
Other languages
Chinese (zh)
Other versions
CN114167606B (en
Inventor
马珂奇
徐钦锋
杜佳玮
Current Assignee (The listed assignees may be inaccurate. Google has not performed a legal analysis and makes no representation or warranty as to the accuracy of the list.)
Ningbo Sunny Opotech Co Ltd
Original Assignee
Ningbo Sunny Opotech Co Ltd
Priority date (The priority date is an assumption and is not a legal conclusion. Google has not performed a legal analysis and makes no representation as to the accuracy of the date listed.)
Filing date
Publication date
Application filed by Ningbo Sunny Opotech Co LtdfiledCriticalNingbo Sunny Opotech Co Ltd
Priority to CN202010951427.5ApriorityCriticalpatent/CN114167606B/en
Priority to CN202180055152.XAprioritypatent/CN116194819A/en
Priority to PCT/CN2021/117164prioritypatent/WO2022052949A1/en
Publication of CN114167606ApublicationCriticalpatent/CN114167606A/en
Application grantedgrantedCritical
Publication of CN114167606BpublicationCriticalpatent/CN114167606B/en
Activelegal-statusCriticalCurrent
Anticipated expirationlegal-statusCritical

Links

Images

Classifications

Landscapes

Abstract

The present application provides an optical waveguide assembly comprising: the first diffraction unit comprises a first coupling liquid crystal grating and a first coupling liquid crystal grating, the first coupling liquid crystal grating is used for coupling first light into the waveguide, and the first coupling liquid crystal grating is used for coupling the first light out of the waveguide; the second diffraction unit comprises a second coupling liquid crystal grating and a second coupling liquid crystal grating, the second coupling liquid crystal grating is used for coupling second light into the waveguide sheet, and the second coupling liquid crystal grating is used for coupling the second light out of the waveguide sheet; according to the invention, the first coupling-in liquid crystal grating and the first coupling-out liquid crystal grating of the first diffraction unit or the second coupling-in liquid crystal grating and the second coupling-out liquid crystal grating of the second diffraction unit are in a grating state in the first direction by alternately applying voltage to the diffraction units, so that light rays with different wavelengths can be respectively diffracted, full-color display is realized, and the structure is simple, light, thin and small.

Description

Optical waveguide assembly and display device including the same
Technical Field
The application relates to the technical field of optical transmission, in particular to an optical waveguide component and display equipment comprising the same.
Background
The display equipment is mainly used for displaying pictures or videos to human eyes, and can be widely applied to the fields of virtual reality, augmented reality, mixed reality, military and the like.
The display device comprises an optical waveguide sheet and an image source, wherein light is input into the optical waveguide sheet by the image source, and enters human eyes after a visual difference is formed through diffraction, so that a 3D effect is formed. In order to give the user a better visual experience, the display device needs to display in full color.
However, the single-layer waveguide sheet has different transmission efficiency and diffraction angle for light with different wavelengths, which usually causes the imbalance of the proportion and the outgoing angle after the light with three colors of red, green and blue is transmitted, thereby causing the problems of non-uniform color, color cast display, and rainbow effect.
At present, for full-color display, a stacked structure of multiple waveguide sheets is generally adopted, and light of a specific wavelength range is modulated by each waveguide sheet. For example, a two-layer waveguide sheet stack structure, one layer for processing light for a blue field of view and a portion of a green field of view, and the other layer for processing light for a portion of a green field of view and an entire red field of view; for example, the three waveguide sheets are stacked to process light in blue, red, and green fields.
However, such a stacked structure of the waveguide sheets leads to a large thickness of the entire display device, which is disadvantageous for the miniaturization and weight reduction of the device.
Disclosure of Invention
A main object of the present application is to provide an optical waveguide module capable of full-color display and having a simple structure, and a display device including the optical waveguide module.
An embodiment of the present application provides an optical waveguide assembly, including:
the waveguide sheet comprises a first optical surface and a second optical surface opposite to the first optical surface, and is used for carrying out total reflection transmission on light rays in the waveguide sheet; and
at least two diffraction units, wherein
-the first diffraction unit comprises a first incoupling liquid crystal grating and a first incoupling liquid crystal grating provided on the first optical surface, the first incoupling liquid crystal grating and the first incoupling liquid crystal grating being arranged to be in a grating state in the first direction with or without voltage applied, the first incoupling liquid crystal grating being for incoupling the first light into the waveguide sheet in case of being in the grating state in the first direction, the first incoupling liquid crystal grating being for outcoupling the first light out of the waveguide sheet to the visible area in case of being in the grating state in the first direction, and
the second diffraction unit includes a second coupling-in liquid crystal grating and a second coupling-out liquid crystal grating provided on the second optical surface, the second coupling-in liquid crystal grating and the second coupling-out liquid crystal grating being arranged to be in a grating state in the first direction when a voltage is applied or not applied, the second coupling-in liquid crystal grating being configured to couple a second light into the waveguide sheet in a grating state in the first direction, the second coupling-out liquid crystal grating being configured to couple a second light out of the waveguide sheet to a visible region in a grating state in the first direction, the second light having a wavelength different from that of the first light;
the first coupling-in liquid crystal grating and the first coupling-out liquid crystal grating of the first diffraction unit or the second coupling-in liquid crystal grating and the second coupling-out liquid crystal grating of the second diffraction unit are in a grating state in the first direction by alternately applying voltage to the diffraction units, so that the first light and the second light with different wavelengths can be respectively diffracted.
In one embodiment, the periods of the first coupling-in liquid crystal grating and the first coupling-out liquid crystal grating are set to correspond to the wavelength of the first light;
the period of the second coupling-in liquid crystal grating and the period of the second coupling-out liquid crystal grating are set to be corresponding to the wavelength of the second light.
In one embodiment, the first light is blue light and a part of green light with a wavelength close to that of the blue light, and the second light is red light and another part of green light with a wavelength close to that of the red light.
In one embodiment, the first coupling-in liquid crystal grating, the first coupling-out liquid crystal grating, the second coupling-in liquid crystal grating and the second coupling-out liquid crystal grating are arranged to be in a grating state in the first direction when a voltage is applied and in a uniform medium state in the first direction when no voltage is applied.
In one embodiment, the first direction is parallel to the first optical surface or the second optical surface of the waveguide sheet, and the first coupling-in liquid crystal grating, the first coupling-out liquid crystal grating, the second coupling-in liquid crystal grating and the second coupling-out liquid crystal grating are in a one-dimensional grating state in the first direction when a voltage is applied.
In one embodiment, the first coupling-in liquid crystal grating, the first coupling-out liquid crystal grating, the second coupling-in liquid crystal grating and the second coupling-out liquid crystal grating respectively include:
the liquid crystal layer comprises a plurality of liquid crystals, and the liquid crystals are cholesteric liquid crystals;
the two alignment film layers are oppositely arranged on two sides of the liquid crystal layer at intervals and used for giving the initial director of the liquid crystal;
a first electrode layer; and
and the first electrode layer and the second electrode layer are oppositely arranged at the outer sides of the two alignment film layers at intervals.
In one embodiment, the liquid crystal pitch of the first coupling-in liquid crystal grating and the first coupling-out liquid crystal grating is 340 nm.
In one embodiment, the liquid crystal pitch of the second coupling-in liquid crystal grating and the second coupling-out liquid crystal grating is 440 nm.
In one embodiment, the thickness of the liquid crystal layer is not more than 2.5 times the liquid crystal pitch.
In one embodiment, the first coupling-in liquid crystal grating, the first coupling-out liquid crystal grating, the second coupling-in liquid crystal grating and the second coupling-out liquid crystal grating are applied with square wave alternating current with the voltage of 1KHz, and the voltage amplitude is 5V-22V.
In one embodiment, the first electrode layer and the second electrode layer are made of an Indium Tin Oxide (ITO) material.
In one embodiment, each of the first coupling-in liquid crystal grating, the first coupling-out liquid crystal grating, the second coupling-in liquid crystal grating, and the second coupling-out liquid crystal grating further includes a plurality of spacers, and the plurality of spacers are disposed between the two alignment film layers to support the two alignment film layers and maintain and determine a distance therebetween.
In one embodiment, the waveguide sheet forms a substrate of a liquid crystal grating, the first coupling-in liquid crystal grating, the first coupling-out liquid crystal grating, the second coupling-in liquid crystal grating and the second coupling-out liquid crystal grating respectively further include a protective layer, and the substrate and the protective layer are oppositely disposed at intervals outside the first electrode layer and the second electrode layer.
In one embodiment, the protective layer is made of a glass material and has a thickness of 0.1mm to 0.3 mm.
In one embodiment, the waveguide sheet has a thickness of 0.3 to 2.5mm and a refractive index of 1.4 to 2.2.
In one embodiment, the optical waveguide assembly further includes a third diffraction unit, the third diffraction unit includes a third coupling liquid crystal grating and a third coupling liquid crystal grating, the third coupling liquid crystal grating is disposed on a surface of the first coupling liquid crystal grating opposite to the waveguide sheet or on a surface of the second coupling liquid crystal grating opposite to the waveguide sheet, and the third coupling liquid crystal grating are set to be in a grating state in the first direction when a voltage is applied or not applied;
the third coupling-in liquid crystal grating is used for coupling third light into the waveguide sheet under the condition that the grating state is formed in the first direction, the third coupling-out liquid crystal grating is used for coupling the third light out of the waveguide sheet to a visible area under the condition that the grating state is formed in the first direction, the wavelength of the third light is different from the wavelength of the first light and the second light,
the first coupling-in liquid crystal grating and the first coupling-out liquid crystal grating of the first diffraction unit, or the second coupling-in liquid crystal grating and the second coupling-out liquid crystal grating of the second diffraction unit, or the third coupling-in liquid crystal grating and the third coupling-out liquid crystal grating of the third diffraction unit are in a grating state in the first direction by alternately applying voltage to the diffraction units, so that the first light, the second light and the third light with different wavelengths can be respectively diffracted.
An embodiment of the present application further provides a display device, including:
the projector comprises a display chip and a projection lens, wherein the display chip is used for controlling at least first light and second light which are used for outputting display images according to a certain frequency and a time sequence, and the projection lens is used for projecting the light output by the display chip; and
an optical waveguide component, which is the optical waveguide component according to any of the embodiments above, wherein at least a first coupling-in liquid crystal grating of a first diffraction unit and a second coupling-in liquid crystal grating of a second diffraction unit of the optical waveguide component are used to couple light projected by the projection lens into a waveguide of the optical waveguide component, and at least a first coupling-out liquid crystal grating of the first diffraction unit and a second coupling-out liquid crystal grating of the second diffraction unit of the optical waveguide component are used to couple light coupled into the waveguide out of the waveguide to a visible area,
by alternately applying a voltage to each diffraction unit, the optical waveguide assembly is controlled at the same frequency as the output of the first light and the second light, and the grating of the first diffraction unit or the second diffraction unit is correspondingly brought into a grating state in the first direction to diffract the first light and the second light with different wavelengths, respectively.
In one embodiment, the first coupling-in liquid crystal grating and the first coupling-out liquid crystal grating of the first diffraction unit and the second coupling-in liquid crystal grating and the second coupling-out liquid crystal grating of the second diffraction unit are respectively applied with corresponding periodic voltages to control and switch the first coupling-in liquid crystal grating and the first coupling-out liquid crystal grating of the first diffraction unit and the second coupling-in liquid crystal grating and the second coupling-out liquid crystal grating of the second diffraction unit to be in a grating state in the first direction.
In one embodiment, the frequency of the first light and the second light output by the display chip is 60 Hz.
Has the advantages that:
the application provides an optical waveguide component respectively sets up a diffraction unit on two surfaces of waveguide piece, each diffraction unit includes coupling liquid crystal grating and coupling liquid crystal grating respectively, and coupling liquid crystal grating set up to be the grating state in the first direction when applying voltage or not applying voltage, through whether apply voltage for coupling liquid crystal grating and coupling liquid crystal grating of the diffraction unit that corresponds, make each grating of first diffraction unit and second diffraction unit be the grating state in the first direction, thereby diffract the light of different wavelength (the light of different colours, its wavelength is different), and then the optical waveguide component that this embodiment provided only need can realize the demonstration with the single-layer waveguide piece, simple structure, frivolous, small and exquisite, control method is simple, still easily manufacturing. In addition, in the optical waveguide module provided by this embodiment, under the condition that only a single layer of waveguide sheet is used, light beams with different wavelengths are diffracted by different gratings, so that the diffraction angles of light beams with different wavelengths are ensured to be constant, the diffraction efficiency is improved, and the problems of color cast, dispersion, color unevenness, rainbow effect and the like are avoided. In addition, the first coupling-in liquid crystal grating, the first coupling-out liquid crystal grating, the second coupling-in liquid crystal grating and the second coupling-out liquid crystal grating of the optical waveguide assembly provided by the embodiment are equivalent to a common one-dimensional surface relief grating, so that the field angle range is mainly influenced by the refractive index of the waveguide sheet, and can be reached by the common surface relief grating waveguide sheet, and the field angle is large.
Drawings
The advantages of the above and/or additional aspects of the present invention will become apparent and readily appreciated from the following description of the embodiments taken in conjunction with the accompanying drawings of which:
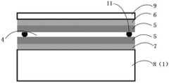
fig. 1 is a schematic structural diagram of an optical waveguide assembly according to an embodiment of the present application;
FIG. 2 is a schematic structural diagram of a liquid crystal grating of an optical waveguide assembly according to an embodiment of the present disclosure;
fig. 3 is a schematic diagram illustrating an operating state of a liquid crystal grating of an optical waveguide assembly according to an embodiment of the present application;
FIG. 4 is a schematic diagram illustrating another operating state of a liquid crystal grating of an optical waveguide assembly according to an embodiment of the present application;
fig. 5 is a schematic structural diagram of a display device according to an embodiment of the present application;
fig. 6 is a schematic diagram illustrating voltage/time (U/t) variation when power-up manipulation is performed for a diffraction cell of an optical waveguide assembly according to an embodiment of the present application.
Wherein, the correspondence between the reference numbers and the part names in fig. 1 to 6 is:
1. a waveguide sheet; 2. a first diffraction unit; 21. a first coupling-in liquid crystal grating; 22. a first coupling liquid crystal grating; 3. a second diffraction unit; 31. a second coupling-in liquid crystal grating; 32. a second coupling liquid crystal grating; 4. a liquid crystal layer; 41. a liquid crystal; 5. aligning the film layer; 6. a first electrode layer; 7. a second electrode layer; 8. a substrate; 9. a protective layer; 10. a projection light machine; 101. a display chip; 102. a projection lens; 11. a spacer.
Detailed Description
In order that the above objects, features and advantages of the present invention can be more clearly understood, a more particular description of the invention will be rendered by reference to the appended drawings. It should be noted that the embodiments and features of the embodiments of the present application may be combined with each other without conflict.
The application provides an optical waveguide subassembly and display device mainly are applied to virtual reality, augmented reality and mixed reality technical field, no matter be virtual reality, augmented reality, still mixed reality utilizes and turns into two kinds of images with the source image and enters into left and right people's eyes respectively, forms the visual difference to give people the 3D effect.
Specifically, the display device comprises a projection light machine and an optical waveguide component, wherein the optical waveguide component comprises a waveguide sheet and an in-coupling grating and an out-coupling grating which are arranged on the waveguide sheet.
The projection light machine projects image light to the coupling-in grating, the coupling-in grating diffracts the light into the waveguide sheet, the light is transmitted in the waveguide sheet in a total reflection mode, the light is transmitted to the coupling-out grating, and the coupling-out grating diffracts the light into a visible area outside the waveguide sheet so as to be received by human eyes.
Because the light is observed by human eyes, the image light projected by the projector is visible light, the visible light is divided into light with various colors, and the wavelengths of the light with different colors are different. The diffraction angle of light is related to the wavelength of light and the period of the grating, and further when the same grating diffracts light with different colors, the diffraction angle and the diffraction efficiency are different, so that the proportion and the emergent angle of the light with different colors after transmission are disordered, and the problems of uneven color, color cast display, rainbow effect and the like are caused.
The three colors of red, green and blue are basic colors, and other colors can be displayed by two or three kinds of superposition combination, so that the projector only needs to project the three colors of red, green and blue, and then the coupling-in and coupling-out gratings only need to diffract the three colors of light.
The optical waveguide assembly and the display device provided by the present application will be described in detail below.
Example 1
Fig. 1 is a schematic structural diagram of an optical waveguide assembly according to an embodiment of the present disclosure.
As shown in fig. 1, the present embodiment provides an optical waveguide assembly including:
thewaveguide sheet 1 comprises a first optical surface and a second optical surface opposite to the first optical surface, and thewaveguide sheet 1 is used for carrying out total reflection transmission on light rays in the waveguide sheet; and
at least two diffraction units, wherein
Afirst diffraction unit 2 including a first coupling-in liquid crystal grating 21 and a first coupling-out liquid crystal grating 22 provided on the first optical surface, the first coupling-in liquid crystal grating 21 and the first coupling-out liquid crystal grating 22 being arranged to be in a grating state in the first direction with or without voltage applied, the first coupling-in liquid crystal grating 21 being for coupling in the first light into thewaveguide sheet 1 in a case where the first direction is in the grating state, the first coupling-in liquid crystal grating 22 being for coupling out the first light from thewaveguide sheet 1 to the visible region in a case where the first direction is in the grating state; and
asecond diffraction unit 3 including a second coupling-in liquid crystal grating 31 and a second coupling-out liquid crystal grating 32 provided on the second optical surface, the second coupling-in liquid crystal grating 31 and the second coupling-out liquid crystal grating 32 being arranged to be in a grating state in the first direction with or without voltage applied, the second coupling-in liquid crystal grating 31 being for coupling in a second light into thewaveguide sheet 1 in a case where the first direction is in the grating state, the second coupling-out liquid crystal grating 32 being for coupling out the second light from thewaveguide sheet 1 to a visible region in a case where the first direction is in the grating state, the second light having a wavelength different from that of the first light,
by alternately applying a voltage to each diffraction cell, the first coupling-in liquid crystal grating 21 and the first coupling-out liquid crystal grating 22 of thefirst diffraction cell 2 or the second coupling-in liquid crystal grating 31 and the second coupling-out liquid crystal grating 32 of thesecond diffraction cell 3 are in a grating state in the first direction, and thus, the first light and the second light with different wavelengths can be diffracted respectively.
The specific working principle of the optical waveguide component provided by the embodiment is as follows:
when the first light is to be diffracted, the first coupling-in liquid crystal grating 21 and the first coupling-out liquid crystal grating 22 of thefirst diffraction unit 2 are in a grating state in the first direction, and the second coupling-in liquid crystal grating 31 and the second coupling-out liquid crystal grating 32 of thesecond diffraction unit 3 are not in a grating state in the first direction by applying or not applying a voltage, at this time, the grating of thefirst diffraction unit 2 diffracts the first light, and the grating of thesecond diffraction unit 3 does not diffract the light.
When the second light is to be diffracted, the first coupling-in liquid crystal grating 21 and the first coupling-out liquid crystal grating 22 of thefirst diffraction unit 2 are not in a grating state in the first direction, and the second coupling-in liquid crystal grating 31 and the second coupling-out liquid crystal grating 32 of thesecond diffraction unit 3 are in a grating state in the first direction by applying or not applying a voltage, at this time, the grating of thefirst diffraction unit 2 does not diffract the light, and the grating of thesecond diffraction unit 3 diffracts the second light.
The optical waveguide component provided by this embodiment is provided with a diffraction unit on each of two surfaces of thewaveguide sheet 1, each diffraction unit includes an incoupling liquid crystal grating and an outcoupling liquid crystal grating, and the incoupling liquid crystal grating and the outcoupling liquid crystal grating are set to be in a grating state in the first direction when a voltage is applied or not applied, and the gratings of thefirst diffraction unit 2 and thesecond diffraction unit 3 are in a grating state in the first direction by whether a voltage is applied to the incoupling liquid crystal grating and the outcoupling liquid crystal grating of the corresponding diffraction unit, so as to diffract light rays (light rays with different colors and different wavelengths) with different wavelengths. In addition, in the optical waveguide module provided by this embodiment, under the condition that only a single layer of waveguide sheet is used, light beams with different wavelengths are diffracted by different gratings, so that the diffraction angles of light beams with different wavelengths are ensured to be constant, the diffraction efficiency is improved, and the problems of color cast, dispersion, color unevenness, rainbow effect and the like are avoided. In addition, the first coupling-in liquid crystal grating 21, the first coupling-out liquid crystal grating 22, the second coupling-in liquid crystal grating 31, and the second coupling-out liquid crystal grating 32 of the optical waveguide assembly provided in this embodiment are equivalent to the ordinary one-dimensional surface relief grating, and therefore, the field angle range is mainly affected by the refractive index of thewaveguide sheet 1 itself, and the field angle range which can be achieved by the ordinary surface relief grating waveguide sheet can be provided, and the field angle is large and is approximately 40 ° to 60 °.
Specifically, the periods of the first coupling-in liquid crystal grating 21 and the first coupling-out liquid crystal grating 22 are set to correspond to the wavelength of the first light, that is, the difference between the periods of the first coupling-in liquid crystal grating 21 and the first coupling-out liquid crystal grating 22 and the wavelength of the first light is not large, so as to ensure that the diffraction angle of the first light is constant and improve the diffraction efficiency. The periods of the second coupling-in liquid crystal grating 31 and the second coupling-out liquid crystal grating 32 are set to correspond to the wavelength of the second light, that is, the difference between the periods of the second coupling-in liquid crystal grating 31 and the second coupling-out liquid crystal grating 32 and the wavelength of the second light is not large, so as to ensure that the diffraction angle of the second light is certain and improve the diffraction efficiency.
Further, in this embodiment, the first light is blue light and a portion of green light having a wavelength close to that of the blue light, and the second light is red light and another portion of green light having a wavelength close to that of the red light. One skilled in the art will readily recognize that in other embodiments, other colors of light for the first light or the second light are also within the scope of the present application.
In this embodiment, the first coupling-in liquid crystal grating 21, the first coupling-out liquid crystal grating 22, the second coupling-in liquid crystal grating 31, and the second coupling-out liquid crystal grating 32 are set to be in a grating state in the first direction when a voltage is applied, and to be in a uniform medium state in the first direction when no voltage is applied, that is, the optical waveguide assembly provided in this embodiment switches the working states of the respective gratings of the respective diffraction units by controlling the application of voltages to the first coupling-in liquid crystal grating 21, the first coupling-out liquid crystal grating 22, the second coupling-in liquid crystal grating 31, and the second coupling-outliquid crystal grating 32. Furthermore, the first direction is parallel to the first optical surface or the second optical surface of thewaveguide sheet 1, and the first coupling-in liquid crystal grating 21, the first coupling-out liquid crystal grating 22, the second coupling-in liquid crystal grating 31, and the second coupling-out liquid crystal grating 32 are in a one-dimensional grating state in the first direction when a voltage is applied. The specific working principle of the optical waveguide component provided by the embodiment is as follows:
when the first light needs to be diffracted, a voltage is applied to the first coupling-in liquid crystal grating 21 and the first coupling-out liquid crystal grating 22 of thefirst diffraction unit 2, and no voltage is applied to the second coupling-in liquid crystal grating 31 and the second coupling-out liquid crystal grating 32 of thesecond diffraction unit 3, at this time, the grating of thefirst diffraction unit 2 is in a one-dimensional grating state in the first direction, and plays a role of diffracting the first light. The grating of thesecond diffraction unit 3 is in a uniform medium state in the first direction and does not diffract light.
When the second light needs to be diffracted, no voltage is applied to the first coupling-in liquid crystal grating 21 and the first coupling-out liquid crystal grating 22 of thefirst diffraction unit 2, and a voltage is applied to the second coupling-in liquid crystal grating 31 and the second coupling-out liquid crystal grating 32 of thesecond diffraction unit 3, at this time, the grating of thefirst diffraction unit 2 is in a uniform medium state in the first direction, and does not diffract the light. The grating of thesecond diffraction unit 3 is in a one-dimensional grating state in the first direction, and diffracts the second light.
In other embodiments, the first coupling-in liquid crystal grating 21, the first coupling-out liquid crystal grating 22, the second coupling-in liquid crystal grating 31, and the second coupling-out liquid crystal grating 32 may be set to be in a uniform dielectric state in the first direction when a voltage is applied, or to be in a grating state in the first direction when no voltage is applied.
Fig. 2 is a schematic structural diagram of a liquid crystal grating of an optical waveguide component according to an embodiment of the present application, and fig. 3 is a schematic working state diagram of the liquid crystal grating of the optical waveguide component according to the embodiment of the present application.
As shown in fig. 2 and fig. 3, in the present embodiment, the first coupling-in liquid crystal grating 21, the first coupling-out liquid crystal grating 22, the second coupling-in liquid crystal grating 31, and the second coupling-out liquid crystal grating 32 are used as liquid crystal gratings, and respectively include:
a liquid crystal layer 4 including a plurality ofliquid crystals 41, theliquid crystals 41 being cholesteric liquid crystals;
two alignment film layers 5, the two alignment film layers 5 are oppositely arranged at intervals on two sides of the liquid crystal layer 4 and are used for giving initial directors of theliquid crystal 41;
afirst electrode layer 6; and
and thesecond electrode layer 7, thefirst electrode layer 6 and thesecond electrode layer 7 are oppositely arranged at the outer sides of the two alignment film layers 5 at intervals.
When a voltage is applied to thefirst electrode layer 6 and thesecond electrode layer 7, an electric field E is formed between thefirst electrode layer 6 and thesecond electrode layer 7, so that theliquid crystal 41 located in the electric field E deflects the director, thus switching the operating state of the grating. That is, the operating state of the grating is switched by controlling whether or not a voltage is applied to thefirst electrode layer 6 and thesecond electrode layer 7.
Fig. 4 is a schematic view illustrating another operation state of a liquid crystal grating of an optical waveguide assembly according to an embodiment of the present disclosure.
More specifically, the working principle is as follows:
when the first light is to be diffracted, a voltage (a voltage value is not zero) is applied to the first coupling-in liquid crystal grating 21 and the first coupling-out liquid crystal grating 22 of thefirst diffraction unit 2, the first coupling-in liquid crystal grating 21 and the first coupling-out liquid crystal grating 22 are in a one-dimensional grating state in the first direction (in this embodiment, the horizontal direction), as shown in fig. 3, a diffraction effect is generated on the first light, meanwhile, no voltage (a voltage value is zero) is applied to the second coupling-in liquid crystal grating 31 and the second coupling-out liquid crystal grating 32 of thesecond diffraction unit 3, at this time, the second coupling-in liquid crystal grating 31 and the second coupling-out liquid crystal grating 32 are in a uniform medium state in the first direction (in this embodiment, the horizontal direction), as shown in fig. 4, a diffraction effect is not generated on the light, that is at this moment, no grating exists on the second optical surface equivalent to thewaveguide sheet 1.
When the second light is to be diffracted, no voltage is applied (the voltage value is zero) to the first coupling-in liquid crystal grating 21 and the first coupling-out liquid crystal grating 22 of thefirst diffraction unit 2, the first coupling-in liquid crystal grating 21 and the first coupling-out liquid crystal grating 22 are in a uniform medium state in the first direction (in this embodiment, the horizontal direction), as shown in fig. 4, no diffraction effect is generated on the light, that is, no grating exists on the first optical surface of thewaveguide sheet 1 at this moment, and simultaneously, a voltage is applied (the voltage value is not zero) to the second coupling-in liquid crystal grating 31 and the second coupling-out liquid crystal grating 32 of thesecond diffraction unit 3, at this moment, the second coupling-in liquid crystal grating 31 and the second coupling-out liquid crystal grating 32 are in a one-dimensional grating state in the first direction (in this embodiment, the horizontal direction), as shown in fig. 3, a diffraction effect is generated on the second light.
Theliquid crystal 41 of the first coupling-in liquid crystal grating 21, the first coupling-out liquid crystal grating 22, the second coupling-in liquid crystal grating 31 and the second coupling-out liquid crystal grating 32 of the optical waveguide component provided by this embodiment is cholesteric liquid crystal, and the cholesteric liquid crystal has a pitch, so that the first coupling-in liquid crystal grating 21, the first coupling-out liquid crystal grating 22, the second coupling-in liquid crystal grating 31 and the second coupling-out liquid crystal grating 32 have grating periods, and further thefirst electrode layer 6 and thesecond electrode layer 7 do not need to be configured into periodic structures, and the process is simple and convenient to manufacture. And the pitch of the cholesteric liquid crystal is the grating period. The pitch of the cholesteric liquid crystal can be slightly varied by varying the magnitude of the applied voltage, i.e. the magnitude of the grating period can be fine-tuned by varying the magnitude of the applied voltage. However, the pitch of the liquid crystal is mainly determined by the liquid crystal material itself, and the magnitude of the applied voltage can only play a role of fine adjustment.
Furthermore, in the present embodiment, the liquid crystal pitch of the first coupling-in liquid crystal grating 21 and the first coupling-out liquid crystal grating 22 is 340nm, that is, the grating period of the first coupling-in liquid crystal grating 21 and the first coupling-out liquid crystal grating 22 is 340nm, so as to better diffract blue light with all wavelengths and a part of green light close to the wavelength of the blue light, and the color rendering effect is good and the diffraction efficiency is high.
The liquid crystal pitch of the second coupling-in liquid crystal grating 31 and the second coupling-out liquid crystal grating 32 is 440nm, that is, the grating period of the second coupling-in liquid crystal grating 31 and the second coupling-out liquid crystal grating 32 is 440nm, so that red light with all wavelengths and another part of green light close to the wavelength of the red light can be better diffracted, the color rendering effect is good, and the diffraction efficiency is high.
Furthermore, the thickness of the liquid crystal layer 4 is not more than 2.5 times of the liquid crystal pitch, the color development effect is good, and the diffraction efficiency is high.
In this embodiment, the first coupling-in liquid crystal grating 21, the first coupling-out liquid crystal grating 22, the second coupling-in liquid crystal grating 31 and the second coupling-out liquid crystal grating 32 are applied with a square wave ac voltage of 1KHz, and the voltage amplitude is 5V to 22V.
In the present embodiment, thefirst electrode layer 6 and thesecond electrode layer 7 are made of Indium Tin Oxide (ITO).
In this embodiment, theliquid crystal 41 material of the liquid crystal layer 4 may be composed of the bulk of the BL015 nematicliquid crystal 41 plus a chiral agent ZLI-811, and the pitch of the cholesteric liquid crystal may be adjusted by the concentration of the chiral agent.
The first coupling-in liquid crystal grating 21, the first coupling-out liquid crystal grating 22, the second coupling-in liquid crystal grating 31, and the second coupling-out liquid crystal grating 32 provided in this embodiment respectively further include a plurality of spacers 11 (not shown), and the plurality ofspacers 11 are distributed between the two alignment film layers 5 to support the two alignment film layers 5 and maintain and determine a distance therebetween.
Further, thewaveguide sheet 1 constitutes asubstrate 8 of the liquid crystal grating, the first coupling-in liquid crystal grating 21, the first coupling-out liquid crystal grating 22, the second coupling-in liquid crystal grating 31, and the second coupling-out liquid crystal grating 32 provided in this embodiment further include aprotection layer 9 respectively, and thesubstrate 8 and theprotection layer 9 are disposed at the outer sides of thefirst electrode layer 6 and thesecond electrode layer 7 at intervals and oppositely.
Specifically, theprotective layer 9 is made of a glass material and has a thickness of 0.1mm to 0.3 mm.
In the present embodiment, the thickness of theprotective layer 9 is smaller than that of thewaveguide sheet 1. Furthermore, the thickness of thewaveguide sheet 1 can be 0.3-2.5 mm, the refractive index is 1.4-2.2, and the light transmission effect is good. In this range, the higher the refractive index of thewaveguide sheet 1, the better.
In the present embodiment, thespacers 11 are spheres arranged in a pattern having a diameter corresponding to the thickness of the liquid crystal layer 4 or cylinders arranged in a pattern having a height corresponding to the thickness of the liquid crystal layer 4.
Further, the first coupling-in liquid crystal grating 21, the first coupling-out liquid crystal grating 22, the second coupling-in liquid crystal grating 31, and the second coupling-out liquid crystal grating 32 may further include a blocking member respectively, and the blocking member is located between the two alignment film layers 5 and disposed around the liquid crystal layer 4 to prevent theliquid crystal 41 from overflowing.
The manufacturing method of the first coupling-in liquid crystal grating 21, the first coupling-out liquid crystal grating 22, the second coupling-in liquid crystal grating 31 and the second coupling-out liquid crystal grating 32 provided by this embodiment is as follows:
providing awaveguide sheet 1 as asubstrate 8 of each liquid crystal grating, and cleaning thewaveguide sheet 1;
providing aprotective layer 9 and cleaning theprotective layer 9;
afirst electrode layer 6 and asecond electrode layer 7 are respectively arranged on thewaveguide sheet 1 and theprotective layer 9;
respectively spin-coating alignment film layers 5 on thefirst electrode layer 6 and thesecond electrode layer 7, and aligning;
aspacer 11 is spin-coated between the two alignment film layers 5;
gluing theprotective layer 9 and thewaveguide sheet 1, wherein thealignment film layer 5 on one side of theprotective layer 9 is opposite to thealignment film layer 5 on one side of thewaveguide sheet 1 in the alignment direction;
and pouringliquid crystal 41 and sealing to finish the manufacture of the grating.
The pitch of the cholesteric liquid crystal of the first coupling-in liquid crystal grating 21, the first coupling-out liquid crystal grating 22, the second coupling-in liquid crystal grating 31 and the second coupling-out liquid crystal grating 32 manufactured by the manufacturing method provided by the embodiment is the grating period, and the pitch can be finely adjusted by changing the voltage value applied to the first coupling-in liquid crystal grating 21, the first coupling-out liquid crystal grating 22, the second coupling-in liquid crystal grating 31 and the second coupling-out liquid crystal grating 32, so that the size of the grating period is finely adjusted, and the use is flexible and convenient. And because the cholesteric liquid crystal provides grating periods for the first coupling liquid crystal grating 21, the first coupling liquid crystal grating 22, the second coupling liquid crystal grating 31 and the second coupling liquid crystal grating 32, thefirst electrode layer 6 and thesecond electrode layer 7 do not need to be manufactured into periodic structures, the manufacturing process is simple and convenient, and the production and the manufacturing are convenient.
Specifically, in cleaning thewaveguide sheet 1, thewaveguide sheet 1 was ultrasonically cleaned with acetone, methanol, and isopropyl alcohol for 10 minutes, respectively. When the alignment is carried out, the alignment is carried out by adopting a friction alignment method or an optical alignment method, and the manufactured grating has good optical performance.
Of course, regarding the configuration and fabrication of the first coupling-in liquid crystal grating 21, the first coupling-out liquid crystal grating 22, the second coupling-in liquid crystal grating 31 and the second coupling-out liquid crystal grating 32, a separate substrate, such as a sheet made of a glass material, may be used instead of directly using the waveguide sheet as the liquid crystal grating substrate according to the above-described embodiment. In this way, the liquid crystal grating and the waveguide sheet can be assembled together after they are prepared independently of each other. In this case, the thickness of the optical waveguide assembly is increased by the additional glass sheet layer (substrate), but this embodiment may be a suitable choice for certain specific process conditions and/or applications in practice.
Example 2
The optical waveguide component provided in this embodiment further includes a third diffraction unit (not shown in the figure), where the third diffraction unit includes a third coupling liquid crystal grating and a third coupling liquid crystal grating, the third coupling liquid crystal grating is disposed on a surface of the first coupling liquid crystal grating 21 opposite to thewaveguide 1 or on a surface of the second coupling liquid crystal grating 31 opposite to thewaveguide 1, the third coupling liquid crystal grating is disposed on a surface of the first coupling liquid crystal grating 22 opposite to thewaveguide 1 or on a surface of the second coupling liquid crystal grating 32 opposite to thewaveguide 1, and the third coupling liquid crystal grating are set to be in a grating state in the first direction when a voltage is applied or not applied;
the third coupling-in liquid crystal grating is used for coupling third light into thewaveguide sheet 1 under the condition that the first direction is in a grating state, the third coupling-out liquid crystal grating is used for coupling the third light out of thewaveguide sheet 1 to a visible area under the condition that the first direction is in a grating state, the wavelength of the third light is different from the wavelengths of the first light and the second light, and the third light intersects with thewaveguide sheet 1.
By alternately applying voltages to the diffraction units, the first coupling-in liquid crystal grating 21 and the first coupling-out liquid crystal grating 22 of thefirst diffraction unit 2, the second coupling-in liquid crystal grating 31 and the second coupling-out liquid crystal grating 32 of thesecond diffraction unit 3, or the third coupling-in liquid crystal grating and the third coupling-out liquid crystal grating of the third diffraction unit are in a grating state in the first direction, so that the first light, the second light and the third light with different wavelengths can be respectively diffracted.
In this embodiment, the third incoupling liquid crystal grating and the third incoupling liquid crystal grating are set to be in a one-dimensional grating state in the first direction when a voltage is applied and to be in a uniform dielectric state in the first direction when no voltage is applied. The specific working principle of the optical waveguide component provided by the embodiment is as follows:
when the first light needs to be diffracted, a voltage is applied to the first coupling-in liquid crystal grating 21 and the first coupling-out liquid crystal grating 22 of thefirst diffraction unit 2, no voltage is applied to the second coupling-in liquid crystal grating 31 and the second coupling-out liquid crystal grating 32 of thesecond diffraction unit 3 and the third coupling-in liquid crystal grating and the third coupling-out liquid crystal grating of the third diffraction unit, and at this time, the grating of thefirst diffraction unit 2 is in a one-dimensional grating state in the first direction, and plays a diffraction role on the first light. The gratings of thesecond diffraction unit 3 and the third diffraction unit are in a uniform medium state in the first direction and do not diffract light.
When the second light needs to be diffracted, no voltage is applied to the first coupling-in liquid crystal grating 21 and the first coupling-out liquid crystal grating 22 of thefirst diffraction unit 2, no voltage is applied to the second coupling-in liquid crystal grating 31 and the second coupling-out liquid crystal grating 32 of thesecond diffraction unit 3, and no voltage is applied to the third coupling-in liquid crystal grating and the third coupling-out liquid crystal grating of the third diffraction unit, at this time, the gratings of thefirst diffraction unit 2 and the third diffraction unit are in a uniform medium state in the first direction, and do not diffract the light. The grating of thesecond diffraction unit 3 is in a one-dimensional grating state in the first direction, and diffracts the second light.
When the third light is to be diffracted, no voltage is applied to the first coupling-in liquid crystal grating 21 and the first coupling-out liquid crystal grating 22 of thefirst diffraction unit 2 and the second coupling-in liquid crystal grating 31 and the second coupling-out liquid crystal grating 32 of thesecond diffraction unit 3, and a voltage is applied to the third coupling-in liquid crystal grating and the third coupling-out liquid crystal grating of the third diffraction unit, and at this time, the gratings of thefirst diffraction unit 2 and thesecond diffraction unit 3 are in a uniform medium state in the first direction, and do not diffract the light. The grating of the third diffraction unit is in a one-dimensional grating state in the first direction and plays a diffraction role on the third light.
The optical waveguide component provided by this embodiment has three diffraction units on two surfaces of thewaveguide sheet 1, each diffraction unit includes an incoupling liquid crystal grating and an outcoupling liquid crystal grating, and the incoupling liquid crystal grating and the outcoupling liquid crystal grating are set to be in a grating state in the first direction when a voltage is applied or not applied, and whether a voltage is applied to the incoupling liquid crystal grating and the outcoupling liquid crystal grating of the corresponding diffraction unit or not is used to make the gratings of thefirst diffraction unit 2, thesecond diffraction unit 3, or the third diffraction unit be in a grating state in the first direction and diffract light with different wavelengths (light with different colors and different wavelengths), so that the optical waveguide component provided by this embodiment can realize full-color display only by using a single-layer waveguide sheet, and has a simple structure, a light weight, a small size, a simple control method, and easy production and manufacture. Moreover, the optical waveguide component provided by the embodiment diffracts the light with different wavelengths by different gratings only by using a single-layer waveguide sheet, so that the diffraction angle of the light with different wavelengths is ensured to be constant, the diffraction efficiency is improved, and the problems of color cast, dispersion, color unevenness, rainbow effect and the like are avoided. Moreover, the first coupling-in liquid crystal grating 21, the first coupling-out liquid crystal grating 22, the second coupling-in liquid crystal grating 31, the second coupling-out liquid crystal grating 32, the third coupling-in liquid crystal grating and the third coupling-out liquid crystal grating of the optical waveguide assembly provided by the embodiment are equivalent to the common one-dimensional surface relief grating, so the field angle range is mainly influenced by the refractive index of thewaveguide sheet 1, and the field angle range which can be reached by the common surface relief grating waveguide sheet can be provided, and the field angle is large and is about 40 ° to 60 °.
Furthermore, the periods of the third coupling-in liquid crystal grating and the third coupling-out liquid crystal grating are set to correspond to the wavelength of the third light, that is, the difference between the periods of the third coupling-in liquid crystal grating and the third coupling-out liquid crystal grating and the wavelength of the third light is not large, so as to ensure that the diffraction angle of the third light is constant and improve the diffraction efficiency.
In this embodiment, the first light is blue light, the second light is green light, and the third light is red light. Because each colored light has the grating with the corresponding period for diffraction, the control of the diffraction angle is better, and the diffraction efficiency is higher. Those skilled in the art will readily recognize that in other embodiments, the first light, the second light and the third light are lights of other colors and shall be within the scope of the present application.
Example 3
Fig. 5 is a schematic structural diagram of a display device according to an embodiment of the present application.
As shown in fig. 5, the present embodiment also provides a display device including:
the projectionoptical machine 10, the projectionoptical machine 10 includes adisplay chip 101 and aprojection lens 102, thedisplay chip 101 is used for controlling a first light and a second light which are used for outputting a display image according to a time sequence at a certain frequency, and theprojection lens 102 is used for projecting the light output by thedisplay chip 101; and
an optical waveguide component, which is the optical waveguide component described in any of the above embodiments, at least the first coupling-in liquid crystal grating 21 of thefirst diffraction unit 2 and the second coupling-in liquid crystal grating 31 of thesecond diffraction unit 3 of the optical waveguide component are used for coupling the light projected by theprojection lens 102 into thewaveguide sheet 1 of the optical waveguide component, at least the first coupling-out liquid crystal grating 22 of thefirst diffraction unit 2 and the second coupling-out liquid crystal grating 32 of thesecond diffraction unit 3 of the optical waveguide component are used for coupling the light coupled into thewaveguide sheet 1 out of thewaveguide sheet 1 to the visible area,
by alternately applying a voltage to each diffraction unit, the optical waveguide assembly is controlled at the same frequency as the output of the first light beam and the second light beam, and the grating of thefirst diffraction unit 2 or thesecond diffraction unit 3 is set in a grating state in the first direction to diffract the first light beam and the second light beam having different wavelengths, respectively.
The detailed working principle of the display device provided by the embodiment is as follows:
when thedisplay chip 101 outputs the first light for displaying the image, a voltage is applied to the first coupling-in liquid crystal grating 21 and the first coupling-out liquid crystal grating 22 (i.e. the voltage value is not zero), and the first coupling-in liquid crystal grating 21 and the first coupling-out liquid crystal grating 22 are in a one-dimensional grating state in the first direction (i.e. the horizontal direction in this embodiment), as shown in fig. 3, and generate a diffraction effect on the light. Meanwhile, no voltage is applied to the second coupling-in liquid crystal grating 31 and the second coupling-out liquid crystal grating 32 (the voltage value is zero), and the second coupling-in liquid crystal grating 31 and the second coupling-out liquid crystal grating 32 are in a uniform medium state in the first direction (in this embodiment, the horizontal direction), as shown in fig. 4, no diffraction effect is generated on the light, that is, no grating exists on the second optical surface corresponding to thewaveguide sheet 1 at this moment.
When thedisplay chip 101 outputs the second light for displaying an image, no voltage (i.e., zero voltage value) is applied to the first coupling-in liquid crystal grating 21 and the first coupling-out liquid crystal grating 22, the first coupling-in liquid crystal grating 21 and the first coupling-out liquid crystal grating 22 are in a uniform medium state in the first direction (i.e., the horizontal direction in this embodiment), as shown in fig. 4, no diffraction effect is generated on the light, that is, no grating exists on the first optical surface of thewaveguide sheet 1 at this moment, and a voltage (non-zero voltage value) is applied to the second coupling-in liquid crystal grating 31 and the second coupling-out liquid crystal grating 32, and the second coupling-in liquid crystal grating 31 and the second coupling-out liquid crystal grating 32 are in a one-dimensional grating working state in the first direction (i.e., the horizontal direction in this embodiment), as shown in fig. 3, a diffraction effect is generated on the light.
That is, the optical waveguide assembly outputs the first light and the second light for displaying an image at a certain frequency. When the frequency is greater than or equal to the human eye refresh rate, the color image obtained by combining the two light beams is observed by the human eye (when the first light beam is blue light and a part of green light, and the second light beam is red light and another part of green light, the full-color image obtained by combining the two light beams is observed by the human eye).
Theoptical projection engine 10 of the display device provided in this embodiment projects the first light and the second light at a certain frequency, and the optical waveguide assembly correspondingly switches the grating state of thefirst diffraction unit 2 or thesecond diffraction unit 3 in the first direction at the same frequency to diffract the light with different wavelengths (different wavelengths of light with different colors). Moreover, in the display device provided by the embodiment, under the condition that only a single-layer waveguide sheet is used, light rays with different wavelengths are diffracted by different gratings, so that the certain diffraction angle of the light rays with different wavelengths can be ensured, the high diffraction efficiency is improved, and the problems of color cast, dispersion, color unevenness, rainbow effect and the like are avoided. Moreover, the first coupling-in liquid crystal grating 21, the first coupling-out liquid crystal grating 22, the second coupling-in liquid crystal grating 31, and the second coupling-out liquid crystal grating 32 of the display device provided in this embodiment are equivalent to the ordinary one-dimensional surface relief grating, and therefore, the field angle range is mainly affected by the refractive index of thewaveguide sheet 1 itself, and the field angle range which can be reached by the ordinary surface relief grating waveguide sheet can be provided, and the field angle is large and is approximately 40 ° to 60 °.
Fig. 6 is a schematic diagram illustrating voltage/time (U/t) variation when power-up manipulation is performed for a diffraction cell of an optical waveguide assembly according to an embodiment of the present application.
Further, as shown in fig. 6, by applying corresponding periodic voltages to the first coupling-in liquid crystal grating 21 of thefirst diffraction unit 2, the first coupling-out liquid crystal grating 22 and the second coupling-in liquid crystal grating 31 of thesecond diffraction unit 3 and the second coupling-out liquid crystal grating 32, respectively, the first coupling-in liquid crystal grating 21 of thefirst diffraction unit 2, the first coupling-out liquid crystal grating 22 and the second coupling-in liquid crystal grating 31 of thesecond diffraction unit 3, and the second coupling-out liquid crystal grating 32 are in a grating state in the first direction, the control method is simple and convenient. Specifically, the periods of the voltages applied to the first coupling-in liquid crystal grating 21 and the first coupling-out liquid crystal grating 22 of thefirst diffraction unit 2 and the periods of the voltages applied to the second coupling-in liquid crystal grating 31 and the second coupling-out liquid crystal grating 32 of thesecond diffraction unit 3 are staggered from each other. The applied voltage is preferably square wave alternating current with the self frequency of 1KHz, as shown in FIG. 6, wherein the period of the formed diffraction grating and the pitch of the corresponding cholesteric liquid crystal are determined by the voltage value, the voltage amplitude is generally 5-22V, and the voltage amplitude can be selected according to actual requirements.
Optionally, the frequency of the first light and the second light output by thedisplay chip 101 is 60Hz, and the full-color display effect is good.
Example 4
In this embodiment, thedisplay chip 101 is configured to control the first light, the second light and the third light for outputting the display image in time sequence at a certain frequency, and accordingly, the optical waveguide assembly further includes a third diffraction unit.
The optical waveguide component correspondingly switches the gratings of thefirst diffraction unit 2, thesecond diffraction unit 3 or the third diffraction unit at the same frequency as the output first light, the second light and the third light to be in a grating state in the first direction so as to diffract the light with different wavelengths (the light with different colors has different wavelengths), so that the display device provided by the embodiment can realize full-color display only by using a single-layer waveguide sheet, and has the advantages of simple structure, light weight, small size, simple control method and easiness in production and manufacturing. Moreover, in the display device provided by the embodiment, under the condition that only a single-layer waveguide sheet is used, light rays with different wavelengths are diffracted by different gratings, so that the certain diffraction angle of the light rays with different wavelengths can be ensured, the high diffraction efficiency is improved, and the problems of color cast, dispersion, color unevenness, rainbow effect and the like are avoided. Moreover, the first coupling-in liquid crystal grating 21, the first coupling-out liquid crystal grating 22, the second coupling-in liquid crystal grating 31, and the second coupling-out liquid crystal grating 32 of the display device provided in this embodiment are equivalent to the ordinary one-dimensional surface relief grating, and therefore, the field angle range is mainly affected by the refractive index of thewaveguide sheet 1 itself, and the field angle range which can be reached by the ordinary surface relief grating waveguide sheet can be provided, and the field angle is large and is approximately 40 ° to 60 °.
Further, the first light is blue light, the second light is green light, and the third light is red light. Because each colored light has the grating with the corresponding period for diffraction, the control of the diffraction angle is better, and the diffraction efficiency is higher. Those skilled in the art will readily recognize that in other embodiments, the first light, the second light and the third light are lights of other colors and shall be within the scope of the present application.
In the description of the present invention, it should be noted that the terms "upper", "lower", "inner", "outer", and the like indicate orientations or positional relationships based on the orientations or positional relationships shown in the drawings, and are only for convenience in describing the present invention and simplifying the description, but do not indicate or imply that the referred device or element must have a specific orientation, be constructed in a specific orientation, and be operated, and thus, should not be construed as limiting the present invention. Furthermore, the terms "first," "second," and the like are used for descriptive purposes only and are not to be construed as indicating or implying relative importance.
In the description of the present invention, it should be noted that, unless otherwise explicitly specified or limited, the terms "mounted," "connected," and "connected" are to be construed broadly, e.g., as meaning either a fixed connection, a removable connection, or an integral connection; can be mechanically or electrically connected; the communication may be direct, indirect via an intermediate medium, or internal to both elements. The specific meanings of the above terms in the present invention can be understood in specific cases to those skilled in the art. In addition, in the description of the present invention, "a plurality" means two or more unless otherwise specified.
The present invention is not limited to the above preferred embodiments, and any modifications, equivalent replacements, improvements, etc. within the spirit and principle of the present invention should be included in the protection scope of the present application.

Claims (19)

-the second diffraction unit (3) comprises a second incoupling liquid crystal grating (31) and a second incoupling liquid crystal grating (32) arranged on the second optical surface, the second incoupling liquid crystal grating (31) and the second incoupling liquid crystal grating (32) being arranged to be in a grating state in the first direction when a voltage is applied or not applied, the second incoupling liquid crystal grating (31) being arranged to couple a second light into the waveguide sheet (1) in a grating state in the first direction, the second incoupling liquid crystal grating (32) being arranged to couple a second light out of the waveguide sheet (1) to a viewing area in a grating state in the first direction, the second light having a wavelength different from the first light;
16. The optical waveguide assembly of claim 1 further comprising a third diffractive unit, the third diffraction unit comprises a third coupling liquid crystal grating and a third coupling liquid crystal grating, the third coupling liquid crystal grating is arranged on one surface of the first coupling liquid crystal grating (21) opposite to the waveguide sheet (1) or on one surface of the second coupling liquid crystal grating (31) opposite to the waveguide sheet (1), the third coupling liquid crystal grating is arranged on the surface of the first coupling liquid crystal grating (22) opposite to the waveguide sheet (1) or on the surface of the second coupling liquid crystal grating (32) opposite to the waveguide sheet (1), the third coupling-in liquid crystal grating and the third coupling-out liquid crystal grating are arranged to be in a grating state in the first direction when voltage is applied or not applied;
CN202010951427.5A2020-09-112020-09-11Optical waveguide assembly and display apparatus including the sameActiveCN114167606B (en)

Priority Applications (3)

Application NumberPriority DateFiling DateTitle
CN202010951427.5ACN114167606B (en)2020-09-112020-09-11Optical waveguide assembly and display apparatus including the same
CN202180055152.XACN116194819A (en)2020-09-112021-09-08Optical waveguide assembly and display apparatus including the same
PCT/CN2021/117164WO2022052949A1 (en)2020-09-112021-09-08Optical waveguide assembly and display device comprising optical waveguide assembly

Applications Claiming Priority (1)

Application NumberPriority DateFiling DateTitle
CN202010951427.5ACN114167606B (en)2020-09-112020-09-11Optical waveguide assembly and display apparatus including the same

Publications (2)

Publication NumberPublication Date
CN114167606Atrue CN114167606A (en)2022-03-11
CN114167606B CN114167606B (en)2023-11-10

Family

ID=80476103

Family Applications (2)

Application NumberTitlePriority DateFiling Date
CN202010951427.5AActiveCN114167606B (en)2020-09-112020-09-11Optical waveguide assembly and display apparatus including the same
CN202180055152.XAPendingCN116194819A (en)2020-09-112021-09-08Optical waveguide assembly and display apparatus including the same

Family Applications After (1)

Application NumberTitlePriority DateFiling Date
CN202180055152.XAPendingCN116194819A (en)2020-09-112021-09-08Optical waveguide assembly and display apparatus including the same

Country Status (2)

CountryLink
CN (2)CN114167606B (en)
WO (1)WO2022052949A1 (en)

Families Citing this family (8)

* Cited by examiner, † Cited by third party
Publication numberPriority datePublication dateAssigneeTitle
CN113075793B (en)*2021-04-062023-06-02业成科技(成都)有限公司Display device and method of operating the same
US20230176377A1 (en)2021-12-062023-06-08Facebook Technologies, LlcDirectional illuminator and display apparatus with switchable diffuser
US12061343B2 (en)2022-05-122024-08-13Meta Platforms Technologies, LlcField of view expansion by image light redirection
CN119032311A (en)*2022-05-122024-11-26元平台技术有限公司 Balancing external light and generated image light in the display
US12429651B2 (en)2022-05-122025-09-30Meta Platforms Technologies, LlcWaveguide with tunable bulk reflectors
TWI793023B (en)*2022-05-262023-02-11友達光電股份有限公司Waveguide and display device having the same
CN114994918A (en)*2022-06-172022-09-02京东方科技集团股份有限公司 Optical waveguide lens and packaging method thereof
CN116482793A (en)*2023-04-202023-07-25华勤技术股份有限公司Optical waveguide structure, device and equipment

Citations (6)

* Cited by examiner, † Cited by third party
Publication numberPriority datePublication dateAssigneeTitle
US20100177388A1 (en)*2006-08-232010-07-15Mirage Innovations Ltd.Diffractive optical relay device with improved color uniformity
CN206096697U (en)*2016-10-282017-04-12京东方科技集团股份有限公司Display panel and display device
CN110352370A (en)*2017-03-072019-10-18苹果公司Wear-type display system
CN110515209A (en)*2019-08-282019-11-29瑞声通讯科技(常州)有限公司Augmented reality display device based on waveguide
CN110806645A (en)*2019-11-202020-02-18深圳惠牛科技有限公司 A grating waveguide for augmented reality
US10650785B1 (en)*2019-02-212020-05-12Microsoft Technology Licensing, LlcColor management of display device

Family Cites Families (4)

* Cited by examiner, † Cited by third party
Publication numberPriority datePublication dateAssigneeTitle
CN104656259B (en)*2015-02-052017-04-05上海理湃光晶技术有限公司The conjugation arrowband three primary colours nearly optics of the eye display device of volume holographic grating waveguide staggeredly
CN104777675B (en)*2015-04-292018-09-21厦门大学A method of control cholesteric liquid crystal grating orientation
US10185393B2 (en)*2017-04-032019-01-22Facebook Technologies, LlcWaveguide display with spatially switchable grating
CN107121824A (en)*2017-06-162017-09-01北京灵犀微光科技有限公司Waveguide display device

Patent Citations (6)

* Cited by examiner, † Cited by third party
Publication numberPriority datePublication dateAssigneeTitle
US20100177388A1 (en)*2006-08-232010-07-15Mirage Innovations Ltd.Diffractive optical relay device with improved color uniformity
CN206096697U (en)*2016-10-282017-04-12京东方科技集团股份有限公司Display panel and display device
CN110352370A (en)*2017-03-072019-10-18苹果公司Wear-type display system
US10650785B1 (en)*2019-02-212020-05-12Microsoft Technology Licensing, LlcColor management of display device
CN110515209A (en)*2019-08-282019-11-29瑞声通讯科技(常州)有限公司Augmented reality display device based on waveguide
CN110806645A (en)*2019-11-202020-02-18深圳惠牛科技有限公司 A grating waveguide for augmented reality

Also Published As

Publication numberPublication date
CN116194819A (en)2023-05-30
CN114167606B (en)2023-11-10
WO2022052949A1 (en)2022-03-17

Similar Documents

PublicationPublication DateTitle
CN114167606A (en)Optical waveguide assembly and display device including the same
US12298513B2 (en)Waveguide device with uniform output illumination
US20220260847A1 (en)Wearable data display
CN111386495B (en)System and method for multiplying image resolution of a pixelated display
US11681143B2 (en)Methods and apparatus for multiplying the image resolution and field-of-view of a pixelated display
KR102840443B1 (en) Method and device for providing a single-grid layer color holographic waveguide display
US20220075242A1 (en)Compact Edge Illuminated Diffractive Display
US11204540B2 (en)Diffractive waveguide providing a retinal image
US20230213767A1 (en)Eye Glow Suppression in Waveguide Based Displays
US20240019700A1 (en)Waveguide Based Display Device
US6831720B2 (en)High-brightness color liquid crystal display panel employing light recycling therewithin
CN114945852A (en)Switchable diffractive optical element and waveguide comprising the same
US6646636B1 (en)Display system utilizing ambient light and a dedicated light source
WO2020227236A1 (en)Waveguide displays with wide angle peripheral field-of-view
JP2020514783A (en) Waveguide with uniform output illumination
US20010024177A1 (en)Holographic display system
US20070041684A1 (en)Switchable viewfinder display
WO2017060665A1 (en)Waveguide display
WO2016042283A1 (en)Method and apparatus for generating input images for holographic waveguide displays
WO2006102073A2 (en)Spatial light modulator
CN114114738B (en)Period-adjustable liquid crystal grating, optical waveguide assembly and display device
Smith et al.Application-specific integrated lenses and filters for microdisplays using electrically switchable Bragg grating technology
CN118519272A (en)Near-to-eye display device
LeeLiquid Crystal Phase Modulation for Beam Steering and Near-eye Displays

Legal Events

DateCodeTitleDescription
PB01Publication
PB01Publication
SE01Entry into force of request for substantive examination
SE01Entry into force of request for substantive examination
GR01Patent grant
GR01Patent grant

[8]ページ先頭

©2009-2025 Movatter.jp