Movatterモバイル変換


[0]ホーム

URL:


CN114159656A - Inhaler - Google Patents

Inhaler
Download PDF

Info

Publication number
CN114159656A
CN114159656ACN202111279812.0ACN202111279812ACN114159656ACN 114159656 ACN114159656 ACN 114159656ACN 202111279812 ACN202111279812 ACN 202111279812ACN 114159656 ACN114159656 ACN 114159656A
Authority
CN
China
Prior art keywords
inhaler
slider
circuit board
printed circuit
housing
Prior art date
Legal status (The legal status is an assumption and is not a legal conclusion. Google has not performed a legal analysis and makes no representation as to the accuracy of the status listed.)
Pending
Application number
CN202111279812.0A
Other languages
Chinese (zh)
Inventor
奥利维斯 艾瑞克·卡德伦
丹尼尔·巴克
艾瑞卡·杰米·坎特
罗斯·威廉·韦尔
詹姆斯·罗奇
史蒂文·大卫·加德纳
罗伯特·欧文·凯维琳
Current Assignee (The listed assignees may be inaccurate. Google has not performed a legal analysis and makes no representation or warranty as to the accuracy of the list.)
Norton Waterford Ltd
Original Assignee
Norton Waterford Ltd
Priority date (The priority date is an assumption and is not a legal conclusion. Google has not performed a legal analysis and makes no representation as to the accuracy of the date listed.)
Filing date
Publication date
Application filed by Norton Waterford LtdfiledCriticalNorton Waterford Ltd
Publication of CN114159656ApublicationCriticalpatent/CN114159656A/en
Pendinglegal-statusCriticalCurrent

Links

Images

Classifications

Landscapes

Abstract

Translated fromChinese

将电子元件引入药物递送装置中可能会带来某些技术挑战,比如耐用性、机电一体化和药物递送性能。本发明公开提供了电子模块和吸入器融合的解决方案。例如,可以使用热熔柱将印刷电路板(PCB)固定到电子模块的壳体上。还例如,可以使用滑块将吸入器轭架的垂直移动转移到电子模块的开关。还例如,当将该电子模块与装置的壳体的其他部分交界时,可以使用某些密封件用以达到预期的性能。

Figure 202111279812

The introduction of electronic components into drug delivery devices may present certain technical challenges, such as durability, mechatronics, and drug delivery performance. The present disclosure provides a solution for the fusion of electronic modules and inhalers. For example, thermal posts may be used to secure a printed circuit board (PCB) to the housing of the electronic module. Also for example, a slider can be used to transfer the vertical movement of the inhaler yoke to the switch of the electronic module. Also for example, certain seals may be used to achieve desired performance when interfacing the electronic module with other parts of the housing of the device.

Figure 202111279812

Description

Inhaler
CROSS-REFERENCE TO RELATED APPLICATIONS
This application claims the benefit of U.S. provisional patent application No. 62/424,299 filed on 2016, month 11, and day 18, the contents of which are incorporated herein by reference.
Background
Drug delivery devices facilitate the delivery of drugs to a patient's body by a variety of routes of administration. Typical routes of administration include oral, topical, sublingual, injection, and the like. The device can deliver drugs for the treatment of various diseases, ailments and conditions. For example, inhalation devices may be used to treat asthma, Chronic Obstructive Pulmonary Disease (COPD), and Cystic Fibrosis (CF). While drug delivery devices are designed to deliver appropriate doses of drugs to patients (as part of therapeutic treatment), the effectiveness of a particular treatment may be affected by non-physiological factors, such as patient adherence and compliance.
Adherence, in the context of medication, may refer to the extent to which a patient follows a prescribed dosage regimen. For example, if a patient's prescription requires two doses per day, and the patient is taking two doses per day, the patient may be considered 100% adherence. If a patient is taking only one dose per day, he or she may be considered a 50% adherence. In the latter case, the patient does not receive the treatment prescribed by his or her doctor, which may negatively affect the effect of the therapeutic treatment.
Compliance may refer to the means of the patient when using a particular drug delivery device. If the patient uses the device in the manner recommended by the doctor or manufacturer, the device is likely to provide the desired dose of medication and the patient may be considered compliant. However, if the device is improperly used during administration, the device's ability to deliver the proper dose of medication may be compromised. Thus, the patient may be considered non-compliant. For example, in the case of an inhalation device, the patient may need to achieve minimal inhalation effort to ensure that a full dose of medicament is delivered from the device into the patient's lungs. For some patients, such as children and the elderly, meeting the requirement for full compliance may be difficult due to physical limitations, such as limited lung function. Thus, failure to achieve complete compliance, like adherence, may reduce the effectiveness of prescribed therapy.
The ability of a patient to achieve full compliance may be further complicated by certain physical characteristics of the medication. For example, some respiratory medicaments may consist of granules and/or may lack any odor or taste. Thus, a patient using an inhalation device may not be able to correct an inconsistent use because he or she may not be able to immediately find or feel that a medication is being inhaled and/or know whether the amount of inhaled medication meets a prescription.
Disclosure of Invention
To improve adherence and compliance, the drug delivery device may suitably comprise an electronic module configured to detect, track and/or process usage conditions and parameters related to the device. The electronic module may further be configured to communicate conditions and parameters to an external device (e.g., a smartphone) for analog and/or further processing. The convergence of electronic modules in drug delivery devices opens a door to the rich digital improvements and functionality to enhance the use of the device. In this context, the electronic module can create a platform to take advantage of useful smartphone applications and powerful data analysis. However, the introduction of electronic components into any drug delivery device may present certain technical challenges such as durability, mechatronics, and drug delivery performance. The present disclosure provides a solution to the integration of certain electronic components with a drug delivery device, such as an inhaler.
Examples of inhalation devices (e.g., breath-actuated inhalers) are provided herein. An exemplary inhaler may include heat stakes for securing a Printed Circuit Board (PCB) to a housing of an electronic module, such as a module cap. The heat stake may be configured to partially deform when the PCB is secured to the housing. The use of heat stake posts can improve the durability of the inhaler, including, for example, reducing the risk of damage or inoperability of the electronics module due to the inhaler being dropped. The use of heat stakes to secure the PCB to the cover may reduce manufacturing costs and/or manufacturing time.
Also for example, a slider may be used to transfer the vertical movement of the inhaler yoke (yoke) to the switch of the electronics module. The movement of the inhaler yoke may be associated with typical inhaler operation, for example, the movement of the yoke may be related to the opening and closing of a mouthpiece cover (mouthpiece cover) of the inhaler. Here, the slider may effectively integrate the electronic module into operations familiar to the user, increasing the overall level of mechatronics of the inhaler. That is, the user may easily perceive the activation of the electronic module when the user operates the inhaler.
Also for example, some seals may be used or formed when the electronics module interfaces with other portions of the inhaler housing to achieve the desired performance. The electronics module may include a pressure sensor to measure pressure changes within the inhaler. These pressure variations can be used to calculate or determine various aspects of inhaler performance, such as airflow rate through the inhaler's airflow path. As described herein, the seal may ensure that the measured pressure changes are effectively translated into operational performance parameters of the inhaler.
Brief Description of Drawings
Fig. 1A is a perspective view of an exemplary inhaler having an electronic module.
Fig. 1B shows a partially exploded view of an exemplary inhaler with an electronic module.
Fig. 1C shows a partially exploded view of an exemplary inhaler with an electronic module.
Fig. 1D shows a cross-sectional view of an exemplary inhaler with an electronic module.
Fig. 2A shows an exemplary electronics module for an inhaler.
Fig. 2B shows a partially exploded view of an exemplary electronics module for an inhaler.
Fig. 3 shows an exemplary slider for an electronics module of an inhaler.
Figures 4A-B show projection views (projection views) of an exemplary slider for an electronics module of an inhaler.
Fig. 5A-D illustrate the operation of the slider in the inhaler.
Figure 6 illustrates an exemplary mouthpiece of an inhaler with multiple bypass vents.
Detailed Description
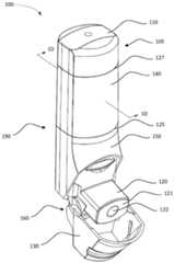
Fig. 1 depicts aninhaler 100 comprising amouthpiece 120, amouthpiece cover 130, anouter housing 190, a yoke (not visible) and anelectronics module 105.Outer housing 190 includes anupper housing 140, andupper housing 140 may interface withlower housing 150. Theupper housing 140 and thelower housing 150 may be removably attached or permanently attached to each other, thereby forming theseal 125. Thehousing 190 may also include anelectronic module 105. Theupper housing 140 and thelower housing 150 may be removably attached or permanently attached to each other, thereby forming theseal 125. Thehousing 190 may also include anelectronic module 105. Theelectronic module 105 may have a cap 110 (e.g., an electronic module cap) that interfaces with theupper housing 140. Thecap 110 and theupper housing 140 may be removably attached or permanently attached to each other, thereby forming aseal 127.
Fig. 1B shows a partially exploded view of theinhaler 100, which includes an interface between theupper housing 140 and thelower housing 150. In particular, thelower housing 150 may have atop portion 155 that defines the upperouter surface 152. The upperouter surface 152 may include aseal 156, which may be a labyrinth seal. The upperouter surface 152 may be received within theupper housing 140 and overlap at least a portion of the lower inner surface of theupper housing 140.Lower housing 150 may define arim 153, and rim 153 may abutbottom edge 148 ofupper housing 140 whenlower housing 150 andupper housing 140 are interconnected. The interface between thebottom edge 148 and therim 153 may define a seal 125 (shown in fig. 1A).
Thelower housing 150 may also define one ormore grooves 154, and thegrooves 154 may be configured to receive a respective one or more clips or protrusions (not shown) on the lower interior face of theupper housing 140. The engagement of one ormore grooves 154 with one or more clips or protrusions may further inhibit or inhibit the separation ofupper housing 140 fromlower housing 150.
FIG. 1B further depicts the interface between theupper housing 140 and thecap 110. More specifically, thecap 110 may define an innerperipheral surface 112 and arim 113, which may be chamfered. Thecap 110 may further include one or more clips orprotrusions 114 extending from the innerperipheral surface 112.Upper housing 140 may define atop portion 145 having a first cross-sectional area and abottom portion 147 having a second cross-sectional area. The first cross-sectional area may be less than the second cross-sectional area. Thetop portion 145 of theupper shell 140 may include an upperouter surface 142, and the upperouter surface 142 may be configured to be received within thecap 110 and overlap at least a portion of the innerperipheral surface 112 of thecap 110.
Bottom portion 147 ofupper housing 140 can define arim 143, and rim 143 can define a transition from a first cross-sectional area oftop portion 145 to a second cross-sectional area ofbottom portion 147. Therim 113 of thecap 110 may abut therim 143 when thecap 110 is attached or mounted to theupper housing 140. The interface betweenrim 113 andrim 143 may define aseal 127, as shown in FIG. 1A.
Thetop portion 145 of theupper housing 140 may define one ormore grooves 144, and thegrooves 144 may be configured to receive one or more clips orprotrusions 114 within thecap 110. The engagement of the one ormore grooves 144 with the one or more clips orprotrusions 114 may further prevent or inhibit thecap 110 from separating from theupper housing 140.
Theupper housing 140 may also include atop surface 149, and thetop surface 149 may define one ormore apertures 146. One ormore apertures 146 may receive theslider 116, and theslider 116 may be slidably mounted within theelectronic module 105. It should be appreciated that having more than oneaperture 146 may allow theupper housing 140 and/or thecap 110 to be axially rotated 180 degrees without affecting the manner in which they are attached to one another. In other words, if theupper housing 140 and/or thecap 110 is axially rotated 180 degrees, theslider 116 may still be received by the at least oneaperture 146.
Theinhaler 100 may include ayoke 170 enclosed within theupper housing 140.Yoke 170 may be cylindrical and may define a hollow portion therein. For example, theyoke 170 may house a bellows (e.g., bellows 180 shown in fig. 1D) within the hollow portion. Thetop surface 172 of theyoke 170 may include one ormore apertures 174. Theyoke 170 can be mechanically coupled to thesuction cover 130 such that theyoke 170 can move axially along theshaft 176 as thesuction cover 130 moves between the open and closed positions. For example, theyoke 170 may be mechanically coupled to thesuction cap 130 by ahinge mechanism 160. Theyoke 170 may be mechanically connected to thesuction port cover 130 bycam followers 178, thecam followers 178 extending within thelower housing 150 from thehinge mechanism 160 to abelt 179 remote from thehinge mechanism 160 on either side of thesuction port 120. Thebelt 179 may be enclosed within thelower housing 150. Thebelt 179 may be configured to engage abottom edge 171 defined by theyoke 170 such that thecam follower 178 is mechanically connected to theyoke 170. Thecam followers 178 may be configured to engage therespective cams 162 of thehinge mechanism 160 of thesuction cover 130. When thesuction cap 130 is opened, thecam 162 of thehinge mechanism 160 may be rotated, causing thecam follower 178 to move along theshaft 176, such that theyoke 170 may move along theshaft 176 in a direction toward thelower housing 150. Movement of theyoke 170 along theshaft 176 may cause the bellows to compress, causing the dose of medication to be transferred to a dose cup (not shown) within thelower housing 150.
As described above, theelectronic module 105 may include components for monitoring parameters related to the use and operation of theinhaler 100. For example, theelectronics module 105 may include a pressure sensor (not shown) for detecting pressure changes within the housing 190 (more specifically, within the cap 110) caused by the patient inhaling or exhaling at themouthpiece 120. A negative change in pressure may indicate inspiration, while a positive change in pressure may indicate expiration. Theelectronics module 105 may correlate the measured pressure change to the airflow rate through theairflow passage 189. For example, theelectronic module 105 may determine the rate of airflow caused by the patient inhaling or exhaling at themouthpiece 120. The measured airflow rate may represent an average airflow rate during inspiration or expiration. The measured airflow rate may also represent a peak airflow rate. The measured rate of airflow may be indicative of the quality of the patient's inhalation. That is, a higher flow rate may generally be associated with a stronger inhalation, which may increase the likelihood of delivering a full dose of the drug to the patient's lungs. Conversely, a lower flow rate may generally be associated with a weaker inhalation, which may reduce the likelihood of delivering the full dose of the drug to the patient's lungs. Thus, by measuring and tracking the airflow rate through theairflow passageway 189 each time theinhaler 100 is used, theelectronic module 105 may be configured to generate adherence and compliance data that may be useful to patients and other third parties (e.g., healthcare providers).
The seal 127 (e.g., mechanical interface) between thecap 110 and theupper housing 140 may be configured to enable theelectronic module 105 to properly measure and/or detect the operational characteristics and/or statistics of the inhaler. For example, the length of overlap between the upperouter surface 142 of theupper housing 140 and the innerperipheral surface 112 of thecap 110 may be configured such that an adequate gas seal is maintained at theseal 127 between thecap 110 and theupper housing 140. In particular, the air seal may be sufficient to allow the pressure sensor within theelectronics module 105 to detect pressure changes within the housing 190 (particularly within the cap 110) caused by a patient inhaling at theopening 122 of themouthpiece 120 and to enable theelectronics module 105 to correctly correlate such pressure changes with the airflow rate through theairflow passageway 189 of theinhaler 100. If theseal 127 is not effective and allows excess ambient air to enter theseal 127, the suction at theopening 122 may result in a lower than expected pressure change. Thus, in such a case, any pressure change detected by the pressure sensor may not accurately reflect the actual airflow rate through theairflow passage 189.
Fig. 1C depicts another partially exploded view of theinhaler 100. As shown, thecap 110 of theelectronic module 105 may receive a Printed Circuit Board (PCB)118, which may have arim 117 defining anotch 119. The PCB118 may be attached to thecap 110 by a plurality of heat stakes, as further described herein. For example, the heat stake may be configured to retain the PCB118 within thecap 110 and/or to meet drop test requirements without the use of fasteners. Theslider 116 may be mechanically coupled to the PCB118 to operate thesuction cap 130. For example, when themouthpiece cover 130 is opened to expose themouthpiece 120, theslider 116 may be moved axially to activate a switch (e.g., switch 222 shown in fig. 2A and 2B) on thePCB 118.
A first (e.g., upper) portion of theslider 116 may protrude from thenotch 119 when theslider 116 is slidably mounted within theelectronic module 105. A second (lower) portion of theslider 116 may extend from one of theapertures 146 and into theupper housing 140. As discussed further herein, a slider spring (such asslider spring 260 shown in fig. 2B) within theelectronic module 105 may bias theslider 116 in a downward direction, i.e., push the slider toward thelower housing 150. Likewise, the slider spring may cause the end of theslider 116 to remain in contact with thetop surface 172 of theyoke 170 within theupper housing 140 and continuously abut against thetop surface 172 of theyoke 170. Thus, theslider 116 may move axially along theshaft 176 with theyoke 170 as thesuction cap 130 moves between the open and closed positions.
Fig. 1D is a cross-sectional view of theinhaler 100. Theinhaler 100 may have anactivation spring 182 disposed within theupper housing 140 and abellows 180 disposed within theyoke 170. Activating thespring 182 may bias theyoke 170 against thebellows 180. When thesuction port cover 130 is opened to expose thesuction port 120, theyoke 170 may be axially moved in a direction toward thelower housing 150. The deflection from theyoke 170 caused by the activation of thespring 182 may cause thebellows 180 to compress, thereby causing a dose of medication to be transferred from themedication box 184 to adose cup 186 located in thelower housing 150. As mentioned above, theinhaler 100 may be a breath-actuated DPI. Accordingly,inhaler 100 can include a dephlegmator (dephlegmator) 187, anddephlegmator 187 can be configured to aerosolize the dose of medicament by disrupting agglomerates of the medicament indose cup 186 when the airflow throughairflow passage 189 meets or exceeds a particular rate, or is within a particular range. When aerosolized, the dose of medication may be delivered orally to the patient via anairflow passage 189 extending through themouthpiece 120.
Theairflow passage 189 may be a drug delivery airflow passage that extends from theopening 122 in themouthpiece 120 through thedephlegmator 187 and through theexhaust vent 188 in thelower housing 150. Theexhaust port 188 may serve as an inlet for thegas flow passage 189. Theopening 122 in thesuction opening 120 may serve as an outlet for theairflow passage 189. When the patient inhales or inhales, the medicament may be introduced into theairflow passage 189. For example, when a patient inhales or inhales from themouthpiece 120, air is drawn into thedephlegmator 187 through theexhaust vent 188. Air is then drawn throughdephlegmator 187 where it mixes with the drug. The air-drug mixture may exit theinhaler 100 through anopening 122 in themouthpiece 120.
Theseal 127 between thecap 110 and theupper housing 140 may be configured so as not to adversely affect drug delivery. For example, thedephlegmator 187 may be configured to aerosolize the doses of medicament from themedicament cabinet 184 when the airflow rate through theairflow passage 189 reaches or exceeds 30LPM, or preferably, when the airflow rate reaches or exceeds 45 LPM. Thus, theinhaler 100 may be configured to generate a particular airflow rate through theairflow passage 189 when a certain pressure is applied at theopening 122 of themouthpiece 120. If there are unwanted gaps or openings in the housing, the relationship between the airflow rate and the applied pressure may change. That is, if the airflow resistance associated withairflow passage 189 has changed (e.g., decreased) due to excessive ambientair entering housing 190 throughseal 127, a higher pressure (e.g., stronger suction) atopening 122 may be required. This increased pressure (or stronger inhalation) may exceed the physical capabilities of a patient with limited lung function. Thus, sufficient sealing of theseal 127 between theupper housing 140 and thecap 110 may affect the ability of theinhaler 100 to deliver an appropriate dose of medicament.
In summary, the mechanical interface between thecap 110 and theupper housing 140 may be configured such that, at a given pressure applied at theopening 122, the airflow rate through theairflow path 189 of theinhaler 100 may be substantially similar to the airflow rate through theairflow channels 189 of theinhaler 100 without theelectronic module 105 and/or where thetop portion 145 of theupper housing 140 does not include any openings (such as the orifice 146). Preferably, the gas flow rates may be within 2% of each other at a given applied pressure.
In addition, a suitable airflow resistance associated with theairflow passages 189 of theinhaler 100 may be at 0.020 kilopascals per liter per minute (kPa)0.5/LPM) to 0.042kPa0.5In the/LPM range. More preferably, the airflow resistance associated with theairflow passages 189 of theinhaler 100 may be at 0.025kPa0.5LPM to 0.037kPa0.5In the/LPM range. Even more preferably, the airflow resistance associated with theairflow passage 189 of theinhaler 100 may be at 0.028kPa0.5LPM to 0.034kPa0.5In the/LPM range.
A suitable airflow rate associated with theairflow passage 189 of theinhaler 100 may be in the range of 50LPM to 80LPM when a pressure drop of 4.0kPa is applied across theairflow passage 189. More preferably, the airflow rate associated with theairflow passageway 189 of theinhaler 100 may be in the range of 55LPM to 75LPM when a pressure drop of 4.0kPa is applied to theairflow passageway 189. Even more preferably, the airflow rate associated with theairflow passageway 189 of theinhaler 100 may be in the range of 59LPM to 71LPM when a pressure drop of 4.0kPa is applied to theairflow passageway 189.
Fig. 2A depicts anexemplary electronics module 105 for theinhaler 100. Fig. 2B shows a partially exploded view of anexemplary electronics module 105 for theinhaler 100. Theelectronic module 105 may include acap 110, a PCB118, abattery 230, abattery holder 240, and aslider 116. The PCB118 may be mounted within thecap 110.
A respiratory device, such asinhaler 100, may need to successfully pass a drop test (drop test). Drop testing may include dropping the respiratory device from a predetermined height to assess the extent to which the operation and/or performance of the device is adversely affected. Fastening the PCB118 to thecap 110 with fasteners (e.g., screws, rivets, etc.) may result in failure of the drop test. For example, when the PCB118 is attached to thecap 110 with fasteners, the operation and/or performance of theinhaler 100 may be adversely affected. The use of fasteners to secure the PCB118 to thecap 110 may also increase manufacturing costs and/or manufacturing time. Accordingly, thecap 110 may include a plurality of heat stake posts, such as heat stake posts 212, 214.
For example, the heat stake posts 212, 214 may be configured to secure the PCB118 to thecap 110 without the use of fasteners. The heat stake posts 212, 214 may protrude or extend from the topinterior surface 220 of thecap 110. Theheat stake 212 may have a circular cross-section. Theheat stake 212 may have a smaller diameter than a standard heat stake. That is, the diameter of theheat stake 212 may be selected so that theinhaler 100 successfully passes the drop test without taking up too much space on thePCB 118. Preferably, the diameter of theheat stake 212 may be less than 1.4 millimeters. The PCB118 may have a plurality ofopenings 224, 226, 228, as shown in fig. 2B. One or more of the openings (e.g., opening 226) may correspond to theheat stake 212 such that when the PCB118 is mounted within thecap 110, theheat stake 212 may be adapted to protrude from the PCB118 via theopening 226.
The heat stake posts 214 may have a non-circular cross-section, such as a rib-shaped cross-section. For example, the plurality of openings on the PCB118 may includenotches 224 corresponding to the location of theheat stake 214. The PCB118 may define anotch 224 such that theheat stake 214 may be adapted to protrude from the PCB118 via thenotch 224 when the PCB118 is installed within thecap 110. Each of the heat stake posts 212 and the heat stake posts 214 may define a distal end opposite the topinterior surface 220 of thecap 110. Each of the heat stake posts 212 and the distal end of theheat stake post 214 may be configured to partially deform when heated to a predetermined temperature. The partiallydeformed heat stake 212 and theheat stake 214 may secure the PCB118 to thecap 110.
The PCB118 may include aswitch 222, which may be a toggle switch or a detector switch. The arm of the detector switch may have a greater range of movement, or a greater tolerance (tolerance), than the range of movement of the toggle switch. Likewise, the detector switch, when engaged/disengaged by theslider 116, may have a lower risk of damage. For example, when activated, theswitch 222 may provide a wake signal to theelectronic module 105. The wake-up signal may transition theelectronic module 105 from the first operating state to the second operating state. The first operating state may be an off state or a sleep state. The second operational state may be an active state (e.g., on).
Theelectronics module 105 mounted on the top of the inhaler (e.g., distal to mouthpiece 120) may include an adapter arrangement that mechanically engages theswitch 222 as themouthpiece cover 130 is opened and/or closed. For example, theslider 116 may be configured to activate theswitch 222. For example, theswitch 222 may be positioned adjacent thenotch 119 such that theslider 116, as it moves axially, activates theswitch 222 and deactivates theswitch 222. As described herein, theslider 116 can move axially as thesuction cover 130 is opened and closed.
Thecap 110 may include slider guides 216. Theslider guide 216 may extend from a topinterior surface 220 of thecap 110. Theslider guide 216 may be configured to receive theslider 116 such that the slider is slidably mounted within thecover 110. For example, theslider guide 216 may be configured to accept a portion of theslider 116. Theslider guide 216 may define astop 217. Thestop 217 may be configured to retain theslider 116 within theslider guide 216. For example, thestop 217 may be further configured to limit axial travel of theslider 116 when thesuction cap 130 is opened and/or closed.
Thecap 110 may define a plurality of reference ribs (datum ribs) 211. Thereference rib 211 may be configured to support thePCB 118. Thereference rib 211 may be configured to position the PCB118 at a predetermined distance from the topinterior surface 220 of thecap 110. Thereference ribs 211 may be any shape and may be configured to allow clearance for electrical components (electrical components) mounted on thePCB 118. Thecap 110 may define a plurality ofgrooves 213. Therecess 213 may be a cavity on the topinterior surface 220 of thecap 110. Thegroove 213 may be configured to allow clearance for one or more electrical components mounted on thePCB 118. For example, thegroove 213 may receive respective portions of one or more electrical components mounted on thePCB 118.
The PCB118 may further include a processor and a transmitter. The PCB118 may be installed near the end of inhaler manufacture (e.g., after the inhaler is balanced). Mounting the PCB118 near the end of theinhaler 100 manufacture may be advantageous because the balancing of theinhaler 100 may damage sensitive electronic components on thePCB 118. Equilibration may include filling theinhaler 100 with a drug and holding theinhaler 100 at a predetermined temperature and humidity for a period of time (e.g., four weeks) prior to final packaging of theinhaler 100.
Thebattery holder 240 may be a through-hole type battery holder. For example, thebattery holder 240 may define abase 242 and twolegs 244. Thelength 244 of the legs may be configured such that thebattery holder 240 may accept thebattery 230. The base 242 may include acurved rim 246. Thecurved rim 246 may be configured to allow access to thebattery 230. Thebattery holder 240 may havetabs 248 extending from thelegs 244. Theappendage 248 can extend from substantially perpendicular to theleg 244 of thebase 242. Thetab 248 may be configured to attach thebattery holder 240 to thePCB 118. For example, thetab 248 may extend through theopening 228 defined by thePCB 118. Thetab 248 may be flexible such that the tab bends and engages theopening 228 such that thebattery holder 240 is removably attached to thePCB 118.
Thebattery holder 240 may be configured to maintain thebattery 230 in contact with thePCB 118. Thebattery holder 240 may be fixed on thePCB 118. Thebattery holder 240 may be configured such that an electrical connection may be made between the PCB118 and the battery 230 (e.g., a button cell). One or more components of the PCB118 may be selectively activated based on the position of thesuction cap 130. For example, activation of the switch 222 (e.g., activation of other switching means such as an optical sensor, accelerometer, or hall effect sensor) may cause the processor and/or transmitter to wake up from an off state (or power saving sleep mode) to an on state (or active mode). Conversely, deactivation of theswitch 222 may cause the processor and/or transmitter to transition from an on state (or active mode) to an off state or low power mode.
As described above, the PCB118 may include sensors (not shown) that may provide information to the processor regarding patient inhalation. The sensor may be a pressure sensor, such as a MEMS or NEMS pressure sensor (e.g., barometric pressure sensor, differential pressure sensor, etc.). For example, the sensor may provide information using pressure changes and/or pressure differences. The sensor may provide instantaneous pressure readings and/or accumulated pressure readings over time to the processor. The processor may also use this information to determine an airflow rate associated with the inhalation of the patient through theairflow passage 189. The processor may also use this information to determine the direction of airflow. That is, a negative change in air pressure through theair flow passage 189 may indicate that the patient has inhaled from themouthpiece 120, while a positive change in air pressure through theair flow passage 189 may indicate that the patient has exhaled into themouthpiece 120.
Theelectronic module 105 may further include wireless communication circuitry, such as a bluetooth chipset (e.g., a bluetooth low energy chipset). Likewise, theelectronic module 105 may provide pressure measurements to an external device (e.g., a smartphone), which may perform additional calculations on the pressure measurement data, provide feedback to a user, and/or the like. Theelectronic module 105 may include control circuitry, which may be part of the communication circuitry, for example.
Based on information or signals received from theswitch 222 and/or the sensor, theelectronic module 105 may determine whether themouthpiece cover 130 has been opened or closed, and whether the received pressure measurement exceeds a threshold or is within a particular pressure range, which may indicate whether the medication being inhaled by the user has reached a predetermined or prescribed level. The pressure measurement threshold and/or range may be stored in a memory of theelectronic module 105. When a predetermined threshold or range is met, theelectronic module 105 may determine the status of theinhaler 100 and may generate a signal indicative of the status of theinhaler 100.
Theelectronics module 105 may include a memory (not shown) for storing data collected by the sensors (e.g., pressure measurements) and/or data generated by the processor (e.g., airflow rate). The stored data may be accessed by the processor and wirelessly communicated with an external device (e.g., a smartphone) via wireless communication circuitry. The memory may be non-removable memory and/or removable memory. The non-removable memory may include Random Access Memory (RAM), Read Only Memory (ROM), a hard disk, or any other type of storage device. The removable memory may include a Subscriber Identity Module (SIM) card, a memory stick, a Secure Digital (SD) memory card, and the like. Theelectronic module 105 may access information from a memory (such as on a server or smartphone) and store data in the memory (such as on the server or smartphone) that is not physically located within theinhaler 100.
The processor of theelectronic module 105 may include a microcontroller, a Programmable Logic Device (PLD), a microprocessor, an Application Specific Integrated Circuit (ASIC), a Field Programmable Gate Array (FPGA), or any suitable processing device, controller, or control circuitry. The processor may include an internal memory.
The processor of theelectronic module 105 may receive power from thebattery 230 and may be configured to distribute power to other components in theelectronic module 105 and/or control power to other components in theelectronic module 105. Thebattery 230 may be any suitable device for powering theelectronic module 105. Thebattery 230 may be directly connected with one or more of the sensors, memory, and/or transceiver of theelectronic module 105.
Fig. 3 illustrates anexemplary slider 116 for use with theinhaler 100. As described herein, theslider 116 can be mechanically coupled to themouthpiece cover 130 of the inhaler such that theslider 116 engages theswitch 222 in theelectronic module 105 as themouthpiece cover 130 is opened and/or closed. Theslider 116 may include a distal end 302 (e.g., a base). Theslider 116 may include anarm 304. Anarm 304 may extend from thedistal end 302. Thearm 304 may define aclip 306. Theclip 306 may be an enlarged portion of thearm 304. Theclip 306 may be configured to engage thestop 217, as shown in fig. 2A and 2B. Thearm 304 is flexible about its connection to theslider 116. For example, thearm 304 may be configured to flex toward theslider 116 or away from theslider 116 in response to an applied force. Theclip 306 may have a sloped surface such that when theslider 116 is pressed into theslider guide 216, thearm 304 bends away from the slider 116 (e.g., until theclip 306 engages the stop 217), as shown in fig. 2A and 2B.
Theslider 116 may define aspring seat 312. Thespring seat 312 may be an upper horizontal surface of theslider 116. Aspring cross 314 may extend from thespring seat 312. Thespring cross 314 may be configured to extend within theslider spring 260 and be constrained to engage the slider spring 260 (as shown in fig. 2B). Theslider 116 may define one ormore ribs 316.Ribs 316 may define one ormore fingers 308, 310 that extend beyondspring cross 314. Thefinger 308 may be configured to engage theswitch 222 of theinhaler 100. For example,finger 308 may include a horizontally extendingportion 311. The horizontally extendingportion 311 may extend in the opposite direction of thespring cross 314. One ormore fingers 310 may be configured to limit the vertical travel of theslider 116. For example, when theslider spring 260 is compressed, thefinger 310 may abut a surface within the slider guide 216 (as shown in fig. 2A and 2B).
Fig. 4A-4B are projection views of anexemplary slide 116. Therib 316 may be a rectangular protrusion extending along the length of theslider 116. Theribs 316 may be configured to engage (e.g., abut) an inner surface of theslider rail 216 such that theslider 116 is held in alignment within theslider rail 216. Theslider 116 may define anintermediate surface 303. Theribs 316 may extend from theintermediate surface 303. Eachrib 316 may include one of thefingers 308, 310. For example, one of theribs 316 may define thefinger 308. Thedistal end 302 of theslider 116 may be offset from thefinger 308.Finger 308 may definecenterline 309. Thedistal end 302 of theslider 116 may be offset from thecenterline 309 by a distance D1. Thedistal end 302 of theslider 116 may extend from theintermediate surface 303. Thedistal end 302 of theslider 116 may define abottom surface 301. Thebottom surface 301 may be configured to abut theyoke 170 of theinhaler 100. Thebottom surface 301 may extend a distance D2 from theintermediate surface 303. For example, the distance D2 may be approximately 2.0mm (e.g., 2.0mm, with manufacturing tolerances of approximately +/-0.1 mm).
Theslider 116 may define aspring seat 312 and aspring cross 314. Thespring cross 314 may extend a distance D3 from thespring seat 312. For example, the distance D3 may be approximately 1.5mm (e.g., 1.5mm, manufacturing tolerance of approximately +/-0.1mm)
Thearm 304 of theslider 116 may include aclip 306. Theclip 306 may be an enlarged portion of thearm 304 configured as a stop mechanism. For example, theclip 306 may define astopper surface 305. Thestopper surface 305 may be configured to abut a stopper, such as thestopper 217 of theslider guide 216 of thecap 110, as shown in fig. 2A and 2B. Thefinger 308 may include a horizontally extendingportion 311, and the horizontally extendingportion 311 may extend vertically from a corresponding one of theribs 316. For example, the horizontally-extendingportion 311 may extend a distance D4 from a corresponding one of the 316 ribs. The distance D4 may be configured such that the horizontally extendingportion 311 engages theswitch 222 of the PCB118 (e.g., as shown in fig. 5A-5D) without impeding travel of theslider 116. For example, the distance D4 may be approximately 2.30mm (e.g., 2.30mm, with manufacturing tolerances of approximately +/-0.07 mm).Finger 308 may define atop surface 307. For example,top surface 307 may be defined by horizontally extendingportion 311.Stopper surface 305 may be a distance D5 fromtop surface 307. Distance D5 may be configured to limit vertical travel ofslider 116 withinslider guide 216. For example, after theslider 116 activates theswitch 222 on the PCB118 of theelectronic module 105, the distance D5 may be configured to limit the vertical travel of theslider 116. For example, the distance D5 may be approximately 7.22 millimeters (e.g., 7.22 millimeters with manufacturing tolerances of approximately +/-0.09 millimeters).Top surface 307 may be a distance D6 fromspring seat 312. For example, the distance D6 may be approximately 3.52mm (e.g., 3.52mm, with manufacturing tolerances of approximately +/-0.1 mm).
Theslider 116 may define one or moresecond fingers 310. For example, one or more of theribs 316 may define thesecond finger 310. Thesecond finger 310 may extend a distance D7 from thespring seat 312. For example, the distance D7 may be about 3.12mm (e.g., 3.12mm, with manufacturing tolerances of approximately +/-0.1 mm).
Fig. 5A-5D illustrate the operation of theslider 116 of theexemplary inhaler 100 as themouthpiece cover 130 is manipulated from a closed position to an open position (e.g., a partially open position). In particular, movement of thesuction port cover 130 from the closed position to the open position may cause theslider 116 to move axially in a downward direction toward thesuction port 120. As theslider 116 is moved in a downward direction, a portion of theslider 116 may be in physical contact with theswitch 222, thereby activating theswitch 222. Conversely, movement of themouthpiece cover 130 from the open position to the closed position may cause theslider 116 to travel in an upward direction toward thecap 110. As theslider 116 moves in the upward direction, a portion of theslider 116 may be physically disconnected from theswitch 222, thereby deactivating theswitch 222.
More specifically, theyoke 170 may be configured to move up and down within theupper housing 140 of theinhaler 100 as themouthpiece cover 130 opens and closes. Theslider 116 may be operatively connected to thesuction cap 130 by ayoke 170. The up and down movement ofyoke 170 may causeslider 116 to activateswitch 222 and/or deactivateswitch 222, respectively. For simplicity, thesuction cover 130 is illustrated in four positions (a closed position in fig. 5A, a first position in fig. 5B, a second position in fig. 5C, and a third position in fig. 5D). It should be noted, however, that when thesuction cover 130 is opened, thesuction cover 130 can be transitioned between any number of different positions as thesuction cover 130 is transitioned from the closed position to the fully open position and vice versa.
As shown in fig. 5A, theslider 116 may be in the intermediate position when thesuction port cover 130 is in the closed position. When theslider 116 is in the neutral position, the horizontally extendingportion 311 of theslider 116 may be located between the topinner surface 220 of thecap 110 and theswitch 222. When theslider 116 is in the neutral position, theslider spring 260 may be partially compressed. Thedistal end 302 of theslider 116 may be in contact with thetop surface 172 of theyoke 170.
As shown in fig. 5B, thesuction cap 130 can be opened to a first position. The first position may be a partially open position such that a portion of thesuction opening 120 is exposed. Theslider 116 may be in an upper position such that the horizontally extendingportion 311 of theslider 116 may be closer to the topinterior surface 220 of thecap 110 when thesuction cap 130 is in the first position. For example, the horizontally extendingportion 311 may be in contact with the topinterior surface 220. Theslider spring 260 may be further compressed beyond the partially compressed position associated with the intermediate position of theslider 116. When theslide 116 is in the up position, thedistal end 302 of theslide 116 may remain in contact with thetop surface 172 of theyoke 170.
As shown in fig. 5C, thesuction cap 130 can be opened to a second position. The second position may be a partially open position such that thesuction opening 120 is more exposed than in the first position. For example, themouthpiece cover 130 is more open in the second position than in the first position. Theslider 116 can be in a contact position such that the horizontally extendingportion 311 of theslider 116 contacts theswitch 222 when thesuction cap 130 is in the second position. Theswitch 222 may be activated when theslider 116 is in the contact position. When theslider 116 is in the contact position, thedistal end 302 of theslider 116 may remain in contact with thetop surface 172 of theyoke 170.
As shown in fig. 5D, thesuction cap 130 can be opened to a third position. The third position may be a partially open position such that thesuction opening 120 is more exposed than in the second position. For example, thesuction cap 130 is more open in the third position than in the second position. When thesuction cap 130 is in the third position, the horizontally extendingportion 311 of theslider 116 may remain in contact with theswitch 222. When thesuction cap 130 is in the third position, the horizontally extendingportion 311 of theslider 116 may activate theswitch 222 to a maximum switch travel angle. Whenslider 116 is in the activated position,distal end 302 ofslider 116 may remain in contact withtop surface 172 ofyoke 170.
Fig. 6 illustrates anexemplary mouthpiece 620 of an inhaler 600 (e.g., such as inhaler 100). Theexample suction opening 620 may be a backup suction opening having a plurality of (e.g., four)bypass ports 623, 624, 625, 626. Thebypass ports 623, 624, 625, 626 may allow air to flow independent of the airflow path (e.g., such as theairflow path 189 shown in FIG. 1D) such that when a patient inhales or inhales through themouthpiece 620, a portion of the air is drawn from the airflow path by the patient and another portion of the air is not drawn from the airflow path by the patient. For example, thebypass ports 623, 624, 625, 626 may extend through the suction opening 120 (outside of the airflow path) from thefront surface 621 of thesuction opening 620 to the rear surface (not shown) of thesuction opening 620. Thebypass ports 623, 624, 625, 626 may reduce the flow rate through the airflow channels to reduce dependence on the flow rate of theinhaler 100 and/or deliver the appropriate dose of medicament through theairflow channels 189 at a lower flow rate.
Thesuction opening 620 may have afront surface 621 that defines aflow passage opening 622 and a plurality ofbypass ports 623, 624, 625, 626. Theflow channel opening 622 may be an inlet and/or outlet tube of the airflow channel of theinhaler 600. For example, the airflow path may be a breath-actuated airflow path for carrying dry powder medicament from theinhaler 600, starting at theexhaust port 610 and ending at an airflow path opening 622. Thebypass ports 623, 624, 625, 626 may be configured to allow air to flow from an area outside thesuction port 620 to thefront surface 621 independent of the airflow path when a low pressure caused by breathing is applied to thefront surface 621. Thebypass ports 623, 624, 625, 626 may reduce the linear flow rate of air through the airflow channel and theflow channel opening 622. The reduction in the linear flow rate of air through theflow channel opening 622 may reduce fluctuations in the velocity of the air flowing through the flow channel, such as changes in low pressure due to breathing. That is, thebypass ports 623, 624, 625, 626 can reduce the flow rate of fine-grained medicament (e.g., most active substances below 5 μm) depending on delivery. The fine particle dose delivered may be measured according to the european pharmacopoeia 6.0 s.2.9.18 using an Anderson cascade impactor.
Thebypass ports 623, 624, 625, 626 may reduce the formation of secondary vortices (stall airflow in the vortex chamber of the airflow path) and/or high steepness of the vortex chamber wall (areas of high sheet), which may adversely affect the performance of theinhaler 600.
The ratio of the sum of the cross-sectional areas of thebypass ports 623, 624, 625, 626 to the cross-sectional area of theflow passage opening 622 may be configured such that at least about 5%, preferably at least about 15%, more preferably from about 5% to about 50%, more preferably from about 15% to about 40%, even more preferably from about 20% to about 30%, of the resulting airflow is directed through thebypass ports 623, 624, 625, 626 when the low pressure caused by the pressure breathing is applied to thefront surface 621 of thesuction port 620.
For example, the sum of the cross-sectional areas of thebypass ports 623, 624, 625, 626 can be from about 0.75mm2To about 20mm2More preferably from about 5mm2To about 16mm2And even more preferably from about 9mm2To about 11mm2
Theflow channel opening 622 may have a cross-sectional area of from about 25mm2To about 50mm2More preferably, from about 30mm2To about 45mm2And even more preferably, from about 35mm2To about 45mm2
In connection with theairflow passage 189 of theinhaler 600 having the electronics module and thebypass ports 623, 624, 625, 626The proper airflow resistance can be 0.015kPa0.5LPM to 0.031kPa0.5In the/LPM range. More preferably, the airflow resistance associated with theairflow passage 189 of theinhaler 600 having the electronics module andbypass ports 623, 624, 625, 626 may be at 0.018kPa0.5LPM to 0.028kPa0.5In the/LPM range. Even more preferably, the airflow resistance associated with theairflow channel 189 of theinhaler 600 having the electronics module and the bypass vents 623, 624, 625, 626 can be at 0.021kPa0.5LPM to 0.025kPa0.5Suitable airflow rates associated with theairflow passages 189 of theinhaler 600 having the electronics module andbypass ports 623, 624, 625, 626 may range from 70LPM to 105LPM when a pressure drop of 4.0kPa is applied across theairflow passages 189 of theinhaler 600 in the LPM range. More preferably, the airflow rate associated with theairflow passage 189 of theinhaler 600 having the electronics module andbypass ports 623, 624, 625, 626 can be in the range of 75LPM to 100LPM when a pressure drop of 4.0kPa is applied to theairflow passage 189 of theinhaler 600. Even more preferably, the airflow rate associated with theairflow passage 189 of theinhaler 600 having the electronics module andbypass ports 623, 624, 625, 626 can be in the range of 80LPM to 95LPM when a pressure drop of 4.0kPa is applied to theairflow passage 189 of theinhaler 600.

Claims (50)

1. An inhaler, the inhaler comprising:
an electronic module having a housing, the housing being a module cap;
a printed circuit board; and
a heat stake configured to partially deform to secure the printed circuit board to the housing, wherein a plurality of heat stakes protrude or extend from a top interior surface of the housing.
2. The inhaler of claim 1, wherein the printed circuit board comprises a plurality of openings, and wherein the plurality of heat stake posts are configured to protrude through the plurality of openings to secure the printed circuit board to the housing.
3. The inhaler of claim 1, wherein the plurality of heat stake posts are configured to secure the printed circuit board to the housing without the use of fasteners.
4. The inhaler of claim 1, wherein the plurality of heat stakes have a circular cross-section, and/or wherein the plurality of heat stakes have a diameter of less than 1.4 millimeters.
5. The inhaler of claim 1 wherein the plurality of heat stakes have a ribbed cross-section.
6. The inhaler of claim 1, wherein the electronic module further comprises a battery holder, optionally wherein the battery holder is configured to be secured to a printed circuit board and configured to ensure that a battery held by the battery holder remains electrically connected to the printed circuit board.
7. An inhaler, the inhaler further comprising:
a suction port cover; and
a slider mechanically coupled to the printed circuit board to operate the suction cap.
8. The inhaler of claim 7, wherein the printed circuit board further comprises a switch; and is
Wherein the slider is configured to move axially to activate the switch when the suction opening lid is opened to expose the suction opening.
9. The inhaler of claim 8, wherein the switch is configured to provide a wake-up signal to the printed circuit board when activated, wherein the wake-up signal is configured to transition the printed circuit board from a first operating state to a second operating state.
10. The inhaler of claim 8, further comprising:
a yoke configured to move in relation to the opening and closing of the suction cover,
wherein the slider is configured to translate vertical movement of the yoke to activate the switch.
11. An inhaler according to claim 8, wherein the printed circuit board is configured to determine whether the mouthpiece cover has been opened or closed based on a signal received from the switch.
12. An inhaler according to claim 8, wherein the printed circuit board defines a gap and one of the heat stake posts is adapted to project through the printed circuit board via the gap, and wherein the slider projects through another gap adjacent the gap in the printed circuit board.
13. An inhaler according to claim 12, wherein the switch is located adjacent the further indentation such that the slider, as it moves axially, activates and deactivates the switch.
14. The inhaler of claim 1, wherein the printed circuit board further comprises a sensor configured to provide information to the processor regarding inhalation by the patient through the inhaler, and
wherein the processor is configured to determine an airflow rate associated with inhalation of a patient through an airflow channel of the inhaler using information about inhalation of the patient.
15. The inhaler of claim 1, wherein the electronic module cap interfaces with a housing of the inhaler.
16. An inhaler, the inhaler comprising:
a housing comprising a medicament and a mouthpiece;
a printed circuit board comprising a processor, a battery, wireless communication circuitry, and a plurality of openings; and
a cap configured to be secured to the housing and to retain the printed circuit board, wherein the cap includes a plurality of heat stake posts that protrude or extend from a top interior surface of the cap through the plurality of openings and are configured to partially deform to secure the printed circuit board to the cap.
17. An inhaler according to claim 16, wherein a mechanical interface is present between the housing and the cap, the mechanical interface being configured such that the airflow rate measured at the pressure sensor is within 2% of the airflow rate measured at the opening of the mouthpiece.
18. An inhaler, the inhaler comprising:
a housing comprising a mouthpiece and a medicament;
a yoke, wherein movement of the yoke is configured to cause a dose of medicament to be available in an air flow path extending through the mouthpiece;
an electronic module comprising a processor and a switch, an
A slider configured to engage a slider rail, wherein a distal end of the slider contacts the yoke such that movement of the yoke is transferred to the slider causing the slider to operate the switch, wherein the switch is configured to change a power state of the processor when operated by the slider.
19. The inhaler according to claim 18, further comprising:
a slider spring received by the slider rail, wherein the slider spring is configured to engage a portion of the slider and bias the distal end of the slider into contact with the yoke;
wherein the slider guide comprises a stop configured to engage a clip of the slider, wherein the stop is configured to limit travel of the slider during movement of the yoke, an
Wherein the stop is configured to limit travel of the slider after the slider activates the switch.
20. The inhaler of claim 18, wherein the slider guide comprises a stop configured to engage a clip of the slider, wherein the stop is configured to limit travel of the slider during movement of the yoke.
21. An inhaler, the inhaler comprising:
a housing comprising a mouthpiece and a medicament;
a yoke, wherein movement of the yoke is configured to cause a dose of medicament to be available in an air flow path extending through the mouthpiece;
an electronic module comprising a processor and a switch, an
A slider configured to engage a slider rail, wherein a distal end of the slider contacts the yoke such that movement of the yoke is transferred to the slider causing the slider to operate the switch.
22. The inhaler according to claim 21, further comprising:
a slider spring received by the slider rail, wherein the slider spring is configured to engage a portion of the slider and bias the distal end of the slider into contact with the yoke.
23. The inhaler of claim 22, wherein the slider guide comprises a stop configured to engage a clip of the slider, wherein the stop is configured to limit travel of the slider during movement of the yoke.
24. The inhaler of claim 23, wherein the stop is configured to limit travel of the slider after the slider activates the switch.
25. The inhaler of claim 21, wherein the slider guide comprises a stop configured to engage a clip of the slider, wherein the stop is configured to limit travel of the slider during movement of the yoke.
26. The inhaler of claim 21, wherein the switch is configured to change a power state of the processor when operated by the slider.
27. The inhaler of claim 26, wherein the slider is configured to contact the switch when a mouthpiece cover of the inhaler is moved from a closed position to an open position to expose the mouthpiece of the inhaler.
28. An inhaler according to claim 27, wherein the mouthpiece cover is operatively connected to the slider by the yoke such that the switch is operated by the slider when the mouthpiece cover is moved to the open position to expose the mouthpiece.
29. The inhaler of claim 21, further comprising an electronics module cap configured to enclose the electronics module, wherein the electronics module cap is configured to attach to the housing of the inhaler.
30. The inhaler of claim 29, wherein the electronic module cap is configured to be removably attached to the housing of the inhaler.
31. An inhaler according to claim 29, wherein the slider is configured to extend from the housing into the electronic module cap through a notch in the housing.
32. An inhaler according to claim 29, wherein the housing comprises an upper housing and a lower housing, the electronics module cap is permanently attached to the upper housing, and the lower housing comprises the mouthpiece and the mouthpiece cover.
33. The inhaler of claim 29, wherein the electronics module comprises a printed circuit board including the processor and the switch, and
wherein the electronic module cap includes a plurality of heat stake posts that protrude or extend from a top interior surface of the electronic module cap and are configured to partially deform to secure the printed circuit board to the electronic module cap.
34. The inhaler of claim 13, wherein the plurality of heat stake posts are configured to secure the printed circuit board to the electronic module cap without the use of additional fasteners.
35. An inhaler according to claim 9, wherein a mechanical interface is present between the housing and the cap, the mechanical interface being configured such that the airflow rate measured at the pressure sensor is within 2% of the airflow rate measured at the opening of the mouthpiece.
36. The inhaler of claim 21, wherein the electronics module further comprises a battery, a transmitter, and a sensor, wherein the sensor is configured to provide information to the processor regarding inhalation by a user through the inhaler.
37. An inhaler according to claim 36, wherein the sensor comprises a pressure sensor configured to measure pressure changes within the housing.
38. An inhaler according to claim 36, wherein actuation of the switch causes the processor and the sensor to change power state.
39. The inhaler according to claim 38, wherein the slider is configured to contact the switch when a mouthpiece cover of the inhaler is moved from a closed position to an open position to expose the mouthpiece of the inhaler; and
wherein the mouthpiece cover is operatively connected to the slider by the yoke such that the switch is operated by the slider when the mouthpiece cover is moved to an open position to expose the mouthpiece.
40. An inhaler, the inhaler comprising:
a housing comprising a medicament and a mouthpiece;
a printed circuit board comprising a processor, a battery, wireless communication circuitry, and a plurality of openings; and
a cap configured to be secured to the housing and to retain the printed circuit board, wherein the cap includes a plurality of heat stake posts that protrude or extend from a top interior surface of the cap through the plurality of openings and are configured to partially deform to secure the printed circuit board to the cap.
41. An inhaler, the inhaler comprising:
a housing comprising a medicament and a mouthpiece;
a printed circuit board comprising a processor, a battery holder, and a wireless communication circuit; and
a cap configured to be secured to the housing and to encapsulate the printed circuit board;
wherein the battery holder is configured to be secured to a printed circuit board and configured to ensure that the battery remains electrically connected to the printed circuit board when the battery is held.
42. The inhaler of claim 41, wherein the printed circuit board comprises an opening through the printed circuit board; and
wherein the battery holder includes an appendage that extends through the opening of the printed circuit board to attach the battery holder to the printed circuit board.
43. The inhaler according to claim 42 wherein the tab is configured to bend and engage the opening such that the battery holder is removably attached to the printed circuit board.
44. The inhaler of claim 41, wherein the battery holder comprises a base, two legs, and an appendage extending from each leg, wherein the appendage is configured to attach the battery holder to the printed circuit board.
45. An inhaler according to claim 41, wherein the battery holder is a through-hole battery holder.
46. The inhaler according to claim 41 wherein the printed circuit board further comprises a switch.
47. An inhaler, the inhaler comprising:
a housing comprising a medicament, a suction opening and an exhaust opening, wherein the suction opening comprises an opening, and wherein an airflow pathway is provided between the exhaust opening and the opening of the suction opening; and
a cap enclosing the electronic module, the electronic module comprising a processor, a battery, wireless communication circuitry, and a pressure sensor, wherein the pressure sensor is configured to detect a change in pressure caused by a patient inhaling or exhaling at the mouthpiece; and is
Wherein a mechanical interface is present between the housing and the cap, the mechanical interface being configured such that the airflow rate measured at the pressure sensor is within 2% of the airflow rate measured at the opening of the mouthpiece.
48. An inhaler according to claim 47, wherein the electronics module is configured to correlate the pressure change measured at the pressure sensor with the airflow rate through the airflow passage.
49. An inhaler according to claim 47, wherein the airflow resistance associated with the airflow pathway is at 0.020 kilopascals per litre per minute (kPa)0.5/LPM) to 0.042kPa0.5a/LPM range, and an air flow rate associated with the air flow path is in a range of 50LPM to 80LPM when a pressure drop of 4.0kPa is imposed on the air flow path.
50. An inhaler according to claim 47, wherein the cap comprises one or more clips or protrusions extending from an inner peripheral surface of the cap, and wherein the top portion of the housing defines one or more grooves which receive the one or more clips or protrusions to create a seal between the housing and the cap.
CN202111279812.0A2016-11-182017-09-14InhalerPendingCN114159656A (en)

Applications Claiming Priority (4)

Application NumberPriority DateFiling DateTitle
US201662424299P2016-11-182016-11-18
US62/424,2992016-11-18
CN201780071705.4ACN110177591B (en)2016-11-182017-09-14Inhaler
PCT/IB2017/001287WO2018091957A1 (en)2016-11-182017-09-14Inhaler

Related Parent Applications (1)

Application NumberTitlePriority DateFiling Date
CN201780071705.4ADivisionCN110177591B (en)2016-11-182017-09-14Inhaler

Publications (1)

Publication NumberPublication Date
CN114159656Atrue CN114159656A (en)2022-03-11

Family

ID=60452683

Family Applications (2)

Application NumberTitlePriority DateFiling Date
CN202111279812.0APendingCN114159656A (en)2016-11-182017-09-14Inhaler
CN201780071705.4AActiveCN110177591B (en)2016-11-182017-09-14Inhaler

Family Applications After (1)

Application NumberTitlePriority DateFiling Date
CN201780071705.4AActiveCN110177591B (en)2016-11-182017-09-14Inhaler

Country Status (11)

CountryLink
US (3)US11000653B2 (en)
EP (2)EP3506971B1 (en)
JP (2)JP7014791B2 (en)
KR (1)KR102491841B1 (en)
CN (2)CN114159656A (en)
AU (1)AU2017359597B2 (en)
CA (1)CA3043987A1 (en)
EA (1)EA039125B1 (en)
ES (1)ES2811842T3 (en)
IL (2)IL266617B2 (en)
WO (1)WO2018091957A1 (en)

Families Citing this family (17)

* Cited by examiner, † Cited by third party
Publication numberPriority datePublication dateAssigneeTitle
USD296605S (en)*1985-01-311988-07-12Ecotat System CompanyCombination outer garment and tent
US9022980B2 (en)*2005-02-012015-05-05Kaleo, Inc.Medical injector simulation device
JP7014791B2 (en)*2016-11-182022-02-01ノートン (ウォーターフォード) リミテッド Inhaler
CA3046354A1 (en)*2017-01-172018-07-26Kaleo, Inc.Medicament delivery devices with wireless connectivity and event detection
USD914193S1 (en)*2018-03-302021-03-23Nick MarianiInhaler
US11929160B2 (en)2018-07-162024-03-12Kaleo, Inc.Medicament delivery devices with wireless connectivity and compliance detection
PL3861601T3 (en)2018-10-112024-06-10Bruin Biometrics, Llc DEVICE WITH A SINGLE-USE ELEMENT
USD960349S1 (en)2019-02-042022-08-09Orion CorporationInhaler
GB201906143D0 (en)*2019-05-012019-06-12Norton Waterford LtdElectronic module for medical device
CA3140949A1 (en)2019-05-172020-11-26Norton (Waterford) LimitedDrug delivery device with electronics
USD877322S1 (en)*2019-08-032020-03-03Optimist Inhaler, LLCFlip-top metered-dose inhaler
MX2022006099A (en)*2019-11-282022-06-14Chiesi Farm SpaElectronic module for an inhaler and inhaler assembly comprising the electronic module.
AU2020391939B2 (en)*2019-11-282025-10-09Chiesi Farmaceutici S.P.A.Powder inhaler assembly
USD983961S1 (en)*2020-02-142023-04-18Aptar France SasInhaler
USD995752S1 (en)*2020-02-142023-08-15Aptar France SasInhaler
USD989944S1 (en)*2021-11-192023-06-20Sandra DyerInhaler device
EP4436639A1 (en)2021-11-242024-10-02Norton (Waterford) LimitedDrug delivery device with electronics

Citations (3)

* Cited by examiner, † Cited by third party
Publication numberPriority datePublication dateAssigneeTitle
US20020128591A1 (en)*2000-09-112002-09-12Kleiner Lothar W.Transdermal electrotransport device and method for manufacturing same
US20060283444A1 (en)*2003-02-112006-12-21Matthew JonesDispensing apparatus
WO2016030521A1 (en)*2014-08-282016-03-03Norton (Waterford) LimitedCompliance-assisting module for an inhaler

Family Cites Families (136)

* Cited by examiner, † Cited by third party
Publication numberPriority datePublication dateAssigneeTitle
US5031610A (en)*1987-05-121991-07-16Glaxo Inc.Inhalation device
GB8919131D0 (en)*1989-08-231989-10-04Riker Laboratories IncInhaler
WO1994016759A1 (en)*1991-03-051994-08-04Miris Medical CorporationAn automatic aerosol medication delivery system and methods
GB9211436D0 (en)*1992-05-291992-07-15Norton Healthcare LtdDose indicating device
GB9218937D0 (en)*1992-09-081992-10-21Norton Healthcare LtdMedicament dispensing device
US6390088B1 (en)1993-12-132002-05-21Boehringer Ingelheim KgAerosol inhaler
SE9400570D0 (en)1994-02-211994-02-21Astra Ab Inhalation device, inhaler and processing unit
US5839429A (en)1994-03-251998-11-24Astra AktiebolagMethod and apparatus in connection with an inhaler
US5564414A (en)*1994-05-261996-10-15Walker; William F.Pressurized and metered medication dose counter on removable sleeve
US5482030A (en)*1994-06-131996-01-09Klein; DavidAerosol and non-aerosol spray counter
SE9402237D0 (en)1994-06-231994-06-23Astra Ab Measurement methods and systems
GB9421687D0 (en)1994-10-271994-12-14Aid Medic LtdDosimetric spacer
US6672304B1 (en)*1995-06-082004-01-06Innovative Devices, LlcInhalation actuated device for use with metered dose inhalers (MDIs)
US6142339A (en)*1998-01-162000-11-071263152 Ontario Inc.Aerosol dispensing device
AU753568B2 (en)*1998-01-162002-10-24Trudell Medical InternationalIndicating device for use with a dispensing device
SE9801121D0 (en)1998-03-301998-03-30Astra Ab Electrical device
SE9801115D0 (en)1998-03-301998-03-30Astra Ab Electrical device
SE9801122D0 (en)1998-03-301998-03-30Astra Ab Inhalation device
US6082358A (en)*1998-05-052000-07-041263152 Ontario Inc.Indicating device for aerosol container
JP2002517849A (en)1998-06-082002-06-18グラクソ グループ リミテッド Disease management / education systems and methods
IL143121A0 (en)1998-11-302002-04-21Novo Nordisk AsA medical system and a method of controlling the system for use by a patient for medical self treatment
JP4712193B2 (en)1999-03-062011-06-29グラクソ グループ リミテッド Drug delivery system
US6202642B1 (en)*1999-04-232001-03-20Medtrac Technologies, Inc.Electronic monitoring medication apparatus and method
US20030192535A1 (en)1999-09-242003-10-16Astrazeneca Ab.Inhaler
EP1223855B1 (en)1999-10-012006-08-30Glaxo Group LimitedMedicament delivery system
GB0004456D0 (en)2000-02-262000-04-19Glaxo Group LtdMedicament dispenser
PE20020163A1 (en)*2000-06-232002-03-04Norton Healthcare Ltd PRESSURIZED RECEPTACLE SYSTEM FOR MEDICATION INHALER
HK1056125A1 (en)*2000-07-152004-02-06Glaxo Group LimitedMedicament dispenser
GB0021024D0 (en)2000-08-292000-10-11Glaxo Group LtdInhalation device
GB0025749D0 (en)2000-10-202000-12-06Glaxo Group LtdInhaler
GB0026646D0 (en)2000-10-312000-12-13Glaxo Group LtdMedicament dispenser
CA2809180C (en)*2001-03-202015-06-02Trudell Medical InternationalNebulizer apparatus with an adjustable fluid orifice
GB0108228D0 (en)2001-04-022001-05-23Glaxo Group LtdMedicament dispenser
GB0108213D0 (en)2001-04-022001-05-23Glaxo Group LtdMedicament dispenser
GB0108208D0 (en)2001-04-022001-05-23Glaxo Group LtdMedicament dispenser
US20080177154A1 (en)2001-08-132008-07-24Novo Nordisk A/SPortable Device and Method Of Communicating Medical Data Information
GB0127989D0 (en)2001-11-222002-01-16Glaxo Group LtdMedicament dispensing system
GB0217199D0 (en)2002-07-252002-09-04Glaxo Group LtdMedicament dispenser
EP1471868A1 (en)2002-01-302004-11-03Glaxo Group LimitedCompliance aid
GB0209531D0 (en)2002-04-262002-06-05Glaxo Group LtdMedicament dispenser
US7233228B2 (en)2002-04-292007-06-19Glaxo Group LimitedAlerting system
GB0209783D0 (en)2002-04-292002-06-05Glaxo Group LtdMedicament dispenser
GB0216831D0 (en)2002-07-192002-08-28Glaxo Group LtdMedicament dispenser
WO2004011068A1 (en)2002-07-252004-02-05Glaxo Group LimitedMedicament dispenser
ATE382387T1 (en)*2002-11-042008-01-15Bang & Olufsen Medicom As DISPENSING DEVICE
GB2398252B (en)2003-02-112005-09-21Bespak PlcDispensing apparatus
WO2004078236A2 (en)*2003-03-042004-09-16Norton Healthcare LimitedMedicament dispensing device with a display indicative of the state of an internal medicament reservoir
GB0311461D0 (en)2003-05-192003-06-25Glaxo Group LtdDisplay system
GB2406283B (en)2003-09-242006-04-05Altana Pharma AgCompliance monitor and method
US20050108046A1 (en)2003-11-182005-05-19Boehringer Ingelheim Pharmaceuticals, Inc.Clinical management system and methods
DE102004009435A1 (en)2004-02-242005-12-08Boehringer Ingelheim International Gmbh atomizer
US8210171B2 (en)2004-09-132012-07-03Oriel Therapeutics, Inc.Tubular dry powder drug containment systems, associated inhalers and methods
US8231573B2 (en)2005-02-012012-07-31Intelliject, Inc.Medicament delivery device having an electronic circuit system
US7219664B2 (en)*2005-04-282007-05-22Kos Life Sciences, Inc.Breath actuated inhaler
CA2607743A1 (en)*2005-05-122006-11-23Kos Life Sciences, Inc.Dose counter for metered dose inhalers
NZ540250A (en)2005-05-202008-04-30Nexus6 LtdReminder alarm for inhaler with variable and selectable ring tone alarms
WO2007103712A2 (en)*2006-03-032007-09-133M Innovative Properties CompanyMethod and apparatus for metered dosed dispensing
EP1993642B1 (en)2006-03-072012-01-11Bang & Olufsen Medicom A/SAcoustic inhaler flow measurement
GB0610775D0 (en)2006-05-312006-07-12Glaxo Group LtdDispensing device
EP2059288A1 (en)*2006-09-062009-05-20Abbott Respiratory LLCVariable dose aerosol drug canister
US20080178872A1 (en)2006-12-012008-07-31Perry GenovaDose selective breath actuated inhaler
GB0625303D0 (en)2006-12-192007-01-24Jagotec AgImprovements in and relating to metered dose inhalers
ATE540717T1 (en)*2006-12-222012-01-15Almirall Sa INHALATION DEVICE FOR MEDICINAL PRODUCTS IN POWDER FORM
EP1992381A1 (en)2007-05-162008-11-19Boehringer Ingelheim Pharma GmbH & Co. KGDispensing device
GB0712803D0 (en)2007-07-022007-08-08Glaxo Group LtdMedicament dispenser
EP2042208A1 (en)*2007-09-252009-04-01Boehringer Ingelheim Pharma GmbH & Co. KGDispensing device
US8365727B2 (en)*2007-11-192013-02-05Carefusion 2200, Inc.Respiratory therapy system with electromechanical driver
CN101959552B (en)2008-01-232013-02-20阿斯利康(瑞典)有限公司A medicament-containing dispenser provided with a display for presenting indicia to a user
US9550031B2 (en)2008-02-012017-01-24Reciprocal Labs CorporationDevice and method to monitor, track, map, and analyze usage of metered-dose inhalers in real-time
US20090221308A1 (en)2008-03-032009-09-03Novartis AgSystem and Method for Enhancing Drug-Taking Compliance
KR101628410B1 (en)2008-06-202016-06-08맨카인드 코포레이션An interactive apparatus and method for real-time profiling of inhalation efforts
JP5339797B2 (en)*2008-07-082013-11-13キヤノン株式会社 Inhaler
US8695587B2 (en)2008-09-262014-04-15Incube Labs, LlcControlled inhaler for distributing inhalant according to inhalation velocity
EP2376156B1 (en)2008-12-112014-01-08Koninklijke Philips N.V.System and method for monitoring a metered dose inhaler
NZ574666A (en)2009-02-052009-04-30Nexus6 LtdA medicament inhaler holder that uses optical means to count and display the number of doses used
NZ575836A (en)2009-03-272009-08-28Nexus6 LtdImprovements in or Relating to Medicament Delivery Systems
NZ575943A (en)2009-04-012009-07-31Nexus6 LtdImprovements in or Relating to Medicament Delivery Devices
US8547239B2 (en)2009-08-182013-10-01Cequr SaMethods for detecting failure states in a medicine delivery device
US8215299B2 (en)*2010-04-282012-07-10Synmosa Biopharma CorporationCounter for metered dose inhaler
ES2529229T3 (en)*2010-05-182015-02-18Ivax Pharmaceuticals Ireland Dose counters for inhalers and inhalers
EP2582468B1 (en)2010-06-182016-10-19Boehringer Ingelheim International GmbHInhaler
WO2012113027A1 (en)*2011-02-252012-08-30Resmed Motor Technologies Inc.Blower and pap system
GB201115874D0 (en)*2011-09-142011-10-26Astrazeneca AbInhaler
NZ595367A (en)2011-09-232012-02-24Nexus6 LtdA dose counting mechanism adapted to enclose a medicament delivery device
SI2797652T1 (en)2011-12-272019-03-29Vectura GmbhInhalation device with feedback system
US9427534B2 (en)2012-07-052016-08-30Clement Clarke International Ltd.Drug delivery inhaler devices
US10258753B2 (en)2012-10-042019-04-16Boehringer Ingelheim International GmbhSystem, method, use and information storage medium for practicing of an inhalation process
US9179260B2 (en)2012-12-032015-11-03Mylan Inc.Medicament information system and method
GB2526948A (en)2012-12-272015-12-09Kaleo IncSystems for locating and interacting with medicament delivery devices
WO2015178907A1 (en)2013-05-212015-11-26Reciprocal Labs CorporationUsage monitoring attachment for medicament dispenser
WO2014204511A2 (en)2013-06-182014-12-24Isonea LimitedCompliance monitoring for asthma inhalers
EP3019081A4 (en)2013-07-122018-04-25Oscillari LLCAcoustic based drug delivery monitor
MX358899B (en)*2013-08-282018-09-07Gecko Health Innovations Inc DEVICES, SYSTEMS AND METHODS FOR MONITORING ADHERENCE AND DEVICES, SYSTEMS AND METHODS TO MONITOR THE USE OF CONSUMABLES DISPENSERS.
US10828434B2 (en)2013-08-302020-11-10Adherium (Nz) LimitedCompliance monitor for a medicament inhaler
US9188579B2 (en)2013-11-212015-11-17Qualcomm IncorporatedSniffing smartphone
JP6097677B2 (en)2013-12-052017-03-15日本光電工業株式会社 Display device and display method
GB201321712D0 (en)*2013-12-092014-01-22Pharmachemie BvDry Powder Inhaler
DK3113817T3 (en)2014-03-032021-02-01Adherium Nz Ltd MONITORING MONITOR FOR A DEVICE FOR ADMINISTRATION OF DRUGS IN DRY POWDER FORM
WO2015138454A1 (en)2014-03-102015-09-17Respeq Inc.Systems and methods for delivering an agent to a user's lungs and for simultaneously monitoring lung health
WO2015154864A2 (en)2014-04-072015-10-15Boehringer Ingelheim International GmbhMethod, electronic device, inhalation training system and information storage medium for practicing and/or controlling an inhalation process of a patient
US10173020B2 (en)2014-05-162019-01-08Adherium (Nz) LimitedDevices and methods for identification of medicament delivery devices
JP2017527415A (en)2014-09-152017-09-21アドヘリウム (エヌゼット) リミテッド Adherence monitor for dry powder drug delivery devices
WO2016041576A1 (en)2014-09-162016-03-24Medituner AbComputer controlled dosage system
CA2998709A1 (en)2014-09-172016-03-24Canary Medical Inc.Devices, systems and methods for using and monitoring medical devices
US11033694B2 (en)2014-09-222021-06-15Koninklijke Philips N.V.Inhaler with orientation sensor
US20160106935A1 (en)2014-10-172016-04-21Qualcomm IncorporatedBreathprint sensor systems, smart inhalers and methods for personal identification
US11051554B2 (en)2014-11-122021-07-06Rai Strategic Holdings, Inc.MEMS-based sensor for an aerosol delivery device
ES2894873T3 (en)2014-12-042022-02-16Becton Dickinson Co Force sensing resistor for low volume fluid sensing and occlusion detection and methods and apparatus for sensing flow along the fluid path in the fluid delivery device
CN107106796B (en)2015-01-092021-02-09安瑞智能(新西兰)有限公司Monitor for a medicament inhaler
KR102504798B1 (en)2015-01-202023-03-02노파르티스 아게Application unlock using a connected physical device and transfer of data therebetween
US10726954B2 (en)2015-04-222020-07-28Reciprocal Labs CorporationPredictive modeling of respiratory disease risk and events
PL3111978T3 (en)2015-07-032022-01-24Novartis AgInhaler adapted to read information stored in a data storage means of a container
WO2017051389A1 (en)2015-09-252017-03-30Adherium (Nz) LimitedAdherence monitor for a medicament inhaler
US10957447B2 (en)2015-10-152021-03-23Reciprocal Labs CorporationPre-emptive chronic obstructive pulmonary disease risk notifications based on medicament device monitoring
CN205095240U (en)*2015-10-302016-03-23佳木斯大学Oral mucosa drug delivery device
US10255412B2 (en)2015-11-132019-04-09Reciprocal Labs CorporationReal time adaptive controller medication dosing
US12357776B2 (en)*2015-12-212025-07-15Kindeva Drug Delivery L.P.Medicinal inhalers
SI3199193T1 (en)2016-01-282020-12-31Novartis AgMethod for measuring flow features in an inhaler, inhaler and system
EP3416711B1 (en)2016-02-172022-04-06Adherium (NZ) LimitedAdherence monitor for a medicament inhaler with tethered cap
EP3228345A1 (en)2016-04-042017-10-11Nexvap SAInhaler and liquid composition
WO2017176704A1 (en)2016-04-052017-10-123M Innovative Properties CompanyMedicinal inhaler refill assemblies comprising a lockout mechanism
US11344684B2 (en)2016-04-052022-05-31Kindeva Drug Delivery L.P.Medicinal inhaler refill assemblies comprising a lockout override mechanism
WO2017180980A1 (en)2016-04-142017-10-19Mylan Inc.Systems, devices and methods for assessing inhalation therapy
US11666701B2 (en)2016-04-282023-06-06Embecta Corp.Smart medication delivery devices for providing users with delivery infomatics and methods of using same
US11285283B2 (en)2016-05-032022-03-29Pneuma Respiratory, Inc.Methods for generating and delivering droplets to the pulmonary system using a droplet delivery device
CA3022916C (en)2016-05-032020-03-10Pneuma Respiratory, Inc.Droplet delivery device for delivery of fluids to the pulmonary system and methods of use
WO2017216634A2 (en)2016-06-172017-12-21Thin Film Electronics AsaWireless mechanism for detecting an open or closed container, and methods of making and using the same
CN106039495B (en)*2016-07-262024-06-18宁波睿诺电子科技有限公司Intelligent inhaler
GB2552720B (en)*2016-08-052021-05-05Stuart Harris DavidImprovements in and relating to inhalers
WO2018033819A1 (en)2016-08-162018-02-22Resolve Digital Health Inc.Digital health ecosystem
US20180085540A1 (en)2016-09-282018-03-29Qualcomm IncorporatedInhaler with one or more visual sensors
JP7014791B2 (en)*2016-11-182022-02-01ノートン (ウォーターフォード) リミテッド Inhaler
US20180161530A1 (en)2016-12-142018-06-14Qualcomm IncorporatedFlow sensing medicine delivery device
WO2018128976A1 (en)2017-01-032018-07-123M Innovative Properties CompanySystem and method for monitoring respiration
GB2558895B (en)2017-01-172019-10-09Cambridge Entpr LtdA thermal fluid flow sensor
GB2558896B (en)2017-01-172019-10-09Cambridge Entpr LtdA single membane flow-pressure sensing device

Patent Citations (3)

* Cited by examiner, † Cited by third party
Publication numberPriority datePublication dateAssigneeTitle
US20020128591A1 (en)*2000-09-112002-09-12Kleiner Lothar W.Transdermal electrotransport device and method for manufacturing same
US20060283444A1 (en)*2003-02-112006-12-21Matthew JonesDispensing apparatus
WO2016030521A1 (en)*2014-08-282016-03-03Norton (Waterford) LimitedCompliance-assisting module for an inhaler

Also Published As

Publication numberPublication date
KR20190085981A (en)2019-07-19
US20180140788A1 (en)2018-05-24
IL266617A (en)2019-07-31
EA201991218A1 (en)2019-11-29
JP2022058665A (en)2022-04-12
AU2017359597A1 (en)2019-06-06
CN110177591A (en)2019-08-27
IL314077A (en)2024-09-01
KR102491841B1 (en)2023-01-26
JP2020500067A (en)2020-01-09
CA3043987A1 (en)2018-05-24
IL266617B2 (en)2024-12-01
EP3506971A1 (en)2019-07-10
WO2018091957A1 (en)2018-05-24
AU2017359597B2 (en)2023-04-06
ES2811842T3 (en)2021-03-15
EP3506971B1 (en)2020-07-29
US20210220579A1 (en)2021-07-22
JP7014791B2 (en)2022-02-01
EP3733233A1 (en)2020-11-04
EA039125B1 (en)2021-12-08
IL266617B1 (en)2024-08-01
CN110177591B (en)2021-11-19
US20240390609A1 (en)2024-11-28
NZ753553A (en)2025-03-28
US11000653B2 (en)2021-05-11

Similar Documents

PublicationPublication DateTitle
CN110177591B (en)Inhaler
ES2884802T3 (en) Drug delivery device with electronic components
HK40007732A (en)Inhaler
HK40007732B (en)Inhaler
HK40011278A (en)Inhaler
HK40011278B (en)Inhaler
HK40071419A (en)Drug delivery device with electronics
HK40015528A (en)Drug delivery device with electronics
HK40001554A (en)Drug delivery device with electronics
HK40001554B (en)Drug delivery device with electronics
HK40007736A (en)Drug delivery device with electronics

Legal Events

DateCodeTitleDescription
PB01Publication
PB01Publication
SE01Entry into force of request for substantive examination
SE01Entry into force of request for substantive examination
WD01Invention patent application deemed withdrawn after publication
WD01Invention patent application deemed withdrawn after publication

Application publication date:20220311


[8]ページ先頭

©2009-2025 Movatter.jp