







技术领域technical field
本发明涉及通信技术领域,尤其涉及一种信令处理方法、通信系统、电子设备和存储介质。The present invention relates to the field of communication technologies, and in particular, to a signaling processing method, a communication system, an electronic device and a storage medium.
背景技术Background technique
随着第五代移动通信技术(5th Generation Mobile CommunicationTechnology,简称5G)的不断发展,5G通信系统已经应用到各个领域。比如对于用户使用的终端设备上安装的各种应用程序(Application,简称APP),利用5G通信系统能够为用户提供更快、更好的使用体验。又比如由车辆、路测设备和5G通信系统可以构成车联网,借助车联网能够为驾驶者提供更好的自动驾驶体验。又比如5G通信系统也可以应用到工业领域中。With the continuous development of the 5th Generation Mobile Communication Technology (5G), 5G communication systems have been applied to various fields. For example, for various application programs (Application, APP for short) installed on the terminal device used by the user, the use of the 5G communication system can provide users with a faster and better experience. For another example, vehicles, road testing equipment and 5G communication systems can form the Internet of Vehicles, which can provide drivers with a better autonomous driving experience with the help of the Internet of Vehicles. Another example is the 5G communication system can also be applied to the industrial field.
核心网是整个5G通信系统中最核心的部分,其中存在频繁的信令交互过程,因此,如何降低核心网对信令处理的复杂度就成为一个亟待解决的问题。The core network is the core part of the entire 5G communication system, and there are frequent signaling interaction processes in it. Therefore, how to reduce the complexity of signaling processing by the core network has become an urgent problem to be solved.
发明内容SUMMARY OF THE INVENTION
有鉴于此,本发明实施例提供一种信令处理方法、通信系统、电子设备和存储介质,用以降低信令处理的复杂度。In view of this, embodiments of the present invention provide a signaling processing method, a communication system, an electronic device, and a storage medium, so as to reduce the complexity of signaling processing.
第一方面,本发明实施例提供一种信令处理方法,应用于通信系统中的分发组件,包括:In a first aspect, an embodiment of the present invention provides a signaling processing method, which is applied to a distribution component in a communication system, including:
根据第一信令中的预设字段,在核心网包含的不同控制面功能网元各自对应的网元实例中确定目标网元实例,以由所述目标网元实例响应所述第一信令;According to a preset field in the first signaling, a target network element instance is determined from the network element instances corresponding to different control plane function network elements included in the core network, so that the target network element instance responds to the first signaling ;
根据第二信令中的所述预设字段确定所述目标网元实例,以由所述目标网元实例根据所述第一信令的响应状态,响应所述第二信令,所述第一信令和所述第二信令是在同一通信过程中先后产生的信令。The target network element instance is determined according to the preset field in the second signaling, so that the target network element instance responds to the second signaling according to the response state of the first signaling, and the first signaling The first signaling and the second signaling are signaling that are generated successively in the same communication process.
第二方面,本发明实施例提供一种通信系统,包括:分发组件以及核心网中不同控制面功能网元各自对应的网元实例;In a second aspect, an embodiment of the present invention provides a communication system, including: a distribution component and network element instances corresponding to different control plane functional network elements in a core network;
所述分发组件,用于根据第一信令中的预设字段,在所述不同控制面功能网元各自对应的网元实例中确定目标网元实例;根据第二信令中的所述预设字段确定所述目标网元实例,所述第一信令和所述第二信令是在同一通信过程中先后产生的信令;The distribution component is configured to determine a target network element instance from the network element instances corresponding to the network elements with different control plane functions according to a preset field in the first signaling; according to the preset field in the second signaling; Set the field to determine the instance of the target network element, and the first signaling and the second signaling are signaling generated successively in the same communication process;
所述目标网元实例,用于响应所述第一信令;根据所述第一信令的响应状态,响应所述第二信令。The target network element instance is used to respond to the first signaling; and according to the response state of the first signaling, to respond to the second signaling.
第三方面,本发明实施例提供一种电子设备,包括处理器和存储器,所述存储器用于存储一条或多条计算机指令,其中,所述一条或多条计算机指令被所述处理器执行时实现上述第一方面提供的信令处理方法。该电子设备还可以包括通信接口,用于与其他设备或通信网络通信。In a third aspect, embodiments of the present invention provide an electronic device, including a processor and a memory, where the memory is configured to store one or more computer instructions, wherein when the one or more computer instructions are executed by the processor The signaling processing method provided in the first aspect above is implemented. The electronic device may also include a communication interface for communicating with other devices or a communication network.
第四方面,本发明实施例提供了一种非暂时性机器可读存储介质,所述非暂时性机器可读存储介质上存储有可执行代码,当所述可执行代码被电子设备的处理器执行时,使所述处理器至少可以实现如第一方面所述的信令处理方法。In a fourth aspect, an embodiment of the present invention provides a non-transitory machine-readable storage medium, where executable code is stored on the non-transitory machine-readable storage medium, and when the executable code is executed by a processor of an electronic device When executed, the processor can at least implement the signaling processing method described in the first aspect.
本发明实施例提供的信令处理方法,分发组件根据信令中的预设字段,在核心网包含的不同控制面功能网元中确定用于响应该信令的目标网元实例。由于第一信令和第二信令是在同一通信过程中先后产生的,二者都包含预设字段,因此,第一信令和第二信令会被分发到同一目标网元实例并由其进行响应,并且目标网元实例需要根据第一信令的响应状态响应第二信令。In the signaling processing method provided by the embodiment of the present invention, the distribution component determines, according to preset fields in the signaling, a target network element instance for responding to the signaling among different control plane functional network elements included in the core network. Since the first signaling and the second signaling are generated successively in the same communication process, and both contain preset fields, the first signaling and the second signaling will be distributed to the same target network element instance and sent by the It responds, and the target network element instance needs to respond to the second signaling according to the response status of the first signaling.
相比于使用不同网元实例分别响应来源于同一通信过程的不同信令,按照上述的分发方式来源于同一通信过程的不同信令会由同一网元实例响应,从而能够省去由不同网元实例响应信令时网元实例之间需要同步响应状态的过程,从而简化信令的响应过程。Compared with using different network element instances to respond to different signaling originating from the same communication process, different signaling originating from the same communication process will be responded to by the same network element instance according to the above-mentioned distribution method, thereby eliminating the need for different signaling from different network elements. When an instance responds to signaling, the network element instances need to synchronize the response state, thereby simplifying the signaling response process.
并且相比于由核心网中具有分发能力的主网元实例进行信令分发,本实施例中是利用通信系统中独立的分发组件进行信令分发,这样能够避免出现由于主网元实例故障,使得信令分发失败并最终导致信令无法响应的情况,从而能够提高核心网的可用性,同时也省去了主网元实例的选择过程,也减轻了主网元实例的工作压力。And compared with the signaling distribution performed by the primary network element instance with the distribution capability in the core network, in this embodiment, the signaling distribution is performed by using an independent distribution component in the communication system, which can avoid the failure of the primary network element instance. This makes the signaling distribution fail and eventually causes the signaling to fail to respond, thereby improving the availability of the core network, eliminating the selection process of the main network element instance, and reducing the work pressure of the main network element instance.
附图说明Description of drawings
为了更清楚地说明本发明实施例或现有技术中的技术方案,下面将对实施例或现有技术描述中所需要使用的附图作一简单地介绍,显而易见地,下面描述中的附图是本发明的一些实施例,对于本领域普通技术人员来讲,在不付出创造性劳动的前提下,还可以根据这些附图获得其他的附图。In order to more clearly illustrate the embodiments of the present invention or the technical solutions in the prior art, the following briefly introduces the accompanying drawings that need to be used in the description of the embodiments or the prior art. Obviously, the accompanying drawings in the following description These are some embodiments of the present invention. For those of ordinary skill in the art, other drawings can also be obtained according to these drawings without creative efforts.
图1为本发明实施例提供的一种通信系统的结构示意图;1 is a schematic structural diagram of a communication system according to an embodiment of the present invention;
图2为与图1所示实施例提供的通信系统中核心网的网络架构示意图;2 is a schematic diagram of a network architecture of a core network in the communication system provided with the embodiment shown in FIG. 1;
图3为本发明实施例提供的另一种通信系统的结构示意图;3 is a schematic structural diagram of another communication system provided by an embodiment of the present invention;
图4为本发明实施例提供的又一种通信系统的结构示意图;FIG. 4 is a schematic structural diagram of another communication system provided by an embodiment of the present invention;
图5为本发明实施例提供的一种信令处理方法的流程示意图;FIG. 5 is a schematic flowchart of a signaling processing method according to an embodiment of the present invention;
图6为本发明实施例提供的信令处理方法、通信系统应用在直播场景中的示意图;6 is a schematic diagram of a signaling processing method and a communication system provided in an embodiment of the present invention applied in a live broadcast scenario;
图7为本发明实施例提供的信令处理方法、通信系统应用在自动驾驶场景中的示意图;7 is a schematic diagram of a signaling processing method and a communication system provided in an embodiment of the present invention applied in an automatic driving scenario;
图8为本发明实施例提供的一种电子设备的结构示意图。FIG. 8 is a schematic structural diagram of an electronic device according to an embodiment of the present invention.
具体实施方式Detailed ways
为使本发明实施例的目的、技术方案和优点更加清楚,下面将结合本发明实施例中的附图,对本发明实施例中的技术方案进行清楚、完整地描述,显然,所描述的实施例是本发明一部分实施例,而不是全部的实施例。基于本发明中的实施例,本领域普通技术人员在没有作出创造性劳动前提下所获得的所有其他实施例,都属于本发明保护的范围。In order to make the purposes, technical solutions and advantages of the embodiments of the present invention clearer, the technical solutions in the embodiments of the present invention will be clearly and completely described below with reference to the accompanying drawings in the embodiments of the present invention. Obviously, the described embodiments These are some embodiments of the present invention, but not all embodiments. Based on the embodiments of the present invention, all other embodiments obtained by those of ordinary skill in the art without creative efforts shall fall within the protection scope of the present invention.
在本发明实施例中使用的术语是仅仅出于描述特定实施例的目的,而非旨在限制本发明。在本发明实施例和所附权利要求书中所使用的单数形式的“一种”、“所述”和“该”也旨在包括多数形式,除非上下文清楚地表示其他含义,“多种”一般包含至少两种,但是不排除包含至少一种的情况。The terms used in the embodiments of the present invention are only for the purpose of describing specific embodiments, and are not intended to limit the present invention. The singular forms "a," "the," and "the" as used in the embodiments of the present invention and the appended claims are intended to include the plural forms as well, unless the context clearly dictates otherwise, "a plurality" Generally, at least two kinds are included, but the case of including at least one kind is not excluded.
应当理解,本文中使用的术语“和/或”仅仅是一种描述关联对象的关联关系,表示可以存在三种关系,例如,A和/或B,可以表示:单独存在A,同时存在A和B,单独存在B这三种情况。另外,本文中字符“/”,一般表示前后关联对象是一种“或”的关系。It should be understood that the term "and/or" used in this document is only an association relationship to describe the associated objects, indicating that there may be three kinds of relationships, for example, A and/or B, which may indicate that A exists alone, and A and B exist at the same time. B, there are three cases of B alone. In addition, the character "/" in this document generally indicates that the related objects are an "or" relationship.
取决于语境,如在此所使用的词语“如果”、“若”可以被解释成为“在……时”或“当……时”或“响应于确定”或“响应于识别”。类似地,取决于语境,短语“如果确定”或“如果识别(陈述的条件或事件)”可以被解释成为“当确定时”或“响应于确定”或“当识别(陈述的条件或事件)时”或“响应于识别(陈述的条件或事件)”。Depending on the context, the words "if", "if" as used herein may be interpreted as "at" or "when" or "in response to determining" or "in response to identifying". Similarly, the phrases "if determined" or "if identified (stated condition or event)" can be interpreted as "when identified" or "in response to determination" or "when identified (stated condition or event)", depending on the context )” or “in response to identification (statement or event)”.
还需要说明的是,术语“包括”、“包含”或者其任何其他变体意在涵盖非排他性的包含,从而使得包括一系列要素的商品或者系统不仅包括那些要素,而且还包括没有明确列出的其他要素,或者是还包括为这种商品或者系统所固有的要素。在没有更多限制的情况下,由语句“包括一个……”限定的要素,并不排除在包括所述要素的商品或者系统中还存在另外的相同要素。It should also be noted that the terms "comprising", "comprising" or any other variation thereof are intended to encompass non-exclusive inclusion, such that a commodity or system comprising a list of elements includes not only those elements, but also includes not explicitly listed other elements, or elements inherent to the commodity or system. Without further limitation, an element defined by the phrase "comprising a..." does not preclude the presence of additional identical elements in the article or system that includes the element.
下面结合附图对本发明的一些实施方式作详细说明。在各实施例之间不冲突的情况下,下述的实施例及实施例中的特征可以相互组合。另外,下述各方法实施例中的步骤时序仅为一种举例,而非严格限定。Some embodiments of the present invention will be described in detail below with reference to the accompanying drawings. The following embodiments and features in the embodiments may be combined with each other without conflict between the embodiments. In addition, the sequence of steps in the following method embodiments is only an example, and is not strictly limited.
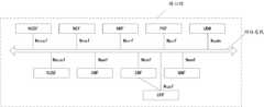
为了便于方案理解,可以先从整个通信系统的角度进行描述。则图1为本发明实施例提供的一种通信系统的结构示意图。如图1所示,该通信系统可以包括:分发组件以及核心网中不同功能网元各自对应的网元实例。其中,功能网元既包括控制面功能网元又包括用户面功能网元。并且通信网络中的基站和交换机并未在图中示出。In order to facilitate the understanding of the solution, the description can be made from the perspective of the entire communication system. Then FIG. 1 is a schematic structural diagram of a communication system according to an embodiment of the present invention. As shown in FIG. 1 , the communication system may include: a distribution component and network element instances corresponding to different functional network elements in the core network. The functional network elements include both control plane functional network elements and user plane functional network elements. And the base stations and switches in the communication network are not shown in the figure.
可选地,分发组件可以是部署在核心网中的frontend软件。Optionally, the distribution component may be frontend software deployed in the core network.
可选地,核心网的网络架构可以如图2所示。核心网具体可以包括:网络切片选择功能(Network Slice Selection Function ,简称NSSF)网元、网络暴露功能(NetworkExposure Function,简称NEF)网元、网络存储库功能(Network Repository Function,简称NRF)网元、策略控制功能(Policy Control Function ,简称PCF)网元、统一数据管理(Unified Data Management,简称UDM)网元、鉴权服务功能(Authentication ServerFunction,简称AUSF)网元、接入和移动性管理功能(Access and Mobility ManagementFunction,简称AMF)网元、会话管理功能(Session Management Function,简称SMF)网元以及移动性管理功能(Mobility Management Function,简称MMF)网元。上述各网元可以称为控制面功能网元。核心网还可以包括用户面功能(User Plane Function,简称UPF)网元。Optionally, the network architecture of the core network may be as shown in FIG. 2 . The core network may specifically include: Network Slice Selection Function (NSSF for short) network element, Network Exposure Function (NEF for short) network element, Network Repository Function (NRF for short) network element, Policy Control Function (PCF for short) network element, Unified Data Management (UDM for short) network element, Authentication Server Function (AUSF for short) network element, access and mobility management function ( An Access and Mobility Management Function (AMF) network element, a Session Management Function (SMF for short) network element, and a Mobility Management Function (MMF for short) network element. The above network elements may be referred to as control plane functional network elements. The core network may further include a user plane function (User Plane Function, UPF for short) network element.
其中,核心网中的每个控制面功能网元和用户面功能网元都可以包括多个网元实例,也就是说每个功能网元都可以认为是由多个网元实例构成的网元实例集群,可以由集群中的某一网元实例响应终端设备发送的信令。Wherein, each control plane functional network element and user plane functional network element in the core network may include multiple network element instances, that is to say, each functional network element can be considered as a network element composed of multiple network element instances In the instance cluster, a certain network element instance in the cluster may respond to the signaling sent by the terminal device.
基于上述描述,通信系统的具体工作过程可以为:Based on the above description, the specific working process of the communication system can be as follows:
终端设备发送的第一信令可以经由基站、交换机传输至核心网,以被分发组件接收到。之后,分组组件可以根据第一信令中的预设字段选择用于响应此第一信令的目标网元实例。一种可选地选择方式,分组组件可以根据预设字段与功能网元之间的对应关系,在核心网中确定与第一信令包含的预设字段对应的目标功能网元,并进一步在目标功能网元对应的网元实例集群中确定目标网元实例。可选地,目标网元实例可以是目标功能网元对应的所有网元实例中任一网元实例,也可以是负载最小的网元实例。此目标网元实例可以响应第一信令,从而得到第一信令的响应状态。可选地,第一信令的响应状态可以包括正常响应和异常响应,异常响应可以是信令未被响应,被丢弃。并且此响应状态可以被存储于目标网元实例中。The first signaling sent by the terminal device may be transmitted to the core network via the base station and the switch to be received by the distribution component. Afterwards, the grouping component may select a target network element instance for responding to the first signaling according to a preset field in the first signaling. An optional selection method, the grouping component can determine the target functional network element corresponding to the preset field included in the first signaling in the core network according to the corresponding relationship between the preset field and the functional network element, and further in the core network. The target network element instance is determined from the network element instance cluster corresponding to the target functional network element. Optionally, the target network element instance may be any network element instance among all network element instances corresponding to the target functional network element, or may be the network element instance with the least load. The target network element instance may respond to the first signaling, thereby obtaining the response state of the first signaling. Optionally, the response status of the first signaling may include a normal response and an abnormal response, and the abnormal response may be that the signaling is not responded and is discarded. And this response status can be stored in the target network element instance.
在第一信令发送后,终端设备还可以产生第二信令并将其发送至核心网。其中,上述的第一信令和第二信令是在同一通信过程中由终端设备先后产生的信令,即第一信令产生于第二信令之前,并且两信令包含相同的预设字段且该预设字段中的内容也相同,则分发组件可以将此第二信令也分发至目标网元实例。After the first signaling is sent, the terminal device may also generate the second signaling and send it to the core network. Wherein, the above-mentioned first signaling and second signaling are signaling generated successively by the terminal equipment in the same communication process, that is, the first signaling is generated before the second signaling, and the two signaling contain the same preset field and the content in the preset field is also the same, the distribution component can also distribute the second signaling to the target network element instance.
其中,对于产生第一信令和第二信令的通信过程,其可以包括终端设备的注册、建立会话、下行寻呼等等。当然通信过程包含但不限于上述过程,通信过程可以是任一为保证终端设备与服务器之间正常发送数据包所需的通信过程。并在在本发明提供的各实施例中,用于响应信令的网元实例都是控制面功能网元对应的网元实例,并不包含用户面功能网元对应的网元实例。Wherein, for the communication process of generating the first signaling and the second signaling, it may include registration of the terminal device, establishment of a session, downlink paging, and the like. Of course, the communication process includes but is not limited to the above-mentioned process, and the communication process may be any communication process required to ensure the normal sending of data packets between the terminal device and the server. And in each embodiment provided by the present invention, the network element instances used for responding to signaling are all network element instances corresponding to the control plane functional network elements, and do not include network element instances corresponding to the user plane functional network elements.
接着,当第二信令被分发至目标网元实例后,此目标网元实例会先读取本地存储的第一信令的响应状态,再根据此第一信令的响应状态响应第二信令,以得到第二信令的响应状态。可见,第一信令的响应状态可以直接影响第二信令的响应状态,这种影响可以具体体现为:若第一信令的响应状态为正常响应,则目标网元实例可以正常对第二信令进行响应,即第二信令的响应状态为正常响应。若第一信令的响应状态为异常响应,则目标网元实例可以直接丢弃第二信令,不对其进行响应,则第二信令的响应状态为异常响应。相同的,第二信令的响应状态也会被存储于目标网元实例中。Then, after the second signaling is distributed to the target network element instance, the target network element instance will first read the locally stored response status of the first signaling, and then respond to the second signaling according to the response status of the first signaling. command to obtain the response status of the second signaling. It can be seen that the response state of the first signaling can directly affect the response state of the second signaling, and this impact can be embodied as follows: if the response state of the first signaling is a normal response, the target network element instance can normally respond to the second signaling. The signaling responds, that is, the response state of the second signaling is a normal response. If the response state of the first signaling is an abnormal response, the target network element instance may directly discard the second signaling without responding to it, and the response state of the second signaling is an abnormal response. Similarly, the response state of the second signaling is also stored in the target network element instance.
根据上述描述可知,在后信令的响应结果与在前信令的响应结果直接相关,因此,若由不同的网元实例分别响应同一通信过程中产生的不同信令,则不同网元实例之间就需要进行响应状态的同步,从而增大信令响应过程的复杂程度。而按照上述分发方式会使得同一通信过程中产生的所有信令都会由同一网元实例响应,则可以省去上述响应状态的同步过程,从而简化信令的响应过程。According to the above description, the response result of the later signaling is directly related to the response result of the previous signaling. Therefore, if different network element instances respond to different signaling generated in the same communication process, the It is necessary to synchronize the response state between times, thereby increasing the complexity of the signaling response process. According to the above distribution method, all signaling generated in the same communication process will be responded by the same network element instance, and the synchronization process of the response state can be omitted, thereby simplifying the signaling response process.
下面可以以注册过程为例说明上述的信令分发与响应过程:The following can take the registration process as an example to illustrate the above-mentioned signaling distribution and response process:
终端设备可以向核心网发送接入信令(即第一信令),分发组件可以先按照接收信令中包含的预设字段,确定该信令是在终端设备的注册过程中产生的,确定此第一信令与AMF网元对应,则分发组件可以将接入信令分配至AMF网元对应的网元实例1,并由此网元实例1响应接入信令,接入信令的响应状态也会别网元实例1存储。The terminal device can send access signaling (ie, the first signaling) to the core network, and the distribution component can first determine that the signaling is generated during the registration process of the terminal device according to the preset fields included in the received signaling, and then determine The first signaling corresponds to the AMF network element, then the distribution component can distribute the access signaling to the network element instance 1 corresponding to the AMF network element, and the network element instance 1 responds to the access signaling, and the access signaling The response status is also stored separately in NE instance 1.
接入信令被网元实例1正常响应后,终端设备还可以进一步向核心网发送认证信令(即第二信令),分发组件同样可以根据认证信令中的预设字段将该认证信令分发至网元实例1。由于网元实例1已经被正常响应,则该认证信令同样可以由网元实例1正常响应,并实现认证信令的响应状态的存储。此网元实例1还可以向终端设备返回认证通过信令,终端设备接收到此认证通过信令后也即是完成终端设备的注册过程。After the access signaling is normally responded by the network element instance 1, the terminal device may further send authentication signaling (ie, the second signaling) to the core network, and the distribution component can also send the authentication signaling according to the preset fields in the authentication signaling. The order is distributed to NE instance 1. Since the network element instance 1 has been responded normally, the authentication signaling can also be normally responded by the network element instance 1, and the response state of the authentication signaling can be stored. The network element instance 1 may also return an authentication pass signaling to the terminal device, and the terminal device completes the registration process of the terminal device after receiving the authentication pass signaling.
上述过程中,在注册过程中产生的接入信令和认证信令都可以由AMF网元中的网元实例1来响应。并且网元实例1可以直接通过读取自身存储的响应状态实现多条信令的响应,从而简化信令的响应过程。In the above process, both the access signaling and the authentication signaling generated in the registration process can be responded by the network element instance 1 in the AMF network element. In addition, the network element instance 1 can directly realize the response of multiple signaling by reading the response state stored by itself, thereby simplifying the signaling response process.
本实施例中,分发组件根据信令中的预设字段,在核心网包含的不同控制面功能网元中确定用于响应该信令的目标网元实例。由于第一信令和第二信令是在同一通信过程中先后产生的,二者都包含预设字段,因此,第一信令和第二信令会被分发到同一目标网元实例并由其进行响应,并且目标网元实例需要根据第一信令的响应状态响应第二信令。In this embodiment, the distribution component determines, according to a preset field in the signaling, a target network element instance for responding to the signaling among different control plane functional network elements included in the core network. Since the first signaling and the second signaling are generated successively in the same communication process, and both contain preset fields, the first signaling and the second signaling will be distributed to the same target network element instance and sent by the It responds, and the target network element instance needs to respond to the second signaling according to the response status of the first signaling.
相比于使用不同网元实例分别响应来源于同一通信过程的不同信令,按照上述的分发方式来源于同一通信过程的不同信令会由同一网元实例响应,从而能够省去由不同网元实例响应信令时网元实例之间需要同步响应状态的过程,从而简化信令的响应过程。Compared with using different network element instances to respond to different signaling originating from the same communication process, different signaling originating from the same communication process will be responded to by the same network element instance according to the above-mentioned distribution method, thereby eliminating the need for different signaling from different network elements. When an instance responds to signaling, the network element instances need to synchronize the response state, thereby simplifying the signaling response process.
并且相比于由核心网中具有分发能力的主网元实例进行信令分发,本实施例中是利用通信系统中独立的分发组件进行信令分发,这样能够避免出现由于主网元实例故障,使得信令分发失败并最终导致信令无法响应的情况,从而能够提高核心网的可用性,同时也省去了主网元实例的选择过程,也减轻了主网元实例的工作压力。And compared with the signaling distribution performed by the primary network element instance with the distribution capability in the core network, in this embodiment, the signaling distribution is performed by using an independent distribution component in the communication system, which can avoid the failure of the primary network element instance. This makes the signaling distribution fail and eventually causes the signaling to fail to respond, thereby improving the availability of the core network, eliminating the selection process of the main network element instance, and reducing the work pressure of the main network element instance.
图3为本发明实施例提供的另一种通信系统的结构示意图。如图3所示,在图1所示通信系统的基础上,该通信系统还可以包括:容器编排工具和内存数据库。FIG. 3 is a schematic structural diagram of another communication system according to an embodiment of the present invention. As shown in FIG. 3 , based on the communication system shown in FIG. 1 , the communication system may further include: a container orchestration tool and an in-memory database.
在网元实例启动时,容器编排工具可以为核心网中不同控制面功能网元各自对应的网元实例分配域名,此域名能够唯一标识网元实例,并且网元实例的故障重启并不会改变此网元实例的域名。可选地,容器编排工具可以是Kubernetes,简称K8s或者DockerSwarm等。分发组件也可以实时监测核心网中不同控制面功能网元各自对应的网元实例的运行状态,即网元实例是否发生故障,从而基于容器编排工具分配的域名,生成包含网元实例域名和网元实例标识之间的对应关系的可用网元实例列表。若网元实例发生故障,可以将此网元实例从分发组件本地维护的可用网元实例列表中删除。待此网元实例重启成功后可以重新添加到该可用网元实例列表中。When an NE instance is started, the container orchestration tool can assign domain names to the NE instances corresponding to different control plane function NEs in the core network. The domain name of this NE instance. Optionally, the container orchestration tool can be Kubernetes, K8s for short, or DockerSwarm, etc. The distribution component can also monitor the running status of the NE instances corresponding to different control plane function NEs in the core network in real time, that is, whether the NE instance is faulty, and generate a domain name including the NE instance domain name and network element based on the domain name allocated by the container orchestration tool. A list of available network element instances for the correspondence between element instance identifiers. If an NE instance fails, you can delete the NE instance from the list of available NE instances maintained locally by the distribution component. After the NE instance is restarted successfully, it can be re-added to the list of available NE instances.
借助上述的可用网元实例列表,另一种可选地目标网元实例选择方式,分发组件可以对第一信令中的预设字段进行计算,比如哈希计算。然后,将计算结果作为网元实例标识,在可用网元实例列表中查询与此计算结果对应的目标域名,并将具有此目标域名的网元实例确定为目标网元实例。之后,分发组件便可以按照目标域名将第一信令分发至目标网元实例。其中,上述选择方式中使用的预设字段可以与图1所示实施例中使用预设字段不同。With the aid of the above-mentioned list of available network element instances, and another optional method for selecting target network element instances, the distribution component may perform calculation, such as hash calculation, on a preset field in the first signaling. Then, the calculation result is used as a network element instance identifier, the target domain name corresponding to the calculation result is queried in the available network element instance list, and the network element instance with the target domain name is determined as the target network element instance. After that, the distribution component can distribute the first signaling to the target network element instance according to the target domain name. Wherein, the preset fields used in the above selection manner may be different from the preset fields used in the embodiment shown in FIG. 1 .
可选地,容器编排工具也可以实时监测控制面功能网元各自对应的网元实例是否故障,并及时控制发生故障的网元实例重启。Optionally, the container orchestration tool can also monitor in real time whether the network element instances corresponding to the functional network elements of the control plane are faulty, and timely control the restart of the faulty network element instances.
在实际中,若目标网元实例在响应第一信令后发生故障,则该目标网元实例可以从分发组件维护的可用网元实例列表中删除。之后,分发组件还可以接收到终端设备发送的第二信令,此时,可以利用第二信令中预设字段的计算结果在可用网元实例列表中进行查询。由于目标实例网元已经发生故障,则分发组件无法在可用网元实例列表中查询到该目标网元实例,第二信令也就无法被正常响应。分发组件还可以向终端设备反馈响应失败消息,以使终端设备及时了解信令的响应状态。由于第二信令未被正常响应,因此,终端设备还会继续向核心网发送第二信令,直至到目标网元实例重启并对此第二信令进行响应,从而完成一个通信过程。In practice, if the target network element instance fails after responding to the first signaling, the target network element instance may be deleted from the list of available network element instances maintained by the distribution component. Afterwards, the distribution component may also receive the second signaling sent by the terminal device, and at this time, may use the calculation result of the preset field in the second signaling to query in the list of available network element instances. Since the network element of the target instance has failed, the distribution component cannot query the target network element instance in the list of available network element instances, and the second signaling cannot be responded normally. The distribution component can also feed back a response failure message to the terminal device, so that the terminal device can know the response status of the signaling in time. Since the second signaling is not normally responded to, the terminal device will continue to send the second signaling to the core network until the target network element instance restarts and responds to the second signaling, thereby completing a communication process.
可选地,在上一个通信过程中产生的、包含第一信令和第二信令在内的所有信令各自的响应状态都可以存储于响应此多个信令的目标网元实例中。并且当在上一通信过程中产生的所有信令都被响应后,所有信令各自的响应状态还可以从该目标网元实例迁移到通信系统的内存数据库中。当进行下一通信过程时,用于响应在下一通信过程中产生的信令的另一网元实例可以从内存数据库中读取出在上一通信过程中产生的信令的响应状态,并根据读取出的响应状态对在下一通信过程中产生的信令进行响应。Optionally, the respective response states of all signaling including the first signaling and the second signaling generated in the previous communication process may be stored in the instance of the target network element that responds to the multiple signaling. And when all the signaling generated in the last communication process are responded, the respective response states of all the signaling can also be migrated from the target network element instance to the memory database of the communication system. When the next communication process is performed, another network element instance used to respond to the signaling generated in the next communication process can read the response state of the signaling generated in the previous communication process from the memory database, and according to the The read response state responds to the signaling generated in the next communication process.
并且相比于存储硬盘中的数据库,使用位于内存中的内存数据库能够保证网元实例从数据库中读取响应状态的速度,以进一步提高信令的响应速度。可选地,内存数据库可以是Redis数据库、Memcached数据库等等。And compared with the database stored in the hard disk, the use of the in-memory database in the memory can ensure the speed at which the network element instance reads the response status from the database, so as to further improve the response speed of the signaling. Alternatively, the in-memory database may be a Redis database, a Memcached database, or the like.
本实施例中,在同一通信过程中产生的所有信令会被分发至同一个网元实例,并由此网元实例进行响应,从而简化了信令的响应过程。同时,容器编排工具还可以实时监测控制面功能网元各自对应的网元实例的运行状态并及时控制网元实例重启,以最大限度改善因网元实例发生故障而导致信令无法响应的情况,提高核心网的可用性。In this embodiment, all signaling generated in the same communication process will be distributed to the same network element instance, and the network element instance will respond, thereby simplifying the signaling response process. At the same time, the container orchestration tool can also monitor the running status of the corresponding NE instances of the control plane functional NEs in real time and control the restart of the NE instances in time, so as to minimize the situation that the signaling cannot respond due to the failure of the NE instance. Improve the availability of the core network.
假设一网元实例响应上一个通信过程中产生的所有信令,并且信令的响应状态会存储于此网元实例中。而另一网元实例要先从一网元实例中读取上一通信过程对应的响应状态,才能响应下一个通信过程中产生的信令。此时,若一网元实例发生故障,则另一网元实例会因为无法获取响应状态而无法响应后一通信过程中产生的信令。而在本实施例中,借助通信系统中部署的内存数据库,以一网元实例的故障不会另一网元实例对下一个通信过程中产生的信令的响应,从而提高核心网的可用性。It is assumed that a network element instance responds to all signaling generated in the previous communication process, and the response status of the signaling will be stored in this network element instance. The other network element instance must first read the response state corresponding to the previous communication process from one network element instance before responding to the signaling generated in the next communication process. At this time, if one network element instance fails, the other network element instance cannot respond to the signaling generated in the subsequent communication process because the response state cannot be obtained. In this embodiment, with the help of the memory database deployed in the communication system, the failure of one network element instance will not cause another network element instance to respond to signaling generated in the next communication process, thereby improving the availability of the core network.
图4为本发明实施例提供的又一种通信系统的结构示意图。如图4所示,在图1所示通信系统的基础上,该通信系统还可以包括:负载均衡组件以及包括上述各实施例中的分发组件在内的分发组件集群。FIG. 4 is a schematic structural diagram of still another communication system according to an embodiment of the present invention. As shown in FIG. 4 , on the basis of the communication system shown in FIG. 1 , the communication system may further include: a load balancing component and a distribution component cluster including the distribution components in the foregoing embodiments.
为了保证描述清晰,可以将分发组件集群中用于分发第一信令和第二信令的分组组件称为目标分发组件。此目标分发组件也即是上述各实施例中提及的分发组件。负载均衡组件和分发组件集群的结合使用可以保证终端设备发送的信令能够传输至控制面功能网元对应的某一网元实例,并由该网元实例响应信令。可选地,负载均衡组件可以是核心网内部署的Metallb软件。To ensure a clear description, the grouping component in the distribution component cluster for distributing the first signaling and the second signaling may be called a target distribution component. The target distribution component is also the distribution component mentioned in the above embodiments. The combined use of the load balancing component and the distribution component cluster can ensure that the signaling sent by the terminal device can be transmitted to a certain network element instance corresponding to the control plane functional network element, and the network element instance responds to the signaling. Optionally, the load balancing component may be Metallb software deployed in the core network.
可选地,以第一信令为例:通信系统中的负载均衡组件可以根据核心网中各网络接口的负载状态,确定目标网络接口,并将此目标网络接口的接口地址发送至通信系统中的交换机。则终端设备发送的第一信令可以通过基站传输至交换机,在由交换机按照目标网络接口的接口地址发送第一信令至核心网。Optionally, taking the first signaling as an example: the load balancing component in the communication system can determine the target network interface according to the load status of each network interface in the core network, and send the interface address of the target network interface to the communication system. switch. Then, the first signaling sent by the terminal device can be transmitted to the switch through the base station, and the switch sends the first signaling to the core network according to the interface address of the target network interface.
可选地,通信系统中的负载均衡组件还可以确定分发组件集群中的任一分发组件确定为目标分发组件,也可以根据分发组件集群中各分发组件的负载状态,将最小负载的组件确定为目标分发组件。接着,还可以按照核心网中分发组件集群的外部网络地址发送第一信令至分发组件集群,按照目标分发组件的内部网络地址发送至分发组件集群中的目标分发组件,以由目标分发组件将第一信令发送至目标网元实例。第二信令的传输过程与上述过程类似,在此不再赘述。Optionally, the load balancing component in the communication system can also determine any distribution component in the distribution component cluster as the target distribution component, and can also determine the component with the smallest load as the load state of each distribution component in the distribution component cluster. Target distribution components. Then, the first signaling may also be sent to the distribution component cluster according to the external network address of the distribution component cluster in the core network, and sent to the target distribution component in the distribution component cluster according to the internal network address of the target distribution component, so that the target distribution component will send the first signaling to the distribution component cluster according to the internal network address of the target distribution component. The first signaling is sent to the target network element instance. The transmission process of the second signaling is similar to the above-mentioned process, and is not repeated here.
可选地,终端设备发送的各种信令可以是基于流控制传输协议(Stream ControlTransmission Protocol,简称SCTP)的SCTP信令。则可选地,目标分发组件还可以对第一信令进行解析,并将解析结果分发至目标网元实例。其中,解析结果包含响应此第一信令所需的全部信息。在第一信令和第二信令被分别传输至目标网元实例后,便可以按照图1所示实施例中的相关描述实现对第一信令和第二信令的响应,具体响应过程在此不再赘述。Optionally, various signaling sent by the terminal device may be SCTP signaling based on a Stream Control Transmission Protocol (Stream Control Transmission Protocol, SCTP for short). Optionally, the target distribution component may also parse the first signaling, and distribute the parsing result to the target network element instance. Wherein, the parsing result includes all the information required to respond to the first signaling. After the first signaling and the second signaling are respectively transmitted to the target network element instance, the response to the first signaling and the second signaling can be implemented according to the relevant description in the embodiment shown in FIG. 1. The specific response process It is not repeated here.
需要说明的有,分发组件集群中的每个分发组件对集群外部都有统一的外部网络地址,对集群内部则有各不相同的内部网络地址。终端设备发送的信令可以按照分发组件集群的外部网络地址发送至此分发组件集群,再利用内部网络地址将信令发送至目标分发组件,以由该目标分发组件解析并分发信令。It should be noted that each distribution component in the distribution component cluster has a uniform external network address outside the cluster, and has different internal network addresses inside the cluster. The signaling sent by the terminal device can be sent to the distribution component cluster according to the external network address of the distribution component cluster, and then the internal network address is used to send the signaling to the target distribution component, so that the target distribution component parses and distributes the signaling.
可选地,当分发组件集群中的目标分发组件发生故障后,容器编排工具也可以根据集群中其他分发组件的负载情况,重新选择分发组件以实现信令分发,以避免由于目标分发组件故障而造成的信令无法分发并最终导致信令无法响应的情况,从而提高核心网的可用性。Optionally, when the target distribution component in the distribution component cluster fails, the container orchestration tool can also re-select the distribution component to realize signaling distribution according to the load of other distribution components in the cluster, so as to avoid the failure of the target distribution component. The resulting signaling cannot be distributed and eventually leads to unresponsive signaling, thereby improving the availability of the core network.
本实施例中,通信系统中的负载均衡组件能够为信令的传输选择目标网络端口和目标分发组件,因此,当核心网的某一网络接口或者某一分发组件发生故障时并不会造成信令分发的失败,从而保证核心网的可用性。In this embodiment, the load balancing component in the communication system can select the target network port and the target distribution component for signaling transmission. Therefore, when a network interface or a distribution component of the core network fails, it will not cause signaling Make the distribution fail, thus ensuring the availability of the core network.
可选地,为了节约网络资源,容器编排工具可以对核心网的网络端口以及分发组件集群中分发组件的数量进行动态调整。可选地,容器编排工具还可以动态调整核心网中各控制面功能网元对应的网元实例的数量。具体地,容器编排工具可以定时确定核心网中各功能网元对应的网元实例的待响应信令数量,并根据此信令数量调整网元实例的数量。在实际中,可以由核心网中每个功能网元对应的一个网元实例构成一组网元实例即一个pod,则容器编排工具可以根据待响应信令数量,以组为单位调整网元实例数量,比如增加或删除至少一组网元实例等等。Optionally, in order to save network resources, the container orchestration tool can dynamically adjust the network port of the core network and the number of distribution components in the distribution component cluster. Optionally, the container orchestration tool can also dynamically adjust the number of network element instances corresponding to each control plane functional network element in the core network. Specifically, the container orchestration tool can periodically determine the number of to-be-responded signaling of network element instances corresponding to each functional network element in the core network, and adjust the number of network element instances according to the signaling number. In practice, a network element instance corresponding to each functional network element in the core network can form a group of network element instances, that is, a pod, and the container orchestration tool can adjust the network element instances in groups according to the number of signaling to be responded. Quantity, such as adding or deleting at least one group of network element instances, etc.
图5为本发明实施例提供的一种信令处理方法的流程示意图,本发明实施例提供的该信令处理方法可以由通信系统中的分发组件执行。如图5所示,该方法包括如下步骤:FIG. 5 is a schematic flowchart of a signaling processing method provided by an embodiment of the present invention. The signaling processing method provided by the embodiment of the present invention may be executed by a distribution component in a communication system. As shown in Figure 5, the method includes the following steps:
S101,根据第一信令中的预设字段,在核心网包含的不同控制面功能网元各自对应的网元实例中确定目标网元实例,以由目标网元实例响应第一信令。S101, according to a preset field in the first signaling, determine a target network element instance from the network element instances corresponding to different control plane function network elements included in the core network, so that the target network element instance responds to the first signaling.
S102,根据第二信令中的预设字段确定目标网元实例,以由目标网元实例根据第一信令的响应状态,响应第二信令,第一信令和第二信令是在同一通信过程中先后产生的信令。S102: Determine a target network element instance according to a preset field in the second signaling, so that the target network element instance responds to the second signaling according to the response state of the first signaling, where the first signaling and the second signaling are in Signaling generated successively in the same communication process.
核心网接收到终端设备发送的第一信令后,可以由分发组件根据第一信令中的预设字段,在核心网包含的不同控制面功能网元各自对应网元实例中确定目标网元实例,并将第一信令分发至此目标网元实例。目标网元实例响应此第一信令并保存第一信令对应的响应状态。After the core network receives the first signaling sent by the terminal device, the distribution component may determine the target network element in the corresponding network element instances of different control plane function network elements included in the core network according to the preset fields in the first signaling instance, and distribute the first signaling to this target network element instance. The target network element instance responds to the first signaling and saves the response state corresponding to the first signaling.
在发送第一信令之后,终端设备还可以发送第二信令。其中,第一信令和第二信令是在同一通信过程中先后产生的信令,对于通信过程的含义可以参加图1所示实施例中的相关描述,在此不再赘述。此时,分发组件还可以根据第二信令中包含的相同的预设字段确定目标网元实例,以由此目标实例响应第二信令。也即是对于在同一通信过程中产生的第一信令和第二信令,分发组件会将其分发至同一网元实例。After sending the first signaling, the terminal device may also send the second signaling. Wherein, the first signaling and the second signaling are signaling generated successively in the same communication process, and the meaning of the communication process can be referred to the relevant description in the embodiment shown in FIG. 1 , which will not be repeated here. At this time, the distribution component may also determine the target network element instance according to the same preset field included in the second signaling, so that the target instance responds to the second signaling. That is, for the first signaling and the second signaling generated in the same communication process, the distribution component will distribute them to the same network element instance.
之后,目标网元实例可以进一步响应第二信令:目标网元实例先获取第一信令的响应状态,若响应状态为正常响应,则目标网元实例会继续正常响应第二信令;若第一信令的响应状态为异常响应,则目标网元实例会异常响应第二信令。并且无论是何种响应状态,第二信令的响应状态也会被目标网元实例所保存。根据上述描述可知,第一信令的响应状态会直接影响第二信令的响应状态,这种影响可以认为是第一信令和第二信令是同一通信过程中具有先后执行顺序的信令。After that, the target network element instance can further respond to the second signaling: the target network element instance first obtains the response state of the first signaling, and if the response state is a normal response, the target network element instance will continue to respond to the second signaling normally; If the response state of the first signaling is an abnormal response, the target network element instance will abnormally respond to the second signaling. And no matter what the response state is, the response state of the second signaling will also be saved by the target network element instance. According to the above description, the response state of the first signaling will directly affect the response state of the second signaling. This effect can be considered as the first signaling and the second signaling are signaling in the same communication process with sequential execution order. .
另外,本实施例中未详细描述的内容以及所能实现的技术效果可以参见如图1所示实施例中的相关描述,在此不再赘述。In addition, for the content not described in detail in this embodiment and the technical effects that can be achieved, reference may be made to the relevant description in the embodiment shown in FIG. 1 , and details are not repeated here.
本实施例中,对于来源于同一通信过程的不同信令会由同一网元实例响应,相比于使用不同网元实例分别响应来源于同一通信过程的不同信令,本实施例中的分发和响应方式能够省去由不同网元实例响应信令时网元实例之间需要同步响应状态的过程,从而简化信令的响应过程。In this embodiment, the same network element instance responds to different signaling originating from the same communication process. Compared with using different network element instances to respond to different signaling originating from the same communication process, the distribution and The response mode can omit the process of synchronizing the response state between network element instances when different network element instances respond to signaling, thereby simplifying the signaling response process.
另外,相比于由核心网中具有分发能力的主网元实例进行信令分发,本实施例中利用通信系统中独立的分发组件进行信令分发,能够避免出现由于主网元实例故障,使得信令分发失败并最终导致信令无法响应的情况,能够提高核心网的可用性。同时,也省去了主网元实例的选择过程,减轻了主网元实例的工作压力。In addition, compared with the signaling distribution performed by the primary network element instance with distribution capability in the core network, in this embodiment, an independent distribution component in the communication system is used to perform signaling distribution, which can avoid the failure of the primary network element instance, causing the failure of the primary network element instance. The situation where signaling distribution fails and eventually leads to unresponsive signaling can improve the availability of the core network. At the same time, the selection process of the main network element instance is also omitted, and the work pressure of the main network element instance is reduced.
根据图4所示实施例可知,分发组件的主要作用是网元实例的选择。则一种可选地选择方式,分组组件可以根据第一信令中包含的预设字段,确定与此预设字段对应的核心网中的目标功能网元,并在目标功能网元对应的网元实例集群中确定目标网元实例。可选地,分发组件确定的目标网元实例可以是目标功能网元对应的所有网元实例中任一网元实例,也可以是负载最小的网元实例。According to the embodiment shown in FIG. 4 , the main function of the distribution component is the selection of network element instances. Then, in an optional selection method, the grouping component can determine the target function network element in the core network corresponding to the preset field according to the preset field contained in the first signaling, and perform the operation in the network corresponding to the target function network element. Determine the target network element instance in the element instance cluster. Optionally, the target network element instance determined by the distribution component may be any network element instance among all network element instances corresponding to the target functional network element, or may be the network element instance with the least load.
另一种可选地选择方式,分发组件可以对第一信令中的预设字段进行计算,比如进行哈希计算。然后,将此计算结果作为网元实例标识,在分发组件维护的可用网元实例列表中查询与此计算结果对应的目标域名,并将具有此目标域名的网元实例确定为目标网元实例。之后,分发组件可以按照此目标域名将第一信令分发至目标网元实例。其中,上述两种选择方式中使用的预设字段可以是不同的字段。In another optional selection manner, the distribution component may perform calculation on a preset field in the first signaling, for example, perform hash calculation. Then, the calculation result is used as the network element instance identifier, the target domain name corresponding to the calculation result is searched in the list of available network element instances maintained by the distribution component, and the network element instance with the target domain name is determined as the target network element instance. Afterwards, the distribution component may distribute the first signaling to the target network element instance according to the target domain name. The preset fields used in the above two selection manners may be different fields.
可选地,对于可用网元实例列表的生成,在网元实例启动时,通信系统中的容器编排工具可以为核心网中不同控制面功能网元各自对应的网元实例分配域名,此域名能够唯一标识网元实例,并且网元实例的故障重启并不会改变此网元实例的域名。同时,分发组件也可以实时监测核心网中不同控制面功能网元各自对应的网元实例的运行状态,即网元实例是否发生故障,则基于容器编排工具分配的域名,可以生成包含网元实例域名和网元实例标识之间的对应关系的可用网元实例列表。并且若某一网元实例发生故障,分发组件可以将此故障的网元实例从可用网元实例列表中删除,待此网元实例重启成功后重新添加到该列表中。其中,容器编排工具可以实时监测各控制面功能网元对应的网元实例的运行状态,并控制发生故障的网元实例重启。Optionally, for the generation of the list of available network element instances, when the network element instance is started, the container orchestration tool in the communication system can assign domain names to the network element instances corresponding to different control plane function network elements in the core network. Uniquely identifies the NE instance, and the restart of the NE instance will not change the domain name of the NE instance. At the same time, the distribution component can also monitor the running status of NE instances corresponding to different control plane functional NEs in the core network in real time, that is, whether the NE instance is faulty, then based on the domain name assigned by the container orchestration tool, it can generate an instance containing NEs. A list of available NE instances for the correspondence between domain names and NE instance IDs. And if a network element instance fails, the distribution component can delete the failed network element instance from the list of available network element instances, and re-add the network element instance to the list after the network element instance is successfully restarted. The container orchestration tool can monitor the running status of the network element instances corresponding to the functional network elements of each control plane in real time, and control the restart of the failed network element instances.
可选地,终端设备发送的信令会依次由基站传输至交换机、并最终传输至核心网中的某一网元实例,信令的具体传输过程可以参见上述各实施例中的相关描述,在此不再赘述。Optionally, the signaling sent by the terminal device will be sequentially transmitted by the base station to the switch, and finally to a certain network element instance in the core network. This will not be repeated here.
本实施例中,分发组件通过对网元实例的运行状态进行监测,能够实时更新本地存储的可用网元实例列表,当信令被分发至发生故障的网元实例时,分发组件会向终端设备反馈故障信息,以使终端设备了解信令并未被正常响应。同时,容器编排工具也可以通过对网元实例的运行状态的监测,及时控制故障网元重启,以使信令的响应能够最大限度上不因网元实例发生故障而受到影响,提高核心网的可用性。In this embodiment, the distribution component can update the locally stored list of available network element instances in real time by monitoring the running state of the network element instance. When the signaling is distributed to the failed network element instance, the distribution component will send a message to the terminal device. Feedback fault information, so that the terminal equipment understands that the signaling is not properly responded. At the same time, the container orchestration tool can also monitor the running status of the network element instance, and control the restart of the failed network element in time, so that the signaling response can not be affected by the failure of the network element instance to the greatest extent, and improve the core network. availability.
可选地,为了节约网络资源,容器编排工具还可以动态调整核心网中各控制面功能网元对应的网元实例的数量。具体地,容器编排工具可以确定核心网中各功能网元对应的网元实例的待响应信令数量,并根据此信令数量调整网元实例的数量。Optionally, in order to save network resources, the container orchestration tool may also dynamically adjust the number of network element instances corresponding to each control plane functional network element in the core network. Specifically, the container orchestration tool can determine the number of signaling to be responded to the network element instances corresponding to each functional network element in the core network, and adjust the number of network element instances according to the signaling number.
可选地,通信系统中可以部署由包含上述分发组件在内的分发组件集群,则容器编排工具也可以动态调整分发组件集群中分发组件的数量。可选地,当分发组件集群中的目标分发组件发生故障后,容器编排工具也可以根据集群中其他分发组件的负载情况,重新选择分发组件以实现信令分发,以避免由于目标分发组件故障而造成的信令无法分发并最终导致信令无法响应的情况,从而提高核心网的可用性。Optionally, a distribution component cluster including the above distribution components may be deployed in the communication system, and the container orchestration tool may also dynamically adjust the number of distribution components in the distribution component cluster. Optionally, when the target distribution component in the distribution component cluster fails, the container orchestration tool can also re-select the distribution component to realize signaling distribution according to the load of other distribution components in the cluster, so as to avoid the failure of the target distribution component. The resulting signaling cannot be distributed and eventually leads to unresponsive signaling, thereby improving the availability of the core network.
另外,本实施例中未详细描述的内容以及所能实现的技术效果可以参见如图2~图4所示实施例中的相关描述,在此不再赘述。In addition, for the content not described in detail in this embodiment and the technical effects that can be achieved, reference may be made to the relevant descriptions in the embodiments shown in FIG. 2 to FIG. 4 , and details are not repeated here.
为了便于理解,以直播场景为例对以上各实施例提供的信令处理方法、通信系统的具体实现过程进行示例性说明。本场景中的内容可以结合图6理解。For ease of understanding, a live broadcast scenario is taken as an example to illustrate the specific implementation process of the signaling processing method and the communication system provided by the above embodiments. The content in this scenario can be understood in conjunction with FIG. 6 .
终端设备上可以安装多种应用程序,以为用户提供不同的服务,比如直播服务。则在此之前,终端设备需要接入5G通信系统并建立会话连接。A variety of applications can be installed on terminal devices to provide users with different services, such as live broadcast services. Before that, the terminal device needs to access the 5G communication system and establish a session connection.
终端设备接入5G通信系统的过程也即是终端设备的注册过程。在此过程中,终端设备可以发送接入信令,此接入信令可以依次传输至基站和交换机,交换机可以按照目标网络接口将接入信令传输至核心网。此接入信令还可以按照frontend集群的外部网络地址发送接入信令至frontend集群,按照frontend集群中目标frontend的内部网络地址发送至目标frontend。目标frontend可以根据接入信令中的预设字段,在可用网元实例列表中进行查询,以将接入信令分发至AMF网元对应的第一AMF网元实例,以由此第一AMF网元实例对接入信令进行正常响应。接入信令的响应状态还可以被第一AMF网元实例存储。第一AMF网元实例也可以将响应接入信令后产生的待认证信令反馈至终端设备。The process of a terminal device accessing the 5G communication system is also the registration process of the terminal device. During this process, the terminal device can send access signaling, which can be transmitted to the base station and the switch in turn, and the switch can transmit the access signaling to the core network according to the target network interface. The access signaling can also be sent to the frontend cluster according to the external network address of the frontend cluster, and sent to the target frontend according to the internal network address of the target frontend in the frontend cluster. The target frontend can query in the list of available network element instances according to the preset fields in the access signaling, so as to distribute the access signaling to the first AMF network element instance corresponding to the AMF network element, so that the first AMF network element The network element instance responds normally to the access signaling. The response state of the access signaling may also be stored by the first AMF network element instance. The first AMF network element instance may also feed back the to-be-authenticated signaling generated after responding to the access signaling to the terminal device.
其中,上述的目标网络接口可以是核心网中部署的Metallb选中的、具有最小负载的网络接口。目标frontend也可以是由Metallb选中的。The above-mentioned target network interface may be a network interface with the smallest load selected by Metallb deployed in the core network. The target frontend can also be selected by Metallb.
接着,终端设备响应于第一AMF网元实例反馈的待认证信令,还可以进一步向核心网发送认证信令。目标frontend可以将此认证信令分发至第一AMF网元实例。由于第一AMF网元实例已经正常响应终端设备之前接入信令,则第一AMF网元实例也能够正常响应此认证信令,并且此认证信令的响应状态也会被第一AMF网元实例存储。同时,第一AMF网元实例还可以向终端设备反馈注册成功消息。至此,终端设备已经完成注册过程,第一AMF网元实例中存储的各信令的响应状态会迁移至通信系统中的内存数据库中。Next, in response to the to-be-authenticated signaling fed back by the first AMF network element instance, the terminal device may further send authentication signaling to the core network. The target frontend can distribute this authentication signaling to the first AMF network element instance. Since the first AMF network element instance has normally responded to the previous access signaling of the terminal device, the first AMF network element instance can also respond to the authentication signaling normally, and the response status of the authentication signaling will also be displayed by the first AMF network element. instance store. At the same time, the first AMF network element instance may also feed back a registration success message to the terminal device. So far, the terminal device has completed the registration process, and the response state of each signaling stored in the first AMF network element instance will be migrated to the memory database in the communication system.
进一步地,终端设备还可以进入下一通信过程即会话建立过程。此时,终端设备可以发送会话建立信令,目标frontend可以将此会话建立信令分发至SMF网元中的第一SMF网元实例,以由其响应会话建立信令。此时,第一SMF网元实例可以从内存数据库中读取在注册过程中产生的各信令的响应状态,若在注册过程中各信令的响应状态都是正常响应,则第一SMF网元实例也可以继续正常响应此会话建立信令,并最终使终端设备完成会话建立过程。可见,借助内存数据库中存储的响应状态,第一AMF网元实例是否故障都不会影响响应状态额读取,也就不会影响第一SMF网元实例对会话建立过程中产生的各种信令的正常响应,从而提高核心网的可用性。Further, the terminal device may also enter the next communication process, that is, the session establishment process. At this time, the terminal device may send session establishment signaling, and the target frontend may distribute the session establishment signaling to the first SMF network element instance in the SMF network elements, so as to respond to the session establishment signaling. At this time, the first SMF network element instance can read the response status of each signaling generated during the registration process from the memory database. If the response status of each signaling during the registration process is a normal response, the first SMF network The meta instance can also continue to respond to the session establishment signaling normally, and finally make the terminal device complete the session establishment process. It can be seen that, with the help of the response status stored in the memory database, whether the first AMF network element instance fails will not affect the reading of the response status, and will not affect the first SMF network element instance to various information generated during the session establishment process. The normal response of the order, thereby improving the availability of the core network.
上述过程中,终端设备在一通信过程中产生的信令都会由同一网元实例进行响应,即在注册过程中产生的信令都可以由第一AMF网元实例响应,在会话建立过程中产生的信令可以都由第一SMF网元实例响应。并且在同一通信过程中,在后信令的响应需要考虑到在前信令的响应状态,因此,相比于使用不同的网元实例分别响应同一通信过程中产生的不同信令,上述过程省去了网元实例之间同步响应状态的过程,从而简化了信令的响应过程。同时,相比于指定核心网中以主网元实例来进行分发,由通信系统中独立的分发组件即frontend进行信令分发,也可以避免出现由主网元实例故障导致的信令无法分发并最终无法响应的情况,从而提高核心网的可用性。In the above process, the signaling generated by the terminal device during a communication process will be responded by the same network element instance, that is, the signaling generated during the registration process can be responded by the first AMF network element instance, and generated during the session establishment process. The signaling can all be responded by the first SMF network element instance. And in the same communication process, the response of the later signaling needs to take into account the response state of the previous signaling. Therefore, compared with using different network element instances to respond to different signaling generated in the same communication process, the above process saves time. The process of synchronizing the response state between network element instances is eliminated, thereby simplifying the signaling response process. At the same time, compared with the main network element instance for distribution in the designated core network, the independent distribution component in the communication system, that is, the frontend, can distribute the signaling, which can also avoid the failure of the main network element instance. eventual unresponsiveness, thereby increasing the availability of the core network.
可选地,frontend集群中各frontend都可以实时监测核心网包含的不同控制面功能网元各自对应的网元实例的运行状态,并根据运行状态更新本地维护的可用网元实例列表。可选地,当某一frontend发生故障后,Kubernetes也可以根据各frontend负载情况,重新选择frontend进行信令分发,以避免由于frontend故障而造成的信令无法分发并最终导致信令无法响应的情况,从而提高核心网的可用性。可选地,Kubernetes也可以实时监测各网元实例的运行状态,并及时控制故障网元实例重启,以最大限度改善因网元故障造成的信令无法响应的情况,提高核心网的可用性。Optionally, each frontend in the frontend cluster can monitor the running status of network element instances corresponding to different control plane functional network elements included in the core network in real time, and update the locally maintained list of available network element instances according to the running status. Optionally, when a frontend fails, Kubernetes can also reselect the frontend for signaling distribution according to the load of each frontend, so as to avoid the situation that the signaling cannot be distributed due to the failure of the frontend and eventually cause the signaling to fail to respond. , thereby improving the availability of the core network. Optionally, Kubernetes can also monitor the running status of each network element instance in real time, and control the restart of the faulty network element instance in time, so as to minimize the failure of signaling caused by network element failure and improve the availability of the core network.
在完成上述注册和会话建立过程后,响应于用户对直播应用程序触发的启动操作,服务器便可以向终端设备传输用户选中的直播间对应的直播视频,以使用户观看到直播视频。After completing the above registration and session establishment process, in response to the user's activation of the live application program, the server can transmit the live video corresponding to the live room selected by the user to the terminal device, so that the user can watch the live video.
上述各实施例提供的信令处理方法、通信系统还可以应用到自动驾驶场景中。对于由车辆、通信系统、路测设备和服务器构成的车联网,当车辆接入车联网并且启动自动驾驶模式后,可以通过向核心网发送相应信令,以实现车辆的注册和会话建立过程。具体处理过程与上述直播场景类似,在此不再赘述。车辆在完成上述注册和会话建立过程后,便可以从服务器处获取驾驶数据,并按照此驾驶数据实现自动驾驶。在此场景中的内容也可以结合图7理解。The signaling processing method and communication system provided by the above embodiments can also be applied to an automatic driving scenario. For the Internet of Vehicles composed of vehicles, communication systems, road testing equipment and servers, when the vehicle is connected to the Internet of Vehicles and the automatic driving mode is activated, the corresponding signaling can be sent to the core network to realize the registration of the vehicle and the process of session establishment. The specific processing process is similar to the above-mentioned live broadcast scenario, and details are not repeated here. After completing the above registration and session establishment process, the vehicle can obtain driving data from the server, and realize automatic driving according to the driving data. The content in this scenario can also be understood in conjunction with FIG. 7 .
在一个可能的设计中,上述的信令处理方法具体可以借助一种电子设备实现。如图8所示,该电子设备可以包括:处理器21和存储器22。其中,所述存储器22用于存储支持该电子设备执行上述图5所示实施例中提供的信令处理方法的程序,所述处理器21被配置为用于执行所述存储器22中存储的程序。In a possible design, the above-mentioned signaling processing method can be specifically implemented by an electronic device. As shown in FIG. 8 , the electronic device may include: a processor 21 and a
所述程序包括一条或多条计算机指令,其中,所述一条或多条计算机指令被所述处理器21执行时能够实现如下步骤:The program includes one or more computer instructions, wherein the one or more computer instructions can realize the following steps when executed by the processor 21:
根据第一信令中的预设字段,在核心网包含的不同控制面功能网元各自对应的网元实例中确定目标网元实例,以由所述目标网元实例响应所述第一信令;According to a preset field in the first signaling, a target network element instance is determined from the network element instances corresponding to different control plane function network elements included in the core network, so that the target network element instance responds to the first signaling ;
根据第二信令中的所述预设字段确定所述目标网元实例,以由所述目标网元实例根据所述第一信令的响应状态,响应所述第二信令,所述第一信令和所述第二信令是在同一通信过程中先后产生的信令。The target network element instance is determined according to the preset field in the second signaling, so that the target network element instance responds to the second signaling according to the response state of the first signaling, and the first signaling The first signaling and the second signaling are signaling that are generated successively in the same communication process.
可选地,所述处理器21还用于执行前述图5所示实施例中的全部或部分步骤。Optionally, the processor 21 is further configured to execute all or part of the steps in the foregoing embodiment shown in FIG. 5 .
其中,所述电子设备的结构中还可以包括通信接口23,用于该电子设备与其他设备或通信网络通信。Wherein, the structure of the electronic device may further include a
另外,本发明实施例提供了一种计算机存储介质,用于储存上述电子设备所用的计算机软件指令,其包含用于执行上述图5所示方法实施例中信令处理方法所涉及的程序。In addition, an embodiment of the present invention provides a computer storage medium for storing computer software instructions used by the electronic device, including a program for executing the signaling processing method in the method embodiment shown in FIG. 5 .
最后应说明的是:以上实施例仅用以说明本发明的技术方案,而非对其限制;尽管参照前述实施例对本发明进行了详细的说明,本领域的普通技术人员应当理解:其依然可以对前述各实施例所记载的技术方案进行修改,或者对其中部分技术特征进行等同替换;而这些修改或者替换,并不使相应技术方案的本质脱离本发明各实施例技术方案的精神和范围。Finally, it should be noted that the above embodiments are only used to illustrate the technical solutions of the present invention, but not to limit them; although the present invention has been described in detail with reference to the foregoing embodiments, those of ordinary skill in the art should understand that it can still be The technical solutions described in the foregoing embodiments are modified, or some technical features thereof are equivalently replaced; and these modifications or replacements do not make the essence of the corresponding technical solutions deviate from the spirit and scope of the technical solutions of the embodiments of the present invention.
| Application Number | Priority Date | Filing Date | Title |
|---|---|---|---|
| CN202210110995.1ACN114143730B (en) | 2022-01-29 | 2022-01-29 | Signaling processing method, communication system, electronic device and storage medium |
| Application Number | Priority Date | Filing Date | Title |
|---|---|---|---|
| CN202210110995.1ACN114143730B (en) | 2022-01-29 | 2022-01-29 | Signaling processing method, communication system, electronic device and storage medium |
| Publication Number | Publication Date |
|---|---|
| CN114143730A CN114143730A (en) | 2022-03-04 |
| CN114143730Btrue CN114143730B (en) | 2022-09-16 |
| Application Number | Title | Priority Date | Filing Date |
|---|---|---|---|
| CN202210110995.1AActiveCN114143730B (en) | 2022-01-29 | 2022-01-29 | Signaling processing method, communication system, electronic device and storage medium |
| Country | Link |
|---|---|
| CN (1) | CN114143730B (en) |
| Publication number | Priority date | Publication date | Assignee | Title |
|---|---|---|---|---|
| CN114884941B (en)* | 2022-04-12 | 2023-09-05 | 中国电信股份有限公司 | Service processing method, device, system and medium for edge computing platform |
| Publication number | Priority date | Publication date | Assignee | Title |
|---|---|---|---|---|
| WO2019219251A1 (en)* | 2018-05-18 | 2019-11-21 | Ntt Docomo, Inc. | Stickiness removal of transactions in the core network |
| WO2020224463A1 (en)* | 2019-05-05 | 2020-11-12 | 华为技术有限公司 | Data analysis method and apparatus |
| CN113300881A (en)* | 2021-04-23 | 2021-08-24 | 北京邮电大学 | 5G network-based scheduling method, device, equipment and storage medium |
| CN113382432A (en)* | 2021-08-13 | 2021-09-10 | 新华三技术有限公司 | 5G network service providing method, device and equipment |
| Publication number | Priority date | Publication date | Assignee | Title |
|---|---|---|---|---|
| CN113660686B (en)* | 2017-05-05 | 2023-07-21 | 中兴通讯股份有限公司 | A communication method, device and system |
| CN110035423B (en)* | 2018-01-12 | 2022-01-14 | 华为技术有限公司 | Session management method, device and system |
| CN113938911B (en)* | 2020-07-13 | 2025-04-08 | 华为技术有限公司 | A communication method, device and system |
| CN113472545B (en)* | 2021-08-31 | 2022-02-01 | 阿里云计算有限公司 | Equipment network access method, device, equipment, storage medium and communication system |
| Publication number | Priority date | Publication date | Assignee | Title |
|---|---|---|---|---|
| WO2019219251A1 (en)* | 2018-05-18 | 2019-11-21 | Ntt Docomo, Inc. | Stickiness removal of transactions in the core network |
| WO2020224463A1 (en)* | 2019-05-05 | 2020-11-12 | 华为技术有限公司 | Data analysis method and apparatus |
| CN113300881A (en)* | 2021-04-23 | 2021-08-24 | 北京邮电大学 | 5G network-based scheduling method, device, equipment and storage medium |
| CN113382432A (en)* | 2021-08-13 | 2021-09-10 | 新华三技术有限公司 | 5G network service providing method, device and equipment |
| Title |
|---|
| 5G-R信令组网方案研究;李雪等;《铁路通信信号工程技术》;20201025(第10期);全文* |
| Huawei等.S2-171872 "TS 23.501: Way forward for change of AMF / Control of N2 persistence".《3GPP tsg_sa\WG2_Arch》.2017,* |
| S2-171872 "TS 23.501: Way forward for change of AMF / Control of N2 persistence";Huawei等;《3GPP tsg_sa\WG2_Arch》;20170321;正文第1节,第2.1节* |
| Publication number | Publication date |
|---|---|
| CN114143730A (en) | 2022-03-04 |
| Publication | Publication Date | Title |
|---|---|---|
| US11172023B2 (en) | Data synchronization method and system | |
| CN111615066B (en) | A broadcast-based distributed microservice registration and invocation method | |
| US11432137B2 (en) | Service notification method for mobile edge host and apparatus | |
| CN102984012B (en) | Management method and system for service resources | |
| CN114143905B (en) | Session establishing method, communication system, electronic device and storage medium | |
| CN104184756A (en) | Data synchronization method, device and system | |
| CN111835685B (en) | Method and server for monitoring running state of Nginx network isolation space | |
| CN114900449A (en) | Resource information management method, system and device | |
| CN111787494B (en) | A Reliable Method for Sending SMS Based on Microservices | |
| CN113900728A (en) | Method, system, electronic device and storage medium for synchronous configuration | |
| CN114143730B (en) | Signaling processing method, communication system, electronic device and storage medium | |
| CN113726581B (en) | Method and device for restoring factory configuration of network equipment and network equipment | |
| CN110417876A (en) | Session method, node server and master control device in distributed system | |
| CN114143728B (en) | Message processing method, communication system, electronic device and storage medium | |
| WO2024207837A1 (en) | Distributed cache publishing and subscription method and system, and apparatus | |
| CN118381739A (en) | Positive resource response to pending resources | |
| WO2017045454A1 (en) | Method, device and system for realizing terminal access | |
| CN113542319B (en) | Method, device and system for notifying service provider entity change in Dubbo framework | |
| CN116389454A (en) | Data downloading system | |
| CN113992516A (en) | Firmware updating method and device for equipment of Internet of things and Internet of things | |
| CN113254203A (en) | Service degradation processing method and device | |
| CN119544708B (en) | Data transmission method, device, equipment and readable storage medium | |
| CN112532524B (en) | Message processing method and device | |
| US20250293933A1 (en) | Instantiation method and apparatus for virtualised network function vnf | |
| CN119094279B (en) | Service gateway implementation method, device, beam network node and readable storage medium |
| Date | Code | Title | Description |
|---|---|---|---|
| PB01 | Publication | ||
| PB01 | Publication | ||
| SE01 | Entry into force of request for substantive examination | ||
| SE01 | Entry into force of request for substantive examination | ||
| GR01 | Patent grant | ||
| GR01 | Patent grant | ||
| TR01 | Transfer of patent right | ||
| TR01 | Transfer of patent right | Effective date of registration:20240530 Address after:Room 1-2-A06, Yungu Park, No. 1008 Dengcai Street, Sandun Town, Xihu District, Hangzhou City, Zhejiang Province, 310030 Patentee after:Aliyun Computing Co.,Ltd. Country or region after:China Address before:310023 Room 516, floor 5, building 3, No. 969, Wenyi West Road, Wuchang Street, Yuhang District, Hangzhou City, Zhejiang Province Patentee before:Alibaba Dharma Institute (Hangzhou) Technology Co.,Ltd. Country or region before:China |