Movatterモバイル変換


[0]ホーム

URL:


CN114129255A - Impedance detection device and radio frequency ablation system of living body - Google Patents

Impedance detection device and radio frequency ablation system of living body
Download PDF

Info

Publication number
CN114129255A
CN114129255ACN202010918869.XACN202010918869ACN114129255ACN 114129255 ACN114129255 ACN 114129255ACN 202010918869 ACN202010918869 ACN 202010918869ACN 114129255 ACN114129255 ACN 114129255A
Authority
CN
China
Prior art keywords
impedance
signal
sampling
unit
real
Prior art date
Legal status (The legal status is an assumption and is not a legal conclusion. Google has not performed a legal analysis and makes no representation as to the accuracy of the status listed.)
Pending
Application number
CN202010918869.XA
Other languages
Chinese (zh)
Inventor
刘道洋
王雄志
胡善锋
丘信炯
Current Assignee (The listed assignees may be inaccurate. Google has not performed a legal analysis and makes no representation or warranty as to the accuracy of the list.)
Hangzhou Nuo Cheng Medical Instrument Co ltd
Original Assignee
Hangzhou Nuo Cheng Medical Instrument Co ltd
Priority date (The priority date is an assumption and is not a legal conclusion. Google has not performed a legal analysis and makes no representation as to the accuracy of the date listed.)
Filing date
Publication date
Application filed by Hangzhou Nuo Cheng Medical Instrument Co ltdfiledCriticalHangzhou Nuo Cheng Medical Instrument Co ltd
Priority to CN202010918869.XApriorityCriticalpatent/CN114129255A/en
Priority to EP21863209.9Aprioritypatent/EP4209189A4/en
Priority to PCT/CN2021/083077prioritypatent/WO2022048138A1/en
Publication of CN114129255ApublicationCriticalpatent/CN114129255A/en
Priority to US18/176,757prioritypatent/US20230200879A1/en
Pendinglegal-statusCriticalCurrent

Links

Images

Classifications

Landscapes

Abstract

The application provides an impedance detection device and a radio frequency ablation system of a living body. The detection device comprises an excitation signal generation unit, a transmission unit, an impedance signal acquisition unit and a processing unit. The excitation signal generation unit generates and outputs a high-frequency excitation signal. The transmission unit transmits the high-frequency excitation signal to a detection site on the living body through an output end thereof, wherein the output end of the transmission unit constitutes an impedance signal detection point. The impedance signal acquisition unit is electrically connected with the impedance signal detection point and is used for acquiring a sampling signal from the impedance signal detection point in real time. The processing unit is electrically connected with the impedance signal acquisition unit and is used for acquiring the sampling signal and determining a real-time impedance value of the organism corresponding to a real-time sampling value of the sampling signal according to a preset impedance calibration data table. The impedance detection device of the organism can accurately and quickly detect the real-time impedance value of the organism in the treatment process so as to monitor the change of the impedance of the organism in real time in the treatment process.

Description

Impedance detection device and radio frequency ablation system for living body
Technical Field
The application relates to the technical field of impedance detection, in particular to an impedance detection device and a radio frequency ablation system of an organism.
Background
The ablation operation is to deliver energy such as radio frequency, microwave, freezing, laser and the like to target tissues for ablation under the guidance of images, has the characteristic of minimally invasive, and is applied to clinical treatment of tumor diseases, nerve diseases and heart diseases such as hypertrophic cardiomyopathy and the like.
The impedance of a living body, such as a human body, is an important electrophysiological signal, and during an ablation treatment, the impedance of the living body changes continuously as the ablation treatment progresses. However, if the impedance of the living body changes at too fast a rate or the impedance value is too high, there is a risk that ablation will be excessive, resulting in carbonization of the tissue in the target region. Therefore, real-time detection of the impedance of the living body is very necessary to ensure the self-safety of the patient and the effect of the ablation treatment. Some existing schemes for detecting the impedance of the organism have the defects of complex scheme and slow dynamic response, and are not suitable for detecting the impedance of the organism in real time and rapidly in the ablation surgical process.
Disclosure of Invention
The application provides an impedance detection device and a radio frequency ablation system of a biological body, which can detect the impedance of the biological body in real time in the treatment process, have high response speed and simple structure, and can monitor the impedance change of the biological body in real time in the treatment process, thereby ensuring the safe treatment.
A first aspect of the present application provides an impedance detection apparatus of a living organism, including an excitation signal generation unit, a transmission unit, an impedance signal acquisition unit, and a processing unit. The excitation signal generating unit is used for generating and outputting a high-frequency excitation signal. The transmission unit comprises a first transmission end and a second transmission end, the transmission unit is electrically connected with the excitation signal generation unit through the first transmission end to receive the high-frequency excitation signal, and transmits the high-frequency excitation signal to a detection part on the organism through the second transmission end, wherein the second transmission end forms an impedance signal detection point. The impedance signal acquisition unit is electrically connected with the impedance signal detection point and is used for acquiring a sampling signal from the impedance signal detection point in real time. The processing unit is electrically connected with the impedance signal acquisition unit and is used for acquiring the sampling signal and determining a biological real-time impedance value corresponding to a real-time sampling value of the sampling signal according to a preset impedance calibration data table, wherein the impedance calibration data table records mapping relations between a plurality of biological analog impedance values and sampling values of a plurality of sampling signals in advance.
A second aspect of the application provides a radio frequency ablation system comprising a radio frequency energy generation unit, an ablation device and an impedance detection device of a living being as described above. The radio frequency energy generating unit is used for providing radio frequency energy required by radio frequency ablation. The ablation device is electrically connected with the radio frequency energy generation unit and is used for being inserted into a treatment part of an organism during radio frequency ablation, receiving the radio frequency energy output by the radio frequency energy generation unit and releasing the radio frequency energy to the treatment part so as to perform radio frequency ablation on the treatment part.
The utility model provides an impedance detection device of organism, according to the impedance value of organism and the characteristic that sampling value of sampling signal becomes approximate linear relation in certain extent, through preset the real-time impedance value of organism is confirmed to the impedance calibration data table, and the response is fast, can detect out the real-time impedance value of organism accurately, fast to can be at the change of treatment in-process real time monitoring organism impedance, provide reference information for medical personnel, and then ensure that the safety of treatment goes on.
Drawings
In order to more clearly illustrate the embodiments of the present application or the technical solutions in the prior art, the drawings needed to be used in the description of the embodiments or the prior art will be briefly described below, it is obvious that the drawings in the following description are only some embodiments of the present application, and other drawings can be obtained by those skilled in the art without creative efforts.
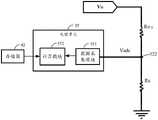
Fig. 1 is a schematic structural view of an impedance detection device for a living body according to an embodiment of the present invention.
Fig. 2 is a schematic diagram of an impedance loop according to an embodiment of the present disclosure.
Fig. 3 is a schematic circuit diagram of the excitation signal generating unit and the transmission unit in fig. 1.
Fig. 4 is a schematic diagram of a waveform transformation process of the excitation signal generation unit of fig. 3.
Fig. 5 is a schematic circuit structure diagram of the impedance signal acquisition unit in fig. 1.
Fig. 6 is a circuit configuration diagram of the operational amplifier unit in fig. 1.
Fig. 7 is an equivalent circuit diagram of the impedance loop of the present application.
Fig. 8 is a graph showing a relationship between a voltage value of a sampling signal and a biological impedance value according to the present invention.
Fig. 9 is a schematic diagram of an impedance calibration data table according to an embodiment of the present application.
Fig. 10 is a flowchart of a method for detecting impedance of a living body according to an embodiment of the present application.
Fig. 11 is a flowchart of another method for detecting impedance of a living body according to the embodiment of the present application.
Fig. 12 is a schematic structural diagram of a radio frequency ablation system according to an embodiment of the present application.
Description of the main elements
Impedance detection device 100 for living body
Excitationsignal generating unit 31
First input terminal 311
First output terminal 312
Waveform conversion circuit 313
Transmission unit 32
First transmission end 321
A second transmission terminal, an impedancesignal detecting point 322
Impedancesignal acquisition unit 33
Second input terminal 331
Second output terminal 332
Anti-jamming circuit 333
Operational amplification unit 34
Third input terminal 341
Third output terminal 342
Filter circuit 343
Operational amplifier circuit 344
Processing unit 35
Data acquisition module 351
Calculation Module 352
Neutral electrode 41
Memory 42
Capacitances C1, C2, C3, C4, C7, C8, C9, C10
Resistors R1, R2, R3, R5 and R6
Inductances L1, L2, L3
Operational amplifiers AR1, AR2, AR3
Biological object 200
Detection site 21
Radiofrequency ablation system 1000
Radio frequency energy generatingunit 500
Ablation device 600
Steps 1001 and 1002, 1101 and 1106
The following detailed description will further illustrate the present application in conjunction with the above-described figures.
Detailed Description
The technical solutions in the embodiments of the present application will be clearly and completely described below with reference to the drawings in the embodiments of the present application. The drawings are for illustration purposes only and are merely schematic representations, not intended to limit the present application. It is to be understood that the embodiments described are only a few examples of the present application and not all examples. All other embodiments obtained by a person of ordinary skill in the art without any inventive work based on the embodiments in the present application are within the scope of protection of the present application.
Unless defined otherwise, all technical and scientific terms used herein have the same meaning as commonly understood by one of ordinary skill in the art to which this invention belongs. The terminology used in the description of the present application is for the purpose of describing particular embodiments only and is not intended to be limiting of the application.
The application provides an impedance detection device of a biological body, which is used for detecting the impedance value of the biological body in the treatment operation process so as to monitor the change situation of the impedance value of the biological body, thereby being capable of assisting the safe proceeding of the treatment operation process. Wherein the therapeutic procedure may include, but is not limited to, ablation, coagulation, and the like. The present application describes an impedance detection device of a living body, taking an application of the impedance detection device of a living body in radio frequency ablation therapy as an example.
Fig. 1 is a schematic structural view of an impedance detection device for a living body according to an embodiment of the present invention. As shown in fig. 1, theimpedance detection apparatus 100 of the livingbody 200 includes an excitationsignal generation unit 31, atransmission unit 32, an impedancesignal acquisition unit 33, and aprocessing unit 35. Wherein, the excitationsignal generating unit 31 is configured to generate and output a high-frequency excitation signal.
Thetransmission unit 32 includes afirst transmission terminal 321 and asecond transmission terminal 322. Thetransmission unit 32 is electrically connected to the excitationsignal generation unit 31 through thefirst transmission end 321 to receive the high-frequency excitation signal, and transmits the high-frequency excitation signal to thedetection site 21 of the livingbody 200 through the second transmission end 322 (as shown in fig. 2).
As shown in fig. 2, the livingbody 200 may be a human body or other animals. In this embodiment, taking a human body as an example, thedetection site 21 is a treatment site, such as a heart, and theimpedance detection apparatus 100 of the livingbody 200 may further include aneutral electrode 41 electrically connected to the excitationsignal generating unit 31, wherein theneutral electrode 41 is attached to a proper position of the body (i.e., the living body 200) of the patient, such as a leg or a back surface, during the treatment. The output end of the excitationsignal generating unit 31 forms an impedance loop through thetransmission unit 32, the livingbody 200, and theneutral electrode 41 in this order, and the high-frequency excitation signal can be transmitted through the impedance loop. Fig. 7 is a schematic diagram of an equivalent circuit of the impedance loop. In other embodiments, thedetection site 21 may be a different site than the treatment site, such as a body surface site adjacent to the treatment site.
In this embodiment, thesecond transmission end 322 of thetransmission unit 32 constitutes an impedancesignal detection point 322. The impedancesignal acquisition unit 33 is electrically connected to the impedancesignal detection point 322, and is configured to acquire a sampling signal from the impedancesignal detection point 322 in real time. For example, the impedancesignal acquisition unit 33 may acquire a sampling signal from the impedancesignal detection point 322 in real time during the treatment. In this embodiment, the sampling signal is a voltage signal.
Theprocessing unit 35 is electrically connected to the impedancesignal acquiring unit 33, and is configured to acquire the sampling signal and determine a real-time impedance value of the biological body corresponding to a real-time sampling value of the sampling signal according to a preset impedance calibration data table. The impedance calibration data table records mapping relations between a plurality of organism analog impedance values and sampling values of a plurality of sampling signals in advance.
Specifically, theprocessing unit 35 determines a real-time sampling value of the sampling signal when the sampling signal is acquired, and queries, in a preset impedance calibration data table, a biological real-time impedance value corresponding to the real-time sampling value of the sampling signal.
Referring to fig. 1 again, in the present embodiment, theimpedance detecting apparatus 100 of the livingbody 200 further includes anoperational amplifier unit 34 electrically connected between the impedancesignal acquiring unit 33 and theprocessing unit 35, wherein theoperational amplifier unit 34 is configured to receive the sampling signal output by the impedancesignal acquiring unit 33 and amplify the sampling signal by a preset multiple.
It can be understood that, for safety, the voltage value of the high-frequency excitation signal applied to theliving organism 200 is generally small, and accordingly, the sampling value of the sampling signal acquired by the impedancesignal acquisition unit 33 is also small, so that the real-time impedance value of the living organism determined by theprocessing unit 35 according to the sampling value of the sampling signal acquired by the impedancesignal acquisition unit 33 may have a large calculation error. By amplifying the sampling signal using theoperational amplification unit 34, the calculation accuracy of theprocessing unit 35 can be improved to reduce the calculation error.
The circuit configuration and the operation principle of each of theunits 31 to 35 described above will be described below.
Fig. 3 is a schematic circuit diagram of the excitationsignal generating unit 31 and thetransmission unit 32. As shown in fig. 3, the excitationsignal generating unit 31 includes a first input terminal 311(Port 1), afirst output terminal 312, and awaveform converting circuit 313 electrically connected between thefirst input terminal 311 and thefirst output terminal 312. Thefirst input terminal 311 is configured to receive an input high frequency PWM (Pulse Width Modulation) square wave signal. It is understood that the PWM square wave signal inputted from thefirst input terminal 311, i.e.,Port 1, can be generated in various ways, for example, theprocessing unit 35 can be a single chip, the PWM square wave signal can be generated by theprocessing unit 35, and the waveform of the PWM square wave signal refers to the waveform a shown in fig. 4.
In this embodiment, thewaveform converting circuit 313 is configured to convert the high-frequency PWM square-wave signal into a high-frequency sine-wave signal, i.e., a high-frequency excitation signal. Thewaveform conversion circuit 313 includes an RC coupling circuit, an RC integrating circuit, and an LC filter circuit, which are electrically connected in sequence.
Specifically, thewaveform conversion circuit 313 includes capacitors C1, C2, C3, resistors R1, R2, and an inductor L1. The first input terminal 311(Port 1), the capacitor C1, the resistor R2, the inductor L1, and thefirst output terminal 312 are sequentially connected in series.
One end of the resistor R1 is electrically connected to a connection circuit between the capacitor C1 and the resistor R2, and the other end is grounded. The capacitor C1 and the resistor R1 form the RC coupling circuit, and are used for filtering out the direct current component in the high-frequency PWM square-wave signal and only retaining the alternating current component. In the parameter selection, the capacitor C1 and the resistor R1 that form the RC coupling circuit need to satisfy τ ═ RC > > T (τ is a time constant, R is a resistance value, C is a capacitance value, and T is a period), and the output waveform is similar to the input waveform. When the RC coupling circuit stabilizes, a B waveform, an approximate PWM waveform with a downward shift inamplitude 1/2, is obtained as shown in fig. 4.
One end of the capacitor C2 is electrically connected to the connection circuit between the resistor R2 and the inductor L1, and the other end is grounded. The resistor R2 and the capacitor C2 form the RC integrating circuit, and are used for converting the high-frequency PWM square wave signal into an approximate triangular wave or sawtooth wave signal. Wherein, the resistor R2 and the capacitor C2 forming the RC integral circuit need to satisfy tau-RC when selecting parameters>>After the waveform B shown in fig. 4 passes through the RC integrating circuit, the waveform C shown in fig. 4, i.e., the approximate triangular waveform, is obtained. Expanding the triangular wave according to Fourier series to obtain
Figure BDA0002665496020000071
(wherein, UmRepresenting the maximum amplitude).
The capacitor C3 is connected in parallel with the inductor L1 and is electrically connected between the resistor R2 and thefirst output terminal 312. The inductor L1 and the capacitor C3 form a parallel frequency selection circuit, namely the LC filter circuit is used for converting an approximately triangular wave or sawtooth wave signal into a sine wave signal, and the LC filter circuit formed by the inductor L1 and the capacitor C3 also has the function of isolating radio frequency current for ablation treatment. When the inductance L1 and the capacitance C3 forming the LC filter circuit are used for parameter selection, the passband cutoff frequency should be higher than the fundamental frequency of the triangular wave and lower than the third harmonic frequency of the triangular wave, and the Q value (quality factor) of the inductance L1 should be as large as possible to obtain better frequency selection performance. The waveform C shown in fig. 4 is converted into a waveform D shown in fig. 4 after being filtered by an LC filter circuit, and a sinusoidal excitation signal that can be applied to a biological load is obtained.
Thefirst output terminal 312 is used for outputting the sine wave excitation signal, i.e. the high frequency excitation signal. The frequency of the high-frequency PWM square-wave signal is the same as that of the high-frequency excitation signal, for example, both the high-frequency PWM square-wave signal and the high-frequency excitation signal may be 50 KHZ. The excitationsignal generating unit 31 of the present application can generate a 50kHz high-frequency excitation signal by constituting a coupling, integrating, and frequency-selecting circuit with simple components, and the circuit structure is relatively simple.
Referring to fig. 3 again, thetransmission unit 32 further includes a voltage dividing resistor R3 electrically connected between thefirst transmission end 321 and the second transmission end 322(Port 2), and thetransmission unit 32 transmits the high frequency excitation signal to thedetection site 21 of the livingbody 200 through the voltage dividing resistor R3 and thesecond transmission end 322.
Thesecond transmitting end 322 can be an electrode, and the electrode penetrates into the internal body tissue of the livingbody 200, i.e. the treatment site, such as the hypertrophic cardiac muscle in the ventricular septum. The high-frequency excitation signal is output from thefirst output terminal 312 of the excitationsignal generating unit 31, and then applied to thedetection site 21, i.e., the treatment site, of the livingbody 200 via the voltage dividing resistor R3 and the electrodes.
In this embodiment, thesecond transmission end 322 for transmitting the high-frequency excitation signal and the ablation electrode for transmitting the rf ablation current signal may share the same transmission channel, that is, the high-frequency excitation signal and the rf ablation current signal may be simultaneously superimposed on the ablation electrode. It will be appreciated that the high frequency excitation signal is simply an electrical signal applied to thebiological subject 200 for the purpose of detecting the impedance of the biological subject, and is a different frequency electrical stimulation signal than the radio frequency current signal used for radio frequency ablation. Thus, the ablation electrode forms the impedance signal detection point, and the impedancesignal acquisition unit 33 acquires the voltage of the high-frequency excitation signal at the impedance signal detection point. It is understood that, in another embodiment, thesecond transmission end 322 and the ablation electrode may correspond to different transmission channels, i.e., thesecond transmission end 322 may be another transmission electrode independent from the ablation electrode.
Fig. 5 is a schematic circuit structure diagram of the impedancesignal acquisition unit 33. As shown in fig. 5, the impedancesignal acquiring unit 33 includes a second input terminal 331(port 3), a second output terminal 332(port 4), and ananti-jamming circuit 333 electrically connected between thesecond input terminal 331 and thesecond output terminal 332. Wherein, the second input 331(port 3) is electrically connected to the impedancesignal detecting point 322, and thesecond input 331 is configured to obtain the sampling signal from the impedancesignal detecting point 322 in real time. It can be understood that the high frequency excitation signal is output from thefirst output terminal 312 of the excitationsignal generating unit 31, and is attenuated by the voltage dividing resistor R3 to obtain the sampling signal with a reduced voltage value, but the frequency of the sampling signal is still the same as that of the high frequency excitation signal.
As mentioned above, thesecond transmission terminal 322 for transmitting the high-frequency excitation signal and the ablation electrode for transmitting the rf ablation current signal may share the same transmission channel. Therefore, an interference signal exists in the sampling signal acquired by thesecond input terminal 331 in real time from the impedancesignal detection point 322. It is understood that when thesecond transmission end 322 and the ablation electrode do not share the same transmission channel, the rf ablation current signal may enter the impedancesignal collection unit 33 from the impedancesignal detection point 322 through the transmission of the livingbody 200, thereby interfering with the sampling signal. In this embodiment, theimmunity circuit 333 is configured to perform signal processing on the sampling signal to filter an interference signal in the sampling signal. Theanti-jamming circuit 333 includes a capacitor C4, an RC low-pass filter circuit, and an LC parallel frequency-selecting circuit, which are electrically connected in sequence.
Specifically, theanti-jamming circuit 333 includes capacitors C4, C8, C9, resistors R5, R6, and an inductor L2. Wherein the second input terminal 331(port 3), the capacitor C4, the resistor R5, the resistor R6, and the second output terminal 332(port 4) are sequentially connected in series.
The capacitor C4 is used to isolate the dc component of the sampled signal.
One end of the capacitor C8 is electrically connected to the connection circuit between the resistors R5 and R6, and the other end is grounded. The resistor R5 and the capacitor C8 form the RC low-pass filter circuit for passing the alternating current component in the sampled signal, i.e. passing the high-frequency excitation signal that is voltage attenuated by thetransmission unit 32, mainly the voltage dividing resistor R3.
The inductor L2 is connected in parallel with the capacitor C9, and is electrically connected between the ground and the circuit connected between the resistors R5 and R6. The inductor L2 and the capacitor C9 form the LC parallel frequency selection circuit, and are used for filtering interference of power frequency in the sampling signal and radio frequency current signals for radio frequency ablation which are aliased in the sampling signal. When the inductance L2 and the capacitance C9 forming the LC parallel frequency selection circuit are used for parameter selection, the resonant frequency of the loop needs to be enabled
Figure BDA0002665496020000091
Equal to the frequency of the excitation signal and having a passband width
Figure BDA0002665496020000092
Should be small, i.e., the Q value (quality factor) is large. It can be understood that the larger the Q value, the narrower the passband, and the better the filtering effect.
It can be understood that, because the rf ablation current has large energy, the rf ablation signal will interfere with the sampling signal much more than other signals, which will cause significant interference to the impedance detection circuit of the living being 200, and therefore it is necessary to filter the rf ablation current as much as possible. By arranging theanti-interference circuit 333 in the impedancesignal acquisition unit 33, a more significant filtering effect can be still obtained under the condition that the radio frequency ablation signal is mixed in the sampling signal, so that the accuracy of impedance detection is ensured. The power frequency is the frequency of the alternating current used in industry, generally the frequency of the commercial power, and is 50Hz in China.
The impedancesignal detection unit 33 outputs the sampled signal processed by theinterference rejection circuit 333 through a second output terminal 332(Port 4) thereof.
Fig. 6 is a schematic circuit diagram of theoperational amplifier unit 34. As shown in fig. 6, theoperational amplification unit 34 includes a third input terminal 341(Port5), a third output terminal 342(Port 6), and afilter circuit 343 and anoperational amplification circuit 344 electrically connected between the third input terminal 341(Port5) and the third output terminal 342(Port 6). A third input terminal 341(Port5) is electrically connected to the second output terminal 332(Port 4) of the impedancesignal acquiring unit 33, and thethird input terminal 341 is configured to receive the sampling signal output by the impedancesignal acquiring unit 33.
Thefilter circuit 343 is configured to filter the sampling signal received by the third input terminal 341(Port5) to filter an interference signal in the sampling signal, so as to ensure that the sampling signal subjected to operational amplification has no other interference. In this embodiment, thefilter circuit 343 includes an inductor L3 and a capacitor C10, the inductor L3 and the capacitor C10 are connected in parallel to form a parallel frequency selection circuit, and the parallel frequency selection circuit is electrically connected between a connection circuit between the third input terminal 341(Port5) and the positive input terminal of the operational amplifier AR1 and a ground terminal.
Theoperational amplifier circuit 344 is configured to amplify the sampling signal by a preset multiple. Specifically, in the present embodiment, theoperational amplification circuit 344 includes operational amplifiers AR1, AR2, AR3, and a diode D1. The operational amplifier AR1 is a non-inverting amplifier, and since the frequency of the sampling signal is high and the capacitance reactance of the capacitor C7 is negligible, the amplification factor of the operational amplifier AR1 is
Figure BDA0002665496020000093
The operational amplifier AR2 is an inverting amplifier, in which the resistances of the resistors R13 and R14 are equal, i.e., R13 is equal to R14, so the amplification factor of the operational amplifier AR2 is equal to
Figure BDA0002665496020000094
Diode D1 is a high-speed switching diode for rectification to obtain a dc signal for impedance calculation. The operational amplifier AR3 is a non-inverting amplifier with an amplification factor of
Figure BDA0002665496020000101
It is understood that the actual amplification of theoperational amplifier circuit 344 may be adjusted according to the range and accuracy required for detection. Finally, theoperational amplifier unit 34 outputs the amplified dc voltage signal through the third output terminal 342(Port 6).
It can be understood that, after the LC filtering pretreatment of the impedancesignal acquisition unit 33, the sampling signal enters theoperational amplification unit 34, LC filtering treatment is performed again, and then after in-phase amplification, rectification by the diode D1 and secondary amplification are performed, and finally, the interference signal included in the obtained sampling signal is small, thereby being beneficial to improving the accuracy of the biological impedance detection.
The equivalent circuit diagram of the impedance loop described above is described below.
The organism impedance is composed of a resistor, a capacitive reactance and an inductive reactance. Because the inductive reactance of theorganism 200 is very weak, it is generally negligible. The capacitive reactance of theorganism 200 is sensitive to frequency and is calculated by the formula of the capacitive reactance
Figure BDA0002665496020000102
It can be seen that the capacitive reactance is inversely proportional to the frequency, and the higher the frequency, the smaller the capacitive reactance. In the present embodiment, since the excitation signal output from the excitationsignal generating unit 31 is a high-frequency excitation signal, for example, the frequency thereof is 50kHz, the capacitive reactance in this case can be ignored. Thus, the impedance of the living organism can be approximated as being purely resistive.
Fig. 7 shows an equivalent circuit schematic of the impedance loop. As shown in fig. 7, wherein the voltage Vo is the voltage of the high frequency excitation signal output from thefirst output terminal 312 of the excitationsignal generating unit 31. The resistance Ro is an equivalent resistance of a transmission circuit from thefirst output terminal 312 of the pumpingsignal generation unit 31 to thesecond transmission terminal 322 of thetransmission unit 32, that is, an equivalent resistance of the entire transmission circuit transmitting the high-frequency pumping signal. It is understood that the equivalent resistor Ro includes the resistance of the divider resistor R3 and the transmission cable, etc. In the present embodiment, the voltage dividing resistor R3 is a resistor having a large resistance. The resistance Rx is the equivalent organism impedance to be measured. Since the livingbody 200 is connected to theneutral electrode 41, the resistance Rx is equivalent to the ground. The voltage Vadc is the voltage at the impedancesignal detection point 322. That is, in the present embodiment, the sampling signal is a voltage signal Vadc.
According to the principle of resistance voltage division:
Figure BDA0002665496020000103
where Uo is the voltage value of the voltage Vo, and Uadc is the voltage value of the voltage signal Vadc. In this way, the relationship between the body impedance Rx and the voltage value Uadc of the sampling signal Vadc is obtained as follows:
Figure BDA0002665496020000104
fig. 8 is a graph illustrating a relationship between the voltage value Uadc of the sampling signal Vadc and the impedance value of the living body impedance Rx. As can be seen from fig. 8, the voltage value Uadc of the sampling signal Vadc is in a positive correlation with the biological impedance Rx, and is in an approximately linear relationship within a certain range.
Referring to fig. 7 again, in the present embodiment, theprocessing unit 35 includes adata acquisition module 351 and acalculation module 352, wherein thedata acquisition module 351 may adopt an ADC acquisition module for acquiring the sampling signal Vadc and determining a real-time sampling value of the sampling signal Vadc. It is understood that, in this embodiment, the sampling signal Vadc acquired by thedata acquisition module 351 is a sampling signal that is subjected to signal processing and amplification by the impedancesignal acquisition unit 33 and theoperational amplification unit 34.
In this embodiment, the calculatingmodule 352 is configured to determine a real-time impedance value of a biological body corresponding to a real-time sampling value of the sampling signal according to the preset impedance calibration data table.
Fig. 9 is a schematic diagram of the preset impedance calibration data table. Theimpedance detection apparatus 100 of the livingbody 200 may further include amemory 42, and the impedance calibration data table may be stored in thememory 42 in advance. As shown in fig. 9, the impedance calibration data table records mapping relationships between a plurality of biological analog impedance values and sampling values of a plurality of sampling signals in advance.
The impedance calibration data table may be pre-established before the device leaves a factory, and the data recorded in the impedance calibration data table may be determined by: the impedance of the livingbody 200 is simulated by using a plurality of high-precision non-inductive resistors, the sampling signal at the impedance signal detection point is detected by using theimpedance detection device 100, the voltage value of the sampling signal acquired by the data acquisition module 351 (that is, the voltage value of the voltage signal transmitted to thedata acquisition module 351 after the voltage signal at the impedance signal detection point passes through the impedancesignal acquisition unit 33 and the operational amplification unit 34) is recorded at different living body simulated impedance values, and finally the impedance calibration data table is created according to the correspondence relationship between the plurality of living body simulated impedance values and the voltage values of the plurality of sampling signals.
In this embodiment, the calculatingmodule 352 is configured to call a preset impedance calibration data table and query the impedance calibration data table for a real-time impedance value of a living body corresponding to a real-time sampling value of the sampling signal.
Specifically, when thedata acquisition module 351 acquires a real-time sampling value of the sampled signal Vadc, i.e., the voltage value UadcxEqual to a certain sampling value Uadc in the impedance calibration data tablenThen, the impedance calibration data table and the sampling value UadcnCorresponding biological analog impedance value RnI.e. the real-time impedance value of thebiological body 200.
In this embodiment, when the impedance calibration data table does not look up the biological real-time impedance value corresponding to the real-time sampling value of the sampling signal, the calculatingmodule 352 is further configured to continue to look up two sampling values closest to the real-time sampling value of the sampling signal and the biological analog impedance value corresponding to the two sampling values in the impedance calibration data table, and calculate the biological real-time impedance value corresponding to the real-time sampling value of the sampling signal according to the biological analog impedance values corresponding to the two sampling values and a preset linear formula.
Specifically, as described above, the voltage value Uadc of the sampling signal Vadc is in a positive correlation with the living body impedance Rx, and is in an approximately linear relationship within a certain range. Suppose the real-time sample value of the current sampling signal is UadcxTwo sampling values which are closest to the real-time sampling value of the sampling signal in the impedance calibration data table are Uadcn-1And UadcnI.e. Uadcn-1<Uadcx<UadcnAnd two sampled values are Uadcn-1And UadcnCorresponding to a biological analog impedance value of Rn-1And RnTwo-point equation based on straight lines
Figure BDA0002665496020000121
It can be known that the real-time impedance value Rx of the living body can be calculated by the following linear formula:
Figure BDA0002665496020000122
it can be understood that the more data recorded in the impedance calibration data table is, the more the calculation accuracy of the real-time impedance value of the living body is improved.
Theimpedance detection device 100 determines the real-time impedance value of theorganism 200 through presetting according to the characteristic that the impedance value of theorganism 200 and the sampling value of the sampling signal form an approximate linear relation in a certain range, has quick response, can accurately and quickly detect the real-time impedance value of theorganism 200, can monitor the change of the organism impedance in real time in the treatment process, provides reference information for medical staff, and further ensures the safe treatment. Specifically, the real-time impedance value of the organism is determined by directly checking a table in the detection process or by calculating a sectional table and a formula.
It can be understood that, since the equivalent resistor Ro includes the resistance of the transmission cable and the like in addition to the resistance of the voltage dividing resistor R3, there is a certain error in the measurement of the actual resistance of the equivalent resistor Ro if the voltage dividing formula is used
Figure BDA0002665496020000123
To calculate the real-time impedance value Rx of the living body may cause an error in the calculation result of the real-time impedance value Rx of the living body.
Theimpedance detection device 100 of the present application determines the real-time impedance value of the livingbody 200 by presetting the impedance calibration data table and in the detection process, in a table look-up manner or a sectional table look-up manner and a formula calculation manner, so as to effectively eliminate the calculation error, thereby improving the accuracy of the impedance detection of the livingbody 200, and avoiding the influence of the actual resistance value measurement error of the equivalent resistor Ro on the calculation of the real-time impedance value Rx of the living body.
In addition, theimpedance detection device 100 of the present application can detect the impedance value of theliving organism 200 by generating the excitation signal of the fixed voltage, only performing voltage sampling, and without performing current sampling, thereby achieving the effect of simplifying the structure of the detection circuit, thereby reducing the cost and the volume of theimpedance detection device 100 of theliving organism 200, and simultaneously enabling theimpedance detection device 100 of theliving organism 200 to have a faster dynamic response speed; further, since theimpedance detection device 100 of the livingbody 200 has a simple circuit configuration, the living body impedance circuit can be equivalent to a simple resistance voltage division model, and the detected actual impedance value of the livingbody 200 can be more accurate and reliable.
The present application also provides a method for detecting an impedance of a living body, which is implemented by theimpedance detection apparatus 100 of the livingbody 200 described above. Fig. 10 is a flowchart of an impedance detection method of a livingbody 200 according to an embodiment of the present application. It should be noted that the method for detecting the impedance of the livingbody 200 described in the embodiment of the present application is not limited to the steps and the sequence in the flowchart shown in fig. 10. Steps in the illustrated flowcharts may be added, removed, or changed in order according to various needs. As shown in fig. 10, the method for detecting the impedance of a living body includes the following steps.
Step 1001, a real-time sampling value of a sampling signal at an impedance signal detection point is obtained.
For details of the sampling signal at the impedance signal detection point, reference may be made to the above detailed description of theimpedance detection apparatus 100 of the livingbody 200, which is not repeated herein.
Step 1002, a preset impedance calibration data table is queried to determine a real-time impedance value of the biological body corresponding to the real-time sampling value of the sampling signal.
The impedance calibration data table records mapping relations between a plurality of organism analog impedance values and sampling values of a plurality of sampling signals in advance.
Fig. 11 is a flowchart of another method for detecting impedance of a living body according to the embodiment of the present application. As shown in fig. 11, the method for detecting the impedance of a living body includes the following steps.
Step 1101, acquiring a real-time sampling value of the sampling signal of the impedance signal detection point.
Step 1102, a preset impedance calibration data table is called.
The impedance calibration data table records mapping relations between a plurality of organism analog impedance values and sampling values of a plurality of sampling signals in advance.
Step 1103, looking up a first sampling value equal to the real-time sampling value of the sampling signal in the impedance calibration data table.
Step 1104, determining whether the first sampling value is found in the impedance calibration data table. If the first sampling value is not found,step 1105 is executed. Otherwise, if the first sampling value is found,step 1107 is executed.
Step 1105, continuously inquiring two sampling values closest to the real-time sampling value of the sampling signal and the biological body analog impedance value corresponding to the two sampling values in the impedance calibration data table.
And step 1106, calculating a real-time impedance value of the biological body corresponding to the real-time sampling value of the sampling signal according to the analog impedance value of the biological body corresponding to the two sampling values and a preset linear formula.
As mentioned above, the preset linear formula can be set as:
Figure BDA0002665496020000141
wherein UadcxFor the current sampled signal, the real-time sampled value is Uadcn-1And UadcnFor the real-time sampling value Uadc of the sampling signal inquired in the impedance calibration data tablexTwo closest sampled values, i.e. Uadcn-1<Uadcx<Uadcn,Rn-1And RnTo the two sampled values Uadcn-1And UadcnThe corresponding bio-analog impedance value.
Step 1107, continuously inquiring the biological body analog impedance value corresponding to the first sampling value in the impedance calibration data table, and using the biological body analog impedance value corresponding to the first sampling value as the biological body real-time impedance value corresponding to the real-time sampling value of the sampling signal.
According to the method for detecting the impedance of the organism, the impedance calibration data table is preset according to the characteristic that the impedance value of the organism and the sampling value of the sampling signal form an approximate linear relation in a certain range, the real-time impedance value of the organism is determined in the detection process in a table look-up mode or a sectional table look-up mode and a formula calculation mode, the real-time impedance value of the organism can be detected accurately and quickly in real time, the change of the impedance of the organism can be monitored in real time in the treatment process, reference information is provided for medical staff, and then the safe treatment is ensured.
It will be understood by those skilled in the art that the foregoing schematic diagram 1 is merely an example of theimpedance detection apparatus 100 for implementing the impedance detection method of the livingbody 200, and does not constitute a limitation of theimpedance detection apparatus 100 of the livingbody 200, and theimpedance detection apparatus 100 of the livingbody 200 may include more or less components than those shown in the drawings, or may combine some components, or different components, for example, theimpedance detection apparatus 100 of the livingbody 200 may further include a display unit, etc.
Thememory 42 may include high speed random access memory and may also include non-volatile memory such as a hard disk, a memory, a plug-in hard disk, a Smart Media Card (SMC), a Secure Digital (SD) Card, a Flash memory Card (Flash Card), at least one magnetic disk storage device, a Flash memory device, or other volatile solid state storage device.
Thememory 42 may also have a computer program stored therein. The computer program may be divided into one or more modules/units, which are stored in thememory 42 and executed by theprocessing unit 35 to perform the method of impedance detection of a biological body of the present application. The one or more modules/units may be a series of computer program instruction segments capable of performing specific functions, which are used to describe the execution process of the computer program in theimpedance detection apparatus 100 of the living being 200.
TheProcessing Unit 35 may be a single chip, a Central Processing Unit (CPU), or other general purpose Processor, a Digital Signal Processor (DSP), an Application Specific Integrated Circuit (ASIC), a Field-Programmable Gate Array (FPGA) or other Programmable logic device, a discrete Gate or transistor logic device, a discrete hardware component, or the like. Theprocessing unit 35 implements the function of the bio-impedance detection by running or executing the computer program and/or the module/unit stored in thememory 42 and calling up the data stored in thememory 42.
In the present embodiment, theprocessing unit 35 implements the steps of the above-described method for detecting impedance of each living body, for example, steps 1001 to 1002 shown in fig. 10 orsteps 1101 to 1106 shown in fig. 11, when executing the computer program.
The present application also provides a radiofrequency ablation system using theimpedance detection device 100 of theliving organism 200 described above. Fig. 12 is a schematic structural diagram of the radiofrequency ablation system. As shown in fig. 12, therf ablation system 1000 includes an rfenergy generating unit 500, anablation device 600, and theimpedance detecting device 100. The rfenergy generating unit 500 is configured to generate an rf current signal with a set power during the rf ablation process to provide the rf energy required by the rf ablation. Theimpedance detection device 100 of the livingbody 200 is used for detecting the impedance value of the livingbody 200 in real time in the radiofrequency ablation process so as to monitor the change of the impedance value of the livingbody 200, thereby assisting the safe proceeding of the radiofrequency ablation operation.
The excitationsignal generating unit 31 and the rfenergy generating unit 500 of theimpedance detecting apparatus 100 of the livingbody 200 may be two independent apparatuses or may be provided in the same apparatus.
The rfenergy generating unit 500 is also electrically connected to the ablation device 600 (e.g., an ablation electrode). Theablation device 600 is configured to be inserted into an ablation site (for example, a treatment site of the livingbody 200 described above) during rf ablation, receive rf energy output by the rfenergy generation unit 500, and release the rf energy to the ablation site, so as to perform rf ablation on the ablation site, thereby achieving the purpose of treating diseased tissue. The ablation site/treatment site refers to a lesion site in the livingbody 200, such as a lesion tissue of the heart or other lesion tissue. Taking hypertrophic cardiomyopathy as an example, theablation device 600 is inserted into the heart of a patient via the apical approach to perform radio frequency ablation on hypertrophic ventricular septal myocardium to treat hypertrophic cardiomyopathy.
In the present embodiment, thedetection site 21 and the treatment site are the same site. In this way, in theimpedance detecting apparatus 100 of theliving organism 200, as described above, thesecond transmitting terminal 322 for transmitting the high-frequency excitation signal and the ablation electrode for transmitting the rf ablation current signal may share the same transmitting channel, that is, the transmittingunit 32 may be partially or entirely disposed on theablation apparatus 600.
In this embodiment, theprocessing unit 35 of theimpedance detecting apparatus 100 of the livingbody 200 is further electrically connected to the excitationsignal generating unit 31 and the rfenergy generating unit 500, respectively, and is configured to provide the excitationsignal generating unit 31 with a high-frequency PWM square wave signal, analyze a change of the impedance value of the living body within a preset time range according to the determined actual impedance value of the livingbody 200, and adjust the rf current signal output by the rfenergy generating unit 500 according to the analysis result, for example, adjust the output state and/or the magnitude of the rf current signal, so as to avoid an abnormal condition that the cell tissue of the livingbody 200 at the ablation site is carbonized, scabbed or dropped during the rf ablation process, which may result in an enlarged wound area, a large amount of bleeding, even perforation, etc. at the treatment site.
It can be seen that by using the above-mentionedimpedance detection device 100 of the livingbody 200 in therf ablation system 1000, an effective solution can be provided for detecting the impedance of the living body in real time during the rf ablation treatment.
Finally, it should be noted that the above embodiments are only for illustrating the technical solutions of the present application and not for limiting, and although the present application is described in detail with reference to the above preferred embodiments, it should be understood by those skilled in the art that modifications or equivalent substitutions may be made to the technical solutions of the present application without departing from the spirit and scope of the technical solutions of the present application.

Claims (13)

1. An impedance detection device for a living body, comprising:
an excitation signal generating unit for generating and outputting a high-frequency excitation signal;
the transmission unit comprises a first transmission end and a second transmission end, is electrically connected with the excitation signal generation unit through the first transmission end to receive the high-frequency excitation signal, and transmits the high-frequency excitation signal to a detection part on the organism through the second transmission end, wherein the second transmission end forms an impedance signal detection point;
the impedance signal acquisition unit is electrically connected with the impedance signal detection point and is used for acquiring a sampling signal from the impedance signal detection point in real time; and
and the processing unit is electrically connected with the impedance signal acquisition unit and is used for acquiring the sampling signal and determining a biological real-time impedance value corresponding to a real-time sampling value of the sampling signal according to a preset impedance calibration data table, wherein the impedance calibration data table records the mapping relation between a plurality of biological analog impedance values and the sampling values of a plurality of sampling signals in advance.
2. The apparatus according to claim 1, wherein the processing unit comprises a data acquisition module and a calculation module, the data acquisition module is used for acquiring the sampling signal and determining a real-time sampling value of the sampling signal;
the calculation module is used for calling a preset impedance calibration data table and inquiring a biological real-time impedance value corresponding to a real-time sampling value of the sampling signal in the impedance calibration data table.
3. The apparatus according to claim 2, wherein when the impedance calibration data table does not look up the real-time impedance value of the living organism corresponding to the real-time sampling value of the sampling signal, the calculating module is further configured to continue looking up two sampling values closest to the real-time sampling value of the sampling signal and the simulated impedance values of the living organism corresponding to the two sampling values in the impedance calibration data table, and calculate the real-time impedance value of the living organism corresponding to the real-time sampling value of the sampling signal according to the simulated impedance values of the living organism corresponding to the two sampling values and a preset linear formula.
4. The apparatus according to claim 1, wherein the transmission unit further comprises a voltage-dividing resistor electrically connected between the first transmission terminal and the second transmission terminal, and the transmission unit transmits the high-frequency excitation signal to the detection site of the living body through the voltage-dividing resistor and the second transmission terminal.
5. The apparatus according to any one of claims 1 to 4, further comprising an operational amplifier unit electrically connected between the impedance signal acquisition unit and the processing unit, wherein the operational amplifier unit is configured to receive the sampling signal output by the impedance signal acquisition unit and amplify the sampling signal by a predetermined factor.
6. The apparatus according to claim 5, wherein the operational amplifier unit comprises a filter circuit and an operational amplifier circuit, wherein the filter circuit is configured to filter the sampled signal received by the operational amplifier unit to filter an interference signal in the sampled signal; the operational amplification circuit is used for amplifying the sampling signal by a preset multiple.
7. The apparatus according to any one of claims 1 to 4, wherein said excitation signal generating unit includes a first input terminal, a first output terminal, and a waveform converting circuit electrically connected between said first input terminal and said first output terminal, wherein,
the first input end is used for receiving an input high-frequency PWM square wave signal;
the waveform conversion circuit is used for converting the high-frequency PWM square wave signal into a high-frequency sine wave signal, wherein the high-frequency sine wave is the high-frequency excitation signal; and
the first output end is used for outputting the high-frequency excitation signal.
8. The apparatus according to claim 7, wherein the processing unit is further electrically connected to the excitation signal generating unit, and the processing unit is configured to provide the excitation signal generating unit with the high-frequency PWM square-wave signal.
9. The apparatus according to any one of claims 1 to 4, wherein the impedance signal acquiring unit further comprises an anti-interference circuit for performing signal processing on the sampled signal to filter out interference signals in the sampled signal.
10. The apparatus for detecting impedance of a living body according to claim 9, wherein said anti-interference circuit comprises a capacitor, an RC low-pass filter circuit, and an LC parallel frequency-selecting circuit, which are electrically connected in this order,
the capacitor is used for isolating the direct current component in the sampling signal;
the RC low-pass filter circuit is used for passing an alternating current component in the sampling signal;
the LC parallel frequency selection circuit is used for filtering interference of power frequency in the sampling signals and radio frequency current signals for radio frequency ablation which are mixed in the sampling signals.
11. A radio frequency ablation system comprising a radio frequency energy generation unit, an ablation device, and an impedance detection device of the living body according to any one of claims 1 to 10;
the radio frequency energy generating unit is used for providing radio frequency energy required by radio frequency ablation;
the ablation device is electrically connected with the radio frequency energy generation unit and is used for being inserted into a treatment part of an organism during radio frequency ablation, receiving the radio frequency energy output by the radio frequency energy generation unit and releasing the radio frequency energy to the treatment part so as to perform radio frequency ablation on the treatment part.
12. The rf ablation system of claim 11, wherein the detection site is the same site as the treatment site, and the transmission unit is partially or fully disposed on the ablation device.
13. The rf ablation system of claim 11, wherein the processing unit of the impedance detection device of the living body is further electrically connected to the rf energy generating unit, and the processing unit is configured to analyze a variation of the impedance value of the living body within a preset time range according to the determined actual impedance value of the living body, and adjust the rf current signal output by the rf energy generating unit according to the analysis result.
CN202010918869.XA2020-09-032020-09-03 Impedance detection device and radio frequency ablation system of living bodyPendingCN114129255A (en)

Priority Applications (4)

Application NumberPriority DateFiling DateTitle
CN202010918869.XACN114129255A (en)2020-09-032020-09-03 Impedance detection device and radio frequency ablation system of living body
EP21863209.9AEP4209189A4 (en)2020-09-032021-03-25Living body impedance detection device and radio frequency ablation system
PCT/CN2021/083077WO2022048138A1 (en)2020-09-032021-03-25Living body impedance detection device and radio frequency ablation system
US18/176,757US20230200879A1 (en)2020-09-032023-03-01Impedance detection device for living body and radiofrequency ablation system

Applications Claiming Priority (1)

Application NumberPriority DateFiling DateTitle
CN202010918869.XACN114129255A (en)2020-09-032020-09-03 Impedance detection device and radio frequency ablation system of living body

Publications (1)

Publication NumberPublication Date
CN114129255Atrue CN114129255A (en)2022-03-04

Family

ID=80438648

Family Applications (1)

Application NumberTitlePriority DateFiling Date
CN202010918869.XAPendingCN114129255A (en)2020-09-032020-09-03 Impedance detection device and radio frequency ablation system of living body

Country Status (1)

CountryLink
CN (1)CN114129255A (en)

Cited By (2)

* Cited by examiner, † Cited by third party
Publication numberPriority datePublication dateAssigneeTitle
CN115192182A (en)*2022-07-122022-10-18深圳迈微医疗科技有限公司Irreversible electroporation therapy apparatus and bioimpedance measurement method
CN118367939A (en)*2024-06-202024-07-19北京泽声科技有限公司Direct detection method for bioelectric signals

Citations (12)

* Cited by examiner, † Cited by third party
Publication numberPriority datePublication dateAssigneeTitle
US5836990A (en)*1997-09-191998-11-17Medtronic, Inc.Method and apparatus for determining electrode/tissue contact
US20080281319A1 (en)*2005-12-062008-11-13Saurav PaulAssessment of Electrode Coupling For Tissue Ablation
US20090275827A1 (en)*2005-12-062009-11-05Aiken Robert DSystem and method for assessing the proximity of an electrode to tissue in a body
CN104582619A (en)*2012-04-262015-04-29麦德托尼克消融前沿有限公司System for detecting tissue contact during ablation
US20160066977A1 (en)*2008-04-292016-03-10Angiodynamics, Inc.System and Method for Ablating a Tissue Site by Electroporation with Real-Time monitoring of Treatment Progress
CN106725474A (en)*2017-03-012017-05-31南京大学A kind of human body impedance detection method
US20170164995A1 (en)*2015-10-292017-06-15Mianyang Lide Electronics Co., LtdRadio Frequency Generator and A Method of Generating Radio Frequency Energy Utilizing the Radio Frequency Generator
US20180325456A1 (en)*2017-05-102018-11-15Boston Scientific Scimed Inc.Multi-time scale waveform for display of sensor measurements
CN109363674A (en)*2018-08-222019-02-22西安电子科技大学 A bioimpedance measurement system
CN110448374A (en)*2019-09-012019-11-15上海健康医学院A kind of isolated human body impedance detection circuit and detection method
CN111491560A (en)*2017-11-072020-08-04奥芬堡大学 Esophageal electrode probes and devices for cardiac therapy and/or diagnosis
CN212996707U (en)*2020-09-032021-04-20杭州诺诚医疗器械有限公司Impedance detection device and radio frequency ablation system for living body

Patent Citations (12)

* Cited by examiner, † Cited by third party
Publication numberPriority datePublication dateAssigneeTitle
US5836990A (en)*1997-09-191998-11-17Medtronic, Inc.Method and apparatus for determining electrode/tissue contact
US20080281319A1 (en)*2005-12-062008-11-13Saurav PaulAssessment of Electrode Coupling For Tissue Ablation
US20090275827A1 (en)*2005-12-062009-11-05Aiken Robert DSystem and method for assessing the proximity of an electrode to tissue in a body
US20160066977A1 (en)*2008-04-292016-03-10Angiodynamics, Inc.System and Method for Ablating a Tissue Site by Electroporation with Real-Time monitoring of Treatment Progress
CN104582619A (en)*2012-04-262015-04-29麦德托尼克消融前沿有限公司System for detecting tissue contact during ablation
US20170164995A1 (en)*2015-10-292017-06-15Mianyang Lide Electronics Co., LtdRadio Frequency Generator and A Method of Generating Radio Frequency Energy Utilizing the Radio Frequency Generator
CN106725474A (en)*2017-03-012017-05-31南京大学A kind of human body impedance detection method
US20180325456A1 (en)*2017-05-102018-11-15Boston Scientific Scimed Inc.Multi-time scale waveform for display of sensor measurements
CN111491560A (en)*2017-11-072020-08-04奥芬堡大学 Esophageal electrode probes and devices for cardiac therapy and/or diagnosis
CN109363674A (en)*2018-08-222019-02-22西安电子科技大学 A bioimpedance measurement system
CN110448374A (en)*2019-09-012019-11-15上海健康医学院A kind of isolated human body impedance detection circuit and detection method
CN212996707U (en)*2020-09-032021-04-20杭州诺诚医疗器械有限公司Impedance detection device and radio frequency ablation system for living body

Cited By (2)

* Cited by examiner, † Cited by third party
Publication numberPriority datePublication dateAssigneeTitle
CN115192182A (en)*2022-07-122022-10-18深圳迈微医疗科技有限公司Irreversible electroporation therapy apparatus and bioimpedance measurement method
CN118367939A (en)*2024-06-202024-07-19北京泽声科技有限公司Direct detection method for bioelectric signals

Similar Documents

PublicationPublication DateTitle
CN212996707U (en)Impedance detection device and radio frequency ablation system for living body
US20230200879A1 (en)Impedance detection device for living body and radiofrequency ablation system
US20230225678A1 (en)Methods of assessing contact between an electrode and tissue using complex impedance measurements
DE60018262T2 (en) A method of generating an impedance spectrum characteristic of a body substance sample
US5422567A (en)High frequency power measurement
US8089283B2 (en)Apparatus and method for high-speed determination of bioelectric electrode impedances
US10568680B2 (en)Electrosurgical system for multi-frequency interrogation of parasitic parameters of an electrosurgical instrument
CN101682306B (en) Circuits for radio-frequency devices applicable to living tissue and devices incorporating such circuits
CN114129255A (en) Impedance detection device and radio frequency ablation system of living body
EP3209197B1 (en)Simultaneous impedance testing method and apparatus
CN217907965U (en)Irreversible electroporation therapy apparatus
Chen et al.Delineation of T-wave in ECG by wavelet transform using multiscale differential operator
CN115192182A (en)Irreversible electroporation therapy apparatus and bioimpedance measurement method
WO2025146187A1 (en)Bioimpedance measurement method and system based on multi-channel radio frequency transmission
CN218606801U (en)Radio frequency ablation equipment and radio frequency ablation system
CN118526271A (en)Ablation parameter self-adaptive adjusting method based on quadrature demodulation impedance calculation
CN114305380A (en)Impedance network detection device and method
CN221865672U (en)Impedance detection circuit and radio frequency operation equipment
Yang et al.Digital Sampling Technique in the Calibration of Medical Testing Equipment with Arbitrary Waveforms
CN206166917U (en)Anesthesia monitor data acquisition device
RU2134533C1 (en)Device for determination of cutaneous blood flow
CN2808075Y (en)Digital radio-frequency therapeutic equipment
CN217505972U (en)Detection circuit for bioimpedance frequency spectrum
CN118319281B (en)Heart displacement detection system
US10231635B1 (en)Impedance plethysmograph using concurrent processing

Legal Events

DateCodeTitleDescription
PB01Publication
PB01Publication
SE01Entry into force of request for substantive examination
SE01Entry into force of request for substantive examination

[8]ページ先頭

©2009-2025 Movatter.jp