Movatterモバイル変換


[0]ホーム

URL:


CN114126841A - Modular extrusion system for forming articles - Google Patents

Modular extrusion system for forming articles
Download PDF

Info

Publication number
CN114126841A
CN114126841ACN201980098807.4ACN201980098807ACN114126841ACN 114126841 ACN114126841 ACN 114126841ACN 201980098807 ACN201980098807 ACN 201980098807ACN 114126841 ACN114126841 ACN 114126841A
Authority
CN
China
Prior art keywords
modular
print head
compression zone
extrusion screw
extrusion
Prior art date
Legal status (The legal status is an assumption and is not a legal conclusion. Google has not performed a legal analysis and makes no representation as to the accuracy of the status listed.)
Pending
Application number
CN201980098807.4A
Other languages
Chinese (zh)
Inventor
J·R·托宾
A·麦卡利普
Current Assignee (The listed assignees may be inaccurate. Google has not performed a legal analysis and makes no representation or warranty as to the accuracy of the list.)
General Electric Co
Original Assignee
General Electric Co
Priority date (The priority date is an assumption and is not a legal conclusion. Google has not performed a legal analysis and makes no representation as to the accuracy of the date listed.)
Filing date
Publication date
Application filed by General Electric CofiledCriticalGeneral Electric Co
Publication of CN114126841ApublicationCriticalpatent/CN114126841A/en
Pendinglegal-statusCriticalCurrent

Links

Images

Classifications

Landscapes

Abstract

A modular pressing system for forming an article includes a support frame and a plurality of print head modules removably connected to the support frame. Each of the print head modules includes a printer head, a printer nozzle, a hopper, and an integrated control module. The hopper is configured to hold a plurality of polymer particles. The printer heads of the plurality of print head modules each include a body defining a barrel, a rotating extrusion screw extending through the barrel, and one or more heaters at least partially surrounding the barrel for melting the plurality of polymer particles into the polymer resin formulation. The printer nozzle is configured to print and deposit the polymeric resin formulation onto a substrate to form an article. The modular extrusion system also includes a control system communicatively coupled to each of the integrated control modules for controlling the modular extrusion system.

Description

Modular extrusion system for forming articles
Technical Field
The present disclosure relates generally to additive manufacturing and, more particularly, to modular extrusion systems for forming articles, such as rotor blade components of wind turbines.
Background
Wind power generation is considered one of the cleanest, most environmentally friendly energy sources presently available, and wind turbines have gained increased attention in this regard. Modern wind turbines typically include a tower, generator, gearbox, nacelle, and one or more rotor blades. The rotor blades capture kinetic energy of wind using known airfoil principles. The rotor blades transmit the kinetic energy in the form of rotational energy to turn a shaft that couples the rotor blades to a gearbox, or if a gearbox is not used, directly to the generator. The generator then converts the mechanical energy to electrical energy, which may be deployed to a utility grid.
The rotor blade generally includes a suction side shell and a pressure side shell that are joined together at a junction line along the leading and trailing edges of the blade, typically formed using a molding process. Moreover, the pressure and suction casings are relatively lightweight and have structural properties (e.g., stiffness, buckling resistance, and strength) that are not configured to withstand bending moments and other loads exerted on the rotor blade during operation. Thus, to increase the stiffness, buckling resistance, and strength of the rotor blade, the body shell is typically reinforced with one or more external structural members (e.g., opposing spar caps with shear webs configured therebetween) that engage the inner suction side surfaces and the inner pressure side surfaces of the shell halves.
The spar caps are typically constructed from a variety of materials including, but not limited to, glass fiber laminate composites and/or carbon fiber laminate composites. The shell of a rotor blade is generally built around the spar cap of the blade by stacking layers of fibre fabric in a shell mould. The layers are then typically infused with a resin.
However, as the popularity of additive manufacturing and extrusion systems has increased, it would be desirable to manufacture some of the various wind turbine components using such techniques. However, certain factors, such as size, adhesion, loading, stiffness, strength, etc., must be considered in the manufacture of the wind turbine component.
Typically, extrusion systems are large floor-mounted machines that weigh thousands of pounds and operate in a horizontal configuration. Even the smallest laboratory grade extruders can occupy tens of square feet of floor space. The control panel is typically mounted on the unit itself. The typical frame for such units is cast iron or steel, with a heavy iron core induction motor of low efficiency.
In addition, single screw extrusion designs generate most of the heat through the high friction shear of the resin material. In this regard, very little energy is required from the electrically powered heaters placed around the circumference of the barrel within the extruder. Thus, the primary energy source for such systems is an electric motor, which is used to turn the screw. Such designs require very large gearboxes, which add weight and interconnectivity (intertie) to the system. Thus, for such systems to be effective, the aspect ratio (commonly referred to as the L/D ratio) must be greater than 24: 1.
In addition, automated machinery is typically built with a centralized electrical control cabinet having a wiring harness that routes power and signals to the site where the motor and its components are installed. This requires a custom length of wiring harness to be manufactured for each particular installation site. Additionally, such configurations may require high bandwidth signals/sensitive signals to travel up to one hundred feet between the machine and the control cabinet, thereby increasing the number and volume of control cables. As the desired part to be extruded expands in size, it becomes increasingly difficult to centralize all of the control equipment. At a certain size, the cable harness length exceeds the maximum length rating of the servo amplifier.
In view of the foregoing, the present disclosure is directed to an improved modular extrusion system for forming articles that addresses the foregoing problems.
Disclosure of Invention
Aspects and advantages of the invention will be set forth in part in the following description, or may be obvious from the description, or may be learned through practice of the invention.
In one aspect, the present disclosure is directed to a modular extrusion system for forming an article. The modular press system includes a support frame and a plurality of print head modules removably connected to the support frame. Each of the print head modules includes a printer head, a printer nozzle, at least one hopper, and an integrated control module. The hopper is configured to hold a plurality of polymer particles. The printer heads of the plurality of print head modules each include a body defining a barrel, a rotating extrusion screw extending through the barrel, and one or more heaters at least partially surrounding the barrel for melting the plurality of polymer particles into the polymer resin formulation. The printer nozzle is configured to print and deposit the polymeric resin formulation onto a substrate to form an article. The modular extrusion system also includes a control system communicatively coupled to each of the integrated control modules for controlling the modular extrusion system.
In an embodiment, each of the integrated control modules of each of the plurality of print head modules may be housed within a case and may include an actuator housed therein. In this regard, the actuator is configured to move each of the plurality of print head modules along at least one axis (such as the z-axis).
In another embodiment, each of the integrated control modules may include a servo motor and a servo gearbox (such as a planetary reduction servo gearbox) for controlling the actuator. In further embodiments, each of the integrated control modules may include a combination of electrical components for driving the respective print head module, the electrical components including at least one of one or more amplifiers, one or more relays, one or more power supplies, and/or one or more input/output (I/O) devices. In particular embodiments, at least two of the integrated control modules may have the same combination of electrical components such that at least two of the integrated control modules are interchangeable.
In an embodiment, the diameter of the extrusion screw varies in a compression zone of the extrusion screw between the first end and the second end of the extrusion screw. Furthermore, the diameter of the extrusion screw increases in the compression zone from a first diameter to a second diameter. The second end of the extrusion screw is adjacent to the printer nozzle. Furthermore, the depth in the flight of the extrusion screw varies within the compression zone.
More specifically, in an embodiment, the depth in the flight at the first end of the compression zone of the extrusion screw is greater than the maximum diameter of one or more of the plurality of polymer particles. Additionally, in an embodiment, the depth of the threads decreases from the first end of the compression zone toward the second end of the compression zone such that the depth in the threads at the second end of the compression zone is less than the maximum diameter of one or more of the plurality of polymer particles.
In another embodiment, the printer nozzle may define an angled die shape.
In additional embodiments, the control system may be communicatively coupled to each of the integrated control modules via a network. Further, in embodiments, the integrated control modules may be daisy chained together. In this regard, the control system is configured to control each of the integrated control modules individually, synchronously, or in combinations thereof.
In several embodiments, each of the plurality of print head modules may be removably connected to the support frame via one or more fasteners.
In particular embodiments, a linear displacement system may be integrated with or mounted to the support frame for moving the plurality of print head modules along at least one or more axes (such as along the x-axis and/or the y-axis). In such embodiments, the linear displacement system may be a rail system or a track.
In another aspect, the present disclosure is directed to a stand-alone print head module for use with a modular extrusion system. The print head module includes a hopper for holding a plurality of polymer pellets and a printer head for melting the plurality of polymer pellets into a polymer resin formulation. The printer head includes a body having a barrel extending therethrough, a rotating extrusion screw extending through the barrel, and one or more heaters at least partially surrounding the barrel. The print head module also includes a printer nozzle disposed at an end of the printer head for printing and depositing the polymeric resin formulation onto a substrate to form an article. Further, the print head module includes an integrated control module having at least one processor and a separate power source for controlling the separate print head module. In this regard, the integrated control module may be communicatively coupled to an overall control system of the modular extrusion system via a distributed network. It should be understood that the print head module may also include any of the additional features described herein.
In yet another aspect, the present disclosure is directed to a printer head for forming an article from a plurality of polymer particles. The printer head includes a body having a barrel extending therethrough and a rotary extrusion screw extending through the barrel. The extrusion screw includes a plurality of threads extending from a first end to a second end. Further, the diameter of the extrusion screw varies in a compression zone of the extrusion screw between the first end and the second end of the extrusion screw. The printer head also includes a printer nozzle disposed at the second end of the extrusion screw. In this regard, a depth in the thread at the first end of the compression zone is greater than a maximum diameter of one or more of the plurality of polymer particles. In addition, the depth of the threads decreases from the first end of the compression zone toward the second end of the compression zone such that the depth in the threads at the second end of the compression zone is less than the maximum diameter of one or more of the plurality of polymer particles. It should be understood that the printer head may also include any of the additional features described herein.
These and other features, aspects, and advantages of the present invention will become better understood with reference to the following description and appended claims. The accompanying drawings, which are incorporated in and constitute a part of this specification, illustrate embodiments of the invention and together with the description, serve to explain the principles of the invention.
Drawings
A full and enabling disclosure of the present invention, including the best mode thereof to one skilled in the art, is set forth in the specification, which makes reference to the appended figures, in which:
FIG. 1 illustrates a perspective view of one embodiment of a wind turbine according to the present disclosure;
FIG. 2 illustrates a perspective view of an embodiment of a rotor blade of a wind turbine according to the present disclosure;
FIG. 3 illustrates an exploded view of the modular rotor blade of FIG. 2;
FIG. 4 illustrates a cross-sectional view of an embodiment of a leading edge segment of a modular rotor blade according to the present disclosure;
FIG. 5 illustrates a cross-sectional view of an embodiment of a trailing edge segment of a modular rotor blade according to the present disclosure;
FIG. 6 illustrates a cross-sectional view of the modular rotor blade of FIG. 2 according to the present disclosure;
FIG. 7 illustrates a cross-sectional view of the modular rotor blade of FIG. 2 according to the present disclosure;
FIG. 8 illustrates a perspective view of one embodiment of a modular extrusion system for forming an article of manufacture according to the present disclosure;
FIG. 9 illustrates a perspective view of one embodiment of a print module of a modular pressing system for forming an article of manufacture according to the present disclosure;
FIG. 10A illustrates a side view of one embodiment of an integrated control module of a modular extrusion system for forming an article of manufacture according to the present disclosure;
FIG. 10B illustrates a rear view of one embodiment of an integrated control module of a modular extrusion system for forming an article of manufacture according to the present disclosure;
FIG. 11 illustrates a partial perspective view of one embodiment of a print module of the modular press system mounted to a support frame according to the present disclosure;
FIG. 12 illustrates a rear perspective view of one embodiment of an integrated control module of a modular extrusion system for forming an article of manufacture according to the present disclosure;
FIG. 13 illustrates a cross-sectional view of one embodiment of a printer head of a print module of a modular extrusion system according to the present disclosure;
FIG. 14 illustrates a partial cross-sectional view of one embodiment of a printer head of a print module of a modular extrusion system according to the present disclosure;
FIG. 15A illustrates a front side view of one embodiment of a barrel of a printer head of a print module of a modular extrusion system according to the present disclosure;
figure 15B illustrates a cross-sectional view of one embodiment of a barrel of a printer head of a print module of a modular extrusion system according to the present disclosure;
figure 15C illustrates a rear side view of one embodiment of a barrel of a printer head of a print module of a modular extrusion system according to the present disclosure;
FIG. 15D shows an end view of the cartridge of FIG. 15B, viewed from line D-D;
FIG. 16A illustrates a side view of one embodiment of a extrusion screw of a printer head of a printing module of a modular extrusion system according to the present disclosure;
FIG. 16B illustrates a cross-sectional view of one embodiment of an extrusion screw of a printer head of a printing module of the modular extrusion system according to the present disclosure;
FIG. 16C shows an end view of the extrusion screw of FIG. 16B, viewed from line C-C;
FIG. 17 illustrates a partial cross-sectional view of one embodiment of an extrusion screw within a barrel of a printer head according to the present disclosure, particularly illustrating a gap therebetween;
FIG. 18 shows a schematic diagram of one embodiment of a control system of a modular extrusion system according to the present disclosure; and
figure 19 illustrates a block diagram of one embodiment of a control system of a modular extrusion system according to the present disclosure.
Detailed Description
Reference now will be made in detail to embodiments of the invention, one or more examples of which are illustrated in the drawings. Each example is provided by way of illustration of the invention, and not limitation of the invention. In fact, it will be apparent to those skilled in the art that various modifications and variations can be made in the present invention without departing from the scope or spirit of the invention. For instance, features illustrated or described as part of one embodiment, can be used with another embodiment to yield a still further embodiment. It is therefore intended that the present invention cover the modifications and variations of this invention provided they come within the scope of the appended claims and their equivalents.
In general, the present disclosure relates to a modular extrusion system (or modular three-dimensional (3D) printer) for forming an article. As used herein, 3-D printing is generally understood to include processes for compositing three-dimensional objects, wherein successive layers of material are formed under computer control to create the object. In this regard, objects of almost any size and/or shape may be generated from the digital model data. It should also be understood that the method of the present disclosure is not limited to 3-D printing, but rather may also incorporate more than three degrees of freedom, such that the printing technique is not limited to printing stacked two-dimensional layers, but is also capable of printing curved shapes.
The modular press system includes a support frame and a plurality of print head modules removably connected to the support frame. Each of the print head modules includes a printer head, a printer nozzle, a hopper, and an integrated control module. The hopper is configured to hold a plurality of polymer particles. The printer heads each include a body defining a barrel, a rotating extrusion screw extending through the barrel, and one or more heaters at least partially surrounding the barrel for melting a plurality of polymer particles into a polymer resin formulation. The miniaturized printer heads may also each include an actuator. The printer nozzle is configured to print and deposit the polymeric resin formulation onto a substrate to form an article. In addition, the modular extrusion system also includes a control system communicatively coupled to each of the integrated control modules for controlling the modular extrusion system.
Thus, by moving all electronics, control devices and mechanical structures into an integral assembly, several advantages are achieved. For example, through the use of a lightweight, unitary body structure along with several integrated features (such as water cooling, a shortened cartridge design, and a compact high power density drive motor), the modular printer head can be small and lightweight. More specifically, the modular printer head may utilize a servo motor and planetary gearbox reducer to reduce mass, for example, by approximately 90%. Further, the modular extrusion system includes an improved extrusion screw having an optimized extrusion screw size for average particle size as described herein (e.g., which allows for a shorter and more efficient extruder), which provides a high flow rate extrusion screw. The modular extrusion system may also include an angled rear die to allow the printer head to print on a ramp up to 45 degrees from horizontal.
Referring now to the drawings, FIG. 1 illustrates one embodiment of a wind turbine 10 according to the present disclosure. As shown, the wind turbine 10 includes atower 12, thetower 12 having anacelle 14 mounted thereon. A plurality ofrotor blades 16 are mounted to arotor hub 18, androtor hub 18 is in turn connected to a main flange, which turns a main rotor shaft. The wind turbine power generation and control components are housed within thenacelle 14. The view of FIG. 1 is provided for illustrative purposes only to place the present invention in an exemplary field of use. It should be appreciated that the present invention is not limited to any particular type of wind turbine configuration.
Referring now to FIGS. 2 and 3, various views of arotor blade 16 according to the present disclosure are shown. As shown, the illustratedrotor blade 16 has a segmented or modular configuration. It should also be appreciated that therotor blade 16 may include any other suitable configuration now known or later developed in the art. As shown, themodular rotor blade 16 includes amain blade structure 15 and at least oneblade segment 21 secured to themain blade structure 15. More specifically, as shown, therotor blade 16 includes a plurality ofblade segments 21.
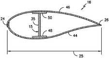
More specifically, as shown, theprimary blade structure 15 may include any one or combination of the following: the pre-formedblade root section 20, the pre-formedblade tip section 22, one or more continuous spar caps 48,50,51,53, one or more shear webs 35 (FIGS. 6-7), additionalstructural components 52 secured to theblade root section 20, and/or any other suitable structural components of therotor blade 16. Moreover,blade root section 20 is configured to be mounted or otherwise secured to rotor 18 (FIG. 1). Further, as shown in FIG. 2, therotor blade 16 defines aspan 23, thespan 23 being equal to the total length between theblade root section 20 and theblade tip section 22. As shown in FIGS. 2 and 6, therotor blade 16 also defines achord 25, thechord 25 being equal to the total length between theleading edge 24 of therotor blade 16 and the trailingedge 26 of therotor blade 16. As is generally understood, thechord 25 may generally vary in length relative to thespan 23 as therotor blade 16 extends from theblade root section 20 to theblade tip section 22.
2-4, any number ofblade segments 21 or panels (also referred to herein as blade shells) having any suitable size and/or shape may be generally arranged in a generally span-wise direction along thelongitudinal axis 27 between theblade root section 20 and theblade tip section 22. Thus, theblade segment 21 generally serves as a shell/shroud for therotor blade 16 and may define a generally aerodynamic profile, such as by defining a symmetrical or curved airfoil-shaped cross-section.
In additional embodiments, it should be understood that the blade segment portions of theblade 16 may include any combination of the segments described herein and are not limited to the embodiments as depicted. More specifically, in certain embodiments, theblade segment 21 may include any one or combination of the following:pressure side segments 44 and/or suction side segments 46 (fig. 2 and 3), leadingedge segments 40 and/or trailing edge segments 42 (fig. 2-6), non-joined segments, single joined segments, multi-joined blade segments, J-shaped blade segments, or the like.
More specifically, as shown in FIG. 4, the leadingedge segment 40 may have a leadingpressure side surface 28 and a leadingsuction side surface 30. Similarly, as shown in FIG. 5, each of the trailingedge segments 42 may have an aftpressure side surface 32 and an aftsuction side surface 34. Thus, the forwardpressure side surface 28 of theleading edge segment 40 and the aftpressure side surface 32 of the trailingedge segment 42 generally define the pressure side surface of therotor blade 16. Similarly, the forwardsuction side surface 30 of theleading edge segment 40 and the aftsuction side surface 34 of the trailingedge segment 42 generally define a suction side surface of therotor blade 16. Additionally, as particularly shown in fig. 6, the leading edge segment(s) 40 and the trailing edge segment(s) 42 may be joined at thepressure side seam 36 and thesuction side seam 38. For example, theblade segments 40,42 may be configured to overlap at thepressure side seam 36 and/or thesuction side seam 38. Further, as shown in FIG. 2,adjacent blade segments 21 may be configured to overlap at aseam 54. Alternatively, in certain embodiments, the various segments of therotor blade 16 may be secured together via an adhesive (or mechanical fastener) configured between the overlapping leading and trailingedge segments 40,42 and/or between the overlapping adjacent leading or trailingedge segments 40, 42.
In particular embodiments, as shown in fig. 2-3,blade root section 20 may include one or more longitudinally extending spar caps 48,50 infused therewith. For example, theBlade Root Section 20 may be constructed according to U.S. application No.14/753,155 entitled "Blade Root Section for a Modular Rotor Blade and Method of Manufacturing Same", filed on 29.6.2015, which is incorporated by reference herein in its entirety.
Similarly, theblade tip section 22 may include one or more longitudinally extending spar caps 51,53 infused therewith. More specifically, as shown, the spar caps 48,50,51,53 may be configured to engage against opposing inner surfaces of theblade segments 21 of therotor blade 16. Further, the blade root spar caps 48,50 may be configured to align with the blade tip spar caps 51, 53. Thus, the spar caps 48,50,51,53 may generally be designed to control bending stresses and/or other loads that act on therotor blade 16 in a generally span-wise direction (a direction parallel to thespan 23 of the rotor blade 16) during operation of the wind turbine 10. Additionally, the spar caps 48,50,51,53 may be designed to withstand the spanwise compression that occurs during operation of the wind turbine 10. Further, the spar cap(s) 48,50,51,53 may be configured to extend from theblade root section 20 to theblade tip section 22, or a portion thereof. Thus, in certain embodiments, theblade root section 20 and theblade tip section 22 may be joined together via their respective spar caps 48,50,51, 53.
Referring to fig. 6-7, one ormore shear webs 35 may be configured between one or more spar caps 48,50,51, 53. More specifically, the shear web(s) 35 may be configured to increase the rigidity of theblade root section 20 and/or theblade tip section 22. Further, the shear web(s) 35 may be configured to close theblade root section 20.
Additionally, as shown in fig. 2 and 3, additionalstructural members 52 may be secured to theblade root section 20 and extend in a generally span-wise direction to provide further support to therotor blade 16. For example,Structural member 52 may be constructed in accordance with U.S. application No.14/753,150 entitled "Structural Component for a Modular Rotor Blade", filed on 29/6/2015, which is incorporated by reference herein in its entirety. More specifically,structural components 52 may extend any suitable distance betweenblade root section 20 andblade tip section 22. Accordingly, thestructural members 52 are configured to provide additional structural support for therotor blade 16, as well as alternative mounting structures for thevarious blade segments 21, as described herein. For example, in certain embodiments, thestructural members 52 may be secured to theblade root section 20 and may extend a predetermined spanwise distance such that theleading edge segment 40 and/or the trailingedge segment 42 may be mounted thereto.
Referring now to fig. 8-19, the present disclosure relates to a modular extrusion system for forming a polymer article (such as any of the rotor blade components described herein) using additive manufacturing, wherein drying of the polymer particles is improved prior to printing. More specifically, fig. 8 illustrates a perspective view of one embodiment of amodular extrusion system 100 for forming an article of manufacture according to the present disclosure. In this regard, in certain embodiments, the article may include a rotor blade shell (pressure side shell, suction side shell, trailing edge segment, leading edge segment, lattice structure, etc.), a spar cap, a shear web, a blade tip, a blade root, or any other rotor blade component.
Referring now to fig. 8 and 9, in an embodiment,system 100 may include a plurality of print head modules 106 (e.g., aligned in a row). More specifically, as particularly shown in fig. 8, a plurality ofprint head modules 106 may be removably connected or otherwise secured to supportframe 134. In particular embodiments,linear displacement system 143 may be integrated withsupport frame 134 or mounted to supportframe 134 for moving multipleprint head modules 106 along at least one axis (such as the x-axis and/or the y-axis). In such embodiments, the linear displacement system may be, for example, a rail system, a track, or any suitable movable stage. Additionally, as shown in fig. 11, each of the plurality ofprint head modules 106 may be removably connected to supportframe 134 via one or more fasteners 13. More specifically, as shown, each ofprint modules 106 may include one or more mounting supports 139 secured thereto, which may be secured to supportframe 134 atrespective brackets 137 viafasteners 135.
With particular reference to fig. 8, 9, 10A, and 10B, each of theprint head modules 106 includes aprinter head 108,printer nozzles 116, ahopper 110, and anintegrated control module 102. Thus, as will be discussed herein and as shown in fig. 8 and 9, thehopper 110 is configured to hold a plurality ofpolymer particles 104, theprinter head 108 is configured to melt thepolymer particles 104, and theprinter nozzle 116 is configured to print and deposit the meltedpolymer particles 104 onto thesubstrate 120 to form an article.
More specifically, as shown in fig. 8 and 9, theprinter head 108 is configured to melt the driedpolymer particles 104. In addition, theindividual printer nozzles 116 are configured to print and deposit the meltedpolymer particles 104 to form the article independently or simultaneously. Thus, theprint head module 106 is configured to print an article onto thesubstrate 120. For example, as shown in fig. 8, thesubstrate 120 may correspond to a two-dimensional or flat surface or a three-dimensional surface, such as a curved rotor blade mold. Further, thesubstrate 120 may simply be a printed surface, or may ultimately become part of the final article. Thus, as shown, in embodiments, theprinter nozzle 116 may be configured to print the reinforcingmesh structure 62 on top of one or more skins on the rotor blade mold, in which case thesubstrate 120 corresponds to the skin that is part of therotor blade 16. Alternatively, thesubstrate 120 may simply be a support surface for printing an article thereon and then subsequently removed therefrom.
Thepolymeric particles 104 described herein can include any suitable material, such as, for example, a thermoplastic material. The thermoplastic materials described herein generally comprise plastic materials or polymers that are reversible in nature. For example, thermoplastic materials typically become pliable or moldable when heated to a particular temperature and return to a more rigid state when cooled. Further, the thermoplastic material may include an amorphous thermoplastic material and/or a semi-crystalline thermoplastic material. For example, some amorphous thermoplastic materials may generally include, but are not limited to, styrene, vinyl, cellulose, polyester, acrylic, polysulfone, and/or imide. More specifically, exemplary amorphous thermoplastic materials may include polystyrene, Acrylonitrile Butadiene Styrene (ABS), polymethyl methacrylate (PMMA), ethylene glycol terephthalate (PET-G), polycarbonate, polyvinyl acetate, amorphous polyamide, polyvinyl chloride (PVC), polyvinylidene chloride, polyurethane, or any other suitable amorphous thermoplastic material. Further, exemplary semi-crystalline thermoplastic materials may generally include, but are not limited to, polyolefins, polyamides, fluoropolymers, methyl acrylates, polyesters, polycarbonates, and/or acetals. More specifically, exemplary semi-crystalline thermoplastic materials may include polybutylene terephthalate (PBT), polyethylene terephthalate (PET), polypropylene, polyphenylene sulfide, polyethylene, polyamide (nylon), polyether ketone, or any other suitable semi-crystalline thermoplastic material.
Referring particularly to fig. 9, 13, and 15A-15D, the printer heads 108 of the plurality ofprint head modules 106 may each include abody 112, thebody 112 may serve as aheat shield 109, and further define anon-rotating barrel 124 extending therethrough, a rotatingextrusion screw 114 extending through thebarrel 124, and one ormore heaters 122, the one ormore heaters 122 at least partially surrounding thebarrel 124 for melting the plurality ofpolymer pellets 104 into the polymer resin formulation. Thus, thepolymer particles 104 enter thebarrel 124 as thescrew 114 rotates, such that the plurality offlights 125 of thescrew 114 move material through thebarrel 124. At the same time, theheater 122 melts theparticles 104 to form a molten material that is extrudable from thenozzle 116.
Additionally, as particularly shown in fig. 13, 16A, 16B, and 16C, theextrusion screw 114 may extend between afirst end 126 and asecond end 128. Further, as shown in fig. 14, theextrusion screw 114 may include one or more zones, such as, for example, a feed zone, a transition/compression zone, and a metering zone. Further, as shown in FIG. 14, theextrusion screw 114 may define varying diameters 130,132 in the compression zone. More specifically, as shown in the illustrated embodiment, the diameter of theextrusion screw 114 may increase from afirst diameter 130 near thefirst end 126 of theextrusion screw 114 to asecond diameter 132 near thesecond end 128. Further, as shown in fig. 13 and 14, the largersecond diameter 132 may be closer to theprinter nozzle 116.
Thus, as shown in fig. 14 and 17, thedepth 127 of theflight 125 of theextrusion screw 114 varies in the compression zone. More specifically, as shown in fig. 14, thedepth 127 in thethreads 125 at thefirst end 129 of the compression zone is greater than the maximum diameter of one or more of the plurality ofpolymer particles 104. Additionally, as shown, thedepth 127 in thethreads 125 decreases from thefirst end 129 of the compression zone toward thesecond end 131 of the compression zone such that thedepth 127 in thethreads 125 at thesecond end 131 of the compression zone is less than the maximum diameter of one or more of the plurality ofpolymer particles 104.
Additionally, in embodiments, the length of the feed zone may be designed such that thepolymer particles 104 do not enter the compression zone before they reach the softening temperature, which reduces the torque requirement of theextrusion screw 114 because theparticles 104 plastically deform as they enter the zone of simultaneous contact with theextrusion screw 114 and the inner barrel wall.
Typically, one of thepolymer particles 104 measures about 2.9mm in diameter. By creating a reduceddepth 127 of theflight 125 near thesecond end 128 of thescrew 114,individual particles 104 may be trapped between the movingscrew 114 and the barrel 124 (see fig. 17), which causes theparticles 104 to tumble, thereby increasing the efficiency of creating a melt film. Conventional screws typically employ much larger clearances in this region (e.g., about 5mm to 10mm), and such effects cannot be utilized.
Referring back to fig. 13, in another embodiment, theprinter nozzle 116 may also define anangled die shape 136. Thus, theangled die shape 136 allows theprinter nozzle 116 to print on a slope up to about 45 degrees from horizontal. Such a cross section ensures that: there is a sufficient conduction path to transfer heat efficiently to the end of thenozzle 116 to prevent premature solidification of the melt. The flow path is also configured to minimize fiber breakage as the melt transitions from the end of theextrusion screw 114 and flows through the converging exit cone of the nozzle die 136.
With particular reference to fig. 8, 10A, 10B, 11, and 12, each of theintegrated control modules 102 may be housed within acase 138 or cabinet and may include anactuator 140 housed therein. Thus, as particularly shown in fig. 10A and 10B,actuator 140 is configured to move each ofprint head modules 106 along at least one axis (such as the z-axis). Additionally, as shown in fig. 10A, each of theintegrated control modules 102 may include one ormore servo motors 142, the one ormore servo motors 142 coupled with a planetaryreduction servo gearbox 144 for controlling itsrespective actuator 140.
In further embodiments, each of theintegrated control modules 102 may include a combination of electrical components for driving the respectiveprint head module 106. For example, as shown in fig. 10A and 10B, the electrical components may include one ormore amplifiers 146, one ormore circuit breakers 151, one ormore relays 145, one ormore power sources 148, and/or one or more input/output (I/O) devices 150 (e.g., such as an Ethercat connection). In this regard, servo motor amplifiers, relays, power supplies, digital I/O devices, and the like may be physically located adjacent to the components they control. This is all possible because of the integrated control box/vertical actuator, which may also reduce the cable length of the system 100 (e.g., from about 30 meters to about half a meter). Thus, noise and interference as well as wiring costs are also reduced compared to prior art systems.
Additionally, as shown, in some embodiments, only a single high voltage source is required for the entire module. In such embodiments, all subsequent power may be converted and filtered internally in each of themodules 106. In further embodiments, at least two of the integrated control modules 102 (or all of the integrated control modules 102) may include the same combination of electrical components such that at least two of theintegrated control modules 102 are interchangeable with one another. This allows for more efficient manufacture of themodule 106 and ease of maintenance. Additionally, this allows eachmodule 106 to be easily replaced with another module (e.g., within about five (5) minutes) if maintenance is required. Alternatively, in embodiments, each of theintegrated control modules 102 may include a different combination of electrical components.
In addition, as shown in fig. 10B and 12, theenclosure 138 may include one or more water cooling inlets 147 and water cooling outlets 149, as well as afan 152 for maintaining a desired temperature within the enclosure/cabinet 138.
Referring now to fig. 18, themodular extrusion system 100 may also include anoverall control system 115 communicatively coupled to each of theintegrated control modules 102 for controlling themodular extrusion system 100. For example, as shown, the control system may be communicatively coupled to each of theintegrated control modules 102 via anetwork 117. Further, in embodiments, theintegrated control modules 102 may be daisy chained together such that themodular compression system 100 has a single high voltage source. In this regard, thecontrol system 115 may control each of theintegrated control modules 102 individually, synchronously, or in combinations thereof. In particular embodiments, eachmodule 106 may have its own address on the extensibleEthercat control network 117, thereby allowing eachmodule 106 to function as its own independent system, or to synchronize with any other axis on thesystem 100. This allows independent control of the height of each axis. Such control can be critical to the requirements of printing on turbine blade molds, as each axis needs to track different height areas on the mold.
Referring now to FIG. 19, a block diagram of one embodiment of various components of the control system 115 (and/or the individual control modules 102) is shown, according to the present disclosure. As shown, thecontrol system 115 may include one or more processor(s) 154 and associated storage device(s) 156 configured to perform various computer-implemented functions (e.g., perform methods, steps, calculations, etc., and store related data, as disclosed herein). Further, thecontrol system 115 may also include acommunication module 158 to facilitate communication between thecontrol system 115 and the various components described herein. Additionally,communication module 158 may include a sensor interface 160 (e.g., one or more analog-to-digital converters) to allow signals transmitted fromprint module 106 to be converted into signals that may be understood and processed by processor(s) 154. It should be appreciated that one or more sensors 162 may also be incorporated into thesystem 100 for providing information related to theindividual modules 106. For example, such sensors 162 may be communicatively coupled to thecommunication module 158 using any suitable means. For example, as shown in fig. 19, sensor(s) 162 may be coupled tosensor interface 160 via a wired connection. However, in other embodiments, sensor(s) 162 may be coupled tosensor interface 160 via a wireless connection, such as by using any suitable wireless communication protocol known in the art.
As used herein, the term "processor" refers not only to integrated circuits referred to in the art as being included in a computer, but also to controllers, microcontrollers, microcomputers, Programmable Logic Controllers (PLCs), application specific integrated circuits, and other programmable circuits. In addition, storage device(s) 156 may generally include storage element(s) including, but not limited to, a computer-readable medium (e.g., Random Access Memory (RAM)), a computer-readable non-volatile medium (e.g., flash memory), a floppy diskette, a compact disk-read only memory (CD-ROM), a magneto-optical disk (MOD), a Digital Versatile Disk (DVD), and/or other suitable storage elements. Such storage device(s) 162 may generally be configured to store suitable computer-readable instructions that, when executed by processor(s) 154, configurecontrol system 115 to perform the various functions described herein.
Various aspects and embodiments of the invention are defined by the following numbered clauses:
clause 1. a modular extrusion system for forming an article, comprising:
a support frame;
a plurality of print head modules removably connected to the support frame, each of the print head modules comprising a printer head, a printer nozzle, at least one hopper, and an integrated control module, the hoppers for holding a plurality of polymeric pellets, the printer heads each comprising a body defining a barrel, a rotating extrusion screw extending through the barrel, and one or more heaters at least partially surrounding the barrel for melting the plurality of polymeric pellets into a polymeric resin formulation, the printer nozzle configured for printing and depositing the polymeric resin formulation onto a substrate to form the article; and the number of the first and second groups,
a control system communicatively coupled to each of the integrated control modules for controlling the modular extrusion system.
Clause 2. the modular press system of clause 1, wherein each of the integrated control modules of each of the plurality of print head modules is received within a housing, and further comprising an actuator housed therein, the actuator configured to move each of the plurality of print head modules along at least one axis.
Clause 3. the modular extrusion system ofclause 2, wherein each of the integrated control modules further comprises a servo motor and a servo gearbox for controlling the actuator.
Clause 4. the modular press system ofclause 2, wherein each of the integrated control modules further comprises a combination of electrical components for driving the respective print head module, the electrical components comprising at least one of one or more amplifiers, one or more relays, one or more power sources, and/or one or more input/output (I/O) devices.
Clause 5. the modular extrusion system ofclause 2, wherein at least two of the integrated control modules further comprise the same combination of electrical components such that the at least two of the integrated control modules are interchangeable.
Clause 6. the modular extrusion system of any of the preceding clauses, wherein the diameter of the extrusion screw varies in a compression zone of the extrusion screw between a first end and a second end of the extrusion screw, the diameter of the extrusion screw increasing from a first diameter to a second diameter in the compression zone, the second end of the extrusion screw being adjacent to the printer nozzle, wherein a depth in a flight of the extrusion screw varies within the compression zone.
Clause 7. the modular extrusion system ofclause 6, wherein the depth in the flight at the first end of the compression zone of the extrusion screw is greater than the maximum diameter of one or more of the plurality of polymer particles.
Clause 8. the modular extrusion system of clause 7, wherein the depth of the threads decreases from the first end of the compression zone toward a second end of the compression zone such that the depth in the threads at the second end of the compression zone is less than the maximum diameter of the one or more of the plurality of polymer particles.
Clause 9. the modular extrusion system of any of the preceding clauses, wherein the printer nozzle defines an angled die shape.
Clause 10. the modular extrusion system of any of the preceding clauses, wherein the control system is communicatively coupled to each of the integrated control modules via a network, the integrated control modules daisy chained together, the control system configured to control each of the integrated control modules individually, synchronously, or in a combination thereof.
Clause 11. the modular press system of any of the preceding clauses, wherein each of the plurality of print head modules is removably connected to the support frame via one or more fasteners.
Clause 12. the modular press system of any of the preceding clauses, further comprising a linear displacement system integrated with or mounted to the support frame for moving the plurality of print head modules along at least one axis, the linear displacement system comprising at least one of a rail system or a track.
Clause 13. a stand-alone print head module for use with a modular extrusion system, comprising:
a hopper for holding a plurality of polymer particles;
a printer head for melting the plurality of polymer pellets into a polymer resin formulation, the printer head comprising a body having a barrel extending therethrough, a rotating extrusion screw extending through the barrel, and one or more heaters at least partially surrounding the barrel;
a printer nozzle disposed at an end of the printer head for printing and depositing the polymeric resin formulation onto a substrate to form the article; and the number of the first and second groups,
an integrated control module comprising at least one processor and separate power sources for controlling the separate print head modules, the integrated control module communicatively coupled to an overall control system of the modular press system via a distributed network.
Clause 14. the print head module of clause 13, wherein the integrated control module is housed within a housing, and further comprising an actuator housed therein, the actuator configured to move the print head module along at least one axis.
Clause 15. the print head module of clauses 13-14, wherein the integrated control module further comprises a servo motor and a servo gearbox for controlling the actuator.
Clause 16. the print head module of clauses 13-15, wherein the integrated control module further comprises a combination of electrical components for driving the print head module, the electrical components comprising at least one of one or more amplifiers, one or more relays, one or more power sources, and/or one or more input/output (I/O) devices.
Clause 17. the print head module of clauses 13-16, wherein the diameter of the extrusion screw varies in a compression zone of the extrusion screw between a first end and a second end of the extrusion screw, the diameter of the extrusion screw increasing from a first diameter to a second diameter in the compression zone, the second end of the extrusion screw being adjacent to the printer nozzle, wherein a depth in a thread of the extrusion screw varies within the compression zone.
Clause 18. the print head module of clause 17, wherein the depth in the flight at the first end of the compression zone of the extrusion screw is greater than the maximum diameter of one or more of the plurality of polymer particles.
Clause 19. the print head module ofclause 18, wherein the depth of the thread decreases from the first end of the compression zone toward a second end of the compression zone such that the depth in the thread at the second end of the compression zone is less than the maximum diameter of the one or more of the plurality of polymeric particles.
Clause 20. a printer head for forming an article from a plurality of polymer particles, comprising:
a body including a barrel extending therethrough;
rotating an extrusion screw extending through the barrel, the extrusion screw including a plurality of threads extending from a first end to a second end, wherein a diameter of the extrusion screw varies in a compression zone of the extrusion screw between the first and second ends of the extrusion screw; and the number of the first and second groups,
a printer nozzle disposed at the second end of the extrusion screw,
wherein a depth in the threads at the first end of the compression zone is greater than a maximum diameter of one or more of the plurality of polymer particles, and
wherein the depth of the threads decreases from the first end of the compression zone toward a second end of the compression zone such that the depth in the threads at the second end of the compression zone is less than the maximum diameter of the one or more of the plurality of polymeric particles.
This written description uses examples to disclose the invention, including the best mode, and also to enable any person skilled in the art to practice the invention, including making and using any devices or systems and performing any incorporated methods. The patentable scope of the invention is defined by the claims, and may include other examples that occur to those skilled in the art. Such other examples are intended to be within the scope of the claims if they include structural elements that do not differ from the literal language of the claims, or if they include equivalent structural elements with insubstantial differences from the literal languages of the claims.

Claims (20)

CN201980098807.4A2019-07-262019-07-26Modular extrusion system for forming articlesPendingCN114126841A (en)

Applications Claiming Priority (1)

Application NumberPriority DateFiling DateTitle
PCT/US2019/043689WO2021021083A1 (en)2019-07-262019-07-26Modular extrusion system for forming an article

Publications (1)

Publication NumberPublication Date
CN114126841Atrue CN114126841A (en)2022-03-01

Family

ID=67614628

Family Applications (1)

Application NumberTitlePriority DateFiling Date
CN201980098807.4APendingCN114126841A (en)2019-07-262019-07-26Modular extrusion system for forming articles

Country Status (4)

CountryLink
US (1)US20220250316A1 (en)
EP (1)EP4003700A1 (en)
CN (1)CN114126841A (en)
WO (1)WO2021021083A1 (en)

Citations (13)

* Cited by examiner, † Cited by third party
Publication numberPriority datePublication dateAssigneeTitle
CN204505858U (en)*2015-03-232015-07-29西安科技大学Particle feed screw extrusion 3 D-printing ejecting device
CN105216327A (en)*2015-10-272016-01-06大连理工大学A kind of melt extrusion apparatus of thermoplastic granulates material and 3D Method of printing thereof
CN105666640A (en)*2016-01-292016-06-15深圳森工科技有限公司Printer nozzle, 3D printer and forming method
CN106029345A (en)*2014-02-252016-10-12柚山精3D printer
US20160311159A1 (en)*2015-04-242016-10-27Caterpillar IncSystem and method for forming an object using additive manufacturing process
US20160377051A1 (en)*2015-06-292016-12-29General Electric CompanyStructural component for a modular rotor blade
US20170050382A1 (en)*2015-08-212017-02-23Voxel8, Inc.Closed-Loop 3D Printing Incorporating Sensor Feedback
CN108140064A (en)*2015-09-212018-06-08西门子产品生命周期管理软件公司 Method, system and non-transitory computer readable medium for distributing multilayer composites within a structural volume containing inclusions
CN108327252A (en)*2018-04-112018-07-27清华大学Screw extrusion system and 3D printer comprising the system
CN108437444A (en)*2018-03-312018-08-24宁夏共享模具有限公司A kind of extrusion mechanism of technical grade FDM printing devices
US20190099946A1 (en)*2017-10-032019-04-04Jabil Inc.Apparatus, system and method for an additive manufacturing print head
CN110039766A (en)*2019-04-282019-07-23华中科技大学A kind of mixed powder feeding spray nozzle device of fused glass pellet 3D printer
CN110039795A (en)*2018-01-172019-07-23空中客车西班牙有限责任公司Method for manufacturing aerospace component

Family Cites Families (9)

* Cited by examiner, † Cited by third party
Publication numberPriority datePublication dateAssigneeTitle
US20150306823A1 (en)*2014-04-292015-10-29Makerbot Industries, LlcMultiple extrusion in three-dimensional printing
ES2995760T3 (en)*2015-08-072025-02-11Arconic Tech LlcArchitectural manufactures, apparatus and methods using additive manufacturing techniques
US20170291364A1 (en)*2016-04-112017-10-12Timothy W. WomerSingle screw micro-extruder for 3d printing
CN107443739B (en)*2016-05-302019-11-08刘江A kind of same layer continuous fiber composite material 3D printer ejecting device
US11254901B2 (en)*2016-07-122022-02-22Deka Products Limited PartnershipSystem and method for printing tissue
DE102016213439A1 (en)*2016-07-222018-01-25Robert Bosch Gmbh Extruder for 3D printers with variable material throughput
US10688719B2 (en)*2016-08-312020-06-23Thermwood CorporationMethods and apparatus for processing and dispensing material during additive manufacturing
CN107839229A (en)*2016-09-172018-03-27罗天珍Spliced more shower nozzle FDM 3D methods of forming and more extruder assembly systems
DE102018128107A1 (en)*2018-11-092020-05-14GEWO Feinmechanik GmbH Printing device for printing 3D objects

Patent Citations (13)

* Cited by examiner, † Cited by third party
Publication numberPriority datePublication dateAssigneeTitle
CN106029345A (en)*2014-02-252016-10-12柚山精3D printer
CN204505858U (en)*2015-03-232015-07-29西安科技大学Particle feed screw extrusion 3 D-printing ejecting device
US20160311159A1 (en)*2015-04-242016-10-27Caterpillar IncSystem and method for forming an object using additive manufacturing process
US20160377051A1 (en)*2015-06-292016-12-29General Electric CompanyStructural component for a modular rotor blade
US20170050382A1 (en)*2015-08-212017-02-23Voxel8, Inc.Closed-Loop 3D Printing Incorporating Sensor Feedback
CN108140064A (en)*2015-09-212018-06-08西门子产品生命周期管理软件公司 Method, system and non-transitory computer readable medium for distributing multilayer composites within a structural volume containing inclusions
CN105216327A (en)*2015-10-272016-01-06大连理工大学A kind of melt extrusion apparatus of thermoplastic granulates material and 3D Method of printing thereof
CN105666640A (en)*2016-01-292016-06-15深圳森工科技有限公司Printer nozzle, 3D printer and forming method
US20190099946A1 (en)*2017-10-032019-04-04Jabil Inc.Apparatus, system and method for an additive manufacturing print head
CN110039795A (en)*2018-01-172019-07-23空中客车西班牙有限责任公司Method for manufacturing aerospace component
CN108437444A (en)*2018-03-312018-08-24宁夏共享模具有限公司A kind of extrusion mechanism of technical grade FDM printing devices
CN108327252A (en)*2018-04-112018-07-27清华大学Screw extrusion system and 3D printer comprising the system
CN110039766A (en)*2019-04-282019-07-23华中科技大学A kind of mixed powder feeding spray nozzle device of fused glass pellet 3D printer

Also Published As

Publication numberPublication date
US20220250316A1 (en)2022-08-11
EP4003700A1 (en)2022-06-01
WO2021021083A1 (en)2021-02-04

Similar Documents

PublicationPublication DateTitle
US11933264B2 (en)Method of manufacturing a wind turbine blade and wind turbine blade
US11548246B2 (en)Apparatus for manufacturing composite airfoils
US20220065217A1 (en)Methods for manufacturing wind turbine rotor blades and components thereof
WO2019103830A2 (en)Methods for manufacturing wind turbine rotor blade panels having printed grid structures
US10773464B2 (en)Method for manufacturing composite airfoils
US10830206B2 (en)Methods for manufacturing wind turbine rotor blades and components thereof
CN112118952B (en)Method for manufacturing a wind turbine rotor blade component
US20230234313A1 (en)Apparatus for manufacturing composite airfoils
CN111225784B (en)Movable molded assembly for use with additive manufacturing
US20190153993A1 (en)Multiple Material Combinations for Printed Reinforcement Structures of Rotor Blades
CN114126841A (en)Modular extrusion system for forming articles
CN112292251B (en)Method for manufacturing wind turbine rotor blades and components thereof
US20220250322A1 (en)Automated pellet drying and dispensing system for additive manufacturing
US20220250309A1 (en)Methods of forming thermoplastic print beads into net shape structures for use in additive manufacturing
CN112313064A (en)Method for manufacturing wind turbine rotor blades and components thereof
CN112384357A (en)Shear web for a wind turbine rotor blade and method of manufacturing the same

Legal Events

DateCodeTitleDescription
PB01Publication
PB01Publication
SE01Entry into force of request for substantive examination
SE01Entry into force of request for substantive examination
WD01Invention patent application deemed withdrawn after publication
WD01Invention patent application deemed withdrawn after publication

Application publication date:20220301


[8]ページ先頭

©2009-2025 Movatter.jp