Movatterモバイル変換


[0]ホーム

URL:


CN114087919A - Modular multi-stage coil gun - Google Patents

Modular multi-stage coil gun
Download PDF

Info

Publication number
CN114087919A
CN114087919ACN202010860181.0ACN202010860181ACN114087919ACN 114087919 ACN114087919 ACN 114087919ACN 202010860181 ACN202010860181 ACN 202010860181ACN 114087919 ACN114087919 ACN 114087919A
Authority
CN
China
Prior art keywords
coil
propulsion
controller
module
propulsion module
Prior art date
Legal status (The legal status is an assumption and is not a legal conclusion. Google has not performed a legal analysis and makes no representation as to the accuracy of the status listed.)
Pending
Application number
CN202010860181.0A
Other languages
Chinese (zh)
Inventor
祝凌云
Current Assignee (The listed assignees may be inaccurate. Google has not performed a legal analysis and makes no representation or warranty as to the accuracy of the list.)
Individual
Original Assignee
Individual
Priority date (The priority date is an assumption and is not a legal conclusion. Google has not performed a legal analysis and makes no representation as to the accuracy of the date listed.)
Filing date
Publication date
Application filed by IndividualfiledCriticalIndividual
Priority to CN202010860181.0ApriorityCriticalpatent/CN114087919A/en
Priority to PCT/CN2021/074077prioritypatent/WO2022041649A1/en
Publication of CN114087919ApublicationCriticalpatent/CN114087919A/en
Pendinglegal-statusCriticalCurrent

Links

Images

Classifications

Landscapes

Abstract

The invention belongs to the field of electromagnetic emission, and particularly relates to a modular multistage coil cannon, which comprises: a plurality of propulsion modules, body, battery, controller, temperature sensor, each propulsion module and controller use bus connection, wherein propulsion module includes: the device comprises a propelling coil, a position sensor, a microprocessor, an address coding switch and a current switch component; by the mode, the basic transmitting function is realized, and meanwhile, the functions of radio speed adjustment, power adjustment, temperature control and self-checking are realized, so that the reliability, expansibility and practicability of the system are improved.

Description

Modular multi-stage coil gun
Technical Field
The invention belongs to the field of electromagnetic emission, and particularly relates to a modular multistage coil cannon.
Background
The electromagnetic gun is a coil gun, which is usually used for physics teaching or research, and the basic principle is that a magnetic field generated by an electrified coil is used to attract ferromagnetic substances, generate speed and throw out the ferromagnetic substances.
At present, the commonly adopted realization method is to charge a capacitor after a battery is boosted, and then use a silicon controlled rectifier or a field effect transistor as an electronic switch to instantly release the electric energy stored in the capacitor to a coil, thereby forming a strong magnetic field to attract the projectile.
The realization method mainly has the following defects that long charging process is needed by using the capacitor for energy storage, and continuous emission in short time cannot be realized; the on and off time of the current in the coil can not be accurately controlled, so that the acceleration is insufficient and even the speed is reduced; for a multi-stage acceleration system, there is no communication between them, and adaptive adjustment cannot be effectively made, for example, a certain stage fails, and a later stage cannot make timing adjustment.
Disclosure of Invention
In order to solve the defects of the prior art, the invention provides a modular multistage coil gun which has the characteristics of high firing speed, adjustable firing speed and power and high reliability.
In order to realize the purpose, the adopted specific technical scheme is as follows: a modularized multi-stage coil gun mainly comprises a projectile body, a plurality of propelling modules, a battery pack, a controller and a temperature sensor, wherein the propelling modules are connected with the controller through a bus.
The bullet body adopts ferromagnet and can be attracted by magnetic force, and the material can be iron, cobalt, nickel or alloy containing iron, cobalt and nickel. The projectile shape is a solid of revolution in the direction of launch, such as a cylinder, or a non-solid of revolution, such as a pie, cuboid; for a non-revolving body, the shape is not circularly symmetrical relative to the emission direction, so that a large emission angle is formed by air disturbance after emission, a larger area can be covered during high-speed continuous emission, and the hit probability can be effectively increased in a short distance.
The propulsion module mainly comprises a propulsion coil, a position sensor, a microprocessor, an address coding switch and a current switch component; the address coding switch is used for determining the address of the module, different modules have different addresses, and for information on the bus, if the address information is the same as the address of the module, the information is executed as an instruction, otherwise, the information is not processed; after receiving a working instruction on the bus, the microprocessor opens the electronic switch to supply power to the coil, starts the position sensor to observe the position of the projectile body in real time, closes the electronic switch to stop supplying power to the coil at a position (usually, the position is near the middle part of the coil) which enables the projectile body to leave at the maximum speed, and simultaneously sends feedback of an execution result to the bus; the propulsion coil is also shaped as a solid of revolution or a non-solid of revolution in the direction of launch.
The position sensor is an important component in the propulsion module and is used for carrying out real-time and high-precision observation on the position of the projectile body; the sensor is formed by connecting two groups of coils with opposite winding directions and the same number of turns in series, is positioned between a space envelope formed by the propelling coil and the projectile body and is sequentially arranged along the launching direction; when the propelling coil works, magnetic flux is generated, when the projectile body does not enter, the magnetic flux passing through the two sensor coils is the same in size, and because the winding directions of the two coils of the sensors are opposite, electromotive force generated by the change of the magnetic flux is mutually counteracted, and the output electromotive force is zero; when a ferromagnetic projectile enters, due to the fact that the two sensor coils have the sequence, magnetic flux changes of the two sensor coils are not the same, generated electromotive force cannot be completely offset, and therefore the electromotive force is output, and the accurate position of the projectile can be judged by detecting the size and the phase of the electromotive force; the sensor coil is also shaped as a solid of revolution or non-solid of revolution in the direction of transmission.
The battery pack adopts an electric core with extremely low internal resistance, because the coil needs hundreds, thousands or even thousands of amperes of current when working, the internal resistance of the general electric core is relatively high, great voltage drop can be caused when working, and sufficient current can not be provided; the battery pack directly supplies power to the propulsion coil, and an intermediate link of capacitor energy storage is not adopted, so that the time interval caused by charging between two times of transmission is greatly reduced.
The controller is connected with the plurality of propelling modules through the bus, and information interaction can be realized among the propelling modules; the main contents transmitted in the bus are: the method comprises the following steps of pushing a module address, a working instruction, an execution result, self-checking information and a fault code; for the launching of a single projectile, the controller sequentially sends working instructions to each propelling module according to a certain sequence, so that the multistage continuous propelling of the projectile can be completed, and meanwhile, the sequence is adjusted and optimized according to the execution result fed back by the propelling modules, so that the launching efficiency is improved; the continuous emission of a plurality of pieces can be realized by continuously repeating the instruction sequence, and the emission speed can be adjusted by changing the frequency of the repeated process; if the number and the time sequence of the propelling modules participating in the work are changed by the controller, the kinetic energy of the projectile body can be changed, and the adjustment of the transmitting power is realized; reducing the transmitting power means that part of the modules do not work in a single transmitting process, and for this reason, in the process of continuously transmitting a plurality of modules, the modules work alternately according to the principle that the working times of each module are the same or close to each other, so that the balance of heat productivity is realized, the stability is improved, and the service life is prolonged; when the system is started, the propulsion modules can perform self-checking once and send self-checking information to the bus, if a certain propulsion module cannot pass the self-checking, the controller disables the modules in the transmission process after receiving the information and adaptively adjusts the transmission time sequence to ensure that the whole system can continue to work, if the modules break down in the working process, the controller can send fault codes, and the controller can also make the adjustment of the disabled modules to ensure that the system can continue to run.
The temperature sensor feeds back the acquired temperature to the controller, and when the normal work of the system is possibly influenced by overhigh temperature, the controller can actively limit the shooting speed and the transmitting power and ensure that the temperature does not rise any more.
The invention has the beneficial effects that:
firstly, the battery pack directly supplies power to the coil, and an intermediate link of capacitor energy storage is not adopted, so that the time interval caused by charging between two times of transmission is greatly reduced, and high-speed continuous transmission can be realized.
And the bus system can realize the interaction between the propulsion module and the controller, coordinate the control logic in real time to achieve the optimal working state, and simultaneously timely deal with and adjust the faults.
Compared with the traditional photoelectric position sensor which can only detect one position, the sensor adopted in the propulsion module can detect the position of the projectile in the propulsion coil in real time; meanwhile, the structure of the transmitting pipeline is not influenced by opening holes in the transmitting pipeline like a photoelectric sensor, the integral strength and sealing performance are improved, and in addition, the influence of external factors such as light, temperature and the like is hardly caused, and the reliability and stability are greatly improved.
The non-revolving body projectile body adopted in the invention is cake-shaped or cuboid, is more easily disturbed by air after going out of the chamber, can form a larger scattering angle, and can effectively increase the hit probability in a short distance.
And the modularized framework is matched with a bus type system, so that the self-adaption performance is stronger, the launching series can be conveniently expanded, and a road is paved for the practicability and productization of the multi-stage coil cannon.
Drawings
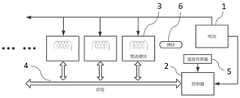
Fig. 1 is a system configuration block diagram.
Fig. 2 is a schematic diagram of a position sensor assembly.
In the figure: 1. a battery; 2. a controller; 3. a propulsion module; 4. a bus; 5. a temperature sensor; 6. a body of elastomer; 201. asensor coil 1; 202. asensor coil 2; 203. a connection point; 204. a propulsion coil.
Detailed Description
The invention is elucidated below with reference to the accompanying drawings.
Fig. 1 is a block diagram of a system, in which abattery 1 supplies power to apropulsion module 3 and acontroller 2, thecontroller 2 and thepropulsion module 3 are connected by abus 4, atemperature sensor 5 is connected to thecontroller 2, and when thecontroller 2 sends a launch command to thepropulsion module 3 by thebus 4, aprojectile body 6 can be launched; thepropulsion module 3 and thebus 4 can be expanded to realize multi-stage continuous propulsion.
Fig. 2 illustrates a position sensor in thepropulsion module 3, which is composed of asensor coil 201 and asensor coil 202, which are connected in series via aconnection point 203 and then placed in apropulsion coil 204.

Claims (10)

CN202010860181.0A2020-08-252020-08-25Modular multi-stage coil gunPendingCN114087919A (en)

Priority Applications (2)

Application NumberPriority DateFiling DateTitle
CN202010860181.0ACN114087919A (en)2020-08-252020-08-25Modular multi-stage coil gun
PCT/CN2021/074077WO2022041649A1 (en)2020-08-252021-01-28Modular multi-stage coil gun

Applications Claiming Priority (1)

Application NumberPriority DateFiling DateTitle
CN202010860181.0ACN114087919A (en)2020-08-252020-08-25Modular multi-stage coil gun

Publications (1)

Publication NumberPublication Date
CN114087919Atrue CN114087919A (en)2022-02-25

Family

ID=80295704

Family Applications (1)

Application NumberTitlePriority DateFiling Date
CN202010860181.0APendingCN114087919A (en)2020-08-252020-08-25Modular multi-stage coil gun

Country Status (2)

CountryLink
CN (1)CN114087919A (en)
WO (1)WO2022041649A1 (en)

Cited By (1)

* Cited by examiner, † Cited by third party
Publication numberPriority datePublication dateAssigneeTitle
CN116105544A (en)*2022-11-012023-05-12张彭曦Solenoid type electromagnet driving device suitable for electromagnetic ejection and electromagnetic gun

Citations (5)

* Cited by examiner, † Cited by third party
Publication numberPriority datePublication dateAssigneeTitle
CN202109817U (en)*2011-06-142012-01-11胡生云Rail type coil gun
CN104105986A (en)*2012-02-172014-10-15梅特勒-托利多安全线有限公司Metal detector for production and packaging lines
CN108445763A (en)*2018-03-212018-08-24东南大学Electromagnetic ejection system and control method based on cylinder type flux switching straight line motor
CN209726919U (en)*2019-02-272019-12-03安徽理工大学It is a kind of that magnetic artillery experimental provision is accelerated based on the multistage of STM32 control
KR102082682B1 (en)*2018-10-162020-04-24한화디펜스 주식회사Coil gun

Family Cites Families (3)

* Cited by examiner, † Cited by third party
Publication numberPriority datePublication dateAssigneeTitle
US5158291A (en)*1992-01-211992-10-27William Electronics Games, Inc.Ball accelerator for rolling ball games
CN105990984A (en)*2015-03-052016-10-05陈启星Radial magnetic cylinder rotor-based linear motor
US10082360B2 (en)*2016-05-252018-09-25Honeywell Federal Manufacturing & Technologies, LlcElectromagnetic launcher with spiral guideway

Patent Citations (5)

* Cited by examiner, † Cited by third party
Publication numberPriority datePublication dateAssigneeTitle
CN202109817U (en)*2011-06-142012-01-11胡生云Rail type coil gun
CN104105986A (en)*2012-02-172014-10-15梅特勒-托利多安全线有限公司Metal detector for production and packaging lines
CN108445763A (en)*2018-03-212018-08-24东南大学Electromagnetic ejection system and control method based on cylinder type flux switching straight line motor
KR102082682B1 (en)*2018-10-162020-04-24한화디펜스 주식회사Coil gun
CN209726919U (en)*2019-02-272019-12-03安徽理工大学It is a kind of that magnetic artillery experimental provision is accelerated based on the multistage of STM32 control

Cited By (1)

* Cited by examiner, † Cited by third party
Publication numberPriority datePublication dateAssigneeTitle
CN116105544A (en)*2022-11-012023-05-12张彭曦Solenoid type electromagnet driving device suitable for electromagnetic ejection and electromagnetic gun

Also Published As

Publication numberPublication date
WO2022041649A1 (en)2022-03-03

Similar Documents

PublicationPublication DateTitle
CN104634161B (en)The self-propelled multitube magnetic artillery of wireless remote control
CN104722089B (en)Magnetic core pellet acceleration device, magnetic core pellet used in cooperation with same and electromagnetic toy gun
CN105890450A (en)Electromagnetic transmitter with annular connectors
CN102195513A (en)Self-coupled air-core superconducting energy storage pulse transformer
CN114087919A (en)Modular multi-stage coil gun
CN116105544A (en)Solenoid type electromagnet driving device suitable for electromagnetic ejection and electromagnetic gun
WO2008112012A2 (en)Supercapacitor power supply
CN111780615A (en) Electromagnetic Coil Launching Device With Automatically Adjusting Muzzle Velocity
CN112161516A (en)Magnetic resistance electromagnetic damping and energy recovery device
Beach et al.Present and future naval applications for pulsed power
CN110160393B (en)Small electromagnetic transmitting device
CN112161515A (en) A magnetoresistive electromagnetic emission energy recovery device
Zhiyuan et al.Dynamic research of multi-stage reluctance coil gun
CN2907080Y (en)Electromagnetic object emission device with energy storage in capacitor
CN202758527U (en)Magnetic induction test demonstration device
Liang et al.Overall technology research of an UAV-launcher system based on electromagnetic launch
CN202836345U (en)Portable reluctance electromagnetic coil gun
CN205075020U (en)Electromagnetic power actuated setting device
CN116346034B (en)Resonance device suitable for miniaturized multistage electromagnetic gun and operation method thereof
CN115900435A (en)Dc coil gun suitable for various guns
Su et al.The feasibility study of high-velocity multi-stage induction coilgun
Aubuchon et al.Study of coilgun performance and comments on powered armatures
CN110645829A (en)Annular accelerating missile electromagnetic gun
CN116499306B (en) A magnetoresistive mover and magnetoresistive cruise missile launching device
CN116481378B (en) A magnetic induction type mover and a magnetic induction type cruise missile launching device

Legal Events

DateCodeTitleDescription
PB01Publication
PB01Publication
SE01Entry into force of request for substantive examination
SE01Entry into force of request for substantive examination
WD01Invention patent application deemed withdrawn after publication
WD01Invention patent application deemed withdrawn after publication

Application publication date:20220225


[8]ページ先頭

©2009-2025 Movatter.jp