Movatterモバイル変換


[0]ホーム

URL:


CN114063283A - Near-to-eye display optical device and method thereof - Google Patents

Near-to-eye display optical device and method thereof
Download PDF

Info

Publication number
CN114063283A
CN114063283ACN202010751013.8ACN202010751013ACN114063283ACN 114063283 ACN114063283 ACN 114063283ACN 202010751013 ACN202010751013 ACN 202010751013ACN 114063283 ACN114063283 ACN 114063283A
Authority
CN
China
Prior art keywords
coupling
waveguide
monochromatic
region
monochromatic image
Prior art date
Legal status (The legal status is an assumption and is not a legal conclusion. Google has not performed a legal analysis and makes no representation as to the accuracy of the status listed.)
Pending
Application number
CN202010751013.8A
Other languages
Chinese (zh)
Inventor
陈杭
王雁茹
胡增新
Current Assignee (The listed assignees may be inaccurate. Google has not performed a legal analysis and makes no representation or warranty as to the accuracy of the list.)
Sunny Optical Zhejiang Research Institute Co Ltd
Original Assignee
Sunny Optical Zhejiang Research Institute Co Ltd
Priority date (The priority date is an assumption and is not a legal conclusion. Google has not performed a legal analysis and makes no representation as to the accuracy of the date listed.)
Filing date
Publication date
Application filed by Sunny Optical Zhejiang Research Institute Co LtdfiledCriticalSunny Optical Zhejiang Research Institute Co Ltd
Priority to CN202010751013.8ApriorityCriticalpatent/CN114063283A/en
Publication of CN114063283ApublicationCriticalpatent/CN114063283A/en
Pendinglegal-statusCriticalCurrent

Links

Images

Classifications

Landscapes

Abstract

Translated fromChinese

一种近眼显示光学设备及其方法。该近眼显示光学设备包括至少一图像光投射组件和至少一波导器件。该波导器件包括一波导组、一耦入元件组以及一耦出元件组。该波导组具有一耦入区域和一耦出区域,用于将从该耦入区域耦入的至少二单色图像光传播至该耦出区域。该耦入元件组被对应地设置于该波导组的该耦入区域,并且该耦入元件对应于该图像光投射组件,用于将经由该图像光投射组件投射的该至少二单色图像光从该耦入区域耦入该波导组。该耦出元件组被对应地设置于该波导组的该耦出区域,用于将经由该波导组传播的该至少二单色图像光从该耦出区域耦出,以形成具有相同角度空间分布的至少二单色图像光。

Figure 202010751013

A near-eye display optical device and method thereof. The near-eye display optical device includes at least one image light projection component and at least one waveguide device. The waveguide device includes a waveguide group, an in-coupling element group and an out-coupling element group. The waveguide group has an in-coupling region and an out-coupling region for propagating at least two monochromatic image lights coupled in from the coupling-in region to the coupling-out region. The coupling-in element group is correspondingly disposed in the coupling-in region of the waveguide group, and the coupling-in element corresponds to the image light projection component, and is used for projecting the at least two monochromatic image lights projected through the image light projection component The waveguide group is coupled from the coupling-in region. The out-coupling element group is correspondingly disposed in the out-coupling area of the waveguide group, for coupling out the at least two monochromatic image lights propagating through the waveguide group from the out-coupling area to form a spatial distribution with the same angle of at least two monochromatic image lights.

Figure 202010751013

Description

Near-to-eye display optical device and method thereof
Technical Field
The invention relates to the technical field of near-eye display, in particular to near-eye display optical equipment and a method thereof.
Background
In recent years, with the advent of LED technology and micro display chip technology, miniaturization and high-resolution projection display have become possible. With the continuous development of projection display technology and market demand, wearable micro projection light engines with large view field, high imaging quality and small volume are more and more emphasized, especially in the fields of developing Augmented Reality (AR), Near-eye display (NED) and wearable display of fire and heat nowadays.
Currently, existing near-eye display systems generally consist of a micro projection light engine and a waveguide display device, so that image light from the micro projection light engine is transmitted to human eyes through the waveguide display device to realize near-eye display. Specifically, as shown in fig. 1, the conventionalmicro-projection light engine 1P generally includes anillumination system 10P, arelay lens assembly 20P, adisplay chip 30P and aprojection imaging system 40P, wherein therelay lens assembly 20P is located in an illumination path of theillumination system 10P, and thedisplay chip 30P and theprojection imaging system 40P are respectively located at opposite sides of therelay lens assembly 20P. When theillumination system 10P emits the illumination beam along the illumination path, therelay lens group 20P transmits the illumination beam to thedisplay chip 30P first, so as to transmit the image light to theprojection imaging system 40P after modulating the illumination beam into the image light by thedisplay chip 30P such as LCOS, so as to project and image the image light by theprojection imaging system 40P.
In addition, in order to realize color display, theillumination system 10P of the existingmicro-projection light engine 1P generally employs a color combining device such as an X-Cube (X-Cube) or the like to combine the primary lights from the three optical paths into the same optical path. As shown in fig. 1, the X color-combination prism is generally formed by gluing four right-angle prisms 11P along right-angle surfaces, and the right-angle surfaces of the right-angle prisms 11P are plated with respective first andsecond film systems 12P, 13P; the inclined planes of the four right-angle prisms 11P are respectively used as the input plane and the output plane of light, the red, green and blue three-primary-color polarized light sources 14P respectively correspond to the inclined planes of the three right-angle prisms 11P, and the inclined plane of the other one of the right-angle prisms 11P is used as the output plane after the three-primary-color light is synthesized into white light.
However, although the X color combining prism can combine three primary lights into one white light, the X color combining prism is limited by its own structure, which is relatively loose and bulky, so that the lighting system equipped with the X color combining prism has a relatively large volume and weight. In particular, the existing micro projection light engine has many disadvantages due to its structural limitation (as shown in fig. 1, the illumination beam emitted by theillumination system 10P must pass through the large and heavyrelay lens group 20P to reach the illumination area required by thedisplay chip 30P, and the illumination beam is transmitted in a turning manner so as to modulate the image light through thedisplay chip 30P, etc.), such as large size, heavy equipment, great difficulty in manufacturing, etc., which makes it difficult to meet the market demand for the small and light micro projection light engine, and especially cannot be widely applied and popularized in the fields of augmented reality, near-eye display, wearable, etc.
Disclosure of Invention
An advantage of the present invention is to provide a near-eye display optical apparatus and a method thereof that can satisfy the market demand for a small-sized, light-weight near-eye display optical apparatus.
Another advantage of the present invention is to provide a near-eye display optical apparatus and a method thereof, wherein in an embodiment of the present invention, a waveguide device of the near-eye display optical apparatus can implement a near-eye display and a color combining function such as an X color combining prism, so as to overcome the problems of large volume and heavy weight caused by the limitations of the structure of the existing micro projection light engine.
Another advantage of the present invention is to provide a near-eye display optical apparatus and a method thereof, wherein in an embodiment of the present invention, the waveguide device can modulate monochromatic image lights with different angular spatial distributions into image lights with the same angular spatial distribution, so as to directly realize color combination in front of human eyes, thereby realizing color display without additionally providing a color combination device.
Another advantage of the present invention is to provide a near-eye display optical device and a method thereof, wherein in an embodiment of the present invention, the near-eye display optical device does not need to use polarized light and compound eye technology, and can greatly improve the light energy utilization rate.
Another advantage of the present invention is to provide a near-eye display optical device and a method thereof, wherein in an embodiment of the present invention, the near-eye display optical device uses a waveguide to directly perform color combining without an additional color combining device, so that the whole device is more compact, smaller in size, lighter in weight, and also helpful for reducing processing and assembling difficulties and reducing cost.
Another advantage of the present invention is to provide a near-eye display optical device and a method thereof, wherein in an embodiment of the present invention, an image source of the near-eye display optical device employs a monochromatic self-luminous display chip, and an illumination relay in a conventional system is omitted, so as to reduce cost on the basis of greatly reducing the volume and weight of a micro-projection light engine.
Another advantage of the present invention is to provide a near-eye display optical device and a method thereof, wherein, in an embodiment of the present invention, the near-eye display optical device adopts an innovative system design to achieve a small enough volume, so that the near-eye display optical device is wearable and is capable of facing consumers.
Another advantage of the present invention is to provide a near-eye display optical apparatus and a method thereof, in which it is not necessary to use expensive materials or complicated structures in the present invention in order to achieve the above objects. Accordingly, the present invention successfully and efficiently provides a solution that not only provides a simple near-eye display optical apparatus and method thereof, but also increases the practicality and reliability of the near-eye display optical apparatus and method thereof.
To achieve at least one of the above advantages or other advantages and objects, the present invention provides a near-eye display optical device including:
at least one image light projecting assembly, wherein the image light projecting assembly is configured to project at least two monochromatic image lights; and
at least one waveguide device, wherein the waveguide device comprises:
a waveguide assembly, wherein the waveguide assembly has an in-coupling region and an out-coupling region for propagating the at least two monochromatic image lights coupled in from the in-coupling region to the out-coupling region;
an incoupling element group, wherein the incoupling element group is correspondingly arranged at the incoupling region of the waveguide group, and the incoupling element corresponds to the image light projection component, for incoupling the at least two monochromatic image lights projected by the image light projection component from the incoupling region into the waveguide group; and
and the coupling-out element groups are correspondingly arranged at the coupling-out region of the waveguide group and are used for coupling the at least two monochromatic image lights propagated through the waveguide group out of the coupling-out region to form at least two monochromatic image lights with the same angular spatial distribution.
According to an embodiment of the present invention, the waveguide set includes a first waveguide layer, a second waveguide layer, and a third waveguide layer stacked in this order, wherein the first waveguide layer is configured to propagate the first monochromatic image light having the first angular spatial distribution of the at least two monochromatic image lights from the coupling-in region to the coupling-out region; wherein the second waveguide layer is configured to propagate a second monochromatic image light having a second angular spatial distribution of the at least two monochromatic image lights from the in-coupling region to the out-coupling region; wherein the third waveguide layer is configured to propagate a third monochromatic image light having a third angular spatial distribution of the at least two monochromatic image lights from the in-coupling region to the out-coupling region.
According to an embodiment of the present invention, the coupling-in element group includes a first coupling-in element correspondingly disposed on the first waveguide layer, a second coupling-in element correspondingly disposed on the second waveguide layer, and a third coupling-in element correspondingly disposed on the third waveguide layer, and the coupling-out element group includes a first coupling-out element correspondingly disposed on the first waveguide layer, a second coupling-out element correspondingly disposed on the second waveguide layer, and a third coupling-out element correspondingly disposed on the third waveguide layer.
According to an embodiment of the present invention, the first incoupling element, the second incoupling element and the third incoupling element are stacked in alignment in this order, and the first incoupling element and the third incoupling element are adapted to be located adjacent to and remote from the image light projection assembly, respectively, wherein the first incoupling element is adapted to couple the first monochromatic image light having the first angular spatial distribution into the first waveguide layer and to allow the second monochromatic image light having the second angular spatial distribution and the third monochromatic image light having the third angular spatial distribution to pass through; wherein the second incoupling element is configured to optically couple the second monochromatic image having the second angular spatial distribution into the second waveguide layer and to allow the third monochromatic image having the third angular spatial distribution to pass through; wherein the third incoupling element is for optically coupling the third monochromatic image having the third angular spatial distribution into the third waveguide layer.
According to an embodiment of the invention, the first incoupling element, the second incoupling element and the third incoupling element are stacked in sequence with a misalignment, wherein the first incoupling element is used for coupling the first monochromatic image light with the first angular spatial distribution into the first waveguide layer; wherein the second incoupling element is for optically coupling the second monochromatic image having the second angular spatial distribution into the second waveguide layer; wherein the third incoupling element is for optically coupling the third monochromatic image having the third angular spatial distribution into the third waveguide layer.
According to an embodiment of the invention, the first outcoupling element, the second outcoupling element and the third outcoupling element are stacked in order in alignment.
According to an embodiment of the invention, the set of incoupling elements and the set of outcoupling elements each comprise one or more of a surface relief grating, a bulk grating, a super-surface, a plasmon, and a photonic crystal.
According to an embodiment of the present invention, the image light projecting assembly includes an image source and an imaging lens, wherein the image source is configured to emit at least two monochromatic image lights carrying the same image information, and the imaging lens is disposed in an optical path between the image source and the coupling-in region of the waveguide set of the waveguide device, and is configured to perform imaging processing on the at least two monochromatic image lights from the image source to project the at least two monochromatic image lights with different angular spatial distributions to the coupling-in region of the waveguide set.
According to an embodiment of the invention, the image source includes at least two monochromatic self-luminous display chips, wherein the at least two monochromatic self-luminous display chips have the same luminous surface, and the at least two monochromatic self-luminous display chips have a position offset with respect to an image plane of the imaging lens.
According to an embodiment of the invention, the at least two monochromatic self-luminous display chips are Micro LED chips or OLED chips.
According to an embodiment of the present invention, the at least two monochromatic self-light emitting display chips include a first monochromatic self-light emitting display chip, a second monochromatic self-light emitting display chip, and a third monochromatic self-light emitting display chip, wherein the first monochromatic self-light emitting display chip, the second monochromatic self-light emitting display chip, and the third monochromatic self-light emitting display chip are disposed side by side on a same side of the imaging lens, and the first monochromatic self-light emitting display chip, the second monochromatic self-light emitting display chip, and the third monochromatic self-light emitting display chip are offset with respect to an image plane of the imaging lens.
According to an embodiment of the present invention, the first monochromatic self-light emitting display chip is configured to emit red image light, the second monochromatic self-light emitting display chip is configured to emit green image light, and the third monochromatic self-light emitting display chip is configured to emit blue image light.
According to an embodiment of the present invention, the imaging lens is selected from one of an imaging lens group, a fold-back lens, a superlens, and a diffractive lens.
According to another aspect of the present invention, the present invention further provides a method of manufacturing a near-eye display optical device, comprising the steps of:
correspondingly arranging a coupling-in element group and a coupling-out element group in a coupling-in area and a coupling-out area of a waveguide group respectively to obtain a waveguide device; and
correspondingly disposing an image light projecting component on the coupling-in region of the waveguide set of the waveguide device, wherein the image light projecting component is configured to project at least two monochromatic image lights with different angular spatial distributions to the coupling-in region of the waveguide set, and the coupling-in element set and/or the coupling-out element set are configured to modulate the at least two monochromatic image lights with different angular spatial distributions to form at least two monochromatic image lights with the same angular spatial distribution, so as to implement a combined color display.
Further objects and advantages of the invention will be fully apparent from the ensuing description and drawings.
These and other objects, features and advantages of the present invention will become more fully apparent from the following detailed description, the accompanying drawings and the claims.
Drawings
Fig. 1 is a schematic diagram illustrating a conventional micro projection light engine.
Fig. 2 is a schematic structural diagram of a near-eye display optical device according to an embodiment of the present invention.
Fig. 3 shows a schematic diagram of a waveguide device of the near-eye display optical apparatus according to the above-described embodiment of the present invention.
Fig. 4A to 4D show a variant of the waveguide device according to the above embodiment of the invention.
Fig. 5 is a schematic structural diagram illustrating an image light projecting assembly of the near-eye display optical apparatus according to the above-described embodiment of the present invention.
Fig. 6 shows a first variant implementation of the image light projection assembly according to the above-described embodiment of the invention.
Fig. 7 shows a second variant implementation of the image light projection assembly according to the above-described embodiment of the invention.
Fig. 8 shows a third variant implementation of the image light projection assembly according to the above-described embodiment of the invention.
Fig. 9 is a schematic flow chart of a color combination display method of a waveguide device according to an embodiment of the invention.
Fig. 10 is a flow chart illustrating a method of manufacturing a near-eye display optical device according to an embodiment of the invention.
Detailed Description
The following description is presented to disclose the invention so as to enable any person skilled in the art to practice the invention. The preferred embodiments in the following description are given by way of example only, and other obvious variations will occur to those skilled in the art. The basic principles of the invention, as defined in the following description, may be applied to other embodiments, variations, modifications, equivalents, and other technical solutions without departing from the spirit and scope of the invention.
It will be understood by those skilled in the art that in the present disclosure, the terms "longitudinal," "lateral," "upper," "lower," "front," "rear," "left," "right," "vertical," "horizontal," "top," "bottom," "inner," "outer," and the like are used in an orientation or positional relationship indicated in the drawings for ease of description and simplicity of description, and do not indicate or imply that the referenced devices or components must be constructed and operated in a particular orientation and thus are not to be considered limiting.
In the present invention, the terms "a" and "an" in the claims and the description should be understood as meaning "one or more", that is, one element may be one in number in one embodiment, and the element may be more than one in number in another embodiment. The terms "a" and "an" should not be construed as limiting the number unless the number of such elements is explicitly recited as one in the present disclosure, but rather the terms "a" and "an" should not be construed as being limited to only one of the number.
In the description of the present invention, it is to be understood that the terms "first," "second," and the like are used for descriptive purposes only and are not to be construed as indicating or implying relative importance. In the description of the present invention, it should be noted that, unless explicitly stated or limited otherwise, the terms "connected" and "connected" are to be interpreted broadly, and may be, for example, fixedly connected, detachably connected, or integrally connected; can be mechanically or electrically connected; they may be directly connected or indirectly connected through an intermediate. The specific meanings of the above terms in the present invention can be understood by those skilled in the art according to specific situations.
In the description herein, references to the description of the term "one embodiment," "some embodiments," "an example," "a specific example," or "some examples," etc., mean that a particular feature, structure, material, or characteristic described in connection with the embodiment or example is included in at least one embodiment or example of the invention. In this specification, the schematic representations of the terms used above are not necessarily intended to refer to the same embodiment or example. Furthermore, the particular features, structures, materials, or characteristics described may be combined in any suitable manner in any one or more embodiments or examples. Furthermore, various embodiments or examples and features of different embodiments or examples described in this specification can be combined and combined by one skilled in the art without contradiction.
The existing micro-projection optical system generally comprises an illumination module and an imaging module, and in order to realize color display, the illumination module generally needs to contain a light source, a color combination device and a light evening device, which results in large volume and heavy weight of the whole micro-projection optical system and a near-eye display system thereof. However, the size and weight of the current AR and NED wearable products are more and more demanding, and only products with small enough size, light weight, low cost and high imaging quality can meet the market demand. Accordingly, to meet market needs, the present application provides a near-eye display optical device and method thereof.
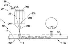
Referring to fig. 2 and 3 of the drawings, a near-eye display optical apparatus 1 according to an embodiment of the present invention is illustrated, wherein the near-eye display optical apparatus 1 includes at least onewaveguide device 10 and at least one imagelight projecting component 20, wherein thewaveguide device 10 may include a waveguide set 11, and the waveguide set 11 has a coupling-inregion 1101 and a coupling-out region 1102 for propagating at least twomonochromatic image lights 200 coupled in from the coupling-inregion 1101 to the coupling-out region 1102.
Specifically, the imagelight projecting assembly 20 is disposed at one side of the waveguide set 11 of thewaveguide device 10, and corresponds to the coupling-inarea 1101 of the waveguide set 11, and is configured to project at least twomonochromatic image lights 200 having different angular spatial distributions to the coupling-inarea 1101 of the waveguide set 11, wherein thewaveguide device 10 is configured to propagate the at least twomonochromatic image lights 200, and modulate the at least twomonochromatic image lights 200 having different angular spatial distributions into the at least twomonochromatic image lights 200 having the same angular spatial distribution, so as to achieve superposition in front of human eyes, thereby achieving full-color near-eye display.
More specifically, as shown in fig. 2, thewaveguide device 10 may further include a set of coupling-inelements 12 and a set of coupling-outelements 13. Theincoupling element group 12 is correspondingly disposed at theincoupling region 1101 of thewaveguide group 11, and theincoupling element group 12 is adapted to correspond to the imagelight projection assembly 20, for incoupling the at least twomonochromatic image lights 200 having different angular spatial distributions, which are projected via the imagelight projection assembly 20, from theincoupling region 1101 into thewaveguide group 11. The out-coupling element group 13 is disposed in the out-coupling region 1102 of thewaveguide group 11, and is used for coupling the at least twomonochromatic image lights 200 propagated through thewaveguide group 11 out of the out-coupling region 1102 to form the at least twomonochromatic image lights 200 having the same angular spatial distribution, so as to implement color-combination display.
It should be noted that, since the at least twomonochromatic image lights 200 with different angular spatial distributions projected by the imagelight projecting assembly 20 form the at least twomonochromatic image lights 200 with the same angular spatial distribution coupled out from the coupling-out region 1102 after being modulated by the coupling-inelement group 12 and/or the coupling-outelement group 13, the at least twomonochromatic image lights 200 coupled out from the coupling-out region 1102 achieve coincidence (i.e. color combination) in front of human eyes due to the same angular spatial distribution, so that color display can be achieved without additionally providing a color combining device such as an X-ray combiner, which helps to make the whole optical device more compact, smaller, and lighter.
In addition, theincoupling element group 12 and theoutcoupling element group 13 of the present invention may include, but are not limited to, diffraction gratings such as surface relief gratings or volume gratings, and may also include microstructures such as super surfaces, plasmons, or photonic crystals, as long as the at least twomonochromatic image lights 200 having different angular spatial distributions can be modulated into the at least twomonochromatic image lights 200 having the same angular spatial distribution by theincoupling element group 12 and/or theoutcoupling element group 13, which is not described in detail herein.
Illustratively, as shown in fig. 2 and 3, the at least twomonochromatic image lights 200 having different angular spatial distributions projected via the imagelight projecting assembly 20 can be implemented as, but not limited to, a first monochromatic image light 201 having a first angular spatial distribution, a second monochromatic image light 202 having a second angular spatial distribution, and a third monochromatic image light 203 having a third angular spatial distribution, and correspondingly, the at least twomonochromatic image lights 200 coupled out from the coupling-out area 1102 can also be implemented as the first monochromatic image light 201, the second monochromatic image light 202, and the third monochromatic image light 203 each having a fourth angular spatial distribution. It is to be understood that the first monochromatic image light 201, the second monochromatic image light 202, and the third monochromatic image light 203 are different in color from each other, and may be implemented as, for example, red image light (R image light), green image light (G image light), and blue image light (B image light), respectively. Furthermore, the first angular spatial distribution, the second angular spatial distribution and the third angular spatial distribution are different from each other, and the fourth angular spatial distribution may be different from the first angular spatial distribution, the second angular spatial distribution and the third angular spatial distribution, or may be the same as one of the first angular spatial distribution, the second angular spatial distribution and the third angular spatial distribution.
Preferably, the first monochromatic image light 201, the second monochromatic image light 202 and the third monochromatic image light 203 all carry the same image information to ensure that the superposition is achieved in front of the human eye, thereby achieving full-color near-eye display.
More preferably, the first monochromatic image light 201, the second monochromatic image light 202 and the third monochromatic image light 203 projected through the imagelight projecting assembly 20 all have the same angle of view, so as to obtain high-quality full-color near-eye display. In other words, the RGB monochromatic image light carrying the same image information is coupled into the waveguide set 11 from the coupling-inregion 1101 with the same field angle and different angular spatial distributions; then, the RGB monochromatic image lights carrying the same image information are coupled out of the waveguide set 11 from the coupling-out region 1102 at the same viewing angle and the same angular spatial distribution, so that the coupled-out RGB monochromatic image lights can be completely overlapped in front of human eyes, thereby realizing full-color display.
According to the above embodiment of the present invention, as shown in fig. 3, the waveguide set 11 of thewaveguide device 10 may include afirst waveguide layer 111, asecond waveguide layer 112 and athird waveguide layer 113 stacked in sequence, wherein the coupling-in element set 12 may include a first coupling-inelement 121, a second coupling-inelement 122 and a third coupling-inelement 123 correspondingly, and the coupling-out element set 13 may include a first coupling-outelement 131, a third coupling-outelement 132 and a third coupling-outelement 133 correspondingly.
In more detail, as shown in fig. 3, thefirst incoupling element 121 is correspondingly disposed on thefirst waveguide layer 111 and located in theincoupling region 1101 of the waveguide set 11; wherein the first out-coupling element 131 is correspondingly disposed on thefirst waveguide layer 111 and located in the out-coupling region 1102 of the waveguide set 11. Thus, the first monochromatic image light 201 with the first angular spatial distribution will first be modulated by thefirst incoupling element 121 to be incoupled from theincoupling region 1101 into thefirst waveguide layer 111, and then after propagation through thefirst waveguide layer 111, be coupled out of thefirst waveguide layer 111 from theoutcoupling region 1102 by modulation of thefirst outcoupling element 131 to form the first monochromatic image light 201 with the fourth angular spatial distribution.
As shown in fig. 3, the secondincoupling elements 122 are correspondingly disposed on thesecond waveguide layer 112 and located in theincoupling region 1101 of the waveguide set 11; wherein the second out-coupling elements 132 are correspondingly disposed on thesecond waveguide layer 112 and located in the out-coupling region 1102 of the waveguide set 11. Thus, the second monochromatic image light 202 having the second angular spatial distribution will be first modulated by the secondincoupling elements 122 to be incoupled from theincoupling regions 1101 into thesecond waveguide layer 112, and then after propagation through thesecond waveguide layer 112, coupled out from theoutcoupling regions 1102 by modulation by the secondoutcoupling elements 132 to form the second monochromatic image light 202 having the fourth angular spatial distribution.
As shown in fig. 3, thethird incoupling element 123 is correspondingly disposed on thethird waveguide layer 113 and located in theincoupling region 1101 of the waveguide set 11; the third out-coupling element 133 is correspondingly disposed on thethird waveguide layer 113 and located in the out-coupling region 1102 of the waveguide set 11. Thus, the third monochromatic image light 203 with the third angular spatial distribution is modulated by thethird incoupling element 123 to be coupled into thethird waveguide layer 113 from theincoupling region 1101, and then is coupled out of thethird waveguide layer 113 from theoutcoupling region 1102 by modulation of thethird outcoupling element 133 after propagating through thethird waveguide layer 113, so as to form the third monochromatic image light 203 with the fourth angular spatial distribution.
It should be noted that, in the above-mentioned embodiment of the present invention, as shown in fig. 3, thefirst incoupling element 121, thesecond incoupling element 122 and thethird incoupling element 123 are stacked in alignment in sequence, and thefirst incoupling element 121 and thethird incoupling element 123 are located adjacent to and far away from the imagelight projection assembly 20, respectively. At this time, the at least twomonochromatic image lights 200 projected via the imagelight projecting assembly 20 will both propagate to thefirst incoupling element 121, and therefore thefirst incoupling element 121 is preferably designed to couple the first monochromatic image light 201 having the first angular spatial distribution into thefirst waveguide layer 111 and to allow the second monochromatic image light 202 having the second angular spatial distribution and the third monochromatic image light 203 having the third angular spatial distribution to pass through.
Likewise, the second monochromatic image light 202 having the second angular spatial distribution and the third monochromatic image light 203 having the third angular spatial distribution projected via the imagelight projecting assembly 20 will both propagate to thesecond incoupling element 122, and therefore thesecond incoupling element 123 is preferably designed to couple the second monochromatic image light 202 having the second angular spatial distribution into thesecond waveguide layer 112 and to allow the third monochromatic image light 203 having the third angular spatial distribution to pass through.
It should be noted that, in the above-mentioned embodiment of the present invention, as shown in fig. 3, thefirst outcoupling element 131, thesecond outcoupling element 132 and thethird outcoupling element 133 are preferably stacked in alignment in sequence, so as to ensure that the first monochromatic image light 201, the second monochromatic image light 202 and the third monochromatic image light 203 outcoupled via thefirst outcoupling element 131, thesecond outcoupling element 132 and thethird outcoupling element 133 respectively have the same angular spatial distribution, thereby performing color-combination display before human eyes.
It is worth mentioning that fig. 4A to 4D show a variant of thewaveguide device 10 according to the above embodiment of the invention. This variant embodiment according to the invention differs from the above-described embodiment according to the invention in that: the first coupling-inelement 121, the second coupling-inelement 122 and the third coupling-inelement 123 are stacked in sequence with a shift. At this time, the first monochromatic image light 201 with the first angular spatial distribution, the second monochromatic image light 202 with the second angular spatial distribution and the third monochromatic image light 203 with the third angular spatial distribution projected by the imagelight projecting assembly 20 will propagate to thefirst incoupling element 121, thesecond incoupling element 122 and thethird incoupling element 123 respectively, so that thefirst incoupling element 121, thesecond incoupling element 122 and thethird incoupling element 123 only need to be designed to couple the first monochromatic image light 201 with the first angular spatial distribution, the second monochromatic image light 202 with the second angular spatial distribution and the third monochromatic image light 203 with the third angular spatial distribution to thefirst waveguide layer 111, thesecond waveguide layer 112 and thethird waveguide layer 113 respectively, it is helpful to reduce the design difficulty of the first coupling-inelement 121, the second coupling-inelement 122 and the third coupling-inelement 123.
It is noted that, in the above-mentioned embodiment of the present invention, as shown in fig. 2, the imagelight projecting assembly 20 and the human eye may be located on the same side of thewaveguide device 10, so that the out-coupling direction of the at least twomonochromatic image lights 200 having the same angular spatial distribution is exactly opposite to the in-coupling direction of the at least twomonochromatic image lights 200 having different angular spatial distributions. Of course, in other examples of the present invention, the imagelight projecting assembly 20 and the human eye may be located on opposite sides of thewaveguide device 10, so that the out-coupling direction of the at least twomonochromatic image lights 200 having the same angular spatial distribution is consistent with the in-coupling direction of the at least twomonochromatic image lights 200 having different angular spatial distributions.
Specifically, in the above embodiment of the present invention, as shown in fig. 2 and 3, the imagelight projecting assembly 20 of the near-eye display optical device 1 may include animage source 21 and animaging lens 22, wherein theimage source 21 is configured to emit at least twomonochromatic image lights 200 carrying the same image information, and wherein theimaging lens 22 is disposed in the optical path between theimage source 21 and the coupling-inregion 111 of the waveguide set 11 of thewaveguide device 10, and is configured to perform an imaging process on the at least twomonochromatic image lights 200 from theimage source 21 to project the at least twomonochromatic image lights 200 having different angular spatial distributions to the coupling-inregion 111 of the waveguide set 11.
More specifically, as shown in fig. 2 and 3, theimage source 21 of the imagelight projecting assembly 20 may include at least two monochromatic self-lightemitting display chips 210, wherein the at least two monochromatic self-lightemitting display chips 210 have the same light emitting surface to carry the same image information, and the at least two monochromatic self-lightemitting display chips 210 are offset with respect to the image plane of theimaging lens 22, so that the at least twomonochromatic image lights 200 carrying the same image information and emitted by the at least two monochromatic self-lightemitting display chips 210 form the at least twomonochromatic image lights 200 with different angular spatial distributions after passing through theimaging lens 22.
It is noted that the at least two single-color self-luminous display chips 210 of theimage source 21 may be implemented as, but not limited to, Micro LED chips or OLED chips. It can be understood that, just as theimage source 21 of the near-eye display optical system 1 employs a Micro LED chip or an OLED chip capable of directly providing image light, compared to the existing Micro projection light engine, the near-eye display optical system 1 of the present invention does not need to additionally provide a relay lens group, so that the volume and weight of the near-eye display optical system 1 can be greatly reduced.
Illustratively, as shown in fig. 2 and 3, the at least two monochromatic self-luminous display chips 210 of theimage source 21 may include a first monochromatic self-luminous display chip 211, a second monochromatic self-luminous display chip 212 and a third monochromatic self-luminous display chip 213, wherein the first monochromatic self-luminous display chip 211, the second monochromatic self-luminous display chip 212 and the third monochromatic self-luminous display chip 213 are disposed side by side on the same side of theimaging lens 22, and the first monochromatic self-luminous display chip 211, the second monochromatic self-luminous display chip 212 and the third monochromatic self-luminous display chip 213 are offset with respect to the image plane of theimaging lens 22.
Preferably, the first monochromatic self-lightemitting display chip 211 is configured to emit red image light, the second monochromatic self-lightemitting display chip 212 is configured to emit green image light, and the third monochromatic self-lightemitting display chip 213 is configured to emit blue image light. Of course, in other examples of the present invention, the colors of the image light emitted by the first monochrome self-lightemitting display chip 211, the second monochrome self-lightemitting display chip 212, and the third monochrome self-lightemitting display chip 213 may be interchanged, and may also be used to emit monochrome image light of other colors.
It is noted that the first, second and third monochromatic self-luminous display chips 211, 212, 213 have the same luminous surface and carry the same image information for sequentially emitting the first, second and third monochromatic image light 201, 202, 203 carrying the same image information. Furthermore, since the first monochromatic self-lightemitting display chip 211, the second monochromatic self-lightemitting display chip 212 and the third monochromatic self-lightemitting display chip 213 are offset with respect to the image plane of theimaging lens 22, the first, second and thirdmonochromatic image lights 201, 202, 203 carrying the same image information emitted through the first, second and third monochromatic self-lightemitting display chips 211, 212, 213 can form the first, second and thirdmonochromatic image lights 201, 202, 203 having different angular spatial distributions after the imaging process through theimaging lens 22, thereby realizing the projection of the RGB monochromatic image lights in different angular spaces.
It should be noted that, in the above-mentioned embodiment of the present invention, as shown in fig. 5, theimaging lens 22 of the imagelight projecting assembly 20 may be, but is not limited to be, implemented as animaging lens group 221, wherein theimaging lens group 221 is correspondingly disposed between theimage source 21 and the coupling-inregion 1101 of thewaveguide group 11 of thewaveguide device 10, and is used for converging the at least twomonochromatic image lights 200 from theimage source 21 to form an image, and transmitting the converged at least twomonochromatic image lights 200 to the coupling-inregion 1101 to couple the at least twomonochromatic image lights 200 into thewaveguide group 11 through the coupling-inelement group 12. Then, after propagating inside the waveguide set 11 to the coupling-out region 1102, the at least twomonochromatic image lights 200 are coupled out of the waveguide set 11 by the coupling-out element set 13 to propagate into the eyes of the user to be viewed by the user as corresponding color images. It is to be understood that the number, materials and shapes of the lenses in theimaging lens group 221 are not limited to those shown in the drawings, as long as the projection imaging required by the present invention can be realized, and the present invention is not limited thereto.
Fig. 6 shows a first variant implementation of theimaging lens 22 according to the above embodiment of the present invention, in which theimaging lens 22 is implemented as a fold-back lens 222, in which the fold-back lens 22 is correspondingly disposed between theimage source 21 and the coupling-inregion 1101 of the waveguide set 11 of thewaveguide device 10, and is used for folding back the at least twomonochromatic image lights 200, so that the imaging optical path in the fold-back lens 222 is folded back and turned around, so as to provide a sufficiently long imaging optical path in a smaller space, which helps to reduce the volume and weight of the imaging lens, and further achieves the effect of further reducing the volume and weight of the near-eye display optical device 1.
Fig. 7 shows a second variant implementation of theimaging lens 22 according to the above embodiment of the invention, wherein theimaging lens 22 is implemented as asuperlens 223, wherein thesuperlens 223 is correspondingly disposed between theimage source 21 and the coupling-inregion 1101 of the waveguide set 11 of thewaveguide device 10, so as to perform an imaging process on the at least twomonochromatic image lights 200 from theimage source 21 through thesuperlens 223. It is noted that, since the volume and weight of thesuperlens 223 are much smaller than those of theimaging lens group 221, the volume and weight of the near-eye display optical apparatus 1 are both greatly reduced.
Fig. 8 shows a third variant implementation of theimaging lens 22 according to the above embodiment of the present invention, in which theimaging lens 22 is implemented as a diffractive lens 224 (such as a fresnel lens or the like), wherein thediffractive lens 224 is correspondingly disposed between theimage source 21 and the coupling-inregion 1101 of the waveguide set 11 of thewaveguide device 10, so as to perform an imaging process on the at least twomonochromatic image lights 200 from theimage source 21 via diffraction of thediffractive lens 224. It should be noted that, since the volume and weight of thediffractive lens 224 are also much smaller than those of theimaging lens group 221, the volume and weight of the near-eye display optical apparatus 1 can also be greatly reduced.
According to another aspect of the present invention, as shown in fig. 9, the present invention further provides a color combination display method of a waveguide device, comprising the steps of:
s110: coupling at least twomonochromatic image lights 200 with different angular spatial distributions from anincoupling region 1101 of a waveguide set 11 into the waveguide set 11 via an incoupling element set 12;
s120: propagating the at least two monochromatic image light 200 coupled in from the coupling-inregion 1101 to a coupling-out region 1102 of the waveguide set 11 via the waveguide set 11; and
s130: the at least twomonochromatic image lights 200 propagating to the coupling-out region 1102 are coupled out of the waveguide set 11 via a coupling-out element set 13, wherein the at least twomonochromatic image lights 200 having different angular spatial distributions form at least twomonochromatic image lights 200 having the same angular spatial distribution after modulation via the coupling-in element set 12 and/or the coupling-out element set 13.
According to another aspect of the present invention, as shown in fig. 10, an embodiment of the present invention further provides a method of manufacturing a near-eye display optical device, including the steps of:
s210: correspondingly arranging a coupling-inelement group 12 and a coupling-outelement group 13 in a coupling-inregion 1101 and a coupling-out region 1102 of awaveguide group 11 respectively to obtain awaveguide device 10; and
s220: correspondingly, an imagelight projecting assembly 20 is disposed in the coupling-inregion 1101 of the waveguide set 11 of thewaveguide device 10, wherein the imagelight projecting assembly 20 is configured to project at least twomonochromatic image lights 200 with different angular spatial distributions onto the coupling-inregion 1101 of the waveguide set 11, and the coupling-in element set 12 and/or the coupling-out element set 13 are configured to modulate the at least twomonochromatic image lights 200 with different angular spatial distributions to form at least twomonochromatic image lights 200 with the same angular spatial distribution, so as to implement a combined color display.
It will be appreciated by persons skilled in the art that the embodiments of the invention described above and shown in the drawings are given by way of example only and are not limiting of the invention. The objects of the invention have been fully and effectively accomplished. The functional and structural principles of the present invention have been shown and described in the examples, and any variations or modifications of the embodiments of the present invention may be made without departing from the principles.

Claims (14)

Translated fromChinese
1.一近眼显示光学设备,其特征在于,包括:1. A near-eye display optical device is characterized in that, comprising:至少一图像光投射组件,其中所述图像光投射组件用于投射至少二单色图像光;和at least one image light projection assembly, wherein the image light projection assembly is used to project at least two monochromatic image lights; and至少一波导器件,其中所述波导器件包括:At least one waveguide device, wherein the waveguide device comprises:一波导组,其中所述波导组具有一耦入区域和一耦出区域,用于将从所述耦入区域耦入的该至少二单色图像光传播至所述耦出区域;a waveguide group, wherein the waveguide group has an in-coupling region and an out-coupling region for propagating the at least two monochromatic image lights coupled in from the coupling-in region to the coupling-out region;一耦入元件组,其中所述耦入元件组被对应地设置于所述波导组的所述耦入区域,并且所述耦入元件对应于所述图像光投射组件,用于将经由所述图像光投射组件投射的该至少二单色图像光从所述耦入区域耦入所述波导组;以及an in-coupling element group, wherein the coupling-in element group is correspondingly disposed in the coupling-in region of the waveguide group, and the coupling-in element corresponds to the image light projection assembly, and is used to transmit light via the The at least two monochromatic image lights projected by the image light projection component are coupled into the waveguide group from the coupling-in region; and一耦出元件组,其中所述耦出元件组被对应地设置于所述波导组的所述耦出区域,用于将经由所述波导组传播的该至少二单色图像光从所述耦出区域耦出,以形成具有相同角度空间分布的至少二单色图像光。An out-coupling element group, wherein the out-coupling element group is correspondingly disposed in the coupling-out region of the waveguide group, and is used for transferring the at least two monochromatic image lights propagating through the waveguide group from the coupling-out region. The outgoing regions are coupled out to form at least two monochromatic image lights with the same angular spatial distribution.2.如权利要求1所述的近眼显示光学设备,其中,所述波导组包括依次被叠置的一第一波导层、一第二波导层以及一第三波导层,其中所述第一波导层用于将该至少二单色图像光中的具有第一角度空间分布的第一单色图像光从所述耦入区域传播至所述耦出区域;其中所述第二波导层用于将该至少二单色图像光中的具有第二角度空间分布的第二单色图像光从所述耦入区域传播至所述耦出区域;其中所述第三波导层用于将该至少二单色图像光中的具有第三角度空间分布的第三单色图像光从所述耦入区域传播至所述耦出区域。2. The near-eye display optical device of claim 1, wherein the waveguide group comprises a first waveguide layer, a second waveguide layer, and a third waveguide layer that are stacked in sequence, wherein the first waveguide layer The layer is used for propagating the first monochromatic image light with a first angular spatial distribution from the in-coupling region to the out-coupling region among the at least two monochromatic image lights; wherein the second waveguide layer is used for transmitting Among the at least two monochromatic image lights, a second monochromatic image light having a second angular spatial distribution propagates from the in-coupling region to the out-coupling region; wherein the third waveguide layer is used for the at least two monochromatic image lights. A third monochromatic image light with a third angular spatial distribution of the color image light propagates from the in-coupling region to the out-coupling region.3.如权利要求2所述的近眼显示光学设备,其中,所述耦入元件组包括被对应地设置于所述第一波导层的一第一耦入元件,被对应地设置于所述第二波导层的一第二耦入元件以及被对应地设置于所述第三波导层的一第三耦入元件,并且所述耦出元件组包括被对应地设置于所述第一波导层的一第一耦出元件,被对应地设置于所述第二波导层的一第二耦出元件以及被对应地设置于所述第三波导层的一第三耦出元件。3 . The near-eye display optical device according to claim 2 , wherein the coupling element group comprises a first coupling element correspondingly disposed on the first waveguide layer and correspondingly disposed in the first waveguiding layer. 4 . A second in-coupling element of two waveguide layers and a third in-coupling element correspondingly disposed in the third waveguide layer, and the group of out-coupling elements includes an in-coupling element correspondingly disposed in the first waveguide layer A first out-coupling element, a second out-coupling element correspondingly disposed on the second waveguide layer, and a third out-coupling element correspondingly disposed in the third waveguide layer.4.如权利要求3所述的近眼显示光学设备,其中,所述第一耦入元件、所述第二耦入元件以及所述第三耦入元件依次被对准地叠置,并且所述第一耦入元件和所述第三耦入元件适于分别位于邻近和远离该图像光投射组件的位置,其中所述第一耦入元件用于将该具有第一角度空间分布的第一单色图像光耦入所述第一波导层,并允许该具有第二角度空间分布的第二单色图像光和该具有第三角度空间分布的第三单色图像光透过;其中所述第二耦入元件用于将该具有第二角度空间分布的第二单色图像光耦入所述第二波导层,并允许该具有第三角度空间分布的第三单色图像光透过;其中所述第三耦入元件用于将该具有第三角度空间分布的第三单色图像光耦入所述第三波导层。4. The near-eye display optical device of claim 3, wherein the first coupling-in element, the second coupling-in element, and the third coupling-in element are sequentially stacked in alignment, and the The first coupling-in element and the third coupling-in element are adapted to be located adjacent to and away from the image light projection assembly, respectively, wherein the first coupling-in element is used for the first unit having the first angular spatial distribution. The color image light is coupled into the first waveguide layer, and the second monochromatic image light with the second angular spatial distribution and the third monochromatic image light with the third angular spatial distribution are allowed to pass through; wherein the first The two coupling elements are used to couple the second monochromatic image light with the second angular spatial distribution into the second waveguide layer, and allow the third monochromatic image light with the third angular spatial distribution to pass through; wherein The third coupling element is used to optically couple the third monochromatic image with the third angular spatial distribution into the third waveguide layer.5.如权利要求3所述的近眼显示光学设备,其中,所述第一耦入元件、所述第二耦入元件以及所述第三耦入元件依次被错位地叠置,其中所述第一耦入元件用于将该具有第一角度空间分布的第一单色图像光耦入所述第一波导层;其中所述第二耦入元件用于将该具有第二角度空间分布的第二单色图像光耦入所述第二波导层;其中所述第三耦入元件用于将该具有第三角度空间分布的第三单色图像光耦入所述第三波导层。5 . The near-eye display optical device of claim 3 , wherein the first coupling-in element, the second coupling-in element, and the third coupling-in element are sequentially staggered and stacked, wherein the first coupling-in element is staggered. 6 . an in-coupling element for optically coupling the first monochromatic image having a first angular spatial distribution into the first waveguide layer; wherein the second in-coupling element is used for optically coupling the first monochromatic image having a second angular spatial distribution into the first waveguide layer; Two monochromatic images are optically coupled into the second waveguide layer; wherein the third coupling element is used for optically coupling the third monochromatic image with a third angular spatial distribution into the third waveguide layer.6.如权利要求4或5所述的近眼显示光学设备,其中,所述第一耦出元件、所述第二耦出元件以及所述第三耦出元件依次被对准地叠置。6. The near-eye display optical device of claim 4 or 5, wherein the first out-coupling element, the second out-coupling element, and the third out-coupling element are sequentially stacked in alignment.7.如权利要求1至5中任一所述的近眼显示光学设备,其中,所述耦入元件组和所述耦出元件组均包括表面浮雕光栅、体光栅、超表面、等离子体和光子晶体中的一种或多种。7. The near-eye display optical device of any one of claims 1 to 5, wherein the set of in-coupling elements and the set of out-coupling elements each comprise surface relief gratings, volume gratings, metasurfaces, plasmons, and photons one or more of the crystals.8.如权利要求1至5中任一所述的近眼显示光学设备,其中,所述图像光投射组件包括一图像源和一成像镜头,其中所述图像源用于发射携带有相同图像信息的至少二单色图像光,其中所述成像镜头被设置于所述图像源和所述波导器件的所述波导组的所述耦入区域之间的光路中,用于对来自所述图像源的该至少二单色图像光进行成像处理,以投射出该具有不同角度空间分布的至少二单色图像光至所述波导组的所述耦入区域。8. The near-eye display optical device according to any one of claims 1 to 5, wherein the image light projection assembly comprises an image source and an imaging lens, wherein the image source is used to emit light carrying the same image information At least two monochromatic image lights, wherein the imaging lens is disposed in the optical path between the image source and the coupling-in region of the waveguide group of the waveguide device, for imaging the image source from the image source. The at least two monochromatic image lights are subjected to imaging processing to project the at least two monochromatic image lights with different angular spatial distributions to the coupling-in region of the waveguide group.9.如权利要求8所述的近眼显示光学设备,其中,所述图像源包括至少二单色自发光显示芯片,其中所述至少二单色自发光显示芯片具有相同的发光面,并且所述至少二单色自发光显示芯片相对于所述成像镜头的像面存在位置偏移。9. The near-eye display optical device of claim 8, wherein the image source comprises at least two monochromatic self-luminous display chips, wherein the at least two monochromatic self-luminous display chips have the same light-emitting surface, and the At least two monochromatic self-luminous display chips have a positional offset relative to the image plane of the imaging lens.10.如权利要求9所述的近眼显示光学设备,其中,所述至少二单色自发光显示芯片为Micro LED芯片或OLED芯片。10. The near-eye display optical device according to claim 9, wherein the at least two monochromatic self-luminous display chips are Micro LED chips or OLED chips.11.如权利要求10所述的近眼显示光学设备,其中,所述至少二单色自发光显示芯片包括一第一单色自发光显示芯片、一第二单色自发光显示芯片以及一第三单色自发光显示芯片,其中所述第一单色自发光显示芯片、所述第二单色自发光显示芯片以及所述第三单色自发光显示芯片被并排地设置于所述成像镜头的同一侧,并且所述第一单色自发光显示芯片、所述第二单色自发光显示芯片以及所述第三单色自发光显示芯片相对于所述成像镜头的像面存在位置偏移。11. The near-eye display optical device of claim 10, wherein the at least two monochrome self-luminous display chips comprise a first monochrome self-luminous display chip, a second monochrome self-luminous display chip, and a third self-luminous display chip A monochrome self-luminous display chip, wherein the first monochrome self-luminous display chip, the second monochrome self-luminous display chip and the third monochrome self-luminous display chip are arranged side by side on the imaging lens On the same side, and the first monochrome self-luminous display chip, the second monochrome self-luminous display chip, and the third monochrome self-luminous display chip have positional offsets relative to the image plane of the imaging lens.12.如权利要求11所述的近眼显示光学设备,其中,所述第一单色自发光显示芯片用于发射红色图像光,所述第二单色自发光显示芯片用于发射绿色图像光,所述第三单色自发光显示芯片用于发射蓝色图像光。12. The near-eye display optical device according to claim 11, wherein the first monochrome self-luminous display chip is used for emitting red image light, and the second monochrome self-luminous display chip is used for emitting green image light, The third monochromatic self-luminous display chip is used for emitting blue image light.13.如权利要求8所述的近眼显示光学设备,其中,所述成像镜头选自成像透镜组、折返式镜头、超透镜以及衍射透镜中的一种。13. The near-eye display optical device of claim 8, wherein the imaging lens is selected from one of an imaging lens group, a fold-back lens, a metalens, and a diffractive lens.14.一近眼显示光学设备的制造方法,其特征在于,包括步骤:14. A method for manufacturing a near-eye display optical device, comprising the steps of:分别对应地设置一耦入元件组和一耦出元件组于一波导组的耦入区域和耦出区域,以得到一波导器件;和Correspondingly disposing an in-coupling element group and an out-coupling element group in the coupling-in region and the coupling-out region of a waveguide group to obtain a waveguide device; and对应地设置一图像光投射组件于所述波导器件的所述波导组的所述耦入区域,其中所述图像光投射组件用于投射具有不同角度空间分布的至少二单色图像光至所述波导组的所述耦入区域,并且所述耦入元件组和/或所述耦出元件组用于调制所述具有不同角度空间分布的至少二单色图像光以形成具有相同角度空间分布的至少二单色图像光,以实现合色显示。Correspondingly, an image light projection component is disposed in the coupling-in area of the waveguide group of the waveguide device, wherein the image light projection component is used for projecting at least two monochromatic image lights with different angular spatial distributions to the The in-coupling region of the waveguide group, and the in-coupling element group and/or the out-coupling element group are used to modulate the at least two monochromatic image lights with different angular spatial distributions to form a At least two monochromatic image lights are used to realize combined color display.
CN202010751013.8A2020-07-302020-07-30Near-to-eye display optical device and method thereofPendingCN114063283A (en)

Priority Applications (1)

Application NumberPriority DateFiling DateTitle
CN202010751013.8ACN114063283A (en)2020-07-302020-07-30Near-to-eye display optical device and method thereof

Applications Claiming Priority (1)

Application NumberPriority DateFiling DateTitle
CN202010751013.8ACN114063283A (en)2020-07-302020-07-30Near-to-eye display optical device and method thereof

Publications (1)

Publication NumberPublication Date
CN114063283Atrue CN114063283A (en)2022-02-18

Family

ID=80227517

Family Applications (1)

Application NumberTitlePriority DateFiling Date
CN202010751013.8APendingCN114063283A (en)2020-07-302020-07-30Near-to-eye display optical device and method thereof

Country Status (1)

CountryLink
CN (1)CN114063283A (en)

Cited By (1)

* Cited by examiner, † Cited by third party
Publication numberPriority datePublication dateAssigneeTitle
CN116382019A (en)*2023-03-282023-07-04歌尔光学科技有限公司Optical projection system and electronic device

Citations (4)

* Cited by examiner, † Cited by third party
Publication numberPriority datePublication dateAssigneeTitle
US20180299678A1 (en)*2015-12-172018-10-18Carl Zeiss AgOptical system and method for transmitting a source image
WO2019122513A1 (en)*2017-12-222019-06-27Dispelix OyMultipupil waveguide display element and display device
CN211043812U (en)*2019-12-242020-07-17杭州光粒科技有限公司Display device
CN212302101U (en)*2020-07-302021-01-05舜宇光学(浙江)研究院有限公司 Near eye display optics

Patent Citations (4)

* Cited by examiner, † Cited by third party
Publication numberPriority datePublication dateAssigneeTitle
US20180299678A1 (en)*2015-12-172018-10-18Carl Zeiss AgOptical system and method for transmitting a source image
WO2019122513A1 (en)*2017-12-222019-06-27Dispelix OyMultipupil waveguide display element and display device
CN211043812U (en)*2019-12-242020-07-17杭州光粒科技有限公司Display device
CN212302101U (en)*2020-07-302021-01-05舜宇光学(浙江)研究院有限公司 Near eye display optics

Cited By (1)

* Cited by examiner, † Cited by third party
Publication numberPriority datePublication dateAssigneeTitle
CN116382019A (en)*2023-03-282023-07-04歌尔光学科技有限公司Optical projection system and electronic device

Similar Documents

PublicationPublication DateTitle
CN212302101U (en) Near eye display optics
TWI841624B (en)Optical devices
CN210403049U (en)Micro-projection light engine based on Mirco LED and near-to-eye display device
CN110850669A (en)Micro LED-based developing device and developing method thereof
CN104536248B (en)Projector
JP2007524111A (en) Color projection display system
CN112802403A (en)Micro-projection light engine based on Micro LED, Micro-projection light engine method and near-to-eye display equipment
CN112305759A (en)Micro LED-based AR display device and imaging method thereof
CN116540484B (en)Projection display module and wearable equipment
CN107092156A (en)A kind of colour projection shows light engine
CN114488538A (en) AR light machines and head-mounted display devices
US9151956B2 (en)Light source system for stereoscopic projection
CN112799234B (en) Color combining device, method thereof, and lighting system
WO2019107044A1 (en)Virtual image projection device
CN211506032U (en)Near-to-eye display device
CN111435215A (en)Compact miniature projection light engine
CN114063283A (en)Near-to-eye display optical device and method thereof
CN210666222U (en)Color combination device
US8857995B2 (en)Light source system for stereoscopic projection
JPWO2004068197A1 (en) Composite prism, light source unit, and display device
CN112946884A (en)Near-eye display device and method of manufacturing the same
JP4815301B2 (en) Light source module and projection display device
JP2021189379A (en) Video display device
CN211528821U (en)Novel AR display optical system
CN212302199U (en) Micro-projection light engine and wearable display device

Legal Events

DateCodeTitleDescription
PB01Publication
PB01Publication
SE01Entry into force of request for substantive examination
SE01Entry into force of request for substantive examination
EE01Entry into force of recordation of patent licensing contract
EE01Entry into force of recordation of patent licensing contract

Application publication date:20220218

Assignee:Zhejiang Shunwei Technology Co.,Ltd.

Assignor:SUNNY OPTICAL (ZHEJIANG) RESEARCH INSTITUTE Co.,Ltd.

Contract record no.:X2024330000055

Denomination of invention:Optical equipment and methods for near eye display

License type:Common License

Record date:20240515


[8]ページ先頭

©2009-2025 Movatter.jp