Movatterモバイル変換


[0]ホーム

URL:


CN113931842A - Scroll compression mechanism and scroll compressor - Google Patents

Scroll compression mechanism and scroll compressor
Download PDF

Info

Publication number
CN113931842A
CN113931842ACN202010603159.8ACN202010603159ACN113931842ACN 113931842 ACN113931842 ACN 113931842ACN 202010603159 ACN202010603159 ACN 202010603159ACN 113931842 ACN113931842 ACN 113931842A
Authority
CN
China
Prior art keywords
cover plate
end plate
scroll
fixed scroll
compression mechanism
Prior art date
Legal status (The legal status is an assumption and is not a legal conclusion. Google has not performed a legal analysis and makes no representation as to the accuracy of the status listed.)
Pending
Application number
CN202010603159.8A
Other languages
Chinese (zh)
Inventor
张琼宇
刘轩
吴严欢
刘畅
Current Assignee (The listed assignees may be inaccurate. Google has not performed a legal analysis and makes no representation or warranty as to the accuracy of the list.)
Copeland Suzhou Co Ltd
Original Assignee
Emerson Climate Technologies Suzhou Co Ltd
Priority date (The priority date is an assumption and is not a legal conclusion. Google has not performed a legal analysis and makes no representation as to the accuracy of the date listed.)
Filing date
Publication date
Application filed by Emerson Climate Technologies Suzhou Co LtdfiledCriticalEmerson Climate Technologies Suzhou Co Ltd
Priority to CN202010603159.8ApriorityCriticalpatent/CN113931842A/en
Priority to PCT/CN2020/122652prioritypatent/WO2022000872A1/en
Publication of CN113931842ApublicationCriticalpatent/CN113931842A/en
Pendinglegal-statusCriticalCurrent

Links

Images

Classifications

Landscapes

Abstract

The utility model provides a scroll compression mechanism and scroll compressor, this scroll compression mechanism includes: carrying out movable vortex; and including the fixed vortex subassembly of deciding vortex and apron, the fixed vortex includes the fixed vortex end plate, the apron is fixed in one side of deciding the vortex end plate, make and prescribe a limit to the central high-pressure concave part that can communicate with central compression chamber fluid between apron and the fixed vortex end plate, one side that deviates from the fixed vortex at the apron is provided with the back pressure chamber, decide the vortex subassembly still is provided with the middling pressure passageway, the middling pressure passageway is with middle compression chamber and back pressure chamber fluid intercommunication, be provided with between apron and the fixed vortex end plate and prescribe a limit to the sealed additional strengthening who strengthens the region, the middling pressure passageway passes sealed additional strengthening region, thereby prevent that working fluid from leaking to the middling pressure passageway from central high-pressure concave part. According to the scroll compression mechanism disclosed by the invention, the abrasion failure of the scroll compression mechanism can be prevented, the service life of the scroll compression mechanism is prolonged, and the service performance of the scroll compression mechanism is improved.

Description

Scroll compression mechanism and scroll compressor
Technical Field
The present disclosure relates to the field of scroll compressor technology, and more particularly, to a scroll compression mechanism and a scroll compressor.
Background
The statements in this section merely provide background information related to the present disclosure and may not constitute prior art.
The compressor may be applied to application systems requiring different pressures, such as an air conditioning system, a refrigerator system, etc., and thus, a case where a discharge pressure of a compression chamber (a maximum pressure in the compression chamber) is greater than a pressure required for a specific application system, that is, an over-compression case may occur. In order to reduce or prevent over-compression of the working fluid, compressors having a variable volume ratio function have been developed.
In a variable volume ratio function compressor, generally, the fixed scroll adopts a split design including a cover plate. In such a split type fixed scroll, there is a problem that the scroll compression mechanism is liable to wear failure, and therefore there is a need to provide an improved scroll compression mechanism.
Disclosure of Invention
It is an object of one or more embodiments of the present disclosure to provide a scroll compression mechanism in which wear failure of the scroll compression mechanism can be prevented, the service life of the scroll compression mechanism can be extended, and the use performance thereof can be improved.
Another object of one or more embodiments of the present disclosure is to provide a scroll compression mechanism in which an assembling process of a compressor can be simplified and compatibility of a cover plate and a seal can be improved.
According to an aspect of the present disclosure, there is provided a scroll compression mechanism including: carrying out movable vortex; and a non-orbiting scroll assembly including a non-orbiting scroll and a cover plate, the non-orbiting scroll engaged with the orbiting scroll to define a series of compression chambers including a central compression chamber and an intermediate compression chamber, the non-orbiting scroll including a non-orbiting scroll end plate, the cover plate being fixed to one side of the non-orbiting scroll end plate such that a central high pressure recess capable of being in fluid communication with the central compression chamber is defined between the cover plate and the non-orbiting scroll end plate, a back pressure chamber is provided to one side of the cover plate facing away from the non-orbiting scroll, the non-orbiting scroll assembly further being provided with a medium pressure passage fluidly communicating the intermediate compression chamber with the back pressure chamber, characterized in that a seal reinforcing structure is provided between the cover plate and the non-orbiting scroll end plate, the seal reinforcing structure defining a seal reinforcing region, the medium pressure passage passing through the seal reinforcing region, thereby preventing working fluid from leaking from the central high pressure recess to the medium pressure channel.
According to an aspect of the disclosure, the intermediate pressure passage includes an intermediate pressure discharge hole provided in the non-orbiting scroll end plate and a cover plate discharge hole provided in the cover plate, and the seal reinforcement structure includes a perforated fastener provided with a longitudinal through hole, the perforated fastener passing through the cover plate discharge hole and being fastened in the intermediate pressure discharge hole such that the seal reinforcement area is defined at and around the perforated fastener, and such that the perforated fastener allows the intermediate compression chamber to be in fluid communication with the back pressure chamber via the longitudinal through hole while fastening the cover plate to the non-orbiting scroll end plate.
According to an aspect of the disclosure, the seal enhancing structure further comprises a sealing gasket or ring disposed at least about the apertured fastener.
According to an aspect of the present disclosure, the non-orbiting scroll assembly is further provided with a primary fastener disposed radially outward of the intermediate pressure passage and fixing the cover plate to the non-orbiting scroll end plate.
According to an aspect of the present disclosure, the seal reinforcement structure includes a first seal ring disposed radially inward of the medium pressure channel and a second seal ring disposed radially outward of the medium pressure channel such that the seal reinforcement region is defined between the first seal ring and the second seal ring.
According to an aspect of the present disclosure, the non-orbiting scroll assembly is further provided with a primary fastener, the primary fastener and the intermediate pressure passage are both located in the seal reinforcement area and the primary fastener fixes the cover plate to the non-orbiting scroll end plate.
According to an aspect of the present disclosure, in the seal reinforcement area, one or both of a surface of the cover plate facing the non-orbiting scroll end plate and a surface of the non-orbiting scroll end plate facing the cover plate is provided with an annular air guide groove, the medium pressure passage includes a medium pressure discharge hole provided in the non-orbiting scroll end plate and a cover plate discharge hole provided in the cover plate, and the medium pressure discharge hole and the cover plate discharge hole are both opened to the air guide groove.
According to an aspect of the present disclosure, the primary fastening members are plural and arranged uniformly in a circumferential direction.
According to an aspect of the present disclosure, the portion of the intermediate pressure passage disposed in the non-orbiting scroll end plate includes a first axial section connected with the intermediate compression chamber, a second axial section opened to a surface of the non-orbiting scroll end plate facing the cover plate, and a lateral connection section connecting the first axial section and the second axial section.
According to an aspect of the present disclosure, a variable volume ratio orifice is provided in the non-orbiting scroll end plate, and a check valve for selectively opening and closing the variable volume ratio orifice is provided in the central high pressure recess.
According to another aspect of the present disclosure, a scroll compressor including a scroll compression mechanism is provided.
According to the compressor structure disclosed by the invention, the abrasion failure of the vortex compression mechanism can be prevented, the service life of the vortex compression mechanism is prolonged, and the service performance of the vortex compression mechanism is improved.
Drawings
The drawings described herein are for illustration purposes only and are not intended to limit the scope of the present disclosure in any way.
Fig. 1 is a sectional view schematically showing a compressor according to a comparative example;
fig. 2 is a sectional view schematically showing a non-orbiting scroll assembly of a compressor according to a comparative example;
fig. 3 is an exploded perspective view schematically illustrating a non-orbiting scroll assembly of a compressor according to a comparative example;
fig. 4a and 4b are a sectional view and an exploded perspective view, respectively, schematically illustrating a non-orbiting scroll assembly of a compressor according to a first embodiment of the present disclosure;
FIG. 5 is a top view schematically illustrating an alternative arrangement of seals of the non-orbiting scroll assembly of the compressor in accordance with the first embodiment of the present disclosure;
fig. 6 is a sectional view schematically illustrating a non-orbiting scroll assembly of a compressor according to a second embodiment of the present disclosure;
fig. 7 is an exploded perspective view schematically illustrating a non-orbiting scroll assembly of a compressor according to a second embodiment of the present disclosure;
FIG. 8 schematically illustrates a foolproof design of a non-orbiting scroll assembly of a compressor according to a comparative example; and
fig. 9 is a sectional view schematically illustrating a non-orbiting scroll assembly of a compressor according to a third embodiment of the present disclosure.
Detailed Description
The following description of the various embodiments of the disclosure is merely exemplary in nature and is in no way intended to limit the disclosure, its application, or uses. The same reference numerals are used to designate the same components in the respective drawings, and thus the configurations of the same components will not be described repeatedly.
A compressor having a variable volume ratio function according to a comparative example will be described with reference to fig. 1 to 3, in which fig. 1 is a sectional view schematically showing the compressor according to the comparative example; fig. 2 is a sectional view schematically showing a non-orbiting scroll assembly of a compressor according to a comparative example; and fig. 3 is an exploded perspective view schematically illustrating a non-orbiting scroll assembly of a compressor according to a comparative example.
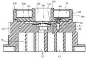
As shown in FIG. 1, ascroll compressor 1 includes a generally closedhousing 10. Thehousing 10 may be composed of a substantially cylindrical body portion, atop cover 12 provided at one end of the body portion, and abottom cover 16 provided at the other end of the body portion. Apartition 14 is provided between thetop cover 12 and the body part to partition the inner space of thehousing 10 into afluid suction chamber 11 and afluid discharge chamber 13. The space between thepartition 14 and thetop cover 12 constitutes afluid discharge chamber 13, and the space between thepartition 14, the body portion, and the bottom cover constitutes afluid suction chamber 11.
A scroll compression mechanism and a drive mechanism for driving the scroll compression mechanism are provided in thehousing 10. The compression mechanism sucks fluid from thefluid suction chamber 11 of thehousing 10 and discharges the fluid after compression into thefluid discharge chamber 13 of thehousing 10. Referring to fig. 1, a compression mechanism may include, for example, anon-orbiting scroll assembly 30 and an orbitingscroll 20. The orbitingscroll 20 includes an orbiting scroll end plate and a spiral orbiting wrap formed on one side of the orbiting scroll end plate. As more clearly shown in fig. 2,non-orbiting scroll assembly 30 includes a non-orbitingscroll end plate 32 and a spiral-shaped non-orbitingscroll wrap 34 formed on one side of the non-orbiting scroll end plate, non-orbitingscroll end plate 32 including amain discharge port 50 formed at a substantially central position of the non-orbiting scroll end plate, a variablevolume ratio orifice 52 located radially outward ofmain discharge port 50, and a mediumpressure discharge orifice 54 located radially outward of variablevolume ratio orifice 52.
As shown in FIG. 2,non-orbiting scroll assembly 30 further includes acover plate 100,cover plate 100 being disposed on a side of non-orbitingscroll end plate 32 oppositewrap 34 and secured to non-orbitingscroll end plate 32. Specifically, as shown in fig. 3, a plurality offixing holes 128 are formed in thecover plate 100, a plurality offixing holes 114 corresponding to thefixing holes 128 are formed in the non-orbitingscroll end plate 32, aprimary fastening member 124 such as a screw may be extended through thefixing holes 128 and 114 to fix thecover plate 100 to thenon-orbiting scroll assembly 30, and thefastening member 124 may be provided in plurality and uniformly distributed on the cover plate to apply a uniform fastening force. As shown in fig. 2, thecover plate 100 is further formed with a coverplate discharge hole 140 corresponding to the middlepressure discharge hole 54, and the working fluid in the intermediate compression chamber C3 may flow to theback pressure chamber 70 through a middle pressure passage including the middlepressure discharge hole 54 and the coverplate discharge hole 140. Afixed bore 114 is provided at the outer periphery of the non-orbitingscroll end plate 32, and a centralhigh pressure recess 36 is provided radially inward of thefixed bore 114, and further, as shown in fig. 2, the centralhigh pressure recess 36 is in fluid communication with themain exhaust port 50 and is in selective fluid communication with the variablevolume ratio orifice 52, i.e., the working fluid within the centralhigh pressure recess 36 is at a high pressure exhaust pressure. The variablevolume ratio orifice 52 is provided with a one-way valve (only a single variable volume ratio orifice is shown in fig. 2, but it will be appreciated that a plurality of variable volume ratio orifices may be formed as desired). The check valve allows fluid flow from the compression chambers to the centralhigh pressure recess 36 and prevents fluid flow from the centralhigh pressure recess 36 to the compression chambers. The check valve may include a valve sheet covering the variable volume ratio orifice and a valve stop preventing the valve sheet from being excessively deformed. The check valve may be secured in the non-orbitingscroll end plate 32 by fasteners such as screws.
As shown in fig. 2, thecover plate 100 includes an inner annular wall 110 (also referred to as a first annular wall) and an outer annular wall 130 (also referred to as a second annular wall) and a connectingportion 150 connecting the inner and outer annular walls. The innerannular wall 110 surrounds acentral cavity 120, thecentral cavity 120 being in fluid communication with the centralhigh pressure recess 36. Theback pressure chamber 70 is constituted by the space surrounded by the innerannular wall 110, the outerannular wall 130, and the connectingportion 150 and is closed by a seal assembly provided therein. As shown in fig. 2, theback pressure chamber 70 is in fluid communication with the intermediate compression chamber C3 through the intermediatepressure discharge hole 54, thereby creating a force that compresses thenon-orbiting scroll assembly 30 toward the orbitingscroll 20, and thenon-orbiting scroll assembly 30 and the orbitingscroll 20 can be effectively compressed together using the pressure in theback pressure chamber 70.
During operation of thecompressor 1, working fluid is drawn into the compression mechanism and compressed as it flows from the radially outermost position to the radially innermost position, that is, the pressure of working fluid in the radially outermost one of the compression chambers is smallest, the pressure of working fluid in the radially innermost compression chamber, i.e., the central compression chamber C1 at the center position of the scroll is largest, and the working fluid in the intermediate compression chamber C3 between the radially outermost position and the innermost position has an intermediate pressure between the maximum pressure and the minimum pressure. The compressed fluid is discharged to the central high-pressure recess 36 of the non-orbitingscroll end plate 32 through themain discharge port 50. However, in the over-compressed state, the compression mechanism compresses the working fluid to be at a pressure higher than that required by an application system (e.g., an air conditioning system, a refrigerator system, a low temperature freezing system, etc.), and thus, the compressor performs an unnecessary work in the over-compressed state. To prevent over-compression, fluid may be expelled through the variablevolume ratio orifice 52 into the central high pressure recess 36 in advance before reaching the radially innermost position. Specifically, when the pressure in a particular compression chamber is greater than or equal to the pressure required by the application, the one-way valve can open the variablevolume ratio orifice 52 so that the fluid in that compression chamber is discharged directly without over-compression.
As shown in fig. 2, the centralhigh pressure recess 36 is in fluid communication with thecentral cavity 120 and has a higher pressure equal to the compressor discharge pressure, the space radially outward of the non-orbitingscroll end plate 32 is located within the fluid suction cavity and has a lower pressure equal to the compressor suction pressure, and theback pressure cavity 70 is in fluid communication with the intermediatepressure discharge hole 54 and has an intermediate pressure between the discharge pressure and the suction pressure. In order to prevent the high-pressure fluid in the central high-pressure recess 36 from leaking to the low-pressure space through the interface between thecover plate 100 and the non-orbitingscroll end plate 32, aseal gasket 60 is provided between thecover plate 100 and the non-orbitingscroll end plate 32. The sealinggasket 60 is formed with anexhaust port 64 and a fixedbore 66, theexhaust port 64 and the fixed bore 66 being aligned with the intermediatepressure exhaust port 54 and the fixedbore 114, respectively, of the non-orbitingscroll end plate 32.
As shown particularly in fig. 3, a plurality offasteners 124 secure thecover plate 100 and the sealinggasket 60 to thenon-orbiting scroll assembly 30. The fastening force applied by thefasteners 124 sandwiches the sealinggasket 60 between the non-orbitingscroll end plate 32 of thenon-orbiting scroll assembly 30 to seal the interface therebetween. However, in the actual use of the compressor, there is a problem in that the scroll fails due to the fixed scroll and the movable scroll wearing against each other, which adversely affects the service life and compression performance of the compressor.
The inventors of the present application have repeatedly studied and found that such a problem is caused by the relative position of the fastener and the medium pressure vent hole. Specifically, on the one hand, fasteners, such as screws, are typically disposed on the outer periphery of the non-orbitingscroll end plate 32 to provide sufficient space for mounting the check valve to selectively open the variable volume ratio orifice and so that the fasteners do not interfere with the proper operation of the check valve. On the other hand, to provide sufficient back pressure to theback pressure chamber 70, the medium pressure vent holes 54 are typically located at a radially inward position relative to the fasteners (or the fastening holes for the fasteners). This causes a relative offset in the radial direction between the fastening member and the intermediate pressure discharge hole, and it has been found by the inventors of the present application through simulation experiments that such a radial offset between the fastening member and the intermediate pressure discharge hole results in a portion of the sealing gasket being subjected to insufficient fastening force to effectively seal the interface between the orbiting scroll end plate and the cover plate, thereby causing fluid leakage. Specifically, a portion of the seal gasket located in the vicinity of the intermediate pressure discharge hole is subjected to insufficient fastening force, which causes high-pressure working fluid located in the recess to leak into the intermediatepressure discharge hole 54 and further to theback pressure chamber 70, and the leaked high-pressure fluid causes a pressure rise in theback pressure chamber 70, which further causes a large increase in axial pressure with which thenon-orbiting scroll assembly 30 is pressed toward the orbitingscroll 20, thereby causing wear between the scrolls.
In order to solve the above problems, the present inventors have devised an improved compressor structure capable of increasing the sealing of a strong cover plate with a non-orbiting scroll end plate, thereby preventing the abrasion of a scroll due to the leakage of a high-pressure working fluid. Specifically, a seal reinforcement structure is provided in a contact region between the cover plate and the non-orbiting scroll end plate, the seal reinforcement structure defining a seal reinforcement region through which a medium pressure passage including a medium pressure discharge hole passes, thereby preventing a working fluid from leaking from the central high pressure recess to the back pressure chamber via the contact region by reinforcing sealing of the medium pressure discharge hole.
Fig. 4a and 4b illustrate a sectional view and an exploded perspective view, respectively, of a non-orbiting scroll assembly of a compressor according to a first embodiment of the present disclosure. The compressor according to the first embodiment of the present disclosure is constructed substantially the same as the compressor according to the comparative example, and will not be described herein again, except that the compressor according to the first embodiment of the present disclosure further includes aperforated fastener 80 fixed in the mediumpressure discharge hole 54. Theperforated fastener 80 may be secured in themedium pressure vent 54 in any suitable manner, such as a threaded connection, an interference fit, and the like. Theapertured fastener 80 is formed with a longitudinal through-hole in fluid communication with themedium pressure vent 54 and theback pressure chamber 70. The sealing gasket around theperforated fastener 80 is tightly clamped between the cover plate and the end plate of the fixed scroll by the fastening force exerted by theperforated fastener 80, and theperforated fastener 80 and the sealing gasket form a sealing reinforcing structure, in this way, theperforated fastener 80 can define a sealing reinforcing area at the position and the surrounding area thereof, and in the sealing reinforcing area, theperforated fastener 80 directly acts on the medium-pressure exhaust hole 54, so that the fastening force applied to the sealing gasket in the area near the medium-pressure exhaust hole 54 can be obviously improved, the high-pressure working fluid can be prevented from leaking to the medium-pressure exhaust hole 54 and further leaking to theback pressure cavity 70, and the abrasion failure of the fixed scroll and the movable scroll can be avoided. Therefore, the improved scheme which is simple in structure, strong in operability and low in cost is provided. In addition, the fastening force exerted by the fastener may be further increased by increasing the size of the fastener (e.g., increasing the size of the fastening head).
In the compressor of the first embodiment of the present disclosure, the seal is not limited to theintegral sealing gasket 60 shown in fig. 3, but may take any other suitable form. Figure 5 shows a top view of the non-orbiting scroll assembly provided with an alternative sealing gasket, with some parts of the non-orbiting scroll removed for clarity. Referring to fig. 5, instead of the sealing gasket, a sealing gasket may be used which includes a first O-ring 62b surrounding the mediumpressure discharge hole 54 and a second O-ring 64b disposed between the mediumpressure discharge hole 54 and the fixinghole 114. In this case, the seal reinforcing structure includes a first O-ring 62b provided in a contact area of the cover plate with the non-orbiting scroll end around the middle pressure passage, thereby defining a seal reinforcing area at the first O-ring 62b and an area inside thereof. Although embodiments are shown in which a sealing gasket or seal is provided between the cover plate and the non-orbiting scroll end plate, it will be appreciated that in the event that the gap between the cover plate and the non-orbiting scroll end plate is very small, the sealing gasket or seal may be omitted and the seal between the cover plate and the non-orbiting scroll end may be maintained directly by including theapertured fastener 80 and theprimary fastener 124. Further, it should also be noted that although it is schematically described in the present application that the centralhigh pressure recess 36 is formed in the top surface of the non-orbitingscroll end plate 32, it will be understood by those skilled in the art that the present disclosure is not limited thereto, and for example, a recess may be alternatively formed in the lower side of thecover plate 100, while the top surface of the non-orbitingscroll end plate 32 is formed to be planar. Alternatively, a recess may be formed in both the top surface of the non-orbitingscroll end plate 32 and the underside of thecover plate 100. So long as it is possible to provide a high pressure discharge area between the cover plate and the non-orbiting scroll end plate at a pressure equal to the discharge pressure of the scroll compressor, in fluid communication with themain discharge port 50 and selectively in fluid communication with the variablevolume ratio orifice 52.
Hereinafter, thenon-orbiting scroll assembly 30a of the compressor according to the second embodiment of the present disclosure will be described in detail with reference to fig. 6 to 7.
Thenon-orbiting scroll assembly 30a has substantially the same structure as thenon-orbiting scroll assembly 30 according to the first embodiment and the comparative example, and only the difference thereof will be described below. As shown in fig. 6, the portion of the intermediate pressure passage disposed in non-orbitingscroll end plate 32a includes a firstaxial section 542a, a secondaxial section 544a, and a transverse connectingsection 546 a. The firstaxial section 542a extends in the axial direction of the compressor and connects the intermediate compression pockets C3. The secondaxial section 544a extends in an axial direction to a surface of the non-orbitingscroll end plate 32a facing thecover plate 100 and forms a mediumpressure discharge hole 54a, the mediumpressure discharge hole 54a being substantially the same radial distance from the fixed bore 114 (shown in fig. 7) to the axis of the non-orbiting scroll, so that the mediumpressure discharge hole 54a is located in the same annular region as thefixed bore 114. The transverse connectingsection 546a may extend in a transverse direction perpendicular to the axial direction of the compressor and connect the firstaxial section 542a and the secondaxial section 544 a. The firstaxial section 542a extends through the non-orbitingscroll end plate 32a and is provided with a plug 210 at its end adjacent the centralhigh pressure recess 36 to prevent leakage of working fluid from the intermediate pressure discharge passage to the centralhigh pressure recess 36. The transverse connectingsection 546a has an outer end portion penetrating the non-orbitingscroll end plate 32a, an intersection point P of the transverse connectingsection 546a and the secondaxial section 544a, and the transverse connectingsection 546a is provided with a plug 220 radially outward of the intersection point P to prevent leakage of the working fluid from the medium-pressure discharge passage to the fluid suction chamber. Since the portion of the transverse connecting section 546 radially inward of the intersection point P is necessary to form the intermediate pressure exhaust passage, while the portion radially outward of the intersection point P is an ineffective portion due to the machining process, preferably, theplug 320 may be disposed in the ineffective portion near the intersection point P to reduce the clearance volume of the compressor.
Referring to fig. 7, the orbiting scroll end plate is formed with an annularair guide groove 310, and the fixinghole 114 and the middlepressure discharge hole 54a are located in theair guide groove 310. Radially outside and inside theair guide groove 310 are provided afirst seal groove 320 and asecond seal groove 330, respectively, which accommodate afirst seal ring 410 and asecond seal ring 420. The first andsecond seal grooves 320 and 330 may be disposed adjacent to theair guide groove 310. The sealing ring may illustratively comprise an O-ring seal, as well as any other suitable sealing gasket.
Thecover plate 100a has substantially the same structure as thecover plate 100 except that the coverplate discharge hole 140a of the cover plate has the same radial distance from the fixedhole 128 to the axis of the non-orbiting scroll.
Referring to fig. 6 and 7, innon-orbiting scroll assembly 30a according to the second embodiment of the present disclosure, working fluid of intermediate compression chamber C3 flows from firstaxial section 542a to transverse connectingsection 546a, thereafter flows through secondaxial section 544a intoscoop channel 310, and finally flows fromscoop channel 310 through coverplate vent hole 140a (not shown in fig. 6) intoback pressure chamber 70. While thefirst seal ring 410 on the radially inner side prevents the high-pressure working fluid of the central high-pressure recess 36 from flowing to the air-guide groove 310, and thesecond seal ring 420 on the radially outer side prevents the medium-pressure working fluid in the air-guide groove 310 from flowing to the suction pressure chamber.
In the non-orbiting scroll according to the second embodiment of the present disclosure, the first and second seal rings 410 and 420 are disposed at an area around theprimary fastener 124, and theprimary fastener 124 may apply a sufficient fastening force to the first and second seal rings and the area therebetween, so that the seal reinforcing structure including the first and second seal rings defines a seal reinforcing area between the first and second seal rings. A medium pressure channel including mediumpressure vent hole 54a is located within the seal reinforcement area. Specifically, as shown in fig. 7, since the mediumpressure discharge hole 54a is the same as the radial distance of the fixedhole 114 to the axis of the non-orbiting scroll without radial offset, the mediumpressure discharge hole 54a may be located in the seal reinforcing region between the first seal ring and the second seal ring. In this way, the middle pressure passage including the middlepressure discharge hole 54a is made to pass through the seal reinforcing region, so that the working fluid is prevented from leaking from the central high pressure recess to the back pressure chamber via the contact region by reinforcing the seal of the middle pressure discharge hole, thereby preventing the abrasion failure of the fixed scroll and the orbiting scroll.
Further, in the non-orbiting scroll according to the second embodiment of the present disclosure, since the working fluid in the intermediate compression chamber is introduced into theback pressure chamber 70 using the annularair guide groove 310, the middlepressure discharge hole 54a of the non-orbitingscroll end plate 32a and the coverplate discharge hole 140a of the cover plate can be aligned at any position in the arrangement circumferential direction without using a fool-proof design, the assembly process is simplified, and the versatility of the cover plate and the seal gasket can also be improved. Specifically, in the non-orbiting scroll according to the comparative example and the first embodiment, in order to introduce the working fluid in the intermediate compression chamber into theback pressure chamber 70, it is necessary to align the middlepressure discharge hole 54 of the non-orbitingscroll end plate 32, thedischarge port 64 of the sealinggasket 60, and the cover plate discharge hole of thecover plate 100, thereby forming the middle pressure passage. To this end, it is necessary to provide corresponding fool-proof designs on the sealinggasket 60 and the non-orbitingscroll end plate 32, fig. 8 shows an example of a fool-proof design for a sealing gasket and a non-orbiting scroll end plate in a compressor according to a comparative example, with a fool-proof feature 68 on the sealinggasket 60 and a corresponding fool-proof feature 38 on the non-orbitingscroll end plate 32 to align the mediumpressure discharge hole 54 of the non-orbitingscroll end plate 32 with the discharge hole in the sealinggasket 60, as shown in fig. 8. Because the position of the medium pressure exhaust hole of the different fixed vortexes is different, the cover plate and the sealing gasket are designed separately aiming at the specific fixed vortexes to match with the different medium pressure exhaust hole designs, so that the cover plate and the sealing gasket cannot be used universally. In the stage of designing the vortex concept, in order to improve the performance of the compressor and reduce the axial force of the vortex, the position of the medium-pressure exhaust hole can be continuously adjusted and changed, and a new sealing gasket and a new cover plate are required to be customized when the position of the exhaust hole is adjusted and changed every time, so that the design cost is remarkably increased, and the development speed of new products is reduced. Meanwhile, with the development of new products, the number of the cover plates and the sealing gaskets is continuously increased, the difference between the appearance characteristics of the cover plates and the sealing gaskets is very small, the material mixing is easily caused, and the normal production is influenced. In the fixed scroll according to the second embodiment of the present disclosure, however, since the middle pressure discharge holes of the fixed scroll and the cover plate may be arranged at arbitrary positions in the circumferential direction without being aligned with each other, the same set of cover plate and sealing gasket may be applied to the fixed scroll having different middle pressure discharge holes, whereby the position of the middle pressure discharge hole of the fixed scroll may be very conveniently adjusted without replacing the sealing gasket and the cover plate with new ones.
FIG. 9 illustrates a cross-sectional view of anon-orbiting scroll assembly 30b according to a third embodiment of the present disclosure. Thenon-orbiting scroll assembly 30b has substantially the same structure as thenon-orbiting scroll assembly 30a according to the second embodiment of the present disclosure, except that theair guide groove 310b is formed at the lower side of thecover plate 100b, and the top surface of the non-orbitingscroll end plate 32 is formed in a planar shape, thereby facilitating the spatial layout of the upper plane of the non-orbiting scroll and reducing the difficulty in manufacturing the non-orbiting scroll. It will be understood by those skilled in the art that the present disclosure is not limited thereto and that the air guide groove may be formed at both the top surface of the non-orbitingscroll end plate 32 and the underside of thecover plate 100.
Although various embodiments and modifications of the present disclosure have been specifically described above, it will be understood by those skilled in the art that the present disclosure is not limited to the specific embodiments and modifications described above but may include other various possible combinations and combinations. Other modifications and variations may be effected by one skilled in the art without departing from the spirit and scope of the disclosure. All such variations and modifications are intended to fall within the scope of the present disclosure. Moreover, all the components described herein may be replaced by other technically equivalent components.

Claims (11)

Translated fromChinese
1.一种涡旋压缩机构,包括:1. A scroll compression mechanism, comprising:动涡旋(20);以及an orbiting scroll (20); and定涡旋组件,所述定涡旋组件包括定涡旋(30,30a,30b)和盖板(100,100a,100b),所述定涡旋与所述动涡旋接合而限定出一系列压缩腔,所述一系列压缩腔包括中央压缩腔(C1)和中间压缩腔(C3),所述定涡旋包括定涡旋端板(32,32a),所述盖板固定在所述定涡旋端板(32,32a)的一侧,使得在所述盖板与所述定涡旋端板之间限定出能够与所述中央压缩腔流体连通的中央高压凹部(36),在所述盖板的背离所述定涡旋的一侧设置有背压腔(70),所述定涡旋组件还设置有中压通道,所述中压通道将所述中间压缩腔与所述背压腔流体连通,A fixed scroll assembly comprising a fixed scroll (30, 30a, 30b) and a cover plate (100, 100a, 100b), the fixed scroll in engagement with the orbiting scroll to define a series of compressions The series of compression chambers includes a central compression chamber (C1) and an intermediate compression chamber (C3), the fixed scroll includes fixed scroll end plates (32, 32a), and the cover plate is fixed to the fixed scroll One side of the swirl end plate (32, 32a), so that a central high pressure recess (36) that can be fluidly communicated with the central compression chamber is defined between the cover plate and the fixed scroll end plate, in the A back pressure chamber (70) is provided on the side of the cover plate away from the fixed scroll, and the fixed scroll assembly is further provided with a medium pressure channel, and the medium pressure channel connects the intermediate compression chamber with the back pressure cavity in fluid communication,其特征在于,在所述盖板与所述定涡旋端板之间设置有密封加强结构,所述密封加强结构限定出密封加强区域,所述中压通道穿过所述密封加强区域,从而防止工作流体从所述中央高压凹部泄漏至所述中压通道。It is characterized in that a sealing reinforcement structure is provided between the cover plate and the fixed scroll end plate, the sealing reinforcement structure defines a sealing reinforcement area, and the medium pressure channel passes through the sealing reinforcement area, so as to The leakage of working fluid from the central high pressure recess to the medium pressure passage is prevented.2.根据权利要求1所述的涡旋压缩机构,其特征在于,2. The scroll compression mechanism according to claim 1, wherein所述中压通道包括设置在所述定涡旋端板中的中压排气孔(54)和设置在所述盖板中的盖板排气孔(140),所述密封加强结构包括设置有纵向通孔的带孔紧固件(80),所述带孔紧固件穿过所述盖板排气孔(140)并紧固在所述中压排气孔中,使得在所述带孔紧固件处及其周围区域限定出所述密封加强区域,并且使得所述带孔紧固件在将所述盖板紧固至所述定涡旋端板的同时允许所述中间压缩腔与所述背压腔经由所述纵向通孔而流体连通。The medium pressure channel includes a medium pressure exhaust hole (54) arranged in the fixed scroll end plate and a cover plate exhaust hole (140) arranged in the cover plate, and the sealing strengthening structure includes a There is a holed fastener (80) with a longitudinal through hole, the holed fastener passes through the cover plate exhaust hole (140) and is fastened in the medium pressure exhaust hole, so that in the The holed fastener at and around the area defines the seal enhancement area and allows the holed fastener to allow the intermediate compression while securing the cover plate to the fixed scroll end plate A cavity is in fluid communication with the back pressure cavity via the longitudinal through hole.3.根据权利要求2所述的涡旋压缩机构,其特征在于,3. The scroll compression mechanism according to claim 2, wherein所述密封加强结构还包括至少设置在所述带孔紧固件周围的密封垫片或密封圈。The seal-enhancing structure further includes a sealing gasket or a sealing ring disposed at least around the perforated fastener.4.根据权利要求2所述的涡旋压缩机构,其特征在于,4. The scroll compression mechanism according to claim 2, wherein所述定涡旋组件还设置有主紧固件(124),所述主紧固件布置在所述中压通道的径向外侧并且将所述盖板固定至所述定涡旋端板。The fixed scroll assembly is also provided with primary fasteners (124) that are disposed radially outside of the intermediate pressure passage and secure the cover plate to the fixed scroll end plate.5.根据权利要求1所述的涡旋压缩机构,其特征在于,5. The scroll compression mechanism of claim 1, wherein所述密封加强结构包括设置在所述中压通道的径向内侧的第一密封环(410)和所述中压通道的径向外侧的第二密封环(420),使得在所述第一密封环(410)与所述第二密封环(420)之间限定出所述密封加强区域。The seal strengthening structure includes a first seal ring (410) disposed on the radially inner side of the medium-pressure channel and a second seal ring (420) on the radially outer side of the medium-pressure channel, so that in the first The seal strengthening area is defined between the seal ring (410) and the second seal ring (420).6.根据权利要求5所述的涡旋压缩机构,其特征在于,6. The scroll compression mechanism of claim 5, wherein所述定涡旋组件还设置有主紧固件(124),所述主紧固件和所述中压通道均位于所述密封加强区域中并且所述主紧固件将所述盖板固定至所述定涡旋端板。The fixed scroll assembly is also provided with a main fastener (124), the main fastener and the intermediate pressure channel are both located in the seal-enhancing area and the main fastener fixes the cover plate to the fixed scroll end plate.7.根据权利要求5所述的涡旋压缩机构,其特征在于,7. The scroll compression mechanism of claim 5, wherein在所述密封加强区域中,所述盖板的面向所述定涡旋端板的表面和所述定涡旋端板的面向所述盖板的表面中的一者或两者设置有环形的导气槽(310),所述中压通道包括设置在所述定涡旋端板中的中压排气孔(54)和设置在所述盖板中的盖板排气孔,所述中压排气孔和所述盖板排气孔均开口于所述导气槽。In the seal enhancement region, one or both of the surface of the cover plate facing the fixed scroll end plate and the surface of the fixed scroll end plate facing the cover plate are provided with annular An air guide groove (310), the medium pressure channel includes a medium pressure exhaust hole (54) arranged in the fixed scroll end plate and a cover plate exhaust hole arranged in the cover plate, the middle pressure exhaust hole (54) Both the pressure vent hole and the cover plate vent hole are opened in the air guide groove.8.根据权利要求5所述的涡旋压缩机构,其特征在于,8. The scroll compression mechanism according to claim 5, wherein所述主紧固件为多个并且在周向上均匀地布置。The main fasteners are plural and uniformly arranged in the circumferential direction.9.根据权利要求1至8中任一项所述的涡旋压缩机构,其特征在于,9. The scroll compression mechanism according to any one of claims 1 to 8, wherein:所述中压通道的设置在所述定涡旋端板中的部分包括与所述中间压缩腔连接的第一轴向部段(542a)、开口于所述定涡旋端板的面向所述盖板的表面的第二轴向部段(544a)、以及连接所述第一轴向部段(542a)与所述第二轴向部段(544a)的横向连接部段(546a)。The portion of the intermediate pressure passage disposed in the fixed scroll end plate includes a first axial section (542a) connected with the intermediate compression chamber, and a portion of the fixed scroll end plate that is open to the fixed scroll end plate and faces the A second axial section (544a) of the surface of the cover plate, and a transverse connecting section (546a) connecting said first axial section (542a) with said second axial section (544a).10.根据权利要求1至8中任一项所述的涡旋压缩机构,其特征在于,10. The scroll compression mechanism according to any one of claims 1 to 8, wherein:在所述定涡旋端板中设置有可变容积比孔口(52),并且在所述中央高压凹部中设置有用于选择性地开闭所述可变容积比孔口的单向阀。A variable volume ratio orifice (52) is provided in the fixed scroll end plate, and a check valve for selectively opening and closing the variable volume ratio orifice is provided in the central high pressure recess.11.一种涡旋压缩机,其特征在于,所述涡旋压缩机包括根据权利要求1至10中任一项所述的涡旋压缩机构。11. A scroll compressor, characterized in that the scroll compressor comprises the scroll compression mechanism according to any one of claims 1 to 10.
CN202010603159.8A2020-06-292020-06-29Scroll compression mechanism and scroll compressorPendingCN113931842A (en)

Priority Applications (2)

Application NumberPriority DateFiling DateTitle
CN202010603159.8ACN113931842A (en)2020-06-292020-06-29Scroll compression mechanism and scroll compressor
PCT/CN2020/122652WO2022000872A1 (en)2020-06-292020-10-22Scroll compression mechanism and scroll compressor

Applications Claiming Priority (1)

Application NumberPriority DateFiling DateTitle
CN202010603159.8ACN113931842A (en)2020-06-292020-06-29Scroll compression mechanism and scroll compressor

Publications (1)

Publication NumberPublication Date
CN113931842Atrue CN113931842A (en)2022-01-14

Family

ID=79272648

Family Applications (1)

Application NumberTitlePriority DateFiling Date
CN202010603159.8APendingCN113931842A (en)2020-06-292020-06-29Scroll compression mechanism and scroll compressor

Country Status (1)

CountryLink
CN (1)CN113931842A (en)

Cited By (5)

* Cited by examiner, † Cited by third party
Publication numberPriority datePublication dateAssigneeTitle
WO2023202552A1 (en)*2022-04-192023-10-26艾默生环境优化技术(苏州)有限公司Scroll compressor
CN116950893A (en)*2022-04-192023-10-27艾默生环境优化技术(苏州)有限公司 scroll compressor
WO2024032534A1 (en)*2022-08-082024-02-15谷轮环境科技(苏州)有限公司Compression mechanism and scroll compressor
CN117570019A (en)*2022-08-082024-02-20谷轮环境科技(苏州)有限公司 Compression mechanism and scroll compressor
US12398722B2 (en)*2023-03-232025-08-26Lg Electronics Inc.Scroll compressor

Citations (12)

* Cited by examiner, † Cited by third party
Publication numberPriority datePublication dateAssigneeTitle
US6984115B1 (en)*2004-11-022006-01-10Chyn Tec. International Co., Ltd.Axial sealing structure of scroll compressor
JP2006207594A (en)*2006-03-302006-08-10Sanyo Electric Co LtdScroll compressor
CN101046202A (en)*2007-03-272007-10-03珠海格力电器股份有限公司Compressor with floating sealing device and floating sealing device
CN101849108A (en)*2007-09-112010-09-29艾默生环境优化技术有限公司Sealing device of compressor
CN103016344A (en)*2008-01-162013-04-03艾默生环境优化技术有限公司Scroll machine
CN103122855A (en)*2013-01-312013-05-29大连三洋压缩机有限公司Scroll refrigerating compressor
CN104061157A (en)*2013-03-182014-09-24Lg电子株式会社Scroll compressor
CN104813031A (en)*2012-11-152015-07-29艾默生环境优化技术有限公司Compressor
CN105041636A (en)*2014-05-022015-11-11Lg电子株式会社Compressor and scroll compressor
CN207960933U (en)*2018-01-222018-10-12艾默生环境优化技术(苏州)有限公司Scroll compressor with capacity modulation system
EP3653835A1 (en)*2018-11-162020-05-20LG Electronics Inc.Scroll compressor
CN212717168U (en)*2020-06-292021-03-16艾默生环境优化技术(苏州)有限公司Scroll compression mechanism and scroll compressor

Patent Citations (12)

* Cited by examiner, † Cited by third party
Publication numberPriority datePublication dateAssigneeTitle
US6984115B1 (en)*2004-11-022006-01-10Chyn Tec. International Co., Ltd.Axial sealing structure of scroll compressor
JP2006207594A (en)*2006-03-302006-08-10Sanyo Electric Co LtdScroll compressor
CN101046202A (en)*2007-03-272007-10-03珠海格力电器股份有限公司Compressor with floating sealing device and floating sealing device
CN101849108A (en)*2007-09-112010-09-29艾默生环境优化技术有限公司Sealing device of compressor
CN103016344A (en)*2008-01-162013-04-03艾默生环境优化技术有限公司Scroll machine
CN104813031A (en)*2012-11-152015-07-29艾默生环境优化技术有限公司Compressor
CN103122855A (en)*2013-01-312013-05-29大连三洋压缩机有限公司Scroll refrigerating compressor
CN104061157A (en)*2013-03-182014-09-24Lg电子株式会社Scroll compressor
CN105041636A (en)*2014-05-022015-11-11Lg电子株式会社Compressor and scroll compressor
CN207960933U (en)*2018-01-222018-10-12艾默生环境优化技术(苏州)有限公司Scroll compressor with capacity modulation system
EP3653835A1 (en)*2018-11-162020-05-20LG Electronics Inc.Scroll compressor
CN212717168U (en)*2020-06-292021-03-16艾默生环境优化技术(苏州)有限公司Scroll compression mechanism and scroll compressor

Cited By (5)

* Cited by examiner, † Cited by third party
Publication numberPriority datePublication dateAssigneeTitle
WO2023202552A1 (en)*2022-04-192023-10-26艾默生环境优化技术(苏州)有限公司Scroll compressor
CN116950893A (en)*2022-04-192023-10-27艾默生环境优化技术(苏州)有限公司 scroll compressor
WO2024032534A1 (en)*2022-08-082024-02-15谷轮环境科技(苏州)有限公司Compression mechanism and scroll compressor
CN117570019A (en)*2022-08-082024-02-20谷轮环境科技(苏州)有限公司 Compression mechanism and scroll compressor
US12398722B2 (en)*2023-03-232025-08-26Lg Electronics Inc.Scroll compressor

Similar Documents

PublicationPublication DateTitle
CN113931842A (en)Scroll compression mechanism and scroll compressor
CN212717168U (en)Scroll compression mechanism and scroll compressor
CN204511881U (en) Fixed scroll component and scroll compressor including the fixed scroll component
CN218093424U (en) Fixed Scroll Assemblies and Scroll Compressors
CN111980918B (en)Scroll compressor having a rotor with a rotor shaft having a rotor shaft with a
CN111472977B (en)Valve assembly and compressor
WO2025082435A1 (en)Compression mechanism
CN215333410U (en)Compression mechanism
CN113494451A (en)Compression mechanism and scroll compressor
EP1653080B1 (en)Discharge structure of compressor, with non-return valve
CN210218102U (en)Scroll compressor having a plurality of scroll members
CN218376868U (en)Fixed scroll assembly and scroll compressor
CN113074256B (en)Electromagnetic valve
CN218669812U (en) Compression mechanism and scroll compressor
EP3978754B1 (en)Scroll compressor
CN217462522U (en)Scroll compressor having a plurality of scroll members
CN203756545U (en)Valve assembly and compressor including the same
CN115143103B (en) Compression mechanism
WO2022000872A1 (en)Scroll compression mechanism and scroll compressor
JP4616090B2 (en) Compressor
CN211950846U (en)Capacity modulated scroll compressor
CN223270172U (en) scroll compressor
CN223152276U (en)Vortex assembly and vortex compressor
CN215949817U (en)Scroll compressor having a plurality of scroll members
CN112780546A (en)Scroll compressor having a plurality of scroll members

Legal Events

DateCodeTitleDescription
PB01Publication
PB01Publication
SE01Entry into force of request for substantive examination
SE01Entry into force of request for substantive examination
CB02Change of applicant information
CB02Change of applicant information

Address after:No. 69 Suhong West Road, Industrial Park, Suzhou City, Jiangsu Province, 215101

Applicant after:Gulun Environmental Technology (Suzhou) Co.,Ltd.

Address before:Emerson R & D and overall solution center, 35 Suhong West Road, Suzhou Industrial Park, Jiangsu Province, 215021

Applicant before:EMERSON CLIMATE TECHNOLOGIES (SUZHOU) Co.,Ltd.


[8]ページ先頭

©2009-2025 Movatter.jp