Movatterモバイル変換


[0]ホーム

URL:


CN1139235C - Intelligent network telephone - Google Patents

Intelligent network telephone
Download PDF

Info

Publication number
CN1139235C
CN1139235CCNB001249703ACN00124970ACN1139235CCN 1139235 CCN1139235 CCN 1139235CCN B001249703 ACNB001249703 ACN B001249703ACN 00124970 ACN00124970 ACN 00124970ACN 1139235 CCN1139235 CCN 1139235C
Authority
CN
China
Prior art keywords
pin
connect
resistance
capacitor
ground connection
Prior art date
Legal status (The legal status is an assumption and is not a legal conclusion. Google has not performed a legal analysis and makes no representation as to the accuracy of the status listed.)
Expired - Fee Related
Application number
CNB001249703A
Other languages
Chinese (zh)
Other versions
CN1346200A (en
Inventor
刘迎建
马梁
周国兵
李黎
董博
张向忠
王飞
李新志
檀勇
刘宝宁
Current Assignee (The listed assignees may be inaccurate. Google has not performed a legal analysis and makes no representation or warranty as to the accuracy of the list.)
Beijing Sinodata Technology Co., Ltd.
Original Assignee
HANWANG SCIENCE AND TECHNOLOGY Co Ltd BEIJING
Priority date (The priority date is an assumption and is not a legal conclusion. Google has not performed a legal analysis and makes no representation as to the accuracy of the date listed.)
Filing date
Publication date
Application filed by HANWANG SCIENCE AND TECHNOLOGY Co Ltd BEIJINGfiledCriticalHANWANG SCIENCE AND TECHNOLOGY Co Ltd BEIJING
Priority to CNB001249703ApriorityCriticalpatent/CN1139235C/en
Publication of CN1346200ApublicationCriticalpatent/CN1346200A/en
Application grantedgrantedCritical
Publication of CN1139235CpublicationCriticalpatent/CN1139235C/en
Anticipated expirationlegal-statusCritical
Expired - Fee Relatedlegal-statusCriticalCurrent

Links

Images

Landscapes

Abstract

The present invention relates to an intelligent network telephone which belongs to a device for communication, information interchange and information storage. The intelligent network telephone is an information domestic electric appliance with the function integration of a telephone, a fax, the Internet and an electronic notebook. The appliance is provided with a display screen, and a drawer type keyboard is arranged at the bottom of the appliance. The faxing operation and the note recording operation can be realized through the keyboard or input by hands. In addition, the intelligent network telephone is also provided with a serial interface of a printer, an infrared port and a storage card slot so that the intelligent network telephone is convenient for printing and information transmission to PC, palm computers and cell phones. The present invention can help people process various kinds of information transferred on a telephone line and has various functions required for the use of the telephone by a telephone directory, notepaper, etc. The shape of the telephone is similar to the shape of a general telephone, a microphone and a loudspeaker are arranged in the telephone, and the display screen is provided with a backlight connector and a touch screen.

Description

Intelligent network telephone
Technical field
The invention belongs to the device of communication and information interchange, storage.
Background technology
The device of original communication, information interchange, storage is of a great variety, as plain old telephone, radio telephone, fax, Email, e-commerce or the like.Hands-free phone, cordless telephone, telegraphone, the phone that has caller identification and mobile phone or the like are arranged in the plain old telephone, some integrating devices are also arranged, can make a phone call, can fax again as some facsimile machine.Email has been the mode of a kind of communication and cooperation more and more important during people live, usually people use desktop PC to be equipped with modulator-demodulator and insert Internet, and use corresponding mail transmission/reception software to realize sending, receiving Email, need to start PC in this process, the operation dialer software, the operation mail software, this is complicated loaded down with trivial details to domestic consumer.In information age today, these communication devices can not satisfy quick and easy, cheap, the requirement of using personal information processing such as simple, comprehensive contact of people to communication modes.
Summary of the invention
The objective of the invention is to design a current collection words, fax, online, electronic notebook (PDA) in the Internet appliance product of one.This product has display screen, and the bottom also has a drawer type keyboard.Fax, account can be by keyboard or handwriting input, also has printer port in addition, infrared mouthful, serial port and storage card slot, be convenient to print and with PC, PDA, mobile phone transferring information.
Technical essential of the present invention is as shown in Figure 1: intelligent network telephone is made of mainboard, peripheral control circuit-interface, phone and modulator-demodulator three parts.
Its technical characterictic is: display is connected with the CPU processor on mainboard, and touch-screen connects touch screen controller, and this controller also connects the CPU processor, and the CPU processor is connected with flash memory with flash memory, program with dynamic random access memory, data respectively.
Contain address distributor connection input buffer and output latch in the system circuit outside, and be connected drawer type keyboard under the telephone base, parallel port and compact flash (CFCompaact Flash Card) card, this circuit comprises serial ports and infrared mouth, and this serial ports is connected with CPU processor and modulator-demodulator by serial port with infrared mouthful.
On modulator-demodulator and telephone circuit plate, the dialing control circuit of phone, conversation control circuit, ring control circuit are connected with the off-hook control circuit respectively, also be connected with modulator-demodulator, and receive on the telephone wire by modulator-demodulator, the CPU processor in the mainboard also is connected transfer control signal with phone.Modulator-demodulator is connected with CPU processor, serial ports, infrared mouth by serial port.
Display control circuit figure is as shown in Figure 2 in the mainboard:
Liquidcrystal connector P19,11,7,5,14,15,16,17 pin connect 38,39,41~46 pin of CPU processor U6 respectively; 1,7,8,14 pin of the operational amplifier among the amplifying circuit U14 connect 2 pin, 13 pin, 12 pin, 1 pin of liquid crystal connector P1 respectively, and 4 pin of liquid crystal connector P1 meet power supply VCC, 6,8 pin ground connection in parallel; 4 pin of amplifying circuit U14 meet power supply VEE, 3 pin of U14 meet power supply VEE and connect 5 pin byresistance R 59 byresistance R 58, and 10 pin, 10 pin that 5 pin of U14 meet U14 byresistance R 52 again connect 12 pin, 12 pin of U14 again by resistance R 61 ground connection by resistance R 60 again; 1 pin of U14 links to each other with 2 pin, 6 pin link to each other with 7 pin, 8 pin link to each other with 9 pin, 13 pin link to each other with 14 pin; The 2 pin ground connection of backlight driver U33,3 pin of U33 connect power supply byinductance L 3,7 pin of U33,8 pin link to each other bycapacitor C 34,6 pin connect power supply, and 9 pin by data latches U26 in the 1 pin connecting interface plate of capacitor C 35 ground connection U33,4 pin of U33,5 pin connect 1,2 pin of backlight connector J5 respectively.
Touch-screen in the mainboard and touch controller circuit be as shown in Figure 3:
1 pin, 10 pin of touch screen controller U7 meet power supply VCC by resistance R 63, and be connected ground connection afterwards with 6 pin by capacitor C 121, its 9 pin meets power supply VCC byresistance R 57, and by capacitor C 72 ground connection, 11 pin of U7 pass through capacitor C 139 ground connection, and are connected to 27 pin of processor CPUU6,12 pin of U7 are connected to 10 pin of CPU processor U6,14 pin of U7 are connected to 9 pin of U6, and 15 pin of U7 are connected to 48 pin of U6, and 16 pin of U7 are connected to 11 pin of U6; Touch-screen is connected with 2,5,4,3 pin of U7 by 2,4,6,8 pin of film socket J4.
CPU processor circuit in the mainboard connects as shown in Figure 4:
58,78,97,17,40,25 pin of CPU processor U6 are connected to power supply VCC, 22,67,87,8,31,49 pin ground connection, capacitor C 47, C50, C51, C52, C53, C54 are the decoupling capacitor that connects between power supply and the ground, 77 pin meet power supply VCC byresistance R 7, and bycapacitor C 1 ground connection, 23,24 pin are connected the two ends of crystal oscillator Y2, and by capacitor C 45, C46 ground connection, 21 pin meet power supply VCC by resistance R 48, and, connectswitch S 2 ground connection again byresistance R 84 simultaneously bycapacitor C 39 ground connection; Other parts are connected with memory, display, interface, touch-screen, power supply respectively.
Memory in the mainboard is as shown in Figure 5:
1,6,21 pin of dynamic random access memory chip U8, U9 meet power supply VCC respectively, 22,37,42 pin difference ground connection,data wire 2,3,4,5,7,8,9,10,33,34,35,36,38,39,40,41 pin of U8, U9 are connected respectively to 75,74,73,72,71,70,69,68,66,65,64,63,62,61,60,59 pin of the module U6 of processor CPU;Address wire 17~20,23~28 pin of memory U8, U9 are connected respectively to 82~86,88~93 pin of the module U6 of processor CPU,control line 13,29,30,31 pin of U8, U9 connect 12,79,50,51 pin of U6 respectively,control line 14 pin of U8, U9 connect 53,52 pin of U6 respectively, program meets power supply VCC with flash memory U10, data respectively with 37,47 of flash memory U11, and 27,46 pin are ground connection respectively;Data wire 29,31,33,35,38,40,42,44,30,32,34,36,39,41,43,45 pin of U10, U11 connect 75~68,66~59 pin of CPU U6 respectively;Address wire 25,24,23,22,21,20,19,18,8,7,6,5,4,3,2,1,48,17,16,9 pin of U10, U11 connect 82~86,88~100,1~4 pin of U6 respectively;Control line 11 pin of U10, U11 connect 80 pin of U6, and 26 pin of U10, U11 connect 57,56 pin of U6 respectively, and 28 pin of U10, U11 connect 79 pin of U6.
Peripheral control circuit-interface circuit of the present invention is as shown in Figure 6: U22, U23 are decoders, 82,83,84 pin of processor CPUU6 in 1,2, the 3 pin difference map interlinking 4 of decoder U23,55 pin of U6 in the 4pin map interlinkings 4 of U23,79 pin of U6 in the 5pin map interlinkings 4 of U23,3 pin of U6 in the 6pin map interlinkings 4,15 pin connect 19 pin of buffer U28,11 pin connect 19 pin of buffer U17,10 pin connect 17 pin of U17,9 pin connect 19 pin of data buffer U27,16 pin meet power supply VCC and connectcapacitor C 82 back ground connection, and 8 pin connect digitally; 82,83,84 pin of processor U6 in 1,2, the 3 pin difference map interlinking 4 of decoder U22,55 pin of U6 in the 4pin map interlinkings 4,80 pin of U6 in the 5pin map interlinkings 4,3 pin of U6 in the 6pin map interlinkings 4,15 pin connect 11 pin of U26,13 pin connect 21 pin of U17,12 pin connect 20 pin of U17, and 10 pin connect 18 pin of U17, and 16 pin meet power supply VCC, and connecingcapacitor C 75 back ground connection, 8 pin connect digitally; U16, U17 are the buffers ofconvertible 3V and 5V level; 1 pin of U16 meets power supply VCC, and connectscapacitor C 73 back ground connection; 23,24 pin and joining power VCC, and connect capacitor C 74 back ground connection; 11,12,13 pin connect digitally, 22 pin connect 6 pin of NAND gate U20,80 pin of U6 in the 2pin map interlinkings 4,3 pin connect 3 pin of data latches U24 and 2 pin of data buffer U25, and 4 pin connect 4 pin of U24 and 3 pin of U25, and 5 pin connect 7 pin of U24 and 4 pin of U25,6 pin connect 8 pin of U24 and 5 pin of U25,7 pin connect 13 pin of U24 and 6 pin of U25, and 8 pin connect 14 pin of U24 and 7 pin of U25, and 9 pin connect 17 pin of U24 and 8 pin of U25,10 pin connect 18 pin of U24 and 9 pin of U25,1 pin of U17 connects power supply, and connects capacitor C 83 back ground connection, 23,24 pin and joining power, connectcapacitor C 84 back ground connection again, 11,12,13 pin ground connection, 2,22 pin ground connection, 21 pin connect 13 pin of U22,20 pin connect 12 pin of U22,19 pin connect 11 pin of U23, and 18 pin connect 10 pin of U22, and 17 pin connect 10 pin of U23,14 pin of U6 in the 16pin map interlinkings 4,6 pin connect 11 pin of U24, and 7 pin connect 19 pin of U25,3 pin of 8 pin order socket pin J6; U26 is a data latches, the 1 pin ground connection of U26,11 pin connect 15 pin of U22,20 pin connect power supply, 10 pin ground connection, 3, data wire D8 to D15 (66~59) pin of U6 in the map interlinking 4 of 4,7,8,13,14,17,18 pin difference, the COL0 of 2 pin map interlinkings, 14 function key control circuits, COL1 in 5 pin map interlinkings, the 14 function key control circuits, 10 pin of P1 in the 6pin map interlinkings 2,1 pin of LCD backlight chip U33 in the 9pin map interlinkings 2,12,14,13,12,11 pin of data buffer U29 in the map interlinking 14 of 15,16,19 pin difference, 20 pin connect power supply, and 10 pin connect digitally; U27, U28 in peripheral control circuit-interface circuit are data buffers, 19 pin of U28 connect 15 pin of U23,1 pin ground connection, data wire D8 to D15 (66~59) pin of U6 in the map interlinking 4 of 2,3,4,5,6,7,8,9 pin difference, the COL0 of 18pin map interlinkings 14, the COL1 of 17pin map interlinkings 14,16 pin connect power control circuit, 1 pin of U33 in the 15pin map interlinkings 2,14,13,12,11 pin of U29 in 14,13,12, the 11pin map interlinkings 14,20 pin connect power supply, and 10 pin connect digitally; 19 pin of data buffer U27 connect 9 pin of U23,1 pin ground connection, and data wire D8 to D15 (66-59) pin of U6 in the map interlinking 4 of 2,3,4,5,6,7,8,9 pin difference, 18,17,16,15,14,13,12,11 pin are the ROW0 to ROW7 of map interlinking 14 respectively; U24 is a data latches, 3,4,7,8,13,14,17,18 pin of U24 connect 3 to 10 pin of U16 respectively, 19,20,21 pin of double contact pin J1 among 2,5, the 6 pin difference map interlinking 12-b of U24,13 pin of J1 among the 9 pin map interlinking 12-b of U24,26 pin of J1 among the 12 pin map interlinking 12-b, 9 pin of J1 among the 19 pin map interlinking 12-b, 20 pin meet power supply VCC, 10 pin ground connection; U25 is a data buffer, 2 to 9 pin of U25 connect 3 to 10 pin of U16 respectively, 18,19,20,21 pin of J1 among 17, the 16 pin difference map interlinking 12-b, 13 pin of J1 among the 15 pin map interlinking 12-b of U25,26 pin of J1 among the 14 pin map interlinking 12-b of U25, the end of the 13 pin connecting resistance R1 of U25, another termination power of R1,9 pin of J1 among the 11 pin map interlinking 12-b; 5 pin of one termination J6 ofresistance R 149,13 pin of U6 among the positive pole of another terminating diode D32 of R149 and Fig. 4; 16 pin of one termination U24 of resistance R 151, the register gating pin of the positive pole of another terminating diode D17 and CF card, also 1 pin of J2 among the map interlinking 12-b; 15 pin of one termination U24 of resistance R 152, the positive pole of another terminating diode D6 and the resetting pin of CF card are 2 pin of J2 among the map interlinking 12-b also; Diode D6, D17, D32, negative pole meet power supply VCC, and U19A, B, C, D are one group of NOR gate, 55 pin of U6 in 2, the 6pin map interlinkings 4 of U19A, B, 3 pin of U6 in the 3pin map interlinkings 4,1 pin of U19A connect 5 pin of U19B and 1,2 pin of U20A, 4 pin of U19B, connect 4 pin of U20B, 8 pin of U19C connect 8 pin of U20C, and 9 pin of U19C connect 11 pin of U20D, 10 pin of U19C connect 9 pin of U21C, 11 pin of U19D connect 3 pin of U21A, and 12 pin of U19D connect 6 pin of U21B, and 13 pin of U19D connect 10 pin of U21C; U20A, B, C, D, U21A, B, C, D are two groups of NAND gate, 1,2 pin of U20A connect 1 pin of 19A, the chip select pin that 3 pin of U20A connect the CF card is 21 pin of J2 among the map interlinking 12-b also, 4 pin of U20B connect 4 pin of U19B, 5 pin of U20B connect 9 pin of U23,6 pin of U20B connect 22 pin of U16,8 pin of U20C connect 8 pin of U19C, the ROW0 of the 9pin map interlinkings 14 of U20C, the ROW1 of the 10pin map interlinkings 14 of U20C, 11 pin of U20D connect 9 pin of U19C, the ROW2 of U20D12 pin map interlinking 14, the ROW3 of the 13pin map interlinkings 14 of U20D; The ROW4 of the 1 pin map interlinking 14 of U21A, the ROW5 of the 2pin map interlinkings 14 of U21A, the ROW6 of the 4pin map interlinkings 14 of U21B, the ROW7 of the 5pin map interlinkings 14 of U21B, 3 pin of U21A connect 11 pin of U19D, and 6 pin of U21B connect 12 pin of U19D, 9 pin of U21C connect 10 pin of U19C, 10 pin of U21C connect 13 pin of U19D, and the IRQ3 of U6 is 29 pin in the 11pin map interlinkings 4 of U21D, and 12,13 pin of U21D connect 8 pin of U21C; J6 is single contact pin, 1 pin of J6 connects power supply, the serial data that 2 pin connect modulator-demodulator receives also 18 pin of J1 among the map interlinking 12-b of pin, the serial data that 4 pin connect modulator-demodulator sends also 15 pin of J1 among the map interlinking 12-b of pin, 3 pin connect 8 pin of U17, and 5 pin connect 1 pin of R149,6 pin ground connection, the IRQ3 of U6 is 29 pin in the 7pin map interlinkings 4, and the effective pin of data that 8 pin meet CPU is 76 pin.
Dialing control circuit figure is as shown in Figure 7:
4 pin of the 1 pin combination hub JP6 of dialing chip U15,2 pin of U15 connect 3 pin of JP6,3 pin of U15 connect 6 pin of JP6,4 pin of U15 are unsettled, 5 of U15,6 pin ground connection V-, 7 pin of U15 connect crystal oscillator Q2 one end, and through capacitor C 85 ground connection V-, 8 pin of U15 connect the Q2 other end, and throughcapacitor C 86 ground connection V-, 9 pin of U15 connect the base stage of triode T2, and connecting resistance R12, another termination V+ of R12, the grounded emitter V-of T2,12 pin of the collector electrode map interlinking 10 conversation chip U13 of T2, and meet power supply V+ throughresistance R 15, the 10 pin ground connection V-of U15,11 pin of U15 are unsettled, the 13 pin ground connection V-of U15,14 pin of U15 meet power vd D, 15 pin of U15 connect 10 pin of JP6, and 16 pin of U15 connect 7 pin of JP6, and 17 pin of U15 connect 8 pin of JP6,18 pin of U15 connect 5 pin of JP6,12 pin of U15 are through resistance R 91, and in capacitor C 47map interlinkings 10speaking circuits 11 pin of U13, resistance R 91 connectscapacitor C 3 andresistance R 20 back ground connection V-; 1 pin of hook switch HOOK1 meets power supply V+; 2 pin of HOOK1 meet power supply V++; 3,6 pin of HOOK1 are unsettled.4 pin of HOOK1 meet network TRING, and 5 pin of HOOK1 meet network RING; 11 pin of termination Figure 12 of reset key K1-b socket J1, other end ground connection.
The ring control circuit is as shown in Figure 8:
1 pin of relay J K3 and 6 pin connect the RING network by 5 pin of the switch HOOK1 in the dialing control circuit, the 5 pin ground connection of JK3, JK3 2 pin connect the 5V power supply, 4 pin of JK3 are connected in series throughresistance R 59 and capacitor C 97 and connect 1 pin of U12 again, 2 pin of U12 connect the negative pole of ring loudspeaker B5,3 pin of U12 connect the positive pole of B5,4 pin of U12 serial connection capacitor C 90 again and connect capacitor C 93, resistance R 30, resistance R 62, capacitor C 92,U12 7 pin; 5 pin of U12 are respectively after capacitor C 93 and resistance R 30 and receive 7 pin of U12; 6 pin of U12 are received 7 pin of U12 respectively after resistance R 62 andcapacitor C 92,8 pin of U12 meet network TIP.
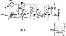
Phone part off-hook control circuit of the present invention is as shown in Figure 9:
Two ac input ends of full-bridge B3, the socket of a termination Fig. 7, another terminal network TIP; The negative terminal of B3 connects simulation ground, the emitter of positive termination triode BG8, and connect the base stage of BG8 through resistance R 54, and connect the base stage of triode BG7 and light 5 pin every O2 throughresistance R 13; Light links to each other with the emitter of triode BG7 and meets simulation ground V-every 4 pin of O2, and the base stage of triode BG8 connects the collector electrode of triode BG7, the grounded collector V+ of BG8 through resistance R 55.Light connects 9 pin of the socket J1 shown in Figure 12-b every 1 pin of O2 through resistance R 79, and light is every the 2 pin ground connection of O2; The collector electrode of triode T5 meets V+, 12 pin of the dialing chip U15 of the base stage parallel resistance R14 of T5 and capacitor C 89map interlinkings 7, and the emitter of T5 meets V-through R33; The base stage of triode T3 meets network V++ through resistance R 78, the base stage of the collector connecting transistor T4 of T3 andcapacitor C 99, resistance R 76, and meet V+ throughresistance R 77, the other end of the other end of resistance R 76,capacitor C 99 and connect R50 one end after meet V-; The collector electrode of triode T4 and connection electrical resistance R81, R56, V+, 6 pin of the socket J1 of another termination of R81 shown in Figure 12-b, the emitter of T4 meets V-throughresistance R 50; The other end ofresistance R 56capacitor C 87 that is connected in parallel, voltage stabilizing didoe Z6 and VDD, the ground connection anodal in parallel of the other end of C87 and Z6; 14 pin of dialing chip U15 meet V+ through R56, in this circuit, also has light every O3, its 1 pin connects resistance R 80, the other end of R80 connects network V++, the 4 pin ground connection of O3, the 5 pin connecting resistance R16 of O3 reach 32 pin by U6 in the 7pin map interlinkings 4 of J1 among Figure 12-b, another termination power of R16, and 2 pin of O3 meet V-.
Converse control circuit as shown in figure 10:
1 pin of conversation chip U13 and connect V++, voltage stabilizing didoe Z7 negative pole, resistance R 64,U13 1 pin and connect 13 pin of U13 and resistance R 58, capacitor C 88 through resistance R 64; V++ is by behind the R65, connect simulation ground through capacitor C 95, and connect 10 pin of U13 throughcapacitor C 21, and through resistance R 66 after resistance R 67 connects the positive pole of Z7 and 16 pin of U13, again throughresistance R 68,16 pin that meet simulation ground U13 after resistance R that is connected in parallel 57 and thecapacitor C 56resistance R 70 that is connected in parallel,resistance R 71, another termination simulation ground of R71,16 pin are also throughcapacitor C 73 and connect 2 pin, the resistance R 69 of U13,3 pin of another termination U13 of R69,14 pin and the capacitor C 91 of another termination U13 ofresistance R 70, the other end ground connection of C91; 15 pin of U13 connect simulation ground through resistance R 72; 8 pin of U13 connect simulation ground throughresistance R 73; 9 pin of U13 connect simulation ground; The 6 foot meridian capacitor C81 of U13 connect simulation ground, and connect 7 pin of U13 through resistance R 74; The 7 foot meridian capacitor C82 of U13 connect simulation ground, and aftercapacitor C 22 andresistance R 75, connect simulation ground behind the microphone of the handle of answering the call, and microphone is parallel resistance R58 also, and the 13 foot meridian capacitor C88 of the 13 pin U13 of another termination U13 of R58 connect simulation ground; The 5 foot meridian capacitor C50 of U13 connect simulation ground, and also answer the call after thecapacitor C 39 receiver earphone of handle of 4 pin that meet the 4 pin U13 of U13 through resistance R 63 and capacitor C 94 respectively connects simulation ground; One end of 11 pin map interlinkings, 7 capacitor C 47 of U13, the collector electrode of the triode T2 of the 12pin map interlinkings 7 of U13.
Loud speaker, voice output control circuit be as shown in figure 11:
The centre cap of potentiometer POT1 also connects 3 pin and thecapacitor C 52 of audio-frequency function amplifier U19, the two ends in addition of POT1, one end is through resistance R 83 ground connection, the other end also meetscapacitor C 26, C27, the other end series resistance R82 ofcapacitor C 26,7 pin of the other end series connection operational amplifier U18B of R82, the other end series resistor R84 ofcapacitor C 27, the other end series connection network MDMSPK of R84; The 2 pin ground connection of U19,3 pin of U19 are through C52 ground connection, the 7 foot meridian capacitor C42 of U19 and the 4 pin ground connection in parallel of U19; 8 pin of U19 are connected in series and connect 1 pin of U19 after capacitor C 44 and theresistance R 51; 6 pin of U19 also connect 5V power supply,capacitor C 25 and capacitor C 43, C25, C43 ground connection in parallel, 5 pin of U19 are through resistance R 89 andcapacitor C 84 series connection ground connection, and through A pin and the capacitor C 24 of capacitor C 41 and lug machine transplanting of rice seat JP5, the other end of C24 also connects loudspeaker S1 negative pole and ground connection; The B pin of JP5 connects the positive pole of loud speaker S1; The C pin of JP5 is through microphone MIC1 ground connection; The D pin of JP5 meets network MICPHONE; The E pin ground connection of JP5; 8 pin of J1 are through resistance R 85 and connect 3 pin,capacitor C 77 and the resistance R 60 of amplifier U18A, C77, R60 ground connection in parallel; 2 pin of U18A connect 1 pin of U18A throughresistance R 87; The 4 pin ground connection of U18A, 8 pin of U18A also meet 5V power supply, capacitor C 40 and C23, C40, C23 ground connection in parallel; 1 pin of U18A and connects capacitor C 79, resistance R 88, capacitor C 76, the other end ground connection of C79,7 pin of another termination U18B of C76 afterresistance R 86; 5 pin of U18B also meet R88 one end and C78, and through capacitor C 78 ground connection; 6 pin of U18B are through resistance R 61 ground connection and connect 7 pin of U18 through R17.
The infrared interface circuit of phone of the present invention is shown in Figure 12-a:
1,4 pin of infrared serial ports U18 ground connection in parallel, 2 pin of U18 are unsettled; 3 pin of U18 connect the 3V power supply, 26 pin of the double contact pin J1 shown in the 5 pin map interlinking 12-b of U18, and 25 pin of the J1 shown in the 6 pin map interlinking 12-b of U18,7 pin of U18 connect 24 pin of J1, and 8 pin of U18 connect the 3V power supply, and throughcapacitor C 96 ground connection.
CF card socket of the present invention is shown in Figure 12-c:
1 of CF deck CF1,50 pin ground connection, 2 pin of CF1 connect 26 pin of J2,3 pin of CF1 connect 25 pin of J2,4 pin of CF1 connect 24 pin of J2,5 pin of CF1 connect 23 pin of J2,6 pin of CF1 connect 22 pin of J2,7 pin of CF1 connect 21 pin of J2, and through capacitor C 268 ground connection, 8 pin of CF1 connect 20 pin of J2,9 pin of CF1 connect 19 pin of J2,10 pin of CF1 connect 18 pin of J2,11 pin of CF1 connect 17 pin of J2,12 pin of CF1 meet 16 pin of J2,13 of CF1,32,38 pin connect 15 pin of J2, and 14 pin of CF1 connect 14 pin of J2,15 pin of CF1 connect 13 pin of J2,16 pin of CF1 connect 12 pin of J2, and 17 pin of CF1 connect 11 pin of J2, and 18 pin of CF1 connect 10 pin of J2,19 pin of CF1 connect 9 pin of J2,20 pin of CF1 connect 8 pin of J2, and 21 pin of CF1 connect 7 pin of J2, and 22 pin of CF1 connect 6 pin of J2,23 pin of CF1 connect 5 pin of J2,25 of CF1,26 pin connect 4 pin of J2, and 36 pin of CF1 connect 3 pin of J2, and 41 pin of CF1 connect 2 pin of J2,44 pin of CF1 meet 1 pin of J2,24 of CF1,27,28,29,30,31,33,34,35,37,39,40,42,43,45,46,47,48,49 pin are unsettled.
Modulator-demodulator of the present invention is as shown in figure 13:
It is made of devices such as processor, memory, buffer, amplifier, triode, diode, resistance, electric capacity.
It is characterized in that integrated circuit U80 is a command processor, its data/address bus D0-D7 (41-48) pin links to each other with D0-D7 (13-21) pin of integrated circuit program storage U82 and D0-D7 (13-21) pin of integrated circuit data storage U83 respectively, in addition, it also links to each other with D0-D7 (88-95) pin of data processor U81.The A0-A17 (12,11,10,9,8,7 of the address bus A0-A17 of U80 (54-69,73,77) pin and program storage U82,6,5,27,26,23,25,4,28,29,3,2,30) pin links to each other, simultaneously A0-A16 (54-69,73) pin again with the A0-A16 (12 of data storage U83,11,10,9,8,7,6,5,27,26,23,25,4,28,3,31,2) link to each other, and the A0-A4 of U80 (54-58) is then continuous with the RS0-RS4 (96,97,2,3,4) of data processor U81.
U80~WRITE ,~READ ,~RAMSEL (3,4,76) pin and U83~WE ,~OE ,~CS1 (29,24,22) pin links to each other; U80~WRITE ,~READ ,~ROMSEL again with U82~WE ,~OE ,~CE (31,24,22) pin links to each other; U80~DPSEL ,~WRITE ,~READ ,~DPIRQ then with data processor U81~CS ,~WRITE ,~READ ,~IRQ (5,6,7,80) links to each other.
Command processor U80 is connected with 5 pin and the resistance R 140 of integrated package U74 by NVMDATA (33) pin, 8 pin, power supply and the capacitor C 187 of the other end connection U74 of R140, the other end connection U74 of C187 1,2,3,4, pin and ground connection, the 7 pin ground connection of U74; 6 pin that the NVMCLK of U80 (39) pin connects integrated circuit U74 are used for storing data.
Command processor U80 connects serial port DB2 by interface chip U77, to connect PC.Wherein U80~R1 ,~CTS ,~DSR ,~RLSD (18,14,13,15) pin connect the 5DA of integrated circuit U77,4DA, 2DA, 1DA (9,7,3,2) pin.
U80~DTRIND (21) pin forms the control indicator light circuit after connecting resistance R 267, triode BG14, light-emitting diode D17 and resistance R 277 and ground connection.
Data processor U81~RES2 (36) pin is with~RES1 (17) pin and after connecting, with U80~RESET (1) pin parallel diode D49, after the resistance R 141, onetermination 5V power supply, another termination capacitor C 232 back ground connection form electrify restoration circuit, and modulator-demodulator is resetted.
The XTLI of U80, XTLO (9,10) pin, by connecting resistance R 212, crystal oscillator Q4 forms oscillating circuit after capacitor C 270, the C269 ground connection.
The VDD of U80, VDD ,~NMI ,~five pin of STPMODE, DAA/CELL (8,51,2,24,50) connect the 5V positive supply, and and connect ground connection behind three electrochemical capacitor C238, C231, the C248.
Six GND (72,53,52,29,12,49) pin of U80 also connects ground.
Connect 5V power supply and ground connection respectively behind the VCC of program storage U82 (32) pin and GND (16) the pin shunt capacitance C182.
Again and connect capacitor C 183, electrochemical capacitor C245, and link to each other after the VCC of data storage U83, CS2 (32,30) the pin parallel connection with GND (16) pin of U83.Last electrochemical capacitor C245 onetermination 5V power supply, an end ground connection.Connect the 5V power supply behind the CSI of U83 (22) the pin connecting resistance R136.
3 pin of buffer U86A connect among the U80~(8) pin of DTR (25) pin and U85C; 2 pin of U86A connect among the U80~CTS (14) pin; 6 pin of U86B connect among the U80~(11) pin of RTS (27) pin and U85D; (5) pin of U86B also connects among the U80~CTS (14) pin; (1) pin of U86A and (4) pin of (4) pin attachment plug more in parallel JP9 of U86B and (4) pin of plug JP10; (9) pin of U85C connects 3RY (8) pin among the U77; Be connected in parallel (2) pin of JP9 of (13) pin of (10) pin of U85C and U85D; 12 pin of U85D connect 1RY (5) pin among the U77.
1 pin of U85A and 4 pin of U85B also connect 2 pin that meet JP9 again and 2 pin of JP10; 2 pin of U85A and 9 pin of U84C are connected in parallel U80's~RXD (38) pin, connect power supply behind the connecting resistance R148 again; 3 pin of U85A 3DA (4) pin that connects again among the U77 in parallel with 3 pin of U84A; 5 pin of U85B 2RY (6) pin that connects again among the U77 in parallel with 5 pin of U84B; 6 pin of U85B are in parallel with 11 pin of U84D to be connect among the U80 again~TXD (34) pin; 4 pin of U84B with connect 3 pin of JP9 and 6 pin of JP10 after 1 pin of U84A is in parallel; 6 pin of U84B with connect power supply after 8 pin of U84C are in parallel; 2 pin of U84A are in parallel with 12 pin of U84D, connect power supply; 13 pin of U84D and 4 pin that meet JP9 after 10 pin of U84C are in parallel.
The 1 pin ground connection of JP9,2,3,4 pin connect resistance R 144, R145, R146 respectively, and R144, R145, the R146 other end also connect the 5V power supply, form three-way pull-up resistor.
The XTCLK of U81 (64) pin and VD3.3 (11) pin that meets U80 after LA2CLK (58) pin is in parallel; Connect CLKIN (86) pin of U81 behind the CLKOUT of U80 (31) the pin connecting resistance R213; U80~WKRESOUT (79) pin connect U81~WKRES (9) pin; U80~DPRXD (37) pin connects RXD (67) pin of U81.
Power circuit forms current rectifying and wave filtering circuit by two rectifier bridge B7, B10, capacitor C 191, C192, electrochemical capacitor C278, C279, C280, inductance coil L20, L21, variable resistor F2.It is connected with 1 pin of voltage stabilizing circuit U79,3, the 5 pin ground connection of U79; 2 pin divide two-way, and one the tunnel connects ground connection behind the diode D50, and one the tunnel connects inductance coil L22, divide two-way again after connecing inductance coil, and one the tunnel connects the 5V power supply, and one the tunnel and connect capacitor C 193 and electrochemical capacitor C281, C193, C281 ground connection in parallel again; 4 pin connect the 5V power supply.
U80~RLY1 ,~LRY2, RINGD ,~LCS (70,71,32,30) pin is used for connecting the telephone signal circuit.
Wherein, behind~RLY1 (70) the pin connecting resistance R265 and the base stage of connecting resistance R233 and triode BG13, the emitter of BG13 connects the 5V power supply, the collector electrode of BG13 also connects diode D47 and relay J K6 one end, connect simulation ground after the parallel connection, the end of relay J K6 then by two three-pointswitch, is connected into different circuit.2,4 pin of JK6 connect external circuit; 3,6 pin are empty; 7 pin divide two-way, and one the tunnel meets electric bridge B8, form polarity transformation circuits; Another road connects electrochemical capacitor C272, C271, and it is in parallel with the series circuit of the resistance R 270 that picks out from 5 pin, capacitor C 264, meet transformer T10 then, the end of T10 also connects the triode BG11 of voltage stabilizing didoe Z12, series connection and the triode BG15 of resistance R 269, series connection and electrochemical capacitor C249 and three series resistance R234, R272, R271, forms circuit for answering; The other end parallel connection of T10 after the resistance R 274 of voltage stabilizing didoe Z13, the Z14 of capacitor C 228, two series connection and series connection, the R273, an end series resistance R275 inserts TXA1 (30) pin of U81; The other end inserts TXA2 (31) pin of U81; Between resistance R 274 and R273, insert RIN (35) pin of U81.
U80~RLY2 (71) pin, behind the connecting resistance R266, and base stage and the resistance R 235 of connection triode BG12.The emitter of theBG12 termination 5V power supply that links to each other with R235; The collector electrode of BG12, the one tunnel connects analogue ground behind the diode D48, and another road connects the end of relay J K5.The 8 end analogue grounds of JK5 form and answer circuit.Simultaneously ,~RLY2 (71) pin also connects the base stage of triode BG16, analogue ground behind the emitter connecting resistance R278 of BG16, and collector electrode meets photoelectrical coupler O6, forms sound circuit.
U75 in the RINGD of U80 (32) the pin access control telephone signal circuit.And connecting resistance R228, the other end ground connection of R228, the other end of photoelectrical coupler U75 also connects diode D46.After the positive pole serial connection voltage stabilizing didoe Z11 and resistance R 264 of D46, divide two-way again: the one tunnel can insert polarity transformation circuits by the switch of JK5; Negative pole serial connection voltage stabilizing didoe Z10 and the capacitor C 266 of D46, C266 one road succeeds the end of electrical equipment JK5, C266 also connectsinductance L 19 andcapacitor C 227, the junction ground connection ofcapacitor C 227 and capacitor C 226, anothertermination inductance L 18 of C266,inductance L 18, L19 receive 2 pin and 3 pin of socket JP12, and the junction of L18 and C226 also connects photoelectrical coupler H11AA1 and capacitor C 184, another termination power of C184 and resistance R 264 and U76.
The LCS of U80 (30) pin divides two-way: the one tunnel meets photoelectrical coupler H11AA1; Another road connects analogue ground behind the R227.
In addition, the polarity transformation circuits in the circuit for answering can connect the filter circuit that utilizes piezo-resistance RV2, capacitor C 224, capacitor C 225, parallel inductor L16 and L17 to form by the two ends of electric bridge B8.Wherein, analogue ground after capacitor C 224, the C225 parallel connection, and L16, L17 insert 2,3 pin of socket JP11 respectively.
The MICV of U81 (34) pin and MICM (37) pin also connect after thecapacitor C 201, divide two-way: the one tunnel connect resistance R 268 after, and connect electrochemical capacitor C255 and resistance R 149, the minus earth of C255, R149 connect the 5V power supply; Another road also connects capacitor C 235 and the hook switch D line MICPHONE of external circuit loud speaker, voice output control circuit, C235 other end ground connection.
The SPK of U81 (29) pin also meets an end MDMSPK of theresistance R 84 of external circuits voice output control circuit.
32 pin of U81 be connected in parallel capacitor C 196 and capacitor C 252, the other end of C196 and the other end of C252 connect 33 pin of U81, and downlink connection capacitor C 197 and C253, the other end ground connection of C197 and C253.
The SLEEPO of U81 (69) pin links to each other with LASLEEP (56) pin of U81; The MTXSIN of U81, MRXOUT, MSTROBE, MSCLK, MCNTRLSIN (43,45,46,44,41) are connected with SR4OUT, SR41N, SAICLK, IAICLK, the SRIIO (18,20,23,24,62) of U81 respectively; The MCLKIN of U81 (42) pin also connects CLKOUT (22) pin and VCLKIN (54) pin; The SR3OUT of U81, SR3IN, SA2CLK, SR2CLK, SR210 (19,21,59,10,60) pin link to each other with VTXSIN, VRXOUT, VSTROBE, VSCLK, VCNTRLSIN (53,51,50,52,55) respectively.
Panel control circuit of the present invention is as shown in figure 14:
1, the 19 pin ground connection of data buffer U29,18,17,14,16,21 pin of J1 among 17,16, the 15 pin difference map interlinking 12-b, 12,15,16,19 pin of U26 among 14,13,12,11 pin of U28 and Fig. 6 in 14,13,12, the 11 pin difference map interlinking 6 of U29,2,3,4,5,6,7,8,9 pin of U29 are the negative pole of sending and receiving optical diode D14, D7, D8, D13, D9, D10, D11, D12 respectively; S4, S5, S6, S7, S9, S11, S12, S13, S14, S26, S27 are buttons; The end of S4, S6, S9, S12, S13, S14, S26, S27 meets ROW0 ' respectively to ROW7 ', and the other end of S4, S6, S9, S12, S13, S14, S26, S27 all meets COL0, and the end of S5, S7, S11 meets ROW0 ' respectively to ROW2 '; The other end of S5, S7, S11 all meets COL1; The end of resistance R 107, R108, R109, R110, R114, R125, R126, R137 all meets power supply VCC, and the other end of resistance R 107, R108, R109, R110, R114, R125, R126, R137 meets ROW0 ' respectively to ROW7 '; Resistance R 140, R141, R142, R144, R145, R146, R147, R148 one end meet ROW0 to ROW7 respectively, and the other end of R140, R141, R142, R144, R145, R146, R147, R148 meets ROW0 ' respectively to ROW7 ' and resistance R 107, R108, R109, R110, R114, R125, R126, R137; The end of capacitor C 60, C61, C62, C63, C64, C65, C69, C70 connects the end of ROW0 to ROW7 and resistance R 140, R141, R142, R144, R145, R146, R147, R148 respectively, and the other end of C60, C61, C62, C63, C64, C65, C69, C70 all ground connection D7, D8, D9, D10, D11, D12, D13, D14, D15, D16 is a light-emitting diode; The negative pole of D14 connects 2 pin of U29, the negative pole of D7 connects 3 pin of U29, the negative pole of D8 connects 4 pin of U29, the negative pole of D9 connects 6 pin of U29, the negative pole of D10 connects 7 pin of U29, the negative pole of D11 connects 8 pin of U29, the negative pole of D12 connects 9 pin of U29, the negative pole of D13 connects 5 pin of U29, the positive pole of D14, D7, D8, D9, D10, D11, D12, D13 is connecting resistance R92, R91, R90, R89, R88, R87, R86, R85 respectively, the other end of R92, R91, R90, R89, R88, R87, R86, R85 and joining power VCC; The positive pole of D16 connects the power supply indicator circuit, 6 pin of J1 among the anodal map interlinking 12-b of minus earth D15,5 pin of J1 among the negative pole map interlinking 12-b.
Functional software of the present invention is as shown in figure 15:
Ring module, off-hook module, business card module, message registration module, prompting module, notepaper module, e-mail module, on-line module, fax module, message module, perpetual calendar module, data transmission module, application module and default module all are stored among the memory U10; Detect the phone off-hook as system and interrupt, then enter the off-hook module, system detects phone ringing and interrupts, and then enters the ring module.
The surface structure of intelligent network telephone machine is as shown in figure 43: it is characterized in that the intelligent network telephone machine is by the dialing button, handle, fuselage, indicator light, writing pen, the CF card, display screen, touch-screen, function key, infrared interface, the drawer type keyboard, formations such as PTT, the dialing button is fixed on the phone body, indicator light is assemblied in the upper end of telephone set fuselage, writing pen is inserted in the phone body, the CF card can be assemblied in the side of telephone set, display screen is contained on the telephone ' s faceplate, on display screen, post touch-screen, electroluminescence (EL Electro Luminescence) backlight is equipped with at the display screen back side, the writing pen that extraction is inserted in the telephone set can carry out handwriting input on touch-screen, it is the bottom of display screen that function button and PTT can be installed in the lower end of phone body, but the hidden keypad of pull is housed at the base of telephone set, the other infrared interface that has of keyboard, in the left side of telephone set the telephone handle jack is arranged, earphone, Mike's jack, volume adjustment knob, the contrast adjustment knob; Rear side has the serial socket, telephone wire socket, power interface and loud speaker; There are stand-by battery box and microphone in the bottom surface.
The invention has the advantages that intelligent network telephone be a current collection words, fax, online, PDA in the Internet appliance product of one, can satisfy the various requirement of personal information processing.Below be advantage with its function embodiment:
1. telephony feature
Phone comprises manually, dialing automatically, voice answering/recording, and message registration can be realized the click-through that dials, auto-pickup phone, the function that writes down all dial-outs automatically and receive calls and wait each plain old telephone not have.
2. facsimile function
Can realize from the smart phone to the facsimile machine, facsimile machine to smart phone, smart phone to the fax transmitting-receiving work between the smart phone, printing interface and driver module can also substitute common facsimile machine, automatic hold function also is provided in addition, the important fax that the user received is preserved for a long time.
3. function of surfing the Net
Function of surfing the Net mainly contains two kinds of Email and website browsings.Email has been the mode of a kind of communication and cooperation more and more important during people live, usually people receive and dispatch software and realize sending, receiving Email, need to start PC in this process, the operation dialer software, the operation mail software ..., this is complicated loaded down with trivial details for domestic consumer.Use intelligent network telephone then can simplify this process greatly, the user only need press the click-through button, and institute really embodies the convenient, fast of Email in steps above just can finishing automatically.
Web page browsing is a kind of important channel that people obtain information by network, and smart phone can use embedded modulator-demodulator, helps the user to obtain information needed fast and accurately.
4. data-transformation facility
Between different information equipments, carry out transfer of data and shared, hardware interface and the software-driven module of smart phone by aiming at its design, can carry out between the smart phone data mutually biography, smart phone and PC data mutually the data between biography, smart phone and mobile phone pass mutually ...The user can be saved in the data backup of storing in the smart phone on the out of Memory equipment, further to guarantee data security.
5.PDA function
It has functions such as the visiting-card management of carrying out, prompting, notepaper, calendar, universal time, english Chinese dictionary, unit conversion, domestic postcode, trunk code, international long-distance area code.
6. handwriting functions
Can carry out handwriting input during fax on touch-screen, the EZ328 of CPU is the state of inquiry touch screen earlier, and the position of recording pen touch, carries out handwriting recognition.The dictionary and the program of handwriting recognition all exist among the FLASH.The EZ328 recognizer is handled according to the recognition dictionary data of identifying the handwriting, and identifies font and returns the GB code.Can discern gointed hand, the traditional Chinese in the handwriting functions.
7. account function:
The content that keyboard typing under available handwriting input or the extraction telephone base will be put down in writing, but also Classification Management.Above all functions are integrated in the telephone set shown in Figure 25.
Description of drawings
Fig. 1 is the intelligent network telephone block diagram;
Fig. 2 is display control circuit figure in the mainboard;
Fig. 3 is touch-screen and a touch screen controller line map in the mainboard;
Fig. 4 is a CPU circuit connection diagram in the mainboard;
Fig. 5 is the memory circuit figure in the mainboard;
Fig. 6 is peripheral control circuit-interface circuit figure;
Fig. 7 is dialing control circuit figure;
Fig. 8 is ring control circuit figure;
Fig. 9 is off-hook control circuit figure;
Figure 10 is conversation control circuit figure;
Figure 11 is loud speaker, voice output control circuit figure;
Figure 12 a is the infrared interface circuit diagram;
B is the interface card connection layout;
C is CF card socket circuit figure;
Figure 13 is modem line figure;
Figure 14 is panel control circuit figure;
Figure 15 is a master control interface software module function flow chart;
Figure 16 is master control interface figure;
Figure 17 is the business card operational flowchart;
Figure 18 is business card function interface figure;
Figure 19 is the telephone operation flow chart;
Figure 20 is the call function surface chart;
Figure 21 is for reminding the bookkeeping flow chart;
Figure 22 is the prompting function surface chart;
Figure 23 is the notepaper operational flowchart;
Figure 24 is notepaper function interface figure;
Figure 25 is the mail action flow chart;
Figure 26 is the mail function surface chart;
Figure 27 is the online operational flowchart;
Figure 28 is the function of surfing the Net surface chart;
Figure 29 is the fax operational flowchart;
Figure 30 is the facsimile function surface chart;
Figure 31 is the message operational flowchart;
Figure 32 is the message-leaving function surface chart;
Figure 33 is the perpetual calendar operational flowchart;
Figure 34 is perpetual calendar function interface figure;
Figure 35 is the data transfer operation flow chart;
Figure 36 is the data-transformation facility surface chart;
Figure 37 is the application operating flow chart;
Figure 38,39 is the application function surface chart;
Figure 40 is the default operational flowchart;
Figure 41,42 is default function interface figure;
Figure 43 is an intelligent network telephone machine appearance assumption diagram;
1-dial key 2-handle 3-phone support 4-indicator light 5-touch screen pen 6-CF card
Slot 7-display screen and touch-screen 8-function key 9-infrared interface 10-drawer type keyboard
The 11-PTT
Embodiment
The present invention can help people to handle the various information that phone line is passed, and required various functions when using phone such as telephone directory, notepaper, the i.e. common hands-free phone of this smart phone collection, modulator-demodulator, fax, phone, answer phone, electronic notebook, Email are in one.This phone external form is similar to ordinary telephone set, more bigger as shown in figure 43, built-in microphone, loud speaker, and one 4 utmost point gray scale dot matrix display is arranged, and this display screen band backlight connector and touch-screen, touch-screen can be used for handwriting input.The telephone set bottom also has a drawer type keyboard, and 80 major keies and directionkeys are arranged on the keyboard.Fax and phone can be watched on display screen by keyboard or handwriting input.Be provided with following function button on telephone ' s faceplate: fax, message, mail, online, message registration, business card, shorthand, calendar, dictionary instrument, calculator, click-through, MODEM switch.Also be provided with on the panel 10 telephone key-press, hands-free, telephone handle, quiet, redial, dodge disconnected, 0-9, * and # key, also have following indicator light: in power supply, online, transmission, reception, the phone use, mail, fax, message, hands-free, MODEM state.CPU can adopt EZ328 in hardware circuit; 4MByteRAM ... SDRAM 1M*16; 16Mbit16 position Program memory (comprising recognition dictionary); 16Mbit16 position Data Flash Memory, wherein 2M is fixed datas such as dictionary; Display screen is 320 * 240LCD, it is backlight to be with, band touch-screen, voltage module use the device that boosts, and charged pool has undertension to report to the police.Keyboard interface is for carrying keyboard.The back and the side of telephone set have earphone jack, serial port---Standard PC nine kinds of needles interface; Parallel port---Standard PC 25 needle interfaces, printer parallel port, infrared mouthful: built-in IrDA tranmission/reception apparatus, can with wirelessly transmitting datas such as mobile phone, computer, storage card slot: insert standard C F card, dust cap is arranged outward.Power supply is the power supply of an external 9V, and built-in rechargeable battery is so that outage back phone can continue to use.
This machine major function also has except that phone: E-mail and fax managing and schedule management.Displaying calendar always on the display screen of start back, if then stroke is arranged, display alarm interface then.If no fresh information, touch the laggard main menu of going into.Otherwise, show " you have XX envelope mail, XX part fax, XX part message ", enter inbox after the affirmation.Its course of work is as follows:
1. primary control program
Carry out this program when not having operation, it receives and handles various information, calls other modules:
Use calendar as " screen protection " at ordinary times, the birthday by information in the roll display business card, near the time stroke, and the information etc. in red-letter day of closing on.
CALL caller identification module when calling, ring unanswered CALL automatic answering machine module.
Show incoming person, message registration when making a phone call and list receipts fax, recorded speech module.
There is stroke to expire, CALL stroke reminding module.
Touch screen or press the entree singly-bound enters main menu: comprise that cards folder, fax, mail, phone, message, account, schedule, dictionary, calculator, perpetual calendar, default, help information, data transmission, file cabinet, Chinese king net, recreation, help are every.Cooperate textual representation by icon.Click any icon and enter respective selection.Pinning does not raise one's hand help information then occurs.
1) be the calendar screen protection at ordinary times,, start screen protection after three minutes at main menu or other state, but in phone, among the editor, do not enter the screen calendar during stroke reminding.
Call incoming call display function when 2) calling, the ring unanswered then begins automatic-answering back device.
When 3) the phone off-hook is conversed, display reminding information (common function)
* the off-hook during dialing shows that institute dials the number and shows " redialing automatically ", " message registration ",
" business card " function.
4) calendar then enters main menu as touch screen down,
Button then enters the function of each key, as looks into information, dials, sends a fax etc.
2. caller identification:
Ring shows caller ID simultaneously, as this phone record is arranged in business card, then shows information such as name, relation.The phone receiving rejection function:
This phone is set as the rejection state in addition, broadcasts the rejection message after thering 3, does not record, and the process of being carried out when calling interrupts showing incoming information, and the priority of incoming information is the highest, and this moment, message such as stroke was postponed handling.The incoming person is made as when refusal, behind the jingle bell n sound, according to set fax+answer record or have only fax, after calling dedicated process and answering the call, forwards the process of answering the call to.
3. telegraphone:
Show record length during recording, the incoming call name stops the ammonium button.Recording back " message " lamp is glittering.Message can show in inbox, plays and delete.Recording is recording incoming number and incoming call time simultaneously.Broadcast greeting behind the incoming call and on LCD, show current state.As " broadcasting greeting ", " recording ", " receive fax ", " input password ", " remote control fax ", in " reading message " process, the user can stop and returning by " cancellation " key, and other interruption is comprised that stroke does not then all respond.
4. voice mail:
Can in inbox, show, play and delete.Voice mail enters by " listening message " by " message " key and selection.
Begin after any one in the point to play, therebetween can be by stopping F.F., options such as rewind down.
5. visiting-card management:
Search and increase, revise, delete, have listing function, show name, company, address, ordinary phone; After selecting certain business card, some phone item then can make a phone call, put the fax hurdle and then send a fax, puts the E-mail address field and can send out E-mail; Also can edit, delete.Support the full screen handwriting input.
(1) enters the back and show business card commonly used
(2) can show business card commonly used (except among the editor) at any time
(3) tabulation: list name and ordinary phone, and a hurdle optional information (as unit), some phone hurdle can dial.Available " phonetic head " searched and found required name simultaneously.
(4) search: can import keyword, list all relevant business cards immediately
(5) check particulars, can put editor or deletion.
Any list items of point enters in detail to be browsed.
In the phone option, tap, then enter the interface of making a phone call.
Enter the automatic re-dialing function of making a phone call after determining.
At fax, tap among the E-mail, show and confirm picture, enter corresponding function after determining.
The ※ business card provides: add business card, provide business card data, add tabulation automatically to, name has prompting when repeating.
6.. remind management: can establish vacant reminder time, prompting cycle, and can set with modes such as demonstration, the tinkle of bells, voice, phones and remind.
Task can be set by special E-mail, shows " by the task of XXX arrangement " in remarks, and music or fixedly voice suggestion are then arranged, and also can use the call voice prompting function.Task expires and deletes automatically.Can select " to others' arrangement task " and be dealt into by E-mail in his message center to go.Stroke (task) management role expires and deletes automatically.
* call voice prompting function:
Configure time, recording, phone, then dial telephone plays a record after the connection.
Point " editor " can revise.And playback, set and make a phone call to remind number
At any time it is identical with editor to increase new task (except during editor) interface.
7. receive E-mail:
After the E-mail function is received in choosing,, harvest and whether point out off-line behind the E-mail if online is not then dialled up on the telephone.Enter browser then, display list can be by sender, theme, time-sequencing.With the pen point is selection, and drags the screen that can move up and down.This moment, new mail existed among the RAM.Task E-mail adds travel schedule automatically, need call run-length management when browsing; Business card E-mail adds business card automatically, if there is conflict then can point out.Choose mail promptly to show detailed content, can look up the dictionary, also can enter editing mode.
FLASH (CF card) is then put in the some backup.If reception is pointed out and abandoned to Out of Memory.The user can remove partial document and receive again.
Enter information such as back show state, and can end at any time, except that cancellation, do not respond all information this moment, roll off the production line immediately after finishing receiving.When the new E-mail that does not read was arranged, " mail " lamp was glittering.Occur the E-mail tabulation then, not reading has " " mark before the E-mail, has read to be " V ", has slider bar to watch full detail.The dot leader hurdle, then continuous by this title row, put any one and then check details, can edit and can save as account or deletion.
8. send out E-mail:
Can publish E-mail and also can directly publish E-mail in business card, the some cards folder can be searched the address, also direct Input Address.Content can be discerned, and also can directly use person's handwriting.Optional subsidiary PC version read routine during transmission.Online when point sends sends the back that finishes and checks mailbox and off-line.Appended document can be account document, business card, task and any file.
9. receive fax:
The receipts fax can be from dynamic response, and 4 rings do not connect from dynamic response, and the judgement fax tone is then received fax automatically, and the LCD demonstration stops selection button and facsimile message.Get back to screen protection after harvesting, the information lamp is glittering.Automatic-answering back device and the fax received all directly deposits FLASH in." receive fax " option is provided when making a phone call, but manual answering at any time.
(1) receive fax origin electricity and show and call, or choosing fax when making a phone call, display message during reception manually received;
(2) harvest and return host process after finishing, " fax " lamp is glittering;
(3) after " fax ", selecting the fax display list to list incoming call company and time again;
(4) enter the information of checking after clicking and to use mouse drag.
10. send a fax:
Main menu is selected outbox down, publishes fax again.Perhaps in the business card option, publish fax.The available identifier word of faxing, also available original handwriting.And can be to receiving the forwarding of faxing.
11. electronic dictionary
Online dictionary: browsing editor E-mail, when writing account, put dictionary, but the verification certificate speech in the dictionary tool bar, covering original tool bar, editting function is suspended.With the common dictionary in the main menu be distinct program.Tool bar divides word input window and explanation window.The speech at cursor place appears at word window (can not edit) automatically, and common explanation appears in explanation window.The point particulars are scalable to full frame.Can import word this moment, and list detailed explanation.Chinese (hand-written, phonetic) or English can be imported, but input can not be mixed.Finish to recover former process.
(1) common dictionary: English can be looked in the input Chinese character, and input English can be looked into Chinese character and explain
(2) online dictionary: be that a function takies the next line of screen and provides simplicity of explanation.
Cursor and word show to be handled by application program.Speech in the point is with anti-white the processing, and this state can page turning but do not edited.
(3) some dictionary bar enters common dictionary, and with the indication word as parameter.Point withdraws from, and returns the upper level process.
12. handwriting input
Two handwriting input frames are provided, and editing area sent in identification back optimal candidate word, and 8 close candidate's words are provided.Sign field at this interface, available glyph mode is directly imported English.
Also full frame writing, automatic distinguishing is clicked and is write.Take tool bar.Changeable is soft keyboard.
Hand-written employing full screen is write, and person's handwriting is a thick line, and candidate row only accounts for delegation, comprising: candidate, conventional sign, function keys such as identification immediately.
Soft keyboard has numeric keypad and English+numeral, according to the function difference.It is capable that numeral accounts for l, is used for the phone input.The QWERTY keyboard that English provides for PPSM.
13. message registration:
Demonstration received calls, missed call were rung recently, and telephoometry, write down 1 month air time, long-distance number of times, online number of times and total time.
(1) back display list in, totally 3, conversation object: the record display name is arranged, otherwise show number.
(2) but also point " in detail " button of some telephone expenses Display Summary information, the display list internal memory writes down the particulars of this month and last month.
(3) charging regulation can be by user's modification, point " setting ", " ticketing ".This table is when purchasing machine, and is burned in advance.Can be by user's modification.
14. transfer of data
Data transmission module is listed All Files, can call corresponding program module and open file, and also can send, transmits and copy.
(1) available driving style deposits file in the CF card
(2) can be with file by 232 mouthfuls, E-MIAL, facsimile transmission
(3) file on the CF card can be put into the corresponding type file of communication center.
(4) but deleted file.
The concrete operations of intelligent network telephone are as follows: the master control interface operational flowchart as shown in figure 15:
By main interface, can enter business card module, message registration module, prompting module, notepaper module, e-mail module, on-line module, fax module, message module, calendaring module, data transmission module, application module and default module; Also can enter phone off-hook module and phone ringing module.Concrete operations are as shown in figure 16:
Open main interface, what at first occur on the display screen of telephone set is 12 order buttons: cards folder, message registration, prompting, notepaper, Email, online, fax, message, calendar, transfer of data, application and default.
If click the cards folder button, just can enter the business card module; If also want to enter other modules, then click its corresponding button.The business card operational flowchart is as shown in figure 17:
By main menu, enter the business card list content and filter, wherein can carry out from whole, classification, search, the searching of surname, private aspect.Click any delegation, enter business card tabulation, therefrom can search in detail, but also return-list information filtering interface.1. click any delegation, enter the business card browse state.2. business card editor.When the business card browse state, can make amendment, delete; The editor that can make amendment, delete, increase in the business card list state.Concrete operations are as shown in figure 18:
Use the business card function, what at first occur on the display screen of telephone set is the business card tabulation.
Be to help and withdraw from two buttons above tabulation.The below have setting, increase, in detail, all, classification, search, seven buttons of surname.
Click detailed button, " business card is detailed " screen just can occur.
Tabulation divides three hurdles: name, company and mobile phone.Click any delegation, just can enter the business card preview state.
Be six order buttons below the business card preview: revise, duplicate, delete, go up open, following and withdraw from.
Three order buttons are arranged: help, abandon and finish on the business card editor; Two order buttons are arranged below: dialing and IP phone.Can carry out the business card editor as required therein.
A lot of surnames are arranged in surname is searched, can search as required.Two order buttons are arranged in the above: help and withdraw from.The telephone operation flow chart is as shown in figure 19:
By main menu, enter phone lists.Can search in phone lists that oneself answers the call, missed call and oneself dial.Concrete operations are as shown in figure 20:
Use the message registration function, what occur on phone set display is the message registration tabulation.
Tabulation divide a telephone number, time and Wednesday the hurdle, the tabulation upper left side is received calls, missed call and three order buttons of having dialed; The upper right side is to help and withdraw from two order buttons; The below is dialing, IP phone, date and looks into four order buttons of business card.Remind the bookkeeping flow process as shown in figure 21:
By main menu, can enter and remind tabulation, in reminding tabulation, can remind editor as required at any time.Concrete operations are as shown in figure 22:
Use prompting function, what at first occur on the display screen of telephone set is to remind tabulation.
Tabulation divides reminds description, reminder time, week and cycles four hurdle, is to help and withdraw from two order buttons above the tabulation; Be increase, whole and date three order buttons below.
In " remind editor " screen, can remind editor from aspect six of description, prompt date, reminder time, prompting cycle, number of repetition and the alerting patterns.Above the screen three order buttons are arranged " reminding editor ": help, abandon and finish; Two order buttons are arranged below: delete and duplicate.The notepaper operational flowchart is as shown in figure 23:
By main menu, enter the notepaper tabulation.1. click any delegation, enter the notepaper editing mode, can on manuscript paper, blank sheet of paper, account, map and the form page, revise notepaper.2. notepaper rename.Eject notepaper rename picture, input notepaper title returns the notepaper tabulation.Concrete operations are as shown in figure 24:
In " newly-built notepaper " screen, can select five kinds of notepaper forms: manuscript paper state, blank sheet of paper state, account, map and form.Under the manuscript paper state, can delete notepaper, delete previous word, remove the notepaper content, delete notepaper and the operation of the fax that sends note;
At the blank sheet of paper state, except above operation, you can also regulate stroke weight, wipe the person's handwriting of writing with the rubber instrument on touch-screen.The mail action flow process is as shown in figure 25:
By main menu, enter the selection user interface.Can select inbox or rough draft therein.In inbox or rough draft, can carry out the operation of reading mail, newly-built mail and transmission mail.Concrete operations are as shown in figure 26:
Use Email, on the display screen of telephone set, enter mail tabulation.Can see that in phone set display tabulation divides name and e-mail two hurdles.Helpful and withdraw from two order buttons above the tabulation; Be the order button that Email is provided with below.
Be provided with if click Email, then can enter inbox or rough draft.In rough draft, divide addressee and theme two hurdles, helpful on rough draft, withdraw from, new mail, transmission and five order buttons of deletion, two order buttons of inbox and rough draft are arranged below; In inbox, divide sender, theme and accept times three hurdle, helpful on inbox, withdraw from, new mail, reception and five order buttons of deletion, two order buttons of inbox and rough draft are arranged below.
In inbox, can open " reading mail " screen, wherein divide addressee, subject and body three parts, helpful on " reading mail " screen, withdraw from, reply, transmit and delete five order buttons.
In inbox or rough draft,, wherein divide the addressee, make a copy for, subject and body four parts all to open " new mail " screen, helpful on " new mail " screen, abandon, finish, send and preserve five order buttons.The online operating process as shown in figure 27:
By main menu, enter Chinese king message center homepage, so just can surf the Net.Concrete operations are as shown in figure 28:
Use function of surfing the Net, can enter Chinese king message center homepage, in phone set display, can see retreat, advance, stop, refreshing, homepage, full frame, help, withdraw from eight order buttons, address field and contents.
If click full frame button, then address field will disappear, if want address field is recovered, then clicks full frame button again.
Can also in address field, cancel and selecting and new Input Address.The fax operating process as shown in figure 29:
By main menu, enter the fax tabulation.In fax tabulation, can be newly-built and browse fax, from newly-built fax, can send the operation of fax and fax template.Concrete operations are as shown in figure 30:
Use facsimile function, enter the fax tabulation.In the display screen of telephone set, can see tabulation branch fax number, number of pages and time of reception three hurdles.Five order buttons are arranged: help, withdraw from, newly fax, browse and delete above the tabulation; An order button is arranged below: look into business card.
If click new fax, " new fax " screen then appears.
In " new fax " screen addressee, sender, fax, phone, company, theme arranged, make a copy for, date and fax content nine parts, helpful above the screen at " new fax ", withdraw from and send three order buttons and a drop-down menu.
Browse if click, " browsing fax " screen then occurs.
In the screen of " browsing fax " is the fax content, helpful on " browsing fax " screen, withdraw from, dwindle, amplify, transmit, last page or leaf, nextpage, upper and lower, left and right 11 order buttons.The message operating process as shown in figure 31:
By main menu, enter the message tabulation.The operation that in the message tabulation, can play message.Concrete operations are shown in figure 32:
Use message-leaving function, enter the message tabulation.Can see that in phone set display tabulation divides incoming call time, length and telephone number three hurdles.Above the tabulation four order buttons: help, withdraw from, play and delete; Be greeting below and look into two order buttons of business card.The perpetual calendar operational flowchart is as shown in figure 33:
By main interface, enter the perpetual calendar operation interface, can enter the universal time interface by the perpetual calendar interface, also can get back to the perpetual calendar interface by the universal time interface.Concrete operations are as shown in figure 34:
At first enter the perpetual calendar interface.Can see on the upper left side, interface that from the display screen of telephone set two drop-down menus are arranged, can select time, the month that to inquire about; On the interface be that the calendar that unit shows is changed with the replacing of selecting, click the concrete date, like this, just selected the exact date that to inquire about with the sky.There is " today " command key in the lower right corner, interface, clicks, and can get back to the same day.The upper right side is helpful and finish two order buttons, and there is order button of universal time the lower left.Click the universal time button, switch to the universal time interface.
The left side at universal time interface shows Beijing local time, and the upper right side shows the universal time that inquires, and the lower right then shows selective city of the world, in the point, then is shown to the upper right side.The lower left is initial consonant quick checking key, can be according to city name phonetic head quick search.The top, the right is to help and withdraw from two order buttons.The data transfer operation flow process is as shown in figure 35:
By main menu, enter data transmission interface.In data transmission interface, can select four kinds of connecting objects: computer, deposit card (CF card), PDA and mobile phone.Concrete operations are as shown in figure 36:
Use data-transformation facility, on the display screen of telephone set, enter data transmission interface.It wherein is the object of selecting connection.
If the selection PC is then clicked the PC button, click next button then, can carry out the operation of transfer of data according to prompting then.If in transmission course, do not want to carry out transfer of data, then can click discard button.The application tool operating process is as shown in figure 37:
By main menu, enter application tool master interface.In application tool master interface, can carry out the selection of instrument or data.Three kinds in unit conversion, compute device and dictionary arranged in instrument, four kinds of domestic area code, postcode, global area code and phone general knowledge are arranged in data.Concrete operations are shown in Figure 38,39:
Use application function, what occur on phone set display is application tool master interface, wherein divides instrument and data two hurdles, and the top, interface is helpful and withdraw from two order buttons.
If selection unit converts, " unit conversion " screen will appear in phone set display.
There is a drop-down menu on upper left side at " unit conversion " screen, wherein can select unit arbitrarily, selected after will below tabulation in concrete content appears; The upper right side is helpful and withdraw from two order buttons.
If " calculator " screen will appear in the selection calculator in phone set display.
In " calculator " screen a calculator is arranged, the upper right side is helpful, abandon and finish three order buttons.
If " english Chinese dictionary " screen will appear in the selection dictionary in phone set display.
On " english Chinese dictionary " screen upper left side individual input field is arranged, can import the word that needs inquiry, and backspace, space and three order buttons of removing are arranged.Also can select any in 26 English alphabets bottom, in left hurdle, show all words, import the word that needs inquiry like this with this beginning of letter at " english Chinese dictionary " screen.The Chinese meaning that will in right hurdle, show word after the input.Helpful and withdraw from two order buttons in the upper right side.
If select phone general knowledge, " phone general knowledge " screen will appear in phone set display.
In " phone general knowledge " screen many phone general knowledge are arranged, the upper right side is helpful and withdraw from two order buttons.
If select international area code, " international long-distance area code " screen will appear in phone set display.
In " international long-distance area code " screen, divide country and area code two hurdles, in the upper right side helpful with withdraw from two order buttons.
If select domestic area code, " national distance area code " screen will appear in phone set display.
In " national distance area code " screen, divide place name and area code two hurdles, helpful and withdraw from two order buttons in the upper right side.
If " postcode " screen will appear in the selection postcode in phone set display.
In " postcode " screen, divide city and postcode two hurdles, helpful and withdraw from two order buttons in the upper right side.The default operating process is as shown in figure 40:
By main menu, enter default master interface.Therefrom can enter six kinds of default operations: user's setting, internal memory inquiry, hand-written correction, online are provided with, IP is provided with and other setting.Concrete operations are shown in Figure 41,42:
Using system is provided with function, and what occur in phone set display is that system is provided with main interface.Wherein there are six kinds of systems that selection is set: user's setting, internal memory inquiry, hand-written setting, online setting, IP phone setting and other setting.In the upper right side at interface is to help and withdraw from two order buttons.
If select the user to be provided with, " user's setting " screen will appear in phone set display.
In " user's setting " screen, name, addresses of items of mail, POP3, SMTP, login user and six contents of mailbox password are arranged; There is the drop-down menu that please select the user below; The upper right side is helpful and finish two order buttons.
If select IP to be provided with, " IP setting " screen will appear in phone set display.
In " IP setting " screen, there is IP to insert phone number, card number and three contents of password; The upper right side is helpful, abandon and finish three order buttons.
If select the internal memory inquiry, " internal memory inquiry " screen will appear in phone set display.
In " internal memory inquiry " screen, project, existing record and utilization rate three hurdles are arranged; The lower right has system to detect and two order buttons of memory scrubbing; In the upper right side is to help and withdraw from two order buttons.
If select other setting, " other setting " screen will appear in phone set display.
Project is arranged in " other setting " screen and set two hurdles; The upper right side is helpful and finish two order buttons.
If select online setting, " online is provided with " screen will appear in phone set display.
In " online is provided with " screen, the address of user name, password, telephone number, communication center server and six contents of port of communication center server are arranged; The upper right side is helpful, abandon and finish three order buttons.
If select hand-written correction, " hand-written correction " screen will appear in phone set display.
Doing the system that just can carry out hand-written correction according to the requirement in the screen is provided with.

Claims (12)

1. one kind by LCDs, touch-screen, touch screen controller, CPU processor, memory, flash memory, peripheral control circuit one interface, the intelligent network telephone that plain old telephone and modulator-demodulator constitute, it is characterized in that, touch-screen and display are contained on the telephone ' s faceplate, touch-screen is connected with touch screen controller, touch screen controller all is connected with the CPU processor with display, and the CPU processor is connected with flash memory with flash memory, program with dynamic random access memory, data respectively by data/address bus and constitutes mainboard; Contain outside on system circuit one interface board, address distributor connects input buffer and output latch, by address distributor and input buffer, the circuit that output latch constitutes not only be connected with CPU processor on the mainboard but also with telephone base under the drawer type keyboard, parallel port reaches and tightly deposits the connection of type flash card card, serial ports on the interface board and infrared interface also are connected with CPU processor on the mainboard by serial port, on modulator-demodulator and telephone circuit plate, the dialing control circuit of phone, the conversation control circuit, the ring control circuit is connected with the off-hook control circuit respectively, and is connected with modulator-demodulator; CPU processor in mainboard also is connected transfer control signal with phone, and the CPU processor also is connected with modulator-demodulator by serial port, is connected with telephone wire by modulator-demodulator;
A. the display control circuit in mainboard is by the liquid crystal connector, formations such as CPU processor, discharge circuit, and its connected mode is as follows: liquid crystal connector P19,11,7,5,14,15,16,17 pin connect respectively CPU processor U6 38,39, the 41-46 pin; 1,7,8,14 pin of the operational amplifier among the amplifying circuit U14 connect 2 pin, 13 pin, 12 pin, 1 pin of liquid crystal connector P1 respectively, and 4 pin of liquid crystal connector P1 meet power supply VCC, 6,8 pin ground connection in parallel; 4 pin of amplifying circuit U14 meet power supply VEE, 3 pin of U14 meet power supply VEE and connect 5 pin by resistance R 59 by resistance R 58, and 10 pin, 10 pin that 5 pin of U14 meet U14 by resistance R 52 again connect 12 pin, 12 pin of U14 again by resistance R 61 ground connection by resistance R 60 again; 1 pin of U14 links to each other with 2 pin, 6 pin link to each other with 7 pin, 8 pin link to each other with 9 pin, 13 pin link to each other with 14 pin: the 2 pin ground connection of backlight driver U33,3 pin of U33 connect power supply by inductance L 3,7 pin of U33,8 pin link to each other by capacitor C 34, and 6 pin connect power supply, and by capacitor C 35 ground connection; 9 pin of data latches U26 in the 1 pin connecting interface plate of U33,4 pin of U33,5 pin connect 1,2 pin of backlight connector J5 respectively; B. touch-screen in the mainboard and touch controller circuit are made of touch screen controller, resistance, electric capacity etc., and its connected mode is as follows:
1 pin, 10 pin of touch screen controller U7 meet power supply VCC by resistance R 63, and be connected ground connection afterwards with 6 pin by capacitor C 121, its 9 pin meets power supply VCC by resistance R 57, and by capacitor C 72 ground connection, 11 pin of U7 are by capacitor C 139 ground connection, and be connected to 27 pin of processor CPUU6,12 pin of U7 are connected to CPU processor U6's, 10 pin, and 14 pin of U7 are connected to 9 pin of U6,15 pin of U7 are connected to 48 pin of U6, and 16 pin of U7 are connected to 11 pin of U6; Touch-screen is connected with 2,5,4,3 pin of U7 by 2,4,6,8 pin of film socket J4; C. the CPU processor circuit in the mainboard is by the CPU processor, electric capacity, resistance, formations such as crystal oscillator, its connected mode is as follows: 58 of CPU processor U6,78,97,17,40,25 pin are connected to power supply VCC, 22,67,87,8,31,49 pin ground connection, capacitor C 47, C50, C51, C52, C53, C54 is the decoupling capacitor that connects between power supply and the ground, 77 pin meet power supply VCC by resistance R 7, and by capacitor C 1 ground connection, 23,24 pin are connected the two ends of crystal oscillator Y2, and by capacitor C 45, C46 ground connection, 21 pin meet power supply VCC by resistance R 48, and, connect switch S 2 ground connection again by resistance R 84 simultaneously by capacitor C 39 ground connection; Other parts are connected with memory, display, interface, touch-screen, power supply respectively; D. the memory in the mainboard is made of four memory chips, its connected mode is as follows: 1,6,21 pin of memory chip U8, U9 meet power supply VCC respectively, 22,37,42 pin difference ground connection, data wire 2,3,4,5,7,8,9,10,33,34,35,36,38,39,40,41 pin of U8, U9 are connected respectively to 75,74,73,72,71,70,69,68,66,65,64,63,62,61,60,59 pin of the module U6 of processor CPU; Address wire 17~20,23~28 pin of memory U8, U9 are connected respectively to 82~86,88~93 pin of processor CPUU6, control line 13,29,30,31 pin of U8, U9 connect 12,79,50,51 pin of U6 respectively, control line 14 pin of U8, U9 connect 53,52 pin of U6 respectively, program meets power supply VCC with flash memory U10, data respectively with 37,47 of flash memory U11, and 27,46 pin are ground connection respectively; Data wire 29,31,33,35,38,40,42,44,30,32,34,36,39,41,43,45 pin of U10, U11 connect 75~68,66~59 pin of CPUU6 respectively; Address wire 25,24,23,22,21,20,19,18,8,7,6,5,4,3,2,1,48,17,16,9 pin of U10, U11 connect respectively U6 82~86,88~100, the 1-4 pin; Control line 11 pin of U10, U11 connect 80 pin of U6, and 26 pin of U10, U11 connect 57,56 pin of U6, and 28 pin of U10, U11 connect 79 pin of U6.
2. intelligent network telephone according to claim 1 is characterized in that, peripheral control circuit one interface circuit is by decoder, latch, buffer, backlight chip, register, diode; Formation such as resistance, electric capacity, its connected mode is as follows: 1,2,3 pin of decoder U23 connect 82,83,84 pin of processor CPUU6 respectively, 4 pin of U23 connect 55 pin of U6,5 pin of U23 connect 79 pin of U6,6 pin of U23 connect 3 pin of U6,15 pin of U23 connect 19 pin of buffer U28,11 pin of U23 connect 19 pin of buffer U17,10 pin of U23 connect 17 pin of U17,9 pin of U23 connect 19 pin of data buffer U27,16 pin of U23 meet power supply VCC and connect capacitor C 82 back ground connection, and 8 pin of U23 connect digitally; 1,2,3 pin of decoder U22 connect 82,83,84 pin of processor U6 respectively, 4 pin of U22 connect 55 pin of U6,5 pin of U22 connect 80 pin of U6, and 6 pin of U22 connect 3 pin of U6, and 15 pin of U22 connect 11 pin of U26,13 pin of U22 connect 21 pin of U17,12 pin of U22 connect 20 pin of U17, and 10 pin of U22 connect 18 pin of U17, and 16 pin of U22 meet power supply VCC, and connecing capacitor C 75 back ground connection, 8 pin of U22 connect digitally; U16, U17 are the buffers of convertible 3V and 5V level; 1 pin of U16 meets power supply VCC, and connects capacitor C 73 back ground connection; 23 of U16,24 pin and joining power VCC, and meet 11 of capacitor C 74 back ground connection U16,12,13 pin connect digitally, 22 pin of U16 connect 6 pin of NAND gate U20,2 pin of U16 connect 80 pin of U6,3 pin of U16 connect 3 pin of data latches U24 and 2 pin of data buffer U25,4 pin of U16 connect 4 pin of U24 and 3 pin of U25,5 pin of U16 connect 7 pin of U24 and 4 pin of U25,6 pin of U16 connect 8 pin of U24 and 5 pin of U25,7 pin of U16 connect 13 pin of U24 and 6 pin of U25,8 pin of U16 connect 14 pin of U24 and 7 pin of U25,9 pin of U16 connect 17 pin of U24 and 8 pin of U25,1 pin that 10 pin of U16 meet 18 pin of U24 and 9 pin of U25: U17 connects power supply, and connect capacitor C 83 back ground connection, 23 of U17,24 pin and joining power, connect capacitor C 84 back ground connection again, 11 of U17,12,13 pin ground connection, 2 of U17,22 pin ground connection, 21 pin connect 13 pin of U22,20 pin connect 12 pin of U22,19 pin connect 11 pin of U23,18 pin connect 10 pin of U22,17 pin connect 10 pin of U23,16 pin connect 14 pin of CPU U6,6 pin connect 11 pin of U24, and 7 pin connect 19 pin of U25, and the 3 pin U26 of 8 pin order socket pin J6 are data latches, the 1 pin ground connection of U26,11 pin connect 15 pin of U22, and 20 pin connect power supply, 10 pin ground connection, 3,4,7,8,13,14,17,18 pin connect data wire D8 to D15 (66-59) pin of CPU processor U6 respectively, 2 pin of U26 meet the COL0 of function key control circuit in the panel control circuit, the COL1 in the 5 pin connection function key control circuits of U26, and 6 pin connect power control circuit, 9 pin connect 1 pin of LCD backlight chip U33,12 of U26,15,16,19 pin meet 14 of data buffer U29 in the panel control circuit respectively, 13,12,11 pin, 20 pin of U26 connect power supply, and 10 pin connect digitally; U27, U28 in the peripheral control circuit are data buffers, 19 pin of U28 connect 15 pin of U23, the 1 pin ground connection of U28,2,3,4,5,6,7,8,9 pin of U28 connect data wire D8 to D15 (66-59) pin of CPUU6 respectively, 18 pin of U28 meet the COL0 in the panel control circuit, 17 pin meet COL1,16 pin connect power control circuit, 15 pin connect 1 pin of LCD backlight chip U33,14,13,12,11 pin connect 14,13,12,11 pin of U29 in the panel control circuit, 20 pin connect power supply, and 10 pin connect digitally; 19 pin of data buffer U27 connect 9 pin of U23,1 pin ground connection, 2,3,4,5,6,7,8,9 pin connect data wire D8 to D15 (66-59) pin of CPUU6 respectively, and 18,17,16,15,14,13,12,11 pin of U27 meet the ROW0 to ROW7 of panel control circuit respectively; U24 is a data latches, 3,4,7,8,13,14,17,18 pin of U24 connect 3 to 10 pin of U16 respectively, 2,5,6 pin of U24 connect 19,20,21 pin of double contact pin J1 respectively, 13 pin of double contact pin J1 in the 9 pin connection interface plug-in unit connection layouts of U24,12 pin connect 26 pin of J1,19 pin connect 9 pin of J1, and 20 pin meet power supply VCC, 10 pin ground connection; U25 is a data buffer, and 2 to 9 pin of U25 connect 3 to 10 pin of U16 respectively, and 18,17,16 pin connect 19,20,21 pin of J1 respectively, 15 pin of U25 connect 13 pin of J1, and 14 pin of U25 connect 26 pin of J1, the end of the 13 pin connecting resistance R1 of U25, another termination power of R1,11 pin connect 9 pin of J1; 5 pin of one termination J6 of resistance R 149; The positive pole of another terminating diode D32 of R149 and 13 pin of CPUU6: 16 pin of a termination U24 of resistance R 151, the positive pole of another terminating diode D17 and tightly deposit the register gating pin of type flash card, also 1 pin of connection interface plug-in unit J2; 15 pin of one termination U24 of resistance R 152, the positive pole of another terminating diode D6 and the resetting pin of tightly depositing the type flash card also connect 2 pin of J2; Diode D6, D17, D32, negative pole meet power supply VCC, and U19A, B, C, D are one group of NOR gate, 2,6 pin of U19A, B connect 55 pin of CPUU6, and 3 pin connect 3 pin of CPUU6, and 1 pin of U19A connects 5 pin of U19B and 1,2 pin of U20A, 4 pin of U19B, connect 4 pin of U20B, 8 pin of U19C connect 8 pin of U20C, and 9 pin of U19C connect 11 pin of U20D, 10 pin of U19C connect 9 pin of U21C, 11 pin of U19D connect 3 pin of U21A, and 12 pin of U19D connect 6 pin of U21B, and 13 pin of U19D connect 10 pin of U21C; U20A, B, C, D, U21A, B, C, D are two groups of NAND gate, 1,2 pin of U20A connect 1 pin of 19A, 3 pin of U20A connect also 21 pin of connection interface plug-in unit J2 of chip select pin of tightly depositing the type flash card, 4 pin of U20B connect 4 pin of U19B, 5 pin of U20B connect 9 pin of U23,6 pin of U20B connect 22 pin of U16,8 pin of U20C connect 8 pin of U19C, 9 pin of U20C meet the ROW0 of panel control circuit, and 10 pin of U20C meet the ROW1 in the panel control circuit, and 11 pin of U20D connect 9 pin of U19C, the U20D12 pin meets ROW2, and 13 pin of U20D meet ROW3; 1 pin of U21A meets ROW4,2 pin of U21A meet ROW5,4 pin of U21B meet ROW6,5 pin of U21B meet ROW7, and 3 pin of U21A connect 11 pin of U19D, and 6 pin of U21B connect 12 pin of U19D, 9 pin of U21C connect 10 pin of U19C, 10 pin of U21C connect 13 pin of U19D, and the IRQ3 that 11 pin of U21D meet CPUU6 is 29 pin, and 12,13 pin of U21D connect 8 pin of U21C; J6 is single contact pin, 1 pin of J6 connects power supply, the serial data that 2 pin connect modulator-demodulator receives 18 pin that pin also meets double contact pin J1, the serial data that 4 pin connect modulator-demodulator sends 1 pin that pin also meets J1,3 pin connect 8 pin of U17, and 5 pin connect 1 pin of R149,6 pin ground connection, the IRQ3 that 7 pin meet CPUU6 is 29 pin, and the effective pin of data that 8 pin meet CPU is 76 pin.
3. intelligent network telephone according to claim 1, it is characterized in that, the dialing control circuit is by the dialing chip, triode, crystal oscillator, resistance, compositions such as electric capacity, its connected mode is as follows: 4 pin of the 1 pin combination hub JP6 of dialing chip U15,2 pin of U15 connect 3 pin of JP6,3 pin of U15 connect 6 pin of JP6,4 pin of U15 are unsettled, 5 of U15,6 pin ground connection V-, 7 pin of U15 connect crystal oscillator Q2 one end, and through capacitor C 85 ground connection V-, 8 pin of U15 connect the Q2 other end, and through capacitor C 86 ground connection V-, 9 pin of U15 connect the base stage of triode T2, and connecting resistance R12, another termination V+ of R12, the grounded emitter V-of T2, the collector electrode of T2 is connected 12 pin of words chip U13, and meets power supply V+, the 10 pin ground connection V-of U15 through resistance R 15,11 pin of U15 are unsettled, the 13 pin ground connection V-of U15,14 pin of U15 meet power vd D, and 15 pin of U15 connect 10 pin of Jp6,16 pin of U15 connect 7 pin of JP6,17 pin of U15 connect 8 pin of JP6, and 18 pin of U15 connect 5 pin of JP6, and 12 pin of U15 are through resistance R 91, and connect 11 pin of words chip U13 through capacitor C 47, resistance R 91 connects capacitor C 3 and resistance R 20 back ground connection V-; 1 pin of spring HOOK1 meets power supply V+ again; 2 pin of HOOK1 meet power supply V++; 3,6 pin of HOOK1 are unsettled, and 4 pin of HOOK1 meet network TRING, and 5 pin of HOOK1 meet network RING; 11 pin of the termination socket J1 of reset key K1, other end ground connection; Tightly deposit type flash card deck and tightly deposit 1 of type flash card 1,50 pin ground connection, 2 pin of tightly depositing type flash card 1 connect 26 pin of J2,3 pin of tightly depositing type flash card 1 connect 25 pin of J2,4 pin of tightly depositing type flash card 1 connect 24 pin of J2,5 pin of tightly depositing type flash card 1 connect 23 pin of J2,6 pin of tightly depositing type flash card 1 connect 22 pin of J2,7 pin of tightly depositing type flash card 1 connect 21 pin of J2, and through capacitor C 268 ground connection, 8 pin of tightly depositing type flash card 1 connect 20 pin of J2,9 pin of tightly depositing type flash card 1 connect 19 pin of J2,10 pin of tightly depositing type flash card 1 connect 18 pin of J2,11 pin of tightly depositing type flash card 1 connect 17 pin of J2,12 pin of tightly depositing type flash card 1 connect 16 pin of J2, tightly deposit 13 of type flash card 1,32,38 pin connect 15 pin of J2,14 pin of tightly depositing type flash card 1 connect 14 pin of J2,15 pin of tightly depositing type flash card 1 connect 13 pin of J2,16 pin of tightly depositing type flash card 1 connect 12 pin of J2,17 pin of tightly depositing type flash card 1 connect 11 pin of J2,18 pin of tightly depositing type flash card 1 connect 10 pin of J2,19 pin of tightly depositing type flash card 1 connect 9 pin of J2,20 pin of tightly depositing type flash card 1 connect 8 pin of J2,21 pin of tightly depositing type flash card 1 connect 7 pin of J2,22 pin of tightly depositing type flash card 1 connect 6 pin of J2,23 pin of tightly depositing type flash card 1 connect 5 pin of J2, tightly deposit 25 of type flash card 1,26 pin connect 4 pin of J2,36 pin of tightly depositing type flash card 1 connect 3 pin of J2,41 pin of tightly depositing type flash card 1 connect 2 pin of J2,44 pin of tightly depositing type flash card 1 connect 1 pin of J2, tightly deposit 24 of type flash card 1,27,28,29,30,31,33,34,35,37,39,40,42,43,45,46,47,48,49 pin are unsettled.
4. intelligent network telephone according to claim 1, it is characterized in that, the ring control circuit is by the ring chip, relay, resistance, electric capacity constitutes, its connected mode is as follows: 1 pin of relay J K3 and 6 pin connect the RING network by 5 pin of the switch HOOK1 in the dialing control circuit, the 5 pin ground connection of JK3, JK3 2 pin connect the 5V power supply, 4 pin of JK3 are connected in series through resistance R 59 and capacitor C 97 and connect 1 pin of ring chip U12 again, 2 pin of U12 connect the negative pole of ring loudspeaker B5,3 pin of U12 connect the positive pole of B5, and 4 pin of U12 serial connection capacitor C 90 again and connect capacitor C 93, resistance R 30, resistance R 62, capacitor C 92, U12 7 pin; 5 pin of U12 are respectively after capacitor C 93 and resistance R 30 and receive 7 pin of U12; 6 pin of U12 are received 7 pin of U12 respectively after resistance R 62 and capacitor C 92,8 pin of U12 meet network TIP.
5. intelligent network telephone according to claim 1, it is characterized in that, the off-hook control circuit is made of every, dialing chip, voltage stabilizing didoe, resistance, electric capacity electric bridge, triode, light, it is characterized in that,: two ac input ends of full-bridge B3,4 pin of switch HOOK1 in the one termination dialing control circuit, another terminal network TIP; The negative terminal of B3 connects simulation ground, the emitter of positive termination triode BG8, and connect the base stage of BG8 through resistance R 54, and connect the base stage of triode BG7 and light every 02 5 pin through resistance R 13; Light links to each other with the emitter of triode BG7 and meets simulation ground V-every 02 4 pin, and the base stage of triode BG8 connects the collector electrode of triode BG7 through resistance R 55, and the collector electrode of BG8 meets V+; Light is every 02 1 pin, 9 pin through resistance R 79 combination hub J1, and light is every 02 2 pin ground connection; The collector electrode of triode T5 meets V+, and the base stage parallel resistance R14 of T5 and capacitor C 89 connect 12 pin of dialing chip U15, and the emitter of T5 meets V-through R33; The base stage of triode T3 meets the V++ of network through resistance R 78, the base stage of the collector connecting transistor T4 of T3 and capacitor C 99, resistance R 76, and meet V+ through resistance R 77, meet V-behind the other end of the other end of resistance R 76, capacitor C 99 and R50 one end; The collector electrode of triode T4 and connection electrical resistance R81, R56, V+, 6 pin of the other end combination hub J1 of R81, the emitter of T4 meets V-through resistance R 50; The other end of resistance R 56 capacitor C 87 that is connected in parallel, voltage stabilizing didoe Z6 and VDD, the ground connection anodal in parallel of the other end of C87 and Z6; 14 pin of dialing chip U15 meet V+ through R56, in this circuit, also has light every 03, its 1 pin connects resistance R 80, the other end of R80 connects the V++ of network, 03 4 pin ground connection, 03 5 pin connecting resistance R16 reach 32 pin that meet CPU processor U6 by 7 pin of J1, another termination power of R16,03 2 pin ground connection V-, resistance R 80 meets power supply V++ altogether with R78.
6. intelligent network telephone according to claim 1, it is characterized in that, the conversation control circuit is made of conversation chip, voltage stabilizing didoe, resistance, electric capacity, and its connected mode is as follows: 1 pin of conversation chip U13 and connect V++, voltage stabilizing didoe Z7 negative pole, resistance R 64, U13 1 pin and connect 13 pin of U13 and resistance R 58, capacitor C 88 through resistance R 64; V++ is by behind the R65, connect simulation ground through capacitor C 95, and connect 10 pin of U13 through capacitor C 21, and through resistance R 66 after resistance R 67 connects the positive pole of Z7 and 16 pin of U13, again through resistance R 68,16 pin that meet simulation ground U13 after resistance R that is connected in parallel 57 and the capacitor C 56 be connected in parallel resistance R 70, resistance R 71, another termination simulation ground of R71,16 pin are also through capacitor C 73 and connect 2 pin, the resistance R 69 of U13,3 pin of another termination U13 of R69,14 pin and the capacitor C 91 of another termination U13 of resistance R 70, the other end ground connection of C91; 15 pin of U13 connect simulation ground through resistance R 72; 8 pin of U13 connect simulation ground through resistance R 73; 9 pin of U13 connect simulation ground; The 6 foot meridian capacitor C81 of U13 connect simulation ground, and connect 7 pin of U13 through resistance R 74; The 7 foot meridian capacitor C82 of U13 connect simulation ground, and after capacitor C 22 and resistance R 75, connect simulation ground behind the microphone of the handle of answering the call, and microphone is parallel resistance R58 also, 13 pin of another termination U13 of R58; The 13 foot meridian capacitor C88 of U13 connect simulation ground; The 5 foot meridian capacitor C50 of U13 connect simulation ground, and connect 4 pin of U13 respectively through resistance R 63 and capacitor C 94; Also answer the call after the capacitor C 39 receiver earphone of handle of 4 pin of U13 connects simulation ground; The answer the call collector electrode of the triode T2 in the dialing control circuit of 11 pin of the U13 end of capacitor C 47 in the dialing control circuit of answering the call, 12 pin of U13.
7. intelligent network circuit according to claim 1, it is characterized in that, loud speaker, voice output control line routing amplifier, potentiometer, microphone, light every, resistance, electric capacity constitutes, its connected mode is as follows: the centre cap of potentiometer POT1 also connects 3 pin and the capacitor C 52 of audio-frequency function amplifier U19, the two ends in addition of POT1, one end is through resistance R 83 ground connection, the other end also connects capacitor C 26, C27, the other end series resistance R82 of capacitor C 26,7 pin of the other end series connection operational amplifier U18B of R82, the other end series resistor R84 of capacitor C 27, the other end series connection network MDMSPK of R84; The 2 pin ground connection of U19,3 pin of U19 are through C52 ground connection, the 7 foot meridian capacitor C42 of U19 and the 4 pin ground connection in parallel of U19; 8 pin of U19 are connected in series and connect 1 pin of U19 after capacitor C 44 and the resistance R 51; 6 pin of U19 also connect 5V power supply, capacitor C 25 and capacitor C 43, C25, C43 ground connection in parallel, 5 pin of U19 are through resistance R 89 and capacitor C 84 series connection ground connection, and through A pin and the capacitor C 24 of capacitor C 41 and lug machine transplanting of rice seat JP5, the other end of C24 also connects loudspeaker S1 negative pole and ground connection; The B pin of JP5 connects the positive pole of loud speaker S1; The C pin of JP5 is through microphone MIC1 ground connection; The D pin of JP5 meets network MICPHONE; The E pin ground connection of JP5; 8 pin of double contact pin J1 are through resistance R 85 and connect 3 pin, capacitor C 77 and the resistance R 60 of amplifier U18A, C77, R60 ground connection in parallel; 2 pin of U18A connect the 4 pin ground connection of 1 pin of U18A: U18A through resistance R 87,8 pin of U18A also meet 5V power supply, capacitor C 40 and C23, C40, C23 ground connection in parallel; 1 pin of U18A and connects capacitor C 79, resistance R 88, capacitor C 76, the other end ground connection of C79,7 pin of another termination U18B of C76 after resistance R 86; 5 pin of U18B also meet R88 one end and C78, and through 6 pin of capacitor C 78 ground connection: U18B through resistance R 61 ground connection and connect 7 pin of U18B through R17.
9. intelligent network telephone according to claim 1, it is characterized in that, modulator-demodulator is made of processor, memory, buffer, amplifier, triode, diode, resistance, electric capacity etc., its connected mode is as follows: integrated circuit U80 is a command processor, its data/address bus D0-D7 (41-48) pin links to each other with D0-D7 (13-21) pin of integrated circuit program storage U82 and D0-D7 (13-21) pin of integrated circuit data storage U83 respectively, in addition, it also links to each other with D0-D7 (88-95) pin of data processor U81; The A0-A17 (12,11,10,9,8,7 of the address bus A0-A17 of U80 (54-69,73,77) pin and program storage U82,6,5,27,26,23,25,4,28,29,3,2,30) pin links to each other, simultaneously A0-A16 (54-69,73) pin again with the A0-A16 (12 of data storage U83,11,10,9,8,7,6,5,27,26,23,25,4,28,3,31,2) link to each other, and the A0-A4 of U80 (54-58) is then continuous with the RS0-RS4 (96,97,2,3,4) of data processor U81; U80-WRITE ,-READ ,-RAMS electricity to luminous (3,4,76) pin and U83-WE ,-OE ,-CS1 (29,24,22) pin order company; U80-WRITE ,-READ ,-ROMS electricity to luminous again with U82-WE ,-OE ,-CE (31,24,22) pin links to each other; U80-DPS electricity to luminous ,-WRITE ,-READ, DPIRQ then with data processor U81-CS ,-WRITE ,-READ, IRQ (5,6,7,80) link to each other; Command processor U80 is connected with 5 pin and the resistance R 140 of integrated package U74 by NVMDATA (33) pin, 8 pin, power supply and the capacitor C 187 of the other end connection U74 of R140, the other end connection U74 of C187 1,2,3,4, pin and ground connection, the 7 pin ground connection of U74; 6 pin that the NVMCLK of U80 (39) pin connects integrated circuit U74 are used for storing data; Command processor US0 connects serial port DB2 by interface chip U77, to connect PC; Wherein U80~R1 ,~CTS ,~DSR ,~RLSD (18,14,13,15) pin connects 5DA, 4DA, 2DA, 1DA (9,7,3, the 2) pin of integrated circuit U77; U80~DTRIND (21) pin forms the control indicator light circuit after connecting resistance R 267, triode BG14, light-emitting diode D17 and resistance R 277 and ground connection; U81~RES2 (36) pin is with~RES1 (17) pin and after connecting, with U80~RESET (1) pin parallel diode D49, resistance R 141 after, a termination 5V power supply, another termination capacitor C 232 back ground connection, form electrify restoration circuit, modulator-demodulator is resetted; The XTLI of U80, XTLO (9,10) pin, by connecting resistance R 212, crystal oscillator Q4 forms oscillating circuit after capacitor C 270, the C269 ground connection; The VDD of U80, VDD ,~NMI ,~STPMODE, DAA/C electricity connects the 5V positive supply to five pin of luminous L (8,51,2,24,50), and and connect ground connection behind three electrochemical capacitor C238, C231, the C248; Six GND (72,53,52,29,12,49) pin of U80 also connects ground; Connect 5V power supply and ground connection respectively behind the VCC of program storage U82 (32) pin and GND (16) the pin shunt capacitance C182; Again and connect capacitor C 183, electrochemical capacitor C245, and link to each other after the VCC of data storage U83, CS2 (32,30) the pin parallel connection with GND (16) pin of U83; Last electrochemical capacitor C245 one termination 5V power supply, an end ground connection; Connect the 5V power supply behind the CSI of U83 (22) the pin connecting resistance R136; 3 pin of buffer U86A connect among the U80~(8) pin of DTR (25) pin and U85C; 2 pin of U86A connect among the U80~CTS (14) pin; 6 pin of U86B connect among the U80~(11) pin of RTS (27) pin and U85D; (5) pin of U86B also connects among the U80~CTS (14) pin; (1) pin of U86A and (4) pin of (4) pin attachment plug more in parallel JP9 of U86B and (4) pin of plug JP10; (9) pin of U85C connects 3RY (8) pin among the U77; Be connected in parallel (2) pin of JP9 of (13) pin of (10) pin of U85C and U85D; 12 pin of U85D connect 1RY (5) pin among the U77; 1 pin of U85A and 4 pin of U85B also connect 2 pin that meet JP9 again and 2 pin of JPi0; 2 pin of U85A and 9 pin of U84C are connected in parallel U80's~RXD (38) pin, connect power supply behind the connecting resistance R148 again; 3 pin of U85A 3DA (4) pin that connects again among the U77 in parallel with 3 pin of U84A; 5 pin of U85B 2RY (6) pin that connects again among the U77 in parallel with 5 pin of U84B; 6 pin of U85B are in parallel with 11 pin of U84D to be connect among the U80 again~TXD (34) pin; 4 pin of U84B with connect 3 pin of JP9 and 6 pin of JPI0 after 1 pin of U84A is in parallel; 6 pin of U84B with connect power supply after 8 pin of U84C are in parallel; 2 pin of U84A are in parallel with 12 pin of U84D, connect power supply; 13 pin of U84D and 4 pin that meet JP9 after 10 pin of U84C are in parallel; The 1 pin ground connection of JP9,2,3,4 pin connect resistance R 144, R145, R146 respectively, and R144, R145, the R146 other end also connect the 5V power supply, form three-way pull-up resistor; The XTCLK of U81 (64) pin and VD3.3 (11) pin that meets U80 after LA2CLK (58) pin is in parallel; Connect CLKIN (86) pin of U81 behind the CLKOUT of U80 (31) the pin connecting resistance R213; U80~WKRESOUT (79) pin connect U81~WKRES (9) pin; U80~DPRXD (37) pin connects RXD (67) pin of U81; Power circuit forms current rectifying and wave filtering circuit by two rectifier bridge B7, B10, capacitor C 191, C192, electrochemical capacitor C278, C279, C280, inductance coil L20, L21, variable resistor F2; It is connected with 1 pin of voltage stabilizing circuit U79,3, the 5 pin ground connection of U79; 2 pin divide two-way, and one the tunnel connects ground connection behind the diode D50, and one the tunnel connects inductance coil L22, and inductance coil divides two-way again, and one the tunnel connects the 5V power supply, and one the tunnel and connect capacitor C 193 and electrochemical capacitor C281, C193, C281 ground connection in parallel again; 4 pin also connect the 5V power supply; U80~RLY1 ,~LRY2 ,~RINGD, LCS (70,71,32,30) pin is used for connecting the telephone signal circuit; Wherein, behind~RLY1 (70) the pin connecting resistance R265 and the base stage of connecting resistance R233 and triode BG13, the emitter of BG13 connects the 5V power supply, the collector electrode of BG13 also connects diode D47 and relay J K6 one end, connect simulation ground after the parallel connection, the end of relay J K6 then by two three-pointswitch, is connected into different circuit; 2,4 pin of JK6 connect external circuit; 3,6 pin are empty; 7 pin divide two-way, and one the tunnel meets electric bridge B8, form polarity transformation circuits; Another road connects electrochemical capacitor C272, C271, and in parallel with the series circuit of the resistance R 270 that picks out from 5 pin, capacitor C 264; Meet transformer T10 then, the end of T10 also connects the triode BG11 of voltage stabilizing didoe Z12, series connection and the triode BGi5 of resistance R 269, series connection and electrochemical capacitor C249 and three series resistance R234, R272, R271, forms circuit for answering; The other end parallel connection of T10 after the resistance R 274 of voltage stabilizing didoe Z13, the Z14 of capacitor C 228, two series connection and series connection, the R273, an end series resistance R275 inserts TXA1 (30) pin of U81; The other end inserts TXA2 (31) pin of U81; Between resistance R 274 and R273, insert RIN (35) pin of U81; U80~RLY2 (71) pin, behind the connecting resistance R266, and base stage and the resistance R 235 of connection triode BG12; The emitter of the BG12 termination 5V power supply that links to each other with R235; The collector electrode of BG12, the one tunnel connects analogue ground behind the diode D48, and another road connects the end of relay J K5; The 8 end analogue grounds of JK5 form and answer circuit; Simultaneously ,~RLY2 (71) pin also connects the base stage of triode BG16, analogue ground behind the emitter connecting resistance R278 of BG16, and collector electrode connects photoelectrical coupler 06, forms sound circuit; U75 in the RINGD of U80 (32) the pin access control telephone signal circuit, and connecting resistance R228, the other end ground connection of R228, the other end of photoelectrical coupler U75 also connects diode D46; After the positive pole serial connection voltage stabilizing didoe Z11 and resistance R 264 of D46, divide two-way again: the one tunnel can insert polarity transformation circuits by the switch of JK5; Negative pole serial connection voltage stabilizing didoe Z10 and the capacitor C 266 of D46, C266 one road succeeds the end of electrical equipment JK5, C266 also connects inductance L 19 and capacitor C 227, the junction ground connection of capacitor C 227 and capacitor C 226, another termination inductance L 18 of C266, inductance L 18, L19 receive 2 pin and 3 pin of socket JP12, and the junction of L18 and C226 also connects photoelectrical coupler H11AA1 and capacitor C 184, another termination power of C184 and resistance R 264 and U76; The LCS of U80 (30) pin divides two-way: the one tunnel meets photoelectrical coupler H11AA1; Another road connects analogue ground behind the R227; In addition, the polarity transformation circuits in the circuit for answering can connect the filter circuit that utilizes piezo-resistance RV2, capacitor C 224, capacitor C 225 parallel inductor L16 and L17 to form by the two ends of electric bridge B8; Wherein, analogue ground after capacitor C 224, the C225 parallel connection, and L16, L17 insert 2,3 pin of socket JP11 respectively; The MICV of U81 (34) pin and MICM (37) pin also connect after the capacitor C 201, divide two-way: the one tunnel connect resistance R 268 after, and connect electrochemical capacitor C255 and resistance R 149, the minus earth of C255, R149 connect the 5V power supply; Another road also connects capacitor C 235 and the hook switch D line MICPHONE of external circuit loud speaker, voice output control circuit, C235 other end ground connection; The SPK of U81 (29) pin also meets an end MDMSPK of the resistance R 84 of external circuits voice output control circuit; 32 pin of U81 be connected in parallel capacitor C 196 and capacitor C 252, the other end of C196 and the other end of C252 connect 33 pin of U81, capacitor C that is connected in parallel 197 and C253, the other end ground connection of C197 and C253; The SLEEPO of U81 (69) pin links to each other with LASLEEP (56) pin of U81; The MTXSIN of U81, MRXOUT, MSTROBE, MSCLK, MCNTRLSIN (43,45,46,44,41) are connected with SR40UT, SR41N, SAICLK, IAICLK, the SRIIO (18,20,23,24,62) of U81 respectively; The MCLKIN of U81 (42) pin also connects CLKOUT (22) pin and VCLKIN (54) pin; The SR30UT of U81, SR31N, SA2DLK, SR2CLK, SR210 (19,21,59,10,60) pin link to each other with VTXSIN, VRXOUT, VSTROBE, VSCLK, VCNTRLSIN (53,51,50,52,55) respectively.
10. intelligent network telephone according to claim 1, it is characterized in that, panel control circuit is made of data buffer, diode, button, resistance, electric capacity etc., its connected mode is as follows: 1, the 19 pin ground connection of data buffer U29,18,17,16,15 pin connect 17,14,16,21 pin of double contact pin J1 respectively, and 14,13,12,11 pin of U29 connect 12,15,16,19 pin of U26 in 14,13,12,11 pin of U28 in peripheral control circuit one interface circuit and the interface circuit respectively; 2,3,4,5,6,7,8,9 pin of U29 are the negative pole of sending and receiving optical diode D14, D7, D8, D13, D9, D10, D11, D12 respectively; S4, S5, S6, S7, S9, S11, S12, S13, S14, S26, S27 are buttons; The end of S4, S6, S9, S12, S13, S14, S26, S27 meets ROW0 ' respectively to ROW7 ', and the other end of S4, S6, S9, S12, S13, S14, S26, S27 all meets COL0, and the end of S5, S7, S11 meets ROW0 ' respectively to ROW2 '; The other end of S5, S7, S11 all meets COL1; The end of resistance R 107, R108, R109, R110, R114, R125, R126, R137 all meets power supply VCC, and the other end of resistance R 107, R108, R109, R110, R114, R125, R126, R137 meets ROW0 ' respectively to ROW7 '; Resistance R 140, R141, R142, R144, R145, R146, R147, R148 one end meet ROW0 to ROW7 respectively, and the other end of R140, R141, R142, R144, R145, R146, R147, R148 meets ROW0 ' respectively to ROW7 ' and resistance R 107, R108, R109, R110, R114, R125, R126, R137; The end of capacitor C 60, C61, C62, C63, C64, C65, C69, C70 connects the end of ROW0 to ROW7 and resistance R 140, R141, R142, R144, R145, R146, R147, R148 respectively, and the other end of C60, C61, C62, C63, C64, C65, C69, C70 is ground connection all; D7, D8, D9, D10, D11, D12, D13, D14, D15, D16 are light-emitting diodes; The negative pole of D14 connects 2 pin of U29, the negative pole of D7 connects 3 pin of U29, the negative pole of D8 connects 4 pin of U29, the negative pole of D9 connects 6 pin of U29, the negative pole of D10 connects 7 pin of U29, the negative pole of D11 connects 8 pin of U29, the negative pole of D12 connects 9 pin of U29, the negative pole of D13 connects 5 pin of U29, the positive pole of D14, D7, D8, D9, D10, D11, D12, D13 is connecting resistance R92, R91, R90, R89, R88, R87, R86, R85 respectively, the other end of R92, R91, R90, R89, R88, R87, R86, R85 and joining power VCC; The positive pole of D16 connects the power supply indicator circuit, minus earth: the positive pole of D15 connects 6 pin of double contact pin J1, and negative pole connects 5 pin of double contact pin J1.
12. intelligent network telephone according to claim 1, it is characterized in that, the intelligent network telephone machine is by the dialing button, handle, fuselage, indicator light, writing pen, tightly deposit the type flash memory card interface, display screen, touch-screen, function key, infrared interface, the drawer type keyboard, formations such as PTT, the dialing button is fixed on the phone body, indicator light is assemblied in the upper end of telephone set fuselage, writing pen is inserted in the phone body, tightly deposit the type flash memory card interface and can be assemblied in the side of telephone set, display screen is contained on the telephone ' s faceplate, card has touch-screen on display screen, electricity is equipped with to luminous backlight in the display screen back side, the writing pen that extraction is inserted in the telephone set can carry out handwriting input on touch-screen, it is the bottom of display screen that function button and PTT can be installed in the lower end of phone body, but at the base of telephone set the hidden keypad of pull is housed, and the other card of keyboard has infrared interface, in the left side of telephone set the telephone handle jack is arranged, earphone, Mike's jack, volume adjustment knob, contrast adjustment knob; Rear side has the serial socket, telephone wire socket, power interface and loud speaker; There are stand-by battery box and microphone in the bottom surface.
CNB001249703A2000-09-272000-09-27Intelligent network telephoneExpired - Fee RelatedCN1139235C (en)

Priority Applications (1)

Application NumberPriority DateFiling DateTitle
CNB001249703ACN1139235C (en)2000-09-272000-09-27Intelligent network telephone

Applications Claiming Priority (1)

Application NumberPriority DateFiling DateTitle
CNB001249703ACN1139235C (en)2000-09-272000-09-27Intelligent network telephone

Publications (2)

Publication NumberPublication Date
CN1346200A CN1346200A (en)2002-04-24
CN1139235Ctrue CN1139235C (en)2004-02-18

Family

ID=4590773

Family Applications (1)

Application NumberTitlePriority DateFiling Date
CNB001249703AExpired - Fee RelatedCN1139235C (en)2000-09-272000-09-27Intelligent network telephone

Country Status (1)

CountryLink
CN (1)CN1139235C (en)

Cited By (19)

* Cited by examiner, † Cited by third party
Publication numberPriority datePublication dateAssigneeTitle
US7710393B2 (en)2001-10-222010-05-04Apple Inc.Method and apparatus for accelerated scrolling
US7710394B2 (en)2001-10-222010-05-04Apple Inc.Method and apparatus for use of rotational user inputs
US7795553B2 (en)2006-09-112010-09-14Apple Inc.Hybrid button
US7880729B2 (en)2005-10-112011-02-01Apple Inc.Center button isolation ring
US7910843B2 (en)2007-09-042011-03-22Apple Inc.Compact input device
US7932897B2 (en)2004-08-162011-04-26Apple Inc.Method of increasing the spatial resolution of touch sensitive devices
US8125461B2 (en)2008-01-112012-02-28Apple Inc.Dynamic input graphic display
US8395590B2 (en)2008-12-172013-03-12Apple Inc.Integrated contact switch and touch sensor elements
US8416198B2 (en)2007-12-032013-04-09Apple Inc.Multi-dimensional scroll wheel
US8482530B2 (en)2006-11-132013-07-09Apple Inc.Method of capacitively sensing finger position
US8537132B2 (en)2005-12-302013-09-17Apple Inc.Illuminated touchpad
US8683378B2 (en)2007-09-042014-03-25Apple Inc.Scrolling techniques for user interfaces
US8743060B2 (en)2006-07-062014-06-03Apple Inc.Mutual capacitance touch sensing device
US8816967B2 (en)2008-09-252014-08-26Apple Inc.Capacitive sensor having electrodes arranged on the substrate and the flex circuit
US8820133B2 (en)2008-02-012014-09-02Apple Inc.Co-extruded materials and methods
US8872771B2 (en)2009-07-072014-10-28Apple Inc.Touch sensing device having conductive nodes
USRE45559E1 (en)1997-10-282015-06-09Apple Inc.Portable computers
US9354751B2 (en)2009-05-152016-05-31Apple Inc.Input device with optimized capacitive sensing
US9454256B2 (en)2008-03-142016-09-27Apple Inc.Sensor configurations of an input device that are switchable based on mode

Families Citing this family (7)

* Cited by examiner, † Cited by third party
Publication numberPriority datePublication dateAssigneeTitle
CN100380907C (en)*2003-04-182008-04-09张烂熳Method of realizing handwriting information exchange for cmmunication terminal
US20040235520A1 (en)2003-05-202004-11-25Cadiz Jonathan JayEnhanced telephony computer user interface allowing user interaction and control of a telephone using a personal computer
KR100631680B1 (en)*2004-03-172006-10-09엘지전자 주식회사 Text message handwriting input display device and method of mobile terminal
CN101715032A (en)*2009-05-072010-05-26翁印嵩Telephone fax machine with touch display screen
CN102170489A (en)*2010-02-252011-08-31精英电脑股份有限公司Integrated network telephone module with network talking function and computer processing function
CN101883163A (en)*2010-07-282010-11-10李可意Multifunctional telephone set
CN104735271B (en)*2015-03-132018-06-12苏州工业园区服务外包职业学院A kind of method and terminal of intelligent multimedia telephone terminal processing speech business

Cited By (27)

* Cited by examiner, † Cited by third party
Publication numberPriority datePublication dateAssigneeTitle
USRE45559E1 (en)1997-10-282015-06-09Apple Inc.Portable computers
USRE46548E1 (en)1997-10-282017-09-12Apple Inc.Portable computers
US7710394B2 (en)2001-10-222010-05-04Apple Inc.Method and apparatus for use of rotational user inputs
US7710409B2 (en)2001-10-222010-05-04Apple Inc.Method and apparatus for use of rotational user inputs
US7710393B2 (en)2001-10-222010-05-04Apple Inc.Method and apparatus for accelerated scrolling
US8952886B2 (en)2001-10-222015-02-10Apple Inc.Method and apparatus for accelerated scrolling
US9009626B2 (en)2001-10-222015-04-14Apple Inc.Method and apparatus for accelerated scrolling
US7932897B2 (en)2004-08-162011-04-26Apple Inc.Method of increasing the spatial resolution of touch sensitive devices
US7880729B2 (en)2005-10-112011-02-01Apple Inc.Center button isolation ring
US8537132B2 (en)2005-12-302013-09-17Apple Inc.Illuminated touchpad
US9405421B2 (en)2006-07-062016-08-02Apple Inc.Mutual capacitance touch sensing device
US8743060B2 (en)2006-07-062014-06-03Apple Inc.Mutual capacitance touch sensing device
US8044314B2 (en)2006-09-112011-10-25Apple Inc.Hybrid button
US7795553B2 (en)2006-09-112010-09-14Apple Inc.Hybrid button
US8482530B2 (en)2006-11-132013-07-09Apple Inc.Method of capacitively sensing finger position
US8683378B2 (en)2007-09-042014-03-25Apple Inc.Scrolling techniques for user interfaces
US8330061B2 (en)2007-09-042012-12-11Apple Inc.Compact input device
US7910843B2 (en)2007-09-042011-03-22Apple Inc.Compact input device
US8866780B2 (en)2007-12-032014-10-21Apple Inc.Multi-dimensional scroll wheel
US8416198B2 (en)2007-12-032013-04-09Apple Inc.Multi-dimensional scroll wheel
US8125461B2 (en)2008-01-112012-02-28Apple Inc.Dynamic input graphic display
US8820133B2 (en)2008-02-012014-09-02Apple Inc.Co-extruded materials and methods
US9454256B2 (en)2008-03-142016-09-27Apple Inc.Sensor configurations of an input device that are switchable based on mode
US8816967B2 (en)2008-09-252014-08-26Apple Inc.Capacitive sensor having electrodes arranged on the substrate and the flex circuit
US8395590B2 (en)2008-12-172013-03-12Apple Inc.Integrated contact switch and touch sensor elements
US9354751B2 (en)2009-05-152016-05-31Apple Inc.Input device with optimized capacitive sensing
US8872771B2 (en)2009-07-072014-10-28Apple Inc.Touch sensing device having conductive nodes

Also Published As

Publication numberPublication date
CN1346200A (en)2002-04-24

Similar Documents

PublicationPublication DateTitle
CN1139235C (en)Intelligent network telephone
CN1178536C (en)Portable information terminal device and portable electronic apparatus
CN1191695C (en)Information communication system
CN1265628C (en) Removable storage medium, mobile information terminal and file management method thereof
CN1263295C (en) information processing device
CN1223157C (en)Receiver and method, transmitting equipment and method, recording medium and communication system
CN1209934C (en) Database system and method of obtaining information
CN1158618C (en)Data processing apparatus
CN1310115C (en) Terminal with power saving mode and device with normal working state and standby state
CN1301470C (en)Service submitting system, method program and medium
CN1823347A (en) System and method for providing a service
CN1497931A (en)System and method of copying and transmitting telephone talking
CN1364041A (en) Position registration control method, mobile communication network and communication terminal
CN101035092A (en)Information processor, method, program and recording medium for storing the program
CN101068418A (en)Information processing apparatus, information processing method, information processing program, and mobile terminal device
CN1714584A (en)Method and device for organizing user provided information by adopting meta information
CN1497930A (en)System and method for processing command of personal telephone rewrder
CN1379358A (en)Information processing equipment and method, recording medium and program
CN1260924A (en) Personal audio information processor and method
CN1745565A (en)Speech communication system, server used for the same, and reception relay device
CN1175867A (en) Control of a receiver terminal by a sender terminal before off-hook by the sender terminal
CN1139234C (en)Computer telephone with digital assistant, facsimile and network function
CN1692612A (en) Systems and methods for providing integrated communication ID
CN1193574C (en)Information providing system for fixed telephone network
CN1148633C (en)Virtual keyboard type Chinese character input method and its system

Legal Events

DateCodeTitleDescription
C10Entry into substantive examination
SE01Entry into force of request for substantive examination
C06Publication
PB01Publication
C14Grant of patent or utility model
GR01Patent grant
C56Change in the name or address of the patentee

Owner name:HANWANG TECHNOLOGY CO., LTD.

Free format text:FORMER NAME OR ADDRESS: BEIJING HANWANG SCIENCE AND TECHNOLOGY CO., LTD.

CP03Change of name, title or address

Address after:100094, No. 5, building 8, No. three northeast Wang Xi Road, Beijing, Haidian District

Patentee after:Hanwang Tech Co., Ltd.

Address before:100080, Beijing, Zhichun Road, Haidian District 51, Shen Chang building, six floor

Patentee before:Hanwang Science and Technology Co., Ltd., Beijing

ASSSuccession or assignment of patent right

Owner name:BEIJING SINODATA TECHNOLOGY CO., LTD.

Free format text:FORMER OWNER: HANWANG TECH CO., LTD.

Effective date:20120427

C41Transfer of patent application or patent right or utility model
CORChange of bibliographic data

Free format text:CORRECT: ADDRESS; FROM: 100094 HAIDIAN, BEIJING TO: 100191 HAIDIAN, BEIJING

TR01Transfer of patent right

Effective date of registration:20120427

Address after:100191, Beijing, Xueyuan Road, Haidian District No. 51 building, the first to enjoy the 6 floor of science and Technology Building

Patentee after:Beijing Sinodata Technology Co., Ltd.

Address before:100094 Beijing, Haidian District, northeast Wang West Road, building three, floor 5, layer 8

Patentee before:Hanwang Tech Co., Ltd.

CF01Termination of patent right due to non-payment of annual fee

Granted publication date:20040218

Termination date:20140927

EXPYTermination of patent right or utility model

[8]ページ先頭

©2009-2025 Movatter.jp