Movatterモバイル変換


[0]ホーム

URL:


CN113892948A - A smart blood sugar monitoring watch and working method - Google Patents

A smart blood sugar monitoring watch and working method
Download PDF

Info

Publication number
CN113892948A
CN113892948ACN202111157132.1ACN202111157132ACN113892948ACN 113892948 ACN113892948 ACN 113892948ACN 202111157132 ACN202111157132 ACN 202111157132ACN 113892948 ACN113892948 ACN 113892948A
Authority
CN
China
Prior art keywords
module
intelligent
blood sugar
electrode
chip circuit
Prior art date
Legal status (The legal status is an assumption and is not a legal conclusion. Google has not performed a legal analysis and makes no representation as to the accuracy of the status listed.)
Pending
Application number
CN202111157132.1A
Other languages
Chinese (zh)
Inventor
余善成
隋易晓
顾海松
陈娟娟
刘瑞清
孙婷珠
吴金罕
Current Assignee (The listed assignees may be inaccurate. Google has not performed a legal analysis and makes no representation or warranty as to the accuracy of the list.)
Nanjing Kangbo Intelligent Health Research Institute Co ltd
Original Assignee
Nanjing Kangbo Intelligent Health Research Institute Co ltd
Priority date (The priority date is an assumption and is not a legal conclusion. Google has not performed a legal analysis and makes no representation as to the accuracy of the date listed.)
Filing date
Publication date
Application filed by Nanjing Kangbo Intelligent Health Research Institute Co ltdfiledCriticalNanjing Kangbo Intelligent Health Research Institute Co ltd
Priority to CN202111157132.1ApriorityCriticalpatent/CN113892948A/en
Publication of CN113892948ApublicationCriticalpatent/CN113892948A/en
Pendinglegal-statusCriticalCurrent

Links

Images

Classifications

Landscapes

Abstract

The invention discloses an intelligent blood sugar monitoring watch and a working method, wherein the intelligent blood sugar monitoring watch comprises a liquid crystal man-machine interaction interface, an intelligent analysis module, a sensor electrode module and a porous microneedle body fluid acquisition module which are sequentially arranged from top to bottom; the intelligent analysis module comprises an intelligent chip circuit which is electrically connected with the liquid crystal human-computer interaction interface; the lower end face of the intelligent analysis module is connected with the sensor electrode module, the sensor electrode module receives the blood sugar information transmitted by the porous microneedle body fluid acquisition module, the blood sugar information is resolved by the intelligent chip and then displayed on a liquid crystal man-machine interaction interface, and meanwhile, an alarm is given to the excessively high or excessively low blood sugar value, so that the effect of monitoring the health of a human body is realized; the invention also discloses a working method of the intelligent blood sugar monitoring watch, which adopts an intelligent chip circuit to monitor the blood sugar state of the human body in real time, combines a precise blood sugar monitoring technology with a neural network and has high-precision prediction and analysis capabilities which are not possessed by the traditional blood sugar monitoring equipment.

Description

Intelligent blood sugar monitoring watch and working method
Technical Field
The invention relates to the technical field of blood sugar monitoring, and mainly relates to an intelligent blood sugar monitoring watch and a working method.
Background
With the development of society, health management in daily life is receiving more and more attention from people, and various technical means are applied to monitoring physical sign parameters, wherein blood glucose values are particularly important. The clinical practice is that trace blood is obtained from fingertips and blood sugar is obtained by combining a blood sugar measuring instrument. Daily frequent fingertip blood sampling brings great physical and psychological burden to a tested person, and the risk of infection exists. With the development of the technology, continuous blood glucose monitors relying on the implanted electrodes are also used by more and more people, but the implanted electrodes have bioactive enzymes and are directly implanted into human bodies to have immunological risks; blood sugar is indirectly measured based on sweat glucose content, a sweat generator or exercise is needed to obtain sweat which can be used for measurement, instability exists, and applicable scenes are limited; the accuracy and consistency of non-invasive blood glucose monitoring based on optics, magnetism and acoustics still need to be further improved.
Disclosure of Invention
The purpose of the invention is as follows: in order to overcome the defects in the prior art, the invention provides the intelligent blood sugar monitoring watch, subcutaneous body fluid is extracted by means of capillary force through the porous micro-needles, body fluid glucose is measured through the sensor electrode module, the blood sugar value is obtained and displayed on a liquid crystal man-machine interaction interface in real time, and meanwhile, an alarm is given to the overhigh or overlow blood sugar value, so that the effect of monitoring the health of a human body is realized. Meanwhile, the built-in intelligent chip circuit can provide intelligent analysis and corresponding diet suggestions according to the detected blood sugar value, and remote transmission can be realized.
The technical scheme is as follows: in order to achieve the purpose, the invention adopts the technical scheme that:
an intelligent blood sugar monitoring watch comprises a liquid crystal man-machine interaction interface, an intelligent analysis module, a sensor electrode module and a porous microneedle body fluid acquisition module which are sequentially arranged from top to bottom;
the intelligent analysis module comprises an intelligent chip circuit; the intelligent chip circuit is electrically connected with the liquid crystal human-computer interaction interface; the lower end face of the intelligent analysis module is respectively provided with a working electrode, a reference electrode and a counter electrode which are connected with an intelligent chip circuit, and the working electrode, the reference electrode and the counter electrode jointly form a complete working electrode system; the upper end face of the sensor electrode module is provided with a working electrode joint, a reference electrode joint and a counter electrode joint at the positions corresponding to the intelligent analysis module; working electrode micro-needles, reference electrode micro-needles and counter electrode micro-needles are respectively arranged at corresponding positions of the lower end face of the sensor electrode module; the upper end of the porous microneedle body fluid acquisition module is provided with a porous sheet, and the working electrode microneedle, the reference electrode microneedle and the counter electrode microneedle are all in an array form and are penetrated into the porous sheet; the lower end of the porous microneedle body fluid obtaining module is provided with a microneedle array which is used for being pricked into the subcutaneous part to obtain the sugar-containing body fluid.
Further, the intelligent chip circuit comprises a battery, a power management chip and a microcontroller; the battery supplies power to the microcontroller through the power management chip; the microcontroller comprises a neural network accelerator, a processor core and a communication bus; the neural network accelerator is connected with a processor core, and the processor core is respectively connected with the liquid crystal human-computer interaction interface and the sensor electrode module through a communication bus.
Furthermore, the processor core is also respectively connected with the flash memory, the wireless local area network module, the low-energy consumption Bluetooth module, the alarm module and the display control module through a communication bus.
Further, the main body of the liquid crystal man-machine interaction interface is a touch screen which respectively displays the current blood sugar value, the history record, the electric quantity and the time; meanwhile, the intelligent food and drink management system is provided with setting, alarming, calibrating, intelligent analyzing and diet suggesting buttons, a Bluetooth connecting switch and a sending mobile phone switch.
When the intelligent chip circuit is started, each submodule is initialized firstly, and the intelligent chip circuit comprises a microcontroller, a display control module, a wireless local area network module, a sensor front end and a neural network accelerator; the neural network accelerator supports various networks and is pre-trained;
after initialization is completed, the intelligent chip circuit periodically acquires the blood sugar information of the user from the sensor electrode module and inputs the blood sugar information into the neural network accelerator for inference estimation; the processor core acquires the inference estimation result and outputs the inference estimation result to the display control module, and meanwhile, whether an alarm needs to be sent to a user is judged; the intelligent chip circuit drives the liquid crystal man-machine interaction interface, the wireless local area network module or the low-energy consumption Bluetooth module to send blood sugar information to a user or remote wireless equipment through the communication bus; the microcontroller can encrypt and transmit the historical blood glucose data to the pairing equipment of the user according to the requirement of the user, and can also encrypt and store the historical blood glucose data in a flash memory;
after the work is finished, the intelligent chip circuit enters a low-energy consumption mode and waits for the next sampling period.
Has the advantages that: the intelligent blood sugar monitoring watch provided by the invention adopts the biocompatible porous microneedle, can provide enough sugar-containing body fluid under various application scenes, has more accurate measurement result, and simultaneously avoids the biological enzyme electrode from being directly implanted into the subcutaneous part, thereby reducing the immune risk. By adopting the intelligent chip circuit, the blood sugar state of the human body can be monitored in real time, the diet can be planned more reasonably, and the defect that the traditional solution based on the neural network can not be separated from an internet server or a mobile phone to carry out neural network operation is avoided. The working method of the intelligent blood sugar monitoring watch combines a precise blood sugar monitoring technology with a neural network, and has high-precision prediction and analysis capability which is not possessed by the traditional blood sugar monitoring equipment.
Drawings
Fig. 1 is a schematic structural diagram of an intelligent blood glucose watch provided by the present invention;
FIG. 2 is a schematic diagram of a liquid crystal human-computer interaction interface provided by the present invention;
FIG. 3a is a top view of an intelligent analysis module provided by the present invention;
FIG. 3b is a bottom view of the intelligent analysis module provided by the present invention;
FIG. 4a is a top view of a sensor electrode module provided by the present invention;
FIG. 4b is a front view of a sensor electrode module provided by the present invention;
FIG. 4c is a bottom view of a sensor electrode module provided by the present invention;
FIG. 5a is a bottom view of a porous microneedle bodily fluid acquisition module provided by the present invention;
FIG. 5b is a perspective view of a porous microneedle bodily fluid acquisition module provided by the present invention;
FIG. 6 is a circuit hardware schematic diagram of a smart chip provided by the present invention;
fig. 7 is a schematic diagram of the smart chip software provided by the present invention.
Description of reference numerals:
1-liquid crystal human-computer interaction interface; 2-an intelligent analysis module; 3-a sensor electrode module; 4-porous microneedle bodyfluid acquisition module 4; 5-a smart chip circuit; 6-a working electrode; 7-a reference electrode; 8-a counter electrode; 9-working electrode joint; 10-reference electrode junction; 11-a counter electrode joint; 12-a working electrode microneedle; 13-reference electrode microneedles; 14-counter electrode microneedle.
Detailed Description
The present invention will be further described with reference to the accompanying drawings.
The invention provides an intelligent blood sugar monitoring watch, which has an overall structure shown in figure 1 and comprises a liquid crystal man-machine interaction interface 1, anintelligent analysis module 2, asensor electrode module 3 and a porous microneedle bodyfluid acquisition module 4 which are sequentially arranged from top to bottom.
Theintelligent analysis module 2 is mainly composed of anintelligent chip circuit 5, as shown in fig. 3a-3 b. And theintelligent chip circuit 5 is electrically connected with the liquid crystal human-computer interaction interface 1. As shown in fig. 2, the liquid crystal human-computer interaction interface 1 is mainly a touch screen and respectively displays the current blood glucose value, the history, the electric quantity and the time; meanwhile, the intelligent food and drink management system is provided with setting, alarming, calibrating, intelligent analyzing and diet suggesting buttons, a Bluetooth connecting switch and a sending mobile phone switch. Theintelligent chip circuit 5 is respectively provided with a Bluetooth module, a wireless transmission module and an alarm module. The intelligent chip circuit is provided with a Bluetooth module, and can be wirelessly connected with other Bluetooth equipment such as a mobile terminal of a mobile phone. The wireless transmission module can be used for transmitting the acquired blood sugar information to other wireless terminals. And an alarm module is arranged, so that the blood sugar value can be monitored in real time. When the blood sugar value is out of the preset normal blood sugar value range, the intelligent chip circuit sends out an alarm signal.
The lower end face of theintelligent analysis module 2 is respectively provided with a workingelectrode 6, areference electrode 7 and a counter electrode 8 which are connected with theintelligent chip circuit 5. The specific structure of thesensor electrode module 3 is shown in fig. 4a-4 c. The upper end face is provided with a workingelectrode joint 9, areference electrode joint 10 and acounter electrode joint 11 at the position corresponding to theintelligent analysis module 2. The lower end face of thesensor electrode module 3 is provided with a workingelectrode micro-needle 12, a reference electrode micro-needle 13 and a counter electrode micro-needle 14 respectively. As shown in fig. 5a-5b, the porous microneedle bodyfluid obtaining module 4 has a porous sheet at the upper end, and the workingelectrode microneedle 12, thereference electrode microneedle 13 and thecounter electrode microneedle 14 are all in an array form and are inserted into the porous sheet; the lower end of the porous micro-needle bodyfluid obtaining module 4 is provided with a micro-needle array which is used for being pricked into the subcutaneous part to obtain the body fluid containing sugar.
Theintelligent chip circuit 5 comprises a battery, a power management chip and a microcontroller, and as shown in fig. 6 specifically, the battery supplies power to the microcontroller through the power management chip; the microcontroller comprises a neural network accelerator, a processor core and a communication bus; the neural network accelerator is connected with the processor core, and the processor core is respectively connected with the liquid crystal man-machine interaction interface 1 and thesensor electrode module 3 through the communication bus. The processor core is also respectively connected with the flash memory, the wireless local area network module, the low-energy consumption Bluetooth module, the alarm module and the display control module through a communication bus.
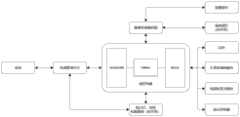
The core of the intelligent blood glucose monitoring watch provided by the invention lies in the working principle of anintelligent chip circuit 5 in an intelligent analysis module, which is specifically shown in fig. 7.
When theintelligent chip circuit 5 is started, each submodule is initialized firstly, and comprises a microcontroller, a display control module, a wireless local area network module, a sensor front end and a neural network accelerator; the neural network accelerator supports various networks and is pre-trained;
after initialization is completed, theintelligent chip circuit 5 periodically acquires the blood sugar information of the user from thesensor electrode module 3, and inputs the blood sugar information into the neural network accelerator for inference estimation; the processor core acquires the inference estimation result and outputs the inference estimation result to the display control module, and meanwhile, whether an alarm needs to be sent to a user is judged; theintelligent chip circuit 5 drives the liquid crystal man-machine interaction interface 1, the wireless local area network module or the low-energy consumption Bluetooth module to send blood sugar information to a user or remote wireless equipment through a communication bus; the microcontroller can encrypt and transmit the historical blood glucose data to the pairing equipment of the user according to the requirement of the user, and can also encrypt and store the historical blood glucose data in a flash memory;
after the work is completed, thesmart chip circuit 5 enters a low power consumption mode to wait for the next sampling period.
When the intelligent blood sugar monitoring watch provided by the invention works, firstly, microneedles of the porous microneedle bodyfluid acquisition module 4 are pricked into the subcutaneous surface of a person to be tested, sugar-containing body fluid is extracted through the capillary action force of pore canals of the microneedles, the sugar-containing body fluid reacts at the workingelectrode microneedles 12 of thesensor electrode module 3 to generate signals, the signals are sequentially transmitted to theintelligent chip circuit 5 of theintelligent analysis module 2 through the workingelectrode connector 9 and the workingelectrode 6 to carry out inference estimation, inference estimation results (blood sugar value, blood sugar change trend prediction, diet suggestion and the like) are obtained, and the inference estimation results are displayed to a user through the liquid crystal man-machine interaction interface 1. According to a normal blood sugar threshold value preset by a user, when the blood sugar is detected to be too high or too low, theintelligent chip circuit 5 sends an alarm to remind the user.
The above description is only of the preferred embodiments of the present invention, and it should be noted that: it will be apparent to those skilled in the art that various modifications and adaptations can be made without departing from the principles of the invention and these are intended to be within the scope of the invention.

Claims (5)

Translated fromChinese
1.一种智能血糖监控手表,其特征在于,包括从上至下依次设置的液晶人机交互界面(1)、智能分析模块(2)、传感器电极模块(3)和多孔微针体液获取模块(4);1. an intelligent blood sugar monitoring watch, is characterized in that, comprises liquid crystal human-machine interface (1), intelligent analysis module (2), sensor electrode module (3) and porous microneedle body fluid acquisition module that are arranged in sequence from top to bottom (4);所述智能分析模块(2)包括智能芯片电路(5);所述智能芯片电路(5)与液晶人机交互界面(1)电气连接;智能分析模块(2)下端面分别设有与智能芯片电路(5)连接的工作电极(6)、参比电极(7)和对电极(8),所述工作电极(6)和参比电极(7)、对电极(8)共同构成完整工作电极体系;所述传感器电极模块(3)上端面与智能分析模块(2)对应位置设有工作电极接头(9)、参比电极接头(10)和对电极接头(11);所述传感器电极模块(3)下端面对应位置分别设有工作电极微针(12)、参比电极微针(13)和对电极微针(14);所述多孔微针体液获取模块(4)上端设有多孔薄片,所述工作电极微针(12)、参比电极微针(13)和对电极微针(14)均采用阵列形式,刺入所述多孔薄片中;所述多孔微针体液获取模块(4)下端设有用于扎入皮下获取含糖体液的微针阵列。The intelligent analysis module (2) includes an intelligent chip circuit (5); the intelligent chip circuit (5) is electrically connected with the liquid crystal human-machine interface (1); the lower end face of the intelligent analysis module (2) is respectively provided with an intelligent chip The working electrode (6), the reference electrode (7) and the counter electrode (8) connected by the circuit (5), the working electrode (6), the reference electrode (7) and the counter electrode (8) together constitute a complete working electrode system; a working electrode joint (9), a reference electrode joint (10) and a counter electrode joint (11) are provided on the upper end face of the sensor electrode module (3) corresponding to the intelligent analysis module (2); the sensor electrode module (3) The working electrode microneedle (12), the reference electrode microneedle (13) and the counter electrode microneedle (14) are respectively provided at the corresponding positions of the lower end surface; the upper end of the porous microneedle body fluid acquisition module (4) is provided with A porous sheet, the working electrode microneedles (12), the reference electrode microneedles (13) and the counter electrode microneedles (14) are all in the form of arrays and are pierced into the porous sheet; the porous microneedle body fluid acquisition module (4) The lower end is provided with a microneedle array for piercing subcutaneously to obtain sugar-containing body fluid.2.根据权利要求1所述的一种智能血糖监控手表,其特征在于,所述智能芯片电路(5)包括电池、电源管理芯片和微控制器;所述电池通过电源管理芯片为微控制器供电;所述微控制器包括神经网络加速器、处理器核心和通讯总线;所述神经网络加速器与处理器核心相连,所述处理器核心通过通讯总线分别与液晶人机交互界面(1)和传感器电极模块(3)相连。2. A kind of intelligent blood sugar monitoring watch according to claim 1, is characterized in that, described intelligent chip circuit (5) comprises battery, power management chip and microcontroller; Described battery is microcontroller through power management chip power supply; the microcontroller includes a neural network accelerator, a processor core and a communication bus; the neural network accelerator is connected with the processor core, and the processor core is respectively connected with the liquid crystal human-machine interface (1) and the sensor through the communication bus The electrode module (3) is connected.3.根据权利要求2所述的一种智能血糖监控手表,其特征在于,所述处理器核心还通过通讯总线分别连接闪存、无线局域网模块、低能耗蓝牙模块、报警模块和显示控制模块。3 . The smart blood glucose monitoring watch according to claim 2 , wherein the processor core is also connected to a flash memory, a wireless local area network module, a low-energy bluetooth module, an alarm module and a display control module respectively through a communication bus. 4 .4.根据权利要求3所述的一种智能血糖监控手表,其特征在于,所述液晶人机交互界面(1)主体为触摸屏,分别显示当前血糖值、历史记录、电量和时间;同时设有设置、警报、校准、智能分析、饮食建议按钮,以及蓝牙连接开关和发送手机开关。4. A smart blood glucose monitoring watch according to claim 3, wherein the main body of the liquid crystal human-machine interface (1) is a touch screen, which respectively displays the current blood glucose level, historical record, electricity and time; Buttons for settings, alarms, calibration, smart analytics, dietary advice, and a switch for Bluetooth connectivity and sending phone.5.根据权利要求1-4中任一项所述智能血糖监控手表的工作方法,其特征在于,所述智能芯片电路(5)启动时首先初始化各子模块,包括微控制器、显示控制模块、无线局域网模块、传感器前端和神经网络加速器;所述神经网络加速器支持多种网络,并进行预训练;5. according to the working method of the intelligent blood sugar monitoring watch described in any one of claim 1-4, it is characterized in that, each submodule is initialized at first when described intelligent chip circuit (5) starts, including microcontroller, display control module , a wireless local area network module, a sensor front end and a neural network accelerator; the neural network accelerator supports a variety of networks and is pre-trained;初始化完成后,智能芯片电路(5)周期性从传感器电极模块(3)获取用户血糖信息,并将血糖信息输入神经网络加速器进行推理估算;处理器核心获取推理估算结果并输出至显示控制模块,同时判断是否需要向用户发送警报;所述智能芯片电路(5)通过通讯总线驱动液晶人机交互界面(1)、无线局域网模块或低能耗蓝牙模块向用户或远程无线设备发送血糖信息;所述微控制器可以根据用户需要,将历史血糖数据加密传输至用户的配对设备,也可以将历史血糖数据加密存储于闪存中;After the initialization is completed, the smart chip circuit (5) periodically obtains the user's blood sugar information from the sensor electrode module (3), and inputs the blood sugar information into the neural network accelerator for inference estimation; the processor core obtains the inference estimation result and outputs it to the display control module, At the same time, it is judged whether it is necessary to send an alarm to the user; the intelligent chip circuit (5) drives the liquid crystal human-machine interface (1), the wireless local area network module or the low-energy bluetooth module to send the blood glucose information to the user or the remote wireless device through the communication bus; The microcontroller can encrypt and transmit the historical blood glucose data to the user's paired device according to the user's needs, or store the historical blood glucose data encrypted in the flash memory;工作完成后,智能芯片电路(5)进入低能耗模式,等待下一采样周期。After the work is completed, the smart chip circuit (5) enters a low energy consumption mode and waits for the next sampling period.
CN202111157132.1A2021-09-302021-09-30 A smart blood sugar monitoring watch and working methodPendingCN113892948A (en)

Priority Applications (1)

Application NumberPriority DateFiling DateTitle
CN202111157132.1ACN113892948A (en)2021-09-302021-09-30 A smart blood sugar monitoring watch and working method

Applications Claiming Priority (1)

Application NumberPriority DateFiling DateTitle
CN202111157132.1ACN113892948A (en)2021-09-302021-09-30 A smart blood sugar monitoring watch and working method

Publications (1)

Publication NumberPublication Date
CN113892948Atrue CN113892948A (en)2022-01-07

Family

ID=79189678

Family Applications (1)

Application NumberTitlePriority DateFiling Date
CN202111157132.1APendingCN113892948A (en)2021-09-302021-09-30 A smart blood sugar monitoring watch and working method

Country Status (1)

CountryLink
CN (1)CN113892948A (en)

Cited By (1)

* Cited by examiner, † Cited by third party
Publication numberPriority datePublication dateAssigneeTitle
CN116300390A (en)*2023-02-232023-06-23深圳市嘀嘟科技有限公司Intelligent watch with blood sugar function detection function

Citations (8)

* Cited by examiner, † Cited by third party
Publication numberPriority datePublication dateAssigneeTitle
CN106236108A (en)*2016-08-302016-12-21张胜国Intelligence Wicresoft blood glucose continuous monitor system
CN107847730A (en)*2015-06-102018-03-27卡拉健康公司 Systems and methods for peripheral nerve stimulation to treat tremor using a detachable therapy and monitoring unit
CN108078570A (en)*2016-11-212018-05-29南通九诺医疗科技有限公司The Dynamic Blood Glucose Monitoring circuit and its control method of a kind of built-in acceleration sensor
WO2018124707A1 (en)*2016-12-272018-07-05삼성전자 주식회사Input processing method using neural network computation, and apparatus therefor
US10098574B1 (en)*2015-07-072018-10-16Verily Life Sciences LlcPorous microneedles through sacrificial sugar incorporation, analyte detection system, and method for intradermal optode nanosensor implantation
CN109116967A (en)*2018-08-062019-01-01清华大学Based on time-multiplexed neural network prediction device and its applicable electronic equipment
CN213189629U (en)*2020-03-172021-05-14薛富盛Wearable blood sugar prediction device
US11116448B1 (en)*2021-01-282021-09-14Anexa Labs LlcMulti-sensor wearable patch

Patent Citations (8)

* Cited by examiner, † Cited by third party
Publication numberPriority datePublication dateAssigneeTitle
CN107847730A (en)*2015-06-102018-03-27卡拉健康公司 Systems and methods for peripheral nerve stimulation to treat tremor using a detachable therapy and monitoring unit
US10098574B1 (en)*2015-07-072018-10-16Verily Life Sciences LlcPorous microneedles through sacrificial sugar incorporation, analyte detection system, and method for intradermal optode nanosensor implantation
CN106236108A (en)*2016-08-302016-12-21张胜国Intelligence Wicresoft blood glucose continuous monitor system
CN108078570A (en)*2016-11-212018-05-29南通九诺医疗科技有限公司The Dynamic Blood Glucose Monitoring circuit and its control method of a kind of built-in acceleration sensor
WO2018124707A1 (en)*2016-12-272018-07-05삼성전자 주식회사Input processing method using neural network computation, and apparatus therefor
CN109116967A (en)*2018-08-062019-01-01清华大学Based on time-multiplexed neural network prediction device and its applicable electronic equipment
CN213189629U (en)*2020-03-172021-05-14薛富盛Wearable blood sugar prediction device
US11116448B1 (en)*2021-01-282021-09-14Anexa Labs LlcMulti-sensor wearable patch

Cited By (2)

* Cited by examiner, † Cited by third party
Publication numberPriority datePublication dateAssigneeTitle
CN116300390A (en)*2023-02-232023-06-23深圳市嘀嘟科技有限公司Intelligent watch with blood sugar function detection function
CN116300390B (en)*2023-02-232024-01-12深圳市嘀嘟科技有限公司Intelligent watch with blood sugar function detection function

Similar Documents

PublicationPublication DateTitle
EP3207871B1 (en)Continuous glucose collecting apparatus
CN104181809B (en)Intelligent wristwatch integrating pedometer function, electrocardiogram function and blood oxygen function
CN107438406A (en) Devices, systems and methods for non-invasively monitoring physiological parameters
US20210321886A1 (en)Portable monitoring apparatus, monitoring device, monitoring system and patient status monitoring method
CN108784671A (en)A kind of wearable body surface Physiological And Biochemical Parameters monitoring system
CN202859099U (en)Remote blood pressure and pulse rate and blood oxygen monitoring intelligent terminal device based on identity card identification
CN203885485U (en)Multifunctional health detector
CN105496422A (en)Dynamic blood glucose monitoring device, system and method
CN203619544U (en)SMD sensor electrode and physiological parameter detecting system
CN113892948A (en) A smart blood sugar monitoring watch and working method
CN205038221U (en)Domestic noninvasive blood glucose sensing and physiotherapy device and system
CN204009405U (en)The intelligent watch of collection passometer, electrocardio, blood-oxygen functional
CN105395205A (en)Electrode non-invasive glucometer
CN217907774U (en) An implantable blood glucose sensor integrating calibration and detection
CN207928312U (en)A kind of cardiovascular monitoring watchband and cardiovascular monitoring wearable device
CN107898439B (en) An implantable diabetes monitoring and treatment device
CN209499741U (en)A kind of split type blood sugar monitor and system
CN106859662A (en)A kind of rechargeable type Multifunctional blood sugar monitor
CN111603175A (en)Subcutaneous semi-implanted blood glucose monitoring method, terminal equipment and server
US12310711B2 (en)Wearable device and method for controlling the same
CN215738907U (en)Vital sign monitors bracelet to VR user
CN215503016U (en)Biological information electric detection device and wearable health equipment
EP4098192B1 (en)Apparatus for measuring biometric information
CN204679967U (en)A kind of mouse system with mouse pad
CN210185568U (en)Sign monitoring device based on smart phone platform

Legal Events

DateCodeTitleDescription
PB01Publication
PB01Publication
SE01Entry into force of request for substantive examination
SE01Entry into force of request for substantive examination
RJ01Rejection of invention patent application after publication
RJ01Rejection of invention patent application after publication

Application publication date:20220107


[8]ページ先頭

©2009-2025 Movatter.jp