Movatterモバイル変換


[0]ホーム

URL:


CN113864477A - High pressure double floating ball valve - Google Patents

High pressure double floating ball valve
Download PDF

Info

Publication number
CN113864477A
CN113864477ACN202111174586.XACN202111174586ACN113864477ACN 113864477 ACN113864477 ACN 113864477ACN 202111174586 ACN202111174586 ACN 202111174586ACN 113864477 ACN113864477 ACN 113864477A
Authority
CN
China
Prior art keywords
valve seat
valve
ring
hole
left end
Prior art date
Legal status (The legal status is an assumption and is not a legal conclusion. Google has not performed a legal analysis and makes no representation as to the accuracy of the status listed.)
Pending
Application number
CN202111174586.XA
Other languages
Chinese (zh)
Inventor
胡建田
母泽冰
叶显斌
徐林娟
陈希达
陈长奔
邵佳慧
邵力平
王业先
Current Assignee (The listed assignees may be inaccurate. Google has not performed a legal analysis and makes no representation or warranty as to the accuracy of the list.)
Oviko Group Co ltd
Original Assignee
Oviko Group Co ltd
Priority date (The priority date is an assumption and is not a legal conclusion. Google has not performed a legal analysis and makes no representation as to the accuracy of the date listed.)
Filing date
Publication date
Application filed by Oviko Group Co ltdfiledCriticalOviko Group Co ltd
Priority to CN202111174586.XApriorityCriticalpatent/CN113864477A/en
Publication of CN113864477ApublicationCriticalpatent/CN113864477A/en
Pendinglegal-statusCriticalCurrent

Links

Images

Classifications

Landscapes

Abstract

Translated fromChinese

本发明公开了一种高压双联浮动球阀,包括阀体,所述阀体内设置有阀腔,所述阀体位于阀腔中部位置一体设置有定位凸环,所述定位凸环左端设置有第一阀座组件,所述第一阀座组件左端设置有第一球体,第一球体左端设置有第二阀座组件,第二阀座组件左端设置有第一螺纹端盖;所述定位凸环右端设置有第三阀座组件,第三阀座组件右端设置有第二球体,第二球体右端设置有第四阀座组件,所述第四阀座组件右端设置有第二螺纹端盖;所述阀体左端设置有第一阀体通孔,所述第一阀体通孔左端设置有第一内螺纹连接部,且所述第一螺纹端盖与第一内螺纹连接部螺纹连接。上述技术方案,结构设计合理、安全可靠、密封性好、使用寿命长且实用性好。

Figure 202111174586

The invention discloses a high-pressure double floating ball valve, comprising a valve body, a valve cavity is arranged in the valve body, a positioning convex ring is integrally provided with the valve body in the middle of the valve cavity, and the left end of the positioning convex ring is provided with a first a valve seat assembly, the left end of the first valve seat assembly is provided with a first ball, the left end of the first ball is provided with a second valve seat assembly, and the left end of the second valve seat assembly is provided with a first threaded end cap; the positioning convex ring The right end is provided with a third valve seat assembly, the right end of the third valve seat assembly is provided with a second ball, the right end of the second ball is provided with a fourth valve seat assembly, and the right end of the fourth valve seat assembly is provided with a second threaded end cap; The left end of the valve body is provided with a first valve body through hole, the left end of the first valve body through hole is provided with a first inner threaded connection portion, and the first threaded end cap is threadedly connected with the first inner threaded connection portion. The above technical solution has the advantages of reasonable structural design, safety and reliability, good sealing performance, long service life and good practicability.

Figure 202111174586

Description

High-pressure duplex floating ball valve
Technical Field
The invention relates to the technical field of floating ball valves, in particular to a high-pressure duplex floating ball valve.
Background
The ball body of the floating ball valve is floating, and under the action of medium pressure, the ball body can generate certain displacement and is tightly pressed on a sealing surface of the outlet end, so that the outlet end is sealed.
However, the existing floating ball valve has the following defects: the structure sets up unreasonablely, and current ball valve that floats uses operating mode pressure grade not high, the reliability is low, sealing performance is poor, life weak point etc. the practicality is poor.
Disclosure of Invention
Aiming at the defects in the prior art, the invention aims to provide the high-pressure duplex floating ball valve which is reasonable in structural design, safe, reliable, good in sealing performance, long in service life and good in practicability.
In order to achieve the purpose, the invention provides the following technical scheme: a high-pressure duplex floating ball valve comprises a valve body, wherein a valve cavity is arranged in the valve body, a positioning convex ring is integrally arranged at the middle position of the valve cavity on the valve body, a first valve seat assembly is arranged at the left end of the positioning convex ring, a first ball body is arranged at the left end of the first valve seat assembly, a second valve seat assembly is arranged at the left end of the first ball body, and a first threaded end cover is arranged at the left end of the second valve seat assembly; the right end of the positioning convex ring is provided with a third valve seat assembly, the right end of the third valve seat assembly is provided with a second ball, the right end of the second ball is provided with a fourth valve seat assembly, and the right end of the fourth valve seat assembly is provided with a second threaded end cover; a first valve body through hole is formed in the left end of the valve body, a first internal thread connecting portion is formed in the left end of the first valve body through hole, the first thread end cover is in threaded connection with the first internal thread connecting portion, a first O-shaped sealing ring is sleeved at the left end of the first thread end cover, a second O-shaped sealing ring is sleeved at the right end of the first thread end cover, and the first thread end cover and the inner wall face of the first valve body through hole form sealing through the first O-shaped sealing ring and the second O-shaped sealing ring; the right end face of the first threaded end cover is provided with a first plane ring groove and a first spring fulcrum, the right end of the first spring fulcrum is provided with a first disc spring, and the right end of the first disc spring is connected with the left end of the second valve seat component.
The invention is further configured to: the right end of the valve body is provided with a second valve body through hole, a second internal thread connecting portion is arranged at the right end of the second valve body through hole, the second threaded end cover is in threaded connection with the second internal thread connecting portion, a third O-shaped sealing ring is sleeved at the left end of the second threaded end cover, a fourth O-shaped sealing ring is sleeved at the right end of the second threaded end cover, and the second threaded end cover is sealed with the inner wall face of the second valve body through hole through the third O-shaped sealing ring and the fourth O-shaped sealing ring.
The invention is further configured to: and a second plane ring groove and a second spring fulcrum are arranged on the left end face of the second threaded end cover, a second disc spring is arranged at the left end of the second spring fulcrum, and the left end of the second disc spring is connected with the right end of the fourth valve seat assembly.
The invention is further configured to: the first valve seat assembly comprises a first valve seat and a first valve seat support ring, the first valve seat is fixedly connected with the first valve seat support ring, and the right end of the first valve seat is tightly pressed and sealed with the first ball body; the first valve seat supporting ring is sleeved with a first piston sealing ring, and the first valve seat supporting ring is sealed through the inner wall surface of the first piston sealing ring and the inner wall surface of the first valve body through hole.
The invention is further configured to: the second valve seat assembly comprises a second valve seat and a second valve seat supporting ring, the second valve seat is fixedly connected with the second valve seat supporting ring, and the left end of the second valve seat is tightly pressed and sealed with the first ball body; and a second piston sealing ring is sleeved on the second valve seat supporting ring, and the second valve seat supporting ring forms sealing with the inner wall surface of the first valve body through hole through the second piston sealing ring.
The invention is further configured to: the third valve seat assembly comprises a third valve seat and a third valve seat supporting ring, the third valve seat is fixedly connected with the third valve seat supporting ring, and the right end of the third valve seat is tightly pressed and sealed with the second ball body; and a third piston sealing ring is sleeved on the third valve seat supporting ring, and the third valve seat supporting ring forms sealing with the inner wall surface of the through hole of the second valve body through the third piston sealing ring.
The invention is further configured to: the fourth valve seat assembly comprises a fourth valve seat and a fourth valve seat support ring, the fourth valve seat is fixedly connected with the fourth valve seat support ring, and the left end of the fourth valve seat is tightly pressed and sealed with the second ball body; and a fourth piston sealing ring is sleeved on the fourth valve seat supporting ring, and the fourth valve seat supporting ring forms sealing with the inner wall surface of the through hole of the second valve body through the fourth piston sealing ring.
The invention is further configured to: the valve body is of an integrated structure, a first valve rod through hole is formed in the position, right above the first ball body, of the valve body, a first valve rod assembly is arranged in the first valve rod through hole, and the lower end of the first valve rod assembly is fixedly connected with the upper end of the first ball body; and a second valve rod through hole is formed in the position, right above the second ball body, of the valve body, a second valve rod assembly is arranged in the second valve rod through hole, and the lower end of the second valve rod assembly is fixedly connected with the upper end of the second ball body.
The invention has the advantages that: compared with the prior art, the valve body has the advantages that the structure is more reasonable, the valve body is of an integrated structure, and the safety is high; two ends of the thread of the threaded end cover are respectively provided with two O-shaped rings, so that the thread is prevented from being corroded by a medium, and later maintenance is facilitated; each valve seat assembly consists of a piston sealing ring and a valve seat supporting ring under high pressure, and can generate sealing thrust along with the pressure of a medium, and the higher the pressure is, the better the sealing effect is; a plane ring groove and a spring fulcrum are designed on the threaded end cover, so that elastic failure caused by flattening of the disc spring is effectively prevented; safe and reliable, good leakproofness, long service life and practicality are good.
The invention is further described with reference to the drawings and the specific embodiments in the following description.
Drawings
FIG. 1 is a schematic structural diagram of an embodiment of the present invention;
FIG. 2 is an enlarged view of section I of FIG. 1;
fig. 3 is an enlarged view of section II in fig. 1.
Detailed Description
In the description of the present embodiment, it should be noted that, as the terms "center", "upper", "lower", "left", "right", "vertical", "horizontal", "inner", "outer", "front", "rear", etc. appear, their indicated orientations or positional relationships are based on those shown in the drawings, and are only for convenience of describing the present invention and simplifying the description, but do not indicate or imply that the referred device or element must have a specific orientation, be constructed and operated in a specific orientation, and thus, should not be construed as limiting the present invention. Furthermore, the terms "first," "second," and "third" as appearing herein are used for descriptive purposes only and are not to be construed as indicating or implying relative importance.
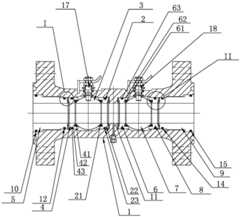
Referring to fig. 1, 2 and 3, the high-pressure duplex floating ball valve disclosed by the invention comprises a valve body 1, wherein a valve cavity is arranged in the valve body 1, apositioning convex ring 11 is integrally arranged at the middle position of the valve cavity of the valve body 1, a firstvalve seat assembly 2 is arranged at the left end of thepositioning convex ring 11, afirst ball body 3 is arranged at the left end of the firstvalve seat assembly 2, a secondvalve seat assembly 4 is arranged at the left end of thefirst ball body 3, and a first threadedend cover 5 is arranged at the left end of the secondvalve seat assembly 4; the right end of thepositioning convex ring 11 is provided with a thirdvalve seat assembly 6, the right end of the thirdvalve seat assembly 6 is provided with asecond ball 7, the right end of thesecond ball 7 is provided with a fourthvalve seat assembly 8, and the right end of the fourthvalve seat assembly 8 is provided with a second threadedend cover 9; a first valve body through hole is formed in the left end of the valve body 1, a first internal thread connecting portion is formed in the left end of the first valve body through hole, the firstthread end cover 5 is in threaded connection with the first internal thread connecting portion, a first O-shaped sealing ring 10 is sleeved at the left end of the firstthread end cover 5, a second O-shaped sealing ring 12 is sleeved at the right end of the firstthread end cover 5, and the firstthread end cover 5 forms sealing with the inner wall surface of the first valve body through hole through the first O-shaped sealing ring 10 and the second O-shaped sealing ring 12; a first planeannular groove 51 and afirst spring fulcrum 52 are arranged on the right end face of the first threadedend cover 5, afirst disc spring 13 is arranged at the right end of thefirst spring fulcrum 52, and the right end of thefirst disc spring 13 is connected with the left end of the secondvalve seat assembly 4.
Preferably, a second valve body through hole is formed in the right end of the valve body 1, a second internal thread connecting portion is formed in the right end of the second valve body through hole, the secondthread end cover 9 is in threaded connection with the second internal thread connecting portion, a third O-shaped sealing ring 14 is sleeved at the left end of the secondthread end cover 9, a fourth O-shaped sealing ring 15 is sleeved at the right end of the secondthread end cover 9, and the secondthread end cover 9 and the inner wall surface of the second valve body through hole form sealing through the third O-shaped sealing ring 14 and the fourth O-shaped sealing ring 15.
In order to make the structure of the present invention more reasonable, preferably, in this embodiment, a secondplanar ring groove 91 and asecond spring fulcrum 92 are disposed on the left end surface of the second threadedend cover 9, asecond disc spring 16 is disposed at the left end of thesecond spring fulcrum 92, and the left end of thesecond disc spring 16 is connected to the right end of the fourthvalve seat assembly 8.
The firstvalve seat assembly 2 comprises afirst valve seat 21 and a first valveseat support ring 22, thefirst valve seat 21 is fixedly connected with the first valveseat support ring 22, and the right end of thefirst valve seat 21 is tightly pressed and sealed with thefirst ball 3; the first valveseat support ring 22 is sleeved with a firstpiston sealing ring 23, and the first valveseat support ring 22 forms sealing with the inner wall surface of the first valve body through hole through the firstpiston sealing ring 23.
The secondvalve seat assembly 4 comprises asecond valve seat 41 and a second valveseat supporting ring 42, thesecond valve seat 41 is fixedly connected with the second valveseat supporting ring 42, and the left end of thesecond valve seat 41 is tightly pressed and sealed with thefirst ball 3; the second valveseat supporting ring 42 is sleeved with a secondpiston sealing ring 43, and the second valveseat supporting ring 42 forms a seal with the inner wall surface of the first valve body through hole through the secondpiston sealing ring 43. Preferably, a firstinclined surface 421 is provided on a left end surface of the second valveseat support ring 42.
The thirdvalve seat assembly 6 comprises athird valve seat 61 and a third valveseat supporting ring 62, thethird valve seat 61 is fixedly connected with the third valveseat supporting ring 62, and the right end of thethird valve seat 61 is tightly pressed and sealed with thesecond ball 7; the thirdpiston sealing ring 63 is sleeved on the third valveseat supporting ring 62, and the third valveseat supporting ring 62 forms sealing with the inner wall surface of the through hole of the second valve body through the thirdpiston sealing ring 63.
The fourthvalve seat assembly 8 comprises afourth valve seat 81 and a fourth valveseat support ring 82, thefourth valve seat 81 is fixedly connected with the fourth valveseat support ring 82, and the left end of thefourth valve seat 81 is tightly pressed and sealed with thesecond ball 7; the fourth valveseat support ring 82 is sleeved with a fourth piston sealing ring 83, and the fourth valveseat support ring 82 forms a seal with the inner wall surface of the through hole of the second valve body through the fourth piston sealing ring 83. Preferably, a secondinclined surface 821 is provided on a right end surface of the fourseat support ring 82.
Preferably, a third disc spring is arranged between the right end of the first valveseat support ring 22 of the firstvalve seat assembly 2 and the left end of thepositioning convex ring 11, a third inclined plane is arranged on the right end surface of the first valveseat support ring 22, a second plane ring groove and a third spring fulcrum are arranged on the left end surface of the positioning convexring 11, and the third disc spring is located between the first valveseat support ring 22 and the third spring fulcrum;
be provided with the fourth dish spring between the right-hand member oflocation bulge loop 11 and the third valveseat supporting ring 62 left end face of thirdvalve seat subassembly 6, be provided with second plane annular and third spring fulcrum on the right-hand member face oflocation bulge loop 11, be provided with the fourth inclined plane on the left end face of third valveseat supporting ring 62, the fourth dish spring is located between third valveseat supporting ring 62 and the third spring fulcrum.
The valve body 1 is of an integrated structure, a first valve rod through hole is formed in the position, right above thefirst ball body 3, of the valve body 1, a firstvalve rod assembly 17 is arranged in the first valve rod through hole, and the lower end of the firstvalve rod assembly 17 is fixedly connected with the upper end of thefirst ball body 3; a second valve rod through hole is formed in the position, right above thesecond ball body 7, of the valve body 1, a secondvalve rod assembly 18 is arranged in the second valve rod through hole, and the lower end of the secondvalve rod assembly 18 is fixedly connected with the upper end of thesecond ball body 7.
A first medium through hole is axially formed in the first threadedend cover 5, a second medium through hole is formed in the second valveseat supporting ring 42, a third medium through hole is axially formed in thefirst ball 3, a fourth medium through hole is formed in the first valveseat supporting ring 22, a fifth medium through hole is axially formed in the third valveseat supporting ring 62, a sixth medium through hole is formed in thesecond ball 7, a seventh medium through hole is formed in the fourth valveseat supporting ring 82, an eighth medium through hole is formed in the second threadedend cover 9, and axial center lines of the medium through holes are overlapped.
In practical application, the valve body is of an integrated structure, so that the safety is high; two ends of the thread of the threaded end cover are respectively provided with two O-shaped rings, so that the thread is prevented from being corroded by a medium, and later maintenance is facilitated; each valve seat assembly consists of a piston sealing ring and a valve seat supporting ring under high pressure, and can generate sealing thrust along with the pressure of a medium, and the higher the pressure is, the better the sealing effect is; a plane ring groove and a spring fulcrum are designed on the threaded end cover, so that elastic failure caused by flattening of the disc spring is effectively prevented; safe and reliable, good leakproofness, long service life and practicality are good.
The above embodiments are described in detail for the purpose of further illustrating the present invention and should not be construed as limiting the scope of the present invention, and the skilled engineer can make insubstantial modifications and variations of the present invention based on the above disclosure.

Claims (8)

1. The utility model provides a high pressure pair ball valve that floats, includes valve body (1), be provided with the valve pocket in valve body (1), its characterized in that: a positioning convex ring (11) is integrally arranged at the middle position of the valve cavity of the valve body (1), a first valve seat assembly (2) is arranged at the left end of the positioning convex ring (11), a first ball body (3) is arranged at the left end of the first valve seat assembly (2), a second valve seat assembly (4) is arranged at the left end of the first ball body (3), and a first threaded end cover (5) is arranged at the left end of the second valve seat assembly (4); a third valve seat assembly (6) is arranged at the right end of the positioning convex ring (11), a second ball body (7) is arranged at the right end of the third valve seat assembly (6), a fourth valve seat assembly (8) is arranged at the right end of the second ball body (7), and a second threaded end cover (9) is arranged at the right end of the fourth valve seat assembly (8); a first valve body through hole is formed in the left end of the valve body (1), a first internal thread connecting portion is formed in the left end of the first valve body through hole, the first thread end cover (5) is in threaded connection with the first internal thread connecting portion, a first O-shaped sealing ring (10) is sleeved at the left end of the first thread end cover (5), a second O-shaped sealing ring (12) is sleeved at the right end of the first thread end cover (5), and the first thread end cover (5) and the inner wall face of the first valve body through hole form sealing through the first O-shaped sealing ring (10) and the second O-shaped sealing ring (12); the right end face of the first threaded end cover (5) is provided with a first plane ring groove (51) and a first spring fulcrum (52), the right end of the first spring fulcrum (52) is provided with a first disc spring (13), and the right end of the first disc spring (13) is connected with the left end of the second valve seat assembly (4).
2. A high pressure twin floating ball valve as defined in claim 1 wherein: the right end of the valve body (1) is provided with a second valve body through hole, a second internal thread connecting portion is arranged at the right end of the second valve body through hole, the second thread end cover (9) is in thread connection with the second internal thread connecting portion, a third O-shaped sealing ring (14) is sleeved at the left end of the second thread end cover (9), a fourth O-shaped sealing ring (15) is sleeved at the right end of the second thread end cover (9), and the second thread end cover (9) is sealed through the third O-shaped sealing ring (14), the fourth O-shaped sealing ring (15) and the inner wall face of the second valve body through hole.
3. A high pressure twin floating ball valve as defined in claim 2 wherein: the left end face of the second threaded end cover (9) is provided with a second plane ring groove (91) and a second spring fulcrum (92), the left end of the second spring fulcrum (92) is provided with a second disc spring (16), and the left end of the second disc spring (16) is connected with the right end of the fourth valve seat assembly (8).
4. A high pressure twin floating ball valve as defined in claim 3 wherein: the first valve seat assembly (2) comprises a first valve seat (21) and a first valve seat support ring (22), the first valve seat (21) is fixedly connected with the first valve seat support ring (22), and the right end of the first valve seat (21) is tightly pressed and sealed with the first ball body (3); a first piston sealing ring (23) is sleeved on the first valve seat supporting ring (22), and the first valve seat supporting ring (22) is sealed through the first piston sealing ring (23) and the inner wall surface of the first valve body through hole.
5. A high pressure twin floating ball valve as defined in claim 4 wherein: the second valve seat assembly (4) comprises a second valve seat (41) and a second valve seat supporting ring (42), the second valve seat (41) is fixedly connected with the second valve seat supporting ring (42), and the left end of the second valve seat (41) is pressed and sealed with the first ball body (3); and a second piston sealing ring (43) is sleeved on the second valve seat supporting ring (42), and the second valve seat supporting ring (42) forms sealing with the inner wall surface of the first valve body through hole through the second piston sealing ring (43).
6. A high pressure twin floating ball valve as defined in claim 5 wherein: the third valve seat assembly (6) comprises a third valve seat (61) and a third valve seat supporting ring (62), the third valve seat (61) is fixedly connected with the third valve seat supporting ring (62), and the right end of the third valve seat (61) is tightly pressed and sealed with the second ball body (7); and a third piston sealing ring (63) is sleeved on the third valve seat supporting ring (62), and the third valve seat supporting ring (62) forms sealing with the inner wall surface of the through hole of the second valve body through the third piston sealing ring (63).
7. A high pressure twin floating ball valve as defined in claim 6 wherein: the fourth valve seat assembly (8) comprises a fourth valve seat (81) and a fourth valve seat support ring (82), the fourth valve seat (81) is fixedly connected with the fourth valve seat support ring (82), and the left end of the fourth valve seat (81) is tightly pressed and sealed with the second ball body (7); and a fourth piston sealing ring (83) is sleeved on the fourth valve seat supporting ring (82), and the fourth valve seat supporting ring (82) forms sealing with the inner wall surface of the through hole of the second valve body through the fourth piston sealing ring (83).
8. A high pressure twin floating ball valve as defined in claim 7 wherein: the valve body (1) is of an integrated structure, a first valve rod through hole is formed in the position, right above the first ball body (3), of the valve body (1), a first valve rod assembly (17) is arranged in the first valve rod through hole, and the lower end of the first valve rod assembly (17) is fixedly connected with the upper end of the first ball body (3); the valve body (1) is provided with a second valve rod through hole at a position right above the second ball body (7), a second valve rod assembly (18) is arranged in the second valve rod through hole, and the lower end of the second valve rod assembly (18) is fixedly connected with the upper end of the second ball body (7).
CN202111174586.XA2021-10-092021-10-09 High pressure double floating ball valvePendingCN113864477A (en)

Priority Applications (1)

Application NumberPriority DateFiling DateTitle
CN202111174586.XACN113864477A (en)2021-10-092021-10-09 High pressure double floating ball valve

Applications Claiming Priority (1)

Application NumberPriority DateFiling DateTitle
CN202111174586.XACN113864477A (en)2021-10-092021-10-09 High pressure double floating ball valve

Publications (1)

Publication NumberPublication Date
CN113864477Atrue CN113864477A (en)2021-12-31

Family

ID=79002030

Family Applications (1)

Application NumberTitlePriority DateFiling Date
CN202111174586.XAPendingCN113864477A (en)2021-10-092021-10-09 High pressure double floating ball valve

Country Status (1)

CountryLink
CN (1)CN113864477A (en)

Cited By (1)

* Cited by examiner, † Cited by third party
Publication numberPriority datePublication dateAssigneeTitle
CN115059773A (en)*2022-07-192022-09-16超达阀门集团股份有限公司Ultralow-temperature half ball valve

Citations (6)

* Cited by examiner, † Cited by third party
Publication numberPriority datePublication dateAssigneeTitle
JP2003294157A (en)*2002-04-042003-10-15Kitz CorpBall valve
CN202349251U (en)*2011-12-082012-07-25上海开维喜阀门集团有限公司High-temperature high-voltage power station double-ball valve with double-blockage and relieving functions
JP2016138609A (en)*2015-01-282016-08-04株式会社キッツ Trunnion type ball valve
CN105952924A (en)*2016-07-042016-09-21岳阳东方自控工程设备有限公司High-pressure ball valve sealed by inflatable type flexible sealing rings arranged inside valve seats
CN106763862A (en)*2016-12-262017-05-31梅州市理想阀门技术有限公司Double spheroid single-direction metal sealing face ball valves
CN209180412U (en)*2018-12-252019-07-30成都斯杰化工机械有限公司A kind of high pressure hard sealing ball valve

Patent Citations (6)

* Cited by examiner, † Cited by third party
Publication numberPriority datePublication dateAssigneeTitle
JP2003294157A (en)*2002-04-042003-10-15Kitz CorpBall valve
CN202349251U (en)*2011-12-082012-07-25上海开维喜阀门集团有限公司High-temperature high-voltage power station double-ball valve with double-blockage and relieving functions
JP2016138609A (en)*2015-01-282016-08-04株式会社キッツ Trunnion type ball valve
CN105952924A (en)*2016-07-042016-09-21岳阳东方自控工程设备有限公司High-pressure ball valve sealed by inflatable type flexible sealing rings arranged inside valve seats
CN106763862A (en)*2016-12-262017-05-31梅州市理想阀门技术有限公司Double spheroid single-direction metal sealing face ball valves
CN209180412U (en)*2018-12-252019-07-30成都斯杰化工机械有限公司A kind of high pressure hard sealing ball valve

Cited By (1)

* Cited by examiner, † Cited by third party
Publication numberPriority datePublication dateAssigneeTitle
CN115059773A (en)*2022-07-192022-09-16超达阀门集团股份有限公司Ultralow-temperature half ball valve

Similar Documents

PublicationPublication DateTitle
CN208687000U (en)A kind of two way seal floating hard seal ball valve spring is against pressure and structure
CN113864477A (en) High pressure double floating ball valve
CN202048234U (en)High-temperature metal seal ball valve
CN206708468U (en) A New Type of High Pressure Hydrogen Check Valve
CN205478212U (en)Piston compressor pneumatic valve
CN210372216U (en)Die forging all-welded valve body ball valve
CN111692385A (en)Check valve for ultrahigh pressure hydrogen and hydrogen supply system with check valve
CN202580105U (en)Sealing structure for hard sealed floating ball valve
CN203131029U (en)Cooling type mechanical sealing device for fluoroplastic pump
CN112081947B (en)High-temperature high-pressure oil-gas hard sealing ball valve for ocean working condition
CN214500422U (en)Quick-operation joint suitable for high pressure
CN210600217U (en)High-temperature-resistant bidirectional sealing butterfly valve
CN209909249U (en)Low-temperature axial flow type check valve
CN201391630Y (en)High temperature metallic sealing ball valve
CN205479466U (en)Unsteady ball valve seating structure
CN203743567U (en)All-welded up-mounted type fixed ball valve
CN221780039U (en) A high performance sealed trunnion ball valve
CN221943288U (en) A one-way valve with long service life
CN207178749U (en)A kind of eccentric half-ball valve
CN206175758U (en)High pressure valve flange seal structure
CN220566227U (en)Valve ball seat for pneumatic diaphragm pump and pneumatic diaphragm pump
CN216643236U (en)Double-sealing cartridge valve
CN216279578U (en)Oil field anti-overflow single current valve
CN219623286U (en)All-welded jacketed ball valve
CN215635172U (en)One-way joint

Legal Events

DateCodeTitleDescription
PB01Publication
PB01Publication
SE01Entry into force of request for substantive examination
SE01Entry into force of request for substantive examination
WD01Invention patent application deemed withdrawn after publication
WD01Invention patent application deemed withdrawn after publication

Application publication date:20211231


[8]ページ先頭

©2009-2025 Movatter.jp