












技术领域technical field
本公开总体上涉及供电技术,并且具体地涉及一种用于管理供电的方法和装置、供电设备以及计算机可读介质。The present disclosure generally relates to power supply technologies, and in particular, to a method and apparatus for managing power supply, a power supply device, and a computer-readable medium.
背景技术Background technique
以太网供电(Power over Ethernet,PoE)技术是一种通过以太网的双绞线为受电设备供电的技术。以太网供电技术能够在确保以太网的结构化布线安全的同时,保证现有通信网络的正常操作。以太网供电技术的其他优点还包括:简单和节省空间,受电设备可随意移动,并且最大限度地降低成本。完整的以太网供电系统可以包括供电设备(PowerSourcing Equipment,PSE)和受电设备(Powered Device,PD)两部分。供电设备是为以太网客户端提供供电的设备,同时也是整个以太网供电过程的管理者。供电设备的一种示例是支持以太网供电能力的交换机,简称以太网供电交换机。受电设备是从供电设备接受供电的负载,也即以太网供电系统的客户端设备,诸如互联网(IP)电话、互联网视频监控设备、门禁设备、建筑物管理设备、云终端设备、无线局域网设备,各种娱乐设备,等等。支持以太网供电的供电设备允许供电电力与数据信号耦合,以通过双绞线缆传输给对端的受电设备。A Power over Ethernet (PoE) technology is a technology for supplying power to a powered device through a twisted pair of Ethernet. The Power over Ethernet technology can guarantee the normal operation of the existing communication network while ensuring the security of the structured wiring of the Ethernet. Other advantages of Power over Ethernet technology include: simplicity and space saving, the power receiving equipment can be moved freely, and the cost is minimized. A complete Ethernet power supply system may include two parts: a power supply equipment (PowerSourcing Equipment, PSE) and a powered device (Powered Device, PD). The power supply device is a device that provides power to Ethernet clients, and is also the manager of the entire Power over Ethernet process. An example of a power supply device is a switch supporting power over Ethernet capability, referred to as a power over Ethernet switch. The powered device is the load that receives power from the power supply device, that is, the client device of the Ethernet power supply system, such as Internet (IP) phone, Internet video surveillance device, access control device, building management device, cloud terminal device, wireless LAN device , various entertainment equipment, and so on. The power supply device supporting Power over Ethernet allows power supply to be coupled with data signals, so as to be transmitted to the peer powered device through a twisted pair cable.
然而,在一些场景中,传统的以太网供电设备可能无法良好地向受电设备供电,从而影响以太网供电系统的性能和用户体验。However, in some scenarios, a traditional PoE device may not be able to supply power to a powered device well, thereby affecting the performance and user experience of the Power over Ethernet system.
发明内容Contents of the invention
本公开涉及一种用于管理供电的技术方案,并且具体提供了一种用于管理供电的方法和装置、供电设备以及计算机可读介质。The present disclosure relates to a technical solution for managing power supply, and specifically provides a method and device for managing power supply, a power supply device, and a computer-readable medium.
在本公开的第一方面,提供了一种用于管理供电的方法。该方法包括:供电设备经由数据端口从受电设备接收受电设备的供电信息,数据端口与供电端口配对并且是彼此分离的物理端口。该方法还包括:供电设备经由供电端口并基于供电信息向受电设备供电。通过该方法,在数据端口与供电端口分离的情况下,供电设备向受电设备供电的性能可以被改进。In a first aspect of the present disclosure, a method for managing power supply is provided. The method includes: the power supply device receives power supply information of the power receiving device from the power receiving device via a data port, and the data port is paired with the power supply port and is a physical port separated from each other. The method further includes: the power supply device supplies power to the powered device via the power supply port and based on the power supply information. By this method, the performance of the power supply device to supply power to the powered device can be improved in case the data port is separated from the power supply port.
在一些实现方式中,供电设备的数据端口通过光电复合线缆中的光纤连接到受电设备,并且供电设备的供电端口通过光电复合线缆中的供电线连接到受电设备。以此方式,供电设备与受电设备之间可以实现高速率的数据传输,同时实现远距离的电力传输。In some implementation manners, the data port of the power supply device is connected to the powered device through an optical fiber in the photoelectric composite cable, and the power supply port of the power supply device is connected to the powered device through a power supply line in the photoelectric composite cable. In this way, high-speed data transmission and long-distance power transmission can be realized between the power supply device and the power receiving device.
在一些实现方式中,该方法还包括:供电设备存储配置信息,配置信息指示供电端口与数据端口之间的配对关系。如此,供电设备可以便利地且高效地管理供电端口与数据端口之间的配对关系。In some implementation manners, the method further includes: the power supply device stores configuration information, and the configuration information indicates a pairing relationship between the power supply port and the data port. In this way, the power supply device can conveniently and efficiently manage the pairing relationship between the power supply port and the data port.
在一些实现方式中,该方法还包括:响应于受电设备连接到供电端口,供电设备在配置信息中查找与供电端口配对的数据端口。以此方式,供电设备可以及时地确定与连接有受电设备的供电端口相对应的数据端口,以便从该数据端口获得受电设备的供电信息。In some implementations, the method further includes: in response to the powered device being connected to the power supply port, the power supply device searches configuration information for a data port paired with the power supply port. In this way, the power supply device can timely determine the data port corresponding to the power supply port connected to the power receiving device, so as to obtain the power supply information of the power receiving device from the data port.
在一些实现方式中,配置信息是用户可编辑的。如此,供电设备的供电端口与数据端口之间的配对关系可以由用户根据具体的应用环境和场景来决定,从而可以提高供电设备的使用灵活性。In some implementations, configuration information is user editable. In this way, the pairing relationship between the power supply port and the data port of the power supply device can be determined by the user according to specific application environments and scenarios, thereby improving the flexibility of use of the power supply device.
在一些实现方式中,供电信息包括以下至少一项:用于调整供电端口的供电功率的指示,以及受电设备的供电优先级。因此,供电设备可以根据受电设备的请求来调整供电端口的供电功率,还可以根据受电设备的供电优先级来向受电设备提供相应的供电保障,从而更好地满足受电设备的用电需求。In some implementation manners, the power supply information includes at least one of the following: an indication for adjusting the power supply power of the power supply port, and a power supply priority of the powered device. Therefore, the power supply device can adjust the power supply power of the power supply port according to the request of the power receiving device, and can also provide corresponding power supply protection to the power receiving device according to the power supply priority of the power receiving device, so as to better meet the needs of the power receiving device. electricity demand.
在一些实现方式中,该方法还包括:供电设备经由数据端口向受电设备发送供电端口的能力信息。如此,受电设备可以根据供电端口的供电能力来向供电设备请求适当的供电功率,从而有利于供电设备和受电设备高效地协商出合理的供电功率。In some implementation manners, the method further includes: the power supply device sends capability information of the power supply port to the powered device via the data port. In this way, the powered device can request appropriate power supply power from the power supply device according to the power supply capability of the power supply port, which is beneficial for the power supply device and the powered device to efficiently negotiate a reasonable power supply power.
在一些实现方式中,该方法还包括:供电设备检测受电设备连接到供电端口。因此,供电设备可以及时地发现受电设备已连接到供电端口,进而相应地向受电设备提供供电并且经由配对的数据端口对受电设备进行供电管理。In some implementations, the method further includes: the power supply device detecting that the powered device is connected to the power supply port. Therefore, the power supply device can find that the power receiving device has been connected to the power supply port in time, and then provide power to the power receiving device accordingly and manage power supply to the power receiving device through the paired data port.
在本公开的第二方面,提供了一种供电设备。该供电设备包括:供电端口、数据端口、处理器和存储器。数据端口与供电端口配对并且是彼此分离的物理端口。存储器存储有计算机程序指令。存储器和计算机程序指令被配置为,与处理器一起,使供电设备经由数据端口从受电设备接收受电设备的供电信息。存储器和计算机程序指令还被配置为,与处理器一起,使供电设备经由供电端口并基于供电信息向受电设备供电。相比于传统的供电设备,本公开的供电设备在数据端口与供电端口分离的情况下向受电设备供电的性能可以被改进。In a second aspect of the present disclosure, a power supply device is provided. The power supply device includes: a power supply port, a data port, a processor and a memory. The data port is paired with the power port and is a separate physical port from each other. The memory stores computer program instructions. The memory and computer program instructions are configured, with the processor, to cause the power sourcing device to receive powering information for the powered device from the powered device via the data port. The memory and computer program instructions are further configured, with the processor, to cause the power supply device to provide power to the powered device via the power supply port and based on the power supply information. Compared with the traditional power supply device, the performance of the power supply device of the present disclosure to supply power to the powered device under the condition that the data port is separated from the power supply port can be improved.
在一些实现方式中,供电设备的数据端口通过光电复合线缆中的光纤连接到受电设备,并且供电设备的供电端口通过光电复合线缆中的供电线连接到受电设备。以此方式,供电设备与受电设备之间可以实现高速率的数据传输,同时实现远距离的电力传输。In some implementation manners, the data port of the power supply device is connected to the powered device through an optical fiber in the photoelectric composite cable, and the power supply port of the power supply device is connected to the powered device through a power supply line in the photoelectric composite cable. In this way, high-speed data transmission and long-distance power transmission can be realized between the power supply device and the power receiving device.
在一些实现方式中,存储器还用于存储配置信息,该配置信息指示供电端口与数据端口之间的配对关系。如此,供电设备可以便利地且高效地管理供电端口与数据端口之间的配对关系。In some implementations, the memory is also used to store configuration information indicating the pairing relationship between the power supply port and the data port. In this way, the power supply device can conveniently and efficiently manage the pairing relationship between the power supply port and the data port.
在一些实现方式中,存储器和计算机程序指令还被配置为,与处理器一起,使供电设备响应于受电设备连接到供电端口,在配置信息中查找与供电端口配对的数据端口。以此方式,供电设备可以及时地确定与连接有受电设备的供电端口相对应的数据端口,以便从该数据端口获得受电设备的供电信息。In some implementations, the memory and computer program instructions are further configured, with the processor, to cause the power sourcing device to look up a data port paired with the power port in the configuration information in response to the powered device being connected to the power port. In this way, the power supply device can timely determine the data port corresponding to the power supply port connected to the power receiving device, so as to obtain the power supply information of the power receiving device from the data port.
在一些实现方式中,配置信息是用户可编辑的。如此,供电设备的供电端口与数据端口之间的配对关系可以由用户根据具体的应用环境和场景来决定,从而可以提高供电设备的使用灵活性。In some implementations, configuration information is user editable. In this way, the pairing relationship between the power supply port and the data port of the power supply device can be determined by the user according to specific application environments and scenarios, thereby improving the flexibility of use of the power supply device.
在一些实现方式中,供电信息包括以下至少一项:用于调整供电端口的供电功率的指示,以及受电设备的供电优先级。因此,供电设备可以根据受电设备的请求来调整供电端口的供电功率,还可以根据受电设备的供电优先级来向受电设备提供相应的供电保障,从而更好地满足受电设备的用电需求。In some implementation manners, the power supply information includes at least one of the following: an indication for adjusting the power supply power of the power supply port, and a power supply priority of the powered device. Therefore, the power supply device can adjust the power supply power of the power supply port according to the request of the power receiving device, and can also provide corresponding power supply protection to the power receiving device according to the power supply priority of the power receiving device, so as to better meet the needs of the power receiving device. electricity demand.
在一些实现方式中,存储器和计算机程序指令还被配置为,与处理器一起,使供电设备经由数据端口向受电设备发送供电端口的能力信息。如此,受电设备可以根据供电端口的供电能力来向供电设备请求适当的供电功率,从而有利于供电设备和受电设备高效地协商出合理的供电功率。In some implementations, the memory and the computer program instructions are further configured, together with the processor, to cause the power supply device to send the capability information of the power supply port to the powered device via the data port. In this way, the powered device can request appropriate power supply power from the power supply device according to the power supply capability of the power supply port, which is beneficial for the power supply device and the powered device to efficiently negotiate a reasonable power supply power.
在一些实现方式中,该供电设备还包括:检测电路,用于检测受电设备连接到供电端口。因此,供电设备可以及时地发现受电设备已连接到供电端口,进而相应地向受电设备提供供电并且经由配对的数据端口对受电设备进行供电管理。In some implementation manners, the power supply device further includes: a detection circuit, configured to detect that the power receiving device is connected to the power supply port. Therefore, the power supply device can find that the power receiving device has been connected to the power supply port in time, and then provide power to the power receiving device accordingly and manage power supply to the power receiving device through the paired data port.
在本公开的第三方面,提供了一种用于管理供电的装置。该装置包括:用于经由数据端口从受电设备接收受电设备的供电信息的部件,数据端口与供电端口配对并且是彼此分离的物理端口。该装置还包括用于经由供电端口并基于供电信息向受电设备供电的部件。通过该装置,在数据端口与供电端口分离的情况下,供电设备向受电设备供电的性能可以被改进。In a third aspect of the present disclosure, an apparatus for managing power supply is provided. The apparatus includes: means for receiving power supply information of the power receiving device from the power receiving device via a data port, the data port being paired with the power supply port and being physical ports separated from each other. The apparatus also includes means for providing power to the powered device via the power supply port and based on the power supply information. With this arrangement, the performance of the power supply device supplying power to the powered device can be improved when the data port is separated from the power supply port.
在一些实现方式中,供电设备的数据端口通过光电复合线缆中的光纤连接到受电设备,并且供电设备的供电端口通过光电复合线缆中的供电线连接到受电设备。以此方式,供电设备与受电设备之间可以实现高速率的数据传输,同时实现远距离的电力传输。In some implementation manners, the data port of the power supply device is connected to the powered device through an optical fiber in the photoelectric composite cable, and the power supply port of the power supply device is connected to the powered device through a power supply line in the photoelectric composite cable. In this way, high-speed data transmission and long-distance power transmission can be realized between the power supply device and the power receiving device.
在一些实现方式中,该装置还包括:用于存储配置信息的部件,配置信息指示供电端口与数据端口之间的配对关系。如此,供电设备可以便利地且高效地管理供电端口与数据端口之间的配对关系。In some implementation manners, the device further includes: a component for storing configuration information, where the configuration information indicates the pairing relationship between the power supply port and the data port. In this way, the power supply device can conveniently and efficiently manage the pairing relationship between the power supply port and the data port.
在一些实现方式中,该装置还包括:用于响应于受电设备连接到供电端口,在配置信息中查找与供电端口配对的数据端口的部件。以此方式,供电设备可以及时地确定与连接有受电设备的供电端口相对应的数据端口,以便从该数据端口获得受电设备的供电信息。In some implementations, the apparatus further includes means for, in response to the powered device being connected to the power supply port, looking up the data port paired with the power supply port in the configuration information. In this way, the power supply device can timely determine the data port corresponding to the power supply port connected to the power receiving device, so as to obtain the power supply information of the power receiving device from the data port.
在一些实现方式中,配置信息是用户可编辑的。如此,供电设备的供电端口与数据端口之间的配对关系可以由用户根据具体的应用环境和场景来决定,从而可以提高供电设备的使用灵活性。In some implementations, configuration information is user editable. In this way, the pairing relationship between the power supply port and the data port of the power supply device can be determined by the user according to specific application environments and scenarios, thereby improving the flexibility of use of the power supply device.
在一些实现方式中,供电信息包括以下至少一项:用于调整供电端口的供电功率的指示,以及受电设备的供电优先级。因此,供电设备可以根据受电设备的请求来调整供电端口的供电功率,还可以根据受电设备的供电优先级来向受电设备提供相应的供电保障,从而更好地满足受电设备的用电需求。In some implementation manners, the power supply information includes at least one of the following: an indication for adjusting the power supply power of the power supply port, and a power supply priority of the powered device. Therefore, the power supply device can adjust the power supply power of the power supply port according to the request of the power receiving device, and can also provide corresponding power supply protection to the power receiving device according to the power supply priority of the power receiving device, so as to better meet the needs of the power receiving device. electricity demand.
在一些实现方式中,该装置还包括:用于经由数据端口向受电设备发送供电端口的能力信息的部件。如此,受电设备可以根据供电端口的供电能力来向供电设备请求适当的供电功率,从而有利于供电设备和受电设备高效地协商出合理的供电功率。In some implementations, the apparatus further includes: means for sending capability information of the power supply port to the powered device via the data port. In this way, the powered device can request appropriate power supply power from the power supply device according to the power supply capability of the power supply port, which is beneficial for the power supply device and the powered device to efficiently negotiate a reasonable power supply power.
在一些实现方式中,该装置还包括:用于检测受电设备连接到供电端口的部件。因此,供电设备可以及时地发现受电设备已连接到供电端口,进而相应地向受电设备提供供电并且经由配对的数据端口对受电设备进行供电管理。In some implementations, the apparatus further includes: means for detecting that a powered device is connected to the power supply port. Therefore, the power supply device can find that the power receiving device has been connected to the power supply port in time, and then provide power to the power receiving device accordingly and manage power supply to the power receiving device through the paired data port.
在本公开的第四方面,提供了一种计算机可读介质。该计算机可读介质存储有指令,指令在被执行时使机器执行根据第一方面的方法。通过该计算机可读介质,在数据端口与供电端口分离的情况下,供电设备向受电设备供电的性能可以被改进。In a fourth aspect of the present disclosure, a computer readable medium is provided. The computer readable medium stores instructions which, when executed, cause a machine to perform the method according to the first aspect. With the computer-readable medium, the performance of a power sourcing device to power a powered device can be improved in a situation where the data port is separated from the power supply port.
应当理解,发明内容部分中所描述的内容并非旨在限定本公开的关键或重要特征,亦非用于限制本公开的范围。本公开的其他特征通过以下的描述将变得容易理解。It should be understood that what is described in the Summary of the Invention is not intended to identify key or important features of the disclosure, nor is it intended to limit the scope of the disclosure. Other features of the present disclosure will become easily understood through the following description.
附图说明Description of drawings
通过参考附图阅读下文的详细描述,本公开的实施例的上述以及其他目的、特征和优点将变得容易理解。在附图中,以示例性而非限制性的方式示出了本公开的若干实施例。The above and other objects, features and advantages of embodiments of the present disclosure will become readily understood by reading the following detailed description with reference to the accompanying drawings. In the drawings, several embodiments of the present disclosure are shown by way of illustration and not limitation.
图1示出了根据本公开的实施例的包括供电设备和受电设备的示例系统环境的示意图。FIG. 1 shows a schematic diagram of an example system environment including a power sourcing device and a powered device according to an embodiment of the present disclosure.
图2示出了根据本公开的实施例的示例光电复合线缆的示意图。FIG. 2 shows a schematic diagram of an example optoelectronic composite cable according to an embodiment of the disclosure.
图3示出了根据本公开的实施例的另一示例光电复合线缆的示意图。Fig. 3 shows a schematic diagram of another example optoelectronic composite cable according to an embodiment of the present disclosure.
图4示出了根据本公开的实施例的指示供电端口与数据端口之间的配对关系的示例配置信息。FIG. 4 shows example configuration information indicating a pairing relationship between a power supply port and a data port according to an embodiment of the present disclosure.
图5示出了根据本公开的实施例的用于管理供电的示例方法的流程图。FIG. 5 shows a flowchart of an example method for managing power supply according to an embodiment of the disclosure.
图6A示出了根据本公开的实施例的供电设备与受电设备协商供电功率的示例通信过程的示意图。Fig. 6A shows a schematic diagram of an example communication process for a power supply device and a powered device to negotiate power supply according to an embodiment of the present disclosure.
图6B示出了根据本公开的实施例的供电设备与受电设备协商供电功率的另一示例通信过程的示意图。Fig. 6B shows a schematic diagram of another exemplary communication process in which a power supply device negotiates power supply with a powered device according to an embodiment of the present disclosure.
图7示出了根据本公开的实施例的供电设备与受电设备协商供电优先级的示例通信过程的示意图。Fig. 7 shows a schematic diagram of an example communication process of a power supply device negotiating power supply priority with a powered device according to an embodiment of the present disclosure.
图8示出了根据本公开的实施例的在供电端口与数据端口之间的配对关系为可配置时供电设备的示例操作过程的流程图。Fig. 8 shows a flowchart of an example operation process of a power supply device when the pairing relationship between a power supply port and a data port is configurable according to an embodiment of the present disclosure.
图9示出了根据本公开的实施例的具有示例端口布置的供电设备的框图。FIG. 9 shows a block diagram of a power supply device with an example port arrangement according to an embodiment of the disclosure.
图10示出了根据本公开的实施例的具有另一示例端口布置的供电设备的框图。FIG. 10 shows a block diagram of a power supply device with another example port arrangement according to an embodiment of the disclosure.
图11示出了根据本公开的实施例的用于管理供电的示例装置的框图。FIG. 11 shows a block diagram of an example apparatus for managing power supply according to an embodiment of the present disclosure.
图12示出了根据本公开的实施例的示例计算机可读介质的示意图。Figure 12 shows a schematic diagram of an example computer readable medium according to an embodiment of the disclosure.
贯穿所有附图,相同或者相似的参考标号被用来表示相同或者相似的组件。Throughout the drawings, the same or similar reference numerals are used to designate the same or similar components.
具体实施方式detailed description
如本文所使用的,术语“包括”及其类似用语应当理解为开放性包含,即“包括但不限于”。术语“基于”应当理解为“至少部分地基于”。术语“一个实施例”或“该实施例”应当理解为“至少一个实施例”。术语“第一”、“第二”等等可以指代不同的或相同的对象,并且仅用于区分所指代的对象,而不暗示所指代的对象的特定空间顺序、时间顺序、重要性顺序,等等。下文还可能包括其他明确的和隐含的定义。As used herein, the term "comprising" and its analogs should be interpreted as an open inclusion, ie "including but not limited to". The term "based on" should be understood as "based at least in part on". The term "one embodiment" or "the embodiment" should be read as "at least one embodiment". The terms "first", "second", etc. may refer to different or the same objects, and are used only to distinguish the referred objects without implying a specific spatial order, temporal order, important sexual order, and so on. Other definitions, both express and implied, may also be included below.
如本文所使用的,术语“确定”涵盖各种各样的动作。例如,“确定”可以包括运算、计算、处理、导出、调查、查找(例如,在表格、数据库或另一数据结构中查找)、查明等。此外,“确定”可以包括接收(例如,接收信息)、访问(例如,访问存储器中的数据)等。此外,“确定”可以包括解析、选择、选取、建立等。As used herein, the term "determining" encompasses a wide variety of actions. For example, "determining" may include computing, calculating, processing, deriving, investigating, looking up (eg, in a table, database, or another data structure), ascertaining, and the like. Also, "determining" may include receiving (eg, receiving information), accessing (eg, accessing data in a memory), and the like. Additionally, "determining" may include resolving, selecting, choosing, establishing, and the like.
本文使用的术语“电路”是指以下的一项或多项:(a)仅硬件电路实现方式(诸如仅模拟和/或数字电路的实现方式);以及(b)硬件电路和软件的组合,诸如(如果适用):(i)模拟和/或数字硬件电路与软件/固件的组合,以及(ii)硬件处理器的任意部分与软件(包括一起工作以使诸如供电设备或其他电子设备等装置执行各种功能的数字信号处理器、软件和存储器);以及(c)硬件电路和/或处理器,诸如微处理器或者微处理器的一部分,其要求软件(例如固件)用于操作,但是在不需要软件用于操作时可以没有软件。As used herein, the term "circuitry" refers to one or more of: (a) hardware circuit implementations only (such as analog and/or digital circuit implementations only); and (b) a combination of hardware circuits and software, Such as (if applicable): (i) combinations of analog and/or digital hardware circuits and software/firmware, and (ii) any portion of a hardware processor and software (including digital signal processors, software, and memory to perform various functions); and (c) hardware circuits and/or processors, such as microprocessors or parts of microprocessors, which require software (e.g., firmware) for operation, but There can be no software when it is not required for operation.
电路的定义适用于此术语在本申请中(包括任意权利要求中)的所有使用场景。作为另一示例,在此使用的术语“电路”也覆盖仅硬件电路或处理器(或多个处理器)、或者硬件电路或处理器的一部分、或者其随附软件或固件的实现方式。例如,如果适用于特定权利要求元素,术语“电路”还覆盖基带集成电路或处理器集成电路、供电设备、受电设备或其他设备中的类似集成电路。The definition of electrical circuit applies to all uses of this term in this application, including in any claims. As a further example, the term 'circuitry' as used herein also covers an implementation of merely a hardware circuit or processor (or multiple processors), or a portion thereof, or its accompanying software or firmware. For example, the term "circuitry" also covers baseband integrated circuits or processor integrated circuits, similar integrated circuits in power sourcing equipment, powered devices, or other devices, if applicable to a particular claim element.
如上文提到的,在一些场景中,传统的以太网供电设备可能无法良好地向受电设备供电,从而影响以太网供电系统的性能和用户体验。具体而言,传统的以太网供电设备经由同一物理端口向受电设备供电并且与受电设备通信。换言之,该物理端口既充当供电设备的供电端口,又作为供电设备的数据端口。依据以太网供电技术的标准,供电设备从识别受电设备到给受电设备供电,依次可以经过探测、电压分级、上电启动等过程。在受电设备的上电完成之后,供电设备将进入对受电设备的供电功率管理状态。为了实现动态的供电功率调整与管理,供电设备与受电设备之间还可以支持链路层发现协议(Link LayerDiscovery Protocol,LLDP),并且可以通过媒体独立接口(Media Dependent Interface,MDI)进行供电功率协商。As mentioned above, in some scenarios, a traditional PoE device may not be able to supply power to a powered device well, thus affecting the performance and user experience of the Power over Ethernet system. Specifically, conventional Power over Ethernet devices supply power to and communicate with powered devices via the same physical port. In other words, the physical port serves both as a power supply port of the power supply device and as a data port of the power supply device. According to the standard of Power over Ethernet technology, the power supply equipment can go through the processes of detection, voltage classification, power-on and start-up, from identifying the powered equipment to supplying power to the powered equipment. After the power-on of the powered device is completed, the power supply device will enter a power supply management state for the powered device. In order to realize dynamic power supply adjustment and management, the link layer discovery protocol (Link Layer Discovery Protocol, LLDP) can also be supported between the power supply device and the powered device, and the power supply can be performed through the media independent interface (Media Dependent Interface, MDI). negotiate.
然而,在一些以太网供电设备中,数据端口与供电端口可能是分离的物理端口。例如,一些以太网供电交换机在物理上将数据端口和供电端口分离成两个端口,以分别通过光纤和铜缆连接到受电设备,这样的以太网供电交换机也可以称为光电复合交换机。这种以太网供电交换机与受电设备对接时,将经由数据端口与受电设备进行数据传输,并且经由供电端口向受电设备进行供电传输。在这种情况下,传统的供电设备仅能通过供电线路上的电流解析来完成对受电设备的探测、分级和上电。在受电设备上电之后,供电设备将会分配固定的供电功率(例如,分级后的额定功率)给受电设备使用而无法调整,这可能会导致后续连接到供电设备的其他受电设备因供电设备无剩余功率而不能上电。此外,在数据端口与供电端口分离的情况下,按照传统的以太网供电协议,供电设备将无法从受电设备获得受电设备的供电信息,更无法通过链路层发现协议与受电设备之间进行供电功率协商,以及供电优先级的登记,等等。因此,供电设备也就不能对受电设备进行有效的供电管理。类似的问题和缺陷也存在于除以太网供电设备之外的其他供电设备中。However, in some PoE devices, the data port and the power port may be separate physical ports. For example, some Power over Ethernet switches physically separate the data port and the power supply port into two ports to connect to powered devices through optical fiber and copper cable respectively. Such Power over Ethernet switches may also be called photoelectric composite switches. When the power-over-Ethernet switch is connected to the powered device, it will transmit data with the powered device through the data port, and transmit power to the powered device through the power supply port. In this case, the traditional power supply equipment can only complete the detection, classification and power-on of the powered equipment through the current analysis on the power supply line. After the powered device is powered on, the power supply device will allocate a fixed power supply (for example, the rated power after classification) to the powered device and cannot be adjusted, which may cause other powered devices connected to the power supply device to fail due to The power supply device has no remaining power and cannot be powered on. In addition, when the data port is separated from the power supply port, according to the traditional Power over Ethernet protocol, the power supply device will not be able to obtain the power supply information of the powered device from the powered device, let alone discover the connection between the protocol and the powered device through the link layer. Carry out power supply power negotiation, and registration of power supply priority, and so on. Therefore, the power supply equipment cannot perform effective power supply management on the powered equipment. Similar problems and drawbacks also exist in other power supply equipment than power over Ethernet equipment.
鉴于传统方案中存在的上述问题以及其他潜在的问题,本公开的实施例提供了一种用于管理供电的技术方案。在本公开的实施例中,供电设备的物理上分离的供电端口与数据端口可以被配对,从而连接到供电端口的受电设备可以经由与供电端口配对的数据端口,来向供电设备提供受电设备的供电信息。基于在数据端口上接收的受电设备的供电信息,供电设备可以相应地经由供电端口向受电设备供电。以此方式,供电设备可以针对受电设备而实现合理且高效的供电,从而供电设备的供电性能得以提高。下文将参考附图来详细描述本公开的若干实施例。In view of the above-mentioned problems and other potential problems existing in the conventional solutions, embodiments of the present disclosure provide a technical solution for managing power supply. In an embodiment of the present disclosure, the physically separated power supply port and data port of the power supply device can be paired, so that the powered device connected to the power supply port can provide power to the power supply device through the data port paired with the power supply port. Power supply information of the device. Based on the power supply information of the powered device received on the data port, the power supply device may accordingly supply power to the powered device via the power supply port. In this way, the power supply device can implement reasonable and efficient power supply for the power receiving device, so that the power supply performance of the power supply device can be improved. Hereinafter, several embodiments of the present disclosure will be described in detail with reference to the accompanying drawings.
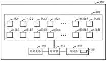
图1示出了根据本公开的实施例的包括供电设备110以及受电设备120和130的示例系统环境100的示意图。如本文中使用的,供电设备110可以是能够向受电设备提供电力的任何设备。在一些实施例中,供电设备110可以是遵循以太网供电协议的供电设备,其可以向以太网客户端设备(也即,以太网受电设备)供电,同时也可以是整个以太网供电过程的管理者。例如,供电设备110可以是遵循以太网供电协议的交换机,诸如光电复合交换机等。在其他实施例中,供电设备110也可以是遵循目前已知或将来开发的其他供电协议的供电设备,或者还可以是非标准的供电设备。如图1所示,供电设备110可以具有多个数据端口112-1至112-N(本文中可以统称为数据端口112)和多个供电端口114-1至114-N(本文中可以统称为供电端口114),其中N为自然数。FIG. 1 shows a schematic diagram of an
如本文中使用的,术语“端口”一般性地指代装置或设备上设置的用于与外界连通或通信的出入口,其通常可以经由线缆或连接器连接至其他装置或设备。在这个意义上,本文中的“端口”可以与“接口”具有相同的技术含义并且可以互换地使用。例如,供电设备110的数据端口112可以是用于传输数据的任何形式的端口,并且供电端口114可以是用于提供供电的任何形式的端口。在一些实施例中,数据端口112可以包括基于光信号的光纤端口,例如,FC型光纤端口、SC型光纤端口、ST型光纤端口、LC型光纤端口,等等。在其他实施例中,数据端口112也可以是基于电信号或其他形式信号的数据端口。在一些实施例中,供电端口114可以包括标准8位模块化接口,诸如用于接纳RJ45连接器的接口,等等。在其他实施例中,供电端口114也可以是符合于目前已知或将来开发的其他电源标准的端口,或者还可以是非标准的端口。As used herein, the term "port" generally refers to an entrance and exit provided on a device or device for communicating or communicating with the outside world, which can usually be connected to other devices or devices via cables or connectors. In this sense, "port" herein may have the same technical meaning as "interface" and may be used interchangeably. For example, the
如所示出的,供电设备110的数据端口112和供电端口114可以是彼此分离的物理端口。例如,不失一般性,数据端口112中的数据端口112-1与供电端口114中的供电端口114-1可以是彼此分离的物理端口。也即,数据端口112-1和供电端口114-1可以分别由两个物理端口来提供,而不是由同一物理端口来提供。在一些实施例中,除了物理上分离的数据端口112和供电端口114之外,供电设备110也可能包括兼有数据端口功能和供电端口功能的一个或多个物理端口(未示出)。换言之,这样的一个或多个物理端口中的每个物理端口既可以作为数据端口又可以作为供电端口。因此,这样的数据端口和供电端口是共用物理端口的,也即由同一物理端口来提供。As shown, the
在图1的示例中,供电设备110的数据端口112-1可以通过线缆140连接到受电设备120的数据端口122,并且供电端口114-1可以通过线缆145连接到受电设备120的受电端口124,从而供电设备110与受电设备120之间可以同时进行数据传输和电力传输。类似地,供电设备110的数据端口112-2可以通过线缆150连接到受电设备130的数据端口132,并且供电端口114-2可以通过线缆155连接到受电设备130的受电端口134。如本文中使用的,受电设备120和130可以是能够从供电设备接收电力的任何设备。在一些实施例中,受电设备120和130可以是遵循以太网供电协议的受电设备,也即在以太网供电系统中用来受电的设备,其是接受供电的负载,也称为以太网供电系统的客户端设备。以太网受电设备的示例包括但不限于:网络摄像机、无线接入点设备、互联网电话设备、互联网视频监控设备、门禁设备、建筑物管理设备、云终端设备、无线局域网设备、小型家庭(SOHO)交换机、智能照明设备、移动电话充电器、娱乐设备,等等。在其他实施例中,受电设备120和130也可以是遵循目前已知或者将来开发的其他供电协议的受电设备,或者还可以是非标准的受电设备。此外,与供电设备110类似,受电设备120的数据端口122和受电端口124可以是彼此分离的物理端口,并且受电设备130的数据端口132和受电端口134也可以是彼此分离的物理端口。In the example of FIG. 1 , the data port 112-1 of the
一般地,线缆140和150可以是适合于数据传输的任何线缆,并且线缆145和155可以是适合于电力传输的任何线缆。在一些实施例中,线缆140和150可以是用于传输光信号的光纤线缆,而线缆145和155可以是用于传输电力的金属线缆。在其他实施例中,受电设备120可以通过光电复合线缆(optoelectronic composite cable,OCC)中的光纤连接到数据端口112-1,并且通过光电复合线缆中的供电线连接到供电端口114-1。如本文中使用的,光电复合线缆是一种复合型的线缆,其使用光纤进行数据传输,可以支持高数据速率(例如,高达100千兆位每秒(Gbps)),并且使用电力电缆(例如,铜缆)进行供电传输,可以支持远距离(例如,200米以上)的电力传输。因此,通过使用光电复合线缆来连接供电设备与受电设备,供电设备与受电设备之间可以同时实现高速率的数据传输和远距离的电力传输。在一些实施例中,光电复合线缆中的供电线可以采用双绞线的形式、或者其他可用于传输电力的电缆形式。In general,
在以太网供电标准中,支持以太网供电的供电设备最长可以支持100米与90瓦的供电能力,同时支持10Gbps的数据传输。然而,随着作为受电设备的无线局域网设备支持新一代的通信技术,其对接入速率需求已经由10Gbps增加至25Gbps,由此导致支持以太网供电技术的局域网交换机与接入点设备之间的布线距离严重受限。在这种情况下,光电复合线缆的使用可以很好地解决双绞线数据传输距离与传输速率之间的固有矛盾。需要注意的是,本公开的实施例中的光电复合线缆应当广义地理解。例如,光电复合线缆可以是光纤和电缆的分离体,也即包括单独的电缆和单独的光纤。又例如,光电复合线缆也可以是将光纤和电缆组合在一起形成的线缆整体。下文参考图2和图3来分别描述本公开的实施例中的光电复合线缆的这两种示例。In the Power over Ethernet standard, a power supply device that supports Power over Ethernet can support a power supply capacity of up to 100 meters and 90 watts, and at the same time support data transmission of 10 Gbps. However, as the wireless LAN device as a powered device supports a new generation of communication technology, its demand for access rate has increased from 10Gbps to 25Gbps, resulting in a The wiring distance is severely limited. In this case, the use of photoelectric composite cables can well solve the inherent contradiction between twisted pair data transmission distance and transmission rate. It should be noted that the photoelectric composite cable in the embodiments of the present disclosure should be understood in a broad sense. For example, the photoelectric composite cable may be a separate body of optical fiber and cable, that is, include a separate cable and a separate optical fiber. For another example, the photoelectric composite cable may also be a whole cable formed by combining optical fibers and cables. These two examples of the photoelectric composite cable in the embodiment of the present disclosure are described below with reference to FIG. 2 and FIG. 3 , respectively.
图2示出了根据本公开的实施例的示例光电复合线缆200的示意图。如图2所示,光电复合线缆200包括分离的光纤215和供电线245。在光电复合线缆200中,光纤215可以包括光纤线路210和220,它们可以分别用于两个不同方向上的光信号的传播。在其他实施例中,光纤215也可以包括仅一条光纤线路用于两个不同方向上的光信号传播,例如,通过频分复用的方式。如所示出的,供电线245可以是两芯供电线,其可以包括负供电线240和正供电线250,并且可以由护套270来包围保护。在其他实施例中,供电线245也可以具有任何其他适合的供电线结构。将明白,光纤215也可以通过护套来保护,但是图2中为了简洁未示出。在一些实施例中,参考图1和图2,受电设备120可以经由光纤215和光纤连接器230连接到供电设备110的数据端口112-1,并且经由供电线245和供电连接器(也称为电源连接器)260连接到供电设备110的供电端口114-1。仅作为示例,光纤连接器230可以是光纤LC型连接器,而供电连接器260可以是RJ45型连接器。当然,在其他实施例中,光纤连接器230也可以是任何其他类型的光纤连接器,并且供电连接器260也可以是任何其他类型的供电连接器。FIG. 2 shows a schematic diagram of an example optoelectronic
图3示出了根据本公开的实施例的另一示例光电复合线缆300的示意图。如图3所示,光电复合线缆300包括由护套370包裹在一起的光纤315和供电线345。与光电复合线缆200相类似,光电复合线缆300的光纤315也可以包括两条光纤线路310和320,它们可以分别用于两个不同方向上的光信号传播。在其他实施例中,光纤315可以包括仅一条光纤线路用于两个不同方向上的光信号传播,例如,通过频分复用的方式。此外,与光电复合线缆200相类似,光电复合线缆300的供电线345也可以是两芯供电线,其可以包括负极线340和正极线350。在其他实施例中,供电线345也可以具有任何其他适合的供电线结构。在一些实施例中,参考图1和图3,受电设备120可以经由光纤315和光纤连接器330连接到供电设备110的数据端口112-1,并且经由供电线345和电源连接器360连接到供电设备110的供电端口114-1。仅作为示例,光纤连接器330可以是光纤LC型连接器,而供电连接器360可以是RJ45型连接器。当然,在其他实施例中,光纤连接器330也可以是任何其他类型的光纤连接器,并且供电连接器360也可以是任何其他类型的供电连接器。FIG. 3 shows a schematic diagram of another example optoelectronic
返回参考图1,在一些实施例中,由于供电设备110具有多个数据端口112和多个供电端口114,所以为了向一个或多个受电设备供电并且与之通信,各个数据端口112与各个供电端口114之间可以具有配对关系,以便配合连接到一个或多个受电设备。如本文中使用的,供电端口与数据端口之间的“配对”是指供电端口和数据端口可以配合操作以便连接到同一受电设备。例如,与某个供电端口相关的信息或数据(例如,供电参数)可以通过与该供电端口配对的数据端口来传输。在图1的示例中,假设数据端口112-1和供电端口114-1是配对的,那么与供电端口114-1相关的信息或数据(例如,供电参数)可以通过数据端口112-1来传输。因此,如果某个受电设备连接到供电设备110的已配对的供电端口和数据端口,则该受电设备可以经由数据端口向供电设备110发送关于受电设备的供电信息,或从供电设备110接收关于供电端口的数据或信息。例如,在图1的示例中,假设数据端口112-1和供电端口114-1是配对的,则受电设备120可以经由数据端口112-1与供电设备110交换关于供电端口114-1(或受电设备120)的供电信息。Referring back to FIG. 1 , in some embodiments, since the
相反地,在一些实施例中,如果某个受电设备连接到供电设备110的未配对的供电端口和数据端口,则该受电设备可以经由数据端口与供电设备110进行通信,也可以经由供电端口从供电设备110接受初步供电。但是,该受电设备无法经由数据端口来与供电设备110交换关于供电端口(或受电设备)的供电信息。因为即使供电设备110接收到这样的供电信息,由于数据端口与供电端口未配对,供电设备110也无法确定该供电信息是关于哪个供电端口的。例如,在图1的示例中,假设数据端口112-1和供电端口114-1未配对,则受电设备120可以经由数据端口112-1与供电设备110通信,但是无法经由数据端口112-1与供电设备110交换关于供电端口114-1(或受电设备120)的供电信息。具体地,供电设备110无法确定将经由数据端口112-1接收的受电设备120的供电信息用于哪个供电端口,也不能确定将哪个供电端口的供电信息经由数据端口112-1提供给受电设备120。在一些实施例中,供电设备110可以使用配置信息来管理供电端口114与数据端口112之间的配对关系。下文参考图4来描述这样的实施例。Conversely, in some embodiments, if a powered device is connected to an unpaired power port and data port of the
图4示出了根据本公开的实施例的指示供电端口114与数据端口112之间的配对关系的示例配置信息400。如图4所示,配置信息(也称为配置文件)400可以采用表格的形式,并且可以包括供电端口列410和数据端口列420。在配置信息400中,编号位于同一行中的供电端口和数据端口即为配对的供电端口和数据端口。例如,在图4的示例中,供电端口114-1与数据端口112-1配对,供电端口114-2与数据端口112-2配对,供电端口114-3与数据端口112-N配对,供电端口114-4没有与数据端口配对,……,供电端口114-N-1与数据端口112-8配对,并且供电端口114-N与数据端口112-5配对,等等。借助于配置信息400,供电设备110可以方便地通过查询配置信息400中的条目,来确定供电端口114和数据端口112的配对关系,查找与某个供电端口配对的数据端口,或者查找与某个数据端口配对的供电端口,等等。因此,通过使用配置信息400,供电设备110可以便利地且高效地管理供电端口114与数据端口112之间的配对关系。FIG. 4 illustrates
应当理解,配置信息400具有图4中描绘的表格形式仅是示例性的,无意以任何方式限制本公开的范围。在其他实施例中,配置信息400可以具有任何适当的其他形式,只要可以用于记录供电端口114与数据端口112之间的配对关系即可。另外,配置信息400中按照供电端口的编号从小到大的顺序来组织也仅是示例性的。在其他实施例中,配置信息400也可以按照数据端口的编号来组织,或者按照供电端口编号或数据端口编号的其他顺序来组织,等等。在一些实施例中,配置信息400可以存储在供电设备110内部,例如存储在供电设备110的存储器中,这样供电设备110对配置信息400的访问速度可以加快。备选地,配置信息400也可以存储在供电设备110可访问的外部存储设备中,如此可以减小供电设备110的存储负担,降低供电设备110的成本。It should be understood that
在一些实施例中,配置信息400是用户可编辑的。换言之,供电设备110的用户可以按照供电设备110的具体应用环境和场景,通过编辑配置信息400的内容,来将供电设备110的某个供电端口与某个数据端口配对。以图1中的受电设备120为例,在受电设备120连接到数据端口112-1和供电端口114-1之前或之后,供电设备110的用户可以在供电设备110的用户界面中编辑配置信息400的内容,从而手动地设置数据端口112-1与供电端口114-1之间的配对关系。这样,供电设备110的用户可以将数据端口112和供电端口114任意配对,极大提升了供电设备110的使用灵活性。In some embodiments,
在其他实施例中,配置信息400也可以被设置成用户不可编辑的。也就是说,供电设备110的数据端口112和供电端口114之间存在默认的固定的配置关系。在这种情况下,在备选的实施例中,供电设备110也可以不通过配置信息400来管理数据端口112和供电端口114之间的配对关系,因为它们的配对关系是固定的。在一些实施例中,固定配对的数据端口和供电端口可以是容易辨认的,例如,在图1的示例中,与供电端口固定配对的数据端口可以是位于供电端口上方的数据端口。具体地,在图1的示例中,数据端口112-1可以与供电端口114-1具有固定的配对关系,数据端口112-2可以与供电端口114-2具有固定的配对关系,……,数据端口112-N-1可以与供电端口114-N-1具有固定的配对关系,并且数据端口112-N可以与供电端口114-N具有固定的配对关系。在固定配对的情况下,用户在使用线缆将受电设备连接到供电设备110的供电端口和数据端口时,可能需要按照供电端口114和数据端口112之间的固定配对关系来连接。例如,假设图1中的数据端口112-1与供电端口114-1具有固定的配对关系,则它们可能需要被连接至同一受电设备,例如,受电设备120。In other embodiments, the
应当理解,图1至图4仅示意性地示出了示例系统环境100中的与本公开的实施例相关的设备、单元、模块、组件或信息。在实践中,示例系统环境100还可以包括用于其他功能的其他设备、单元、模块、组件或信息。此外,图1至图4中示出的设备、单元、模块、组件或信息的特定数目仅是示意性的,无意以任何方式限制本公开的范围。在其他实施例中,示例系统环境100可以包括任何适当数目的供电设备、受电设备、供电设备的供电端口、供电设备的数据端口、或线缆,等等。因此,本公开的实施例不限于图1至图4所描绘的具体设备、单元、模块、组件或信息,而是一般性地适用于供电设备向受电设备提供供电的任何技术环境。下文参考图5来描述本公开的实施例的用于管理供电的方法。It should be understood that FIGS. 1 to 4 only schematically show devices, units, modules, components or information related to the embodiments of the present disclosure in the
图5示出了根据本公开的实施例的用于管理供电的示例方法500的流程图。在一些实施例中,示例方法500可以由示例系统环境100中的供电设备110来实现,例如可以由供电设备110的处理器或处理单元来实现。在其他实施例中,示例方法500也可以由独立于示例系统环境100的供电设备来实现。为了便于说明且不失一般性,下文将参考图1以供电设备110执行示例方法500以管理向受电设备120的供电作为示例来论述示例方法500。FIG. 5 shows a flowchart of an
在框510处,供电设备110可以经由数据端口112-1从受电设备120接收受电设备120的供电信息160。如上文中描述的,受电设备120所连接到的数据端口112-1和供电端口114-1之间是配对的。也就是说,供电设备110可以确定数据端口112-1和供电端口114-1是配合使用的并且连接至同一受电设备。因此,供电设备110可以使用数据端口112-1与受电设备120交换信息,来管理供电端口114-1的供电。例如,供电设备110可以经由数据端口112-1来接收受电设备120的供电信息160,以便于管理对受电设备120的供电,也即管理在供电端口114-1上的供电。At block 510, the
需要说明的是,如果数据端口112-1与供电端口114-1之间存在固定的配对关系,则在受电设备120连接到数据端口112-1和供电端口114-1之后,供电设备110就可以从受电设备120接收供电信息160,并根据供电信息160来管理供电端口114-1的供电,而无需查询数据端口112-1与供电端口114-1之间是否存在配对关系。然而,如果供电设备110的数据端口112与供电端口114之间的配对关系是可配置的,则在受电设备120连接到数据端口112-1和供电端口114-1之后,供电设备110可能需要在配置信息400中查找数据端口112-1与供电端口114-1之间是否存在配对关系。如果存在这样的配对关系,则供电设备110可以使用供电信息160来管理供电端口114-1的供电。后文将参考图8来详细描述这样的示例。It should be noted that, if there is a fixed pairing relationship between the data port 112-1 and the power supply port 114-1, after the
在一些实施例中,供电信息160可以包括用于调整供电端口114-1的供电功率的指示。也就是说,受电设备120可以在供电信息160中请求供电设备110调整供电端口114-1的供电功率。一般而言,供电端口114-1的供电功率是指供电设备110分配给供电端口114-1的可用功率,也即分配给受电设备120的可用最大功率。尽管受电受电设备120可能并未汲取该可用的最大功率,但是供电设备110仍然需要将该可用最大功率“预留”给供电端口114-1,而不能分配给其他的供电端口。In some embodiments, powering
例如,假设供电设备110向供电端口114-1分配(或预留)30瓦的供电功率,则受电设备120可以在30瓦功率内按需消耗功率。如果受电设备120使用的功率超出了30瓦,则供电设备110可以停止对受电设备120的供电。然而,在一些情况下,受电设备120可能确实需要消耗比供电端口114-1的当前供电功率更高的功率。因此,受电设备120可以在供电信息160中包括提高供电端口114-1的供电功率的请求。在供电设备110处,如果供电设备110具有尚未分配的可用供电功率,则供电设备110可以提高供电端口114-1的供电功率,以便满足受电设备120更高的用电需求。相反地,如果供电设备110没有剩余的供电功率可以分配给供电端口114-1,则供电设备110也可以不调整供电端口114-1的供电功率。For example, assuming that the
在另一些情况下,受电设备120可能发现需要消耗的功率将持续低于供电端口114-1的当前供电功率。例如,受电设备120可能预期将在一段时间内处于低功耗状态(例如,休眠模式)中,而无需供电设备110向供电端口114-1分配较大的供电功率。在这样的情况下,受电设备120可以在供电信息160中包括降低供电端口114-1的供电功率的请求。在接收到受电设备120发出的降低供电端口114-1的供电功率的请求之后,供电设备110可以降低供电端口114-1的供电功率,从而提高供电设备110的剩余可用供电功率并降低供电设备110的总功耗。备选地或另外地,供电设备110可以将回收的供电功率分配给其他的供电端口以用于向其他受电设备供电。这有利于供电设备110的供电功率的灵活合理的调配。In other cases, the
在一些实施例中,供电信息160可以包括受电设备120的供电优先级,从而供电设备110可以根据受电设备120的供电优先级来向受电设备120供电。例如,供电设备110可以依据受电设备120的供电优先级向受电设备120提供相应的供电保障。具体地,在图1的示例中,如果受电设备120相对于受电设备130具有更高的供电优先级,则在可用供电功率不足的情况下,供电设备110可以优先保证受电设备120的供电,而在必要时停止对受电设备130的供电。需要说明的是,供电设备110对受电设备120相对于受电设备130的优先供电是通过设置供电端口114-1和114-2的供电优先级来实现的。也就是说,供电设备110可以参考受电设备120在供电信息160中提供的设备供电优先级,来设置供电端口114-1在所有供电端口114中的端口供电优先级。例如,为了将受电设备120的供电优先级设置为高于受电设备130,供电设备110可以将供电端口114-1的供电优先级设置为高于供电端口114-2的供电优先级。In some embodiments, the
在其他实施例中,供电信息160还可以包括与受电设备120的供电有关的其他信息。例如,供电信息160可以包括受电设备120期望的任何其他的供电参数,诸如,供电电压等。又例如,供电信息160可以包括受电设备120期望的供电方式,诸如,在特定时间段内提供低功率供电,在另一特定时间段内提供高功率供电,等等。总之,受电设备120可以经由数据端口112-1向供电设备110提供与受电设备120的供电有关的任何信息。在一些实施例中,为了更好地向受电设备120供电,供电设备110可以经由数据端口112-1就受电设备120的供电与受电设备120进行通信协商并且达成一致。例如,供电设备110在框510处接收受电设备120的供电信息160可以是该通信协商过程的一部分。后文将参考图6A、图6B和图7来具体描述这样的实施例。In other embodiments, the
在框520处,基于受电设备120的供电信息160,供电设备110可以经由供电端口114-1向受电设备120供电。例如,如果供电信息160表明受电设备120请求降低供电端口114-1的供电功率,则供电设备110可以相应地减小供电端口114-1的供电功率,从而回收可用的供电功率并提高剩余的可用供电功率。又例如,如果供电信息160表明受电设备120请求提高供电端口114-1的供电功率,则供电设备110可以视情况来决定是否提高供电端口114-1的供电功率。具体地,如果供电设备110不具有剩余的可用供电功率,或者即使供电设备110有剩余的可用供电功率,但是存在比受电设备120的供电优先级更高的受电设备也请求提高供电功率,则供电设备110可以不提高供电端口114-1的供电功率。如果有可用的额外供电功率,则供电设备110可以提高供电端口114-1的供电功率。再例如,如果供电信息160中包括受电设备120的供电优先级,则供电设备110可以根据受电设备120的供电优先级的高低来向受电设备120提供相应的供电保障。在其他实施例中,供电信息160还可能指示与受电设备120的供电有关的任何其他信息。在这些的实施例中,供电设备110可以利用供电信息160中的这些信息来更好地经由供电端口114-1向受电设备120供电,从而改进供电设备110向受电设备120提供的供电。At
借助于示例方法500,在数据端口112-1与供电端口114-1分离的情况下,通过将数据端口112-1与供电端口114-1配对,供电设备110可以经由数据端口112-1从受电设备120接收受电设备120的供电信息160,并且在配对的供电端口114-1上根据供电信息160向受电设备120提供特定于受电设备120的供电,以满足受电设备120的个性化的用电需求。以此方式,通过使用示例方法500,本公开的实施例的供电设备110可以解决传统供电设备在数据端口与供电端口分离的场景中存在的问题,从而具有分离的数据端口112-1和供电端口114-1的供电设备110可以向受电设备120提供高性能的供电。By way of
如上文在描述示例方法500的框510时提到的,为了更好地向受电设备120供电,供电设备110可以经由数据端口112-1就受电设备120的供电与受电设备120进行通信协商,并且最终达成一致,从而可以解决传统供电设备因为数据端口和供电端口分离造成的无法与受电设备进行供电协商的问题。例如,供电设备110在框510处接收受电设备120的供电信息160可以是该通信协商过程的一部分。在一些实施例中,这样的通信协商可以基于链路层发现协议(LLDP)来实现。例如,供电设备110与受电设备120之间发送的各种信息可以包括在LLDP报文内自定义的“类型/长度/值”(Type/Length/Value,TLV)字段中,以实现供电设备110与受电设备120之间的供电功率协商、供电功率的动态分配、供电优先级协商,等等。应当明白,这里提到的链路层发现协议和TLV字段仅是示例性的,无意以任何方式限制本公开的范围。本公开的实施例可以等同地适用于任何其他的当前已有的或未来开发的通信协议或字段。下文将参考图6A、图6B和图7来具体描述供电设备110与受电设备120之间的通信协商过程的示例。As mentioned above when describing block 510 of
图6A示出了根据本公开的实施例的供电设备110与受电设备120协商供电功率的示例通信过程600的示意图。需要说明的是,为了论述的目的,下文将参考图1的供电设备110与受电设备120来描述示例通信过程600。然而,应当明白,示例通信过程600也可以等同地在根据本公开的实施例的供电设备与任何其他适合的受电设备之间执行。FIG. 6A shows a schematic diagram of an
如图6A所示,在受电设备120连接到供电设备110的已配对的供电端口114-1和数据端口112-1之后,受电设备120可以经由数据端口112-1向供电设备110发送610用于调整供电端口114-1的供电功率的指示605。相对应地,供电设备110可以经由数据端口112-1从受电设备120接收620用于调整供电端口114-1的供电功率的指示605。例如,受电设备120可能将在较长时间内处于低功耗状态,则受电设备120可以基于链路层发现协议LLDP与供电设备110协商供电端口114-1的供电功率。例如,受电设备120经由数据端口112-1向供电设备110发送降低供电端口114-1的供电功率的请求。相反地,如果受电设备120需要消耗比供电端口114-1的供电功率更高的功率,则受电设备120可以在指示605中请求供电设备110向供电端口114-1分配更多的供电功率。在一些实施例中,受电设备120可以周期性地向供电设备110发送受电设备120当前所需要的供电功率。在这样的实施例中,如果受电设备120所需要的供电功率发生变化,则可以认为受电设备120发送了用于调整供电端口114-1的供电功率的指示605。在其他实施例中,替代周期性地发送指示605,受电设备120也可以在所需要的供电功率发生变化时向供电设备110发送指示605。As shown in FIG. 6A, after the
在从受电设备120接收620到指示605之后,取决于不同的场景,供电设备110可以经由数据端口112-1向受电设备120发送630供电端口114-1的供电功率615,也即,供电设备110分配或预留给数据端口112-1的供电功率615。相应地,受电设备120可以经由数据端口112-1从供电设备110接收640供电端口114-1的供电功率615。例如,如果指示605是请求降低供电端口114-1的供电功率,则供电设备110可以向受电设备120发送630供电端口114-1的降低后的供电功率615。以此方式,供电设备110的剩余的可用供电功率可以被提高,这有利于供电设备110的供电功率的灵活合理的调配。又例如,如果指示605是请求提高供电端口114-1的供电功率,并且供电设备110确定供电端口114-1的供电功率可以被提高,诸如供电设备110还具有未分配的供电功率,或者受电设备120具有高供电优先级,则供电设备110可以向受电设备120发送630供电端口114-1的提高后的供电功率615。以此方式,供电设备110可以满足受电设备120的用电需求,从而提高向受电设备120的供电性能。After receiving 620 the
再例如,如果指示605是请求提高供电端口114-1的供电功率,并且供电设备110确定供电端口114-1的供电功率无法被提高,诸如供电设备110不具有未分配的供电功率,或者受电设备120具有低供电优先级而另一高供电优先级的受电设备正在请求分配更高的供电功率,则供电设备110可以向受电设备120发送630供电端口114-1的未改变的供电功率615,从而以隐式的方式通知受电设备120提高供电功率的请求被拒绝。在其他实施例中,供电设备110也可以经由数据端口112-1向受电设备120发送显式通知,以指示提高供电端口114-1的供电功率的请求被拒绝。For another example, if the
通过通信过程600,受电设备120可以经由数据端口112-1将期望的供电端口114-1的供电功率告知供电设备110,而供电设备110也可以经由数据端口112-1向受电设备120通知调整后的(或未经调整的)供电端口114-1的供电功率,从而及时且高效地完成供电设备110与受电设备120之间关于供电端口114-1的供电功率的协商。由此,供电设备110可以在可能的范围内根据受电设备120的用电需求来及时调整供电端口114-1的供电功率,以满足受电设备120的个性化需求,提高针对受电设备120的供电性能。此外,由于供电设备110向受电设备120提供的供电功率可以实现动态化调整,所以可以避免传统的供电设备由于供电功率不足引起的受电设备掉电。Through the
图6B示出了根据本公开的实施例的供电设备110与受电设备120协商供电功率的另一示例通信过程650的示意图。需要说明的是,为了论述的目的,下文将参考图1的供电设备110与受电设备120来描述示例通信过程650。然而,应当明白,示例通信过程650也可以等同地在根据本公开的实施例的供电设备与任何其他适合的受电设备之间执行。FIG. 6B shows a schematic diagram of another
如图6B所示,在受电设备120连接到供电设备110的已配对的供电端口114-1和数据端口112-1之后,供电设备110可以经由数据端口112-1向受电设备120发送660供电端口114-1的供电能力信息(本文中也简称为能力信息)的指示625。相对应地,受电设备120可以经由数据端口112-1从供电设备110接收670供电端口114-1的供电能力信息的指示625。在一些实施例中,供电端口的供电能力可以是指供电端口的最大供电功率,而供电设备110与受电设备120协商的供电功率将等于或低于该最大供电功率。仅作为示例而非限制,供电端口114-1的供电能力可能是40瓦,而供电设备110向供电端口114-1分配的供电功率可能是30瓦,低于最大供电功率40瓦。在一些情况下,例如由于其他更高优先级的受电设备连接到供电设备110,供电设备110可能需要降低供电端口114-1的最大供电功率。相反地,如果供电设备110发现还具有剩余未分配的供电功率,供电设备110也可以提高供电端口114-1的最大供电功率。因此,如果供电设备110确定供电端口114-1的最大供电功率将被调整,则供电设备110可以向受电设备120发送660指示625。在一些实施例中,供电设备110可以周期性地向受电设备120发送供电端口114-1的供电能力信息的指示625,而不论供电端口114-1的最大供电功率是否发生变化。在其他实施例中,替代周期性地发送指示625,供电设备110也可以在供电端口114-1的最大供电功率发生变化时向受电设备120发送指示625。As shown in FIG. 6B, after
在从供电设备110接收到指示625之后,取决于不同的场景,受电设备120可以经由数据端口112-1向供电设备110发送680用于调整供电端口114-1的供电功率的指示605。相应地,供电设备110可以经由数据端口112-1从受电设备120接收690指示605。例如,不论指示625是降低、提高还是保持供电端口114-1的最大供电功率,受电设备120可以视情况而经由数据端口112-1向供电设备110发送用于调整供电端口114-1的供电功率的指示605,以向供电设备110申请等于或低于供电端口114-1的最大供电功率的供电功率。以此方式,受电设备120可以根据供电端口114-1的供电能力来向供电设备110请求适当的供电功率,从而有利于供电设备110和受电设备120高效地协商出合理的供电功率。需要说明的是,如果受电设备120确定供电端口114-1的供电功率无需调整,则受电设备120可以向供电设备110发送680指示605以指示与此前使用的相同的供电功率,从而以隐式的方式通知供电设备110无需调整供电端口114-1的供电功率。在其他实施例中,受电设备120也可以经由数据端口112-1向供电设备110发送显式通知以指示供电端口114-1的供电功率无需调整。After receiving the
通过通信过程650,供电设备110可以经由数据端口112-1向受电设备120通知供电端口114-1的供电能力,也即最大供电功率。如此,受电设备120可以根据供电端口114-1的供电能力来向供电设备110请求适当的供电功率,从而有利于供电设备110和受电设备120高效地协商出合理的供电功率,进而提高供电设备110针对受电设备120的供电性能。Through the
图7示出了根据本公开的实施例的供电设备110与受电设备120协商供电优先级的示例通信过程700的示意图。需要说明的是,为了论述的目的,下文将参考图1的供电设备110与受电设备120来描述示例通信过程700。然而,应当明白,示例通信过程700也可以等同地在根据本公开的实施例的供电设备与任何其他适合的受电设备之间执行。FIG. 7 shows a schematic diagram of an
如图7所示,在受电设备120连接到供电设备110的已配对的供电端口114-1和数据端口112-1之后,受电设备120可以经由数据端口112-1向供电设备110发送710受电设备120的供电优先级705。相对应地,供电设备110可以经由数据端口112-1从受电设备120接收720受电设备120的供电优先级705。在一些实施例中,供电优先级705可以是受电设备120自带的设备优先级,并且可以根据不同受电设备的重要性高低来设置。例如,如果受电设备120是互联网电话设备,则受电设备120可以被设置有较高的供电优先级705。又例如,如果受电设备120是娱乐设备,则受电设备120可以被设置有较低的供电优先级705。将理解,这里描述的不同类型的受电设备120具有或高或低的供电优先级仅是示例性的,无意以任何方式限制本公开的范围。在其他实施例中,取决于具体的系统环境和应用场景,娱乐设备也可能带有高于互联网电话设备的供电优先级。在一些实施例中,受电设备120可以周期性地向供电设备110发送710受电设备120的供电优先级705,以便供电设备110可以实时地评估受电设备120在连接到供电设备110的所有受电设备中的重要性,从而可以灵活地调整受电设备120的实际供电优先级,也即供电端口114-1的端口供电优先级。As shown in FIG. 7, after
在接收到受电设备120的供电优先级705之后,供电设备110可以基于各个供电端口114上所连接的受电设备的供电优先级,来设置各个供电端口114的端口供电优先级,也即各个受电设备在供电设备110处的实际供电优先级。例如,参考图1,假设连接到供电设备110的供电端口114-1的受电设备120是互联网电话设备,其供电优先级可以为“极高(Critical)”。另外,假设连接到供电设备110的供电端口114-2的受电设备130是网络摄像机,其供电优先级可以为“高(High)”。此外,假设连接到供电设备110的供电端口114-3的受电设备(未示出)是娱乐设备,其供电优先级可以为“低(Low)”。在这种情况下,供电设备110可以相应地将供电端口114-1的供电优先级设置为“极高”,将供电端口114-2的供电优先级设置为“高”,而将供电端口114-3的供电优先级设置为“低”。After receiving the
需要说明的是,供电设备110在设置供电端口114的端口供电优先级时,并非需要与受电设备本身的设备供电优先级完全一致。在一些实施例中,在设置各个供电端口114的供电优先级时,供电设备110还可以考虑到特定的系统环境和应用场景等其他因素。例如,如果连接至供电端口114-3的上述娱乐设备正在参与竞技,则供电设备110可以将供电端口114-1和114-3的供电优先级设置为“极高”,而将供电端口114-2的供电优先级设置为“高”。备选地,供电设备110可以将供电端口114-3的供电优先级设置为“极高”,将供电端口114-1的供电优先级设置为“高”,而将供电端口114-2的供电优先级设置为“低”,等等。将明白,在这种特定场景下,各个供电端口114的供电优先级的其他设置方式也是可能的,只要使得供电端口114-3的具有相对高的供电优先级即可。It should be noted that when the
应当注意,这里列出的各个受电设备120和130等以及各个供电端口114的设备供电优先级体系和端口供电优先级体系仅是示意性的,无意以任何方式限制本公开的范围。在其他实施例中,供电设备110的各个供电端口114可以具有“极高”、“高”和“低”三种供电优先级,而受电设备可以带有更为精细的供电优先级划分体系,诸如,由数字1、2、3、4和5表示的五级供电优先级。又例如,受电设备可以具有“极高”、“高”和“低”三种供电优先级,而供电设备110的各个供电端口114可以被设置有更为精细的供电优先级划分体系,诸如,由数字1、2、3、4和5表示的五级供电优先级。再例如,受电设备和各个供电端114两者均可以具有任何数目的优先级级别的供电优先级。It should be noted that the device power supply priority system and port power supply priority system of each
在设置受电设备120的实际供电优先级,也即,供电端口114-1的供电优先级之后,供电设备110可以经由数据端口112-1向受电设备120发送730供电端口114-1的供电优先级715。相对应地,受电设备120可以经由数据端口112-1从供电设备110接收740供电端口114-1的供电优先级715。如此,受电设备120可以获知供电端口114-1的供电优先级715,也即,受电设备120在供电设备110处的实际供电优先级。因此,受电设备120可以根据该实际供电优先级来规划受电设备120的操作。例如,如果受电设备120被通知其在供电设备110处具有较高的实际供电优先级,则受电设备120可以认为其供电具有高保障,从而可以执行重要性更高的操作。相反地,如果受电设备120被通知其在供电设备110处具有较低的实际供电优先级,则受电设备120可以认为其供电不具有保障,从而可以放弃重要性高的操作。After setting the actual power supply priority of the
通过通信过程700,供电设备110可以经由数据端口112-1来获得受电设备120的设备供电优先级,从而为受电设备120的供电端口114-1确定端口供电优先级。因此,供电设备110可以根据受电设备120的供电优先级来向受电设备120提供相应的供电保障,从而更好地管理受电设备120的供电并且满足受电设备120的用电需求。例如,如果受电设备120具有高供电优先级,当供电设备110遇到输入功率突降时,供电设备110可以保证受电设备120的正常供电。Through the
如上文在描述示例方法500的框510时提到的,如果供电设备110的数据端口112与供电端口114之间的配对关系是可配置的,则在受电设备120连接到数据端口112-1和供电端口114-1之后,供电设备110可能需要在配置信息400中查找数据端口112-1与供电端口114-1之间是否存在配对关系。如果存在这样的配对关系,则供电设备110可以使用受电设备120的供电信息160来管理供电端口114-1的供电。下文将参考图8来描述这样的实施例。As mentioned above when describing block 510 of
图8示出了根据本公开的实施例的在供电端口114-1与数据端口112-1之间的配对关系为可配置时供电设备110的示例操作过程800的流程图。需要指出的是,示例操作过程800可以认为是上文描述的示例方法500在一些情况下的具体示例。在一些实施例中,示例操作过程800可以由示例系统环境100中的供电设备110来实现,例如可以由供电设备110的处理器或处理单元来实现。在其他实施例中,示例操作过程800也可以由独立于示例系统环境100的供电设备来实现。为了便于说明且不失一般性,将参考图1以供电设备110执行示例操作过程800向受电设备120供电作为示例来论述示例操作过程800。然而,应当理解,示例操作过程800也可以等同地由本公开的供电设备110执行以向连接到其供电端口的任何其他受电设备供电。8 illustrates a flowchart of an example
在框810处,供电设备110可以在各个供电端口114上检测是否有受电设备连接到供电端口。例如,当受电设备120连接到供电端口114-1时,供电设备110可以检测到受电设备120已连接至供电端口114-1。因此,供电设备110可以及时地发现受电设备120已连接到供电端口114-1,进而相应地向受电设备120提供供电并且可能随后经由配对的数据端口112-1对受电设备120进行供电管理。在一些实施例中,该检测过程可以类似于以太网供电协议中规定的供电设备对受电设备的检测过程(也称为物理探测过程),诸如,IEEE 802.3协议中的基本探测流程。例如,供电设备110可以通过检测电源输出线对之间的阻容值来判断受电设备是否存在。在一些实施例中,检测阶段输出电压可以为2.8V-10V,电压极性可以与52V输出一致。只有检测到受电设备,供电设备110才会进行下一步的操作。在一些实施例中,受电设备存在的特征为直流阻抗在19K-26.5KΩ之间,且容值不超过150nF。如果供电设备110检测到的特征阻容不符合以上标准定义的值,即可以认为对端设备为非标准的受电设备,则供电设备110可以不进行供电。如果供电设备110检测到的特征阻容符合以上标准定义的值,则供电设备110可以进入第二阶段分级阶段。At
另外,在框810处,在检测到连接到供电端口114-1的受电设备120之后,供电设备110还可以对受电设备120进行分级,以确定受电设备120属于哪个功率级别,并且以分级得到的功率级别(例如,受电设备120的额定功率)向受电设备120初步供电。例如,在对受电设备120的分级过程中,供电设备110可以确定受电设备120的功耗。具体地,供电设备110可以通过检测电源输出电流来确定受电设备120的功率等级。在一些实施例中,分级阶段的端口输出电压可以为15.5V-20.5V,电压极性可以与52V电压输出一致。在一些实施例中,受电设备120可以从线上吸收一个恒定电流(分级特征信号),向供电设备110表明自己所需的最大功率。供电设备110可以测量这个电流,以确定受电设备120属于哪个功率级别。在一些实施例中,分级期间使用的供电设备110的电流可以限制到100mA,以避免损坏受电设备120,而且连接时间可以不超过75ms,以对受电设备120功耗加以控制。在初步供电阶段中,当供电设备110检测到供电端口114-1上的受电设备120属于合法的受电设备时,并且供电设备110已完成对此受电设备120的分类,则供电设备110可以开始对受电设备120进行供电,输出例如48V的电压。In addition, at
应当理解,这里所列举的各种参数的具体数值仅为示例性的,无意以任何方式限制本公开的范围。在其他实施例中,上文描述的所有相关参数均可以具有任何其他适当的取值。此外,在其他实施例中,对受电设备的检测过程(或者分级过程、初步供电过程等)也可以遵循目前已有的或将来开发的其他类似的协议,或者直接利用机械或电学等物理检测手段来实现。此外,还应当明白,供电设备110对受电设备120的分级和初步供电对于框810并不是必需的而是可选的,供电设备110可以在检测到受电设备120之后,直接进入到框820。It should be understood that the specific numerical values of various parameters listed here are only exemplary, and are not intended to limit the scope of the present disclosure in any way. In other embodiments, all relevant parameters described above may have any other appropriate values. Furthermore, in other embodiments, the detection process (or classification process, preliminary power supply process, etc.) means to achieve. In addition, it should also be understood that the classification and preliminary power supply to the
在框820处,供电设备110可以查询连接有受电设备的供电端口的配对的数据端口。例如,在受电设备120连接到供电端口114-1之后,供电设备110可以在上文描述的配置信息400中查找与受电设备120所连接到的供电端口114-1配对的数据端口。以此方式,供电设备110可以及时地确定与连接有受电设备的供电端口相对应的数据端口,以便从该数据端口获得受电设备的供电信息。在一些实施例中,由于供电端口114与数据端口112之间的配对关系的配置信息400是用户可编辑的,因此在虚线框825处,用户可以配置供电端口114与数据端口112之间的配对关系。需要说明的是,这里使用虚线框825来表示由用户执行的操作,而不属于供电设备110执行的操作。例如,用户可以访问供电设备110的管理界面,通过修改配置信息400的内容来设置供电端口114与数据端口112之间的配对关系。通常,用户可能在任何时间设置该配对关系。例如,在受电设备120连接到供电端口114-1之前,用户可能已经设置好与供电端口114-1配对是数据端口112-1。又例如,在受电设备120已经连接到供电端口114-1一段时间之后,用户可能才设置与供电端口114-1配对的是数据端口112-1。因此,为了及时地查找到与供电端口114-1配对的数据端口,供电设备110可以周期性地查询上述配置信息400,以确定与供电端口114-1配对的数据端口。备选地,供电设备110也可以针对各个数据端口112进行定期轮询,以确定数据端口是否存在配对的供电端口。如果数据端口存在配对的供电端口,则供电设备110可以在后续的操作中在数据端口上发送与配对的供电端口有关的信息。At
在框830处,供电设备110可以判断连接有受电设备的供电端口是否存在配对的数据端口。例如,对于连接有受电设备120的供电端口114-1而言,供电设备110可以确定供电端口114-1是否存在配对的数据端口。例如,在用户将数据端口112-1设置为与供电端口114-1配对之后,供电设备110即可以在配置信息400中查询到供电端口114-1存在配对的数据端口112-1。否则,如果用户尚未设置供电端口114-1的配对数据端口,则供电设备110可以通过查询配置信息400而确定供电端口114-1不存在配对的数据端口。At
在框840处,如果供电设备110确定连接有受电设备的供电端口存在配对的数据端口,则供电设备110可以经由该配对的数据端口来与该受电设备进行供电协商。例如,如果供电设备110确定供电端口114-1存在配对的数据端口112-1,则供电设备110可以经由数据端口112-1来与受电设备120进行供电协商。具体的供电协商过程可以类似于上文参考图6A、图6B和图7描述的供电功率和供电优先级的通信协商过程。更一般地,供电设备110和受电设备120也可以经由数据端口112-1来协商关于供电端口114-1的任何其他方面的供电参数。例如,供电设备110可以将供电端口114-1的各种供电参数包含在链路层发现协议报文中的TLV字段中,并且经由数据端口112-1发送给受电设备120。同样地,受电设备120也可以将其期望的供电参数包含在链路层发现协议报文中的TLV字段中,并且经由数据端口112-1发送给供电设备110。在一些实施例中,供电设备110和受电设备120可以经由数据端口112-1周期性地互相发送链路层发现协议报文。At
在框850处,在完成经由数据端口112-1的供电协商之后,供电设备110可以按照协商后的供电参数经由供电端口114-1向受电设备120供电。例如,如果供电设备110和受电设备120就供电功率完成协商,则供电设备110可以按照经协商的供电端口114-1的供电功率向受电设备120供电。又例如,如果供电设备110和受电设备120就供电优先级完成协商,则供电设备110可以按照经协商的供电端口114-1的供电优先级向受电设备120供电。更一般地,如果供电设备110和受电设备120就其他供电参数完成协商,则供电设备110可以按照供电端口114-1的任何其他经协商的供电参数向受电设备120供电。At
另一方面,如果供电设备110在框830处确定供电端口114-1不存在配对的数据端口,则在框860处,供电设备110可以按照受电设备120的默认供电参数经由供电端口114-1向受电设备120供电。例如,供电设备110可以按照供电端口114-1(或受电设备120)的默认供电功率向受电设备120供电。又例如,供电设备110可以按照供电端口114-1的默认供电优先级向受电设备120供电。更一般地,供电设备110可以按照供电端口114-1的任何其他默认供电参数向受电设备120供电。需要说明的是,如果供电设备110在框820处已经对受电设备120按照默认的供电功率(例如,受电设备120的额定功率)进行初步供电,则在框860处,供电设备110可以保持以该默认的供电功率向受电设备120供电。On the other hand, if the
通过示例操作过程800,在供电端口114与数据端口112之间的配对关系为配置的情况下,通过例如查询配置信息400的方式,供电设备110可以及时地确定连接有受电设备的供电端口是否被配对至数据端口。如果存在配对的数据端口,则供电设备110可以在该数据端口上与受电设备进行供电协商,从而向受电设备提供具有针对性的供电,以提高受电设备的供电性能和操作性能。如果不存在配对的数据端口,则供电设备110也可以向受电设备提供初步供电,使得受电设备可以正常运转。因此,使用示例操作过程800,供电设备110的供电性能可以被改进。Through the
图9示出了根据本公开的实施例的具有示例端口布置900的供电设备110的框图。如图9所示,除了数据端口112和供电端口114以外,供电设备110还可以包括处理器115和存储器117。在一些实施例中,存储器117可以存储有指令118,例如计算机程序指令118,并且存储器117和计算机程序指令118可以被配置为,与处理器115一起,使供电设备110执行根据本公开的实施例的各种示例方法或示例过程。例如,各种示例方法或示例过程可以包括图5中描绘的用于管理供电的示例方法500,图6A、图6B和图7中描绘的示例通信过程600、650和700,以及图8中描绘的示例操作过程800,等等。FIG. 9 shows a block diagram of a
在图9的示例端口布置900中,数据端口112成行地被布置,而供电端口114在数据端口112行的下方成行地被布置。通过这样的排布方式,数据端口适合于与较近的供电端口配对,以方便使用例如图3中描绘的一体式光电复合线缆300。将理解,图9中将数据端口112行描绘为位于供电端口114行的上方仅为示例性的,无意以任何方式限制本公开的范围。在其他实施例中,数据端口112行也可以位于供电端口114行的下方。In the
在一些实施例中,处理器115可以具有适合于本地技术环境的任何类型,并且作为非限制性示例可以包括以下一个或多个:通用计算机、专用计算机、微处理器、数字信号处理器(DSP)和基于多核处理器架构的处理器。此外,供电设备110可以具有多个处理器,诸如在时间上跟随与主处理器同步的时钟进行从动的专用集成电路芯片。In some embodiments,
在一些实施例中,存储器117可以包括一个或多个非易失性存储器和一个或多个易失性存储器。非易失性存储器的示例包括但不限于只读存储器(ROM)、电可擦除可编程只读存储器(EPROM)、闪存、硬盘、压缩盘(CD)、数字多功能盘(DVD)、以及其他磁存储设备和/或光学存储设备。易失性存储器的示例包括但不限于随机存储存取器(RAM)或者在掉电期间无法持续的其他易失性存储器。In some embodiments,
在一些实施例中,计算机程序指令118可以包括计算机可执行指令,这些指令可以由相关联的处理器115可执行。计算机程序指令118可以被存储在存储器117的ROM中。处理器115可以通过将计算机程序指令118加载到存储器117的RAM中,来执行各种适当的动作和处理。In some embodiments,
在一些实施例中,存储器117和计算机程序指令118可以被配置为,与处理器115一起,使供电设备110经由数据端口112-1从受电设备120接收受电设备120的供电信息。此外,存储器117和计算机程序指令118还可以被配置为,与处理器115一起,使供电设备110经由供电端口114-1并基于供电信息向受电设备120供电。因此,相比于传统的供电设备,本公开的实施例的供电设备在数据端口与供电端口分离的情况下向受电设备供电的性能可以被改进。In some embodiments,
在一些实施例中,供电设备110的数据端口112-1可以通过光电复合线缆200或300中的光纤210和220或者310和320连接到受电设备120,并且供电设备110的供电端口114-1通过光电复合线缆200或300中的供电线240和250或者340和350连接到受电设备120。以此方式,供电设备与受电设备之间可以实现高速率的数据传输,同时实现远距离的电力传输。In some embodiments, the data port 112-1 of the
在一些实施例中,存储器117还用于存储配置信息。该配置信息可以指示供电端口114-1与数据端口112-1之间的配对关系。例如,供电设备110可以将该配置信息存储在存储器117中。如此,供电设备可以便利地且高效地管理供电端口与数据端口之间的配对关系。In some embodiments,
在一些实施例中,存储器117和计算机程序指令118还可以被配置为,与处理器115一起,使供电设备110响应于受电设备120连接到供电端口114-1,在配置信息800中查找与供电端口114-1配对的数据端口112-1。以此方式,供电设备可以及时地确定与连接有受电设备的供电端口相对应的数据端口,以便从该数据端口获得受电设备的供电信息。In some embodiments,
在一些实施例中,配置信息800是用户可编辑的。如此,供电设备的供电端口与数据端口之间的配对关系可以由用户根据具体的应用环境和场景来决定,从而可以提高供电设备的使用灵活性。In some embodiments,
在一些实施例中,供电信息160可以包括以下至少一项:用于调整供电端口的供电功率的指示,以及受电设备的供电优先级。因此,供电设备可以根据受电设备的请求来调整供电端口的供电功率,还可以根据受电设备的供电优先级来向受电设备提供相应的供电保障,从而更好地满足受电设备的用电需求。In some embodiments, the
在一些实施例中,存储器117和计算机程序指令118还可以被配置为,与处理器115一起,使供电设备110经由数据端口112-1向受电设备120发送供电端口114-1的能力信息。如此,受电设备可以根据供电端口的供电能力来向供电设备请求适当的供电功率,从而有利于供电设备和受电设备高效地协商出合理的供电功率。In some embodiments, the
在一些实施例中,供电设备110还包括检测电路119。检测电路119可以用于检测受电设备是否连接到供电端口。例如,检测电路119可以包括基于机械检测或电学检测等物理检测手段的检测电路,诸如符合于以太网供电协议中的供电设备中的检测芯片,等等。因此,供电设备可以及时地发现受电设备已连接到供电端口,进而相应地向受电设备提供供电并且可能经由配对的数据端口对受电设备进行供电管理。应当理解,尽管图9将检测电路119示出为设置在处理器115的外部,但是在其他实施例中,检测电路119也可以是处理器115的一部分。此外,在一些实施例中,检测受电设备是否连接到供电端口的功能也可以由检测电路119和处理器115一起配合实现。In some embodiments, the
图10示出了根据本公开的实施例的具有另一示例端口布置1000的供电设备110的框图。如所示出的,图10中描绘的供电设备110与图9是类似的,不同之处在于数据端口112和供电端口114的排布方式。在图10的示例端口布置1000中,数据端口112集中地布置在供电设备110的一侧,而供电端口114集中地布置在供电设备110的另一侧。通过这样的排布方式,数据端口适合与任何供电端口配对而无需考虑两者之间的物理距离,因此更适合于使用例如图2中描绘的光纤215和供电线245分离的光电复合线缆200。将理解,在图10中,数据端口112位于供电设备110的左侧而供电端口114位于供电设备110的右侧仅为示例性的,无意以任何方式限制本公开的范围。在其他实施例中,供电端口114可以位于供电设备110的左侧而数据端口112可以位于供电设备110的右侧,或者供电端口114和数据端口112可以位于供电设备110上的任何其他适当部分。FIG. 10 shows a block diagram of a
此外,还需要说明的是,根据本公开的实施例的供电设备110的数据端口112和供电端口114可以具有任何合适的排布方式,而不限于图9中描绘的成行排布方式和图10中描绘的成区域排布方式。例如,数据端口112和供电端口114的排布方式可以充分利用供电设备110上的空间,并且同时可以有利于连接到不同的受电设备。In addition, it should be noted that the
图11示出了根据本公开的实施例的用于管理供电的示例装置1100的框图。在一些实施例中,示例装置1100可以在示例系统环境100中的供电设备110处实现,例如可以由供电设备110的处理器或处理单元来实现。在一些实施例中,示例装置1100可以实现为供电设备110。在其他实施例中,示例装置1100也可以由独立于示例系统环境100的供电设备来实现。FIG. 11 shows a block diagram of an
在一些实施例中,示例装置1100可以执行示例方法500,并且可以包括用于执行示例方法500的相应步骤的部件。如本文中使用的,部件可以按任何适合的形式来实施。例如,部件可以被实施在电路中或软件模块中。又例如,部件可以包括至少一个处理器和至少一个存储器。至少一个存储器可以存储有计算机程序代码。至少一个存储器和计算机程序代码被配置为,与至少一个处理器一起,使示例装置1100执行示例方法500或本公开中的其他示例过程的相应步骤。In some embodiments, the
在一些实施例中,示例装置1100可以包括用于接收的部件1110和用于供电的部件1120。具体地,部件1110可以用于经由数据端口从受电设备接收受电设备的供电信息,数据端口与供电端口配对并且是彼此分离的物理端口。部件1120可以用于经由供电端口并基于供电信息向受电设备供电。通过示例装置1100,供电设备在数据端口与供电端口分离的情况下向受电设备供电的性能可以被改进。In some embodiments, the
在一些实施例中,供电设备的数据端口可以通过光电复合线缆中的光纤连接到受电设备,并且供电设备的供电端口通过光电复合线缆中的供电线连接到受电设备。以此方式,供电设备与受电设备之间可以实现高速率的数据传输,同时实现远距离的电力传输。In some embodiments, the data port of the power supply device can be connected to the powered device through the optical fiber in the photoelectric composite cable, and the power supply port of the power supply device is connected to the powered device through the power supply line in the photoelectric composite cable. In this way, high-speed data transmission and long-distance power transmission can be realized between the power supply device and the power receiving device.
在一些实施例中,示例装置1100还可以包括:用于存储配置信息的部件,配置信息指示供电端口与数据端口之间的配对关系。如此,供电设备可以便利地且高效地管理供电端口与数据端口之间的配对关系。In some embodiments, the
在一些实施例中,示例装置1100还可以包括:用于响应于受电设备连接到供电端口,在配置信息中查找与供电端口配对的数据端口的部件。以此方式,供电设备可以及时地确定与连接有受电设备的供电端口相对应的数据端口,以便从该数据端口获得受电设备的供电信息。In some embodiments, the
在一些实施例中,配置信息可以是用户可编辑的。如此,供电设备的供电端口与数据端口之间的配对关系可以由用户根据具体的应用环境和场景来决定,从而可以提高供电设备的使用灵活性。In some embodiments, configuration information may be user editable. In this way, the pairing relationship between the power supply port and the data port of the power supply device can be determined by the user according to specific application environments and scenarios, thereby improving the flexibility of use of the power supply device.
在一些实施例中,供电信息可以包括以下至少一项:用于调整供电端口的供电功率的指示,以及受电设备的供电优先级。因此,供电设备可以根据受电设备的请求来调整供电端口的供电功率,还可以根据受电设备的供电优先级来向受电设备提供相应的供电保障,从而更好地满足受电设备的用电需求。In some embodiments, the power supply information may include at least one of the following: an indication for adjusting the power supply power of the power supply port, and a power supply priority of the powered device. Therefore, the power supply device can adjust the power supply power of the power supply port according to the request of the power receiving device, and can also provide corresponding power supply protection to the power receiving device according to the power supply priority of the power receiving device, so as to better meet the needs of the power receiving device. electricity demand.
在一些实施例中,示例装置1100还可以包括:用于经由数据端口向受电设备发送供电端口的能力信息的部件。如此,受电设备可以根据供电端口的供电能力来向供电设备请求适当的供电功率,从而有利于供电设备和受电设备高效地协商出合理的供电功率。In some embodiments, the
在一些实施例中,示例装置1100还可以包括:用于检测受电设备连接到供电端口的部件。因此,供电设备可以及时地发现受电设备已连接到供电端口,进而相应地向受电设备提供供电并且经由配对的数据端口对受电设备进行供电管理。In some embodiments, the
图12示出了根据本公开的实施例的示例计算机可读介质1200的示意图。如图12所示,计算机可读介质1200可以采用CD或DVD形式或任何其他适当的形式,具有存储于其上的指令118。如上文在描述图9和10时提到的,本公开的实施例可通过指令118来实现,以使供电设备110执行如前文参考图5至图8所论述的本公开的任何示例方法或示例过程。当然,本公开的实施例也可以由硬件或软件与硬件的组合来实现。在一些实施例中,有形地包含指令118的计算机可读介质1200可以被包括在供电设备110(例如,存储器117)中,或者被包括在供电设备110可访问的其他存储设备中。供电设备110可以将指令118从计算机可读介质1200读取到存储器117的RAM中以用于执行。计算机可读介质1200可以包括各种有形非易失性存储设备,诸如ROM、EPROM、闪存、硬盘、CD、DVD等。FIG. 12 shows a schematic diagram of an example computer-
一般而言,本公开的各种示例实施例可以在硬件或专用电路、软件、逻辑,或其任何组合中实施。某些方面可以在硬件中实施,而其他方面可以在可以由控制器、微处理器或其他计算设备执行的固件或软件中实施。例如,在一些实施例中,本公开的各种示例(例如方法、装置或设备)可以部分或者全部被实现在计算机可读介质上。当本公开的实施例的各方面被图示或描述为框图、流程图或使用某些其他图形表示时,将理解此处描述的方框、装置、系统、技术或方法可以作为非限制性的示例在硬件、软件、固件、专用电路或逻辑、通用硬件或控制器或其他计算设备,或其某些组合中实施。In general, the various example embodiments of the present disclosure may be implemented in hardware or special purpose circuits, software, logic, or any combination thereof. Certain aspects may be implemented in hardware, while other aspects may be implemented in firmware or software, which may be executed by a controller, microprocessor or other computing device. For example, in some embodiments, various examples (eg, methods, apparatuses, or devices) of the present disclosure may be partially or fully implemented on a computer-readable medium. When aspects of the embodiments of the present disclosure are illustrated or described as block diagrams, flowcharts, or using some other graphical representation, it is to be understood that the blocks, devices, systems, techniques, or methods described herein may serve as non-limiting Examples are implemented in hardware, software, firmware, special purpose circuits or logic, general purpose hardware or controllers or other computing devices, or some combination thereof.
本公开还提供了存储在非瞬态计算机可读存储介质上的至少一种计算机程序产品。计算机程序产品包括计算机可执行指令,计算机可执行指令诸如包括在目标的物理或者虚拟处理器上的器件中执行的程序模块中,用以执行上文关于图5至图8描述的示例方法或示例过程500、600、650、700和800。一般而言,程序模块可以包括例程、程序、库、对象、类、组件、数据结构等,其执行特定的任务或者实现特定的抽象数据结构。在各实施例中,程序模块的功能可以在所描述的程序模块之间合并或者分割。用于程序模块的计算机可执行指令可以在本地或者分布式设备内执行。在分布式设备中,程序模块可以位于本地和远程存储介质二者中。The present disclosure also provides at least one computer program product stored on a non-transitory computer-readable storage medium. The computer program product comprises computer-executable instructions, such as included in a program module executed in a device on a physical or virtual processor of a target, for performing the example methods or example methods described above with respect to FIGS. 5-8
用于实现本公开的方法的程序代码可以用一种或多种编程语言编写。这些计算机程序代码可以提供给通用计算机、专用计算机或其他可编程的数据处理装置的处理器,使得程序代码在被计算机或其他可编程的数据处理装置执行的时候,引起在流程图和/或框图中规定的功能/操作被实施。程序代码可以完全在计算机上、部分在计算机上、作为独立的软件包、部分在计算机上且部分在远程计算机上或完全在远程计算机或服务器上执行。Program codes for implementing the methods of the present disclosure may be written in one or more programming languages. These computer program codes can be provided to processors of general-purpose computers, special-purpose computers, or other programmable data processing devices, so that when the program codes are executed by the computer or other programmable data processing devices, The functions/operations specified in are implemented. The program code may execute entirely on the computer, partly on the computer, as a stand-alone software package, partly on the computer and partly on a remote computer or entirely on the remote computer or server.
在本公开的上下文中,计算机程序代码或相关数据可以由任何适当的载体来承载,以使设备、装置或处理器能够执行上文描述的各种过程和操作。载体的示例包括信号、计算机可读介质,等等。In the context of the present disclosure, computer program code or related data may be carried by any suitable carrier to enable a device, apparatus or processor to perform the various processes and operations described above. Examples of carriers include signals, computer readable media, and the like.
计算机可读介质可以是计算机可读信号介质或计算机可读存储介质。计算机可读介质可以包括但不限于电子的、磁的、光学的、电磁的、红外的或半导体系统、装置或设备,或其任意合适的组合。机器可读存储介质的更详细示例包括带有一根或多根导线的电气连接、便携式计算机磁盘、硬盘、随机存储存取器(RAM)、只读存储器(ROM)、可擦除可编程只读存储器(EPROM或闪存)、光纤、便携式压缩盘只读存储器(CD-ROM)、光存储设备、磁存储设备,或其任意合适的组合。The computer readable medium may be a computer readable signal medium or a computer readable storage medium. A computer readable medium may include, but is not limited to, an electronic, magnetic, optical, electromagnetic, infrared, or semiconductor system, apparatus, or device, or any suitable combination thereof. More detailed examples of machine-readable storage media include electrical connections with one or more wires, portable computer diskettes, hard disks, random storage access memory (RAM), read-only memory (ROM), erasable programmable read-only memory (EPROM or flash memory), optical fiber, compact disc read only memory (CD-ROM), optical storage device, magnetic storage device, or any suitable combination thereof.
另外,尽管操作以特定顺序被描绘,但这并不应该理解为要求此类操作以示出的特定顺序或以相继顺序完成,或者执行所有图示的操作以获取期望结果。在某些情况下,多任务或并行处理会是有益的。同样地,尽管上述论述包含了某些特定的实施细节,但这并不应解释为限制任何发明或权利要求的范围,而应解释为对可以针对特定发明的特定实施例的描述。本说明书中在分离的实施例的上下文中描述的某些特征也可以整合实施在单个实施例中。反之,在单个实施例的上下文中描述的各种特征也可以分离地在多个实施例或在任意合适的子组合中实施。In addition, while operations are depicted in a particular order, this should not be understood as requiring that such operations be performed in the particular order shown, or in sequential order, or that all illustrated operations be performed, to achieve desirable results. In some cases, multitasking or parallel processing can be beneficial. Likewise, while the above discussion contains certain specific implementation details, these should not be construed as limitations on the scope of any invention or claims, but rather as a description of particular embodiments that may be directed to particular inventions. Certain features that are described in this specification in the context of separate embodiments can also be implemented in combination in a single embodiment. Conversely, various features that are described in the context of a single embodiment can also be implemented in multiple embodiments separately or in any suitable subcombination.
尽管已经以特定于结构特征和/或方法动作的语言描述了主题,但是应当理解,所附权利要求中限定的主题并不限于上文描述的特定特征或动作。相反,上文描述的特定特征和动作是作为实现权利要求的示例形式而被公开的。Although the subject matter has been described in language specific to structural features and/or methodological acts, it is to be understood that the subject matter defined in the appended claims is not limited to the specific features or acts described above. Rather, the specific features and acts described above are disclosed as example forms of implementing the claims.
| Application Number | Priority Date | Filing Date | Title | 
|---|---|---|---|
| CN202010556475.4ACN113810202B (en) | 2020-06-17 | 2020-06-17 | Method and apparatus for managing power supply, power supply device, and computer-readable medium | 
| PCT/CN2021/100194WO2021254351A1 (en) | 2020-06-17 | 2021-06-15 | Method and apparatus for power sourcing management, power sourcing equipment, and computer readable medium | 
| Application Number | Priority Date | Filing Date | Title | 
|---|---|---|---|
| CN202010556475.4ACN113810202B (en) | 2020-06-17 | 2020-06-17 | Method and apparatus for managing power supply, power supply device, and computer-readable medium | 
| Publication Number | Publication Date | 
|---|---|
| CN113810202A CN113810202A (en) | 2021-12-17 | 
| CN113810202Btrue CN113810202B (en) | 2022-12-13 | 
| Application Number | Title | Priority Date | Filing Date | 
|---|---|---|---|
| CN202010556475.4AActiveCN113810202B (en) | 2020-06-17 | 2020-06-17 | Method and apparatus for managing power supply, power supply device, and computer-readable medium | 
| Country | Link | 
|---|---|
| CN (1) | CN113810202B (en) | 
| WO (1) | WO2021254351A1 (en) | 
| Publication number | Priority date | Publication date | Assignee | Title | 
|---|---|---|---|---|
| CN113872773A (en)* | 2020-06-30 | 2021-12-31 | 华为技术有限公司 | Power negotiation method for power over Ethernet, power supply equipment, power supply system and storage medium | 
| CN115378048A (en)* | 2022-08-24 | 2022-11-22 | 珠海录看数字技术有限公司 | Distributed POE power supply self-adaptive scheduling system | 
| US12124305B2 (en)* | 2022-10-07 | 2024-10-22 | Hewlett Packard Enterprise Development Lp | Power priority adjustment in power over ethernet system based on availability of alternative power source | 
| DE102022126893A1 (en)* | 2022-10-14 | 2024-04-25 | Turck Holding Gmbh | Methods and interconnection for operating a network or network section | 
| CN116566754B (en)* | 2023-05-09 | 2025-07-25 | 易识科技(广东)有限责任公司 | POE power supply control method, system and readable storage medium | 
| CN119835552B (en)* | 2024-12-30 | 2025-09-19 | 武汉市鼎迅科技有限公司 | Optical fiber powered wireless access controller and communication method thereof | 
| Publication number | Priority date | Publication date | Assignee | Title | 
|---|---|---|---|---|
| CN1794636A (en)* | 2004-12-21 | 2006-06-28 | 阿尔卡特公司 | Power prioritization in power source equipment | 
| CN101223487A (en)* | 2005-07-19 | 2008-07-16 | 罗斯蒙德公司 | Field-installed process equipment | 
| CN108111316A (en)* | 2016-11-25 | 2018-06-01 | 新华三技术有限公司 | A kind of PSE | 
| CN108933671A (en)* | 2017-05-26 | 2018-12-04 | 华为技术有限公司 | Power supply management method, equipment and system | 
| CN110266546A (en)* | 2019-06-29 | 2019-09-20 | 苏州浪潮智能科技有限公司 | A method, device and readable medium for configuring switch ports | 
| Publication number | Priority date | Publication date | Assignee | Title | 
|---|---|---|---|---|
| CN101099397B (en)* | 2004-05-03 | 2012-02-08 | 泛达公司 | Powered patch panel | 
| EP1958375B1 (en)* | 2005-11-15 | 2014-06-25 | Linear Technology Corporation | Dynamic power allocation in system for providing power over communication link | 
| US8099616B2 (en)* | 2006-06-12 | 2012-01-17 | Cisco Technology Inc. | Power over ethernet port enabling and disabling responsive to access control system | 
| US7870401B2 (en)* | 2007-08-15 | 2011-01-11 | Broadcom Corporation | System and method for power over Ethernet provisioning for a computing device using a network user profile | 
| CN104618123B (en)* | 2015-01-21 | 2018-10-26 | 新华三技术有限公司 | A kind of method of supplying power to and device | 
| US10779380B2 (en)* | 2018-03-21 | 2020-09-15 | Abl Ip Holding Llc | Power over ethernet exit signage | 
| CN111262339B (en)* | 2018-11-30 | 2022-05-17 | 华为技术有限公司 | Power supply method, power supply device and storage medium | 
| CN109660365A (en)* | 2019-02-26 | 2019-04-19 | 新华三技术有限公司 | A kind of method for controlling power supply and device | 
| Publication number | Priority date | Publication date | Assignee | Title | 
|---|---|---|---|---|
| CN1794636A (en)* | 2004-12-21 | 2006-06-28 | 阿尔卡特公司 | Power prioritization in power source equipment | 
| CN101223487A (en)* | 2005-07-19 | 2008-07-16 | 罗斯蒙德公司 | Field-installed process equipment | 
| CN108111316A (en)* | 2016-11-25 | 2018-06-01 | 新华三技术有限公司 | A kind of PSE | 
| CN108933671A (en)* | 2017-05-26 | 2018-12-04 | 华为技术有限公司 | Power supply management method, equipment and system | 
| CN110266546A (en)* | 2019-06-29 | 2019-09-20 | 苏州浪潮智能科技有限公司 | A method, device and readable medium for configuring switch ports | 
| Title | 
|---|
| Communication between industrial computer and micro-energy pulse power supply with nanosecond pulse width;Zhang Yong-bin, Ji Fang, Liu Guang-min and Zhang Lian-xin;《International Conference on Advanced Technology of Design and Manufacture (ATDM 2010)》;20120209;全文* | 
| 供电服务督检现场检查仪优化设计研究;韦雅等;《自动化与仪器仪表》;20200325(第03期);全文* | 
| Publication number | Publication date | 
|---|---|
| CN113810202A (en) | 2021-12-17 | 
| WO2021254351A1 (en) | 2021-12-23 | 
| Publication | Publication Date | Title | 
|---|---|---|
| CN113810202B (en) | Method and apparatus for managing power supply, power supply device, and computer-readable medium | |
| US10732704B2 (en) | Selection of power in power over Ethernet systems | |
| US10474460B2 (en) | Technologies for optical communication in rack clusters | |
| US9742704B2 (en) | Physical layer management at a wall plate device | |
| US10887116B2 (en) | Ethernet power distribution | |
| US20130102237A1 (en) | Server, server component and method for controlling fan speed | |
| US8788865B2 (en) | Method and system for redeploying powered devices from a power sourcing equipment with insufficient power capacity to another power sourcing equipment with excess power capacity | |
| CN106165346A (en) | Manage multiple Ethernet links | |
| US12093120B2 (en) | Lighting method and apparatus based on AMD platform, device and readable medium | |
| US9201202B2 (en) | QSFP to SFP+ adapter cable | |
| CN111147365A (en) | Modularization thing networking gateway equipment | |
| EP2981004A1 (en) | Interconnection system and apparatus, and data transmission method | |
| US9690343B2 (en) | Power distribution system | |
| US11237583B2 (en) | Method, device, and computer program product | |
| US7673078B2 (en) | Communicating configuration information over standard interconnect link | |
| US10203737B2 (en) | Power distribution between multiple powering devices and powered device(s) | |
| CN113872773A (en) | Power negotiation method for power over Ethernet, power supply equipment, power supply system and storage medium | |
| US11516936B2 (en) | Hybrid management switch/cabling system | |
| CN112202570B (en) | Switch equipment and compatible power supply method | |
| CN208924274U (en) | Managed switches | |
| CN206117687U (en) | Power supply communication system based on G. x agreement | |
| JP5906293B2 (en) | Optical line terminator | |
| US11822406B2 (en) | Powering patch panel system | |
| CN120812105A (en) | Method and device for accurately identifying and independently controlling multiple sets of similar audio equipment, electronic equipment and storage medium | |
| WO2024256217A1 (en) | Dc-powered lighting device and method for controlling operation thereof | 
| Date | Code | Title | Description | 
|---|---|---|---|
| PB01 | Publication | ||
| PB01 | Publication | ||
| SE01 | Entry into force of request for substantive examination | ||
| SE01 | Entry into force of request for substantive examination | ||
| GR01 | Patent grant | ||
| GR01 | Patent grant |