Movatterモバイル変換


[0]ホーム

URL:


CN113791510A - Preparation system for electrochromic glass - Google Patents

Preparation system for electrochromic glass
Download PDF

Info

Publication number
CN113791510A
CN113791510ACN202110900734.5ACN202110900734ACN113791510ACN 113791510 ACN113791510 ACN 113791510ACN 202110900734 ACN202110900734 ACN 202110900734ACN 113791510 ACN113791510 ACN 113791510A
Authority
CN
China
Prior art keywords
layer coating
coating station
electrochromic
station
conductive layer
Prior art date
Legal status (The legal status is an assumption and is not a legal conclusion. Google has not performed a legal analysis and makes no representation as to the accuracy of the status listed.)
Pending
Application number
CN202110900734.5A
Other languages
Chinese (zh)
Inventor
王世岚
李瑞佼
郝艺
周波
王丽红
胡恒广
Current Assignee (The listed assignees may be inaccurate. Google has not performed a legal analysis and makes no representation or warranty as to the accuracy of the list.)
Tunghsu Technology Group Co Ltd
Hebei Guangxing Semiconductor Technology Co Ltd
Original Assignee
Tunghsu Technology Group Co Ltd
Hebei Guangxing Semiconductor Technology Co Ltd
Priority date (The priority date is an assumption and is not a legal conclusion. Google has not performed a legal analysis and makes no representation as to the accuracy of the date listed.)
Filing date
Publication date
Application filed by Tunghsu Technology Group Co Ltd, Hebei Guangxing Semiconductor Technology Co LtdfiledCriticalTunghsu Technology Group Co Ltd
Priority to CN202110900734.5ApriorityCriticalpatent/CN113791510A/en
Publication of CN113791510ApublicationCriticalpatent/CN113791510A/en
Pendinglegal-statusCriticalCurrent

Links

Images

Classifications

Landscapes

Abstract

Translated fromChinese

本发明涉及一种用于电致变色玻璃的制备系统,该制备系统包括:第一玻璃体制备工位组,包括多个依次设置的第一镀膜工位,使得第一玻璃基材形成为包括第一导电层和第一电致变色层的第一玻璃体;第二玻璃体制备工位组,包括多个依次设置的第二镀膜工位,使得第二玻璃基材形成为包括第二导电层、第二电致变色层、电解质层的第二玻璃体;贴合工位,用于对第一玻璃体和第二玻璃体执行贴合工序以形成电致变色玻璃,能快速地完成电致变色玻璃的制备,节省了各个镀膜工序之间的包装、转存和清洗等工序。

Figure 202110900734

The invention relates to a preparation system for electrochromic glass. The preparation system includes: a first glass body preparation station group, including a plurality of first coating stations arranged in sequence, so that the first glass substrate is formed to include a first glass body a first glass body with a conductive layer and a first electrochromic layer; a second glass body preparation station group, including a plurality of second coating stations arranged in sequence, so that the second glass substrate is formed to include a second conductive layer, a second glass body Two electrochromic layers, the second glass body of the electrolyte layer; the bonding station is used to perform the bonding process on the first glass body and the second glass body to form the electrochromic glass, which can quickly complete the preparation of the electrochromic glass, It saves the process of packaging, transfer and cleaning between each coating process.

Figure 202110900734

Description

Preparation system for electrochromic glass
Technical Field
The invention relates to the field of electrochromic glass preparation equipment, in particular to a preparation system of electrochromic glass.
Background
The electrochromic glass is characterized in that under the action of an external electric field, a cathode and anode electrochromic layer in the electrochromic glass with a seven-layer structure selectively absorbs or reflects external heat radiation by adjusting the absorption and transmission of light, prevents internal heat from diffusing outwards, and achieves the purposes of improving the natural illumination degree, saving energy, preventing peeping, preventing dazzling and the like.
In the working process of the electrochromic device, an external voltage is used for driving an electrode inside the electrochromic device to realize the color change of the device. The driving voltage of the electrochromic device is extremely low, usually between-3V and 3V, and a converter is required to be connected to convert the voltage into a voltage value required by electrochromic.
The existing electrochromic element structure comprises a seven-layer structure, an electrolyte layer is arranged between a first electrochromic layer and a second electrochromic layer of a core, a first transparent conducting layer is arranged between the first electrochromic layer and a first base material layer, a second transparent conducting layer is arranged between the second electrochromic layer and a second base material layer, the first base material layer and the second base material layer are arranged relatively, the first transparent conducting layer and the second transparent conducting layer are externally connected with a controller, through providing a direct current power supply, the color change of the first electrochromic layer and the second electrochromic layer can be controlled, the change comprises transparent state and colored state two-phase change, two different colors are changed, and different numbers are displayed and different symbols are displayed.
The existing preparation method of electrochromic glass is film-plating layer by layer, namely, an ITO film is plated on a glass original sheet, after inspection and cleaning, WO3 or NiO2 is continuously plated on the ITO film respectively, finally, a conducting layer is plated, after inspection and cleaning, glass plated with a negative anode film is attached, and an electrolyte film layer is plated on an intermediate layer, so that film-plating of each electrochromic layer is completed.
Disclosure of Invention
The invention aims to provide a preparation system for electrochromic glass, which can quickly complete the preparation of the electrochromic glass and save the processes of packaging, transferring, cleaning and the like among various coating processes.
In order to achieve the above object, the present invention provides a manufacturing system for electrochromic glass, including:
a first glass body preparation station group comprising a plurality of first coating stations arranged in sequence so that the first glass substrate is formed into a first glass body comprising a first conductive layer and a first electrochromic layer;
the second glass body preparation station group comprises a plurality of second coating stations which are arranged in sequence, so that a second glass substrate is formed into a second glass body comprising a second conductive layer, a second electrochromic layer and an electrolyte layer;
and the laminating station is used for carrying out a laminating process on the first glass body and the second glass body to form the electrochromic glass.
In an embodiment of the invention, the preparation system further comprises a transfer device for performing transfer operations between the coating stations.
In an embodiment of the invention, the transfer device comprises at least one robotic arm having a plurality of degrees of freedom.
In an embodiment of the present invention, the first glass body manufacturing station includes a first conductive layer coating station and a first electrochromic layer coating station, and the second glass body manufacturing station includes a second conductive layer coating station, a second electrochromic layer coating station, and an electrolyte layer coating station.
In an embodiment of the present invention, the first conductive layer coating station and the first electrochromic layer coating station are symmetrically arranged with respect to the second conductive layer coating station and the second electrochromic layer coating station, respectively, the electrolyte layer coating station is arranged at a downstream end of the second electrochromic layer coating station, and the bonding station is located at both downstream ends of the first electrochromic layer coating station and the electrolyte layer coating station.
In an embodiment of the present invention, the first conductive layer coating station, the first electrochromic layer coating station, the second conductive layer coating station, the second electrochromic layer coating station, the electrolyte layer coating station, and the bonding station are arranged in a ring shape, and the transfer device is arranged inside the ring shape.
In an embodiment of the invention, the manufacturing system further comprises a first glass substrate inlet and a second glass substrate inlet disposed proximate the first conductive layer coating station and the second conductive layer coating station, respectively.
In an embodiment of the present invention, the manufacturing system further comprises an electrochromic glass vent disposed proximate the laminating station.
In an embodiment of the present invention, the preparation system has a closed working space, and the first conductive layer coating station, the first electrochromic layer coating station, the second conductive layer coating station, the second electrochromic layer coating station and the electrolyte layer coating station are located in the working space.
In an embodiment of the present invention, the first conductive layer coating station, the first electrochromic layer coating station, the second conductive layer coating station, the second electrochromic layer coating station, and the electrolyte layer coating station each have an independent and closed working chamber or coating apparatus.
According to the technical scheme, the first glass body preparation station and the second glass body preparation station are arranged simultaneously, so that the first glass body and the second glass body are respectively coated in the first glass body preparation station and the second glass body preparation station to form the first glass body and the second glass body, and finally the first glass body and the second glass body are attached to form the electrochromic glass.
Drawings
The accompanying drawings, which are included to provide a further understanding of the invention and are incorporated in and constitute a part of this specification, illustrate embodiments of the invention and together with the description serve to explain the principles of the invention and not to limit the invention. In the drawings:
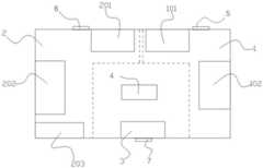
FIG. 1 is a schematic view of a system for producing electrochromic glass according to an embodiment of the present invention;
FIG. 2 is a sequence diagram of stations for preparing electrochromic glazing by the preparation system in the example of the invention.
Description of the reference numerals
1 first glass bodypreparation work station 101 first conducting layer coating station
102 first electrochromic layer coating station 2 second glass body preparation station
201 second conductivelayer coating station 202 second electrochromic layer coating station
203 coating station of electrolyte layer 3 laminating station
4 transfer device 5 first glass substrate inlet
6 second glass substrate inlet 7 electrochromic glass outlet
Detailed Description
The following detailed description of embodiments of the invention refers to the accompanying drawings. It should be understood that the detailed description and specific examples, while indicating the present invention, are given by way of illustration and explanation only, not limitation.
In one embodiment of the present invention, a novel manufacturing system for electrochromic glass is provided, as shown in fig. 1-2, the manufacturing system includes a first glass body manufacturing station 1, a second glass body manufacturing station 2 and a bonding station 3, wherein the first glass body manufacturing station 1 includes a plurality of first coating stations arranged in sequence, so that a first glass substrate is formed into a first glass body including a first conductive layer and a first electrochromic layer, specifically, the cleaned and dried first glass substrate is transported to the first coating station for performing a first conductive layer coating process, and a first conductive layer is coated on one side surface of the first glass substrate at the first coating station; after the first conductive layer is coated, the first conductive layer is continuously conveyed to another first coating station for executing a first electrochromic layer coating process, and a first electrochromic layer is coated on the first conductive layer, so that the preparation of the first glass body with two layers of films is finished; the second glass body preparation station group 2 comprises a plurality of second coating stations which are arranged in sequence, so that a second glass substrate is formed into a second glass body comprising a second conductive layer, a second electrochromic layer and an electrolyte layer, the second glass substrate which is to be cleaned and dried is conveyed to the second coating station for executing a second conductive layer coating process, and a second conductive layer is coated on one side surface of the second glass substrate on the second coating station; after the second conductive layer is coated, the second conductive layer is continuously conveyed to another second coating station for executing a second electrochromic layer coating process, and a second electrochromic layer is coated above the second conductive layer; after the second electrochromic layer is coated, the second electrochromic layer is continuously conveyed to another second coating station for executing an electrolyte layer coating process, and an electrolyte layer is coated on the second electrochromic layer until the preparation of the second glass body with the three-layer film is finished; further, the thickness of each film layer in the first glass body and the second glass body is determined according to technical parameters such as manufacturing materials of each film layer, accelerating voltage and the like, and the technical parameters are determined according to actual preparation requirements.
The attaching station 3 is used for performing an attaching process on the first glass body and the second glass body to form electrochromic glass, namely after the first glass body and the second glass body are respectively prepared, the first glass body and the second glass body are conveyed to the attaching station 3, and the first glass body and the second glass body are attached together at the station to form a 7-layer structure of 'a first glass substrate, a first conductive layer, a first electrochromic layer, an electrolyte layer, a second electrochromic layer, a second conductive layer and a second glass substrate', so that the electrochromic glass is prepared.
According to the preparation system for the electrochromic glass provided by the embodiment of the invention, the first glass body preparation station group 1, the second glass body preparation station group 2 and the laminating station 3 are arranged at the same time, so that the first glass substrate and the second glass substrate are respectively coated with films to form the first glass body and the second glass body, and finally the first glass body and the second glass body are laminated to form the electrochromic glass.
In an embodiment of the present invention, in the embodiment of the present invention, the preparation system further includes a transfer device 4 for performing a transfer operation between the coating stations, so that the transfer efficiency between the coating stations is improved, the preparation efficiency of the electrochromic glass is further increased as a whole, and the manual transfer cost is reduced.
In one embodiment of the present invention, the transferring device 4 comprises at least one mechanical arm with multiple degrees of freedom, and further preferably, in this embodiment, the transferring device 4 is preferably two mechanical arms with five degrees of freedom or six degrees of freedom, the movement is flexible, and the working space is large, and the two transferring devices 4 are respectively used for transferring operations between the first glass body preparation process and the second glass body preparation process; in addition, the tail end of the mechanical arm is provided with a suction mechanism (such as a sucker) for stabilizing the transported object so as to better meet the transportation requirement.
In one embodiment of the present invention, the first glass body manufacturing station 1 comprises a first conductivelayer coating station 101 and a first electrochromiclayer coating station 102, wherein the first conductivelayer coating station 101 is configured to perform a first conductive layer coating process on a first glass substrate, i.e., coating one side surface of the first glass substrate with a first conductive layer material, the first conductive layer material comprising one of ITO or FTO; the first electrochromiclayer coating station 102 is used for performing a first electrochromic layer coating process on the upper part of the first conductive layer, namely coating the upper surface of the first conductive layer with a first electrochromic layer material, wherein the first electrochromic layer material comprises WO3、MoO3、Nb2O5Or TiO2One of (1); the second glass body preparation station 2 comprises a second guideA second conductivelayer coating station 201, a second electrochromiclayer coating station 202 and an electrolytelayer coating station 203, wherein the second conductivelayer coating station 201 is used for performing a second conductive layer coating process on a second glass substrate, namely, a second conductive layer material is coated on one side surface of the second glass substrate, and the second conductive layer material is consistent with the first conductive layer material; the first electrochromiclayer coating station 102 is used for performing a second electrochromic layer coating process on the second conductive layer, namely coating a second electrochromic layer material on the upper surface of the second conductive layer, wherein the second electrochromic layer material is consistent with the first electrochromic layer material; the electrolytelayer coating station 203 is used for performing an electrolyte layer coating process on the second electrochromic layer, namely coating the upper surface of the second electrochromic layer with an electrolyte layer material comprising LiNbO3、LiAIO2Or LiTaO3One kind of (1).
In an embodiment of the present invention, the first conductivelayer coating station 101 and the first electrochromiclayer coating station 102 are symmetrically arranged with the second conductivelayer coating station 201 and the second electrochromiclayer coating station 202, respectively, and the electrolytelayer coating station 203 is arranged at the downstream end of the second electrochromiclayer coating station 202, so that the first glass body and the second glass body can be simultaneously and step by step processed, and the time difference between the processing of the first glass body and the processing of the second glass body is shortened as much as possible; further, the electrolytelayer coating station 203 in this embodiment may also be disposed at the downstream end of the first electrochromiclayer coating station 102, and the disposition at this position does not affect the manufacturing process and efficiency of the electrochromic glass; the laminating station 3 is located at the downstream end of the first electrochromiclayer coating station 102 and the electrolytelayer coating station 203, so that the distance between the laminating station 3 and the first electrochromiclayer coating station 102 and the distance between the laminating station 3 and the electrolytelayer coating station 203 are shortened, and the processed first glass body and the processed second glass body can be rapidly conveyed to the laminating station 3 for laminating.
In one embodiment of the invention, the first conductivelayer coating station 101, the first electrochromiclayer coating station 102, the second conductivelayer coating station 201, the second electrochromiclayer coating station 202, the electrolytelayer coating station 203 and the bonding station 3 are arranged in a ring shape, and the arrangement mode can greatly reduce the total floor area of the preparation system while ensuring that the preparation fluency of the electrochromic glass is not influenced; transfer equipment 4 arranges in annular inside, and further, the distance between transfer equipment 4 and each first coating film station, second coating film station or the laminating station 3 equals as far as possible, is favorable to transfer equipment 4's arm end to reach each first coating film station, second coating film station or laminating station 3, can transport smoothly, without obstacle when reducing transfer equipment 4 use quantity.
In one embodiment of the present invention, the manufacturing system further includes a first glass substrate inlet 5 and a second glass substrate inlet 6 disposed adjacent to the first conductivelayer coating station 101 and the second conductivelayer coating station 201, respectively, and further, in this embodiment, the first glass substrate inlet 5 and the second glass substrate inlet 6 are disposed in parallel, which facilitates the transfer device 4 to transfer the first glass substrate and the second glass substrate to the first conductivelayer coating station 101 and the second conductivelayer coating station 201 in a short distance and quickly.
In an embodiment of the present invention, the preparation system further includes an electrochromic glass outlet 7 disposed adjacent to the bonding station 3, which is beneficial for the transfer device 4 to transfer the prepared electrochromic glass out of the preparation system in a short distance and quickly, and avoids the electrochromic glass from being accumulated on the bonding station 3 in time due to transfer to affect the subsequent bonding station 3 of the first glass body and the second glass body.
In one embodiment of the present invention, the manufacturing system has a closed working space, and the first conductivelayer coating station 101, the first electrochromiclayer coating station 102, the second conductivelayer coating station 201, the second electrochromiclayer coating station 202, and the electrolytelayer coating station 203 are located in the working space. Specifically, a uniform working environment setting is adopted in a working space of the preparation system, and the working environment setting is determined according to the preparation method of the electrochromic glass. In an embodiment of the present invention, the electrochromic glass is prepared by a vacuum evaporation method, so that the inside of the working space of the preparation system is in a vacuum state to meet the requirement of the preparation environment of the vacuum evaporation method, that is, the first conductivelayer coating station 101, the first electrochromiclayer coating station 102, the second conductivelayer coating station 201, the second electrochromiclayer coating station 202 and the electrolytelayer coating station 203 are in a common vacuum environment.
In one embodiment of the present invention, the first conductivelayer coating station 101, the first electrochromiclayer coating station 102, the second conductivelayer coating station 201, the second electrochromiclayer coating station 202, and the electrolytelayer coating station 203 each have an independent and closed working chamber or coating apparatus. Specifically, each coating station of the preparation system is provided with an independent and closed working chamber, and the inside of the working chamber is determined according to the preparation method of the electrochromic glass, in one embodiment of the invention, the electrochromic glass is prepared by a magnetron sputtering method, that is, the preparation system in the embodiment is a magnetron sputtering system, the magnetron sputtering device in the magnetron sputtering system comprises two glass substrate inlets and an electrochromic glass outlet, the two inlets are respectively used for conveying a first glass substrate and a second glass substrate, and the electrochromic glass outlet is used for conveying the prepared electrochromic glass; the magnetron sputtering system comprises 5 working chambers which are respectively arranged at a first annular conductivelayer coating station 101, a first electrochromiclayer coating station 102, a second annular conductivelayer coating station 201, a second electrochromiclayer coating station 202 and an electrolytelayer coating station 203, wherein the targets of the five working chambers are respectively a first conductive layer, a first electrochromic layer, a second conductive layer, a second electrochromic layer and an electrolyte layer; furthermore, the magnetron sputtering system comprises a transfer device 4 arranged inside the ring for performing the transfer operation.
Further, if the electrochromic glass is prepared by using the sol-gel method, a sol-gel machine is respectively arranged at the first conductivelayer coating station 101, the first electrochromiclayer coating station 102, the second conductivelayer coating station 201, the second electrochromiclayer coating station 202, and the electrolytelayer coating station 203, so that the electrochromic glass is prepared by using the sol-gel method. In addition, if the preparation system provided by the invention adopts other preparation methods for preparation, the working spaces of the first conductivelayer coating station 101, the first electrochromiclayer coating station 102, the second conductivelayer coating station 201, the second electrochromiclayer coating station 202 and the electrolytelayer coating station 203 can be adaptively changed to meet the preparation requirements of other methods.
The preferred embodiments of the present application have been described in detail above with reference to the accompanying drawings, but the present application is not limited thereto. Within the scope of the technical idea of the present application, numerous simple modifications can be made to the technical solution of the present application, including combinations of the specific technical features in any suitable way, and in order to avoid unnecessary repetition, various possible combinations will not be further described herein. These simple modifications and combinations should also be considered as disclosed in the present application, and all fall within the scope of protection of the present application.
In this application, unless expressly stated or limited otherwise, the terms "mounted," "connected," "secured," and the like are to be construed broadly and can include, for example, fixed connections, removable connections, or integral parts; may be mechanically coupled, may be electrically coupled or may be in communication with each other; they may be directly connected or indirectly connected through intervening media, or they may be connected internally or in any other suitable relationship, unless expressly stated otherwise. The specific meaning of the above terms in the present application can be understood by those of ordinary skill in the art as appropriate.
In this application, unless expressly stated or limited otherwise, the first feature "on" or "under" the second feature may be directly contacting the first and second features or indirectly contacting the first and second features through intervening media. Also, a first feature "on," "over," and "above" a second feature may be directly or diagonally above the second feature, or may simply indicate that the first feature is at a higher level than the second feature. A first feature being "under," "below," and "beneath" a second feature may be directly under or obliquely under the first feature, or may simply mean that the first feature is at a lesser elevation than the second feature.
Although embodiments of the present application have been shown and described above, it is to be understood that the above embodiments are exemplary and not to be construed as limiting the present application, and that changes, modifications, substitutions and alterations can be made to the above embodiments by those of ordinary skill in the art within the scope of the present application.

Claims (10)

1. A production system for electrochromic glass, characterized in that it comprises:
a first glass body manufacturing station group (1) comprising a plurality of first coating stations arranged in sequence so that a first glass substrate is formed into a first glass body comprising a first conductive layer and a first electrochromic layer;
a second glass body preparation station group (2) which comprises a plurality of second coating stations arranged in sequence, so that a second glass substrate is formed into a second glass body comprising a second conductive layer, a second electrochromic layer and an electrolyte layer;
and the laminating station (3) is used for carrying out a laminating process on the first glass body and the second glass body so as to form the electrochromic glass.
2. The manufacturing system of claim 1, further comprising a transfer device for performing transfer operations between each coating station.
3. Preparation system according to claim 2, characterized in that the transfer device (4) comprises at least one robotic arm with multiple degrees of freedom.
4. A production system according to claim 1, wherein the first glass body production bay (1) comprises a first conductive layer coating station (101) and a first electrochromic layer coating station (102), and the second glass body production bay (2) comprises a second conductive layer coating station (201), a second electrochromic layer coating station (202), and an electrolyte layer coating station (203).
5. The manufacturing system according to claim 4, wherein the first conductive layer coating station (101), the first electrochromic layer coating station (102) are arranged symmetrically to the second conductive layer coating station (201), the second electrochromic layer coating station (202), respectively, the electrolyte layer coating station (203) is arranged at a downstream end of the second electrochromic layer coating station (202), and the attaching station (3) is simultaneously located at downstream ends of the first electrochromic layer coating station (102) and the electrolyte layer coating station (203).
6. The production system according to claim 5, wherein the first conductive layer coating station (101), the first electrochromic layer coating station (102), the second conductive layer coating station (201), the second electrochromic layer coating station (202), the electrolyte layer coating station (203), and the application station (3) are arranged in a ring shape, and the transfer device is arranged inside the ring shape.
7. A manufacturing system according to any one of claims 4 to 6, further comprising a first glass substrate inlet (5) and a second glass substrate inlet (6) disposed proximate the first conductive layer coating station (101) and the second conductive layer coating station (201), respectively.
8. A production system according to any one of claims 4 to 6, characterized in that it further comprises an electrochromic glass outlet (7) arranged in the immediate vicinity of the application station (3).
9. The manufacturing system according to claim 4, characterized in that it has a closed working space, in which the first conductive layer coating station (101), the first electrochromic layer coating station (102), the second conductive layer coating station (201), the second electrochromic layer coating station (202) and the electrolyte layer coating station (203) are located.
10. The production system according to claim 4, wherein the first conductive layer coating station (101), the first electrochromic layer coating station (102), the second conductive layer coating station (201), the second electrochromic layer coating station (202), and the electrolyte layer coating station (203) each have an independent and closed working chamber or coating apparatus.
CN202110900734.5A2021-08-062021-08-06 Preparation system for electrochromic glassPendingCN113791510A (en)

Priority Applications (1)

Application NumberPriority DateFiling DateTitle
CN202110900734.5ACN113791510A (en)2021-08-062021-08-06 Preparation system for electrochromic glass

Applications Claiming Priority (1)

Application NumberPriority DateFiling DateTitle
CN202110900734.5ACN113791510A (en)2021-08-062021-08-06 Preparation system for electrochromic glass

Publications (1)

Publication NumberPublication Date
CN113791510Atrue CN113791510A (en)2021-12-14

Family

ID=78877199

Family Applications (1)

Application NumberTitlePriority DateFiling Date
CN202110900734.5APendingCN113791510A (en)2021-08-062021-08-06 Preparation system for electrochromic glass

Country Status (1)

CountryLink
CN (1)CN113791510A (en)

Citations (32)

* Cited by examiner, † Cited by third party
Publication numberPriority datePublication dateAssigneeTitle
US4844591A (en)*1986-07-041989-07-04Saint-Gobain VitrageVariable transmission glazings and method of making same
JP2000338527A (en)*1999-06-012000-12-08Central Glass Co LtdDisplay element
WO2003012845A1 (en)*2001-07-312003-02-13Applied Materials, Inc.Semiconductor fabrication device and semiconductor fabrication method
WO2006069774A2 (en)*2004-12-282006-07-06Schott AgVacuum deposition system
US20070076286A1 (en)*2005-09-232007-04-05Yungeun SungElectrochromic device comprising protective inorganic solid electrolyte film and manufacturing method thereof
CN101130452A (en)*2006-08-252008-02-27深圳豪威真空光电子股份有限公司 Star-shaped double-rotation magnetron sputtering conductive glass coating production line and production process
US20090316248A1 (en)*2006-07-282009-12-24Chromogenics Sweden AbManufacturing of electrochromic devices
KR20110050226A (en)*2009-11-062011-05-13엘지디스플레이 주식회사 Manufacturing apparatus of flat panel display element
WO2011109688A1 (en)*2010-03-052011-09-09Sage Electrochromics, Inc.Lamination of electrochromic device to glass substrates
US20120218621A1 (en)*2009-10-232012-08-30Applied Materials, Inc.Materials and device stack for market viable electrochromic devices
CN102890381A (en)*2012-10-122013-01-23京东方科技集团股份有限公司Electrochromic device and preparation method thereof
US20130133814A1 (en)*2011-11-242013-05-30Tintable Smart Material Co., Ltd.Fabrication method of electrochromic device
CN103353700A (en)*2013-06-252013-10-16中国南玻集团股份有限公司Electrochromic glass, hollow glass and preparation methods thereof
US20140182125A1 (en)*2009-03-312014-07-03View, Inc.Temperable electrochromic devices
CN104407483A (en)*2014-12-252015-03-11中国科学院宁波材料技术与工程研究所Electrochromic device and preparation method and application thereof
WO2015032200A1 (en)*2013-09-052015-03-12华为技术有限公司All-solid-state electrochromic composite device and manufacturing method therefor
WO2015103433A1 (en)*2014-01-022015-07-09View, Inc.Thin-film devices and fabrication
KR101559314B1 (en)*2015-04-292015-10-13주식회사 삼호글라스Phosphorescent glass with pvc phosphorescent film, and preparation method of laminated glass and pair glass using the same
CN105204263A (en)*2015-09-282015-12-30杨林High-sun-blocking automobile window based on electrochromism device and manufacturing method thereof
KR20180027718A (en)*2016-09-062018-03-15주식회사 석원Electrochromic glass system, smart windows glass system using the electrochromic glass system and production method of smart windows glass system
CN108594557A (en)*2018-06-012018-09-28Oppo广东移动通信有限公司Electrochromism plank and preparation method, shell and electronic equipment
CN208270897U (en)*2018-05-082018-12-21东旭科技集团有限公司Flexible electro-chromic device
US20180373108A1 (en)*2016-03-082018-12-27Lg Chem, Ltd.Electrochromic device
KR20190004021A (en)*2017-07-032019-01-11주식회사 엘지화학Method for preparing an electrochromic film
CN109207954A (en)*2018-10-192019-01-15布勒莱宝光学设备(北京)有限公司Polychrome film glass and its production method and equipment
CN208459743U (en)*2018-04-252019-02-01东旭科技集团有限公司For controlling the device and electrochromic system of electrochomeric glass
US20190302561A1 (en)*2009-03-312019-10-03View, Inc.Electrochromic cathode materials
CN110629186A (en)*2019-09-252019-12-31李湘裔 Continuous deposition device for electrochromic functional thin film devices
WO2020033506A1 (en)*2018-08-092020-02-13Purdue Research FoundationMulti-layer optical materials systems and methods of making the same
CN112371678A (en)*2020-10-162021-02-19河北光兴半导体技术有限公司Substrate glass cleaning device
CN113039483A (en)*2018-11-282021-06-25法国圣戈班玻璃厂Method of making electrochromic glazing
CN113064309A (en)*2019-12-122021-07-02传奇视界有限公司Electrochromic glass and preparation method thereof

Patent Citations (32)

* Cited by examiner, † Cited by third party
Publication numberPriority datePublication dateAssigneeTitle
US4844591A (en)*1986-07-041989-07-04Saint-Gobain VitrageVariable transmission glazings and method of making same
JP2000338527A (en)*1999-06-012000-12-08Central Glass Co LtdDisplay element
WO2003012845A1 (en)*2001-07-312003-02-13Applied Materials, Inc.Semiconductor fabrication device and semiconductor fabrication method
WO2006069774A2 (en)*2004-12-282006-07-06Schott AgVacuum deposition system
US20070076286A1 (en)*2005-09-232007-04-05Yungeun SungElectrochromic device comprising protective inorganic solid electrolyte film and manufacturing method thereof
US20090316248A1 (en)*2006-07-282009-12-24Chromogenics Sweden AbManufacturing of electrochromic devices
CN101130452A (en)*2006-08-252008-02-27深圳豪威真空光电子股份有限公司 Star-shaped double-rotation magnetron sputtering conductive glass coating production line and production process
US20140182125A1 (en)*2009-03-312014-07-03View, Inc.Temperable electrochromic devices
US20190302561A1 (en)*2009-03-312019-10-03View, Inc.Electrochromic cathode materials
US20120218621A1 (en)*2009-10-232012-08-30Applied Materials, Inc.Materials and device stack for market viable electrochromic devices
KR20110050226A (en)*2009-11-062011-05-13엘지디스플레이 주식회사 Manufacturing apparatus of flat panel display element
WO2011109688A1 (en)*2010-03-052011-09-09Sage Electrochromics, Inc.Lamination of electrochromic device to glass substrates
US20130133814A1 (en)*2011-11-242013-05-30Tintable Smart Material Co., Ltd.Fabrication method of electrochromic device
CN102890381A (en)*2012-10-122013-01-23京东方科技集团股份有限公司Electrochromic device and preparation method thereof
CN103353700A (en)*2013-06-252013-10-16中国南玻集团股份有限公司Electrochromic glass, hollow glass and preparation methods thereof
WO2015032200A1 (en)*2013-09-052015-03-12华为技术有限公司All-solid-state electrochromic composite device and manufacturing method therefor
WO2015103433A1 (en)*2014-01-022015-07-09View, Inc.Thin-film devices and fabrication
CN104407483A (en)*2014-12-252015-03-11中国科学院宁波材料技术与工程研究所Electrochromic device and preparation method and application thereof
KR101559314B1 (en)*2015-04-292015-10-13주식회사 삼호글라스Phosphorescent glass with pvc phosphorescent film, and preparation method of laminated glass and pair glass using the same
CN105204263A (en)*2015-09-282015-12-30杨林High-sun-blocking automobile window based on electrochromism device and manufacturing method thereof
US20180373108A1 (en)*2016-03-082018-12-27Lg Chem, Ltd.Electrochromic device
KR20180027718A (en)*2016-09-062018-03-15주식회사 석원Electrochromic glass system, smart windows glass system using the electrochromic glass system and production method of smart windows glass system
KR20190004021A (en)*2017-07-032019-01-11주식회사 엘지화학Method for preparing an electrochromic film
CN208459743U (en)*2018-04-252019-02-01东旭科技集团有限公司For controlling the device and electrochromic system of electrochomeric glass
CN208270897U (en)*2018-05-082018-12-21东旭科技集团有限公司Flexible electro-chromic device
CN108594557A (en)*2018-06-012018-09-28Oppo广东移动通信有限公司Electrochromism plank and preparation method, shell and electronic equipment
WO2020033506A1 (en)*2018-08-092020-02-13Purdue Research FoundationMulti-layer optical materials systems and methods of making the same
CN109207954A (en)*2018-10-192019-01-15布勒莱宝光学设备(北京)有限公司Polychrome film glass and its production method and equipment
CN113039483A (en)*2018-11-282021-06-25法国圣戈班玻璃厂Method of making electrochromic glazing
CN110629186A (en)*2019-09-252019-12-31李湘裔 Continuous deposition device for electrochromic functional thin film devices
CN113064309A (en)*2019-12-122021-07-02传奇视界有限公司Electrochromic glass and preparation method thereof
CN112371678A (en)*2020-10-162021-02-19河北光兴半导体技术有限公司Substrate glass cleaning device

Similar Documents

PublicationPublication DateTitle
JP5551625B2 (en) Substrate processing apparatus and substrate processing method
JP7324209B2 (en) Coating removal for electrical connections on vehicle windows
CN110534651A (en)Perovskite solar battery and module and preparation method thereof
WO2012096144A1 (en)Substrate-processing device
CN111668375A (en) A kind of perovskite photovoltaic cell and its preparation method and the preparation method of photoelectric component
CN110629186A (en) Continuous deposition device for electrochromic functional thin film devices
CN117305772A (en) A single-chamber multi-layer film evaporation system and method
CN113791510A (en) Preparation system for electrochromic glass
CN115332293A (en) Two-terminal tandem solar cell based on MXene material interconnection and preparation method thereof
CN105206749A (en)Perovskite solar cell and preparation process thereof
CN115020785A (en) Cell stacking method, cell stacking device and cell production line
CN117135936B (en)Solar cell module, preparation method and system thereof, battery and power utilization device
CN211506169U (en)Double-sided automatic alignment exposure equipment
JP2004047261A (en) Photoelectrode, method for manufacturing photoelectrode, and solar cell
CN114632670B (en)Slit coating apparatus and method of using the same
CN115696941A (en)Z-type double-sided perovskite battery component and preparation method and application thereof
CN115000308A (en)Perovskite solar cell and preparation method thereof
CN115498118A (en)Perovskite solar cell module and preparation method thereof
CN210245517U (en)Photovoltaic module laminated structure and laminating equipment
KR101539959B1 (en)Method for manufacturing of Organic Photovoltaics
CN115568266A (en) Preparation method of perovskite thin film, perovskite thin film and flexible composite perovskite solar cell device
CN115274768A (en)Two-end type laminated solar cell based on MXene material interconnection and preparation method thereof
CN211284529U (en)Continuous deposition device for electrochromic functional thin film device
CN115241385A (en) Perovskite film layer and preparation method thereof, preparation system and perovskite battery
CN114083914B (en)Printing design method of solar cell, printing assembly and photovoltaic assembly

Legal Events

DateCodeTitleDescription
PB01Publication
PB01Publication
SE01Entry into force of request for substantive examination
SE01Entry into force of request for substantive examination
RJ01Rejection of invention patent application after publication
RJ01Rejection of invention patent application after publication

Application publication date:20211214


[8]ページ先頭

©2009-2025 Movatter.jp