Movatterモバイル変換


[0]ホーム

URL:


CN113787327A - Chuck assembling equipment - Google Patents

Chuck assembling equipment
Download PDF

Info

Publication number
CN113787327A
CN113787327ACN202111215927.3ACN202111215927ACN113787327ACN 113787327 ACN113787327 ACN 113787327ACN 202111215927 ACN202111215927 ACN 202111215927ACN 113787327 ACN113787327 ACN 113787327A
Authority
CN
China
Prior art keywords
air
gas
chuck
air inlet
flow
Prior art date
Legal status (The legal status is an assumption and is not a legal conclusion. Google has not performed a legal analysis and makes no representation as to the accuracy of the status listed.)
Granted
Application number
CN202111215927.3A
Other languages
Chinese (zh)
Other versions
CN113787327B (en
Inventor
高日凯
Current Assignee (The listed assignees may be inaccurate. Google has not performed a legal analysis and makes no representation or warranty as to the accuracy of the list.)
LG Display Optoelectronics Technology China Co Ltd
Original Assignee
LG Display Optoelectronics Technology China Co Ltd
Priority date (The priority date is an assumption and is not a legal conclusion. Google has not performed a legal analysis and makes no representation as to the accuracy of the date listed.)
Filing date
Publication date
Application filed by LG Display Optoelectronics Technology China Co LtdfiledCriticalLG Display Optoelectronics Technology China Co Ltd
Priority to CN202111215927.3ApriorityCriticalpatent/CN113787327B/en
Publication of CN113787327ApublicationCriticalpatent/CN113787327A/en
Application grantedgrantedCritical
Publication of CN113787327BpublicationCriticalpatent/CN113787327B/en
Activelegal-statusCriticalCurrent
Anticipated expirationlegal-statusCritical

Links

Images

Classifications

Landscapes

Abstract

The invention discloses chuck assembling equipment, which belongs to the technical field of display device manufacturing and comprises a box body and an air inlet assembly capable of introducing air into the box body, wherein the box body is provided with an air chamber, the air inlet assembly comprises a vent pipe and a cover shell, the vent pipe is provided with an air inlet, the cover shell is covered on the periphery of the vent pipe, the cover shell is provided with an air outlet, the air outlet is communicated with the air chamber, and a zigzag air flow channel is formed between the air inlet and the air outlet. Gaseous gas outlet that reaches the housing through the air inlet of air inlet subassembly, in the reentrant air chamber, because form tortuous gas flow path between air inlet and the gas outlet for the flow path of the gaseous of entering air chamber is tortuous, and then can change the flow direction of gas, reduces gaseous velocity of flow, avoids the air current to carry the metal piece, prevents metal piece adhesion in the surface of glass substrate, guarantees product quality.

Description

Chuck assembling equipment
Technical Field
The invention relates to the technical field of display device manufacturing, in particular to chuck assembling equipment.
Background
The performance of the display panel, which is an important component of the display device, directly affects the display effect of the display device. In the process of manufacturing a display panel, a vapor deposition film is formed on a glass substrate by an etching process. The processing of the vapor deposition film is to form a film on the glass substrate by material evaporation and condensation under the vacuum condition, and then to form a film layer with strong adhesive force on the surface of the glass substrate after high-temperature heat treatment.
Referring to fig. 1 and 2, before processing the evaporated film, it is required to assemble a glass substrate 10 'and a chuck 30', a colloid is disposed on the chuck 30 ', and the glass substrate 10' is adhered to the colloid. The chuck 30 'is used for bearing the glass substrate 10', the chuck 30 'can be driven to move by the roller 40', friction can occur between the chuck 30 'and the roller 40', a certain amount of metal debris can be generated, part of the metal debris can be adsorbed by the magnet, and part of the metal debris can be attached to the surfaces of the chuck 30 'and the roller 40'.
The conventional chuck assembling apparatus includes a housing 20 ' and the housing 20 ' has an air chamber 21 ' and, in order to fix the glass substrate 10 ' firmly, it is necessary to inflate the air chamber 21 ' and press the glass substrate 10 ' against the chuck 30 ' by air pressure. The prior art has the following defects: during the process of inflating the vent pipe 51 ' into the air chamber 21 ', the arrows in fig. 1 indicate the flowing direction of the gas, the gas flows violently, the gas flow carries the metal debris to adhere to the surface of the glass substrate 10 ', thereby affecting the quality of the display panel and causing the defective rate of the product to increase.
Disclosure of Invention
The invention aims to provide chuck assembling equipment to solve the technical problem that metal scraps are adhered to a glass substrate in the prior art.
As the conception, the technical scheme adopted by the invention is as follows:
a chuck assembly apparatus comprising a housing and an intake assembly capable of admitting air into the housing, the housing having an air chamber, the intake assembly comprising:
a breather tube having an air inlet;
the cover is covered on the periphery of the breather pipe, a gas outlet is formed in the cover, the gas outlet is communicated with the gas chamber, and a zigzag gas flow passage is formed between the gas inlet and the gas outlet.
As a preferred scheme of chuck rigging equipment, the breather pipe includes two coaxial and body that the interval set up, every the body has one the air inlet, two the air inlet sets up relatively, the gas outlet sets up in two between the air inlet.
As a preferable scheme of the chuck assembling apparatus, the vent pipe includes a pipe body, the air inlet is disposed at one end of the pipe body, and the air outlet is disposed at one end of the casing far away from the air inlet.
As a preferred scheme of the chuck assembling equipment, the chuck assembling equipment further comprises a chuck and two rows of rollers, wherein the two rows of rollers are arranged at intervals and used for driving the chuck to move, and the air inlet assembly is arranged between the two rows of rollers and is positioned below the chuck.
As a preferred scheme of chuck rigging equipment, the subassembly that admits air is provided with two sets ofly, two sets ofly admit air the subassembly interval and set ofly admit air the subassembly the gas outlet with another group admit air the subassembly the gas outlet sets up relatively.
As a preferable scheme of the chuck assembling apparatus, each set of the air intake assembly includes two air pipes, one cover is provided corresponding to each air pipe, and the direction of the air outlet of the two covers of each set of the air intake assembly is the same.
As a preferable scheme of the chuck assembling device, a flow guide structure is arranged at the gas outlet and can guide gas to flow to the outer side of the gas outlet.
As a preferred scheme of the chuck assembling equipment, the flow guide structure comprises a plurality of fan blades, the fan blades are rotatably connected with the housing, and the flow guide angle of the fan blades can be adjusted.
As a preferred scheme of the chuck assembling equipment, the end part of the fan blade is provided with a rotating shaft, the housing is provided with a mounting hole, and the rotating shaft is rotatably connected with the mounting hole.
As a preferred scheme of the chuck assembling equipment, the surface of the fan blade is a flow guide surface, and the flow guide surface is an arc surface.
The invention has the beneficial effects that:
according to the chuck assembling equipment provided by the invention, the gas reaches the gas outlet of the housing through the gas inlet of the gas inlet assembly and then enters the gas chamber, and the tortuous gas flow channel is formed between the gas inlet and the gas outlet, so that the flow path of the gas entering the gas chamber is tortuous, the flow direction of the gas can be changed, the flow speed of the gas is reduced, the gas flow is prevented from carrying metal chips, the metal chips are prevented from being adhered to the surface of the glass substrate, and the product quality is ensured.
Drawings
FIG. 1 is a schematic view of a prior art chuck assembly apparatus;
FIG. 2 is a top view of a portion of the structure of FIG. 1;
FIG. 3 is a schematic view of a chuck assembly apparatus provided in accordance with an embodiment of the present invention;
FIG. 4 is a top view of a portion of the structure of FIG. 3;
FIG. 5 is a cross-sectional view of an air intake assembly provided in accordance with an embodiment of the present invention;
FIG. 6 is a first schematic view of a part of the structure of a chuck assembling apparatus according to a first embodiment of the present invention;
FIG. 7 is a schematic illustration of FIG. 6 with the cover omitted;
FIG. 8 is a second schematic view of a part of the structure of the chuck assembling apparatus according to the first embodiment of the present invention;
FIG. 9 is a schematic view of an air intake assembly provided in accordance with a second embodiment of the present invention;
fig. 10 is a schematic structural diagram of a housing and a flow guiding structure provided in the third embodiment of the present invention;
FIG. 11 is a front view of FIG. 10;
FIG. 12 is a top view of FIG. 10;
fig. 13 is a schematic view of a fan blade according to a third embodiment of the present invention.
In fig. 1 and 2:
10', a glass substrate; 20', a box body; 21', an air chamber; 30', a chuck; 40', rollers; 51', a breather pipe;
in fig. 3 to 13:
10. a glass substrate;
20. a box body; 21. an air chamber;
30. a chuck;
40. a roller;
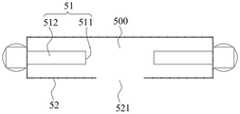
50. an air intake assembly; 500. a gas flow channel; 51. a breather pipe; 511. an air inlet; 512. a pipe body; 52. a housing; 521. an air outlet;
60. a support table;
70. a flow guide structure; 71. a fan blade; 711. a flow guide surface; 72. a rotating shaft.
Detailed Description
Advantages and features of the present invention and methods of accomplishing the same will become apparent with reference to the following detailed description of the embodiments taken in conjunction with the accompanying drawings. However, the present invention is not limited to the embodiments disclosed below, but may be implemented in various forms, which are provided only to complete the disclosure of the present invention and make those skilled in the art sufficiently understand the scope of the present invention, and the present invention is limited only by the scope of the claims. Like reference numerals denote like constituent elements throughout the specification.
Hereinafter, the present invention is described in detail with reference to the accompanying drawings.
Example one
Referring to fig. 3 to 5, an embodiment of the present invention provides a chuck assembling apparatus for assembling aglass substrate 10 with achuck 30. The chuck assembling device comprises abox body 20, achuck 30 and aroller 40, wherein thebox body 20 is provided with anair chamber 21, theroller 40 is positioned in theair chamber 21, thechuck 30 is used for bearing aglass substrate 10, thechuck 30 is provided with glue, and theglass substrate 10 is bonded with the glue. By moving thechuck 30 with theroller 40, friction occurs between thechuck 30 and theroller 40, and a certain amount of metal chips are generated.
In order to firmly fix theglass substrate 10, it is necessary to inflate theair chamber 21 and press theglass substrate 10 against thechuck 30 by air pressure.
The chuck assembling equipment further comprises anair inlet assembly 50, theair inlet assembly 50 can intake air into thebox body 20, theair inlet assembly 50 comprises avent pipe 51 and acover shell 52, thevent pipe 51 is provided with anair inlet 511, thecover shell 52 covers the periphery of thevent pipe 51, thecover shell 52 is provided with anair outlet 521, theair outlet 521 is communicated with theair chamber 21, and a zigzagair flow channel 500 is formed between theair inlet 511 and theair outlet 521.
Through tortuousgas flow channel 500, can change gaseous flow direction, reduce gaseous velocity of flow, avoid the air current to carry the metal piece, prevent that the metal piece from adhering to the surface ofglass substrate 10, guarantee product quality.
Specifically, therollers 40 are arranged in two rows, the two rows ofrollers 40 are arranged at intervals, two sides of thechuck 30 are respectively lapped on the two rows ofrollers 40, and theair inlet assembly 50 is arranged between the two rows ofrollers 40 and is positioned below thechuck 30.
By changing the flowing direction of the gas, the flowing direction of the gas avoids the contact position of thechuck 30 and theroller 40, so that the flow rate of the gas can be reduced, and the gas flow can be further prevented from carrying metal debris.
Specifically, theair inlet assemblies 50 are provided in two groups, the two groups ofair inlet assemblies 50 are arranged at intervals, and theair outlet 521 of one group ofair inlet assemblies 50 is opposite to theair outlet 521 of the other group ofair inlet assemblies 50. The arrows in fig. 4 show the direction of flow of the gas.
Thegyro wheel 40 is located the outside of two sets ofsubassembly 50 that admits air, and two sets ofsubassembly 50 that admits air are all given vent to the inboard, keep away from the contact position ofchuck 30 withgyro wheel 40, can further avoid the air current to carry the metal piece.
The chuck assembling apparatus further includes a support table 60, and the support table 60 is disposed below thechuck 30. Thebreather pipe 51 penetrates through the support table 60, and thecover 52 is fixedly connected with the support table 60. In the present embodiment, the cross-sectional shape of thecasing 52 is U-shaped, and the opening of thecasing 52 is connected to thesupport base 60, so as to facilitate the processing and production of thecasing 52. Thehousing 52 may be made of a metal plate, among others. In other embodiments, thehousing 52 may be a rectangular parallelepiped or a cylinder, but is not limited thereto.
Referring to fig. 6 and 7, thesnorkel 51 includes two coaxial and spacedtubes 512, eachtube 512 has aninlet 511, the twoinlets 511 are disposed opposite to each other, and anoutlet 521 is disposed between the twoinlets 511, so that the air is uniformly discharged.
Theair outlet 521 may have a rectangular shape, a circular shape, or an oval shape, which is not limited herein.
Each set ofair induction assemblies 50 may include oneair vent 51, twoair vents 51, or more than two air vents 51.
Referring to fig. 8, each set ofair intake assembly 50 includes twoair pipes 51, acover 52 is disposed corresponding to eachair pipe 51, and theair outlets 521 of the two covers 52 of each set ofair intake assembly 50 are oriented in the same direction, so as to ensure sufficient air output.
Example two
Fig. 9 shows a second embodiment, wherein the same or corresponding parts as in the first embodiment are provided with the same reference numerals as in the first embodiment. For the sake of simplicity, only the differences between the second embodiment and the first embodiment will be described. The difference is that thesnorkel 51 includes atube 512, anair inlet 511 is disposed at one end of thetube 512, and anair outlet 521 is disposed at one end of thecover 52 away from theair inlet 511. Thegas inlet 511 and thegas outlet 521 are far away from each other, so that the flowing direction of the gas is changed, the flowing path of the gas is prolonged, the purpose of reducing the flow rate of the gas is achieved, the gas flow is prevented from carrying metal debris, the metal debris is prevented from being adhered to the surface of theglass substrate 10, and the product quality is guaranteed.
EXAMPLE III
Fig. 10 to 13 show a third embodiment, wherein the same or corresponding parts as in the first embodiment are provided with the same reference numerals as in the first embodiment. For the sake of simplicity, only the points of difference between the third embodiment and the first embodiment will be described. The difference is that thegas outlet 521 is provided with theflow guide structure 70, and theflow guide structure 70 can guide the gas to flow to the outer side of thegas outlet 521, so that the gas is diffused, the purpose of reducing the gas flow rate is achieved, the gas flow is prevented from carrying metal fragments, the metal fragments are prevented from being adhered to the surface of theglass substrate 10, and the product quality is ensured.
Specifically, when theair outlet 521 has a rectangular shape, theflow guide structure 70 may guide the air to flow along two outer sides of theair outlet 521, and may also guide the air to flow along four outer sides of theair outlet 521.
In the present embodiment, theflow guiding structure 70 includes a plurality ofblades 71, theblades 71 are rotatably connected to thehousing 52, and the flow guiding angle of theblades 71 is adjustable. When the fan is used, the angle of thefan blades 71 can be adjusted as required, and the fan can adapt to various application conditions. In other embodiments, theflow directing structure 70 may be a flow deflector.
Specifically, the end of thefan blade 71 is provided with arotating shaft 72, thehousing 52 is provided with a mounting hole, and therotating shaft 72 is rotatably connected with the mounting hole. Not only is the angle offan blade 71 convenient to adjust, but also the dismantlement and the maintenance are convenient for.
The surface offan blade 71 is waterconservancy diversion face 711, and in order to reach better water conservancy diversion effect, waterconservancy diversion face 711 is the arcwall face, and the arcwall face makes the air current mild, reaches the purpose that reduces the gas velocity of flow.
Although the embodiments of the present invention have been described above with reference to the accompanying drawings, the present invention is not limited to the above embodiments, but may be manufactured in various forms, and those skilled in the art will appreciate that the present invention may be embodied in other specific forms without changing the technical spirit or essential features of the invention. It is therefore to be understood that the above described embodiments are illustrative and not restrictive in all respects.

Claims (10)

CN202111215927.3A2021-10-192021-10-19Chuck assembly equipmentActiveCN113787327B (en)

Priority Applications (1)

Application NumberPriority DateFiling DateTitle
CN202111215927.3ACN113787327B (en)2021-10-192021-10-19Chuck assembly equipment

Applications Claiming Priority (1)

Application NumberPriority DateFiling DateTitle
CN202111215927.3ACN113787327B (en)2021-10-192021-10-19Chuck assembly equipment

Publications (2)

Publication NumberPublication Date
CN113787327Atrue CN113787327A (en)2021-12-14
CN113787327B CN113787327B (en)2024-08-02

Family

ID=78878108

Family Applications (1)

Application NumberTitlePriority DateFiling Date
CN202111215927.3AActiveCN113787327B (en)2021-10-192021-10-19Chuck assembly equipment

Country Status (1)

CountryLink
CN (1)CN113787327B (en)

Citations (11)

* Cited by examiner, † Cited by third party
Publication numberPriority datePublication dateAssigneeTitle
US6079353A (en)*1998-03-282000-06-27Quester Technology, Inc.Chamber for reducing contamination during chemical vapor deposition
CN1851854A (en)*2005-12-072006-10-25北京北方微电子基地设备工艺研究中心有限责任公司Lower-extraction type etching device
CN103361633A (en)*2012-04-012013-10-23北京北方微电子基地设备工艺研究中心有限责任公司Gas inlet device, reaction cavity and plasma processing equipment
CN104099583A (en)*2013-04-092014-10-15北京北方微电子基地设备工艺研究中心有限责任公司Air inlet unit, reaction chamber and plasma processing apparatus
CN104975271A (en)*2014-04-112015-10-14北京北方微电子基地设备工艺研究中心有限责任公司Air inlet device and semiconductor processing device
CN106876299A (en)*2015-12-112017-06-20北京北方微电子基地设备工艺研究中心有限责任公司Semiconductor processing equipment
CN210523849U (en)*2019-09-122020-05-15佛山市宏石激光技术有限公司Air distribution device of pneumatic chuck
CN112744585A (en)*2020-10-302021-05-04乐金显示光电科技(中国)有限公司Glass substrate conveying device
CN213142185U (en)*2020-11-182021-05-07乐金显示光电科技(中国)有限公司Plasma enhanced chemical vapor deposition device
CN113265646A (en)*2021-06-162021-08-17中南大学CVD deposition furnace device for preparing large-size C/C composite material
CN215942042U (en)*2021-10-192022-03-04乐金显示光电科技(中国)有限公司Chuck assembling equipment

Patent Citations (11)

* Cited by examiner, † Cited by third party
Publication numberPriority datePublication dateAssigneeTitle
US6079353A (en)*1998-03-282000-06-27Quester Technology, Inc.Chamber for reducing contamination during chemical vapor deposition
CN1851854A (en)*2005-12-072006-10-25北京北方微电子基地设备工艺研究中心有限责任公司Lower-extraction type etching device
CN103361633A (en)*2012-04-012013-10-23北京北方微电子基地设备工艺研究中心有限责任公司Gas inlet device, reaction cavity and plasma processing equipment
CN104099583A (en)*2013-04-092014-10-15北京北方微电子基地设备工艺研究中心有限责任公司Air inlet unit, reaction chamber and plasma processing apparatus
CN104975271A (en)*2014-04-112015-10-14北京北方微电子基地设备工艺研究中心有限责任公司Air inlet device and semiconductor processing device
CN106876299A (en)*2015-12-112017-06-20北京北方微电子基地设备工艺研究中心有限责任公司Semiconductor processing equipment
CN210523849U (en)*2019-09-122020-05-15佛山市宏石激光技术有限公司Air distribution device of pneumatic chuck
CN112744585A (en)*2020-10-302021-05-04乐金显示光电科技(中国)有限公司Glass substrate conveying device
CN213142185U (en)*2020-11-182021-05-07乐金显示光电科技(中国)有限公司Plasma enhanced chemical vapor deposition device
CN113265646A (en)*2021-06-162021-08-17中南大学CVD deposition furnace device for preparing large-size C/C composite material
CN215942042U (en)*2021-10-192022-03-04乐金显示光电科技(中国)有限公司Chuck assembling equipment

Also Published As

Publication numberPublication date
CN113787327B (en)2024-08-02

Similar Documents

PublicationPublication DateTitle
CN215942042U (en)Chuck assembling equipment
WO2021196188A1 (en)Auxiliary traction device for laser cutting of tab, and tab laser-cutting system
CN111390381B (en)Dust extraction device
CN113787327A (en)Chuck assembling equipment
US20250018443A1 (en)Wafer cleaning apparatus
CN105448775B (en)Double-sided vapor etching device
CN213142185U (en)Plasma enhanced chemical vapor deposition device
CN220724332U (en)Uniform air inlet structure of vacuum chamber
CN211645376U (en)Intake air distribution structure and plasma equipment
CN210740609U (en)Humidification device for silk-screen dust-free workshop
CN217129734U (en)Side-opening cooling structure of air compressor
CN218953598U (en)Centrifugal fan and air conditioner
CN109427550B (en)Tackifying unit HMDS sweeps structure
CN212199404U (en)Revolution and rotation film coating device for coating film
CN113729559A (en)Cold and hot wind channel of dust catcher separates wind mechanism
CN220926932U (en)Gas spraying device used in vacuum cavity
CN111923567B (en)Dry-type composite equipment for composite film
CN211215471U (en)Horizontal film evaporator for removing foam
CN219551073U (en)Hot air drying equipment
CN223268737U (en) Assembly equipment for mounting chucks and glass substrates
CN222851391U (en)Cooling device, split device thereof, installation adjusting mechanism and semiconductor process equipment
CN117316549B (en)Vertical enameled wire wind circulating device
CN118816586B (en) A dry air cooler
CN219861092U (en)Balanced module base plate heat sink of cooling
CN222535411U (en)Cooling device for dip-coating and drying production line

Legal Events

DateCodeTitleDescription
PB01Publication
PB01Publication
SE01Entry into force of request for substantive examination
SE01Entry into force of request for substantive examination
GR01Patent grant
GR01Patent grant

[8]ページ先頭

©2009-2025 Movatter.jp