Movatterモバイル変換


[0]ホーム

URL:


CN1137369A - Spinal Posterior Fixator - Google Patents

Spinal Posterior Fixator
Download PDF

Info

Publication number
CN1137369A
CN1137369ACN 95105519CN95105519ACN1137369ACN 1137369 ACN1137369 ACN 1137369ACN 95105519CN95105519CN 95105519CN 95105519 ACN95105519 ACN 95105519ACN 1137369 ACN1137369 ACN 1137369A
Authority
CN
China
Prior art keywords
vertebra
connecting rod
locating piece
screw
vertebral
Prior art date
Legal status (The legal status is an assumption and is not a legal conclusion. Google has not performed a legal analysis and makes no representation as to the accuracy of the status listed.)
Granted
Application number
CN 95105519
Other languages
Chinese (zh)
Other versions
CN1072479C (en
Inventor
吴兴盛
陈博光
Current Assignee (The listed assignees may be inaccurate. Google has not performed a legal analysis and makes no representation or warranty as to the accuracy of the list.)
Individual
Original Assignee
Individual
Priority date (The priority date is an assumption and is not a legal conclusion. Google has not performed a legal analysis and makes no representation as to the accuracy of the date listed.)
Filing date
Publication date
Application filed by IndividualfiledCriticalIndividual
Priority to CN 95105519priorityCriticalpatent/CN1072479C/en
Publication of CN1137369ApublicationCriticalpatent/CN1137369A/en
Application grantedgrantedCritical
Publication of CN1072479CpublicationCriticalpatent/CN1072479C/en
Anticipated expirationlegal-statusCritical
Expired - Fee Relatedlegal-statusCriticalCurrent

Links

Images

Classifications

Landscapes

Abstract

The invention relates to a vertebra rear position fixer, which mainly comprises a plurality of positioning blocks, a vertebral pedicle screw and a connecting rod, wherein one end of each positioning block is provided with a horn hole, a C-shaped ring is arranged between the horn holes for the vertebral pedicle screw to pass through, the other end of each positioning block is provided with a stud, a split groove communicated with the horn hole is axially formed on each positioning block, a pressing block and the connecting rod are arranged in the split groove, then a screw cap is screwed into the stud to press the stud tightly, and the vertebral pedicle screw and the connecting rod are tightened at the same time, wherein the angle of the vertebral pedicle screw is adjusted in the horn hole of each positioning block to be matched with the radian of the vertebra, so that the vertebra can be conveniently reset and fixed.

Description

Fixture for vertebral back position
The invention relates to a kind of fixture for vertebral back position.
When the sufferer vertebra causes structure unstable because of fracture, dislocation or other pathological changes, more therapy is in the past utilized hook (Harrington Hooks) to be hooked on the vertebral plate of vertebra (Lamina) or is passed (Luquesublaminal wiring) under the vertebral plate with steel wire, to reach the fixedly purpose of vertebra.
Yet it is reported that this kind fixed form does not have reliable stability, so for reaching certain fixedly purpose, even having only a joint vertebral body pathological changes takes place or loses, it is above fixedly connected still to need to implement at least five joints simultaneously, the sequela of mechanicalness lumbar and back pain takes place in this kind mode most probably except that operation process is complicated.
And fix vertebral body through vertebra stem (Transpedicle), but be considered as the effective ways of strong fix vertebral body at present by medical circles, in addition, and can reduce the joint number of fixing vertebral body and reduce the probability that lumbar and back pain takes place in the future, but existing vertebra stem holder is structurally still very complicated, and also inconvenience in the operation is so still treat further to be improved.
Main purpose of the present invention is to provide a kind of fixture for vertebral back position, it mainly is made up of number locating piece, vertebra stem screw and a connecting rod, wherein locating piece one end is formed with bellmouth orifice, be provided with C shape ring therebetween, pass for vertebra stem screw, locating piece is held in addition and is formed with double-screw bolt again, it is by axially being formed with a profile groove that is communicated with bellmouth orifice, this profile groove is inserted a clamp holder and connecting rod, subsequently in addition with a nut with its packing, wherein vertebra stem screw is adjusted angle in the bellmouth orifice of locating piece, and to cooperate the vertebra radian, it is fixing to be convenient to resetting of vertebra like this.Wherein connecting rod can link with other locating pieces, and cooperates the fixing of vertebra retro position.Make through the reduction fixture device fixed vertebra that resets with this kind design still to keep the normal physiological radian, and can reduce the operation back mechanicalness complication of aching.
Technical program of the present invention lies in providing a kind of fixture for vertebral back position, it includes: locating piece, vertebra stem screw and connecting rod is characterized in that:
This locating piece one end is to be block, and its two lateral walls is formed with a bellmouth orifice respectively, and this bellmouth orifice aperture is gradually to be the expansion shape respectively from inside to outside, two bellmouth orifices are to be connected state again, and the hole wall place ring of its linking is established and is formed with an arc groove, ccontaining therebetween C shape ring, pass for vertebra stem screw
Again locating piece in addition end be formed with a double-screw bolt, be formed with a radial profile groove on the double-screw bolt, be provided with a clamp holder in the profile groove, by packing C shape ring radially, the inherent clamp holder of the profile groove outside is provided with connecting rod again, and is fixed on the double-screw bolt and connecting rod is fixed with a nut.
Aforesaid fixture for vertebral back position is characterized in that: this C shape ring is formed with a breach, and its lateral wall is formed with a grooving with respect to indentation, there again.
Aforesaid fixture for vertebral back position is characterized in that: this clamp holder one end is rectangular bulk, and end is formed with a conical end in addition.
Effect of the present invention mainly is to utilize the bellmouth orifice design on the locating piece can make vertebra stem screw be adjusted to suitable angle rapidly, again by the packing of clamp holder to C shape ring, can vertebra stem screw is fixing really, make through the reduction fixture device fixed vertebra that resets with this kind design still to keep the normal physiological radian, and can reduce the operation back mechanicalness complication of aching.
Further specify specific structural features of the present utility model and purpose below in conjunction with accompanying drawing.
Brief Description Of Drawings:
Fig. 1 is an exploded view of the present invention.
Fig. 2 is the cutaway view of locating piece of the present invention.
Fig. 3 locating piece of the present invention penetrates the cutaway view behind the vertebra stem screw.
Fig. 4 is vertebra stem screw of the present invention is adjusted angle in locating piece a cutaway view.
Fig. 5 is the top plan view after locating piece of the present invention penetrates vertebra stem screw.
Fig. 6 is that supraspinal enforcement illustration is fixed in the present invention.
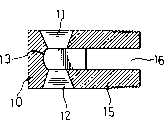
Relevant structure of the present invention is partly please at first consulted shown in Figure 1ly, and it mainly is made up ofnumber locating pieces 10,vertebra stem screw 20 and a connectingrod 30, only shows among this figure with singlegroup locating piece 10, wherein:
These locatingpiece 10 1 ends are to be block, its two lateral walls is formed with abellmouth orifice 11,12 (please cooperate consult shown in Figure 2) respectively, thesebellmouth orifice 11,12 apertures are gradually to be the expansion shape respectively from inside to outside, two bellmouth orifices the 11, the 12nd are connected state again, the hole wall place ring of its linking is established and is formed with anarc groove 13, is for ccontainingC shape ring 14 therebetween;
Again locatingpiece 10 in addition end be formed with a double-screw bolt 15, be formed with anaxial profile groove 16 on this double-screw bolt 15, and make double-screw bolt 15 constitute two lamellars, whereinprofile groove 16 and being through toarc groove 13 communicates; Aforementioned againC shape ring 14 is inserted in thearc groove 13 viaprofile groove 16, it is to cooperatearc groove 13 angles and be circular-arc that this C shape is encircled 14 lateral walls, its inboard then cooperates linearly tube wall ofvertebra stem screw 20, be formed with abreach 140 on theC shape ring 14 again, its lateral wall corresponds to thesebreach 140 places and is formed with agrooving 141, whenC shape ring 14 is subjected to the radial pressure compression,breach 140 is shunk and tightens; Be provided with aclamp holder 17 again in theprofile groove 16, thisclamp holder 17 is rectangular bulks, and its front end is formed with aconical end 170, but radial compressionC shape ring 14 makes its contraction.
Vertebra stem screw 20 front ends are formed withscrew thread 21 again, the rear end then is level and smooth bar wall, and rearward end is formed withhexagonal shrinkage pool 22, for the instrument switching, when installing again,vertebra stem screw 20 is that elder generation is screwed into vertebral body through the vertebra stem of vertebra separately, subsequently again to be inserted in thebellmouth orifice 11 on the locatingpiece 10 on it, 12, and pass set therebetween 14 (as shown in Figure 3) of C shape ring, at least must be fixed together with a connectingrod 30 with the locating piece more than twogroups 10 because vertebra retro position is fixing, and two locatingpieces 10 are to be horizontal relationship with connectingrod 30, so the timevertebra stem screw 20 can on locatingpiece 10, adjust angle earlier, and thebellmouth orifice 11 on the locatingpiece 10,12 are the angle adjustment action that cooperatesvertebra stem screw 20, with regard to present embodiment,bellmouth orifice 11 on the locatingpiece 10,12 designs can makevertebra stem screw 20 can do 360 ° arbitrarily angled adjustment in the axial direction, about 15 ° angle variation upwards can be done in front and back in the footpath again, and plant particular design thus, can makevertebra stem screw 20 cooperate the vertebra radian to adjust its angle on locatingpiece 10.
As shown in Figure 4, when twobellmouth orifices 11 ofvertebra stem screw 20 at locatingpiece 10,12 rotations, and when adjusting its angle, theC shape ring 14 that is set on thevertebra stem screw 20 also rotates inarc groove 13 thereupon, after arriving the location, can fill in aclamp holder 17 by the profile groove on the double-screw bolt 15 16, and make and link other locatingpieces 10 and alsotrail clamp holder 17 and be inserted in theprofile groove 16 to reach fixedly the connectingrod 30 of purpose, on double-screw bolt 15, be screwed into anut 18 subsequently, and to locatingpiece 10 relatively in addition end screw tight, this moment, the packing pressure ofnut 18 will be via connectingrod 30,clamp holder 17 is radially pushed thisC shape ring 14, thisC shape ring 14 is limited by radial pressure, be to shrink to tighten vertebra stem screw 20 (as shown in Figure 5) therebetween,vertebra stem screw 20 is fixed on this angle through adjusting, at the same time, this connectingrod 30 also has been fixed on the locatingpiece 10, when its adjacent locatingpiece 10 is fixed on the vertebra in the same manner, can be linked by this connectingrod 30, provide a fixation to vertebra retro position.
As for its actual assembling morphology, see also shown in Figure 6, it mainly is to utilize twovertebra stem screws 20 to pierce thevertebral body 91 of wanting fixed reset through the vertebra stem respectively, and twovertebra stem screws 20 pierce angle should be parallel withvertebral body 91 upper limbs (because of the different radians of vertebral location also different), because the fixed angle ofvertebra stem screw 20 onvertebral body 91, locatingpiece 10 all belongs to fixing with the angle of connectingrod 30 again, so can be by thebellmouth orifice 11 of locatingpiece 10,12 vertebrastem screw rod 20 is adjusted to suitable relative angle after, give packing and fixedly connectedbar 30 of while again, and fixing with adjacent locatingpiece 10, finish assembling immediately.

Claims (3)

CN 951055191995-06-021995-06-02 Spinal Posterior FixatorExpired - Fee RelatedCN1072479C (en)

Priority Applications (1)

Application NumberPriority DateFiling DateTitle
CN 95105519CN1072479C (en)1995-06-021995-06-02 Spinal Posterior Fixator

Applications Claiming Priority (1)

Application NumberPriority DateFiling DateTitle
CN 95105519CN1072479C (en)1995-06-021995-06-02 Spinal Posterior Fixator

Publications (2)

Publication NumberPublication Date
CN1137369Atrue CN1137369A (en)1996-12-11
CN1072479C CN1072479C (en)2001-10-10

Family

ID=5075522

Family Applications (1)

Application NumberTitlePriority DateFiling Date
CN 95105519Expired - Fee RelatedCN1072479C (en)1995-06-021995-06-02 Spinal Posterior Fixator

Country Status (1)

CountryLink
CN (1)CN1072479C (en)

Cited By (4)

* Cited by examiner, † Cited by third party
Publication numberPriority datePublication dateAssigneeTitle
CN100403997C (en)*2004-02-112008-07-23英属维京群岛商冠亚股份有限公司Plug inserting vertebrae fixing and repositioning device
CN103519874A (en)*2013-10-222014-01-22宋西正External fixing device for minimally invasive spine leverage reduction
CN107137136A (en)*2017-05-122017-09-08王文军The connectivity kit of subcutaneous flexible spinal internal fixation system
CN110893130A (en)*2019-11-282020-03-20向珊珊Intervertebral fusion cage

Cited By (5)

* Cited by examiner, † Cited by third party
Publication numberPriority datePublication dateAssigneeTitle
CN100403997C (en)*2004-02-112008-07-23英属维京群岛商冠亚股份有限公司Plug inserting vertebrae fixing and repositioning device
CN103519874A (en)*2013-10-222014-01-22宋西正External fixing device for minimally invasive spine leverage reduction
CN103519874B (en)*2013-10-222017-02-08宋西正External fixing device for minimally invasive spine leverage reduction
CN107137136A (en)*2017-05-122017-09-08王文军The connectivity kit of subcutaneous flexible spinal internal fixation system
CN110893130A (en)*2019-11-282020-03-20向珊珊Intervertebral fusion cage

Also Published As

Publication numberPublication date
CN1072479C (en)2001-10-10

Similar Documents

PublicationPublication DateTitle
CA2240656C (en)Spinal fixation device with laterally attachable connectors
US5607425A (en)Apparatus, method and system for the treatment of spinal conditions
US5545164A (en)Occipital clamp assembly for cervical spine rod fixation
US5300073A (en)Sacral implant system
US5667506A (en)Spinal rod transverse connector for supporting vertebral fixation elements
USRE39325E1 (en)Spinal fixation apparatus and method
US6176861B1 (en)Modular spinal system
CA2203717C (en)Spine construct with band clamp
US6113600A (en)Device for linking adjacent rods in spinal instrumentation
US6595992B1 (en)Method and apparatus for spinal fixation
US5437669A (en)Spinal fixation systems with bifurcated connectors
KR100745326B1 (en) Multi-Axis Bone-Lock Device
US6709434B1 (en)Spinal osteosynthesis device
US5129899A (en)Bone fixation apparatus
CA2046152C (en)Apparatus for use in the treatment of spinal disorders
EP0705082B1 (en)Distractor mechanism for external fixation device
US6183473B1 (en)Variable angle connection assembly for a spinal implant system
US20020143327A1 (en)Transverse connector for use in spinal corrective surgery
JP2560207B2 (en) Spinal therapy device
US20030187432A1 (en)External fixation system
US20020173791A1 (en)Spinal fixation apparatus with enhanced axial support and methods for use
US20090264926A1 (en)Spinal Fixation System
US20010037111A1 (en)Method and apparatus for dynamized spinal stabilization
US20040092934A1 (en)Multi selective axis spinal fixation system
US20070270832A1 (en)Locking device and method, for use in a bone stabilization system, employing a set screw member and deformable saddle member

Legal Events

DateCodeTitleDescription
C10Entry into substantive examination
SE01Entry into force of request for substantive examination
C06Publication
PB01Publication
C14Grant of patent or utility model
GR01Patent grant
C19Lapse of patent right due to non-payment of the annual fee
CF01Termination of patent right due to non-payment of annual fee

[8]ページ先頭

©2009-2025 Movatter.jp