Movatterモバイル変換


[0]ホーム

URL:


CN113553024A - Volume configuration method of split screen window, storage medium and terminal equipment - Google Patents

Volume configuration method of split screen window, storage medium and terminal equipment
Download PDF

Info

Publication number
CN113553024A
CN113553024ACN202110875891.5ACN202110875891ACN113553024ACN 113553024 ACN113553024 ACN 113553024ACN 202110875891 ACN202110875891 ACN 202110875891ACN 113553024 ACN113553024 ACN 113553024A
Authority
CN
China
Prior art keywords
volume
adjusting
terminal equipment
configuration method
terminal device
Prior art date
Legal status (The legal status is an assumption and is not a legal conclusion. Google has not performed a legal analysis and makes no representation as to the accuracy of the status listed.)
Pending
Application number
CN202110875891.5A
Other languages
Chinese (zh)
Inventor
梁雅诗
万宇梁
姜雨涵
周胜杰
Current Assignee (The listed assignees may be inaccurate. Google has not performed a legal analysis and makes no representation or warranty as to the accuracy of the list.)
Shenzhen Konka Electronic Technology Co Ltd
Original Assignee
Shenzhen Konka Electronic Technology Co Ltd
Priority date (The priority date is an assumption and is not a legal conclusion. Google has not performed a legal analysis and makes no representation as to the accuracy of the date listed.)
Filing date
Publication date
Application filed by Shenzhen Konka Electronic Technology Co LtdfiledCriticalShenzhen Konka Electronic Technology Co Ltd
Priority to CN202110875891.5ApriorityCriticalpatent/CN113553024A/en
Publication of CN113553024ApublicationCriticalpatent/CN113553024A/en
Pendinglegal-statusCriticalCurrent

Links

Images

Classifications

Landscapes

Abstract

The application discloses a volume configuration method, a storage medium and a terminal device, wherein the volume configuration method comprises the following steps: when the terminal equipment receives the volume adjusting instruction, detecting the screen state of the terminal equipment; and if the terminal equipment is detected to be in the split screen state, entering a split screen window volume adjusting mode, and respectively adjusting the sound track volumes of different applications. The method and the device overcome the defect that the Android native volume control cannot realize the independent control of the volume of the same audio stream, realize that a user can independently control the volume of different applications in a multi-window mode, and improve the user experience of the user in the scene.

Description

Volume configuration method of split screen window, storage medium and terminal equipment
Technical Field
The present application relates to the field of volume configuration technologies, and in particular, to a volume configuration method for a split-screen window, a storage medium, and a terminal device.
Background
The Android native volume control sets separate audio streams for different types of audio, and a user can independently control the volume of the corresponding audio streams.
Although the native volume control logic can independently control the volumes of different types of audio streams, it is impossible to control the volumes of different applications in the same audio stream, and in a multi-window scenario, a scenario in which multiple applications sound simultaneously occurs, and the existing native volume control logic cannot realize that different applications sound with different volumes.
Accordingly, the prior art is yet to be improved and developed.
Disclosure of Invention
Aiming at the defects of the prior art, the invention aims to provide a volume configuration method of a split screen window, a storage medium and a terminal device, and aims to solve the problem that the existing native volume control method cannot realize different applications to sound with different volumes.
In order to solve the above technical problem, a first aspect of an embodiment of the present application provides a volume configuration method, where the volume configuration method includes:
when the terminal equipment receives the volume adjusting instruction, detecting the screen state of the terminal equipment;
and if the terminal equipment is detected to be in the split screen state, entering a split screen window volume adjusting mode, and respectively adjusting the sound track volumes of different applications.
Optionally, the volume configuration method, wherein if it is detected that the terminal device is in a split-screen state, entering a split-screen window volume adjustment mode, and adjusting the volumes of the audio tracks of different applications respectively includes:
if the terminal equipment is detected to be in the split screen state, entering a split screen window volume adjusting mode and popping up a split screen window volume adjusting interface;
and selecting an application in the split screen window volume adjusting interface, and adjusting the volume of the sound track of the application through a volume key and storing the sound track.
Optionally, the volume configuration method, wherein the step of adjusting and saving the volume of the track of the application by a volume key includes:
the adjusted volume level of the track is stored in the track data in correspondence with the identification information of the application.
Optionally, the volume configuration method further includes:
and if the terminal equipment is detected to be in a full screen state, entering a primary volume control mode, and adjusting the volume of the audio stream of the terminal equipment.
Optionally, the volume configuration method includes, if it is detected that the terminal device is in a full screen state, entering a native volume control mode, and adjusting the volume of an audio stream of the terminal device, including:
if the terminal equipment is detected to be in a full screen state, entering a primary volume control mode and popping up a system volume adjusting interface;
and adjusting the volume of the audio stream of the terminal equipment through a volume key and storing the volume.
Optionally, the volume configuration method further includes:
monitoring the state of a volume key on the terminal equipment;
and if the volume key is monitored to be pressed, judging that the terminal equipment receives a volume adjusting instruction.
A second aspect of the embodiments of the present application provides a storage medium, where the storage medium stores one or more programs, and the one or more programs are executable by one or more processors to implement the steps in the volume configuration method according to any one of the above items.
A third aspect of the embodiments of the present application provides a terminal device, including: a processor, a memory, and a communication bus; the memory has stored thereon a computer readable program executable by the processor;
the communication bus realizes connection communication between the processor and the memory;
the processor, when executing the computer readable program, implements the steps in the volume configuration method as described in any one of the above.
Optionally, the terminal device is one of a computer, a mobile phone, a television and a tablet.
Has the advantages that: compared with the prior art, the application provides a volume configuration method, a storage medium and a terminal device, wherein the volume configuration method comprises the following steps: when the terminal equipment receives the volume adjusting instruction, detecting the screen state of the terminal equipment; and if the terminal equipment is detected to be in the split screen state, entering a split screen window volume adjusting mode, and respectively adjusting the sound track volumes of different applications. The method and the device overcome the defect that the Android native volume control cannot realize the independent control of the volume of the same audio stream, realize that a user can independently control the volume of different applications in a multi-window mode, and improve the user experience of the user in the scene.
Drawings
In order to more clearly illustrate the technical solutions in the embodiments of the present application, the drawings needed to be used in the description of the embodiments are briefly introduced below, and it is obvious that the drawings in the following description are only some embodiments of the present application, and it is obvious for those skilled in the art that other drawings can be obtained according to the drawings without any inventive work.
Fig. 1 is a flowchart of a volume configuration method provided in the present application.
Fig. 2 is an effect diagram of a volume adjustment interface of a split-screen window provided by the present application.
Fig. 3 is a flow chart of multi-application volume control in the split screen state according to the present application.
Fig. 4 is an effect diagram of a system volume adjustment interface provided in the present application.
Fig. 5 is a schematic structural diagram of a terminal device provided in the present application.
Detailed Description
In order to make the purpose, technical scheme and effect of the present application clearer and clearer, the present application is further described in detail below with reference to the accompanying drawings and examples. It should be understood that the specific embodiments described herein are merely illustrative of the present application and are not intended to limit the present application.
As used herein, the singular forms "a", "an", "the" and "the" are intended to include the plural forms as well, unless the context clearly indicates otherwise. It will be further understood that the terms "comprises" and/or "comprising," when used in this specification, specify the presence of stated features, integers, steps, operations, elements, and/or components, but do not preclude the presence or addition of one or more other features, integers, steps, operations, elements, components, and/or groups thereof. It will be understood that when an element is referred to as being "connected" or "coupled" to another element, it can be directly connected or coupled to the other element or intervening elements may also be present. Further, "connected" or "coupled" as used herein may include wirelessly connected or wirelessly coupled. As used herein, the term "and/or" includes all or any element and all combinations of one or more of the associated listed items.
It will be understood by those within the art that, unless otherwise defined, all terms (including technical and scientific terms) used herein have the same meaning as commonly understood by one of ordinary skill in the art to which this application belongs. It will be further understood that terms, such as those defined in commonly used dictionaries, should be interpreted as having a meaning that is consistent with their meaning in the context of the prior art and will not be interpreted in an idealized or overly formal sense unless expressly so defined herein.
In particular implementations, the terminal devices described in embodiments of the present application include, but are not limited to, other portable devices such as mobile phones, laptops, or tablet computers with touch sensitive surfaces (e.g., touch displays and/or touch pads). It should also be understood that in some embodiments, the device is not a portable communication device, but is a desktop computer having a touch-sensitive surface (e.g., a touch-sensitive display screen and/or touchpad).
In the discussion that follows, a terminal device that includes a display and a touch-sensitive surface is described. However, it should be understood that the terminal device may also include one or more other physical user interface devices such as a physical keyboard, mouse, and/or joystick.
The terminal device supports various applications, such as one or more of the following: a drawing application, a presentation application, a word processing application, a video conferencing application, a disc burning application, a spreadsheet application, a gaming application, a telephone application, a video conferencing application, an email application, an instant messaging application, an exercise support application, a photo management application, a data camera application, a digital video camera application, a web browsing application, a digital music player application, and/or a digital video playing application, etc.
Various applications that may be executed on the terminal device may use at least one common physical user interface device, such as a touch-sensitive surface. The first or more functions of the touch-sensitive surface and the corresponding information displayed on the terminal may be adjusted and/or changed between applications and/or within respective applications. In this way, a common physical framework (e.g., touch-sensitive surface) of the terminal can support various applications with user interfaces that are intuitive and transparent to the user.
It should be understood that, the sequence numbers and sizes of the steps in this embodiment do not mean the execution sequence, and the execution sequence of each process is determined by its function and inherent logic, and should not constitute any limitation on the implementation process of this embodiment.
The inventor finds that the Android native volume control method sets separate audio streams for different types of audio, and a user can independently control the volume of the corresponding audio streams. Although the native volume control logic can independently control the volumes of different types of audio streams, it is impossible to control the volumes of different applications in the same audio stream, and in a multi-window scenario, a scenario in which multiple applications sound simultaneously occurs, and the existing native volume control logic cannot realize that different applications sound with different volumes.
In order to solve the above problem, the present invention provides a volume configuring method, as shown in fig. 1, the method comprising the steps of:
s10, when the terminal device receives the volume adjusting instruction, detecting the screen state of the terminal device;
and S20, if the terminal device is detected to be in the split screen state, entering a split screen window volume adjusting mode, and respectively adjusting the sound track volumes of different applications.
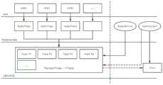
Specifically, according to the android standard flow, the volume is composed of three parts, namely, volume _ track _ volume (track volume) stream _ volume (audio stream volume) master _ volume (hardware volume), wherein the volume change of the audio stream can affect the volume of the same audio stream, and the volume value of the hardware volume sound card device is determined by a manufacturer and is not generally modified; the volume of a track will only affect a single AudioTrack and not the other volumes. The original android process changes the volume by changing the volume of the audio stream, and in order to implement separate control of the volume, the volume of the track needs to be controlled.
In this embodiment, a volume configuration method based on a split-screen window is designed, where a terminal device is determined first when volume adjustment is triggered, and if the terminal device is in a split-screen state, the terminal device is controlled to enter a split-screen window volume adjustment mode, so as to respectively adjust and control the volume of audio tracks of different applications in the terminal device. The embodiment overcomes the defect that the Android native volume control cannot realize the independent control of the volume of the same audio stream, realizes that the user can independently control the volume of different applications in a multi-window mode, and improves the user experience of the user in the scene.
In some embodiments, if the terminal device is detected to be in a split screen state, entering a split screen window volume adjustment mode and popping up a split screen window volume adjustment interface; and selecting an application in the split screen window volume adjusting interface, and adjusting the volume of the sound track of the application through a volume key and storing the sound track.
Specifically, the state of a volume key on the terminal equipment is monitored; if the volume key is monitored to be pressed, the terminal device is judged to receive a volume adjusting instruction, the screen state of the terminal device is detected, if the terminal device is detected to be in the split screen state, a split screen window volume adjusting mode is entered, a split screen window volume adjusting interface shown in figure 2 is popped up, the split screen window volume adjusting interface comprises a sound production mode item, a system volume item and a plurality of application volume adjusting items, and the sound production mode item displays that the sound production mode when the current terminal device is in the split screen state is an application independent sound production mode. At this time, the user can click and select the corresponding application item, and the volume of the audio track of the corresponding application is set through the volume key.
In this embodiment, as shown in fig. 3, when an application on the terminal device starts playing audio, the android system in the terminal device creates a corresponding AudioTrack by default, stores all identification information related to the application, and finally triggers the bottom layer to create and bind a track instance; after the binding is completed, the audio track set is added to the audio track set of the playing thread created by the same output device, and the playing thread performs mixed output on all audio track data in the set, which shows that the android terminal device simultaneously outputs audio information data from different applications. The key to realize the independent control of the multi-application volume in the embodiment is to provide a path outside the android basic flow, allow the upper layer to perform the volume setting operation on the target audio track by transmitting the application information to the bottom layer and matching the application information with the audio track, and modify the value of the track _ volume, thereby achieving the effect of independently adjusting the volume of a certain application.
In some embodiments, the status of a volume key on the terminal device is monitored; if the volume key is monitored to be pressed, judging that the terminal equipment receives a volume adjusting instruction, detecting the screen state of the terminal equipment, and if the terminal equipment is detected to be in a full-screen state, entering a native volume control mode and popping up a system volume adjusting interface shown in fig. 4; and adjusting the volume of the audio stream of the terminal equipment through a volume key and storing the volume.
In this embodiment, the system volume adjustment interface includes a sound production mode item and a system volume item, where the sound production mode item displays that a sound production mode when the current terminal device is in a full screen state is "controllable application sound production", and a user may select the system volume item and set the volume of an audio stream through a volume key.
Based on the volume configuration method, the present embodiment provides a computer-readable storage medium, which stores one or more programs that can be executed by one or more processors to implement the steps in the volume configuration method according to the above embodiment.
Based on the above volume configuration method, the present application further provides a terminal device, as shown in fig. 5, which includes at least one processor (processor) 20; adisplay screen 21; and a memory (memory)22, and may further include a communication Interface (Communications Interface)23 and abus 24. Theprocessor 20, thedisplay 21, thememory 22 and thecommunication interface 23 can communicate with each other through thebus 24. Thedisplay screen 21 is configured to display a user guidance interface preset in the initial setting mode. Thecommunication interface 23 may transmit information. Theprocessor 20 may call logic instructions in thememory 22 to perform the methods in the embodiments described above.
Furthermore, the logic instructions in thememory 22 may be implemented in software functional units and stored in a computer readable storage medium when sold or used as a stand-alone product.
Thememory 22, which is a computer-readable storage medium, may be configured to store a software program, a computer-executable program, such as program instructions or modules corresponding to the methods in the embodiments of the present disclosure. Theprocessor 20 executes the functional application and data processing, i.e. implements the method in the above-described embodiments, by executing the software program, instructions or modules stored in thememory 22.
Thememory 22 may include a storage program area and a storage data area, wherein the storage program area may store an operating system, an application program required for at least one function; the storage data area may store data created according to the use of the terminal device, and the like. Further, thememory 22 may include a high speed random access memory and may also include a non-volatile memory. For example, a variety of media that can store program codes, such as a usb disk, a removable hard disk, a Read-Only Memory (ROM), a Random Access Memory (RAM), a magnetic disk, or an optical disk, may also be transient storage media.
In addition, the specific processes loaded and executed by the storage medium and the instruction processors in the terminal device are described in detail in the above method, and are not stated herein.
Finally, it should be noted that: the above embodiments are only used to illustrate the technical solutions of the present application, and not to limit the same; although the present application has been described in detail with reference to the foregoing embodiments, it should be understood by those of ordinary skill in the art that: the technical solutions described in the foregoing embodiments may still be modified, or some technical features may be equivalently replaced; and such modifications or substitutions do not depart from the spirit and scope of the corresponding technical solutions in the embodiments of the present application.

Claims (9)

CN202110875891.5A2021-07-302021-07-30Volume configuration method of split screen window, storage medium and terminal equipmentPendingCN113553024A (en)

Priority Applications (1)

Application NumberPriority DateFiling DateTitle
CN202110875891.5ACN113553024A (en)2021-07-302021-07-30Volume configuration method of split screen window, storage medium and terminal equipment

Applications Claiming Priority (1)

Application NumberPriority DateFiling DateTitle
CN202110875891.5ACN113553024A (en)2021-07-302021-07-30Volume configuration method of split screen window, storage medium and terminal equipment

Publications (1)

Publication NumberPublication Date
CN113553024Atrue CN113553024A (en)2021-10-26

Family

ID=78133465

Family Applications (1)

Application NumberTitlePriority DateFiling Date
CN202110875891.5APendingCN113553024A (en)2021-07-302021-07-30Volume configuration method of split screen window, storage medium and terminal equipment

Country Status (1)

CountryLink
CN (1)CN113553024A (en)

Cited By (3)

* Cited by examiner, † Cited by third party
Publication numberPriority datePublication dateAssigneeTitle
CN113377328A (en)*2021-06-242021-09-10广州朗国电子科技有限公司Sound following method and device in all-in-one machine multi-window mode and storage medium
CN114071203A (en)*2021-11-102022-02-18四川长虹电器股份有限公司Method and system for controlling specific application volume of smart television
CN116737104A (en)*2022-09-162023-09-12荣耀终端有限公司 Volume adjustment method and related devices

Citations (16)

* Cited by examiner, † Cited by third party
Publication numberPriority datePublication dateAssigneeTitle
CN103489461A (en)*2013-09-182014-01-01广东欧珀移动通信有限公司Method, system and player for playing audio file
CN103680564A (en)*2013-12-062014-03-26厦门雅迅网络股份有限公司Method for adjusting external audio access and volume of vehicle-mounted terminal in unified mode
CN104216772A (en)*2013-06-032014-12-17上海帛茂信息科技有限公司Method for electronic equipment supporting multiple windows to control audio frequency corresponding to different windows
CN106201430A (en)*2016-08-312016-12-07维沃移动通信有限公司 Method and electronic device for adjusting volume
CN106406803A (en)*2016-08-312017-02-15青岛海信移动通信技术股份有限公司Volume control method and device of terminal application
CN106454506A (en)*2016-11-152017-02-22四川长虹电器股份有限公司Audio route control method in multi-window environment of intelligent television
CN107239254A (en)*2017-05-182017-10-10宇龙计算机通信科技(深圳)有限公司A kind of method for controlling volume and device
CN108932087A (en)*2018-06-222018-12-04中广热点云科技有限公司Desktop split screen system and its implementation for mobile device
CN109508168A (en)*2018-10-302019-03-22Oppo(重庆)智能科技有限公司Multichannel volume adjusting method and relevant apparatus
CN109683847A (en)*2018-12-202019-04-26维沃移动通信有限公司A kind of volume adjusting method and terminal
CN109819104A (en)*2018-12-262019-05-28努比亚技术有限公司A kind of terminal interaction control method, terminal and computer readable storage medium
CN110989816A (en)*2019-09-242020-04-10华为技术有限公司 Application processing method, device and storage medium
CN112073797A (en)*2019-06-102020-12-11海信视像科技股份有限公司Volume adjusting method and display device
CN112199069A (en)*2020-09-072021-01-08上海商米科技集团股份有限公司Audio control method and readable medium during multi-application operation based on Andriod
CN112256231A (en)*2020-10-202021-01-22北京字节跳动网络技术有限公司Volume control method, device, terminal and storage medium
CN112306451A (en)*2020-10-302021-02-02西安万像电子科技有限公司 A volume adjustment method, device and system

Patent Citations (16)

* Cited by examiner, † Cited by third party
Publication numberPriority datePublication dateAssigneeTitle
CN104216772A (en)*2013-06-032014-12-17上海帛茂信息科技有限公司Method for electronic equipment supporting multiple windows to control audio frequency corresponding to different windows
CN103489461A (en)*2013-09-182014-01-01广东欧珀移动通信有限公司Method, system and player for playing audio file
CN103680564A (en)*2013-12-062014-03-26厦门雅迅网络股份有限公司Method for adjusting external audio access and volume of vehicle-mounted terminal in unified mode
CN106201430A (en)*2016-08-312016-12-07维沃移动通信有限公司 Method and electronic device for adjusting volume
CN106406803A (en)*2016-08-312017-02-15青岛海信移动通信技术股份有限公司Volume control method and device of terminal application
CN106454506A (en)*2016-11-152017-02-22四川长虹电器股份有限公司Audio route control method in multi-window environment of intelligent television
CN107239254A (en)*2017-05-182017-10-10宇龙计算机通信科技(深圳)有限公司A kind of method for controlling volume and device
CN108932087A (en)*2018-06-222018-12-04中广热点云科技有限公司Desktop split screen system and its implementation for mobile device
CN109508168A (en)*2018-10-302019-03-22Oppo(重庆)智能科技有限公司Multichannel volume adjusting method and relevant apparatus
CN109683847A (en)*2018-12-202019-04-26维沃移动通信有限公司A kind of volume adjusting method and terminal
CN109819104A (en)*2018-12-262019-05-28努比亚技术有限公司A kind of terminal interaction control method, terminal and computer readable storage medium
CN112073797A (en)*2019-06-102020-12-11海信视像科技股份有限公司Volume adjusting method and display device
CN110989816A (en)*2019-09-242020-04-10华为技术有限公司 Application processing method, device and storage medium
CN112199069A (en)*2020-09-072021-01-08上海商米科技集团股份有限公司Audio control method and readable medium during multi-application operation based on Andriod
CN112256231A (en)*2020-10-202021-01-22北京字节跳动网络技术有限公司Volume control method, device, terminal and storage medium
CN112306451A (en)*2020-10-302021-02-02西安万像电子科技有限公司 A volume adjustment method, device and system

Cited By (4)

* Cited by examiner, † Cited by third party
Publication numberPriority datePublication dateAssigneeTitle
CN113377328A (en)*2021-06-242021-09-10广州朗国电子科技有限公司Sound following method and device in all-in-one machine multi-window mode and storage medium
CN114071203A (en)*2021-11-102022-02-18四川长虹电器股份有限公司Method and system for controlling specific application volume of smart television
CN116737104A (en)*2022-09-162023-09-12荣耀终端有限公司 Volume adjustment method and related devices
CN116737104B (en)*2022-09-162024-07-30荣耀终端有限公司 Volume adjustment method and related device

Similar Documents

PublicationPublication DateTitle
US10635379B2 (en)Method for sharing screen between devices and device using the same
JP5948434B2 (en) Application switcher
CN109074276B (en)Tab in system task switcher
US9519397B2 (en)Data display method and apparatus
US9645782B2 (en)Multiple displays for displaying workspaces
CN113553024A (en)Volume configuration method of split screen window, storage medium and terminal equipment
CN107748686A (en) Application startup optimization method, device, storage medium and intelligent terminal
WO2019041779A1 (en)Terminal interface switching, moving and gesture processing method and device and terminal
US8706275B2 (en)Systems and methods for application sound management
KR20140001120A (en)Method and electronic device of task processing of one screen and multi-foreground
TW201903594A (en)Icon display method, device, apparatus and storage medium capable of allowing a user to be intuitively aware of the processing progress corresponding to an application through the display status of an application icon thereby improving the use experience
CN108984093A (en)Touch operation method and device, storage medium and electronic equipment
CN114296595A (en) A display method, device and electronic device
CN108549575A (en)Exit processing method, device, storage medium and the electronic equipment of split screen
CN114564134A (en) Application icon display method and device
US12014019B2 (en)Display method, apparatus and computer readable storage medium
CN114397989A (en)Parameter value setting method and device, electronic equipment and storage medium
CN108021301A (en)A kind of volume adjusting method, terminal device and computer-readable recording medium
JP6528400B2 (en) INFORMATION PROCESSING APPARATUS, INFORMATION PROCESSING SYSTEM, CONTROL METHOD OF INFORMATION PROCESSING APPARATUS, AND PROGRAM
US10750226B2 (en)Portal to an external display
JP2023063313A (en) Method and computer program for generating menu model for character user interface
CN112711447A (en)Terminal equipment control method and device, storage medium and terminal equipment
CN112015514B (en)Method and device for updating material preview window of electronic whiteboard
US20230384905A1 (en)End-user created cropped application window
CN107179873B (en)One-hand operation method and device based on application program interface

Legal Events

DateCodeTitleDescription
PB01Publication
PB01Publication
SE01Entry into force of request for substantive examination
SE01Entry into force of request for substantive examination
RJ01Rejection of invention patent application after publication

Application publication date:20211026

RJ01Rejection of invention patent application after publication

[8]ページ先頭

©2009-2025 Movatter.jp