





技术领域technical field
本发明涉及医疗器械技术领域,尤其涉及一种植入式微型磁悬浮轴流血泵。The invention relates to the technical field of medical devices, in particular to an implantable miniature magnetic suspension axial blood pump.
背景技术Background technique
血性心力衰竭(CHF)是大多数心脏病心肌功能异常的常见临床表现,心律失常、高血压型心脏病、缺血性心脏病和感染性心脏病均能引起CHF。尽管得益于医疗技术的发展,现在心衰患者的生存率较前明显提高,但是其死亡率仍然很高,约50%心衰的患者在未来的5年内死亡。心脏移植是治疗终末期心力衰竭的首选方法,但受到供体不足的限制,中国每年完成的心脏移植手术仅有数百例。因此,使用机械辅助循环装置(人工心脏)暂时或永久代替心脏移植是一个非常有前景的发展方向。Congestive heart failure (CHF) is a common clinical manifestation of abnormal myocardial function in most heart diseases. Arrhythmia, hypertensive heart disease, ischemic heart disease and infectious heart disease can all cause CHF. Although thanks to the development of medical technology, the survival rate of heart failure patients is significantly improved than before, but the mortality rate is still high, and about 50% of patients with heart failure will die in the next 5 years. Heart transplantation is the preferred method for the treatment of end-stage heart failure, but limited by the shortage of donors, only a few hundred heart transplants are performed each year in China. Therefore, the use of mechanically assisted circulatory devices (artificial hearts) to temporarily or permanently replace heart transplantation is a very promising development direction.
第一代人工心脏是以气体驱动的容积式血泵,通过气动控制血袋的容积实现泵血功能,容积式血泵可以模拟心脏的搏动状态,但是其体积庞大,且存在较为严重的溶血现象,容易形成血栓和发生连接部位感染。第二代人工心脏是有接触轴承及密封装置的连续式血泵,虽然在很大程度上减小了设备的体积,使其更易于植入,但与血液接触的轴承和密封装置会污染血液,因此并不适合长期植入;并且目前的人工心脏以连续式血泵为主,由于其无法模拟人类自体心脏的搏动状态,从而会引发一些特定的并发症,如器官出血等。因此,亟需提高人工心脏性能及适用性。The first-generation artificial heart is a volumetric blood pump driven by gas, and the pumping function is realized by pneumatically controlling the volume of the blood bag. The volumetric blood pump can simulate the pulsating state of the heart, but it is bulky and has serious hemolysis. , prone to thrombosis and junction site infections. The second-generation artificial heart is a continuous blood pump with contact bearings and sealing devices. Although the volume of the device is reduced to a large extent, making it easier to implant, the bearings and sealing devices in contact with blood will contaminate the blood. , so it is not suitable for long-term implantation; and the current artificial heart is mainly a continuous blood pump, because it cannot simulate the beating state of the human heart, which will cause some specific complications, such as organ bleeding. Therefore, there is an urgent need to improve the performance and applicability of artificial hearts.
发明内容SUMMARY OF THE INVENTION
本发明提供一种植入式微型磁悬浮轴流血泵,能够提高血泵效率,提高血液流量,减少溶血发生,同时能够产生搏动式的血流,降低相关并发症的发生率。The invention provides an implantable miniature magnetic suspension axial blood pump, which can improve the efficiency of the blood pump, increase the blood flow, reduce the occurrence of hemolysis, and at the same time, can generate pulsatile blood flow and reduce the incidence of related complications.
本发明提供一种植入式微型磁悬浮轴流血泵,包括:第一壳体;转子组件,活动设置于所述第一壳体内部,所述转子组件包括转子和永磁体组,所述永磁体组包括若干环布设置于所述转子外侧的永磁体,且所述永磁体组适于带动所述转子沿着设定圆周方向转动以及沿着设定轴向往复移动;两个电磁体组,相对设置于所述第一壳体上,且所述两个电磁体组分别设置于所述永磁体组的两侧;所述电磁体组包括围绕所述转子环布设置的多个控制磁体;沿着所述设定圆周方向,所述控制磁体包括位于对应所述永磁体前方的第一磁体,以及位于对应所述永磁体后方的第二磁体,所述第一磁体和所述第二磁体适于驱动所述永磁体沿所述设定圆周方向转动;所述控制磁体还包括位于所述第一磁体和所述第二磁体之间的第三磁体,所述第三磁体适于驱动所述永磁体沿着所述设定轴向往复移动。The present invention provides an implantable miniature magnetic levitation axial blood pump, comprising: a first casing; a rotor assembly movably arranged inside the first casing, the rotor assembly including a rotor and a permanent magnet group, the permanent magnets The group includes a plurality of permanent magnets arranged around the outside of the rotor, and the permanent magnet group is suitable for driving the rotor to rotate along the set circumferential direction and reciprocate along the set axial direction; the two electromagnet sets, are oppositely arranged on the first housing, and the two electromagnet sets are respectively arranged on both sides of the permanent magnet set; the electromagnet sets include a plurality of control magnets arranged around the rotor; Along the set circumferential direction, the control magnet includes a first magnet located in front of the permanent magnet, and a second magnet located behind the permanent magnet, the first magnet and the second magnet is adapted to drive the permanent magnet to rotate along the set circumferential direction; the control magnet further comprises a third magnet located between the first magnet and the second magnet, the third magnet is adapted to drive the The permanent magnet reciprocates along the set axis.
根据本发明提供的一种植入式微型磁悬浮轴流血泵,所述第一壳体的中部向外凸起,构造出环凸部,所述两个电磁体组分别相对设置于所述环凸部的两端面上;所述永磁体组位于所述环凸部内。According to an implantable miniature magnetic levitation axial blood pump provided by the present invention, the middle part of the first casing protrudes outward to form an annular convex part, and the two electromagnet groups are respectively arranged opposite to the annular convex part. The two end faces of the part; the permanent magnet group is located in the ring convex part.
根据本发明提供的一种植入式微型磁悬浮轴流血泵,所述环凸部的外部罩设有第二壳体。According to an implantable miniature magnetic suspension axial blood pump provided by the present invention, the outer cover of the annular convex portion is provided with a second casing.
根据本发明提供的一种植入式微型磁悬浮轴流血泵,所述第一磁体和所述第二磁体的磁极相反。According to an implantable miniature magnetic suspension axial blood pump provided by the present invention, the magnetic poles of the first magnet and the second magnet are opposite.
根据本发明提供的一种植入式微型磁悬浮轴流血泵,所述永磁体与两侧的所述第三磁体为斥力作用。According to an implantable miniature magnetic levitation axial blood pump provided by the present invention, the permanent magnets and the third magnets on both sides are repulsive.
根据本发明提供的一种植入式微型磁悬浮轴流血泵,所述电磁体组和所述永磁体组沿轴向的投影至少部分重合。According to the implantable miniature magnetic suspension axial blood pump provided by the present invention, the projections of the electromagnet group and the permanent magnet group along the axial direction at least partially overlap.
根据本发明提供的一种植入式微型磁悬浮轴流血泵,所述电磁体组的圆环外径大于所述永磁体组的圆环外径。According to the implantable miniature magnetic suspension axial blood pump provided by the present invention, the outer diameter of the ring of the electromagnet group is larger than the outer diameter of the ring of the permanent magnet group.
根据本发明提供的一种植入式微型磁悬浮轴流血泵,所述永磁体设有三个,且每个所述电磁体组设有九个所述控制磁体,每个所述永磁体的两侧分别对应于三个所述控制磁体。According to an implantable miniature magnetic suspension axial blood pump provided by the present invention, three permanent magnets are provided, and each electromagnet group is provided with nine control magnets, and two sides of each permanent magnet are provided respectively correspond to the three control magnets.
根据本发明提供的一种植入式微型磁悬浮轴流血泵,所述转子为螺旋叶片结构。According to an implantable miniature magnetic levitation axial blood pump provided by the present invention, the rotor is of a helical blade structure.
根据本发明提供的一种植入式微型磁悬浮轴流血泵,所述第一壳体的内部设有导叶,所述导叶分别位于所述转子的两端。According to an implantable miniature magnetic levitation axial blood pump provided by the present invention, guide vanes are arranged inside the first housing, and the guide vanes are respectively located at both ends of the rotor.
本发明提供的植入式微型磁悬浮轴流血泵,通过去除转轴和轴承等零件,减小了传统轴流泵中转子的轴径尺寸,提高了血泵效率,能够在更低的转速下实现更高的血液流量输出,减少溶血;通过第一磁体和第二磁体控制转子的转动,通过第三磁体控制转子轴向往复移动,实现了搏动式的血流流动,相比于目前常见的转速控制方法,减少了由于转子转速突然变化导致的血液破坏,同时由于转子的不断往复运动,使泵内流场不断变化,血液不断更新,避免了血液流动缓慢区域的形成,有效防止血栓生成。The implanted miniature magnetic suspension axial blood pump provided by the invention reduces the shaft diameter of the rotor in the traditional axial flow pump by removing parts such as the rotating shaft and the bearing, improves the efficiency of the blood pump, and can realize the operation at a lower rotational speed. Higher blood flow output, reducing hemolysis; the rotation of the rotor is controlled by the first magnet and the second magnet, and the axial reciprocating movement of the rotor is controlled by the third magnet, realizing pulsatile blood flow, which is compared with the current common rotational speed. The control method reduces the blood damage caused by the sudden change of the rotor speed, and at the same time, due to the continuous reciprocating motion of the rotor, the flow field in the pump is constantly changing, and the blood is constantly updated, which avoids the formation of slow blood flow areas and effectively prevents thrombosis.
本发明的附加方面和优点将在下面的描述中部分给出,部分将从下面的描述中变得明显,或通过本发明的实践了解到。Additional aspects and advantages of the present invention will be set forth, in part, from the following description, and in part will be apparent from the following description, or may be learned by practice of the invention.
附图说明Description of drawings
为了更清楚地说明本发明或相关技术中的技术方案,下面将对实施例或相关技术描述中所需要使用的附图作一简单地介绍,显而易见地,下面描述中的附图是本发明的一些实施例,对于本领域普通技术人员来讲,在不付出创造性劳动的前提下,还可以根据这些附图获得其他的附图。In order to illustrate the technical solutions in the present invention or related technologies more clearly, the following briefly introduces the accompanying drawings used in the description of the embodiments or related technologies. Obviously, the drawings in the following description are related to the present invention. In some embodiments, for those of ordinary skill in the art, other drawings can also be obtained according to these drawings without any creative effort.
图1是本发明提供的植入式微型磁悬浮轴流血泵的结构示意图;Fig. 1 is the structural representation of the implanted miniature magnetic suspension axial blood pump provided by the present invention;
图2是本发明提供的电磁体组的结构示意图;2 is a schematic structural diagram of an electromagnet set provided by the present invention;
图3是本发明提供的永磁体组的结构示意图;Fig. 3 is the structural representation of the permanent magnet group provided by the present invention;
图4是本发明提供的植入式微型磁悬浮轴流血泵的工作原理示意图;4 is a schematic diagram of the working principle of the implantable miniature magnetic levitation axial blood pump provided by the present invention;
图5是本发明提供的植入式微型磁悬浮轴流血泵产生搏动血流的工作示意图一;5 is a working schematic diagram 1 of the implantable miniature magnetic levitation axial flow blood pump provided by the present invention to generate pulsatile blood flow;
图6是本发明提供的植入式微型磁悬浮轴流血泵产生搏动血流的工作示意图二;Fig. 6 is the working schematic diagram 2 of the implanted miniature magnetic levitation axial flow blood pump provided by the present invention to generate pulsatile blood flow;
附图标记:Reference number:
1:第一壳体;11:环凸部;2:第二壳体;3:导叶;1: the first shell; 11: the ring convex part; 2: the second shell; 3: the guide vane;
4:电磁体组;41:第一磁体;42:第三磁体;43:第二磁体;4: Electromagnet group; 41: First magnet; 42: Third magnet; 43: Second magnet;
5:永磁体组;51:第一永磁体;52:第二永磁体;5: permanent magnet group; 51: first permanent magnet; 52: second permanent magnet;
53:第三永磁体;6:转子。53: the third permanent magnet; 6: the rotor.
具体实施方式Detailed ways
为使本发明的目的、技术方案和优点更加清楚,下面将结合本发明中的附图,对本发明中的技术方案进行清楚、完整地描述,显然,所描述的实施例是本发明一部分实施例,而不是全部的实施例。基于本发明中的实施例,本领域普通技术人员在没有作出创造性劳动前提下所获得的所有其他实施例,都属于本发明保护的范围。In order to make the objectives, technical solutions and advantages of the present invention clearer, the technical solutions in the present invention will be clearly and completely described below with reference to the accompanying drawings. Obviously, the described embodiments are part of the embodiments of the present invention. , not all examples. Based on the embodiments of the present invention, all other embodiments obtained by those of ordinary skill in the art without creative efforts shall fall within the protection scope of the present invention.
在本发明实施例的描述中,需要说明的是,术语“前”、“后”、“内”、“外”等指示的方位或位置关系为基于附图所示的方位或位置关系,仅是为了便于描述本发明实施例和简化描述,而不是指示或暗示所指的装置或元件必须具有特定的方位、以特定的方位构造和操作,因此不能理解为对本发明实施例的限制。此外,术语“第一”、“第二”、“第三”仅用于描述目的,而不能理解为指示或暗示相对重要性。In the description of the embodiments of the present invention, it should be noted that the orientations or positional relationships indicated by the terms "front", "rear", "inside", "outside", etc. are based on the orientations or positional relationships shown in the drawings, only It is for the convenience of describing the embodiments of the present invention and simplifying the description, rather than indicating or implying that the referred devices or elements must have a specific orientation, be constructed and operated in a specific orientation, and therefore should not be construed as a limitation on the embodiments of the present invention. Furthermore, the terms "first", "second", and "third" are used for descriptive purposes only and should not be construed to indicate or imply relative importance.
在本发明实施例的描述中,需要说明的是,除非另有明确的规定和限定,术语“相连”、“连接”应做广义理解,例如,可以是固定连接,也可以是可拆卸连接,或一体连接;可以是机械连接,也可以是电连接;可以是直接相连,也可以通过中间媒介间接相连。对于本领域的普通技术人员而言,可以具体情况理解上述术语在本发明实施例中的具体含义。In the description of the embodiments of the present invention, it should be noted that, unless otherwise expressly specified and limited, the terms "connected" and "connected" should be understood in a broad sense, for example, it may be a fixed connection or a detachable connection, Or integral connection; it can be mechanical connection or electrical connection; it can be directly connected or indirectly connected through an intermediate medium. Those of ordinary skill in the art can understand the specific meanings of the above terms in the embodiments of the present invention in specific situations.
在本发明实施例中,除非另有明确的规定和限定,第一特征在第二特征“上”或“下”可以是第一和第二特征直接接触,或第一和第二特征通过中间媒介间接接触。而且,第一特征在第二特征“之上”、“上方”和“上面”可是第一特征在第二特征正上方或斜上方,或仅仅表示第一特征水平高度高于第二特征。第一特征在第二特征“之下”、“下方”和“下面”可以是第一特征在第二特征正下方或斜下方,或仅仅表示第一特征水平高度小于第二特征。In the embodiments of the present invention, unless otherwise expressly specified and limited, the first feature "above" or "under" the second feature may be in direct contact with the first and second features, or the first and second features pass through the middle indirect contact with the media. Also, the first feature being "above", "over" and "above" the second feature may mean that the first feature is directly above or obliquely above the second feature, or simply means that the first feature is level higher than the second feature. The first feature being "below", "below" and "below" the second feature may mean that the first feature is directly below or obliquely below the second feature, or simply means that the first feature has a lower level than the second feature.
在本说明书的描述中,参考术语“一个实施例”、“一些实施例”、“示例”、“具体示例”、或“一些示例”等的描述意指结合该实施例或示例描述的具体特征、结构、材料或者特点包含于本发明实施例的至少一个实施例或示例中。在本说明书中,对上述术语的示意性表述不必须针对的是相同的实施例或示例。而且,描述的具体特征、结构、材料或者特点可以在任一个或多个实施例或示例中以合适的方式结合。此外,在不相互矛盾的情况下,本领域的技术人员可以将本说明书中描述的不同实施例或示例以及不同实施例或示例的特征进行结合和组合。In the description of this specification, description with reference to the terms "one embodiment," "some embodiments," "example," "specific example," or "some examples", etc., mean specific features described in connection with the embodiment or example , structures, materials, or features are included in at least one example or example of embodiments of the present invention. In this specification, schematic representations of the above terms are not necessarily directed to the same embodiment or example. Furthermore, the particular features, structures, materials or characteristics described may be combined in any suitable manner in any one or more embodiments or examples. Furthermore, those skilled in the art may combine and combine the different embodiments or examples described in this specification, as well as the features of the different embodiments or examples, without conflicting each other.
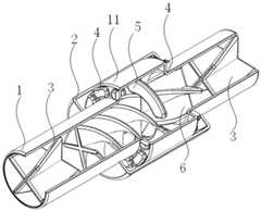
根据本发明的实施例,如图1-图3所示,本发明提供的植入式微型磁悬浮轴流血泵,主要包括:第一壳体1、转子组件和两个电磁体组4。其中,第一壳体1作为泵壳;转子组件活动设置于第一壳体1内部,转子组件包括转子6和永磁体组5,永磁体组5包括若干环布设置于转子6外侧的永磁体,在本示例中,永磁体包括第一永磁体51,第二永磁体52和第三永磁体53,且永磁体组5适于带动转子6沿着设定圆周方向转动以及沿着设定轴向往复移动;两个电磁体组4相对设置于第一壳体1上,且两个电磁体组4分别设置于永磁体组5的两侧;电磁体组4包括围绕转子6环布设置的多个控制磁体;沿着设定圆周方向,控制磁体包括位于对应永磁体前方的第一磁体41,以及位于对应永磁体后方的第二磁体43,第一磁体41和第二磁体43适于驱动永磁体沿设定圆周方向转动;控制磁体还包括位于第一磁体41和第二磁体43之间的第三磁体42,第三磁体42适于驱动永磁体沿着设定轴向往复移动。应当理解的是,本发明转子组件在连续旋转过程中,每当旋转至控制位置时,电磁体组4具有上述设置。According to an embodiment of the present invention, as shown in FIGS. 1-3 , the implantable miniature magnetic levitation axial blood pump provided by the present invention mainly includes: a
因此,本发明实施例通过去除转轴和轴承等零件,减小了传统轴流泵中转子6的轴径尺寸,提高了血泵效率,且相比于现有技术提高了转子6表面与血液的接触面积,能够在更低的转速下实现更高的血液流量输出,减少溶血;通过第一磁体41和第二磁体43控制转子6的转动,通过第三磁体42控制转子6轴向往复移动,实现了搏动式的血流流动,相比于目前常见的转速控制方法,减少了由于转子6转速突然变化导致的血液破坏,同时由于转子6的不断往复运动,使泵内流场不断变化,血液不断更新,避免了血液流动缓慢区域的形成,有效防止血栓生成。Therefore, the embodiment of the present invention reduces the shaft diameter of the rotor 6 in the traditional axial flow pump by removing parts such as the rotating shaft and the bearing, improves the efficiency of the blood pump, and improves the contact between the surface of the rotor 6 and the blood compared with the prior art. The contact area can achieve higher blood flow output at a lower speed and reduce hemolysis; the rotation of the rotor 6 is controlled by the
根据本发明的实施例,第一壳体1的中部向外凸起,构造出环凸部11,两个电磁体组4分别相对设置于环凸部11的两端面上;永磁体组5位于环凸部11内。本发明通过设置环凸部11,一方面,环凸部11作为电磁体组4的安装载体,避免了电磁体组4与第一壳体1内部的血液接触,提高安全性;另一方面,环凸部11可以对永磁体组5的轴向往复移动进行限位,提高稳定性。According to the embodiment of the present invention, the middle part of the
根据本发明的实施例,环凸部11的外部罩设有第二壳体2,植入时,用于保护电磁体组4,提高安全性。According to the embodiment of the present invention, the outer cover of the annular
根据本发明的实施例,第一壳体1和第二壳体2为圆柱形。According to the embodiment of the present invention, the
根据本发明的实施例,第一磁体41和第二磁体43的磁极相反。具体的,每当转子6旋转至控制位置时,通过控制第一磁体41和第二磁体43的磁场方向,使其互为相反,此时,第二磁体43对永磁体在设定圆周方向的后端产生斥力,第一磁体41对永磁体在设定圆周方向的前端产生引力,进而对永磁体形成一个沿着设定圆周方向的合力并带动转子6进行旋转,从而驱动血液进行流动。并且,通过控制第一磁体41和第二磁体43的磁场方向以控制转子组件的旋转方向,通过控制第一磁体41和第二磁体43的电流大小以控制转子组件的转速。可以理解的是,本发明也可以通过对转动速度的控制辅助产生搏动式的血液流动。According to the embodiment of the present invention, the magnetic poles of the
根据本发明的实施例,永磁体组5与两侧的第三磁体42共同产生斥力作用,固定了转子组件的相对位置,使其悬浮,保证了稳定性。According to the embodiment of the present invention, the
根据本发明的实施例,电磁体组4和永磁体组5沿轴向的投影至少部分重合,便于产生相互作用力,提高稳定性。According to the embodiment of the present invention, the projections of the
根据本发明的实施例,电磁体组4的圆环外径大于永磁体组5的圆环外径,有效防止转子6在旋转过程中产生偏心。According to the embodiment of the present invention, the outer diameter of the ring of the
在一个实施例中,永磁体组5设有三个永磁体,分别为第一永磁体51,第二永磁体52和第三永磁体53,且每个电磁体组4设有九个控制磁体,每个永磁体的两侧分别对应于三个控制磁体,即每个永磁体旋转至控制位置时,通过第一磁体41、第二磁体43和第三磁体42进行控制。在一些示例中,永磁体组5包含的永磁体和电磁体组4包含的控制磁体也可以为其他数量。In one embodiment, the
根据本发明的实施例,转子6为螺旋叶片结构。According to the embodiment of the present invention, the rotor 6 is of a helical blade structure.
根据本发明的实施例,第一壳体1的内部设有导叶3,导叶3分别位于转子6的两端;并且第一壳体1的两端分别设有血液入口和血液出口,且导叶3分别设置于血液入口和血液出口处,便于导流。According to the embodiment of the present invention, guide
下面以第一永磁体51为例,对本发明提供的植入式微型磁悬浮轴流血泵的工作原理进行描述,主要包括转子组件沿着设定圆周方向转动以及沿着设定轴向往复移动。The first
转子组件沿着设定圆周方向转动:部分电磁铁组4与永磁体组5的展开图如图4所示,当第一永磁体51位于当前控制位置①时,第一磁体41和第二磁体43的磁极相反,第一磁体41吸引第一永磁体51向前转动,并且第二磁体43推动第一永磁体51向前转动,实现第一永磁体51沿设定圆周方向转动;通过第三磁体42与第一永磁体51的斥力作用,保证第一永磁体51的位置稳定;The rotor assembly rotates along the set circumferential direction: the expanded view of part of the
当第一永磁体51旋转至下一控制位置②时,分别控制位于控制位置①中前方的第一磁体41和与其相邻的第二磁体43的磁极换向,此时,位于控制位置①的第三磁体42变为控制位置②的第二磁体43,第一磁体41变为控制位置②的第三磁体42,与第一磁体41相邻的第二磁体43变为控制位置②的第一磁体41;When the first
当第一永磁体51旋转至下一控制位置③时,分别控制位于控制位置②中前方的第一磁体41和与其相邻的第二磁体43的磁极换向,此时,位于控制位置②的第三磁体42变为控制位置③的第二磁体43,第一磁体41变为控制位置③的第三磁体42,与第一磁体41相邻的第二磁体43变为控制位置③的第一磁体41;When the first
依次类推,最后,循环至控制位置①。And so on, and finally, loop to the
转子组件沿着设定轴向往复移动,即搏动式血液流动:如图5和图6所示,通过周期性地增大与减小位于永磁体组5两侧的第三磁体42的控制电流,使转子组件的轴向位置产生周期性的变化,从而实现血液流动方式的变化。具体实施方式为:The rotor assembly reciprocates along the set axial direction, that is, pulsatile blood flow: as shown in FIGS. 5 and 6 , by periodically increasing and decreasing the control current of the
首先,如图5所示,减小第一侧(左侧)第三磁体42上的控制电流,增大第二侧(右侧)第三磁体42上的控制电流,从而使第二侧的第三磁体42对永磁体组5的斥力大于第一侧的第三磁体42对永磁体组5的斥力,因此,转子组件向第一侧的电磁体组4移动,从而达到新的受力平衡状态。First, as shown in FIG. 5 , the control current on the
其次,如图6所示,增大第一侧(左侧)第三磁体42上的控制电流,减小第二侧(右侧)第三磁体42上的控制电流,从而使第一侧的第三磁体42对永磁体组5的斥力大于第二侧的第三磁体42对永磁体组5的斥力,因此,转子组件向第二侧的电磁体组4移动,达到新的受力平衡状态。不断重复以上两步,即可实现永磁体组5与转子6的轴向往复运动,产生搏动式血液流动。Next, as shown in FIG. 6 , the control current on the
在本实施例中,通过周期性的控制电流变化使永磁体组5产生周期性的位移,并带动转子6在轴向进行周期性的往复运动,从而产生搏动的血液流动。同时,由于电磁体组4的可控性较强,通过对两侧的第三磁体42的电流控制,可以实现不同频率与不同幅度的搏动式血液流动。In this embodiment, the
并且,由于转子6的不断往复运动,使泵内流场不断变化,血液不断更新,避免了血液流动缓慢区域的形成,有效防止血栓生成。In addition, due to the continuous reciprocating motion of the rotor 6, the flow field in the pump is constantly changed, and the blood is constantly updated, which avoids the formation of areas with slow blood flow and effectively prevents the formation of thrombus.
最后应说明的是:以上实施例仅用以说明本发明的技术方案,而非对其限制;尽管参照前述实施例对本发明进行了详细的说明,本领域的普通技术人员应当理解:其依然可以对前述各实施例所记载的技术方案进行修改,或者对其中部分技术特征进行等同替换;而这些修改或者替换,并不使相应技术方案的本质脱离本发明各实施例技术方案的精神和范围。Finally, it should be noted that: the above embodiments are only used to illustrate the technical solutions of the present invention, but not to limit them; although the present invention has been described in detail with reference to the foregoing embodiments, those of ordinary skill in the art should understand: it can still be Modifications are made to the technical solutions described in the foregoing embodiments, or some technical features thereof are equivalently replaced; and these modifications or replacements do not make the essence of the corresponding technical solutions depart from the spirit and scope of the technical solutions of the embodiments of the present invention.
| Application Number | Priority Date | Filing Date | Title |
|---|---|---|---|
| CN202110795768.2ACN113546297B (en) | 2021-07-14 | 2021-07-14 | Implanted miniature magnetic suspension axial flow blood pump |
| Application Number | Priority Date | Filing Date | Title |
|---|---|---|---|
| CN202110795768.2ACN113546297B (en) | 2021-07-14 | 2021-07-14 | Implanted miniature magnetic suspension axial flow blood pump |
| Publication Number | Publication Date |
|---|---|
| CN113546297A CN113546297A (en) | 2021-10-26 |
| CN113546297Btrue CN113546297B (en) | 2022-06-17 |
| Application Number | Title | Priority Date | Filing Date |
|---|---|---|---|
| CN202110795768.2AActiveCN113546297B (en) | 2021-07-14 | 2021-07-14 | Implanted miniature magnetic suspension axial flow blood pump |
| Country | Link |
|---|---|
| CN (1) | CN113546297B (en) |
| Publication number | Priority date | Publication date | Assignee | Title |
|---|---|---|---|---|
| CN114392476B (en)* | 2022-01-17 | 2024-02-06 | 上海炫脉医疗科技有限公司 | High-temperature superconductive magnetic suspension axial flow type blood pump |
| Publication number | Priority date | Publication date | Assignee | Title |
|---|---|---|---|---|
| CN1849739A (en)* | 2003-09-10 | 2006-10-18 | 精工爱普生株式会社 | Fan units using motors equipped with rotors integrated with blades |
| CN102397598A (en)* | 2011-11-18 | 2012-04-04 | 武汉理工大学 | Compact axial-flow magnetic-levitation artificial heart pump |
| CN204890743U (en)* | 2015-03-24 | 2015-12-23 | 山东科技大学 | Axial -flow type magnetic suspension leaf wheel transmission |
| CN107261231A (en)* | 2017-07-25 | 2017-10-20 | 中国医学科学院阜外医院 | A kind of Axial feedback controls magnetic levitation axial flow blood pump |
| Publication number | Priority date | Publication date | Assignee | Title |
|---|---|---|---|---|
| US5840070A (en)* | 1996-02-20 | 1998-11-24 | Kriton Medical, Inc. | Sealless rotary blood pump |
| EP2582414B1 (en)* | 2010-06-18 | 2021-08-04 | Heartware, Inc. | Rotor for a blood pump with hydrodynamic chamfer thrust bearings |
| US10828408B2 (en)* | 2016-02-05 | 2020-11-10 | Berlin Heart Gmbh | Blood pump supported by passive magnetic forces |
| CN108785770A (en)* | 2018-04-18 | 2018-11-13 | 清华大学天津高端装备研究院 | A kind of external blood pump that can reduce haemolysis |
| CN110855120B (en)* | 2019-11-15 | 2021-07-23 | 重庆交通大学 | Self-shielding magnet structure active suspension electromagnetic actuator |
| Publication number | Priority date | Publication date | Assignee | Title |
|---|---|---|---|---|
| CN1849739A (en)* | 2003-09-10 | 2006-10-18 | 精工爱普生株式会社 | Fan units using motors equipped with rotors integrated with blades |
| CN102397598A (en)* | 2011-11-18 | 2012-04-04 | 武汉理工大学 | Compact axial-flow magnetic-levitation artificial heart pump |
| CN204890743U (en)* | 2015-03-24 | 2015-12-23 | 山东科技大学 | Axial -flow type magnetic suspension leaf wheel transmission |
| CN107261231A (en)* | 2017-07-25 | 2017-10-20 | 中国医学科学院阜外医院 | A kind of Axial feedback controls magnetic levitation axial flow blood pump |
| Publication number | Publication date |
|---|---|
| CN113546297A (en) | 2021-10-26 |
| Publication | Publication Date | Title |
|---|---|---|
| CN102397598B (en) | Compact axial-flow magnetic-levitation artificial heart pump | |
| US7972122B2 (en) | Multiple rotor, wide blade, axial flow pump | |
| US9943630B2 (en) | Impeller for axial flow pump | |
| US6595762B2 (en) | Hybrid magnetically suspended and rotated centrifugal pumping apparatus and method | |
| US5211546A (en) | Axial flow blood pump with hydrodynamically suspended rotor | |
| CN103877630B (en) | Axial magnetic unload-type axial-flow pump heart-assist device | |
| US7699586B2 (en) | Wide blade, axial flow pump | |
| US6302661B1 (en) | Electromagnetically suspended and rotated centrifugal pumping apparatus and method | |
| CN205460099U (en) | Novel centrifugal artificial heart pump | |
| CN203842087U (en) | Axial magnetic force uninstalling type axial flow pump heart auxiliary device | |
| CN107890590B (en) | Dynamic magnetic balance suspension centrifugal blood pump | |
| CN205322884U (en) | Novel axial -flow type artificial heart pump | |
| CN106512118B (en) | A kind of full-implantation type magnetic liquid dual suspension axial flow blood pump | |
| CN111012963B (en) | Artificial heart power pump | |
| CN104258481A (en) | Magnetic suspension axial flow type spiral driving device | |
| CN104389793A (en) | Magnetic levitation axial flow impeller driving device | |
| CN207612184U (en) | A magnetic levitation switched reluctance motor with inner and outer double stator helical teeth | |
| CN113546297B (en) | Implanted miniature magnetic suspension axial flow blood pump | |
| CN114367029A (en) | Magnetic drive separation built-in type fluctuation pumping blood ventricle blood pump | |
| CN111001056A (en) | Magnetic suspension axial flow type blood pump | |
| CN103893849A (en) | Fully-implanted axial-flow type blood pump driven by large air gap magnetic force and control method thereof | |
| CN113082506B (en) | Blood pump applied to artificial heart | |
| Qian et al. | A novel permanent maglev impeller TAH: most requirements on blood pumps have been satisfied | |
| CN211751375U (en) | Artificial heart power pump | |
| CN109010970B (en) | Pump device for cardiovascular surgery |
| Date | Code | Title | Description |
|---|---|---|---|
| PB01 | Publication | ||
| PB01 | Publication | ||
| SE01 | Entry into force of request for substantive examination | ||
| SE01 | Entry into force of request for substantive examination | ||
| GR01 | Patent grant | ||
| GR01 | Patent grant |