Movatterモバイル変換


[0]ホーム

URL:


CN113498173B - Method and apparatus in a node used for wireless communication - Google Patents

Method and apparatus in a node used for wireless communication
Download PDF

Info

Publication number
CN113498173B
CN113498173BCN202010201008.XACN202010201008ACN113498173BCN 113498173 BCN113498173 BCN 113498173BCN 202010201008 ACN202010201008 ACN 202010201008ACN 113498173 BCN113498173 BCN 113498173B
Authority
CN
China
Prior art keywords
signaling
type
time
frequency resource
resource pool
Prior art date
Legal status (The legal status is an assumption and is not a legal conclusion. Google has not performed a legal analysis and makes no representation as to the accuracy of the status listed.)
Active
Application number
CN202010201008.XA
Other languages
Chinese (zh)
Other versions
CN113498173A (en
Inventor
张晓博
Current Assignee (The listed assignees may be inaccurate. Google has not performed a legal analysis and makes no representation or warranty as to the accuracy of the list.)
Shanghai Langbo Communication Technology Co Ltd
Original Assignee
Shanghai Langbo Communication Technology Co Ltd
Priority date (The priority date is an assumption and is not a legal conclusion. Google has not performed a legal analysis and makes no representation as to the accuracy of the date listed.)
Filing date
Publication date
Application filed by Shanghai Langbo Communication Technology Co LtdfiledCriticalShanghai Langbo Communication Technology Co Ltd
Priority to CN202010201008.XApriorityCriticalpatent/CN113498173B/en
Priority to PCT/CN2021/080952prioritypatent/WO2021185229A1/en
Publication of CN113498173ApublicationCriticalpatent/CN113498173A/en
Application grantedgrantedCritical
Publication of CN113498173BpublicationCriticalpatent/CN113498173B/en
Priority to US17/947,193prioritypatent/US20230198681A1/en
Activelegal-statusCriticalCurrent
Anticipated expirationlegal-statusCritical

Links

Images

Classifications

Landscapes

Abstract

A method and apparatus in a node used for wireless communication is disclosed. The first receiver monitors a first type of signaling and a second type of signaling in a first time-frequency resource pool, and receives the first signaling in the first time-frequency resource pool; a first transmitter that transmits a first information block in a first air interface resource block; the first type of signaling and the second type of signaling correspond to different HARQ-ACK codebooks respectively; the first information block comprises HARQ-ACK associated with the first signaling; the first type of signaling comprises a first domain; said first signaling is one of said first type of signaling; the value of the first field in the first signaling is related to both the amount of the first type of signaling transmitted in the first time-frequency resource pool and the amount of the second type of signaling transmitted in the first time-frequency resource pool.

Description

Method and apparatus in a node used for wireless communication
Technical Field
The present application relates to a transmission method and apparatus in a wireless communication system, and more particularly, to a transmission method and apparatus for a wireless signal in a wireless communication system supporting a cellular network.
Background
In the 5G system, eMBB (enhanced Mobile Broadband), and URLLC (Ultra Reliable and Low Latency Communication) are two typical traffic types. In 3GPP (3rd Generation Partner Project, third Generation partnership Project) NR (New Radio, New air interface) Release 15, a New Modulation and Coding Scheme (MCS) table is defined for the requirement of lower target BLER (10^ -5) of URLLC service. In order to support the higher required URLLC traffic, such as higher reliability (e.g. target BLER is 10^ -6), lower delay (e.g. 0.5-1ms), etc., in 3GPP NR Release 16, DCI signaling may indicate whether the scheduled PDSCH is Low Priority (Low Priority) or High Priority (High Priority), where Low Priority corresponds to URLLC traffic and High Priority corresponds to eMBB traffic. When a low priority transmission overlaps a high priority transmission in the time domain, the high priority transmission is performed and the low priority transmission is discarded.
The URLLC enhanced WI (Work Item) by NR Release 17 was passed on the 3GPP RAN #86 second-time congregation. Among them, the multiplexing of different priority services in UE (User Equipment) is a major point to be researched.
Disclosure of Invention
In order to support multiplexing of different priority services in a UE (User Equipment) (Intra-UE), how to design a HARQ (Hybrid Automatic Repeat reQuest) Codebook (Codebook) is a key problem to be solved.
In view of the above, the present application discloses a solution. In the above description of the problem, the uplink is taken as an example; the present application is also applicable to a downlink transmission scenario and a companion link (Sidelink) transmission scenario, and achieves technical effects similar to those in a companion link. Furthermore, employing a unified solution for different scenarios (including but not limited to uplink, downlink, companion link) also helps to reduce hardware complexity and cost. It should be noted that, without conflict, the embodiments and features in the embodiments in the user equipment of the present application may be applied to the base station, and vice versa. The embodiments and features of the embodiments of the present application may be combined with each other arbitrarily without conflict.
As an example, the term (telematics) in the present application is explained with reference to the definition of the specification protocol TS36 series of 3 GPP.
As an example, the terms in the present application are explained with reference to the definitions of the 3GPP specification protocol TS38 series.
As an example, the terms in this application are explained with reference to the definitions of the 3GPP specification protocol TS37 series.
As an example, the terms in the present application are explained with reference to the definition of the specification protocol of IEEE (Institute of Electrical and Electronics Engineers).
The application discloses a method in a first node used for wireless communication, characterized by comprising:
monitoring a first type of signaling and a second type of signaling in a first time-frequency resource pool, and receiving the first signaling in the first time-frequency resource pool;
transmitting a first information block in a first air interface resource block;
the first type of signaling and the second type of signaling correspond to different HARQ-ACK codebooks respectively; the first information block comprises HARQ-ACK associated with the first signaling; the first type of signaling comprises a first domain; said first signaling is one of said first type of signaling; the value of the first field in the first signaling is related to both the amount of the first type of signaling transmitted in the first time-frequency resource pool and the amount of the second type of signaling transmitted in the first time-frequency resource pool; a first value and a second value are jointly used for determining the first domain in the first signaling, the first value is equal to the number of serving cell-physical downlink control channel monitoring opportunity pairs including the first type of signaling accumulated by the current serving cell and the current physical downlink control channel monitoring opportunity in a first time window according to the increasing order of the serving cell indexes and the increasing order of the physical downlink control channel monitoring opportunity indexes, and the second value is equal to the total number of the serving cell-physical downlink control channel monitoring opportunity pairs including the second type of signaling accumulated by the current physical downlink control channel monitoring opportunity in the first time window.
As an embodiment, the problem to be solved by the present application is: how to design the HARQ codebook is a key issue in order to support multiplexing of different priority services within the UE (Intra-UE).
As an embodiment, the problem to be solved by the present application is: in LTE and NR systems, a DAI (Downlink Assignment Index) is used for transmission of a cellular link to determine an HARQ feedback codebook, so that HARQ feedback efficiency is improved, and inconsistency between two communication parties in understanding the HARQ feedback codebook is avoided. To better support the transmission of traffic of different priorities, the counter DAI needs to be reconsidered.
As an embodiment, the problem to be solved by the present application is: when two different types of HARQ codebooks are transmitted on the same CHannel (e.g., Physical Uplink Control CHannel (PUCCH)), the counter DAI needs to be reconsidered in order to improve the efficiency of HARQ feedback and avoid inconsistency of understanding of the HARQ feedback codebooks by both communication parties.
As an embodiment, the essence of the above method is that the first type of signaling schedules URLLC traffic, the second type of signaling schedules eMBB traffic, the first field indicates DAI, counter DAI in URLLC DCI can count both URLLC and eMBB traffic, and eMBB DCI only counts eMBB traffic. The method has the advantages that the eMBB HARQ codebook can be multiplexed with the URLLC HARQ codebook, and the problem that eMBB HARQ feedback cannot be sent because low-priority HARQ transmission is abandoned can be avoided.
As an embodiment, the above method has a benefit in mitigating the impact of the loss of lower priority DCI on higher priority HARQ information feedback when different types of HARQ codebooks are allowed to be transmitted on the same channel (e.g., PUCCH).
As an embodiment, the above method has a benefit in alleviating a problem that loss of DCI causes inconsistent understanding of HARQ feedback information by both communication parties when different types of HARQ codebooks are allowed to be transmitted on the same channel (e.g., PUCCH).
According to one aspect of the application, the method described above is characterized by comprising:
receiving second signaling in the first time-frequency resource pool;
wherein the second signaling is one of the second type of signaling; a second time window comprising the first time window, the second signaling being transmitted in time domain resources in the second time window outside the first time window; the second type of signaling comprises the first domain; the second signaling comprises a value of the first domain related only to the amount of the second type of signaling transmitted in the first time-frequency resource pool of both the amount of the first type of signaling transmitted in the first time-frequency resource pool and the amount of the second type of signaling transmitted in the first time-frequency resource pool; the first information block does not include a HARQ-ACK associated with the second signaling.
According to one aspect of the application, the method described above is characterized by comprising:
receiving third signaling in the first time-frequency resource pool;
wherein the third signaling is one of the second type of signaling; the third signaling is transmitted in the first time window, the first information block including HARQ-ACK associated with the third signaling.
According to one aspect of the application, the above method is characterized in that said first signalling is one of said first type of signalling; receiving each first type signaling in a first signaling set in the first time-frequency resource pool; wherein the first signaling set comprises a first type of signaling detected in the first time-frequency resource pool except the first signaling, and the first signaling is later than a first type of signaling in the first signaling set; the first information block includes HARQ-ACKs associated with one of the first set of signaling.
According to one aspect of the application, the above method is characterized in that the first signaling comprises a second domain; the first signaling comprises a value of the second domain related to both the number of the first type of signaling transmitted in the first time-frequency resource pool and the number of the second type of signaling transmitted in the first time-frequency resource pool; a third value and a fourth value are jointly used to determine a value of the second field included in the first signaling, where the third value is equal to a total number of serving cell-pdcch monitoring opportunity pairs including the first type of signaling accumulated by the current pdcch monitoring opportunity in the first time window, and the fourth value is equal to a total number of serving cell-pdcch monitoring opportunity pairs including the second type of signaling accumulated by the current pdcch monitoring opportunity in the first time window.
According to one aspect of the application, the method described above is characterized by comprising:
receiving a first set of bit blocks;
wherein the first signaling comprises scheduling information for the first set of bit blocks; the HARQ-ACK associated with the first signaling indicates whether each bit block in the first set of bit blocks was received correctly.
According to an aspect of the application, the above method is characterized in that the first signaling is used to indicate a quasi-static scheduling release, and the HARQ-ACK associated with the first signaling indicates whether the first signaling is correctly received.
The application discloses a method in a second node used for wireless communication, characterized by comprising:
transmitting a first signaling in a first time-frequency resource pool;
receiving a first information block in a first air interface resource block;
the first type of signaling and the second type of signaling correspond to different HARQ-ACK codebooks respectively; the first information block comprises a HARQ-ACK associated with the first signaling; the first type of signaling comprises a first domain; said first signaling is one of said first type of signaling; the value of the first field in the first signaling is related to both the amount of the first type of signaling transmitted in the first time-frequency resource pool and the amount of the second type of signaling transmitted in the first time-frequency resource pool; a first value and a second value are jointly used to determine the first field in the first signaling, where the first value is equal to the number of serving cell-pdcch monitoring opportunity pairs including the first type of signaling accumulated until the current serving cell and the current pdcch monitoring opportunity in a first time window, and the second value is equal to the total number of serving cell-pdcch monitoring opportunity pairs including the second type of signaling accumulated until the current pdcch monitoring opportunity in the first time window, according to an increasing order of serving cell indexes and according to an increasing order of pdcch monitoring opportunity indexes.
According to one aspect of the application, the method described above is characterized by comprising:
transmitting second signaling in the first time-frequency resource pool;
wherein the second signaling is one of the second type of signaling; a second time window comprising the first time window, the second signaling being transmitted in time domain resources in the second time window outside the first time window; the second type of signaling comprises the first domain; the second signaling comprises a value of the first domain related only to the amount of the second type of signaling transmitted in the first time-frequency resource pool of both the amount of the first type of signaling transmitted in the first time-frequency resource pool and the amount of the second type of signaling transmitted in the first time-frequency resource pool; the first information block does not include a HARQ-ACK associated with the second signaling.
According to one aspect of the application, the method described above is characterized by comprising:
transmitting a third signaling in the first time-frequency resource pool;
wherein the third signaling is one of the second type of signaling; the third signaling is transmitted in the first time window, the first information block including HARQ-ACK associated with the third signaling.
According to one aspect of the application, the above method is characterized in that said first signalling is one of said first type of signalling; transmitting each first type signaling in a first signaling set in the first time-frequency resource pool; wherein the first signaling set comprises a first type of signaling detected in the first time-frequency resource pool except the first signaling, and the first signaling is later than a first type of signaling in the first signaling set; the first information block includes HARQ-ACKs associated with one of the first set of signaling of a first type.
According to one aspect of the application, the above method is characterized in that the first signaling comprises a second domain; the first signaling comprises a value of the second domain related to both the number of the first type of signaling transmitted in the first time-frequency resource pool and the number of the second type of signaling transmitted in the first time-frequency resource pool; a third value and a fourth value are jointly used to determine the value of the second field included in the first signaling, where the third value is equal to the total number of serving cell-pdcch monitoring opportunity pairs including the first type of signaling accumulated by the current pdcch monitoring opportunity in the first time window, and the fourth value is equal to the total number of serving cell-pdcch monitoring opportunity pairs including the second type of signaling accumulated by the current pdcch monitoring opportunity in the first time window.
According to one aspect of the application, the method described above is characterized by comprising:
transmitting a first set of bit blocks;
wherein the first signaling comprises scheduling information for the first set of bit blocks; the HARQ-ACK associated with the first signaling indicates whether each bit block in the first set of bit blocks was received correctly.
According to an aspect of the application, the above method is characterized in that the first signaling is used to indicate a quasi-static scheduling release, and the HARQ-ACK associated with the first signaling indicates whether the first signaling is correctly received.
The application discloses a first node device used for wireless communication, characterized by comprising:
the first receiver monitors a first type of signaling and a second type of signaling in a first time-frequency resource pool, and receives the first signaling in the first time-frequency resource pool;
a first transmitter that transmits a first information block in a first air interface resource block;
the first type of signaling and the second type of signaling correspond to different HARQ-ACK codebooks respectively; the first information block comprises HARQ-ACK associated with the first signaling; the first type of signaling comprises a first domain; said first signaling is one of said first type of signaling; the value of the first field in the first signaling is related to both the amount of the first type of signaling transmitted in the first time-frequency resource pool and the amount of the second type of signaling transmitted in the first time-frequency resource pool; a first value and a second value are jointly used for determining the first domain in the first signaling, the first value is equal to the number of serving cell-physical downlink control channel monitoring opportunity pairs including the first type of signaling accumulated by the current serving cell and the current physical downlink control channel monitoring opportunity in a first time window according to the increasing order of the serving cell indexes and the increasing order of the physical downlink control channel monitoring opportunity indexes, and the second value is equal to the total number of the serving cell-physical downlink control channel monitoring opportunity pairs including the second type of signaling accumulated by the current physical downlink control channel monitoring opportunity in the first time window.
The present application discloses a second node device used for wireless communication, comprising:
a second transmitter for transmitting a first signaling in the first time-frequency resource pool;
a second receiver that receives the first information block in the first air interface resource block;
the first type of signaling and the second type of signaling correspond to different HARQ-ACK codebooks respectively; the first information block comprises HARQ-ACK associated with the first signaling; the first type of signaling comprises a first domain; said first signaling is one of said first type of signaling; the value of the first field in the first signaling is related to both the amount of the first type of signaling transmitted in the first time-frequency resource pool and the amount of the second type of signaling transmitted in the first time-frequency resource pool; a first value and a second value are jointly used for determining the first domain in the first signaling, the first value is equal to the number of serving cell-physical downlink control channel monitoring opportunity pairs including the first type of signaling accumulated by the current serving cell and the current physical downlink control channel monitoring opportunity in a first time window according to the increasing order of the serving cell indexes and the increasing order of the physical downlink control channel monitoring opportunity indexes, and the second value is equal to the total number of the serving cell-physical downlink control channel monitoring opportunity pairs including the second type of signaling accumulated by the current physical downlink control channel monitoring opportunity in the first time window.
As an example, the method in the present application has the following advantages:
the present application proposes a solution to support the multiplexing of different priority traffic within a UE (Intra-UE) HARQ codebook design.
The present application proposes a solution to the counter DAI design under transmission to support different priority services.
In the method provided by the application, the eMBB HARQ codebook can be multiplexed with the URLLC HARQ codebook, so that the problem that eMBB HARQ feedback cannot be sent due to the fact that low-priority HARQ transmission is abandoned can be avoided.
When different types of HARQ codebooks are allowed to be multiplexed (multiplexed) onto the same channel (e.g., PUCCH), the method provided by the present application alleviates the problem that the loss of DCI causes inconsistent understanding of HARQ feedback information by both communication parties.
Drawings
Other features, objects and advantages of the present application will become more apparent upon reading of the following detailed description of non-limiting embodiments thereof with reference to the accompanying drawings in which:
FIG. 1 illustrates a process flow diagram of a first node according to one embodiment of the present application;
FIG. 2 shows a schematic diagram of a network architecture according to an embodiment of the present application;
figure 3 shows a schematic diagram of a radio protocol architecture of a user plane and a control plane according to an embodiment of the present application;
FIG. 4 shows a schematic diagram of a first communication device and a second communication device according to an embodiment of the present application;
FIG. 5 shows a signal transmission flow diagram according to an embodiment of the present application;
fig. 6 shows a schematic diagram of a relationship between first signaling, second signaling, third signaling, a first time window and a second time window according to an embodiment of the application;
FIG. 7 shows a schematic diagram of a first time window and a second time window according to an embodiment of the present application;
fig. 8 shows a schematic diagram of a relationship between a first signaling, a third signaling, a first set of signaling, a second set of signaling, a first sub information block and a second sub information block according to an embodiment of the application;
fig. 9 is a schematic diagram illustrating an air interface resource occupied by a first information block according to an embodiment of the present application;
fig. 10 is a schematic diagram illustrating an air interface resource occupied by a first information block according to an embodiment of the present application;
figure 11 shows a schematic diagram of HARQ-ACK associated with first signaling according to an embodiment of the application;
figure 12 shows a schematic diagram of HARQ-ACK associated with first signaling according to an embodiment of the application;
FIG. 13 shows a block diagram of a processing arrangement in a first node device according to an embodiment of the present application;
fig. 14 shows a block diagram of a processing apparatus in a second node device according to an embodiment of the present application.
Detailed Description
The technical solutions of the present application will be further described in detail with reference to the accompanying drawings, and it should be noted that the embodiments and features of the embodiments of the present application can be arbitrarily combined with each other without conflict.
Example 1
Embodiment 1 illustrates a flow chart of first signaling and a first information block according to an embodiment of the present application, as shown in fig. 1. In fig. 1, each block represents a step, and it is particularly emphasized that the sequence of the blocks in the figure does not represent a chronological relationship between the represented steps.
Inembodiment 1, instep 101, the first node monitors a first type of signaling and a second type of signaling in a first time-frequency resource pool, and receives the first signaling in the first time-frequency resource pool; a first information block is transmitted in a first empty resource block instep 102.
Inembodiment 1, the first type signaling and the second type signaling correspond to different HARQ-ACK codebooks, respectively; the first information block comprises HARQ-ACK associated with the first signaling; the first type of signaling comprises a first domain; said first signaling is one of said first type of signaling; the value of the first field in the first signaling is related to both the amount of the first type of signaling transmitted in the first time-frequency resource pool and the amount of the second type of signaling transmitted in the first time-frequency resource pool; a first value and a second value are jointly used for determining the first domain in the first signaling, the first value is equal to the number of serving cell-physical downlink control channel monitoring opportunity pairs including the first type of signaling accumulated by the current serving cell and the current physical downlink control channel monitoring opportunity in a first time window according to the increasing order of the serving cell indexes and the increasing order of the physical downlink control channel monitoring opportunity indexes, and the second value is equal to the total number of the serving cell-physical downlink control channel monitoring opportunity pairs including the second type of signaling accumulated by the current physical downlink control channel monitoring opportunity in the first time window.
As an embodiment, the first time-frequency Resource pool includes a positive integer number of REs (Resource elements).
As an embodiment, one RE occupies one multicarrier symbol in the time domain and one subcarrier in the frequency domain.
As an embodiment, the multi-carrier Symbol is an OFDM (Orthogonal Frequency Division Multiplexing) Symbol (Symbol).
As an embodiment, the multicarrier symbol is an SC-FDMA (Single Carrier-Frequency Division Multiple Access) symbol.
As an embodiment, the multicarrier symbol is a DFT-S-OFDM (Discrete Fourier Transform Spread OFDM) symbol.
For one embodiment, the first pool of time-frequency resources includes a positive integer number of subcarriers in the frequency domain.
As an embodiment, the first time-frequency Resource pool includes a positive integer number of PRBs (Physical Resource blocks) in a frequency domain.
As an embodiment, the first pool of time-frequency resources includes a positive integer number of RBs (Resource blocks) in a frequency domain.
As an embodiment, the first pool of time-frequency resources comprises a positive integer number of multicarrier symbols in the time domain.
For one embodiment, the first time-frequency resource pool includes a positive integer number of slots (slots) in a time domain.
For one embodiment, the first time-frequency resource pool includes a positive integer number of sub-slots (sub-slots) in a time domain.
As an embodiment, the first pool of time-frequency resources comprises a positive integer number of sub-milliseconds (ms) in the time domain.
For one embodiment, the first pool of time-frequency resources includes a positive integer number of discontinuous time slots in the time domain.
For one embodiment, the first pool of time-frequency resources includes a positive integer number of consecutive time slots in the time domain.
As one embodiment, the first pool of time-frequency resources includes a positive integer number of sub-frames (sub-frames) in the time domain.
As an embodiment, the first time-frequency resource pool is configured by higher layer (higher layer) signaling.
As an embodiment, the first time-frequency Resource pool is configured by RRC (Radio Resource Control) signaling.
As an embodiment, the first time-frequency resource pool is configured by MAC CE (Medium Access Control layer Control Element) signaling.
As an embodiment, the first time-frequency resource pool is pre-configured.
As an embodiment, the number of multicarrier symbols comprised by the first pool of time-frequency resources in the time domain is configured by higher layer signaling.
As an embodiment, the number of multicarrier symbols included in the time domain by the first time-frequency resource pool is configured by RRC signaling.
As an embodiment, the number of multicarrier symbols included in the time domain by the first time-frequency resource pool is configured by MAC CE signaling.
As an embodiment, the monitoring refers to receiving based on energy detection, i.e. sensing (Sense), the energy of the wireless signal and averaging to obtain the received energy. If the received energy is greater than a second given threshold, judging that a signaling is received; otherwise, judging that the signaling is not received.
As an embodiment, the monitoring refers to coherent reception, that is, coherent reception is performed and energy of a signal obtained after the coherent reception is measured. If the energy of the signal obtained after the coherent reception is greater than a first given threshold value, judging that a signaling is received; otherwise, judging that the signaling is not received.
As an embodiment, the monitoring refers to Blind Decoding (Blind Decoding), i.e., receiving a signal and performing a Decoding operation. If the decoding is determined to be correct according to the Cyclic Redundancy Check (CRC) bit, judging that a signaling is received; otherwise, judging that the signaling is not received.
As an embodiment, the sentence monitoring the first type of signaling and the second type of signaling in the first time-frequency resource pool includes: and the first node determines whether the first type of signaling is sent in the first time-frequency resource pool or not according to CRC, and the first node determines whether the second type of signaling is sent in the first time-frequency resource pool or not according to CRC.
As an embodiment, the sentence monitoring the first type of signaling and the second type of signaling in the first time-frequency resource pool includes: the first node performs blind decoding in the first time-frequency resource pool to determine whether the first type of signaling is transmitted, and performs blind detection in the first time-frequency resource pool to determine whether the second type of signaling is transmitted.
As an embodiment, the first type of signaling is dynamically configured.
As an embodiment, the first type of signaling is physical layer signaling.
As an embodiment, the first type of signaling is DCI (Downlink Control Information) signaling.
As an embodiment, the first type of signaling is transmitted on a downlink physical layer control channel (i.e. a downlink channel that can only be used for carrying physical layer signaling).
As an embodiment, the first type of signaling is DCI format 1_0, and the specific definition of the DCI format 1_0 is described in section 7.3.1.2 in 3GPP TS 38.212.
As an embodiment, the first type of signaling is DCI format 1_1, and the specific definition of the DCI format 1_1 is described in section 7.3.1.2 in 3GPP TS 38.212.
As an embodiment, the first type of signaling is DCI format 1_2, and the specific definition of the DCI format 1_2 is described in section 7.3.1.2 in 3GPP TS 38.212.
As an embodiment, the first type of signaling includes signaling used to indicate SPS (Semi-Persistent Scheduling) Release (Release).
As an embodiment, the first type of signaling includes signaling used to indicate configuration information of a downlink physical layer data channel.
As an embodiment, the first type of signaling includes signaling used to indicate configuration information of a PDSCH (Physical Downlink Shared Channel).
As an embodiment, the first type of signaling includes signaling used for downlink physical layer data channel scheduling.
As an embodiment, the first type of signaling comprises signaling used for PDSCH scheduling.
As an embodiment, the Downlink Physical layer Control CHannel is a PDCCH (Physical Downlink Control CHannel).
As an embodiment, the downlink physical layer control channel is a short PDCCH (short PDCCH).
As an embodiment, the downlink physical layer control channel is an NB-PDCCH (Narrow Band PDCCH).
As an embodiment, the Downlink Physical layer data CHannel is a PDSCH (Physical Downlink Shared CHannel).
As an embodiment, the downlink physical layer data channel is sPDSCH (short PDSCH).
As an embodiment, the downlink physical layer data channel is NB-PDSCH (Narrow Band PDSCH).
As an embodiment, the second type of signaling is dynamically configured.
As an embodiment, the second type of signaling is physical layer signaling.
As an embodiment, the second type of signaling is DCI signaling.
As an embodiment, the second type of signaling is transmitted on a downlink physical layer control channel (i.e. a downlink channel that can only be used for carrying physical layer signaling).
As an embodiment, the second type of signaling is DCI format 1_0, and the specific definition of the DCI format 1_0 is described in section 7.3.1.2 in 3GPP TS 38.212.
As an embodiment, the second type of signaling is DCI format 1_1, and the specific definition of the DCI format 1_1 is described in section 7.3.1.2 in 3GPP TS 38.212.
As an embodiment, the second type of signaling is DCI format 1_2, and the specific definition of the DCI format 1_2 is described in section 7.3.1.2 in 3GPP TS 38.212.
As an embodiment, the second type of signaling includes signaling used to indicate SPS (Semi-Persistent Scheduling) Release (Release).
As an embodiment, the second type of signaling includes signaling used to indicate configuration information of a downlink physical layer data channel.
As an embodiment, the second type of signaling includes signaling used to indicate configuration information of a PDSCH (Physical Downlink Shared Channel).
As an embodiment, the second type of signaling includes signaling used for downlink physical layer data channel scheduling.
As one embodiment, the second type of signaling includes signaling used for PDSCH scheduling.
As an embodiment, a signaling Format (Format) of the second type signaling is the same as a signaling Format of the first type signaling.
As an embodiment, a signaling Format (Format) of the second type signaling is different from a signaling Format of the first type signaling.
As an embodiment, higher layer signaling is used to indicate that both the first type of signaling and the second type of signaling comprise the first domain.
As an embodiment, RRC signaling is used to indicate that the first type of signaling and the second type of signaling both include the first domain.
For one embodiment, the first field includes a positive integer number of bits.
As an embodiment, the first domain includes all or part of a Downlink assignment index domain, and the Downlink assignment index domain is specifically defined in section 7.3.1.2 of 3GPP TS 38.212.
As an example, the value of the first field indicates counter DAI (Downlink Assignment Index).
As an embodiment, the first type of signaling includes a value of the first domain indicating a counter DAI (Downlink Assignment Index) based on the first type of signaling and the second type of signaling, and the second type of signaling includes a value of the first domain indicating a counter DAI based on the second type of signaling.
As an embodiment, the number of the first type of signaling transmitted in the first time-frequency resource pool is a non-negative integer, and the number of the second type of signaling transmitted in the first time-frequency resource pool is a non-negative integer.
As an embodiment, the first Information block includes Uplink Control Information (UCI).
As an embodiment, the first information block includes only HARQ-ACK (Hybrid Automatic Repeat reQuest-Acknowledgement).
As an embodiment, the first Information block includes HARQ-ACK and CSI (Channel State Information).
As an embodiment, the first information block includes HARQ-ACK and SR (Scheduling Request).
As an embodiment, the first information block includes HARQ-ACK, CSI, and SR.
As one embodiment, the first information block is transmitted on a PUCCH.
As one embodiment, the HARQ-ACK associated with the first signaling comprises an ACK.
As one embodiment, the HARQ-ACK associated with the first signaling comprises a NACK.
As one embodiment, the HARQ-ACK associated with the first signaling comprises an ACK or a NACK.
As an embodiment, the HARQ-ACK associated with the first signaling indicates whether each bit block in a set of bit blocks scheduled by the first signaling is correctly received.
As one embodiment, the first signaling includes signaling used for downlink physical layer data channel scheduling, and the HARQ-ACK associated with the first signaling indicates whether a downlink physical layer data channel transmission scheduled by the first signaling is correctly received.
As one embodiment, the first signaling includes signaling used for PDSCH scheduling, the HARQ-ACK associated with the first signaling indicating whether PDSCH transmissions scheduled by the first signaling were correctly received.
As one embodiment, the HARQ-ACK associated with the first signaling indicates whether the first signaling was received correctly.
As an embodiment, the first signaling comprises signaling used to indicate a SPS (Semi-Persistent Scheduling) Release (Release), the HARQ-ACK associated with the first signaling indicating whether the first signaling is correctly received.
As an embodiment, the first type of signaling is physical layer signaling for downlink grant or physical layer signaling for semi-persistent scheduling release.
As an embodiment, the second type of signaling is physical layer signaling for downlink grant or physical layer signaling for semi-persistent scheduling release.
As an embodiment, the serving cell index is a positive integer.
As an embodiment, the PDCCH monitoring occasion is a PDCCH monitoring occasion (monitoring occasion).
As an embodiment, the physical downlink control channel monitoring occasion is an sPDCCH monitoring occasion.
As an embodiment, the PDCCH monitoring occasion is an NB-PDCCH monitoring occasion.
As an embodiment, the first field includes 2 bits, and a value of the first field in the first signaling is equal to a remainder obtained by dividing a sum of the first numerical value and the second numerical value by 4.
As an embodiment, the value of the first field in the first signaling is equal to a sum of the first value and the second value.
As an embodiment, the value of the first field in the first signaling is equal to a weighted sum of the first numerical value and the second numerical value.
As an embodiment, the first field includes X bits, a value of the first field in the first signaling is equal to a remainder obtained by dividing a sum of the first numerical value and the second numerical value by 2 to X, where X is a positive integer.
As an embodiment, the first type of signaling indicates a high priority HARQ-ACK Codebook (Codebook, CB), and the second type of signaling indicates a low priority HARQ-ACK Codebook.
As an embodiment, the first type of signaling indicates a low priority HARQ-ACK codebook, and the second type of signaling indicates a high priority HARQ-ACK codebook.
As one embodiment, the first type of signaling is to indicate a unicast related HARQ-ACK codebook, and the second type of signaling is to indicate a multicast related HARQ-ACK codebook.
As one embodiment, the first type of signaling is to indicate a HARQ-ACK codebook related to multicast, and the second type of signaling is to indicate a HARQ-ACK codebook related to unicast.
As an embodiment, the first type of signaling and the second type of signaling are used for determining different types of HARQ-ACK codebooks, respectively.
As an embodiment, the first type of signaling and the second type of signaling are used for determining a high priority HARQ-ACK codebook and a low priority HARQ-ACK codebook, respectively.
As an embodiment, the first type of signaling and the second type of signaling are used for determining a low priority HARQ-ACK codebook and a high priority HARQ-ACK codebook, respectively.
As an embodiment, the first type of signaling and the second type of signaling are used for determining a unicast HARQ-ACK codebook and a multicast HARQ-ACK codebook respectively.
As an embodiment, the first type of signaling and the second type of signaling are used for determining a multicast HARQ-ACK codebook and a unicast HARQ-ACK codebook, respectively.
As an embodiment, the first type of signaling and the second type of signaling are respectively used for determining a TB (Transport Block) based HARQ-ACK codebook and a CBG (Code Block Group) based HARQ-ACK codebook.
As an embodiment, the first type of signaling and the second type of signaling are used to determine a CBG-based HARQ-ACK codebook and a TB-based HARQ-ACK codebook, respectively.
As an embodiment, the first type of signaling and the second type of signaling are used to determine a CBG-based HARQ-ACK codebook and a non-CBG-based HARQ-ACK codebook, respectively.
As an embodiment, the first type of signaling and the second type of signaling are used for determining a non-CBG-based HARQ-ACK codebook and a CBG-based HARQ-ACK codebook, respectively.
As an embodiment, the first type of signaling and the second type of signaling are used for determining different classes of CBG-based HARQ-ACK codebooks, respectively.
As an embodiment, the value of the first field in the first signaling is smaller than the sum of the amount of the first type of signaling transmitted in the first time-frequency resource pool and the amount of the second type of signaling transmitted in the first time-frequency resource pool.
As an embodiment, the value of the first field in the first signaling is equal to the sum of the amount of the first type of signaling transmitted in the first time-frequency resource pool and the amount of the second type of signaling transmitted in the first time-frequency resource pool.
As an embodiment, the value of the first field in the first signaling is smaller than a weighted sum of the number of the first type of signaling transmitted in the first time-frequency resource pool and the number of the second type of signaling transmitted in the first time-frequency resource pool.
As an embodiment, the value of the first field in the first signaling is less than or equal to the sum of the number of the first type of signaling transmitted in the first time-frequency resource pool and the number of the second type of signaling transmitted in the first time-frequency resource pool; the value of the first domain in the first signaling is greater than the number of the second type of signaling transmitted in the first time-frequency resource pool.
As an embodiment, the value of the first field in the first signaling is equal to a weighted sum of the number of the first type of signaling transmitted in the first time-frequency resource pool and the number of the second type of signaling transmitted in the first time-frequency resource pool.
As one embodiment, the first time-frequency resource pool includes a plurality of CCs (component carriers) in a frequency domain.
For one embodiment, the first time-frequency resource pool includes one CC in a frequency domain.
As an embodiment, the first null resource block includes one PUCCH.
As an embodiment, the first empty resource block includes a PUSCH (Physical Uplink Shared CHannel).
As an embodiment, the first air interface resource block includes a positive integer number of multicarrier symbols in a time domain.
As one embodiment, the first air interface resource block includes a positive integer number of REs.
As an embodiment, the first null resource block includes a positive integer number of subcarriers in a frequency domain.
As an embodiment, the first air interface resource block includes a positive integer number of PRBs in a frequency domain.
As an embodiment, the first air interface resource block includes a positive integer number of RBs in a frequency domain.
As an embodiment, the first air interface resource block belongs to one time slot in a time domain.
As an embodiment, the first air interface resource block belongs to a sub-slot in a time domain.
As an embodiment, the first air interface resource block belongs to one subframe in a time domain.
As an embodiment, the first empty resource block is configured by higher layer (higher layer) signaling.
As an embodiment, the first air interface resource block is configured by RRC signaling.
As an embodiment, the first empty resource block is configured by MAC CE signaling.
As an embodiment, the first air interface resource block is pre-configured (Preconfigured).
As an embodiment, the first type of signaling and the second type of signaling both include a third domain, the third domain included in the first type of signaling indicates a first category, the third domain included in the second type of signaling indicates a second category, and the first category and the second category are different.
As a sub-embodiment of the above embodiment, the first category is high priority and the second category is low priority.
As a sub-embodiment of the above embodiment, the first category is low priority and the second category is high priority.
As a sub-embodiment of the above embodiment, the first category is multicast (Groupcast) and the second category is Unicast (Unicast).
As a sub-embodiment of the above embodiment, the first category is unicast and the second category is multicast.
As an embodiment, the first type of signaling and the second type of signaling both include a third domain, the third domain of the first type of signaling indicates a first Priority (Priority), and the third domain of the second type of signaling indicates a second Priority.
As a sub-embodiment of the above embodiment, the third field comprises a positive integer number of bits.
As a sub-embodiment of the above embodiment, the third field comprises 1 bit.
As a sub-embodiment of the above embodiments, the third domain is a Priority indicator domain (Field), and the specific definition of the Priority indicator domain is described in section 7.3.1.2 of 3GPP TS 38.212.
As a sub-embodiment of the above embodiment, the first priority is higher than the second priority.
As a sub-embodiment of the above-mentioned embodiment, the priority corresponding to the first priority is higher than the priority corresponding to the second priority.
As a sub-embodiment of the above embodiment, when the value of the third field is equal to 0, the third field indicates the first priority; the third field indicates the second priority when the value of the third field is equal to 1.
As a sub-embodiment of the above embodiment, when the value of the third field is equal to 1, the third field indicates the first priority; the third field indicates the second priority when the value of the third field is equal to 0.
As a sub-embodiment of the foregoing embodiment, the third field included in the first signaling indicates the first priority, and the third field included in the third signaling indicates the second priority.
As a sub-embodiment of the above embodiment, the third field comprised by the second signaling indicates the second priority.
Example 2
Embodiment 2 illustrates a schematic diagram of a network architecture according to the present application, as shown in fig. 2.
Fig. 2 illustrates a diagram of anetwork architecture 200 for 5G NR, LTE (Long-Term Evolution), and LTE-a (Long-Term Evolution-enhanced) systems. The 5G NR orLTE network architecture 200 may be referred to as EPS (Evolved Packet System) 200 or some other suitable terminology. TheEPS 200 may include one or more UEs (User Equipment) 201, NG-RANs (next generation radio access networks) 202, EPCs (Evolved Packet cores)/5G-CNs (5G-Core networks) 210, HSS (Home Subscriber Server) 220, andinternet services 230. The EPS may interconnect with other access networks, but these entities/interfaces are not shown for simplicity. As shown, the EPS provides packet-switched services, however those skilled in the art will readily appreciate that the various concepts presented throughout this application may be extended to networks providing circuit-switched services or other cellular networks. The NG-RAN includes NR node b (gNB)203 andother gnbs 204. The gNB203 provides user and control plane protocol terminations towards theUE 201. Thegnbs 203 may be connected toother gnbs 204 via an Xn interface (e.g., backhaul). The gNB203 may also be referred to as a base station, a base transceiver station, a radio base station, a radio transceiver, a transceiver function, a Basic Service Set (BSS), an Extended Service Set (ESS), a TRP (transmitting receiving node), or some other suitable terminology. The gNB203 provides an access point for the UE201 to the EPC/5G-CN 210. Examples of the UE201 include a cellular phone, a smart phone, a Session Initiation Protocol (SIP) phone, a laptop, a Personal Digital Assistant (PDA), a satellite radio, non-terrestrial base station communications, satellite mobile communications, a global positioning system, a multimedia device, a video device, a digital audio player (e.g., MP3 player), a camera, a game console, a drone, an aircraft, a narrowband internet of things device, a machine type communication device, a terrestrial vehicle, an automobile, a wearable device, or any other similar functioning device. Those skilled in the art may also refer to UE201 as a mobile station, a subscriber station, a mobile unit, a subscriber unit, a wireless unit, a remote unit, a mobile device, a wireless communication device, a remote device, a mobile subscriber station, an access terminal, a mobile terminal, a wireless terminal, a remote terminal, a handset, a user agent, a mobile client, a client, or some other suitable terminology. The gNB203 connects to the EPC/5G-CN 210 through the S1/NG interface. The EPC/5G-CN 210 includes MME (Mobility Management Entity)/AMF (Authentication Management Domain)/UPF (User Plane Function) 211, other MMEs/AMF/UPF 214, S-GW (Service Gateway) 212, and P-GW (Packet data Network Gateway) 213. MME/AMF/UPF211 is a control node that handles signaling between UE201 and EPC/5G-CN 210. In general, the MME/AMF/UPF211 provides bearer and connection management. All user IP (Internet protocol) packets are transmitted through the S-GW212, and the S-GW212 itself is connected to the P-GW 213. The P-GW213 provides UE IP address allocation as well as other functions. The P-GW213 is connected to theinternet service 230. Theinternet service 230 includes an operator-corresponding internet protocol service, and may specifically include the internet, an intranet, an IMS (IP Multimedia Subsystem), and a packet-switched streaming service.
As an embodiment, the UE201 corresponds to the first node in this application.
As an embodiment, the UE241 corresponds to the second node in this application.
As an embodiment, the gNB203 corresponds to the second node in this application.
As an embodiment, the UE241 corresponds to the first node in this application.
As an embodiment, the UE201 corresponds to the second node in this application.
Example 3
Embodiment 3 shows a schematic diagram of an embodiment of a radio protocol architecture for the user plane and the control plane according to the present application, as shown in fig. 3. Fig. 3 is a schematic diagram illustrating an embodiment of radio protocol architecture for theuser plane 350 and thecontrol plane 300, fig. 3 showing the radio protocol architecture for the first communication node device (UE, RSU in gNB or V2X) and the second communication node device (gNB, RSU in UE or V2X), or thecontrol plane 300 between two UEs, in three layers:layer 1,layer 2 and layer 3. Layer 1(L1 layer) is the lowest layer and implements various PHY (physical layer) signal processing functions. The L1 layer will be referred to herein as PHY 301. Layer 2(L2 layer) 305 is above PHY301 and is responsible for the link between the first and second communication node devices and the two UEs through PHY 301. TheL2 layer 305 includes a MAC (Medium Access Control) sublayer 302, an RLC (Radio Link Control)sublayer 303, and a PDCP (Packet Data Convergence Protocol)sublayer 304, which terminate at the second communication node device. ThePDCP sublayer 304 provides multiplexing between different radio bearers and logical channels. ThePDCP sublayer 304 also provides security by ciphering data packets and provides handoff support between second communication node devices to the first communication node device. TheRLC sublayer 303 provides segmentation and reassembly of upper layer packets, retransmission of lost packets, and reordering of packets to compensate for out-of-order reception due to HARQ. The MAC sublayer 302 provides multiplexing between logical and transport channels. The MAC sublayer 302 is also responsible for allocating various radio resources (e.g., resource blocks) in one cell between the first communication node devices. The MAC sublayer 302 is also responsible for HARQ operations. The RRC (Radio Resource Control)sublayer 306 in layer 3 (layer L3) in theControl plane 300 is responsible for obtaining Radio resources (i.e. Radio bearers) and configuring the lower layers using RRC signaling between the second communication node device and the first communication node device. The radio protocol architecture of theuser plane 350 comprises layer 1(L1 layer) and layer 2(L2 layer), the radio protocol architecture in theuser plane 350 for the first and second communication node devices being substantially the same for thephysical layer 351, thePDCP sublayer 354 in theL2 layer 355, the RLC sublayer 353 in theL2 layer 355 and the MAC sublayer 352 in theL2 layer 355 as the corresponding layers and sublayers in thecontrol plane 300, but thePDCP sublayer 354 also provides header compression for upper layer packets to reduce radio transmission overhead. TheL2 layer 355 in theuser plane 350 further includes an SDAP (Service Data Adaptation Protocol) sublayer 356, and the SDAP sublayer 356 is responsible for mapping between QoS streams and Data Radio Bearers (DRBs) to support diversity of services. Although not shown, the first communication node device may have several upper layers above theL2 layer 355, including a network layer (e.g., IP layer) that terminates at the P-GW on the network side and an application layer that terminates at the other end of the connection (e.g., far end UE, server, etc.).
As an example, the wireless protocol architecture in fig. 3 is applicable to the first node in this application.
As an example, the radio protocol architecture in fig. 3 is applicable to the second node in this application.
As an embodiment, the first bit block set in this application is generated in theRRC sublayer 306.
As an embodiment, the first bit block set in this application is generated in the MAC sublayer 302.
As an embodiment, the first bit block set in this application is generated in the MAC sublayer 352.
As an embodiment, the first set of bit blocks in this application is generated in the PHY 301.
As an embodiment, the first set of bit blocks in this application is generated in thePHY 351.
As an embodiment, the first signaling in this application is generated in the PHY 301.
As an embodiment, the first signaling in this application is generated in thePHY 351.
As an embodiment, the second signaling in this application is generated in the PHY 301.
As an embodiment, the second signaling in this application is generated in thePHY 351.
As an embodiment, the third signaling in this application is generated in the PHY 301.
As an embodiment, the third signaling in this application is generated in thePHY 351.
For one embodiment, the first subset of signaling in this application is generated in the PHY 301.
As an embodiment, the first signaling subset in this application is generated in thePHY 351.
For one embodiment, the monitoring in the present application is generated in the PHY 301.
As an example, the monitoring in this application is generated by thePHY 351.
As an embodiment, the first information block in the present application is generated in the PHY 301.
As an embodiment, the first information block in this application is generated in thePHY 351.
Example 4
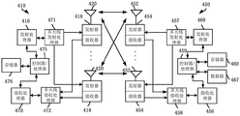
Embodiment 4 shows a schematic diagram of a first communication device and a second communication device according to the present application, as shown in fig. 4. Fig. 4 is a block diagram of afirst communication device 410 and asecond communication device 450 communicating with each other in an access network.
Thefirst communications device 410 includes a controller/processor 475, amemory 476, a receiveprocessor 470, a transmitprocessor 416, a multiple antenna receiveprocessor 472, a multiple antenna transmitprocessor 471, a transmitter/receiver 418, and anantenna 420.
Thesecond communications device 450 includes a controller/processor 459, amemory 460, adata source 467, a transmitprocessor 468, a receiveprocessor 456, a multi-antenna transmitprocessor 457, a multi-antenna receiveprocessor 458, a transmitter/receiver 454, and anantenna 452.
In the transmission from thefirst communication device 410 to thesecond communication device 450, at thefirst communication device 410, upper layer data packets from the core network are provided to the controller/processor 475. The controller/processor 475 implements the functionality of layer L2. In transmissions from thefirst communications device 410 to thefirst communications device 450, the controller/processor 475 provides header compression, encryption, packet segmentation and reordering, multiplexing between logical and transport channels, and radio resource allocation to thesecond communications device 450 based on various priority metrics. The controller/processor 475 is also responsible for retransmission of lost packets and signaling to thesecond communication device 450. The transmitprocessor 416 and the multi-antenna transmitprocessor 471 implement various signal processing functions for the L1 layer (i.e., the physical layer). The transmitprocessor 416 implements coding and interleaving to facilitate Forward Error Correction (FEC) at thesecond communication device 450 and mapping of signal constellation based on various modulation schemes (e.g., Binary Phase Shift Keying (BPSK), Quadrature Phase Shift Keying (QPSK), M-phase shift keying (M-PSK), M-quadrature amplitude modulation (M-QAM)). The multi-antenna transmitprocessor 471 performs digital spatial precoding, including codebook-based precoding and non-codebook based precoding, and beamforming processing on the coded and modulated symbols to generate one or more spatial streams. Transmitprocessor 416 then maps each spatial stream to subcarriers, multiplexes with reference signals (e.g., pilots) in the time and/or frequency domain, and then uses an Inverse Fast Fourier Transform (IFFT) to generate the physical channels carrying the time-domain multicarrier symbol streams. The multi-antenna transmitprocessor 471 then performs transmit analog precoding/beamforming operations on the time domain multi-carrier symbol stream. Eachtransmitter 418 converts the baseband multicarrier symbol stream provided by the multi-antenna transmitprocessor 471 into a radio frequency stream that is then provided to adifferent antenna 420.
In a transmission from thefirst communications device 410 to thesecond communications device 450, at thesecond communications device 450, eachreceiver 454 receives a signal through itsrespective antenna 452. Eachreceiver 454 recovers information modulated onto a radio frequency carrier and converts the radio frequency stream into a baseband multi-carrier symbol stream that is provided to a receiveprocessor 456. Receiveprocessor 456 and multi-antenna receiveprocessor 458 implement the various signal processing functions of the L1 layer. A multi-antenna receiveprocessor 458 performs receive analog precoding/beamforming operations on the baseband multi-carrier symbol stream from thereceiver 454. Receiveprocessor 456 converts the baseband multicarrier symbol stream after the receive analog precoding/beamforming operation from the time domain to the frequency domain using a Fast Fourier Transform (FFT). In the frequency domain, the physical layer data signals and the reference signals to be used for channel estimation are demultiplexed by the receiveprocessor 456, and the data signals are subjected to multi-antenna detection in the multi-antenna receiveprocessor 458 to recover any spatial streams destined for thesecond communication device 450. The symbols on each spatial stream are demodulated and recovered at a receiveprocessor 456 and soft decisions are generated. The receiveprocessor 456 then decodes and deinterleaves the soft decisions to recover the upper layer data and control signals transmitted by thefirst communications device 410 on the physical channel. The upper layer data and control signals are then provided to a controller/processor 459. The controller/processor 459 implements the functionality of the L2 layer. The controller/processor 459 may be associated with amemory 460 that stores program codes and data.Memory 460 may be referred to as a computer-readable medium. In transmissions from thefirst communications device 410 to thesecond communications device 450, the controller/processor 459 provides demultiplexing between transport and logical channels, packet reassembly, deciphering, header decompression, control signal processing to recover upper layer packets from the core network. The upper layer packet is then provided to all protocol layers above the L2 layer. Various control signals may also be provided to L3 for L3 processing.
In a transmission from thesecond communications device 450 to thefirst communications device 410, adata source 467 is used at thesecond communications device 450 to provide upper layer data packets to a controller/processor 459.Data source 467 represents all protocol layers above the L2 layer. Similar to the transmit function at thefirst communications apparatus 410 described in the transmission from thefirst communications apparatus 410 to thesecond communications apparatus 450, the controller/processor 459 implements header compression, encryption, packet segmentation and reordering, and multiplexing between logical and transport channels based on radio resource allocation, implementing L2 layer functions for the user plane and control plane. The controller/processor 459 is also responsible for retransmission of lost packets and signaling to saidfirst communications device 410. A transmitprocessor 468 performs modulation mapping, channel coding, and digital multi-antenna spatial precoding by a multi-antenna transmitprocessor 457 including codebook-based precoding and non-codebook based precoding, and beamforming, and the transmitprocessor 468 then modulates the resulting spatial streams into multi-carrier/single-carrier symbol streams, which are provided todifferent antennas 452 via atransmitter 454 after analog precoding/beamforming in the multi-antenna transmitprocessor 457. Eachtransmitter 454 first converts the baseband symbol stream provided by the multi-antenna transmitprocessor 457 into a radio frequency symbol stream and provides the radio frequency symbol stream to theantenna 452.
In a transmission from thesecond communication device 450 to thefirst communication device 410, the functionality at thefirst communication device 410 is similar to the receiving functionality at thesecond communication device 450 described in the transmission from thefirst communication device 410 to thesecond communication device 450. Eachreceiver 418 receives rf signals through itsrespective antenna 420, converts the received rf signals to baseband signals, and provides the baseband signals to a multi-antenna receiveprocessor 472 and a receiveprocessor 470. The receiveprocessor 470 and the multiple antenna receiveprocessor 472 collectively implement the functionality of the L1 layer. Controller/processor 475 implements the L2 layer functions. The controller/processor 475 can be associated with amemory 476 that stores program codes and data.Memory 476 may be referred to as a computer-readable medium. In transmissions from thesecond communications device 450 to thefirst communications device 410, the controller/processor 475 provides demultiplexing between transport and logical channels, packet reassembly, deciphering, header decompression, control signal processing to recover upper layer packets from theUE 450. Upper layer data packets from the controller/processor 475 may be provided to a core network.
As an embodiment, the first node in this application includes thesecond communication device 450, and the second node in this application includes thefirst communication device 410.
As a sub-embodiment of the foregoing embodiment, the first node is a user equipment, and the second node is a user equipment.
As a sub-embodiment of the foregoing embodiment, the first node is a user equipment, and the second node is a relay node.
As a sub-embodiment of the foregoing embodiment, the first node is a relay node, and the second node is a user equipment.
As a sub-embodiment of the foregoing embodiment, the first node is a user equipment, and the second node is a base station equipment.
As a sub-embodiment of the foregoing embodiment, the first node is a relay node, and the second node is a base station device.
As a sub-embodiment of the above-mentioned embodiment, thesecond communication device 450 includes: at least one controller/processor; the at least one controller/processor is responsible for HARQ operations.
As a sub-embodiment of the above-described embodiment, thefirst communication device 410 includes: at least one controller/processor; the at least one controller/processor is responsible for HARQ operations.
As a sub-embodiment of the above-described embodiment, thefirst communication device 410 includes: at least one controller/processor; the at least one controller/processor is responsible for error detection using positive Acknowledgement (ACK) and/or Negative Acknowledgement (NACK) protocols to support HARQ operations.
As an embodiment, thesecond communication device 450 includes: at least one processor and at least one memory including computer program code; the at least one memory and the computer program code are configured for use with the at least one processor. The second communication device 450 apparatus at least: monitoring the first type of signaling in the application and the second type of signaling in the application in the first time-frequency resource pool in the application, and receiving the first signaling in the application in the first time-frequency resource pool; sending the first information block in the present application in the first air interface resource block in the present application; the first type of signaling and the second type of signaling respectively correspond to different HARQ-ACK codebooks; the first information block comprises HARQ-ACK associated with the first signaling; the first type of signaling comprises the first domain in the application; said first signaling is one of said first type of signaling; the value of the first field in the first signaling is related to both the amount of the first type of signaling transmitted in the first time-frequency resource pool and the amount of the second type of signaling transmitted in the first time-frequency resource pool; the first value and the second value are commonly used to determine the first field in the first signaling, where the first value is equal to a first increasing order of serving cell indexes and a second increasing order of pdcch monitoring opportunity indexes, the number of pairs of serving cell-pdcch monitoring opportunities including the first type of signaling accumulated by the current serving cell and the current pdcch monitoring opportunity in the first time window in the present application is equal to a total number of pairs of serving cell-pdcch monitoring opportunities including the second type of signaling accumulated by the current pdcch monitoring opportunity in the first time window.
As a sub-embodiment of the above embodiment, thesecond communication device 450 corresponds to the first node in the present application.
As an embodiment, the second communication device 450 includes: a memory storing a program of computer readable instructions that when executed by at least one processor result in actions comprising: monitoring the first type of signaling in the application and the second type of signaling in the application in the first time-frequency resource pool in the application, and receiving the first signaling in the application in the first time-frequency resource pool; sending the first information block in the present application in the first air interface resource block in the present application; the first type of signaling and the second type of signaling correspond to different HARQ-ACK codebooks respectively; the first information block comprises HARQ-ACK associated with the first signaling; the first type of signaling comprises the first domain in the application; said first signaling is one of said first type of signaling; the value of the first field in the first signaling is related to both the amount of the first type of signaling transmitted in the first time-frequency resource pool and the amount of the second type of signaling transmitted in the first time-frequency resource pool; the first value in this application and the second value in this application are used together to determine the first field in the first signaling, where the first value is equal to the number of serving cell-pdcch monitoring opportunity pairs including the first type of signaling accumulated by the current serving cell and the current pdcch monitoring opportunity in the first time window, and the second value is equal to the total number of serving cell-pdcch monitoring opportunity pairs including the second type of signaling accumulated by the current pdcch monitoring opportunity in the first time window.
As a sub-embodiment of the above embodiment, thesecond communication device 450 corresponds to the first node in the present application.
As an embodiment, thefirst communication device 410 includes: at least one processor and at least one memory including computer program code; the at least one memory and the computer program code are configured for use with the at least one processor. The first communication device 410 means at least: sending the first signaling in the present application in the first time-frequency resource pool in the present application; receiving the first information block in the present application in the first air interface resource block in the present application; the first type of signaling and the second type of signaling in the application correspond to different HARQ-ACK codebooks respectively; the first information block comprises HARQ-ACK associated with the first signaling; the first type of signaling comprises the first domain in the application; said first signaling is one of said first type of signaling; the value of the first field in the first signaling is related to both the amount of the first type of signaling transmitted in the first time-frequency resource pool and the amount of the second type of signaling transmitted in the first time-frequency resource pool; the first value and the second value are commonly used to determine the first field in the first signaling, where the first value is equal to a first increasing order of serving cell indexes and a second increasing order of pdcch monitoring opportunity indexes, the number of pairs of serving cell-pdcch monitoring opportunities including the first type of signaling accumulated by the current serving cell and the current pdcch monitoring opportunity in the first time window in the present application is equal to a total number of pairs of serving cell-pdcch monitoring opportunities including the second type of signaling accumulated by the current pdcch monitoring opportunity in the first time window.
As a sub-embodiment of the above embodiment, thefirst communication device 410 corresponds to the second node in this application.
As an embodiment, the first communication device 410 includes: a memory storing a program of computer readable instructions that when executed by at least one processor result in actions comprising: sending the first signaling in the present application in the first time-frequency resource pool in the present application; receiving the first information block in the present application in the first air interface resource block in the present application; the first type of signaling and the second type of signaling in the application correspond to different HARQ-ACK codebooks respectively; the first information block comprises HARQ-ACK associated with the first signaling; the first type of signaling comprises the first domain in the application; said first signaling is one of said first type of signaling; the value of the first field in the first signaling is related to both the amount of the first type of signaling transmitted in the first time-frequency resource pool and the amount of the second type of signaling transmitted in the first time-frequency resource pool; the first value and the second value are commonly used to determine the first field in the first signaling, where the first value is equal to a first increasing order of serving cell indexes and a second increasing order of pdcch monitoring opportunity indexes, the number of pairs of serving cell-pdcch monitoring opportunities including the first type of signaling accumulated by the current serving cell and the current pdcch monitoring opportunity in the first time window in the present application is equal to a total number of pairs of serving cell-pdcch monitoring opportunities including the second type of signaling accumulated by the current pdcch monitoring opportunity in the first time window.
As a sub-embodiment of the above embodiment, thefirst communication device 410 corresponds to the second node in this application.
As an embodiment, at least one of theantenna 452, thereceiver 454, themulti-antenna reception processor 458, thereception processor 456, the controller/processor 459, thememory 460 and thedata source 467 is used for monitoring the first type of signaling and the second type of signaling in the first time-frequency resource pool in the present application, and receiving the first signaling in the present application.
As one example, at least one of { theantenna 420, thetransmitter 418, the multi-antenna transmitprocessor 471, the transmitprocessor 416, the controller/processor 475, the memory 476} is used to send the first signaling in this application in the first pool of time-frequency resources in this application.
As one example, at least one of theantenna 452, thereceiver 454, the multi-antenna receiveprocessor 458, the receiveprocessor 456, the controller/processor 459, thememory 460, thedata source 467 is used to receive the first set of bit blocks in this application.
As an example, at least one of { theantenna 420, thetransmitter 418, the multi-antenna transmitprocessor 471, the transmitprocessor 416, the controller/processor 475, the memory 476} is used to transmit the first set of bit blocks in this application.
As an example, at least one of theantenna 452, thereceiver 454, the multi-antenna receiveprocessor 458, the receiveprocessor 456, the controller/processor 459, thememory 460, and thedata source 467 may be configured to receive the second signaling from the first pool of time and frequency resources.
As an example, at least one of { theantenna 420, thetransmitter 418, the multi-antenna transmitprocessor 471, the transmitprocessor 416, the controller/processor 475, the memory 476} is used to send the second signaling in the first pool of time-frequency resources in this application.
As an example, at least one of theantenna 452, thereceiver 454, themulti-antenna reception processor 458, thereception processor 456, the controller/processor 459, thememory 460, and thedata source 467 is configured to receive L1-1 first type signaling in the first set of signaling in the present application and L2-1 second type signaling in the second set of signaling in the present application in the first pool of time and frequency resources in the present application.
As an example, at least one of { theantenna 420, thetransmitter 418, themulti-antenna transmission processor 471, thetransmission processor 416, the controller/processor 475, the memory 476} is used to send L1-1 first type signaling in the first set of signaling in this application and L2-1 second type signaling in the second set of signaling in this application in the first pool of time-frequency resources in this application.
As an example, at least one of theantenna 452, thetransmitter 454, the multi-antenna transmitprocessor 458, the transmitprocessor 468, the controller/processor 459, thememory 460, thedata source 467 may be used to transmit the first information block of the present application.
As an example, at least one of { theantenna 420, thereceiver 418, themulti-antenna reception processor 472, thereception processor 470, the controller/processor 475, the memory 476} is used to receive the first information block in this application.
Example 5
Embodiment 5 illustrates a wireless signal transmission flow chart according to an embodiment of the present application, as shown in fig. 5. In FIG. 5, communication between the first node U1 and the second node U2 is over an air interface. In fig. 5, the dashed boxes F1, F2, and F3 are optional.
A first node U1, monitoring the first type signaling and the second type signaling in the first time-frequency resource pool in step S511; receiving a third signaling in the first time-frequency resource pool in step S5101; receiving a first signaling in a first time-frequency resource pool in step S512; receiving a first set of bit blocks in step S5102; receiving a second signaling in the first time-frequency resource pool in step S5103; the first information block is transmitted in the first empty resource block in step S513.
The second node U2, in step S5201, sends the third signaling in the first time-frequency resource pool; transmitting a first signaling in a first time-frequency resource pool in step S521; transmitting a first bit block set in step S5202; transmitting a second signaling in the first time-frequency resource pool in step S5203; a first information block is received in a first empty resource block in step S522.
In embodiment 5, the first type signaling and the second type signaling correspond to different HARQ-ACK codebooks, respectively; the first information block comprises HARQ-ACK associated with the first signaling; the first type of signaling comprises a first domain; said first signaling is one of said first type of signaling; the value of the first field in the first signaling is related to both the amount of the first type of signaling transmitted in the first time-frequency resource pool and the amount of the second type of signaling transmitted in the first time-frequency resource pool; a first value and a second value are jointly used for determining the first domain in the first signaling, the first value is equal to the number of serving cell-physical downlink control channel monitoring opportunity pairs including the first type of signaling accumulated by the current serving cell and the current physical downlink control channel monitoring opportunity in a first time window according to the increasing sequence of the serving cell index and the increasing sequence of the physical downlink control channel monitoring opportunity index, and the second value is equal to the total number of the serving cell-physical downlink control channel monitoring opportunity pairs including the second type of signaling accumulated by the current physical downlink control channel monitoring opportunity in the first time window; said second signaling is one of said second type of signaling; a second time window comprising the first time window, the second signaling being transmitted in time domain resources in the second time window outside the first time window; the second type of signaling comprises the first domain; the second signaling comprises a value of the first domain related only to the amount of the second type of signaling transmitted in the first time-frequency resource pool of both the amount of the first type of signaling transmitted in the first time-frequency resource pool and the amount of the second type of signaling transmitted in the first time-frequency resource pool; the first information block does not include a HARQ-ACK associated with the second signaling; said third signaling is one of said second type of signaling; the third signaling is transmitted in the first time window, the first information block comprising HARQ-ACK associated with the third signaling; said first signaling is one of said first type of signaling; transmitting each first type signaling in a first signaling set in the first time-frequency resource pool; wherein the first signaling set comprises a first type of signaling detected in the first time-frequency resource pool except the first signaling, and the first signaling is later than a first type of signaling in the first signaling set; the first information block comprises a HARQ-ACK associated with one first type of signaling in the first set of signaling; the first signaling comprises a second domain; the first signaling comprises a value of the second domain related to both the number of the first type of signaling transmitted in the first time-frequency resource pool and the number of the second type of signaling transmitted in the first time-frequency resource pool; a third value and a fourth value are jointly used to determine the value of the second field included in the first signaling, where the third value is equal to the total number of serving cell-pdcch monitoring opportunity pairs including the first type of signaling accumulated by the current pdcch monitoring opportunity in the first time window, and the fourth value is equal to the total number of serving cell-pdcch monitoring opportunity pairs including the second type of signaling accumulated by the current pdcch monitoring opportunity in the first time window.
Inembodiment 5, the first signaling comprises scheduling information for the first set of bit blocks, the HARQ-ACK associated with the first signaling indicating whether each bit block in the first set of bit blocks was correctly received; alternatively, the first signaling is used to indicate a quasi-static scheduling release, the HARQ-ACK associated with the first signaling indicating whether the first signaling was received correctly.
As an example, the first node U1 is the first node in this application.
As an example, the second node U2 is the second node in this application.
For one embodiment, the first node U1 is a UE.
For one embodiment, the second node U2 is a base station.
For one embodiment, the second node U2 is a UE.
For one embodiment, the air interface between the second node U2 and the first node U1 is a Uu interface.
For one embodiment, the air interface between the second node U2 and the first node U1 includes a cellular link.
For one embodiment, the air interface between the second node U2 and the first node U1 comprises a wireless interface between a base station device and a user equipment.
As one embodiment, the first information block comprises a first sub-information block comprising the HARQ-ACK associated with the first signaling; a second sub-information block comprises the HARQ-ACK associated with the third signaling; the first signaling indicates the first empty resource block, the third signaling indicates a second empty resource block, the first empty resource block is reserved for the first sub-information block, and the second empty resource block is reserved for the second sub-information block; whether a time unit of the first air interface resource block in the time domain and a time unit of the second air interface resource block in the time domain are overlapped or not is used for determining whether the first information block comprises the second sub-information block or not, or whether the first air interface resource block and the second air interface resource block are overlapped or not in the time domain is used for determining whether the first information block comprises the second sub-information block or not.
As a sub-embodiment of the foregoing embodiment, the time unit to which the first air interface resource block belongs in the time domain includes a time slot, and the time unit to which the second air interface resource block belongs in the time domain includes a time slot.
As a sub-embodiment of the foregoing embodiment, the time unit to which the first air interface resource block belongs in the time domain includes one subframe, and the time unit to which the second air interface resource block belongs in the time domain includes one subframe.
As a sub-embodiment of the foregoing embodiment, the time unit to which the first air interface resource block belongs in the time domain and the time unit to which the second air interface resource block belongs in the time domain include the same number of time slots.
As a sub-embodiment of the foregoing embodiment, the time unit to which the first air interface resource block belongs in the time domain and the time unit to which the second air interface resource block belongs in the time domain include subframes with the same number.
As a sub-embodiment of the foregoing embodiment, the time unit to which the first air interface resource block belongs in the time domain and the time unit to which the second air interface resource block belongs in the time domain include the same number of multicarrier symbols.
As a sub-embodiment of the foregoing embodiment, a time unit of the first air interface resource block in the time domain and a time unit of the second air interface resource block in the time domain are overlapped, and the first information block includes the first sub-information block and the second sub-information block.
As a sub-embodiment of the foregoing embodiment, a time unit to which the first air interface resource block belongs in a time domain is orthogonal (i.e., not overlapped) with a time unit to which the second air interface resource block belongs in the time domain, and the first information block includes only the first sub-information block of the first sub-information block and the second sub-information block.
As a sub-embodiment of the foregoing embodiment, that the time unit to which the first air interface resource block belongs in the time domain and the time unit to which the second air interface resource block belongs in the time domain overlap each other means that: the time unit of the first air interface resource block in the time domain is the same as the time unit of the second air interface resource block in the time domain; the time unit to which the first air interface resource block belongs in the time domain and the time unit to which the second air interface resource block belongs in the time domain are orthogonal (i.e. not overlapped) means that: the time unit to which the first air interface resource block belongs in the time domain is different from the time unit to which the second air interface resource block belongs in the time domain.
As a sub-embodiment of the foregoing embodiment, that the time unit to which the first air interface resource block belongs in the time domain and the time unit to which the second air interface resource block belongs in the time domain overlap each other means that: the time unit to which the first air interface resource block belongs in the time domain and the time unit to which the second air interface resource block belongs in the time domain comprise the same multicarrier symbol; the time unit to which the first air interface resource block belongs in the time domain and the time unit to which the second air interface resource block belongs in the time domain are orthogonal (i.e. not overlapped) means that: any multicarrier symbol in the time unit to which the first air interface resource block belongs in the time domain does not belong to the time unit to which the second air interface resource block belongs in the time domain.
As a sub-embodiment of the foregoing embodiment, the first air interface resource block and the second air interface resource block are overlapped in a time domain, and the first information block includes the first sub-information block and the second sub-information block.
As a sub-embodiment of the above-mentioned embodiment, the first and second null resource blocks are orthogonal (i.e. do not overlap) in the time domain, and the first information block includes only the first sub-information block of the first and second sub-information blocks.
As a sub-embodiment of the foregoing embodiment, the first air interface resource block and the second air interface resource block are overlapped in a time domain, and the first air interface resource block and the second air interface resource block include a same multicarrier symbol.
As a sub-embodiment of the foregoing embodiment, the first air interface resource block and the second air interface resource block are orthogonal (i.e., do not overlap) in a time domain, and any multicarrier symbol in the first air interface resource block does not belong to the second air interface resource block.
As a sub-embodiment of the above-described embodiment, the first information block includes the first sub-information block and the second sub-information block.
As a sub-embodiment of the above-mentioned embodiments, the first information block includes only the first sub-information block of the first sub-information block and the second sub-information block.
As a sub-embodiment of the above embodiment, the first sub-information block includes UCI.
As a sub-embodiment of the above embodiment, the first sub-information block includes only HARQ-ACK.
As a sub-embodiment of the above embodiment, the first sub-information block includes HARQ-ACK and CSI.
As a sub-embodiment of the above embodiment, the first sub-information block includes HARQ-ACK and SR.
As a sub-embodiment of the above embodiment, the first sub-information block includes HARQ-ACK, CSI, and SR.
As a sub-embodiment of the above embodiment, the second sub-information block includes UCI.
As a sub-embodiment of the above embodiment, the second sub-information block includes only HARQ-ACK.
As a sub-embodiment of the above embodiment, the second sub-information block includes HARQ-ACK and CSI.
As a sub-embodiment of the above embodiment, the second sub-information block includes HARQ-ACK and SR.
As a sub-embodiment of the above-mentioned embodiments, the second sub-information block includes HARQ-ACK, CSI, and SR.
As a sub-embodiment of the foregoing embodiment, the first air interface resource block belongs to a time slot in a time domain, and the second air interface resource block belongs to a time slot in the time domain.
As a sub-embodiment of the foregoing embodiment, the first air interface resource block belongs to one subframe in a time domain, and the second air interface resource block belongs to one subframe in the time domain.
As a sub-embodiment of the foregoing embodiment, the first air interface resource block and the second air interface resource block are configured by higher layer signaling.
As a sub-embodiment of the foregoing embodiment, the first air interface resource block and the second air interface resource block are configured by RRC signaling.
As a sub-embodiment of the foregoing embodiment, the first and second air interface resource blocks are configured by MAC CE signaling.
As a sub-embodiment of the foregoing embodiment, the first null resource block and the second null resource block are preconfigured.
As a sub-embodiment of the foregoing embodiment, the first air interface resource block includes a positive integer number of REs, and the second air interface resource block includes a positive integer number of REs.
As a sub-embodiment of the foregoing embodiment, the first null resource block includes a positive integer number of subcarriers in the frequency domain, and the second null resource block includes a positive integer number of subcarriers in the frequency domain.
As a sub-embodiment of the foregoing embodiment, the first air interface resource block includes a positive integer number of PRBs in a frequency domain, and the second air interface resource block includes a positive integer number of PRBs in a frequency domain.
As a sub-embodiment of the foregoing embodiment, the first air interface resource block includes a positive integer number of RBs in the frequency domain, and the second air interface resource block includes a positive integer number of RBs in the frequency domain.
As a sub-embodiment of the foregoing embodiment, the first air interface resource block includes a positive integer number of multicarrier symbols in a time domain, and the second air interface resource block includes a positive integer number of multicarrier symbols in a time domain.
As a sub-embodiment of the foregoing embodiment, the method in the first node in the present application further includes:
and sending the second sub information block in the second air interface resource block.
As a sub-embodiment of the foregoing embodiment, the method in the second node in the present application further includes:
and receiving the second sub information block in the second air interface resource block.
As a sub-embodiment of the foregoing embodiment, in this application, the first node further sends the second sub-information block in the second air interface resource block, and in this application, the second node further receives the second sub-information block in the second air interface resource block.
As a sub-embodiment of the foregoing embodiment, the method in the first node in the present application further includes:
and giving up sending the second sub information block in the second air interface resource block.
As a sub-embodiment of the foregoing embodiment, in the present application, the first node abandons sending the second sub-information block in the second air interface resource block.
As a sub-embodiment of the foregoing embodiment, the method in the first node in the present application further includes:
and sending the second sub-information block in the second air interface resource block, or giving up sending the second sub-information block in the second air interface resource block.
As a sub-embodiment of the foregoing embodiment, the first node in this application further sends the second sub-information block in the second air interface resource block, or the first node in this application abandons sending the second sub-information block in the second air interface resource block.
As a sub-embodiment of the foregoing embodiment, whether the first information block includes the second sub-information block is used to determine whether the first node in the present application sends the second sub-information block in the second air interface resource block.
As a sub-embodiment of the foregoing embodiment, the first information block includes only the first sub-information block of the first sub-information block and the second sub-information block, and the first node in this application sends the second sub-information block in the second air interface resource block.
As a sub-embodiment of the foregoing embodiment, a time unit of the first air interface resource block in the time domain is orthogonal (i.e., not overlapped) with a time unit of the second air interface resource block in the time domain, and the first node in this application sends the second sub-information block in the second air interface resource block.
As a sub-embodiment of the foregoing embodiment, the first air interface resource block and the second air interface resource block are orthogonal (i.e., do not overlap) in a time domain, and the first node in this application sends the second sub-information block in the second air interface resource block.
As a sub-embodiment of the foregoing embodiment, the first information block includes the first sub-information block and the second sub-information block, and the first node in this application abandons sending the second sub-information block in the second air interface resource block.
As a sub-embodiment of the foregoing embodiment, a time unit of the first air interface resource block in the time domain is overlapped with a time unit of the second air interface resource block in the time domain, and the first node in this application abandons sending the second sub-information block in the second air interface resource block.
As a sub-embodiment of the foregoing embodiment, the first air interface resource block and the second air interface resource block are overlapped in a time domain, and the first node in this application abandons sending the second sub-information block in the second air interface resource block.
As an embodiment, the first information block includes a first sub information block and a second sub information block.
As a sub-embodiment of the above-mentioned embodiments, the first sub-information block includes HARQ-ACK information associated with the first type of signaling; the second sub information block includes HARQ-ACK information associated with the second type of signaling.
As a sub-embodiment of the above embodiment, the first sub-information block includes M1 CBG-based HARQ-ACK information associated with the first signaling; the second sub-information block includes M2 CBG-based HARQ-ACK information associated with the third signaling; the M1 is a positive integer, the M2 is a positive integer, the M1 is not equal to the M2.
As a sub-embodiment of the above embodiment, the first sub-information block includes TB-based HARQ-ACK information associated with the first signaling; the second sub-information block includes CBG-based HARQ-ACK information associated with the third signaling.
As a sub-embodiment of the above, the first sub-information block comprises CBG-based HARQ-ACK information associated with the first signaling; the second sub-information block includes TB-based HARQ-ACK information associated with the third signaling.
As a sub-embodiment of the above embodiment, the first sub-information block includes high priority HARQ-ACK information; the second sub information block includes low priority HARQ-ACK information.
As a sub-embodiment of the above-mentioned embodiments, the first sub-information block includes HARQ-ACK information of low priority; the second sub information block includes high priority HARQ-ACK information.
As a sub-embodiment of the above embodiment, the first sub-information block includes multicast-based HARQ-ACK information; the second sub-information block includes unicast-based HARQ-ACK information.
As a sub-embodiment of the above embodiment, the first sub-information block includes unicast-based HARQ-ACK information; the second sub information block includes multicast-based HARQ-ACK information.
As an embodiment, the first order of increasing serving cell indexes and the second order of increasing physical downlink control channel monitoring opportunity indexes, and the number of serving cell-physical downlink control channel monitoring opportunity pairs including the second type of signaling accumulated by the current serving cell and the current physical downlink control channel monitoring opportunity in the first time window is used to determine the first domain in the third signaling.
As an embodiment, the method in the first node in the present application further includes:
receiving a second set of bit blocks;
wherein the second signaling comprises scheduling information for the second set of bit blocks; the HARQ-ACK associated with the second signaling indicates whether each bit block in the second set of bit blocks was received correctly.
As an embodiment, the method in the second node in the present application further includes:
transmitting a second set of bit blocks;
wherein the second signaling comprises scheduling information for the second set of bit blocks; the HARQ-ACK associated with the second signaling indicates whether each bit block in the second set of bit blocks was received correctly.
As an embodiment, the first receiver further receives a second set of bit blocks; wherein the second signaling comprises scheduling information for the second set of bit blocks; the HARQ-ACK associated with the second signaling indicates whether each bit block in the second set of bit blocks was received correctly.
As an embodiment, the second transmitter further transmits a second set of bit blocks; wherein the second signaling comprises scheduling information for the second set of bit blocks; the HARQ-ACK associated with the second signaling indicates whether each bit block in the second set of bit blocks was received correctly.
As an embodiment, the second signaling is used to indicate a quasi-static scheduling release, the HARQ-ACK associated with the second signaling indicating whether the second signaling is correctly received.
For one embodiment, the second set of bit blocks includes a positive integer number of TBs (Transport blocks).
For one embodiment, the second set of bit blocks includes one TB.
As an embodiment, the second set of bit blocks comprises a positive integer number of CBGs.
As an embodiment, the second set of bit blocks comprises a positive integer number of bits.
As an embodiment, the scheduling information of the second bit block set includes at least one of occupied time domain resources, occupied frequency domain resources, MCS (Modulation and Coding Scheme), Configuration information of DMRS (DeModulation Reference Signals), HARQ (Hybrid Automatic Repeat reQuest) process number, RV (Redundancy Version), NDI (New Data Indicator), transmit antenna port, and corresponding TCI (Transmission Configuration Indicator) state (state).
As a sub-embodiment of the foregoing embodiment, the configuration information of the DMRS includes at least one of an rs (reference signal) sequence, a mapping manner, a DMRS type, an occupied time domain resource, an occupied frequency domain resource, an occupied Code domain resource, a cyclic shift amount (cyclic shift), and an OCC (Orthogonal Code).
As one embodiment, the HARQ-ACK associated with the second signaling comprises an ACK.
As one embodiment, the HARQ-ACK associated with the second signaling comprises a NACK.
As one embodiment, the HARQ-ACK associated with the second signaling comprises an ACK or a NACK.
As an embodiment, the HARQ-ACK associated with the second signaling indicates whether each bit block in the set of bit blocks scheduled by the second signaling was received correctly.
As an embodiment, the second signaling comprises signaling used for downlink physical layer data channel scheduling, and the HARQ-ACK associated with the second signaling indicates whether the downlink physical layer data channel transmission scheduled by the second signaling is correctly received.
As one embodiment, the second signaling includes signaling used for PDSCH scheduling, the HARQ-ACK associated with the second signaling indicating whether PDSCH transmissions scheduled by the second signaling are correctly received.
As one embodiment, the HARQ-ACK associated with the second signaling indicates whether the second signaling was received correctly.
As one embodiment, the second signaling comprises signaling used to indicate an SPS release, the HARQ-ACK associated with the second signaling indicating whether the second signaling was received correctly.
As an embodiment, the method in the first node in the present application further includes:
receiving a third set of bit blocks;
wherein the third signaling comprises scheduling information for the third set of bit blocks; the HARQ-ACK associated with the third signaling indicates whether each bit block in the third set of bit blocks was received correctly.
As an embodiment, the method in the second node in the present application further includes:
transmitting a third set of bit blocks;
wherein the third signaling comprises scheduling information for the third set of bit blocks; the HARQ-ACK associated with the third signaling indicates whether each bit block in the third set of bit blocks was received correctly.
As an embodiment, the first node in the present application further receives a third set of bit blocks; wherein the third signaling comprises scheduling information for the third set of bit blocks; the HARQ-ACK associated with the third signaling indicates whether each bit block in the third set of bit blocks was received correctly.
As an embodiment, the second node in the present application further sends a third set of bit blocks; wherein the third signaling comprises scheduling information for the third set of bit blocks; the HARQ-ACK associated with the third signaling indicates whether each bit block in the third set of bit blocks was received correctly.
As an embodiment, the third signaling is used to indicate a quasi-static scheduling release, and the HARQ-ACK associated with the third signaling indicates whether the third signaling is correctly received.
As an embodiment, the third set of bit blocks comprises a positive integer number of TBs.
As an embodiment, the third set of bit blocks comprises one TB.
As an embodiment, the third set of bit blocks includes a positive integer number of CBGs.
As an embodiment, the third set of bit blocks includes a positive integer number of bits.
As an embodiment, the scheduling information of the third bit block set includes at least one of occupied time domain resources, occupied frequency domain resources, MCS, DMRS configuration information, HARQ process number, RV, NDI, transmit antenna port, and corresponding TCI status (state).
As a sub-embodiment of the foregoing embodiment, the DMRS configuration information includes at least one of an RS sequence, a mapping manner, a DMRS type, an occupied time domain resource, an occupied frequency domain resource, an occupied code domain resource, a cyclic shift amount, and an OCC.
As one embodiment, the HARQ-ACK associated with the third signaling comprises an ACK.
As one embodiment, the HARQ-ACK associated with the third signaling comprises a NACK.
As one embodiment, the HARQ-ACK associated with the third signaling comprises an ACK or a NACK.
As an embodiment, the HARQ-ACK associated with the third signaling indicates whether each bit block in the set of bit blocks scheduled by the third signaling was received correctly.
As an embodiment, the third signaling comprises signaling used for downlink physical layer data channel scheduling, and the HARQ-ACK associated with the third signaling indicates whether the downlink physical layer data channel transmission scheduled by the third signaling is correctly received.
As one embodiment, the third signaling includes signaling used for PDSCH scheduling, the HARQ-ACK associated with the third signaling indicating whether a PDSCH transmission scheduled by the third signaling was correctly received.
As an embodiment, the HARQ-ACK associated with the third signaling indicates whether the third signaling was received correctly.
As an embodiment, the third signaling comprises signaling used to indicate an SPS release, the HARQ-ACK associated with the third signaling indicating whether the third signaling was received correctly.
As an embodiment, the first signaling and the third signaling both include a fourth field, the fourth field included in the first signaling indicates the first resource block, and the fourth field included in the third signaling indicates a second resource block.
As a sub-embodiment of the above embodiment, the fourth field is a PUCCH resource indicator field, and the specific definition of the PUCCH resource indicator field is described in section 7.3.1.2 in 3GPP TS 38.212.
As a sub-embodiment of the above embodiment, the fourth field comprises a positive integer number of bits.
As a sub-embodiment of the above embodiment, the fourth field comprises 3 bits.
As an embodiment, a second air interface resource block is one air interface resource block in a second air interface resource block set, where the second air interface resource block set is one of N air interface resource block sets, any one of the N air interface resource block sets includes a positive integer of air interface resource blocks, and N is a positive integer greater than 1; the number of bits included in the second sub-information block is used to determine the second set of air interface resource blocks from the N sets of air interface resource blocks.
As a sub-embodiment of the foregoing embodiment, the third signaling is used to indicate the second air interface resource block from the second set of air interface resource blocks.
As a sub-embodiment of the foregoing embodiment, the third signaling indicates an index of the second air interface resource block in the second air interface resource block set.
As a sub-embodiment of the foregoing embodiment, the third signaling includes a fourth field, and the fourth field included in the third signaling indicates an index of the second air interface resource block in the second air interface resource block set.
As an embodiment, the first and second air-port resource blocks both comprise PUCCH resources.
As an embodiment, the first and second null resource blocks are both reserved for PUCCH.
As an embodiment, the first air interface resource block is reserved for transmission of the first sub information block, and the second air interface resource block is reserved for transmission of the second sub information block.
As an embodiment, the first signaling is one of the first type of signaling, and the third signaling is one of the second type of signaling; a first sub-information block comprising the HARQ-ACK associated with the first signaling, the first sub-information block belonging to the first information block, a second sub-information block comprising HARQ-ACK associated with the third signaling; the first signaling indicates the first empty resource block, the third signaling indicates a second empty resource block, the first empty resource block is reserved for the first sub-information block, and the second empty resource block is reserved for the second sub-information block; the time unit of the first air interface resource block in the time domain is overlapped with the time unit of the second air interface resource block in the time domain, and the first information block comprises the second sub information block and the first sub information block.
As an embodiment, the first signaling is one of the first type of signaling, and the third signaling is one of the second type of signaling; a first sub-information block comprising the HARQ-ACK associated with the first signaling, the first sub-information block belonging to the first information block, a second sub-information block comprising HARQ-ACK associated with the third signaling; the first signaling indicates the first empty resource block, the third signaling indicates a second empty resource block, the first empty resource block is reserved for the first sub-information block, and the second empty resource block is reserved for the second sub-information block; the first air interface resource block and the second air interface resource block are overlapped in a time domain, and the first information block comprises the second sub information block and the first sub information block.
As an embodiment, the first signaling is transmitted in the first time window.
As an embodiment, the second field includes all or part of a Downlink assignment index field, and the Downlink assignment index field is specifically defined in section 7.3.1.2 of 3GPP TS 38.212.
As one embodiment, the value of the second field indicates total DAI (Downlink Assignment Index).
As an embodiment, the value of the second field in the first signaling is equal to the sum of the number of the first type of signaling transmitted in the first time-frequency resource pool and the number of the second type of signaling transmitted in the first time-frequency resource pool.
As an embodiment, the value of the second field in the first signaling is equal to a remainder obtained by dividing a sum of the number of the first type of signaling transmitted in the first time-frequency resource pool and the number of the second type of signaling transmitted in the first time-frequency resource pool by 4.
As an embodiment, the value of the second field in the first signaling is equal to a remainder obtained by dividing a sum of the number of the first type of signaling transmitted in the first time-frequency resource pool and the number of the second type of signaling transmitted in the first time-frequency resource pool by X power of 2, where X is a positive integer.
As an embodiment, the value of the second field in the first signaling is equal to a weighted sum of the number of the first type of signaling transmitted in the first time-frequency resource pool and the number of the second type of signaling transmitted in the first time-frequency resource pool.
As an embodiment, the number of the signaling of the first type sent in the first time-frequency resource pool and the number of the signaling of the second type sent in the first time-frequency resource pool are respectively equal to the third value and the fourth value.
As an embodiment, the second field includes 2 bits, and a value of the second field in the first signaling is equal to a remainder obtained by dividing a sum of the third numerical value and the fourth numerical value by 4.
As an embodiment, the value of the second field in the first signaling is equal to the sum of the third value and the fourth value.
As an embodiment, the value of the second field in the first signaling is equal to a weighted sum of the third numerical value and the fourth numerical value.
As an embodiment, the second field includes X bits, a value of the second field in the first signaling is equal to a remainder obtained by dividing a sum of the third numerical value and the fourth numerical value by 2 to X, where X is a positive integer.
As an embodiment, the second signaling includes the second domain; the second signaling comprises a value of the second domain related to the amount of the first type of signaling transmitted in the first pool of time-frequency resources and to the amount of the second type of signaling transmitted in the first pool of time-frequency resources.
As an embodiment, the second signaling includes the second domain; the second signaling comprises a remainder of the second domain value equal to a remainder obtained by dividing the number of the second type of signaling transmitted in the first time-frequency resource pool by 4.
As an embodiment, the second signaling includes the second field, the second field including X bits; the second signaling comprises a remainder obtained by dividing the number of the second type of signaling sent in the first time-frequency resource pool by the power of 2 to the X, wherein the X is a positive integer.
As an embodiment, the third signaling comprises the second domain; the third signaling comprises a value of the second domain related to the amount of the first type of signaling transmitted in the first pool of time-frequency resources and to the amount of the second type of signaling transmitted in the first pool of time-frequency resources.
As an embodiment, the third signaling comprises the second domain; the third signaling comprises a remainder of the second domain value equal to a remainder obtained by dividing a number of the second type signaling transmitted in the first time-frequency resource pool by 4.
As an embodiment, the third signaling comprises the second field, the second field comprising X bits; the third signaling comprises a remainder obtained by dividing the number of the second type of signaling sent in the first time-frequency resource pool by the power of 2 to the X, wherein the X is a positive integer.
As one example, the step in block F51 in fig. 5 exists.
As one example, the step in block F51 in fig. 5 does not exist.
As one example, the step in block F52 in fig. 5 exists.
As one example, the step in block F52 in fig. 5 is not present.
As one example, the step in block F53 in fig. 5 exists.
As one example, the step in block F53 in fig. 5 is not present.
Example 6
Embodiment 6 illustrates a schematic diagram of a relationship between first signaling, second signaling, third signaling, a first time window and a second time window according to an embodiment of the present application, as shown in fig. 6.
In embodiment 6, the second time window comprises a first time window in which the first signaling is transmitted, the third signaling is transmitted in the first time window, and the second signaling is transmitted in time domain resources outside the first time window in the second time window.
As an embodiment, the first pool of time-frequency resources includes the first time window, when viewed in the time domain.
As an embodiment, the first time-frequency resource pool includes the second time window when viewed from the time domain.
As an embodiment, when viewed in a time domain, the first time-frequency resource pool includes the first time window, and the first time-frequency resource pool does not include time domain resources outside the first time window in the second time window.
As an embodiment, the second signaling comprises a value of the first field related to the amount of the second type of signaling transmitted in the first time window.
In an embodiment, the time domain resource occupied by the first time-frequency resource pool is the second time window when viewed from the time domain.
In an embodiment, the time domain resource occupied by the first time-frequency resource pool is the first time window when viewed from the time domain.
As an embodiment, the second time-frequency resource is subsequent to the first time-frequency resource as seen in time domain.
As an embodiment, the third value is equal to the number of serving cell-pdcch monitoring opportunity pairs including the second type of signaling accumulated by the current serving cell and the current pdcch monitoring opportunity in the second time window in the first increasing order according to the serving cell index and in the second increasing order according to the pdcch monitoring opportunity index, and the third value is used to determine the first field in the second signaling.
As a sub-embodiment of the above embodiment, the first field in the second signaling is equal to the third value.
As a sub-embodiment of the foregoing embodiment, the first field includes 2 bits, and a remainder of the division of the third value by 4 is equal to a value of the first field in the second signaling.
As a sub-embodiment of the foregoing embodiment, the first field includes X bits, a value of the first field in the second signaling is equal to a remainder obtained by dividing the third numerical value by 2 to X, and X is a positive integer.
As an embodiment, the second signaling comprises a value of the first domain independent of the amount of the first type of signaling transmitted in the first pool of time-frequency resources.
As an embodiment, the second signaling includes a value of the first domain smaller than the number of the second type of signaling transmitted in the first time-frequency resource pool.
As an embodiment, the second signaling comprises a value of the first domain equal to the number of the second type of signaling transmitted in the first time-frequency resource pool.
As an embodiment, the first node in the present application sends a second information block in a third resource block of air interface, where the second information block includes HARQ-ACK associated with the second signaling; the third air interface resource block and the first air interface resource block have no overlapping in time domain.
As a sub-embodiment of the foregoing embodiment, the third air interface resource block includes one PUCCH.
As a sub-embodiment of the foregoing embodiment, the third air interface resource block includes one PUSCH.
As an embodiment, the first signaling indicates the first resource block; the second signaling indicates a third air interface resource block; when the third air interface resource block is not overlapped with the first air interface resource block in a time domain, the first node sends a second information block in the third air interface resource block, wherein the second information block comprises HARQ-ACK associated with the second signaling; when the third air interface resource block overlaps with the first air interface resource block in the time domain, the first node in the application abandons sending the HARQ-ACK information associated with the second signaling.
As an embodiment, the second signaling and the first signaling both indicate a first time domain resource.
As a sub-embodiment of the foregoing embodiment, the first time domain resource is a time domain resource indicated by a PDSCH-to-HARQ _ feedback timing indicator field, and the specific definition of the PDSCH-to-HARQ _ feedback timing indicator field is referred to in section 7.3.1.2 of 3GPP TS 38.212.
As a sub-embodiment of the above embodiment, the first time domain resource includes one time domain resource unit.
As a sub-embodiment of the above embodiment, the first time domain resource includes one slot.
As a sub-embodiment of the foregoing embodiment, the first time domain resource includes one sub-slot.
As a sub-embodiment of the above embodiment, the first time domain resource is a slot.
As a sub-embodiment of the foregoing embodiment, the first time domain resource is a sub-slot.
As an embodiment, the third signaling and the first signaling both indicate a first time domain resource.
As a sub-embodiment of the foregoing embodiment, the first time domain resource is a time domain resource indicated by a PDSCH-to-HARQ _ feedback timing indicator field, and the specific definition of the PDSCH-to-HARQ _ feedback timing indicator field is referred to in section 7.3.1.2 of 3GPP TS 38.212.
As a sub-embodiment of the above embodiment, the first time domain resource includes one time domain resource unit.
As a sub-embodiment of the above embodiment, the first time domain resource includes one slot.
As a sub-embodiment of the foregoing embodiment, the first time domain resource includes one sub-slot.
As a sub-embodiment of the above embodiment, the first time domain resource is a slot.
As a sub-embodiment of the foregoing embodiment, the first time domain resource is a sub-slot.
Example 7
Embodiment 7 illustrates a schematic diagram of a first time window and a second time window according to an embodiment of the present application, as shown in fig. 7.
In embodiment 7, the first time window consists of i1 time domain units, the i1 is a positive integer, and any one of the i1 time domain units comprises a positive integer number of multicarrier symbols; the second time window is composed of i2 time domain units, the i2 is a positive integer, any one of the i2 time domain units comprises a positive integer number of multicarrier symbols; the second time window comprises the first time window.
For one embodiment, the i2 time-domain units include the i1 time-domain units.
As an embodiment, the time domain unit is a slot.
For one embodiment, the time domain unit is a sub-slot.
As one embodiment, the i2 is larger than thei 1.
As one embodiment, the i2 is equal to thei 1.
As an embodiment, the i1 time domain units include at least one search space (search space).
As an embodiment, the i1 time domain units include at least one Coreset.
As an embodiment, the time domain resources occupied by two time domain units in the i1 time domain units are discontinuous.
As an embodiment, the time domain resources occupied by two time domain units in the i2 time domain units are discontinuous.
As an embodiment, the time domain resources occupied by the i1 time domain units are continuous.
As an embodiment, the time domain resources occupied by the i2 time domain units are continuous.
Example 8
Embodiment 8 illustrates a schematic diagram of a relationship among the first signaling, the third signaling, the first signaling set, the second signaling set, the first sub information block and the second sub information block according to an embodiment of the present application, as shown in fig. 8.
In embodiment 8, a first signaling set consists of L1 first-type signaling detected in the first time-frequency resource pool in this application, the first signaling in this application is the last first-type signaling in the first signaling set, and L1 is a positive integer greater than 1; the first sub-information block comprises L1 information sub-blocks, the L1 first type signaling respectively correspond to the L1 information sub-blocks, and the L1 information sub-blocks respectively comprise HARQ-ACK associated with the corresponding first type signaling; the second signaling set consists of L2 second-type signaling detected in the first time-frequency resource pool, the third signaling in this application is the last second-type signaling in the second signaling set, and L2 is a positive integer greater than 1; the second sub information block includes L2 information sub-blocks, the L2 second type signaling correspond to the L2 information sub-blocks, respectively, and the L2 information sub-blocks include HARQ-ACKs associated with the corresponding second type signaling, respectively.
As an embodiment, the sentence includes that the first signaling is later than one first type signaling in the first signaling set, and the first signaling is the last first type signaling in the first signaling set.
As an embodiment, the sentence that the first signaling is later than a first type of signaling in the first signaling set includes that a Monitoring opportunity (Monitoring occupancy) of the first signaling is later than a Monitoring opportunity of a first type of signaling in the first signaling set.
As an embodiment, the sentence that the first signaling is later than a first type of signaling in the first signaling set includes that a monitoring timing of the first signaling is the same as a monitoring timing of the first type of signaling in the first signaling set, and a Serving Cell Index (Serving Cell Index) of the first signaling is larger than a Serving Cell Index of the first type of signaling in the first signaling set.
As an embodiment, the value of the first domain comprised by the first signaling indicates a sum of the L1 and the L2.
As an embodiment, the value of the first field included in the first signaling indicates a positive integer no less than a sum of the L1 and the L2.
As an embodiment, the value of the first domain comprised by the third signaling indicates the L2.
As an embodiment, the third signaling includes a value of the first field indicating a positive integer not less than the L2.
As an embodiment, a given information subblock is any one of the L1 information subblocks, a given signaling is one of the L1 first type signaling corresponding to the given information subblock, and the given information subblock includes HARQ-ACKs associated with the given signaling.
As a sub-embodiment of the above-mentioned embodiment, the given information sub-block includes uplink control information.
As a sub-embodiment of the above embodiment, the given information sub-block includes only HARQ-ACK.
As a sub-embodiment of the above embodiment, the given information sub-block includes HARQ-ACK and CSI.
As a sub-embodiment of the above embodiment, the given information sub-block includes HARQ-ACK and SR.
As a sub-embodiment of the above embodiment, the given information sub-block includes HARQ-ACK, CSI, and SR.
As a sub-embodiment of the above, the HARQ-ACK associated with the given signaling comprises an ACK.
As a sub-embodiment of the above, the HARQ-ACK associated with the given signaling comprises a NACK.
As a sub-embodiment of the above embodiment, the HARQ-ACK associated with the given signaling comprises an ACK or a NACK.
As a sub-embodiment of the above embodiment, the HARQ-ACK associated with the given signaling indicates whether each bit block in the set of bit blocks scheduled by the given signaling is correctly received.
As a sub-embodiment of the above-mentioned embodiment, the given signaling comprises signaling used for downlink physical layer data channel scheduling, and the HARQ-ACK associated with the given signaling indicates whether or not the downlink physical layer data channel transmission scheduled by the given signaling is correctly received.
As a sub-embodiment of the above embodiment, the given signaling comprises signaling used for PDSCH scheduling, and the HARQ-ACK associated with the given signaling indicates whether or not the PDSCH transmission scheduled by the given signaling is correctly received.
As a sub-embodiment of the above, the HARQ-ACK associated with the given signaling indicates whether the given signaling was received correctly.
As a sub-embodiment of the above-mentioned embodiment, the given signaling comprises signaling used to indicate a SPS (Semi-Persistent Scheduling) Release (Release), and the HARQ-ACK associated with the given signaling indicates whether the given signaling is correctly received.
As a sub-embodiment of the foregoing embodiment, the method in the first node in the present application further includes:
receiving a given set of bit blocks;
wherein the given signaling includes scheduling information for the given set of bit blocks; the HARQ-ACK associated with the given signaling indicates whether each bit block in the given bit block set was received correctly.
As a sub-embodiment of the foregoing embodiment, the method in the second node in the present application further includes:
transmitting a given set of bit blocks;
wherein the given signaling includes scheduling information for the given set of bit blocks; the HARQ-ACK associated with the given signaling indicates whether each bit block in the given bit block set was received correctly.
As a sub-embodiment of the above embodiment, the first receiver further receives a given set of bit blocks; wherein the given signaling includes scheduling information for the given set of bit blocks; the HARQ-ACK associated with the given signaling indicates whether each bit block in the given bit block set was received correctly.
As a sub-embodiment of the above embodiment, the second transmitter further transmits a given set of bit blocks; wherein the given signaling includes scheduling information for the given set of bit blocks; the HARQ-ACK associated with the given signaling indicates whether each bit block in the given bit block set was received correctly.
As a sub-embodiment of the above embodiment, the given signaling is used to indicate a quasi-static scheduling release, and the HARQ-ACK associated with the given signaling indicates whether the given signaling is correctly received.
As an embodiment, the first signaling is the last signaling of the first type in the first signaling set, and the first signaling refers to: arranging L1 first-type signaling in the first signaling set according to a first rule, wherein the first signaling is the last first-type signaling in the first signaling set; the third signaling is the last second type signaling in the second signaling set, and means: the L2 second-type signaling in the second signaling set are arranged according to the first rule, and the third signaling is the last second-type signaling in the second signaling set.
As a sub-embodiment of the above embodiment, the first rule relates to occupied frequency domain resources and occupied time domain resources.
As a sub-embodiment of the above embodiment, the first rule relates to the Carrier (Carrier) and the monitoring timing.
As a sub-embodiment of the above embodiment, the first rule relates to serving cells and monitoring occasions.
As a sub-embodiment of the above-described embodiment, the first rule includes: the method comprises the steps of firstly arranging the indexes of the serving cells in the same monitoring opportunity in an ascending order, and secondly arranging the indexes of the serving cells in an ascending order.
As an embodiment, the first signaling is the last signaling of the first type in the first signaling set, and the first signaling refers to: indexing (Index) L1 first-type signaling in the first signaling set according to a second rule, wherein the first signaling is the most indexed one of the first signaling set; the third signaling is the last second type signaling in the second signaling set, and means: the L2 second-type signaling in the second signaling set are indexed according to the second rule, and the third signaling is the largest second-type signaling in the second signaling set.
As a sub-embodiment of the above embodiment, the second rule relates to occupied frequency domain resources and occupied time domain resources.
As a sub-embodiment of the above embodiment, the second rule relates to the carrier and the monitoring timing.
As a sub-embodiment of the above embodiment, the second rule relates to serving cell and monitoring occasion.
As a sub-embodiment of the above-mentioned embodiment, the second rule includes: the indexes are indexed according to the ascending order of the indexes of the serving cells in the same monitoring opportunity, and the indexes are indexed according to the ascending order of the indexes of the monitoring opportunity.
Example 9
Embodiment 9 illustrates a schematic diagram of an air interface resource occupied by a first information block according to an embodiment of the present application, as shown in fig. 9.
In embodiment 9, the first information block is transmitted in the first empty resource block.
As an embodiment, the first air interface resource block is one air interface resource block in a first air interface resource block set, the first air interface resource block set is one of N air interface resource block sets, any one of the N air interface resource block sets includes positive integer number of air interface resource blocks, and N is a positive integer greater than 1; the number of bits included in the first sub-information block is used to determine the first set of air interface resource blocks from the N sets of air interface resource blocks.
As a sub-embodiment of the above embodiment, the first signaling is used to indicate the first set of null resource blocks from the first set of null resource blocks.
As a sub-embodiment of the above embodiment, the first signaling indicates an index of the first resource block in the first set of resource blocks.
As a sub-embodiment of the foregoing embodiment, the first signaling includes a fourth field, and the fourth field included in the first signaling indicates an index of the first null resource block in the first null resource block set.
As an embodiment, the first air interface resource block is one air interface resource block in a first air interface resource block set, the first air interface resource block set is one of N air interface resource block sets, any one of the N air interface resource block sets includes positive integer number of air interface resource blocks, and N is a positive integer greater than 1; the number of bits included in the first information block is used to determine the first set of air interface resource blocks from the N sets of air interface resource blocks.
As a sub-embodiment of the above-mentioned embodiment, the first information block includes only the first sub-information block of the first sub-information block and the second sub-information block, and the first information block includes a number of bits equal to a number of bits included in the first sub-information block.
As a sub-embodiment of the above-mentioned embodiments, the first information block comprises the first sub-information block and the second sub-information block, and the number of bits comprised by the first information block is equal to the sum of the number of bits comprised by the first sub-information block and the number of bits comprised by the second sub-information block.
As a sub-embodiment of the above embodiment, the first signaling is used to indicate the first set of null resource blocks from the first set of null resource blocks.
As a sub-embodiment of the above embodiment, the first signaling indicates an index of the first resource block in the first set of resource blocks.
As a sub-embodiment of the foregoing embodiment, the first signaling includes a fourth field, and the fourth field included in the first signaling indicates an index of the first null resource block in the first null resource block set.
As an embodiment, the method in the first node in the present application further includes:
receiving first information;
the first information indicates N air interface resource block sets, any one of the N air interface resource block sets comprises a positive integer of air interface resource blocks, and N is a positive integer greater than 1; the first air interface resource block is one air interface resource block in the N air interface resource block sets.
As a sub-embodiment of the foregoing embodiment, the second air interface resource block is one air interface resource block in the N air interface resource block sets.
As an embodiment, the method in the second node in the present application further comprises:
sending first information;
the first information indicates N air interface resource block sets, any one of the N air interface resource block sets comprises a positive integer of air interface resource blocks, and N is a positive integer greater than 1; the first air interface resource block is one air interface resource block in the N air interface resource block sets.
As a sub-embodiment of the foregoing embodiment, the second air interface resource block is one air interface resource block in the N air interface resource block sets.
As an embodiment, the first receiver further receives first information; the first information indicates N air interface resource block sets, any one of the N air interface resource block sets comprises a positive integer of air interface resource blocks, and N is a positive integer greater than 1; the first air interface resource block is one air interface resource block in the N air interface resource block sets.
As a sub-embodiment of the foregoing embodiment, the second air interface resource block is one air interface resource block in the N air interface resource block sets.
As an embodiment, the second transmitter further transmits the first information; the first information indicates N air interface resource block sets, any one of the N air interface resource block sets comprises a positive integer of air interface resource blocks, and N is a positive integer greater than 1; the first air interface resource block is one air interface resource block in the N air interface resource block sets.
As a sub-embodiment of the foregoing embodiment, the second air interface resource block is one air interface resource block in the N air interface resource block sets.
Example 10
Embodiment 10 illustrates a schematic diagram of an air interface resource occupied by a first information block according to an embodiment of the present application, as shown in fig. 10.
In embodiment 10, the first information block is transmitted in a third resource block of air ports, the number of bits comprised by the first information block being used to determine the third resource block of air ports.
As an embodiment, the first air interface resource block is one air interface resource block in a first air interface resource block set, the first air interface resource block set is one of N air interface resource block sets, and the number of bits included in the first sub information block is used to determine the first air interface resource block set from the N air interface resource block sets; the third air interface resource block is one air interface resource block in a third air interface resource block set, and the third air interface resource block set is one of the N air interface resource block sets; the number of bits included in the first information block is used to determine the third set of air interface resource blocks from the N sets of air interface resource blocks; any air interface resource block set in the N air interface resource block sets comprises a positive integer of air interface resource blocks, and N is a positive integer larger than 1.
As a sub-embodiment of the foregoing embodiment, the first information block includes only the first sub-information block in the first sub-information block and the second sub-information block, the number of bits included in the first information block is equal to the number of bits included in the first sub-information block, the first set of air interface resource blocks is the same as the third set of air interface resource blocks, and the first set of air interface resource blocks is the same as the third set of air interface resource blocks.
As a sub-embodiment of the above-mentioned embodiment, the first information block includes the first sub-information block and the second sub-information block, and the number of bits included in the first information block is equal to the sum of the number of bits included in the first sub-information block and the number of bits included in the second sub-information block.
As a sub-embodiment of the above embodiment, the first signaling is used to indicate the first set of null resource blocks from the first set of null resource blocks.
As a sub-embodiment of the above embodiment, the first signaling indicates an index of the first resource block in the first set of resource blocks.
As a sub-embodiment of the above embodiment, the first signaling is used to indicate the third set of resource blocks of the null interface from the third set of resource blocks of the null interface.
As a sub-embodiment of the above embodiment, the first signaling indicates an index of the third resource block in the third set of resource blocks.
As a sub-embodiment of the foregoing embodiment, the fourth field included in the first signaling indicates a first index, where the first index is equal to an index of the first null resource block in the first null resource block set, and the first index is equal to an index of the third null resource block in the third null resource block set.
As a sub-embodiment of the foregoing embodiment, the first signaling includes a fourth field and a fifth field, where the fourth field included in the first signaling indicates an index of the first null resource block in the first null resource block set, and the fifth field included in the first signaling indicates an index of the third null resource block in the third null resource block set.
Example 11
Embodiment 11 illustrates a schematic diagram of HARQ-ACK associated with first signaling according to an embodiment of the present application, as shown in fig. 11.
In embodiment 11, the first signaling includes scheduling information of the first bit block set in the present application; the HARQ-ACK associated with the first signaling indicates whether each bit block in the first set of bit blocks was received correctly.
For one embodiment, the first set of bit blocks includes a positive integer number of TBs (Transport blocks).
As an embodiment, the first set of bit blocks comprises one TB.
As one embodiment, the first set of bit blocks includes a positive integer number of CBGs.
As one embodiment, the first set of bit blocks includes a positive integer number of bits.
As an embodiment, the scheduling information of the first bit block set includes at least one of occupied time domain resources, occupied frequency domain resources, MCS (Modulation and Coding Scheme), Configuration information of DMRS (DeModulation Reference Signals), HARQ (Hybrid Automatic Repeat reQuest) process number, RV (Redundancy Version), NDI (New Data Indicator), transmit antenna port, and corresponding TCI (Transmission Configuration Indicator) state (state).
As a sub-embodiment of the foregoing embodiment, the configuration information of the DMRS includes at least one of an rs (reference signal) sequence, a mapping manner, a DMRS type, an occupied time domain resource, an occupied frequency domain resource, an occupied Code domain resource, a cyclic shift amount (cyclic shift), and an OCC (Orthogonal Code).
Example 12
Embodiment 12 illustrates a schematic diagram of HARQ-ACK associated with first signaling according to an embodiment of the present application, as shown in fig. 12.
In embodiment 12, the first signaling is used to indicate a quasi-static scheduling release, the HARQ-ACK associated with the first signaling indicating whether the first signaling was received correctly.
As an embodiment, a value of one field in the first signaling indicates a quasi-static scheduling release.
As an embodiment, the values of the plurality of fields in the first signaling indicate a quasi-static scheduling release.
As an embodiment, the second signaling is used to indicate a quasi-static scheduling release, the HARQ-ACK associated with the second signaling indicating whether the second signaling is correctly received.
As an embodiment, the third signaling is used to indicate a quasi-static scheduling release, and the HARQ-ACK associated with the third signaling indicates whether the third signaling is correctly received.
As an embodiment, a value of one field in the second signaling indicates a quasi-static scheduling release.
As an embodiment, the values of the plurality of fields in the second signaling indicate a quasi-static scheduling release.
As an embodiment, a value of one field in the third signaling indicates a quasi-static scheduling release.
As an embodiment, the values of the plurality of fields in the third signaling indicate a quasi-static scheduling release.
Example 13
Embodiment 13 is a block diagram illustrating a processing apparatus in a first node device, as shown in fig. 13. In fig. 13, a first nodedevice processing apparatus 1300 includes a first receiver 1301 and a first transmitter 1302.
For one embodiment, thefirst node apparatus 1300 is a user equipment.
As an embodiment, thefirst node apparatus 1300 is a relay node.
As an embodiment, thefirst node apparatus 1300 is a vehicle-mounted communication apparatus.
For one embodiment, thefirst node apparatus 1300 is a user equipment supporting V2X communication.
As an embodiment, thefirst node apparatus 1300 is a relay node supporting V2X communication.
For one embodiment, the first receiver 1301 includes at least one of theantenna 452, thereceiver 454, the multi-antenna receiveprocessor 458, the receiveprocessor 456, the controller/processor 459, thememory 460, and thedata source 467 of fig. 4.
For one embodiment, the first receiver 1301 includes at least the first five of theantenna 452, thereceiver 454, the multiple antenna receiveprocessor 458, the receiveprocessor 456, the controller/processor 459, thememory 460, and thedata source 467 shown in fig. 4.
For one embodiment, the first receiver 1301 includes at least the first four of theantenna 452, thereceiver 454, the multi-antenna receiveprocessor 458, the receiveprocessor 456, the controller/processor 459, thememory 460, and thedata source 467 of fig. 4.
For one embodiment, the first receiver 1301 includes at least the first three of theantenna 452, thereceiver 454, the multi-antenna receiveprocessor 458, the receiveprocessor 456, the controller/processor 459, thememory 460, and thedata source 467 of fig. 4.
For one embodiment, the first receiver 1301 includes at least two of theantenna 452, thereceiver 454, the multi-antenna receiveprocessor 458, the receiveprocessor 456, the controller/processor 459, thememory 460, and thedata source 467 of fig. 4.
For one embodiment, the first transmitter 1302 includes at least one of theantenna 452, thetransmitter 454, themulti-antenna transmitter processor 457, the transmitprocessor 468, the controller/processor 459, thememory 460, and thedata source 467 of fig. 4 of the present application.
For one embodiment, the first transmitter 1302 includes at least the first five of theantenna 452, thetransmitter 454, themulti-antenna transmitter processor 457, the transmitprocessor 468, the controller/processor 459, thememory 460, and thedata source 467 of fig. 4 of the present application.
For one embodiment, the first transmitter 1302 includes at least the first four of theantenna 452, thetransmitter 454, themulti-antenna transmitter processor 457, the transmitprocessor 468, the controller/processor 459, thememory 460, and thedata source 467 of fig. 4 of the present application.
For one embodiment, the first transmitter 1302 includes at least three of theantenna 452, thetransmitter 454, themulti-antenna transmitter processor 457, the transmitprocessor 468, the controller/processor 459, thememory 460, and thedata source 467 of fig. 4.
For one embodiment, the first transmitter 1302 includes at least two of theantenna 452, thetransmitter 454, themulti-antenna transmitter processor 457, the transmitprocessor 468, the controller/processor 459, thememory 460, and thedata source 467 of fig. 4 of the present application.
In embodiment 13, a first receiver 1301 monitors a first type of signaling and a second type of signaling in a first time-frequency resource pool, and receives the first signaling in the first time-frequency resource pool; a first transmitter 1302, configured to transmit a first information block in a first air interface resource block; the first type of signaling and the second type of signaling correspond to different HARQ-ACK codebooks respectively; the first information block comprises HARQ-ACK associated with the first signaling; the first type of signaling comprises a first domain; said first signaling is one of said first type of signaling; the value of the first field in the first signaling is related to both the amount of the first type of signaling transmitted in the first time-frequency resource pool and the amount of the second type of signaling transmitted in the first time-frequency resource pool; a first value and a second value are jointly used for determining the first domain in the first signaling, the first value is equal to the number of serving cell-physical downlink control channel monitoring opportunity pairs including the first type of signaling accumulated by the current serving cell and the current physical downlink control channel monitoring opportunity in a first time window according to the increasing order of the serving cell indexes and the increasing order of the physical downlink control channel monitoring opportunity indexes, and the second value is equal to the total number of the serving cell-physical downlink control channel monitoring opportunity pairs including the second type of signaling accumulated by the current physical downlink control channel monitoring opportunity in the first time window.
As an embodiment, the first receiver 1301 receives a second signaling in the first time-frequency resource pool; wherein the second signaling is one of the second type of signaling; a second time window comprising the first time window, the second signaling being transmitted in time domain resources in the second time window outside the first time window; the second type of signaling comprises the first domain; the second signaling comprises a value of the first domain related only to the amount of the second type of signaling transmitted in the first time-frequency resource pool of both the amount of the first type of signaling transmitted in the first time-frequency resource pool and the amount of the second type of signaling transmitted in the first time-frequency resource pool; the first information block does not include a HARQ-ACK associated with the second signaling.
For one embodiment, the first receiver 1301 receives third signaling in the first time-frequency resource pool; wherein the third signaling is one of the second type of signaling; the third signaling is transmitted in the first time window, the first information block including HARQ-ACK associated with the third signaling.
As an embodiment, the first signaling is one of the first type signaling; the first receiver 1301 receives each first type signaling in a first signaling set in the first time-frequency resource pool; wherein the first signaling set comprises a first type of signaling detected in the first time-frequency resource pool except the first signaling, and the first signaling is later than a first type of signaling in the first signaling set; the first information block includes HARQ-ACKs associated with one of the first set of signaling of a first type.
As an embodiment, the first signaling includes a second domain; the first signaling comprises a value of the second domain related to both the number of the first type of signaling transmitted in the first time-frequency resource pool and the number of the second type of signaling transmitted in the first time-frequency resource pool; a third value and a fourth value are jointly used to determine the value of the second field included in the first signaling, where the third value is equal to the total number of serving cell-pdcch monitoring opportunity pairs including the first type of signaling accumulated by the current pdcch monitoring opportunity in the first time window, and the fourth value is equal to the total number of serving cell-pdcch monitoring opportunity pairs including the second type of signaling accumulated by the current pdcch monitoring opportunity in the first time window.
For one embodiment, the first receiver 1301 receives a first set of bit blocks; wherein the first signaling comprises scheduling information for the first set of bit blocks; the HARQ-ACK associated with the first signaling indicates whether each bit block in the first set of bit blocks was received correctly.
As an embodiment, the first signaling is used to indicate a quasi-static scheduling release, and the HARQ-ACK associated with the first signaling indicates whether the first signaling is correctly received.
Example 14
Embodiment 14 is a block diagram illustrating a processing apparatus in a second node device, as shown in fig. 14. In fig. 14, a second nodedevice processing apparatus 1400 includes asecond transmitter 1401 and asecond receiver 1402.
For one embodiment, thesecond node device 1400 is a user device.
For an embodiment, thesecond node device 1400 is a base station.
As an embodiment, thesecond node device 1400 is a relay node.
For one embodiment, thesecond transmitter 1401 includes at least one of theantenna 420, thetransmitter 418, the multi-antenna transmitprocessor 471, the transmitprocessor 416, the controller/processor 475, and thememory 476 of fig. 4 of the present application.
As one example, thesecond transmitter 1401 includes at least the first five of theantenna 420, thetransmitter 418, the multi-antenna transmitprocessor 471, the transmitprocessor 416, the controller/processor 475, and thememory 476 of fig. 4 of the present application.
As one example, thesecond transmitter 1401 includes at least the first four of theantenna 420, thetransmitter 418, the multi-antenna transmitprocessor 471, the transmitprocessor 416, the controller/processor 475, and thememory 476 of fig. 4 of the present application.
As an example, thesecond transmitter 1401 includes at least the first three of theantenna 420, thetransmitter 418, the multi-antenna transmitprocessor 471, the transmitprocessor 416, the controller/processor 475, and thememory 476 of fig. 4 of the present application.
As an example, thesecond transmitter 1401 includes at least two of theantenna 420, thetransmitter 418, the multi-antenna transmitprocessor 471, the transmitprocessor 416, the controller/processor 475, and thememory 476 of fig. 4 of the present application.
For one embodiment, thesecond receiver 1402 includes at least one of theantenna 420, thereceiver 418, the multiple antenna receiveprocessor 472, the receiveprocessor 470, the controller/processor 475, and thememory 476 of fig. 4.
For one embodiment, thesecond receiver 1402 includes at least the first five of theantenna 420, thereceiver 418, the multiple antenna receiveprocessor 472, the receiveprocessor 470, the controller/processor 475, and thememory 476 of fig. 4 of the present application.
For one embodiment, thesecond receiver 1402 includes at least the first four of theantenna 420, thereceiver 418, the multiple antenna receiveprocessor 472, the receiveprocessor 470, the controller/processor 475, and thememory 476 of fig. 4 of the present application.
For one embodiment, thesecond receiver 1402 includes at least the first three of theantenna 420, thereceiver 418, the multiple antenna receiveprocessor 472, the receiveprocessor 470, the controller/processor 475, and thememory 476 of fig. 4 of the present application.
For one embodiment, thesecond receiver 1402 includes at least two of theantenna 420, thereceiver 418, the multiple antenna receiveprocessor 472, the receiveprocessor 470, the controller/processor 475, and thememory 476 of fig. 4 of the present application.
In embodiment 14, a second transmitter 1401 for transmitting a first signaling in the first time/frequency resource pool; a second receiver 1402 that receives a first information block in a first air interface resource block; the first type signaling and the second type signaling respectively correspond to different HARQ-ACK codebooks; the first information block comprises HARQ-ACK associated with the first signaling; the first type of signaling comprises a first domain; said first signaling is one of said first type of signaling; the value of the first field in the first signaling is related to both the amount of the first type of signaling transmitted in the first time-frequency resource pool and the amount of the second type of signaling transmitted in the first time-frequency resource pool; a first value and a second value are jointly used for determining the first domain in the first signaling, the first value is equal to the number of serving cell-physical downlink control channel monitoring opportunity pairs including the first type of signaling accumulated by the current serving cell and the current physical downlink control channel monitoring opportunity in a first time window according to the increasing order of the serving cell indexes and the increasing order of the physical downlink control channel monitoring opportunity indexes, and the second value is equal to the total number of the serving cell-physical downlink control channel monitoring opportunity pairs including the second type of signaling accumulated by the current physical downlink control channel monitoring opportunity in the first time window.
As an example, thesecond transmitter 1401 transmits a second signaling in the first time-frequency resource pool; wherein the second signaling is one of the second type of signaling; a second time window comprising the first time window, the second signaling being transmitted in time domain resources in the second time window outside the first time window; the second type of signaling comprises the first domain; the second signaling comprises a value of the first domain related only to the amount of the second type of signaling transmitted in the first time-frequency resource pool of both the amount of the first type of signaling transmitted in the first time-frequency resource pool and the amount of the second type of signaling transmitted in the first time-frequency resource pool; the first information block does not include a HARQ-ACK associated with the second signaling.
As an example, thesecond transmitter 1401 transmits a third signaling in the first time-frequency resource pool; wherein the third signaling is one of the second type of signaling; the third signaling is transmitted in the first time window, the first information block including HARQ-ACK associated with the third signaling.
As an embodiment, the first signaling is one of the first type signaling; thesecond transmitter 1401 transmits each first type signaling of a first set of signaling in the first pool of time-frequency resources; wherein the first signaling set comprises a first type of signaling detected in the first time-frequency resource pool except the first signaling, and the first signaling is later than a first type of signaling in the first signaling set; the first information block includes HARQ-ACKs associated with one of the first set of signaling of a first type.
As an embodiment, the first signaling includes a second domain; the first signaling comprises a value of the second domain related to both the number of the first type of signaling transmitted in the first time-frequency resource pool and the number of the second type of signaling transmitted in the first time-frequency resource pool; a third value and a fourth value are jointly used to determine the value of the second field included in the first signaling, where the third value is equal to the total number of serving cell-pdcch monitoring opportunity pairs including the first type of signaling accumulated by the current pdcch monitoring opportunity in the first time window, and the fourth value is equal to the total number of serving cell-pdcch monitoring opportunity pairs including the second type of signaling accumulated by the current pdcch monitoring opportunity in the first time window.
As an example, thesecond transmitter 1401 transmits a first set of bit blocks; wherein the first signaling comprises scheduling information for the first set of bit blocks; the HARQ-ACK associated with the first signaling indicates whether each bit block in the first set of bit blocks was received correctly.
As an embodiment, the first signaling is used to indicate a quasi-static scheduling release, and the HARQ-ACK associated with the first signaling indicates whether the first signaling is correctly received.
It will be understood by those skilled in the art that all or part of the steps of the above methods may be implemented by instructing relevant hardware through a program, and the program may be stored in a computer readable storage medium, such as a read-only memory, a hard disk or an optical disk. Alternatively, all or part of the steps of the above embodiments may be implemented by using one or more integrated circuits. Accordingly, the module units in the above embodiments may be implemented in a hardware form, or may be implemented in a form of software functional modules, and the present application is not limited to any specific form of combination of software and hardware. The first node device in the application includes but is not limited to wireless communication devices such as cell-phones, tablet computers, notebooks, network access cards, low power consumption devices, eMTC devices, NB-IoT devices, vehicle-mounted communication devices, aircrafts, airplanes, unmanned aerial vehicles, and remote control airplanes. The second node device in the application includes but is not limited to wireless communication devices such as cell-phones, tablet computers, notebooks, network access cards, low power consumption devices, eMTC devices, NB-IoT devices, vehicle-mounted communication devices, aircrafts, airplanes, unmanned aerial vehicles, and remote control airplanes. User equipment or UE or terminal in this application include but not limited to cell-phone, panel computer, notebook, network card, low-power consumption equipment, eMTC equipment, NB-IoT equipment, vehicle communication equipment, aircraft, unmanned aerial vehicle, wireless communication equipment such as remote control aircraft. The base station device, the base station or the network side device in the present application includes, but is not limited to, a macro cell base station, a micro cell base station, a home base station, a relay base station, an eNB, a gNB, a transmission and reception node TRP, a GNSS, a relay satellite, a satellite base station, an air base station, and other wireless communication devices.
The above description is only a preferred embodiment of the present application, and is not intended to limit the scope of the present application. Any modification, equivalent replacement, improvement and the like made within the spirit and principle of the present application shall be included in the protection scope of the present application.

Claims (28)

the first type of signaling and the second type of signaling correspond to different HARQ-ACK codebooks respectively; the first information block comprises HARQ-ACK associated with the first signaling; the first type of signaling comprises a first domain; said first signaling is one of said first type of signaling; the value of the first field in the first signaling is related to both the amount of the first type of signaling transmitted in the first time-frequency resource pool and the amount of the second type of signaling transmitted in the first time-frequency resource pool; a first value and a second value are jointly used for determining the first domain in the first signaling, the first value is equal to the number of serving cell-physical downlink control channel monitoring opportunity pairs including the first type of signaling accumulated by the current serving cell and the current physical downlink control channel monitoring opportunity in a first time window according to the increasing order of the serving cell indexes and the increasing order of the physical downlink control channel monitoring opportunity indexes, and the second value is equal to the total number of the serving cell-physical downlink control channel monitoring opportunity pairs including the second type of signaling accumulated by the current physical downlink control channel monitoring opportunity in the first time window.
5. The first node device of any of claims 1-4, wherein the first signaling comprises a second domain; the first signaling comprises a value of the second domain related to both the number of the first type of signaling transmitted in the first time-frequency resource pool and the number of the second type of signaling transmitted in the first time-frequency resource pool; a third value and a fourth value are jointly used to determine the value of the second field included in the first signaling, where the third value is equal to the total number of serving cell-pdcch monitoring opportunity pairs including the first type of signaling accumulated by the current pdcch monitoring opportunity in the first time window, and the fourth value is equal to the total number of serving cell-pdcch monitoring opportunity pairs including the second type of signaling accumulated by the current pdcch monitoring opportunity in the first time window.
the first type of signaling and the second type of signaling correspond to different HARQ-ACK codebooks respectively; the first information block comprises HARQ-ACK associated with the first signaling; the first type of signaling comprises a first domain; said first signaling is one of said first type of signaling; the value of the first field in the first signaling is related to both the amount of the first type of signaling transmitted in the first time-frequency resource pool and the amount of the second type of signaling transmitted in the first time-frequency resource pool; a first value and a second value are jointly used for determining the first domain in the first signaling, the first value is equal to the number of serving cell-physical downlink control channel monitoring opportunity pairs including the first type of signaling accumulated by the current serving cell and the current physical downlink control channel monitoring opportunity in a first time window according to the increasing order of the serving cell indexes and the increasing order of the physical downlink control channel monitoring opportunity indexes, and the second value is equal to the total number of the serving cell-physical downlink control channel monitoring opportunity pairs including the second type of signaling accumulated by the current physical downlink control channel monitoring opportunity in the first time window.
the first signaling comprises a second domain; the first signaling comprises a value of the second domain related to both the number of the first type of signaling transmitted in the first time-frequency resource pool and the number of the second type of signaling transmitted in the first time-frequency resource pool; a third value and a fourth value are jointly used to determine a value of the second field included in the first signaling, where the third value is equal to a total number of serving cell-pdcch monitoring opportunity pairs including the first type of signaling accumulated by the current pdcch monitoring opportunity in the first time window, and the fourth value is equal to a total number of serving cell-pdcch monitoring opportunity pairs including the second type of signaling accumulated by the current pdcch monitoring opportunity in the first time window.
the first type of signaling and the second type of signaling correspond to different HARQ-ACK codebooks respectively; the first information block comprises HARQ-ACK associated with the first signaling; the first type of signaling comprises a first domain; said first signaling is one of said first type of signaling; the value of the first field in the first signaling is related to both the amount of the first type of signaling transmitted in the first time-frequency resource pool and the amount of the second type of signaling transmitted in the first time-frequency resource pool; a first value and a second value are jointly used for determining the first domain in the first signaling, the first value is equal to the number of serving cell-physical downlink control channel monitoring opportunity pairs including the first type of signaling accumulated by the current serving cell and the current physical downlink control channel monitoring opportunity in a first time window according to the increasing order of the serving cell indexes and the increasing order of the physical downlink control channel monitoring opportunity indexes, and the second value is equal to the total number of the serving cell-physical downlink control channel monitoring opportunity pairs including the second type of signaling accumulated by the current physical downlink control channel monitoring opportunity in the first time window.
the first signaling comprises a second domain; the first signaling comprises a value of the second domain related to both the number of the first type of signaling transmitted in the first time-frequency resource pool and the number of the second type of signaling transmitted in the first time-frequency resource pool; a third value and a fourth value are jointly used to determine the value of the second field included in the first signaling, where the third value is equal to the total number of serving cell-pdcch monitoring opportunity pairs including the first type of signaling accumulated by the current pdcch monitoring opportunity in the first time window, and the fourth value is equal to the total number of serving cell-pdcch monitoring opportunity pairs including the second type of signaling accumulated by the current pdcch monitoring opportunity in the first time window.
the first type of signaling and the second type of signaling correspond to different HARQ-ACK codebooks respectively; the first information block comprises HARQ-ACK associated with the first signaling; the first type of signaling comprises a first domain; said first signaling is one of said first type of signaling; the value of the first field in the first signaling is related to both the amount of the first type of signaling transmitted in the first time-frequency resource pool and the amount of the second type of signaling transmitted in the first time-frequency resource pool; a first value and a second value are jointly used for determining the first domain in the first signaling, the first value is equal to the number of serving cell-physical downlink control channel monitoring opportunity pairs including the first type of signaling accumulated by the current serving cell and the current physical downlink control channel monitoring opportunity in a first time window according to the increasing order of the serving cell indexes and the increasing order of the physical downlink control channel monitoring opportunity indexes, and the second value is equal to the total number of the serving cell-physical downlink control channel monitoring opportunity pairs including the second type of signaling accumulated by the current physical downlink control channel monitoring opportunity in the first time window.
the first signaling comprises a second domain; the first signaling comprises a value of the second domain related to both the number of the first type of signaling transmitted in the first time-frequency resource pool and the number of the second type of signaling transmitted in the first time-frequency resource pool; a third value and a fourth value are jointly used to determine a value of the second field included in the first signaling, where the third value is equal to a total number of serving cell-pdcch monitoring opportunity pairs including the first type of signaling accumulated by the current pdcch monitoring opportunity in the first time window, and the fourth value is equal to a total number of serving cell-pdcch monitoring opportunity pairs including the second type of signaling accumulated by the current pdcch monitoring opportunity in the first time window.
CN202010201008.XA2020-03-202020-03-20Method and apparatus in a node used for wireless communicationActiveCN113498173B (en)

Priority Applications (3)

Application NumberPriority DateFiling DateTitle
CN202010201008.XACN113498173B (en)2020-03-202020-03-20Method and apparatus in a node used for wireless communication
PCT/CN2021/080952WO2021185229A1 (en)2020-03-202021-03-16Method and device used in node for wireless communication
US17/947,193US20230198681A1 (en)2020-03-202022-09-19Method and device in nodes used for wireless communication

Applications Claiming Priority (1)

Application NumberPriority DateFiling DateTitle
CN202010201008.XACN113498173B (en)2020-03-202020-03-20Method and apparatus in a node used for wireless communication

Publications (2)

Publication NumberPublication Date
CN113498173A CN113498173A (en)2021-10-12
CN113498173Btrue CN113498173B (en)2022-06-21

Family

ID=77993940

Family Applications (1)

Application NumberTitlePriority DateFiling Date
CN202010201008.XAActiveCN113498173B (en)2020-03-202020-03-20Method and apparatus in a node used for wireless communication

Country Status (1)

CountryLink
CN (1)CN113498173B (en)

Families Citing this family (1)

* Cited by examiner, † Cited by third party
Publication numberPriority datePublication dateAssigneeTitle
CN116827498A (en)*2022-03-182023-09-29上海推络通信科技合伙企业(有限合伙)Method and apparatus in a node for wireless communication

Citations (2)

* Cited by examiner, † Cited by third party
Publication numberPriority datePublication dateAssigneeTitle
CN109639398A (en)*2017-10-092019-04-16华为技术有限公司Sending method, device and the equipment of HARQ-ACK feedback code book
WO2019099569A1 (en)*2017-11-162019-05-23Sharp Laboratories Of America, Inc.Codebook determination of harq-ack multiplexing with fallback downlink control information (dci) and code block group (cbg) configurations

Patent Citations (2)

* Cited by examiner, † Cited by third party
Publication numberPriority datePublication dateAssigneeTitle
CN109639398A (en)*2017-10-092019-04-16华为技术有限公司Sending method, device and the equipment of HARQ-ACK feedback code book
WO2019099569A1 (en)*2017-11-162019-05-23Sharp Laboratories Of America, Inc.Codebook determination of harq-ack multiplexing with fallback downlink control information (dci) and code block group (cbg) configurations

Non-Patent Citations (3)

* Cited by examiner, † Cited by third party
Title
"R1-1807262 Other aspects on carrier aggregation".《3GPP tsg_ran\WG1_RL1》.2018,*
"R1-1906091 PDCCH Enhancements for NR URLLC".《3GPP tsg_ran\wg1_rl1》.2019,*
"R1-2001016 Summary#1 on R16 UCI enhancements".《3GPP tsg_ran\wg1_rl1》.2020,*

Also Published As

Publication numberPublication date
CN113498173A (en)2021-10-12

Similar Documents

PublicationPublication DateTitle
CN114448577B (en)Method and apparatus in a node for wireless communication
CN114866198A (en)Method and apparatus in a node used for wireless communication
CN114900276A (en)Method and apparatus in a node used for wireless communication
CN113543231B (en)Method and apparatus in a node used for wireless communication
CN113141241B (en)Method and apparatus in a node used for wireless communication
CN113498173B (en)Method and apparatus in a node used for wireless communication
CN113677032B (en)Method and apparatus in a node for wireless communication
CN115226239B (en) A method and device used in a node for wireless communication
CN114614954A (en)Method and apparatus in a node used for wireless communication
CN113573414A (en)Method and apparatus in a node used for wireless communication
CN113765636A (en)Method and apparatus in a node used for wireless communication
CN113206692A (en)Method and apparatus in a node used for wireless communication
CN113498179A (en)Method and apparatus in a node used for wireless communication
CN113453345A (en)Method and apparatus in a node used for wireless communication
CN113259066A (en)Method and apparatus in a node used for wireless communication
CN112788770A (en)Method and apparatus in a node used for wireless communication
CN115242363A (en)Method and apparatus in a node used for wireless communication
CN115152170B (en) A method and device used in a node for wireless communication
CN114826493B (en)Method and apparatus in a node for wireless communication
CN114389775B (en)Method and apparatus in a node for wireless communication
CN114095134B (en)Method and apparatus in a node for wireless communication
CN113692061B (en)Method and apparatus in a node for wireless communication
CN114374488B (en)Method and apparatus in a node for wireless communication
CN114143801A (en)Method and apparatus in a node used for wireless communication
CN113949483A (en)Method and apparatus in a node used for wireless communication

Legal Events

DateCodeTitleDescription
PB01Publication
PB01Publication
SE01Entry into force of request for substantive examination
SE01Entry into force of request for substantive examination
GR01Patent grant
GR01Patent grant

[8]ページ先頭

©2009-2025 Movatter.jp