Movatterモバイル変換


[0]ホーム

URL:


CN113483820A - Highway along-line ecological environment health monitoring system based on 5G network - Google Patents

Highway along-line ecological environment health monitoring system based on 5G network
Download PDF

Info

Publication number
CN113483820A
CN113483820ACN202110751646.3ACN202110751646ACN113483820ACN 113483820 ACN113483820 ACN 113483820ACN 202110751646 ACN202110751646 ACN 202110751646ACN 113483820 ACN113483820 ACN 113483820A
Authority
CN
China
Prior art keywords
data
monitoring
vehicle
base station
network
Prior art date
Legal status (The legal status is an assumption and is not a legal conclusion. Google has not performed a legal analysis and makes no representation as to the accuracy of the status listed.)
Pending
Application number
CN202110751646.3A
Other languages
Chinese (zh)
Inventor
胡钊光
王正
吕欢
张静晓
Current Assignee (The listed assignees may be inaccurate. Google has not performed a legal analysis and makes no representation or warranty as to the accuracy of the list.)
China Road and Bridge Corp
Original Assignee
China Road and Bridge Corp
Priority date (The priority date is an assumption and is not a legal conclusion. Google has not performed a legal analysis and makes no representation as to the accuracy of the date listed.)
Filing date
Publication date
Application filed by China Road and Bridge CorpfiledCriticalChina Road and Bridge Corp
Priority to CN202110751646.3ApriorityCriticalpatent/CN113483820A/en
Publication of CN113483820ApublicationCriticalpatent/CN113483820A/en
Pendinglegal-statusCriticalCurrent

Links

Images

Classifications

Landscapes

Abstract

The invention discloses a road line ecological environment health monitoring system based on a 5G network, which comprises a vehicle-mounted terminal component, a 5G network module, a monitoring base station component and a cloud center database, wherein the vehicle-mounted terminal component is mounted on a monitoring vehicle to collect road line environment data, the vehicle-mounted terminal component wirelessly connects the collected data with the monitoring base station component through the 5G network module, and the monitoring base station component collects the data collected by the vehicle-mounted terminal component and compares the data with standard data of the cloud center database, so that a monitoring data report is generated in the monitoring base station component. The invention is carried on a monitoring vehicle, when the monitoring vehicle patrols along the highway, the data collected by a sensor and a camera carried on the monitoring vehicle is transmitted to a monitoring base station through a 5G network for data analysis and statistics, so that the result of environmental monitoring along the highway is quickly achieved, and the invention has convenient installation and use and popularization and application values.

Description

Highway along-line ecological environment health monitoring system based on 5G network
Technical Field
The invention relates to an ecological environment health monitoring system, in particular to a road line ecological environment health monitoring system based on a 5G network.
Background
With the concept of sustainable development being deeply conscious, people have realized that the research on the ecological environment around the highway in the highway engineering construction process is very important, the research on the ecological environment of the highway is still in the starting stage in China, particularly, the influence of the highway on the ecological environment along the highway is very slight by utilizing the theoretical knowledge in the landscape ecology aspect, but in the prior art, the monitoring on the ecological environment along the highway is difficult, and if the sensors are arranged along the highway for monitoring, the engineering is huge, the manpower and material consumption is huge, the realization is difficult, and therefore, the improvement space exists.
Disclosure of Invention
The invention aims to provide a road along-line ecological environment health monitoring system based on a 5G network.
In order to achieve the purpose, the invention is implemented according to the following technical scheme:
the system comprises a vehicle-mounted terminal component, a 5G network module, a monitoring base station component and a cloud center database, wherein the vehicle-mounted terminal component is installed on a monitoring vehicle, the vehicle-mounted terminal component is in wireless connection with the monitoring base station component through the 5G network module, the monitoring base station component is in network connection with the cloud center database, the vehicle-mounted terminal component is mounted on the monitoring vehicle to collect environmental data along a highway, the vehicle-mounted terminal component wirelessly connects the collected data with the monitoring base station component through the 5G network module, and the data collected by the vehicle-mounted terminal component and the standard data of the cloud center database are compared through the monitoring base station component, so that a monitoring data report is generated in the monitoring base station component.
Further, the vehicle-mounted terminal assembly comprises a sensor assembly, a data acquisition module, a data core processor and a network data transmission module, wherein a data output end of the sensor assembly is connected with a data input end of the data acquisition module, a data output end of the data acquisition module is connected with a data input end of the data core processor, a network signal transmission end of the data core processor is connected with the network data transmission module, and the network data transmission module is in wireless connection with the monitoring base station assembly through the 5G network module.
As an improvement, a GPS positioning module is arranged in the vehicle-mounted terminal component and connected with a data input end of the data core processor.
Further, the sensor assembly comprises an image acquisition sensor, a temperature acquisition sensor and a humidity acquisition sensor, and the data signal output ends of the image acquisition sensor, the temperature acquisition sensor and the humidity acquisition sensor are connected with the data signal input end of the data acquisition module.
Further, the monitoring base station assembly comprises a data comparison module and a base station data processing computer, a first data input end of the data comparison module is connected with the 5G network module, a second data input end of the data comparison module is connected with the cloud center database, and a data output end of the data comparison module is connected with a data input end of the base station data processing computer.
The monitoring method of the road along-line ecological environment health monitoring system based on the 5G network comprises the following steps:
s1: the vehicle-mounted terminal assembly is mounted on a monitoring vehicle, and the monitoring vehicle runs along the road;
s2: monitoring temperature, humidity and image data along a highway by an image acquisition sensor, a temperature acquisition sensor and a humidity acquisition sensor which are arranged on a vehicle-mounted terminal component;
s3: the vehicle-mounted terminal component transmits the acquired data to the monitoring base station component through the 5G network module;
s4: the monitoring base station component compares the acquired temperature, humidity and image data with standard data in a cloud center database through a data comparison module;
s5: and transmitting the compared data to a base station data processing computer for storage and generating a report.
The invention has the beneficial effects that:
the invention relates to a road line ecological environment health monitoring system based on a 5G network, which is carried on a monitoring vehicle, and when the monitoring vehicle patrols along the road, data collected by a sensor and a camera carried on the monitoring vehicle is transmitted to a monitoring base station through the 5G network for data analysis and statistics, so that the road line environment monitoring result is quickly achieved, and the system is convenient to install and use and has popularization and application values.
Drawings
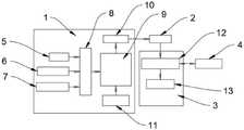
FIG. 1 is a non-schematic block diagram of the system architecture of the present invention.
Detailed Description
The invention will be further described with reference to the drawings and specific embodiments, which are illustrative of the invention and are not to be construed as limiting the invention.
As shown in fig. 1: the system comprises a vehicle-mounted terminal component 1, a5G network module 2, a monitoringbase station component 3 and acloud center database 4, wherein the vehicle-mounted terminal component 1 is installed on a monitoring vehicle, the vehicle-mounted terminal component 1 is in wireless connection with the monitoringbase station component 3 through the5G network module 2, the monitoringbase station component 3 is in network connection with thecloud center database 4, the vehicle-mounted terminal component 1 is mounted on the monitoring vehicle to collect environmental data along a road, the vehicle-mounted terminal component 1 is in wireless connection with the monitoringbase station component 3 through the5G network module 2, the data collected by the monitoringbase station component 3 is compared with standard data of thecloud center database 4, and therefore a monitoring data report is generated in the monitoringbase station component 3.
Further, the vehicle-mounted terminal assembly 1 comprises a sensor assembly, adata acquisition module 8, a data core processor 9 and a networkdata transmission module 10, wherein a data output end of the sensor assembly is connected with a data input end of thedata acquisition module 8, a data output end of thedata acquisition module 8 is connected with a data input end of the data core processor 9, a network signal transmission end of the data core processor 9 is connected with the networkdata transmission module 10, and the networkdata transmission module 10 is wirelessly connected with the monitoringbase station assembly 3 through the5G network module 2.
As an improvement, aGPS positioning module 11 is arranged in the vehicle-mounted terminal assembly 1, and theGPS positioning module 11 is connected with a data input end of the data core processor 9.
Further, the sensor assembly comprises animage acquisition sensor 5, atemperature acquisition sensor 6 and ahumidity acquisition sensor 7, wherein the data signal output end of theimage acquisition sensor 5, the data signal output end of thetemperature acquisition sensor 6 and the data signal output end of thehumidity acquisition sensor 7 are connected with the data signal input end of thedata acquisition module 8.
Further, the monitoringbase station component 3 includes adata comparison module 12 and a base stationdata processing computer 13, a first data input end of thedata comparison module 12 is connected to the5G network module 2, a second data input end of thedata comparison module 12 is connected to thecloud center database 4, and a data output end of thedata comparison module 12 is connected to a data input end of the base stationdata processing computer 13.
The monitoring method of the road along-line ecological environment health monitoring system based on the 5G network comprises the following steps:
s1: the vehicle-mounted terminal assembly 1 is installed on a monitoring vehicle, and the monitoring vehicle runs along a road;
s2: monitoring temperature, humidity and image data along a highway by animage acquisition sensor 5, atemperature acquisition sensor 6 and ahumidity acquisition sensor 7 which are arranged on a vehicle-mounted terminal assembly 1;
s3: the vehicle-mounted terminal component 1 transmits the acquired data to the monitoringbase station component 3 through the5G network module 2;
s4: the monitoringbase station component 3 compares the acquired temperature, humidity and image data with standard data in thecloud center database 4 through adata comparison module 12; except collecting ambient temperature and humidity, the system can also carry sensors such as a PM2.5 sensor, a combustible gas sensor, a toxic gas sensor, an electromagnetic radiation sensor and a formaldehyde sensor, so that collected data are compared with data of a cloud center, and whether the environmental data reach the standard or not is judged. The image of the environment is collected through the camera, so that the green plant coverage condition of the environment is compared, and green plant coverage scoring data is generated.
S5: and transmitting the compared data to the base stationdata processing computer 13 for storage and report generation.
The technical solution of the present invention is not limited to the limitations of the above specific embodiments, and all technical modifications made according to the technical solution of the present invention fall within the protection scope of the present invention.

Claims (6)

1. The utility model provides a highway along line ecological environment health monitoring system based on 5G network which characterized in that: the system comprises a vehicle-mounted terminal component (1), a 5G network module (2), a monitoring base station component (3) and a cloud center database (4), wherein the vehicle-mounted terminal component (1) is installed on a monitoring vehicle, the vehicle-mounted terminal component (1) is in wireless connection with the monitoring base station component (3) through the 5G network module (2), the monitoring base station component (3) is in network connection with the cloud center database (4), the vehicle-mounted terminal component (1) is mounted on the monitoring vehicle to collect environmental data along a road, the vehicle-mounted terminal component (1) wirelessly connects the collected data with the monitoring base station component (3) through the 5G network module (2), the monitoring base station component (3) collects the data collected by the vehicle-mounted terminal component (1) and compares the standard data of the cloud center database (4), thereby generating a monitoring data report in the monitoring base station component (3).
2. The system for monitoring health of ecological environment along road based on 5G network according to claim 1, characterized in that: the vehicle-mounted terminal assembly (1) comprises a sensor assembly, a data acquisition module (8), a data core processor (9) and a network data transmission module (10), wherein a data output end of the sensor assembly is connected with a data input end of the data acquisition module (8), a data output end of the data acquisition module (8) is connected with a data input end of the data core processor (9), a network signal transmission end of the data core processor (9) is connected with the network data transmission module (10), and the network data transmission module (10) is in wireless connection with the monitoring base station assembly (3) through the 5G network module (2).
CN202110751646.3A2021-07-022021-07-02Highway along-line ecological environment health monitoring system based on 5G networkPendingCN113483820A (en)

Priority Applications (1)

Application NumberPriority DateFiling DateTitle
CN202110751646.3ACN113483820A (en)2021-07-022021-07-02Highway along-line ecological environment health monitoring system based on 5G network

Applications Claiming Priority (1)

Application NumberPriority DateFiling DateTitle
CN202110751646.3ACN113483820A (en)2021-07-022021-07-02Highway along-line ecological environment health monitoring system based on 5G network

Publications (1)

Publication NumberPublication Date
CN113483820Atrue CN113483820A (en)2021-10-08

Family

ID=77940461

Family Applications (1)

Application NumberTitlePriority DateFiling Date
CN202110751646.3APendingCN113483820A (en)2021-07-022021-07-02Highway along-line ecological environment health monitoring system based on 5G network

Country Status (1)

CountryLink
CN (1)CN113483820A (en)

Cited By (1)

* Cited by examiner, † Cited by third party
Publication numberPriority datePublication dateAssigneeTitle
CN114034336A (en)*2021-10-192022-02-11长安大学 A data monitoring system for ecological environment along the railway

Citations (5)

* Cited by examiner, † Cited by third party
Publication numberPriority datePublication dateAssigneeTitle
CN101387704A (en)*2008-10-172009-03-18中国广东核电集团有限公司Environmental monitoring vehicle
CN205426236U (en)*2016-03-292016-08-03盐城工学院Storage environment monitoring vehicle and monitoring system
US20170176033A1 (en)*2015-12-182017-06-22Archimedes Controls Corp.Intelligent mission critical environmental monitoring and energy management system
CN109885051A (en)*2019-02-212019-06-14彭劲松A kind of ecological environment health quality appraisal procedure
CN210893239U (en)*2019-11-292020-06-30海南赏金猎人网络科技有限公司Environmental monitoring system based on big data

Patent Citations (5)

* Cited by examiner, † Cited by third party
Publication numberPriority datePublication dateAssigneeTitle
CN101387704A (en)*2008-10-172009-03-18中国广东核电集团有限公司Environmental monitoring vehicle
US20170176033A1 (en)*2015-12-182017-06-22Archimedes Controls Corp.Intelligent mission critical environmental monitoring and energy management system
CN205426236U (en)*2016-03-292016-08-03盐城工学院Storage environment monitoring vehicle and monitoring system
CN109885051A (en)*2019-02-212019-06-14彭劲松A kind of ecological environment health quality appraisal procedure
CN210893239U (en)*2019-11-292020-06-30海南赏金猎人网络科技有限公司Environmental monitoring system based on big data

Cited By (1)

* Cited by examiner, † Cited by third party
Publication numberPriority datePublication dateAssigneeTitle
CN114034336A (en)*2021-10-192022-02-11长安大学 A data monitoring system for ecological environment along the railway

Similar Documents

PublicationPublication DateTitle
CN209488629U (en) A LoRa-based Internet of Things device supervision system
CN202110422U (en)Dangerous source remote monitoring and tracking system based on internet of things
CN103209194A (en)Soil moisture content detection device based on mode of Internet of things and detection method thereof
CN112102589A (en)Coal mine gas extraction intelligent pipe network leakage detection control system
CN113483820A (en)Highway along-line ecological environment health monitoring system based on 5G network
CN218724323U (en)Communication sensing system, iron tower sensing device and antenna sensing device
CN218724322U (en)Communication sensing system, iron tower sensing device and antenna sensing device
CN108319248A (en)A kind of substation monitoring system based on LabView and unmanned plane
CN102183930B (en)Personnel location monitoring system and location method under chemical scene
CN208079403U (en)A kind of urban atmospheric pollution monitoring system based on Internet of Things
CN106375487A (en)Monitoring system for environment monitoring vehicle
CN206431113U (en)A kind of novel air EMS
Yang et al.A monitoring system design in transmission lines based on wireless sensor networks
CN111637919A (en)Self-generating road quality monitoring system
CN102200456A (en)System for monitoring toxic and harmful gases in chemical industry park
CN116980827A (en)Atmospheric environment data monitoring system based on Internet of things
CN203375989U (en)Temperature, humidity and wind speed monitor in subway tunnel
CN201707061U (en)Short message telemetering multiparameter recorder
CN212513008U (en) An attitude measurement terminal
CN212301501U (en)Unmanned aerial vehicle intelligence air contaminant monitoring devices
CN107202869A (en)A kind of air quality multiple spot real-time monitoring system
CN103544811A (en)Earthquake alarming method based on Internet of Things
CN209980043U (en) A wireless transmission device for data acquisition of Internet of things intelligent terminal
CN202025085U (en)Video GPS (Global Position System) vehicle-mounted terminal
CN208818241U (en) Gas online environmental data monitoring system used in industrial parks or factories

Legal Events

DateCodeTitleDescription
PB01Publication
PB01Publication
SE01Entry into force of request for substantive examination
SE01Entry into force of request for substantive examination
RJ01Rejection of invention patent application after publication
RJ01Rejection of invention patent application after publication

Application publication date:20211008


[8]ページ先頭

©2009-2025 Movatter.jp