Movatterモバイル変換


[0]ホーム

URL:


CN113473699A - Deflection stress balanced FPC module and electronic device - Google Patents

Deflection stress balanced FPC module and electronic device
Download PDF

Info

Publication number
CN113473699A
CN113473699ACN202110825269.3ACN202110825269ACN113473699ACN 113473699 ACN113473699 ACN 113473699ACN 202110825269 ACN202110825269 ACN 202110825269ACN 113473699 ACN113473699 ACN 113473699A
Authority
CN
China
Prior art keywords
terminal
units
bridge
fpc
bridging
Prior art date
Legal status (The legal status is an assumption and is not a legal conclusion. Google has not performed a legal analysis and makes no representation as to the accuracy of the status listed.)
Pending
Application number
CN202110825269.3A
Other languages
Chinese (zh)
Inventor
于洋
Current Assignee (The listed assignees may be inaccurate. Google has not performed a legal analysis and makes no representation or warranty as to the accuracy of the list.)
Beijing Dream Ink Technology Co Ltd
Original Assignee
Beijing Dream Ink Technology Co Ltd
Priority date (The priority date is an assumption and is not a legal conclusion. Google has not performed a legal analysis and makes no representation as to the accuracy of the date listed.)
Filing date
Publication date
Application filed by Beijing Dream Ink Technology Co LtdfiledCriticalBeijing Dream Ink Technology Co Ltd
Priority to CN202110825269.3ApriorityCriticalpatent/CN113473699A/en
Publication of CN113473699ApublicationCriticalpatent/CN113473699A/en
Priority to PCT/CN2022/091923prioritypatent/WO2023000775A1/en
Pendinglegal-statusCriticalCurrent

Links

Images

Classifications

Landscapes

Abstract

Translated fromChinese

本发明公开了一种偏转应力均衡的FPC模组及电子器件,涉及电子电路技术领域;该FPC模组,包括:第一接线端,其上分布有第一电路;第二接线端,其上分布有第二电路;以及,连接第一接线端和第二接线端的、并排设置的至少3个桥接单元,其上分布有第三电路,第一电路和第二电路通过第三电路连接;其中,至少3个桥接单元用以通过逆向弯折,交错形成多边形的立体支撑结构。本发明通过将FPC设计为具有多个可交错形成立体支撑结构的桥接单元,使其支点中心位于立体支撑结构的中心,有利于实现FPC在各方向上的偏转应力的均衡、一定程度上削弱了FPC的应力,可以降低偏转控制的开发难度,提升偏转程度与控制参数的线性关系,保证FPC偏转控制的可靠性和稳定性。

Figure 202110825269

The invention discloses an FPC module with balanced deflection stress and an electronic device, and relates to the technical field of electronic circuits; the FPC module comprises: a first terminal on which a first circuit is distributed; a second terminal on which A second circuit is distributed; and, at least 3 bridge units connected side by side connecting the first terminal and the second terminal, a third circuit is distributed thereon, and the first circuit and the second circuit are connected by the third circuit; wherein , at least three bridging units are used to form a polygonal three-dimensional support structure through reverse bending. In the present invention, the FPC is designed as a plurality of bridging units that can be staggered to form a three-dimensional support structure, so that the center of the fulcrum is located at the center of the three-dimensional support structure, which is beneficial to realize the balance of the deflection stress of the FPC in all directions, and weakens to a certain extent. The stress of FPC can reduce the development difficulty of deflection control, improve the linear relationship between deflection degree and control parameters, and ensure the reliability and stability of FPC deflection control.

Figure 202110825269

Description

Deflection stress balanced FPC module and electronic device
Technical Field
The invention belongs to the technical field of electronic circuits, and particularly relates to an FPC module with balanced deflection stress and an electronic device.
Background
A Flexible Printed Circuit board (FPC), also called a Flexible Printed Circuit board, is a Flexible Printed Circuit board made of a series of film materials such as polyimide or polyester film as a base material, has high reliability and excellent flexibility, and is called a Flexible Printed Circuit board (FPC) for short, has the characteristics of high wiring density, light weight and thin thickness, and is widely applied to the fields of automotive electronics, consumer electronics, household appliances, industrial equipment and the like.
In order to meet the development requirements of miniaturization and miniaturization of electronic devices, the requirements for the FPC flexible circuit board do not only stay on the bending resistance, but need to be matched to meet more precise control. For example, the micro cloud platform system of the camera module, the FPC of C type structure will be buckled into is arranged in the below of the camera module, thereby support the camera module, the deflection of the camera module in a plurality of directions is realized through the cooperation of electromagnetic coil, because the bending position of FPC is located one side, consequently can cause the FPC's that the deflection of camera module in a plurality of directions will overcome internal stress difference, thereby cause the control parameter design difficulty of the deflection of camera module in a plurality of directions big, and also be difficult to realize the linear relation between deflection degree and the control parameter.
Disclosure of Invention
In view of the above, an object of the present invention is to provide an FPC module with balanced deflection stress, so as to solve the problems of difficult development of deflection control and poor reliability and stability caused by different stresses in different directions during the process of matching and deflecting the FPC in the prior art.
In some demonstrative embodiments, the deflection stress equalized FPC module includes: a first terminal having a first circuit distributed thereon; a second terminal having a second circuit disposed thereon; at least 3 bridging units which are connected with the first terminal and the second terminal and are arranged side by side, third circuits are distributed on the bridging units, and the first circuits are connected with the second circuits through the third circuits; wherein, the at least 3 bridging units are used for forming a polygonal three-dimensional supporting structure in a staggered manner through reverse bending.
In some optional embodiments, a sum of the widths of the bridging unit is not greater than a minimum width of the first and second terminals.
In some alternative embodiments, the sum of the widths of the bridging units is no greater than 1/2 for the minimum widths of the first and second terminals.
In some optional embodiments, the at least 3 bridge units are configured to form a rectangular three-dimensional support structure by reverse bending and interleaving.
In some optional embodiments, the at least 3 bridging units arranged side by side specifically include: at least 3 bridge units arranged at intervals and/or in connection.
In some optional embodiments, when the number of the bridge units is an even number, the bridge units are distributed on both sides of a center line of the first terminal or the second terminal in the width direction in a left-right mirror image manner.
In some optional embodiments, when the number of the bridge units is an odd number, there are 1 first bridge unit and an even number of second bridge units, the first bridge unit is disposed on a central line in a width direction of the first terminal or the second terminal, and the second bridge units are distributed on both sides of the first bridge unit in a left-right mirror image manner.
In some optional embodiments, the at least 3 bridge units form sequentially staggered polygonal three-dimensional support structures or form mirror-staggered polygonal three-dimensional support structures by reverse bending.
In some optional embodiments, the first terminal, the second terminal, and the bridging unit are a unitary structure.
In some optional embodiments, the first circuit, the second circuit, and the third circuit are integrally formed by one or more of sputtering, chemical etching, mechanical engraving, laser engraving, evaporation, chemical vapor deposition, physical vapor deposition, direct writing, printing, coating.
Another object of the present invention is to provide an electronic device to solve the problems of the prior art.
In some illustrative embodiments, the electronic device includes the deflection stress equalized FPC module described in any one of the above.
Compared with the prior art, the invention has the following advantages:
in the embodiment of the invention, the FPC is designed into the bridging unit with a plurality of three-dimensional supporting structures which can be staggered to form a polygon, so that the center of the fulcrum of the FPC is positioned at the center of the three-dimensional supporting structure, the balance of deflection stress of the FPC in each direction is favorably realized, the stress of the FPC is weakened to a certain extent, the development difficulty of deflection control can be reduced, the linear relation between the deflection degree and control parameters is improved, and the reliability and the stability of the deflection control of the FPC are ensured.
Drawings
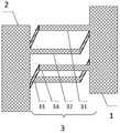
FIG. 1 is a schematic plan view of an exemplary FPC module with balanced deflection stress according to the present invention;
FIG. 2 is a schematic diagram of an elevational view of an exemplary first FPC module with balanced deflection stress according to the present invention;
FIG. 3 is a schematic perspective view of an exemplary FPC module with balanced deflection stress according to the present invention;
FIG. 4 is a schematic plan view of a second exemplary FPC module with balanced deflection stress according to the present invention;
fig. 5 is a schematic perspective view of an example three of the FPC module with balanced deflection stress according to the present invention.
Detailed Description
The following description and the drawings sufficiently illustrate specific embodiments of the invention to enable those skilled in the art to practice them. Other embodiments may incorporate structural, logical, electrical, process, and other changes. The examples merely typify possible variations. Individual components and functions are optional unless explicitly required, and the sequence of operations may vary. Portions and features of some embodiments may be included in or substituted for those of others. The scope of embodiments of the invention encompasses the full ambit of the claims, as well as all available equivalents of the claims. Embodiments of the invention may be referred to herein, individually or collectively, by the term "invention" merely for convenience and without intending to voluntarily limit the scope of this application to any single invention or inventive concept if more than one is in fact disclosed.
It should be noted that the technical features in the embodiments of the present invention may be combined with each other without conflict.
The embodiment of the invention discloses an FPC module with balanced deflection stress, and particularly, as shown in FIGS. 1-5, FIG. 1 is a schematic plane structure diagram of an example I of the FPC module with balanced deflection stress in the invention; FIG. 2 is a schematic diagram of an elevational view of an exemplary first FPC module with balanced deflection stress according to the present invention; FIG. 3 is a schematic perspective view of an exemplary FPC module with balanced deflection stress according to the present invention;
FIG. 4 is a schematic plan view of a second exemplary FPC module with balanced deflection stress according to the present invention; fig. 5 is a schematic perspective view of an example three of the FPC module with balanced deflection stress according to the present invention. This balanced FPC module of deflection stress includes: afirst terminal 1 on which afirst circuit 101 is distributed; asecond terminal 2 on which asecond circuit 102 is distributed; at least 3bridging units 3 which are connected with thefirst terminal 1 and thesecond terminal 2 and are arranged side by side,third circuits 103 are distributed on the bridging units, and thefirst circuit 101 and thesecond circuit 102 are connected through thethird circuits 103; wherein, the at least 3bridging units 3 are used for forming a polygonal three-dimensional supporting structure in a staggered manner through reverse bending.
The reverse bending in the embodiment of the present invention refers to a bending structure with opposite bending directions, for example, 3bridge units 3 arranged in sequence, that is, afirst bridge unit 31, asecond bridge unit 32, and athird bridge unit 33; the bending direction of the first bridging unit is upward, the bending direction of the second bridging unit is downward, and the bending direction of the third bridging unit is upward; or, the bending direction of thefirst bridge unit 31 is downward, the bending direction of thesecond bridge unit 32 is upward, and the bending direction of thethird bridge unit 33 is downward;
for example, 4 bridge units arranged in sequence, namely afirst bridge unit 31, asecond bridge unit 32, athird bridge unit 33, and afourth bridge unit 34; wherein, the bending direction of thefirst bridge unit 31 is upward, the bending direction of thesecond bridge unit 32 is downward, the bending direction of thethird bridge unit 33 is upward, and the bending direction of thefourth bridge unit 34 is downward; alternatively, the first bridge unit has an upward bending direction, the second bridge unit has a downward bending direction, the third bridge unit has a downward bending direction, and the fourth bridge unit has an upward bending direction.
The polygonal three-dimensional support structure formed by reversely bending and staggering the bridging units in the embodiment of the invention specifically means that the bridging units are distributed side by side along the width direction of thefirst terminal 1 or thesecond terminal 2 and are not in the same plane, so that the polygonal support structures formed by the bridging units are not in the same plane, and a spatial three-dimensional support structure is formed in a staggered and complementary mode.
The width direction of thefirst terminal 1 or thesecond terminal 2 in the embodiment of the present invention is a direction perpendicular to the connection direction of thefirst terminal 1, thebridging unit 3, and thesecond terminal 2, and the connection direction of thefirst terminal 1, thebridging unit 3, and thesecond terminal 2 is a length direction, which is suitable for the orientation recognition of thefirst terminal 1, thebridging unit 3, and thesecond terminal 2 in the embodiment of the present invention.
In some embodiments, the number of the sides of the polygon in the embodiments of the present invention is not less than 4, that is, for example, a quadrangle, a pentagon, a hexagon, etc., and the pattern structure of the polygon may be a regular or irregular pattern, as long as the top and bottom horizontal support structures are satisfied.
Preferably, the polygonal structures formed by bending the bridging units in the embodiment of the present invention may be the same or different, as long as the top and bottom horizontal support structures are satisfied; for example, the first bridge unit may form a quadrilateral structure, the second bridge unit may form a hexagonal structure, and the third bridge unit may form a quadrilateral structure; preferably, the three-dimensional support structure formed by each bridge unit in the embodiment of the present invention is a regular cube, so as to promote the balance of the deflection stress of the FPC in all directions.
In the embodiment of the invention, the FPC is designed into the bridging unit with a plurality of three-dimensional supporting structures which can be staggered to form a polygon, so that the center of the fulcrum of the FPC is positioned at the center of the three-dimensional supporting structure, the balance of deflection stress of the FPC in each direction is favorably realized, the stress of the FPC is weakened to a certain extent, the development difficulty of deflection control can be reduced, the linear relation between the deflection degree and control parameters is improved, and the reliability and the stability of the deflection control of the FPC are ensured.
In some embodiments, the sum of the widths of thebridging unit 3 is not greater than the minimum width of the first andsecond terminals 1, 2. In this embodiment, the width of thebridge unit 3 is designed to be reduced, so that the internal stress of thebridge unit 3 can be reduced, thereby further reducing the internal stress of the FPC module during the deflection process. Preferably, the sum of the widths of thebridging portions 3 is not greater than 1/2 of the smallest width of the first andsecond terminals 1 and 2.
In some embodiments, thebridge units 3 in the embodiments of the present invention are configured to form rectangular three-dimensional support structures by reverse bending and interleaving, that is, the bending position forms a 90 ° right angle. In this embodiment, the support structure of the FPC module can be more stable by designing the FPC as a rectangular three-dimensional support structure.
Furthermore, thebridging units 3 in the embodiment of the present invention are used for forming a square three-dimensional support structure by reversely bending and interleaving; the sides of the square three-dimensional support structure formed in the embodiment have the same length, and the structural stress at each position is basically the same; preferably, the center point of the formed square three-dimensional support structure is penetrated by the center line of thebridge unit 3 in the width direction. The square three-dimensional supporting structure formed in the embodiment can further improve the stress balance in the FPC deflection process, and is easy to control and develop.
In some embodiments, the at least 3 bridging units arranged side by side specifically include: at least 3 bridge units arranged at intervals and/or in connection (adjacent arrangement). The bridging units in this embodiment may be spaced from each other; preferably, the bridging units are arranged at equal intervals; in other embodiments, the bridge units may be connected to each other, such as closely arranged bridge units. Besides, some bridging units can be arranged at intervals, and some bridging units can be arranged in a connecting way.
Exemplarily, there are 3 bridge units arranged in sequence, namely a first bridge unit, a second bridge unit, and a third bridge unit; the first bridging unit and the second bridging unit are arranged at intervals, and the second bridging unit and the third bridging unit are connected.
Exemplarily, there are 4 bridge units arranged in sequence, namely a first bridge unit, a second bridge unit, a third bridge unit, and a fourth bridge unit; the first bridging unit and the second bridging unit are connected, the third bridging unit and the fourth bridging unit are connected, and the second bridging unit and the third bridging unit are arranged at intervals.
Preferably, the number of the bridge units in the embodiment of the present invention may be even or odd;
when the number of the bridging units is even, the bridging units can be distributed on two sides of a middle line of the first terminal or the second terminal in the width direction in a left-right mirror image manner; the mirror image arrangement in the embodiment is favorable for improving the stress balance in the FPC deflection process.
Exemplarily, there are 4 bridge units arranged in sequence, namely a first bridge unit, a second bridge unit, a third bridge unit, and a fourth bridge unit; the first bridging unit and the second bridging unit are in a group, the third bridging unit and the fourth bridging unit are in a group, and the two groups of mirror images are distributed on two sides of a middle line in the width direction of the first terminal or the second terminal.
When the number of the bridge units is odd, 1 first bridge unit and an even number of second bridge units exist, the first bridge unit is arranged on a middle line of the first terminal or the second terminal in the width direction, and the second bridge units are distributed on two sides of the first bridge unit in a left-right mirror image mode. The mirror image arrangement in the embodiment is favorable for improving the stress balance in the FPC deflection process.
Exemplarily, there are 3 bridge units arranged in sequence, namely a first bridge unit, a second bridge unit, and a third bridge unit; the second bridging unit is arranged on a middle line of the first terminal or the second terminal in the width direction, and the first bridging unit and the third bridging unit are distributed on two sides of the second bridging unit in a mirror image manner.
In some embodiments, the at least 3 bridging units form sequentially staggered polygonal three-dimensional support structures or form mirror-staggered polygonal three-dimensional support structures by reverse bending.
The three-dimensional supporting structure of the sequentially staggered polygon comprises 3 bridging units, a first bridging unit, a second bridging unit and a third bridging unit which are sequentially arranged; the first bridging unit is used for forward bending, the second bridging unit close to the first bridging unit is used for reverse bending, and the third bridging unit close to the second bridging unit is used for forward bending. As are 4 and more than 4 bridge units.
The three-dimensional supporting structure forming the polygonal mirror-image staggered structure means that the left and right mirror-image symmetry of a central line in the width direction of the first terminal or the second terminal is adopted, and for example, 3 bridging units, namely a first bridging unit, a second bridging unit and a third bridging unit, are sequentially arranged; the second bridging unit is arranged on a middle line of the first terminal or the second terminal in the width direction, and the first bridging unit and the third bridging unit are distributed on two sides of the second bridging unit in a mirror image manner. The first bridging unit and the third bridging unit are used for forward bending, and the second bridging unit is used for reverse bending. For example, the first bridge unit, the second bridge unit, the third bridge unit and the fourth bridge unit are arranged in sequence; the first bridging unit and the second bridging unit are in a group, the third bridging unit and the fourth bridging unit are in a group, and the two groups of mirror images are distributed on two sides of a middle line in the width direction of the first terminal or the second terminal. The first bridging unit and the fourth bridging unit are used for forward bending, and the second bridging unit and the third bridging unit are used for reverse bending.
In some embodiments, thefirst terminal 1, thesecond terminal 2, and thebridge 3 in embodiments of the present invention may be a unitary structure. For example, a unitary substrate is selected that conforms to the unitary structure of the first terminal, the second terminal and the bridge. The substrate in the embodiment of the present invention may be a flexible substrate, but is not limited to PI, PET, PVC, PU, PC, PP, PA, CPI (transparent PI), and the like.
In other embodiments, the first terminal, the second terminal and the bridging portion can be connected by bonding, clamping, etc.
In some embodiments, thefirst terminal 1, thesecond terminal 2, and the bridgingportion 3 in the embodiments of the present invention are a multilayer structure, such as a three-layer structure of a base material, a circuit, a base material (cover film); in other embodiments, the structure may also be a multi-layer circuit structure, such as a five-layer structure of a substrate (cover film), a circuit, a substrate, a circuit, and a substrate (cover film), and the multi-layer structure is not described herein again.
In some embodiments, the entirety/portion of one or more of thefirst terminal 1, thesecond terminal 2, and the bridgingportion 3 may be structurally reinforced by means of a reinforcing sheet, for example, provided on thefirst terminal 1, thesecond terminal 2.
In some embodiments, the first bus bar electrode, the second bus bar electrode, and the bus bar line are integrally formed by one or more of sputtering, chemical etching, mechanical engraving, laser engraving, evaporation, chemical vapor deposition, physical vapor deposition, direct writing, printing, and coating. In the embodiment of the present invention, the first bus bar electrode, the second bus bar electrode, and the bundling line may be selected from simple substances or alloys of copper, silver, gold, nickel, tin, aluminum, etc., conductive metal oxides (such as ITO indium tin oxide), liquid metals, and conductive ink using metal nanowires and metal particles as conductive fillers. The liquid metal may be a liquid metal paste doped with a conductive filler.
The embodiment of the invention also discloses an electronic device which comprises the FPC module with balanced deflection stress. In particular, the electronics are not limited to a pan and tilt module for yaw control.
Those of skill would further appreciate that the various illustrative logical blocks, modules, circuits, and algorithm steps described in connection with the embodiments disclosed herein may be implemented as electronic hardware, computer software, or combinations of both. To clearly illustrate this interchangeability of hardware and software, various illustrative components, blocks, modules, circuits, and steps have been described above generally in terms of their functionality. Whether such functionality is implemented as hardware or software depends upon the particular application and design constraints imposed on the overall system. Skilled artisans may implement the described functionality in varying ways for each particular application, but such implementation decisions should not be interpreted as causing a departure from the scope of the present disclosure.

Claims (10)

1. The utility model provides a balanced FPC module of deflection stress which characterized in that includes:
a first terminal having a first circuit distributed thereon; a second terminal having a second circuit disposed thereon; at least 3 bridging units which are connected with the first terminal and the second terminal and are arranged side by side, third circuits are distributed on the bridging units, and the first circuits are connected with the second circuits through the third circuits;
wherein, the at least 3 bridging units are used for forming a polygonal three-dimensional supporting structure in a staggered manner through reverse bending.
2. The deflection stress equalized FPC module of claim 1, wherein a sum of widths of the bridge units is not greater than a minimum width of the first and second terminals.
3. The yaw stress equalized FPC module of claim 2, wherein the sum of the widths of the bridge units is not greater than 1/2 of the minimum widths of the first and second terminals.
4. The FPC module with balanced deflection stress of claim 1, wherein the at least 3 bridge units are configured to form a rectangular three-dimensional supporting structure by reverse bending and interleaving.
5. The FPC module with balanced deflection stress as claimed in claim 1, wherein the at least 3 bridge units arranged side by side specifically include:
at least 3 bridge units arranged at intervals and/or in connection.
6. The deflection stress equalized FPC module of claim 5,
when the number of the bridging units is even, the bridging units are distributed on two sides of a middle line of the first terminal or the second terminal in a left-right mirror image manner;
when the number of the bridge units is odd, 1 first bridge unit and an even number of second bridge units exist, the first bridge unit is arranged on a middle line of the first terminal or the second terminal in the width direction, and the second bridge units are distributed on two sides of the first bridge unit in a left-right mirror image mode.
7. The deflection stress equalized FPC module of claim 1,
and the at least 3 bridging units are reversely bent to form a polygonal three-dimensional supporting structure which is staggered in sequence or a polygonal three-dimensional supporting structure which is staggered in a mirror image mode.
8. The deflection stress equalized FPC module of claim 1, wherein the first terminal, the second terminal, and the bridge unit are a unitary structure.
9. The deflection stress equalized FPC module of claim 8, wherein the first, second, and third circuits are integrally formed by one or more of sputtering, chemical etching, mechanical engraving, laser engraving, evaporation, chemical vapor deposition, physical vapor deposition, direct writing, printing, coating.
10. An electronic device comprising the deflection stress equalized FPC module of any one of claims 1 to 9.
CN202110825269.3A2021-07-212021-07-21Deflection stress balanced FPC module and electronic devicePendingCN113473699A (en)

Priority Applications (2)

Application NumberPriority DateFiling DateTitle
CN202110825269.3ACN113473699A (en)2021-07-212021-07-21Deflection stress balanced FPC module and electronic device
PCT/CN2022/091923WO2023000775A1 (en)2021-07-212022-05-10Fpc module having balanced deflection stress and electronic device

Applications Claiming Priority (1)

Application NumberPriority DateFiling DateTitle
CN202110825269.3ACN113473699A (en)2021-07-212021-07-21Deflection stress balanced FPC module and electronic device

Publications (1)

Publication NumberPublication Date
CN113473699Atrue CN113473699A (en)2021-10-01

Family

ID=77881523

Family Applications (1)

Application NumberTitlePriority DateFiling Date
CN202110825269.3APendingCN113473699A (en)2021-07-212021-07-21Deflection stress balanced FPC module and electronic device

Country Status (2)

CountryLink
CN (1)CN113473699A (en)
WO (1)WO2023000775A1 (en)

Cited By (1)

* Cited by examiner, † Cited by third party
Publication numberPriority datePublication dateAssigneeTitle
WO2023000775A1 (en)*2021-07-212023-01-26北京梦之墨科技有限公司Fpc module having balanced deflection stress and electronic device

Citations (4)

* Cited by examiner, † Cited by third party
Publication numberPriority datePublication dateAssigneeTitle
JP2010040720A (en)*2008-08-042010-02-18Sharp CorpFlexible printed wiring board, electronic apparatus module, and electronic information apparatus
US20140217373A1 (en)*2013-02-012014-08-07Lg Display Co., Ltd.Flexible display substrate, flexible organic light emitting display device and method for manufacturing the same
CN108766988A (en)*2018-05-312018-11-06武汉天马微电子有限公司Display panel and display device
CN215682733U (en)*2021-07-212022-01-28北京梦之墨科技有限公司Deflection stress balanced FPC module and electronic device

Family Cites Families (4)

* Cited by examiner, † Cited by third party
Publication numberPriority datePublication dateAssigneeTitle
CN106163077B (en)*2015-03-312018-11-30上海和辉光电有限公司The cabling distribution method and cabling layout stracture in flexible print circuit board bending region
US10720589B2 (en)*2018-04-032020-07-21Wuhan China Star Optoelectronics Semiconductor Display Technology Co., Ltd.Flexible display device and manufacturing method thereof
CN110012594A (en)*2019-04-192019-07-12维沃移动通信有限公司 A flexible circuit board and terminal equipment
CN113473699A (en)*2021-07-212021-10-01北京梦之墨科技有限公司Deflection stress balanced FPC module and electronic device

Patent Citations (4)

* Cited by examiner, † Cited by third party
Publication numberPriority datePublication dateAssigneeTitle
JP2010040720A (en)*2008-08-042010-02-18Sharp CorpFlexible printed wiring board, electronic apparatus module, and electronic information apparatus
US20140217373A1 (en)*2013-02-012014-08-07Lg Display Co., Ltd.Flexible display substrate, flexible organic light emitting display device and method for manufacturing the same
CN108766988A (en)*2018-05-312018-11-06武汉天马微电子有限公司Display panel and display device
CN215682733U (en)*2021-07-212022-01-28北京梦之墨科技有限公司Deflection stress balanced FPC module and electronic device

Cited By (1)

* Cited by examiner, † Cited by third party
Publication numberPriority datePublication dateAssigneeTitle
WO2023000775A1 (en)*2021-07-212023-01-26北京梦之墨科技有限公司Fpc module having balanced deflection stress and electronic device

Also Published As

Publication numberPublication date
WO2023000775A1 (en)2023-01-26

Similar Documents

PublicationPublication DateTitle
EP2013529B1 (en)Large area led array and method for its manufacture
US8692125B2 (en)Multilayer substrate
JP2001189234A (en)Layered capacitor
KR102257253B1 (en)Flexible Substrate
TW200838384A (en)Electrical connection structure
CN215682733U (en)Deflection stress balanced FPC module and electronic device
CN113473699A (en)Deflection stress balanced FPC module and electronic device
CN113133190A (en)Low-stress FPC flexible circuit board and electronic device
CN210112367U (en)Chip on film substrate, circuit board and display device
JP4219371B2 (en) Multiple wiring board
CN103402303A (en)Flexible printed circuit board and manufacturing method thereof
CN111240520A (en)Touch panel and preparation method thereof
TWI684265B (en) LED configuration module and LED display device
CN215010826U (en)Low-stress FPC flexible circuit board and electronic device
CN111475064A (en)Transparent coil plate and manufacturing method thereof, transparent electromagnetic induction plate and display device
CN202514155U (en)Improvement of multilayer soft circuit board structure
CN105376962A (en)Method for improving circuit board structure
CN100391317C (en)Electrical connection component
CN113838378A (en)Display module and display device
CN112669709A (en)Display panel and display device
CN101820721B (en) Substrate for circuit board, circuit board and method for manufacturing circuit board
JP6281181B2 (en) Multilayer resin wiring board and board module
WO2025115694A1 (en)Electronic component
TWM438095U (en)Flexible printed circuit board
US11662854B2 (en)Method of routing in a singular direction first traces that are electrically coupled to respective rows of an array of touch sensors between respective second traces that are electrically coupled to respective columns of the array

Legal Events

DateCodeTitleDescription
PB01Publication
PB01Publication
SE01Entry into force of request for substantive examination
SE01Entry into force of request for substantive examination

[8]ページ先頭

©2009-2025 Movatter.jp