Movatterモバイル変換


[0]ホーム

URL:


CN113464842A - Overhead exhaust treatment device for pipeline - Google Patents

Overhead exhaust treatment device for pipeline
Download PDF

Info

Publication number
CN113464842A
CN113464842ACN202110721100.3ACN202110721100ACN113464842ACN 113464842 ACN113464842 ACN 113464842ACN 202110721100 ACN202110721100 ACN 202110721100ACN 113464842 ACN113464842 ACN 113464842A
Authority
CN
China
Prior art keywords
vapor
liquid separation
fixedly connected
pipe
gas
Prior art date
Legal status (The legal status is an assumption and is not a legal conclusion. Google has not performed a legal analysis and makes no representation as to the accuracy of the status listed.)
Granted
Application number
CN202110721100.3A
Other languages
Chinese (zh)
Other versions
CN113464842B (en
Inventor
刘建明
吴美华
赵少丰
李梦乙
Current Assignee (The listed assignees may be inaccurate. Google has not performed a legal analysis and makes no representation or warranty as to the accuracy of the list.)
Jiangyin Huaxi Chemical Wharf Co ltd
Original Assignee
Jiangyin Huaxi Chemical Wharf Co ltd
Priority date (The priority date is an assumption and is not a legal conclusion. Google has not performed a legal analysis and makes no representation as to the accuracy of the date listed.)
Filing date
Publication date
Application filed by Jiangyin Huaxi Chemical Wharf Co ltdfiledCriticalJiangyin Huaxi Chemical Wharf Co ltd
Priority to CN202110721100.3ApriorityCriticalpatent/CN113464842B/en
Publication of CN113464842ApublicationCriticalpatent/CN113464842A/en
Application grantedgrantedCritical
Publication of CN113464842BpublicationCriticalpatent/CN113464842B/en
Activelegal-statusCriticalCurrent
Anticipated expirationlegal-statusCritical

Links

Images

Classifications

Landscapes

Abstract

The invention discloses an overhead pipeline exhaust gas treatment device, which relates to the technical field of overhead pipeline exhaust gas treatment devices and comprises a storage tank, wherein a root valve pipe and a blow-down valve pipe are fixedly connected to the storage tank, one ends of the root valve pipe and the blow-down valve pipe are connected with an exchange station through an exchange station connecting pipe, an overhead exhaust pipe is fixedly connected to the exchange station connecting pipe, and the overhead pipeline exhaust gas treatment device further comprises a vapor-liquid separation mechanism, an aqueous solution absorption mechanism, a refrigerator, a natural cooling mechanism and a monitoring system. In this application, the realization is to the velocity of flow monitoring of the vapour-liquid mixture in the exhaust connecting pipe, effectual reduction gas flow velocity, aqueous solution splash has been avoided taking place, influence vapour-liquid mixture aqueous solution and absorb, according to actual conditions, the refrigerated mode when selecting the separation to vapour-liquid mixture, be favorable to reducing the energy consumption, there is better feature of environmental protection, to vapour-liquid mixture rapid cooling, the acetone rapid condensation liquefaction of the vaporization in the vapour-liquid mixture is favorable to, the treatment effect of aqueous solution to tail gas and the rate of recovery of acetone have been improved.

Description

Overhead exhaust treatment device for pipeline
Technical Field
The invention relates to the technical field of pipeline overhead exhaust treatment devices, in particular to a pipeline overhead exhaust treatment device.
Background
After the liquid chemical engineering storage tank finishes feeding, and after an outer pipeline of a wharf is beaten and is swept, residual nitrogen with certain pressure is stored in an inner pipeline connected with the storage tank, particularly an overhead pipeline, so that the accuracy of the oil receiving amount of the storage tank is influenced, and the metering is difficult.
The existing method is that a small exhaust pipe is arranged at the highest point of an overhead pipeline, a small valve is arranged at the lower end of the overhead pipeline, a liquid receiving barrel is arranged below the exhaust pipe, the small valve is opened to exhaust, and the exhaust is finished when liquid is discharged; secondly, the discharged mixed gas is VOCs gas which has certain flammability and toxicity, harms personnel, pollutes the atmospheric environment and causes combustion and explosion; although some existing treatment devices can treat the exhaust gas, when the vapor-liquid mixture such as acetone, nitrogen and the like in the overhead exhaust pipe is treated, the amount of the vapor-liquid mixture needs to be manually controlled, otherwise, the aqueous solution can be splashed, and therefore the application provides the pipeline overhead exhaust treatment device to meet the requirement.
Disclosure of Invention
An object of the application is to provide an overhead exhaust treatment device of pipeline, the realization is to the velocity of flow monitoring of the vapour-liquid mixture in the exhaust connecting pipe, the effectual reduction flows to the gas velocity of flow in the exhaust connecting pipe, when having avoided handling tail gas, the aqueous solution splash takes place, influence vapour-liquid mixture aqueous solution and absorb, according to actual conditions, refrigerated mode when selecting the vapour-liquid mixture separation, be favorable to reducing the energy resource consumption on the one hand, there is better feature of environmental protection, on the other hand, to vapour-liquid mixture rapid cooling, be favorable to the acetone quick condensation liquefaction of the vaporization in the vapour-liquid mixture, the treatment effect of aqueous solution to tail gas has been improved and the rate of recovery of acetone has been improved.
In order to achieve the above purpose, the present application provides the following technical solutions: an overhead exhaust gas treatment device for a pipeline comprises a storage tank, wherein a root valve pipe and a blow-down valve pipe are fixedly connected to the storage tank, one ends of the root valve pipe and the blow-down valve pipe are connected with a switching station through a switching station connecting pipe, and an overhead exhaust pipe is fixedly connected to the switching station connecting pipe;
the vapor-liquid separation mechanism is used for separating gas and liquid from the vapor-liquid mixture, the aqueous solution mechanism is used for absorbing aqueous solution from the separated gas and part of the mixed liquid, and the natural cooling mechanism is used for naturally cooling the vapor-liquid mixture in the vapor-liquid separation mechanism;
the refrigerator and the natural cooling mechanism are used for cooling the first vapor-liquid separation unit and the second vapor-liquid separation unit;
the monitoring system is used for monitoring the gas flow rate in the exhaust connecting pipe and the temperature of the gas-liquid mixture in the gas-liquid separation mechanism, and when the gas flow rate in the exhaust connecting pipe does not meet a set flow rate value and the temperature of the gas-liquid mixture in the gas-liquid separation mechanism does not meet a set temperature value, the refrigerator, the first gas-liquid separation unit and the second gas-liquid separation unit work to enable the gas flow rate to recover from the set flow rate value and the temperature of the gas-liquid mixture to recover from the set temperature value.
Preferably, the monitoring system comprises a gas flow rate sensor and a temperature sensor, the gas flow rate sensor is used for monitoring the current gas flow rate in the exhaust connecting pipe, and the temperature sensor is used for monitoring the current temperature of the gas-liquid mixture in the gas-liquid separation mechanism;
when S is1Is > S, and T1When the temperature is higher than T, the first vapor-liquid separation unit and the refrigerator are started to work simultaneously; wherein said S1Indicating the current gas flow speed in the exhaust connecting pipe, S indicating the preset flow speed value of the gas flow speed in the exhaust connecting pipe, and T1The temperature of the vapor-liquid mixture in the vapor-liquid separation mechanism is currently represented, and T represents a preset temperature value of the vapor-liquid mixture in the vapor-liquid separation mechanism;
when S is1Is > S, and T1When the temperature is less than or equal to T, starting the first vapor-liquid separation unit to work;
when S is1S is less than or equal to S, and T1If the temperature is higher than T, the refrigerator is started to work;
when S is1S is less than or equal to S, and T1And when the temperature is less than or equal to T, starting the second vapor-liquid separation unit to work.
Preferably, the vapor-liquid separation mechanism further comprises a vapor-liquid separation tank, the side wall of the vapor-liquid separation tank is fixedly connected with an exhaust inlet pipe communicated with the side wall of the vapor-liquid separation tank, the exhaust inlet pipe is fixedly connected with the overhead exhaust pipe, and the first vapor-liquid separation unit and the second vapor-liquid separation unit are both located in the vapor-liquid separation tank;
the first vapor-liquid separation unit comprises a first clapboard arranged in the vapor-liquid separation tank and an outer clapboard sleeved in the first clapboard, the vapor-liquid separation tank and a plurality of first vapor-liquid separation outer spiral blades which are uniformly distributed on the periphery of the first clapboard are fixedly connected between the first clapboard, the first clapboard and the outer clapboard are fixedly connected with a plurality of first vapor-liquid separation inner spiral blades which are uniformly distributed on the periphery of the first clapboard, a plurality of first connecting holes which are uniformly distributed are formed in the top end of the first clapboard, the outer clapboard and a plurality of vapor-liquid separation cavities formed by the first vapor-liquid separation inner spiral blades are communicated with the vapor-liquid separation tank, the first clapboard and a plurality of vapor-liquid separation cavities formed by the first vapor-liquid separation outer spiral blades are communicated with one another through a plurality of first connecting holes respectively, and a plurality of first control valves are installed at the bottom ends of the first vapor-liquid separation outer spiral blades, a second partition plate is sleeved in the outer partition plate, the bottom ends of the second partition plate and the first partition plate are fixedly connected with a same lower outer cover plate, the tops of the vapor-liquid separation tank and the outer partition plate are fixedly connected with a same upper outer cover plate, the top of the outer partition plate is fixedly connected with an air outlet cover, and a cavity formed by the second partition plate, the first partition plate, the outer partition plate and the lower outer cover plate is communicated with the air outlet cover;
the second vapor-liquid separation unit comprises an inner partition board sleeved in the outer partition board, a vapor pipe is sleeved in the inner partition board, a plurality of second vapor-liquid separation outer spiral blades uniformly distributed on the peripheral side are fixedly connected between the second partition board and the inner partition board, a plurality of second vapor-liquid separation inner spiral blades uniformly distributed on the peripheral side are fixedly connected between the inner partition board and the vapor pipe, a plurality of second connecting holes uniformly distributed are formed in the top end of the inner partition board, vapor-liquid separation cavities formed by the second partition board, the inner partition board and the plurality of second vapor-liquid separation outer spiral blades are respectively communicated with vapor-liquid separation cavities formed by the inner partition board, the vapor pipe and the plurality of second vapor-liquid separation inner spiral blades through the plurality of second connecting holes, and second control valves are installed at the bottom ends of the plurality of the second vapor-liquid separation outer spiral blades, the bottom parts of the inner partition plate and the steam pipe are fixedly connected with the same lower inner cover plate, and the top parts of the second partition plate and the steam pipe are fixedly connected with the same upper inner cover plate;
the air outlet cover is communicated with the steam pipe through a plurality of air outlet connecting pipes, and the top end of the steam pipe is fixedly connected with the exhaust connecting pipe;
the bottoms of the lower outer cover plate and the lower inner cover plate are fixedly connected with a liquid outlet valve pipe;
the number of spirals of the first vapor-liquid separation outer helical blade is greater than the number of spirals of the second vapor-liquid separation outer helical blade.
Preferably, the top of the vapor-liquid separation tank is fixedly connected with a pressure gauge, the pressure gauge is used for monitoring the pressure in the vapor-liquid separation tank, and a lens is arranged on the exhaust inlet pipe.
Preferably, the natural cooling mechanism includes a first cooling cavity and a second cooling cavity, the first cooling cavity and the second cooling cavity are respectively arranged in the first partition board, the bottom of the inner partition board is fixedly connected with a plurality of lower cooling pipes which are uniformly distributed on the periphery, the second cooling cavity is communicated with the plurality of lower cooling pipes, the bottom of the first partition board is fixedly connected with a plurality of lower cooling connecting pipes which are uniformly distributed on the periphery, the first cooling cavity is communicated with the plurality of lower cooling connecting pipes, the bottom end of each lower cooling connecting pipe is fixedly connected to the side wall of each lower cooling pipe, one end of each lower cooling pipe is fixedly connected with a cooling main pipe, and one end of each cooling main pipe extends out of the vapor-liquid separation tank and is fixedly connected with an air inlet hopper;
the side walls of the cooling main pipes are fixedly connected with refrigerator connecting pipes, cold air discharge pipes of the refrigerators are fixedly connected with the refrigerator connecting pipes, and air outlet ends of the refrigerator connecting pipes are arranged at acute angles with the horizontal plane and face one side of the lower cooling pipe;
a plurality of first air outlet holes are formed in the top of the first partition plate, and a plurality of second air outlet holes are formed in the top of the inner partition plate.
Preferably, a third cooling cavity is formed in the vapor-liquid separation tank, the top of the first partition plate is fixedly connected with a plurality of upper cooling connecting pipes which are respectively communicated with the plurality of first air outlet holes, the top of the inner partition plate is fixedly connected with a plurality of upper cooling pipes which are respectively communicated with the plurality of second air outlet holes, the top ends of the plurality of upper cooling connecting pipes are respectively fixedly connected to the side walls of the upper cooling pipes, one ends of the plurality of upper cooling pipes are respectively communicated with the third cooling cavity, and a third air outlet hole which is communicated with the third cooling cavity is formed in the side wall of the bottom of the vapor-liquid separation tank.
Preferably, week side fixedly connected with a plurality of evenly distributed's mount pad on the lateral wall of vapour-liquid separation jar, it is a plurality of all fix the seat on one side of mount pad through bolt fixedly connected with, it is a plurality of go up the equal fixedly connected with support column in one side of fix the bottom of support column is fixed seat, a plurality of under the equal fixedly connected with in bottom of support column the mounting hole has all been seted up at the top of lower fix.
Preferably, fixed solid fixed ring, it is a plurality of fixed connection has the supporting seat, a plurality of on the lateral wall of air inlet fill equal fixedly connected with supporting seat, a plurality of on the lateral wall of one side of supporting seat equal fixedly connected with fixed plate, a plurality of the equal fixed connection in one end of fixed plate is in on the lateral wall of solid fixed ring.
Preferably, the aqueous solution absorption mechanism comprises an aqueous solution storage tank, one end of the exhaust connecting pipe extends to the inner wall of the bottom of the aqueous solution storage tank and is fixedly connected with a dispersion plate, and a plurality of dispersion holes are formed in the dispersion plate;
a drain pipe is fixedly connected to the side wall of the bottom of the aqueous solution storage tank, an overflow pipe is fixedly connected to the side wall of the aqueous solution storage tank, an exhaust pipe is fixedly connected to the top of the aqueous solution storage tank, a liquid resistance layer is arranged in the aqueous solution storage tank, and a check valve is arranged on the exhaust connecting pipe;
the water solution storage tank is internally provided with biodiesel and ten percent of sodium hydroxide water solution.
In conclusion, the technical effects and advantages of the invention are as follows:
1. the gas-liquid separation device is reasonable in structure, gas and liquid separation of gas discharged from the overhead exhaust pipe (30) is realized by arranging the gas-liquid separation mechanism and the aqueous solution absorption mechanism, and separated tail gas is treated, so that the gas discharged from the overhead exhaust pipe (30) is prevented from being directly discharged into the liquid receiving barrel to cause liquid splashing, and toxic gases such as acetone and the like are prevented from being directly discharged into the environment to cause environmental pollution and harm to personnel;
2. in the invention, the flow rate of the vapor-liquid mixture in the exhaust connecting pipe (34) is monitored by arranging the monitoring system, the first vapor-liquid separation unit and the second vapor-liquid separation unit, manual control is not needed, the flow rate of the gas flowing into the exhaust connecting pipe (34) is effectively reduced, the phenomenon that the water solution is splashed when tail gas is treated to influence the absorption of the water solution of the vapor-liquid mixture is avoided, and a natural cooling mechanism and a refrigerator are arranged, so that the cooling mode when the vapor-liquid mixture is separated is selected according to actual conditions, on one hand, the energy consumption is favorably reduced, the environment is better, on the other hand, the vapor-liquid mixture is rapidly cooled, the vaporized acetone in the vapor-liquid mixture is favorably and rapidly condensed and liquefied, the gas and the liquid in the vapor-liquid mixture are rapidly separated, and the flow rate of the gas flowing into the exhaust connecting pipe is further effectively reduced, the treatment effect of the aqueous solution on the tail gas is improved, the recovery rate of acetone is improved, and the waste of acetone liquid is avoided;
3. according to the invention, the spiral number of the first vapor-liquid separation outer spiral blade is greater than that of the second vapor-liquid separation outer spiral blade, so that the first vapor-liquid separation unit and the second vapor-liquid separation unit have different gas and liquid separation effects on a vapor-liquid mixture, the first vapor-liquid separation unit increases the stroke of the vapor-liquid mixture, the gas flow rate after the vapor-liquid mixture is separated is favorably reduced, the retention time of the vapor-liquid mixture during separation is long, the gas and liquid separation effect of the vapor-liquid mixture is improved, the stroke of the second vapor-liquid separation unit during separation of the vapor-liquid mixture is short, the retention time of the vapor-liquid mixture during separation is short, and the separation processing speed of the vapor-liquid mixture is improved;
4. according to the invention, the air inlet hopper and the cooling main pipe form pipe orifices with different diameters, so that when external air enters the cooling main pipe through the air inlet hopper, the flow velocity of the air is increased, the temperature of the air is reduced, the air with the reduced temperature respectively enters the lower cooling pipe and the lower cooling connecting pipe through the cooling main pipe and respectively enters the second cooling cavity on the inner partition plate and the first cooling cavity on the first partition plate, the first partition plate and the inner partition plate are cooled, acetone in a vapor-liquid mixture is favorably condensed into liquid, and compared with a traditional mode, the cooling effect of the cooling device is better.
Drawings
In order to more clearly illustrate the embodiments of the present application or the technical solutions in the prior art, the drawings used in the description of the embodiments or the prior art will be briefly described below, it is obvious that the drawings in the following description are only some embodiments of the present application, and other drawings can be obtained by those skilled in the art without creative efforts.
FIG. 1 is a schematic diagram of a pipeline overhead exhaust treatment device;
FIG. 2 is a schematic perspective view of a vapor-liquid separating mechanism;
FIG. 3 is a schematic view of a vapor-liquid separating mechanism with a partially cut-away and enlarged structure;
FIG. 4 is an enlarged schematic perspective view of the first vapor-liquid separation unit and the second vapor-liquid separation unit;
FIG. 5 is an enlarged schematic perspective view of the first vapor-liquid separation unit;
FIG. 6 is an enlarged perspective view of a second vapor-liquid separation unit;
FIG. 7 is a schematic view of an enlarged three-dimensional structure of the air inlet funnel, the cooling main pipe and the connecting pipe of the refrigerator;
FIG. 8 is a general schematic of exhaust flow and cold air flow;
FIG. 9 is a schematic exhaust flow direction of the first vapor-liquid separation unit;
FIG. 10 is a schematic exhaust flow direction of a second vapor-liquid separation unit;
fig. 11 is a schematic view of the flow direction of cold air of the refrigerator and the natural cooling mechanism.
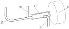
In the figure: 1. a vapor-liquid separation tank; 2. a steam pipe; 3. an upper cooling pipe; 4. an upper cooling connecting pipe; 5. an air outlet connecting pipe; 6. an air outlet cover; 7. an upper outer cover plate; 8. an air inlet hopper; 9. a first vapor-liquid separation outer helical blade; 10. a first separator; 11. an outer partition plate; 12. a first vapor-liquid separating inner helical blade; 13. a second separator; 14. a second vapor-liquid separation outer helical blade; 15. an inner partition plate; 16. a second vapor-liquid separation inner helical blade; 17. cooling the main pipe; 18. a first control valve; 19. a second control valve; 20. a lower inner cover plate; 21. a lower outer cover plate; 22. a first connection hole; 23. a second connection hole; 24. a refrigerator connecting pipe; 25. a lower cooling tube; 26. a lower cooling connecting pipe; 27. a root valve pipe; 28. a blowdown valve pipe; 29. exchange station connecting pipes; 30. an overhead exhaust pipe; 31. a lens; 32. a pressure gauge; 33. a check valve; 34. an exhaust connecting pipe; 35. an exhaust pipe; 36. a liquid-resistant layer; 37. an overflow pipe; 38. a sewage discharge pipe.
Detailed Description
The technical solutions in the embodiments of the present invention will be clearly and completely described below with reference to the drawings in the embodiments of the present invention, and it is obvious that the described embodiments are only a part of the embodiments of the present invention, and not all of the embodiments. All other embodiments, which can be derived by a person skilled in the art from the embodiments given herein without making any creative effort, shall fall within the protection scope of the present invention.
Example (b): referring to fig. 1-7, an elevated pipeline exhaust gas treatment device includes a storage tank, aroot valve pipe 27 and ablowdown valve pipe 28 are fixedly connected to the storage tank, one end of theroot valve pipe 27 and one end of theblowdown valve pipe 28 are connected to an exchange station through an exchangestation connecting pipe 29, anelevated exhaust pipe 30 is fixedly connected to the exchangestation connecting pipe 29, the elevated pipeline exhaust gas treatment device further includes a vapor-liquid separation mechanism, a water solution absorption mechanism, a refrigerator, a natural cooling mechanism and a monitoring system, the vapor-liquid separation mechanism is connected to theelevated exhaust pipe 30, the vapor-liquid separation mechanism is connected to the water solution mechanism through anexhaust connecting pipe 34, and both the refrigerator and the natural cooling mechanism are connected to the vapor-liquid separation mechanism through pipelines;
the vapor-liquid separation mechanism is used for separating gas and liquid from a vapor-liquid mixture, the aqueous solution mechanism is used for absorbing aqueous solution from the separated gas and part of mixed liquid, and the natural cooling mechanism is used for naturally cooling the vapor-liquid mixture in the vapor-liquid separation mechanism;
the gas-liquid separation mechanism comprises a first gas-liquid separation unit and a second gas-liquid separation unit, and the refrigerator and the natural cooling mechanism are used for cooling the first gas-liquid separation unit and the second gas-liquid separation unit;
the monitoring system is used for monitoring the gas flow rate in theexhaust connecting pipe 34 and the temperature of the gas-liquid mixture in the gas-liquid separating mechanism, and when the gas flow rate in theexhaust connecting pipe 34 does not meet a set flow rate value and the temperature of the gas-liquid mixture in the gas-liquid separating mechanism does not meet a set temperature value, the refrigerator, the first gas-liquid separating unit and the second gas-liquid separating unit work to enable the gas flow rate to recover from the set flow rate value and the temperature of the gas-liquid mixture to recover from the set temperature value.
As an implementation manner in this embodiment, the monitoring system includes a gas flow rate sensor and a temperature sensor, the gas flow rate sensor is used for monitoring the current gas flow rate in theexhaust connecting pipe 34, and the temperature sensor is used for monitoring the current temperature of the vapor-liquid mixture in the vapor-liquid separation mechanism;
when S is1Is > S, and T1When the flow rate is more than T, the gas flow rate sensor monitors that the current gas flow rate is more than the set flow rate value, at the moment, the gas flow rate sensor sends a monitoring signal to the central controller, the central controller receives the signal by the signal processing module, and processes the signal, sends the judgment result signal to the central controller signal execution module, the central controller signal execution module receives the signal, and sends an instruction to a controller on the first vapor-liquid separation unit, the controller on the first vapor-liquid separation unit receives a signal, and sends a starting instruction to the first vapor-liquid separation unit to enable the first vapor-liquid separation unit to start working, the gas-liquid mixture is subjected to gas-liquid separation, the flow rate of the gas-liquid mixture is quickly reduced by the first gas-liquid separation unit, the flow rate of the gas flowing into the exhaust connecting pipe 34 is effectively reduced, and the aqueous solution splashing is avoided when the tail gas is treated; the temperature sensor monitors that the current temperature of the vapor-liquid mixture is greater than a set temperature value, the temperature sensor sends a monitoring signal to the central controller, the central controller signal processing module receives and processes the signal, the judgment result signal is sent to the central controller signal execution module, the central controller signal execution module receives the signal and sends an instruction to the controller on the refrigerator, the controller on the refrigerator receives the signal and sends a starting instruction to the refrigerator, the refrigerator starts to work, the vapor-liquid separation mechanism is actively cooled, the vapor-liquid mixture is rapidly cooled, vaporized acetone in the vapor-liquid mixture is rapidly condensed and liquefied, and the vapor-liquid mixture is mixed with the vapor and liquidThe gas and the liquid in the substance are quickly separated, the flow rate of the gas flowing into the exhaust connecting pipe 34 is further effectively reduced, the treatment effect of the aqueous solution on the tail gas is improved, and the recovery rate of the acetone is improved; wherein S1Indicates the current gas flow rate in the exhaust connection pipe 34, S indicates a preset flow rate value of the gas flow rate in the exhaust connection pipe 34, T1The temperature of the vapor-liquid mixture in the vapor-liquid separation mechanism is currently represented, and T represents a preset temperature value of the vapor-liquid mixture in the vapor-liquid separation mechanism;
when S is1Is > S, and T1When the current gas flow rate is less than or equal to T, the gas flow rate sensor monitors that the current gas flow rate is greater than a set flow rate value, at the moment, the gas flow rate sensor sends a monitoring signal to the central controller, the central controller receives the signal by the signal processing module, and processes the signal, sends the judgment result signal to the central controller signal execution module, the central controller signal execution module receives the signal, and sends an instruction to a controller on the first vapor-liquid separation unit, the controller on the first vapor-liquid separation unit receives a signal, and sends a starting instruction to the first vapor-liquid separation unit to enable the first vapor-liquid separation unit to start working, the gas-liquid mixture is subjected to gas-liquid separation, the flow rate of the gas-liquid mixture is quickly reduced by the first gas-liquid separation unit, the flow rate of the gas flowing into the exhaust connecting pipe 34 is effectively reduced, and the aqueous solution splashing is avoided when the tail gas is treated; the temperature sensor monitors that the current temperature of the vapor-liquid mixture is less than or equal to a set temperature value, the refrigerator does not work at the moment, and the vapor-liquid separation mechanism is cooled by the natural cooling mechanism, so that the energy consumption is reduced, and the environment-friendly effect is better;
when S is1S is less than or equal to S, and T1When the gas flow rate is larger than T, the gas flow rate sensor monitors that the current gas flow rate is smaller than or equal to a set flow rate value, at the moment, the first gas-liquid separation unit does not work, the second gas-liquid separation unit works, and gas and liquid separation is carried out on a gas-liquid mixture; the temperature sensor monitors that the current temperature of the vapor-liquid mixture is higher than a set temperature value, the temperature sensor sends a monitoring signal to the central controller, the central controller receives the signal by the signal processing module,the signal is processed, the judgment result signal is sent to the central controller signal execution module, the central controller signal execution module receives the signal and sends an instruction to the controller on the refrigerator, the controller on the refrigerator receives the signal and sends a starting instruction to the refrigerator, the refrigerator starts to work, the vapor-liquid separation mechanism is actively cooled, the vapor-liquid mixture is rapidly cooled, the vaporized acetone in the vapor-liquid mixture is rapidly condensed and liquefied, the gas and the liquid in the vapor-liquid mixture are rapidly separated, the flow rate of the gas flowing into the exhaust connecting pipe 34 is further effectively reduced, the treatment effect of the water solution on the tail gas is improved, and the recovery rate of the acetone is improved;
when S is1S is less than or equal to S, and T1When the gas flow rate is less than or equal to T, the state is an initial setting state of the overhead exhaust gas treatment device, the gas flow rate sensor monitors that the current gas flow rate is less than or equal to a set flow rate value, at the moment, the first gas-liquid separation unit does not work, the second gas-liquid separation unit works, and gas and liquid separation is carried out on a gas-liquid mixture; the temperature sensor monitors that the current temperature of the vapor-liquid mixture is less than or equal to a set temperature value, the refrigerator does not work at the moment, and the vapor-liquid separation mechanism is cooled through the natural cooling mechanism, so that the energy consumption is reduced, and the environment-friendly effect is better.
As an implementation manner in this embodiment, the vapor-liquid separation mechanism further includes a vapor-liquid separation tank 1, a sidewall of the vapor-liquid separation tank 1 is fixedly connected with an exhaust inlet pipe communicated with the sidewall, the exhaust inlet pipe is fixedly connected with anoverhead exhaust pipe 30, and both the first vapor-liquid separation unit and the second vapor-liquid separation unit are located in the vapor-liquid separation tank 1;
the first vapor-liquid separation unit comprises a first partition plate 10 arranged in the vapor-liquid separation tank 1 and an outer partition plate 11 sleeved in the first partition plate 10, a plurality of first vapor-liquid separation outer spiral blades 9 uniformly distributed on the peripheral side are fixedly connected between the vapor-liquid separation tank 1 and the first partition plate 10, a plurality of first vapor-liquid separation inner spiral blades 12 uniformly distributed on the peripheral side are fixedly connected between the first partition plate 10 and the outer partition plate 11, a plurality of first connecting holes 22 uniformly distributed are formed in the top end of the first partition plate 10, vapor-liquid separation cavities formed by the first partition plate 10, the outer partition plate 11 and the plurality of first vapor-liquid separation inner spiral blades 12 are respectively communicated with vapor-liquid separation cavities formed by the vapor-liquid separation tank 1, the first partition plate 10 and the plurality of first vapor-liquid separation outer spiral blades 9 through the plurality of first connecting holes 22, first control valves 18 are respectively installed at the bottom ends of the plurality of first vapor-liquid separation outer spiral blades 9, a second clapboard 13 is sleeved in the outer clapboard 11, the bottom ends of the second clapboard 13 and the first clapboard 10 are fixedly connected with a same lower outer cover plate 21, the tops of the vapor-liquid separation tank 1 and the outer clapboard 11 are fixedly connected with a same upper outer cover plate 7, the top of the outer clapboard 11 is fixedly connected with an air outlet cover 6, a cavity formed by the second clapboard 13, the first clapboard 10, the outer clapboard 11 and the lower outer cover plate 21 is communicated with the air outlet cover 6, a first control valve 18 is opened, a vapor-liquid mixture enters a vapor-liquid separation cavity formed by the first clapboard 10, the outer clapboard 11 and a plurality of first vapor-liquid separation inner spiral blades 12 from the bottom ends of a plurality of first vapor-liquid separation outer spiral blades 9 to carry out first-step gas and liquid separation, the vapor-liquid mixture after preliminary separation enters the vapor-liquid separation tank 1, the first clapboard 10 and the vapor-liquid separation cavity formed by the plurality of first vapor-liquid separation outer spiral blades 9 through a plurality of first connecting holes 22, performing gas and liquid separation in the second step, and finally enabling the separated gas to flow into the gas outlet cover 6 through a cavity formed by the second partition plate 13, the first partition plate 10, the outer partition plate 11 and the lower outer cover plate 21;
the second vapor-liquid separation unit comprises an inner partition plate 15 sleeved in the outer partition plate 11, a vapor pipe 2 is sleeved in the inner partition plate 15, a plurality of second vapor-liquid separation outer spiral blades 14 which are uniformly distributed on the peripheral side are fixedly connected between the second partition plate 13 and the inner partition plate 15, a plurality of second vapor-liquid separation inner spiral blades 16 which are uniformly distributed on the peripheral side are fixedly connected between the inner partition plate 15 and the vapor pipe 2, a plurality of second connecting holes 23 which are uniformly distributed are formed in the top end of the inner partition plate 15, a vapor-liquid separation cavity formed by the second partition plate 13, the inner partition plate 15 and the plurality of second vapor-liquid separation outer spiral blades 14 is respectively communicated with vapor-liquid separation cavities formed by the inner partition plate 15, the vapor pipe 2 and the plurality of second vapor-liquid separation inner spiral blades 16 through the plurality of second connecting holes 23, second control valves 19 are respectively installed at the bottom ends of the plurality of second vapor-liquid separation outer spiral blades 14, and the same lower inner partition plate 20 is fixedly connected at the bottoms of the inner partition plate 15 and the vapor pipe 2, the top parts of the second partition plate 13 and the steam pipe 2 are fixedly connected with the same upper inner cover plate, the top end of the steam pipe 2 is fixedly connected with an exhaust connecting pipe 34, the second control valve 19 is opened, a steam-liquid mixture enters a steam-liquid separation cavity formed by the second partition plate 13, the inner partition plate 15 and the plurality of second steam-liquid separation outer spiral blades 14 from the bottom ends of the plurality of second steam-liquid separation outer spiral blades 14 to be subjected to first-step gas and liquid separation, the steam-liquid mixture after preliminary separation enters the steam-liquid separation cavity formed by the inner partition plate 15, the steam pipe 2 and the plurality of second steam-liquid separation inner spiral blades 16 through the plurality of second connecting holes 23 to be subjected to second-step gas and liquid separation, and the separated gas finally flows to the exhaust connecting pipe 34 through the steam pipe 2;
theair outlet cover 6 is communicated with thesteam pipe 2 through a plurality of airoutlet connecting pipes 5, and gas flowing into theair outlet cover 6 flows into thesteam pipe 2 through the airoutlet connecting pipes 5;
liquid outlet valve pipes are fixedly connected to the bottoms of the lowerouter cover plate 21 and the lowerinner cover plate 20, and liquid separated from the vapor-liquid mixture flows into the vapor-liquid separation tank 1 through the liquid outlet valve pipes;
the spiral number of the first vapor-liquid separationouter spiral blades 9 is larger than that of the second vapor-liquid separationouter spiral blades 14, and the arrangement has the advantages that the first vapor-liquid separation unit and the second vapor-liquid separation unit have different gas-liquid separation effects on vapor-liquid mixtures, the stroke of the vapor-liquid mixtures is increased by the first vapor-liquid separation unit, the reduction of the gas flow rate after the vapor-liquid mixtures are separated is facilitated, the retention time during the vapor-liquid mixture separation is long, the gas-liquid separation effect of the vapor-liquid mixtures is improved, the stroke of the second vapor-liquid separation unit during the vapor-liquid mixture separation is short, the retention time during the vapor-liquid mixture separation is short, and the vapor-liquid mixture separation processing speed is improved.
In this embodiment, apressure gauge 32 is fixedly connected to the top of the vapor-liquid separation tank 1, thepressure gauge 32 is used for monitoring the pressure in the vapor-liquid separation tank 1, and a lens 31 is disposed on the exhaust inlet pipe.
In this embodiment, the natural cooling mechanism includes a first cooling cavity and a second cooling cavity, the first cooling cavity and the second cooling cavity are respectively opened in the first partition board 10 and the second partition board 15, the bottom of the inner partition board 15 is fixedly connected with a plurality of lower cooling pipes 25 which are uniformly distributed on the peripheral side, the second cooling cavity is communicated with the plurality of lower cooling pipes 25, the bottom of the first partition board 10 is fixedly connected with a plurality of lower cooling connecting pipes 26 which are uniformly distributed on the peripheral side, the first cooling cavity is communicated with the plurality of lower cooling connecting pipes 26, the bottom of the lower cooling connecting pipes 26 is fixedly connected to the side wall of the lower cooling pipes 25, one end of each of the plurality of lower cooling pipes 25 is fixedly connected with a cooling main pipe 17, one end of each of the plurality of cooling main pipes 17 extends to the outside of the vapor-liquid separation tank 1 and is fixedly connected with an air inlet hopper 8, the air inlet hopper 8 and the cooling main pipe 17 form pipe orifices with different diameters, so that when outside air enters the cooling main pipe 17 through the air inlet hopper 8, the flow velocity of the wind is increased, the temperature of the wind is reduced, the wind with the reduced temperature enters the lower cooling pipe 25 and the lower cooling connecting pipe 26 through the cooling main pipe 17 and enters the second cooling cavity on the inner partition plate 15 and the first cooling cavity on the first partition plate 10 respectively to cool the first partition plate 10 and the inner partition plate 15, so that the acetone in the vapor-liquid mixture can be condensed into liquid, and compared with the traditional mode, the cooling effect of the embodiment is better;
the side walls of the coolingmain pipes 17 are fixedly connected withrefrigerator connecting pipes 24, cold air exhaust pipes of the refrigerators are fixedly connected with therefrigerator connecting pipes 24, when active cooling is carried out, cold air generated by the refrigerators flows to therefrigerator connecting pipes 24 through the cold air exhaust pipes, finally enters a second cooling cavity on theinner partition plate 15 and a first cooling cavity on thefirst partition plate 10 through thelower cooling pipe 25, and an air outlet end of therefrigerator connecting pipe 24 is arranged at an acute angle with the horizontal plane and faces one side of thelower cooling pipe 25;
the top of thefirst partition plate 10 is provided with a plurality of first air outlet holes, and the top of theinner partition plate 15 is provided with a plurality of second air outlet holes.
In this embodiment, a third cooling cavity is formed in the vapor-liquid separation tank 1, the top of thefirst partition plate 10 is fixedly connected with a plurality of uppercooling connection pipes 4 respectively communicated with a plurality of first air outlet holes, the top of theinner partition plate 15 is fixedly connected with a plurality ofupper cooling pipes 3 respectively communicated with a plurality of second air outlet holes, the top ends of the plurality of uppercooling connection pipes 4 are respectively fixedly connected to the side walls of theupper cooling pipes 3, one ends of the plurality ofupper cooling pipes 3 are all communicated with the third cooling cavity, the bottom side wall of the vapor-liquid separation tank 1 is provided with third air outlet holes communicated with the third cooling cavity, air cooled by thefirst partition plate 10 and thefirst partition plate 15 flows into the third cooling cavity on the vapor-liquid separation tank 1 through the uppercooling connection pipes 4 and theupper cooling pipes 3, the vapor-liquid separation tank 1 is further cooled, and acetone liquid concentrated in the vapor-liquid separation tank 1 is better cooled and stored, the acetone liquid volatilization acceleration caused by overhigh temperature is avoided.
In this embodiment, week side fixedly connected with a plurality of evenly distributed's mount pad on the lateral wall of vapour-liquid separation jar 1, the fixing base is all gone up through bolt fixedly connected with in one side of a plurality of mount pads, the equal fixedly connected with support column in one side of a plurality of last fixing base, the fixing base under the equal fixedly connected with in bottom of a plurality of support columns, the mounting hole has all been seted up at the top of a plurality of lower fixing bases.
In this embodiment, fixed the cup jointing has solid fixed ring on the lateral wall of vapour-liquid knockout drum 1, and equal fixedly connected with supporting seat on the lateral wall of a plurality of air inlet fill 8, equal fixedly connected with fixed plate on the lateral wall of one side of a plurality of supporting seats, the equal fixed connection of one end of a plurality of fixed plates is on solid fixed ring's lateral wall.
As an implementation manner in this embodiment, the aqueous solution absorption mechanism includes an aqueous solution storage tank, one end of theexhaust connection pipe 34 extends to the inner wall of the bottom of the aqueous solution storage tank, and is fixedly connected with a dispersion plate, and a plurality of dispersion holes are formed on the dispersion plate, so that the arrangement has the advantages of delaying the retention time of gas in the aqueous solution, and increasing the solubility of residual acetone in water;
asewage discharge pipe 38 is fixedly connected to the side wall of the bottom of the aqueous solution storage tank, anoverflow pipe 37 is fixedly connected to the side wall of the aqueous solution storage tank, anexhaust pipe 35 is fixedly connected to the top of the aqueous solution storage tank, a liquid-blockinglayer 36 is arranged in the aqueous solution storage tank, acheck valve 33 is arranged on theexhaust connecting pipe 34, and the aqueous solution is prevented from being blown out of the aqueous solution storage tank by the liquid-blockinglayer 36;
the water solution storage tank is internally provided with biodiesel and ten percent of sodium hydroxide water solution, the sodium hydroxide water solution is used for treating phenol overhead exhaust gas, and the biodiesel is used for absorbing water-insoluble or slightly water-soluble liquid chemicals such as butanol and the like.
The working principle of the invention is as follows:
the gas flow rate sensor is used for monitoring the gas flow rate in the currentexhaust connecting pipe 34, and the temperature sensor is used for monitoring the temperature of the gas-liquid mixture in the current gas-liquid separation mechanism;
at initial state setting, S1S is less than or equal to S, and T1The gas flow rate sensor monitors that the current gas flow rate is less than or equal to a set flow rate value, the first gas-liquid separation unit does not work at the moment, the second gas-liquid separation unit works, the second control valve 19 is opened, a gas-liquid mixture enters a gas-liquid separation cavity formed by the second partition plate 13, the inner partition plate 15 and the plurality of second gas-liquid separation outer spiral blades 14 from the bottom ends of the plurality of second gas-liquid separation outer spiral blades 14 to be subjected to first-step gas and liquid separation, the gas-liquid mixture after primary separation enters the gas-liquid separation cavity formed by the inner partition plate 15, the gas pipe 2 and the plurality of second gas-liquid separation inner spiral blades 16 through the plurality of second connecting holes 23 to be subjected to second-step gas and liquid separation, and the separated gas finally flows to the exhaust connecting pipe 34 through the gas pipe 2; the temperature sensor monitors that the current temperature of the vapor-liquid mixture is less than or equal to a set temperature value, at the moment, the refrigerator does not work, the vapor-liquid separation mechanism is cooled through the natural cooling mechanism, the air inlet hopper 8 and the cooling main pipe 17 form pipe orifices with different diameters, so that when external air enters the cooling main pipe 17 through the air inlet hopper 8, the flow rate of the air is increased, the temperature of the air is reduced, the air with the reduced temperature enters the lower cooling pipe 25 and the lower cooling connecting pipe 26 through the cooling main pipe 17 respectively and enters the second cooling cavity on the inner partition plate 15 and the first cooling cavity on the first partition plate 10 respectively, and the first partition plate 10 and the inner partition plate 15 are cooled, so that acetone in the vapor-liquid mixture can be condensed into liquid, compared with the traditional mode, the cooling effect of the embodiment is better, the energy consumption can be reduced, and the environment friendliness is better;
when S is1Is > S, and T1Gas flow rate > TWhen the sensor monitors that the current gas flow rate is larger than a set flow rate value, the gas flow rate sensor sends a monitoring signal to the central controller, the central controller signal processing module receives and processes the signal, the judgment result signal is sent to the central controller signal execution module, the central controller signal execution module receives the signal and sends an instruction to the controller on the first gas-liquid separation unit, the controller on the first gas-liquid separation unit receives the signal and sends a starting instruction to the first gas-liquid separation unit to enable the first gas-liquid separation unit to start to work, the first control valve 18 is opened, a gas-liquid mixture enters a gas-liquid separation cavity formed by the first partition plates 10, the outer partition plates 11 and the first gas-liquid separation inner spiral blades 12 from the bottom ends of the first gas-liquid separation outer spiral blades 9 to perform first-step gas and liquid separation, the primarily separated gas-liquid mixture enters a gas-liquid separation cavity formed by the gas-liquid separation tank 1, the first partition plate 10 and the plurality of first gas-liquid separation outer spiral blades 9 through the plurality of first connecting holes 22, gas and liquid are separated in the second step, the separated gas finally flows into the gas outlet cover 6 through a cavity formed by the second partition plate 13, the first partition plate 10, the outer partition plate 11 and the lower outer cover plate 21, the gas flows into the gas outlet cover 6 and flows into the gas pipe 2 through the gas outlet connecting pipe 5, and finally flows into the aqueous solution storage tank through the gas outlet connecting pipe 34 and is treated by biodiesel and ten percent of sodium hydroxide aqueous solution in the aqueous solution storage tank, the flow rate of the gas-liquid mixture is quickly reduced by the first gas-liquid separation unit, the flow rate of the gas flowing into the gas outlet connecting pipe 34 is effectively reduced, and aqueous solution splashing is avoided when tail gas is treated; the temperature sensor monitors that the current temperature of the vapor-liquid mixture is greater than a set temperature value, the temperature sensor sends a monitoring signal to the central controller, the central controller signal processing module receives and processes the signal, the judgment result signal is sent to the central controller signal execution module, the central controller signal execution module receives the signal and sends an instruction to the controller on the refrigerator, the controller on the refrigerator receives the signal and sends a starting instruction to the refrigerator, the refrigerator starts to work, cold air generated by the refrigerator flows to the refrigerator through the cold air exhaust pipe to be connected with the refrigeratorThe connecting pipe 24 finally enters a second cooling cavity on the inner partition plate 15 and a first cooling cavity on the first partition plate 10 through the lower cooling pipe 25, and is used for actively cooling the vapor-liquid separation mechanism, so that the vapor-liquid mixture is rapidly cooled, the vaporized acetone in the vapor-liquid mixture is rapidly condensed and liquefied, the gas and the liquid in the vapor-liquid mixture are rapidly separated, the gas flow velocity flowing into the exhaust connecting pipe 34 is further effectively reduced, the treatment effect of the water solution on the tail gas is improved, and the recovery rate of the acetone is improved;
when S is1Is > S, and T1When the temperature is less than or equal to T, the first vapor-liquid separation unit works, the working steps are as above, at the moment, the refrigerator does not work, and the vapor-liquid separation mechanism is cooled through the natural cooling mechanism, so that the energy consumption is reduced, and the environment friendliness is better;
when S is1S is less than or equal to S, and T1When the temperature is higher than T, the second vapor-liquid separation unit works, and the working steps are as above; the refrigerator starts to work, the vapor-liquid separation mechanism is actively cooled, the vapor-liquid mixture is rapidly cooled, the vaporized acetone in the vapor-liquid mixture is favorably and rapidly condensed and liquefied, the gas and the liquid in the vapor-liquid mixture are rapidly separated, the flow rate of the gas flowing into theexhaust connecting pipe 34 is further effectively reduced, the treatment effect of the water solution on the tail gas is improved, and the recovery rate of the acetone is improved;
the spiral number of the first vapor-liquid separationouter spiral blades 9 is larger than that of the second vapor-liquid separationouter spiral blades 14, and the arrangement has the advantages that the first vapor-liquid separation unit and the second vapor-liquid separation unit have different gas-liquid separation effects on vapor-liquid mixtures, the stroke of the vapor-liquid mixtures is increased by the first vapor-liquid separation unit, the reduction of the gas flow rate after the vapor-liquid mixtures are separated is facilitated, the retention time during the vapor-liquid mixture separation is long, the gas-liquid separation effect of the vapor-liquid mixtures is improved, the stroke of the second vapor-liquid separation unit during the vapor-liquid mixture separation is short, the retention time during the vapor-liquid mixture separation is short, and the vapor-liquid mixture separation processing speed is improved.
Finally, it should be noted that: although the present invention has been described in detail with reference to the foregoing embodiments, it will be apparent to those skilled in the art that modifications may be made to the embodiments or portions thereof without departing from the spirit and scope of the invention.

Claims (9)

1. An elevated pipeline exhaust gas treatment device comprises a storage tank, wherein a root valve pipe (27) and a blowdown valve pipe (28) are fixedly connected to the storage tank, one ends of the root valve pipe (27) and the blowdown valve pipe (28) are connected with an exchange station through an exchange station connecting pipe (29), and an elevated exhaust pipe (30) is fixedly connected to the exchange station connecting pipe (29), and the elevated pipeline exhaust gas treatment device is characterized by further comprising a vapor-liquid separation mechanism, a water solution absorption mechanism, a refrigerator, a natural cooling mechanism and a monitoring system, wherein the vapor-liquid separation mechanism is connected with the elevated exhaust pipe (30), the vapor-liquid separation mechanism is connected with the water solution mechanism through an exhaust connecting pipe (34), and the refrigerator and the natural cooling mechanism are both connected with the vapor-liquid separation mechanism through pipelines;
first vapour-liquid separation unit is located including setting up in first baffle (10) and cover in vapour-liquid separation jar (1) outer baffle (11) in first baffle (10), vapour-liquid separation jar (1) with outer helical blade (9) of the first vapour-liquid separation of a plurality of week side evenly distributed of fixedly connected with between first baffle (10), first baffle (10) with outer baffle (11) between the first vapour-liquid separation of a plurality of week side evenly distributed of fixedly connected with helical blade (12), a plurality of evenly distributed's first connecting hole (22) have been seted up on the top of first baffle (10), outer baffle (11) and a plurality of the vapour-liquid separation cavity that inner helical blade (12) formed in the first vapour-liquid separation with vapour-liquid separation jar (1), first baffle (10) and a plurality of the vapour-liquid separation cavity that first vapour-liquid separation helical blade (9) formed is respectively through a plurality of institute The first connecting holes (22) are communicated, the bottom ends of the first gas-liquid separation outer spiral blades (9) are respectively provided with a first control valve (18), the outer partition plate (11) is internally sleeved with a second partition plate (13), the bottom ends of the second partition plate (13) and the first partition plate (10) are fixedly connected with a same lower outer cover plate (21), the top parts of the gas-liquid separation tank (1) and the outer partition plate (11) are fixedly connected with a same upper outer cover plate (7), the top part of the outer partition plate (11) is fixedly connected with a gas outlet cover (6), and a cavity formed by the second partition plate (13), the first partition plate (10), the outer partition plate (11) and the lower outer cover plate (21) is communicated with the gas outlet cover (6);
the second vapor-liquid separation unit comprises an inner partition plate (15) sleeved in the outer partition plate (11), a vapor pipe (2) is sleeved in the inner partition plate (15), a plurality of second vapor-liquid separation outer spiral blades (14) which are uniformly distributed on the peripheral sides are fixedly connected between the second partition plate (13) and the inner partition plate (15), a plurality of second vapor-liquid separation inner spiral blades (16) which are uniformly distributed on the peripheral sides are fixedly connected between the inner partition plate (15) and the vapor pipe (2), a plurality of second connecting holes (23) which are uniformly distributed are formed in the top end of the inner partition plate (15), a vapor-liquid separation cavity formed by the second vapor-liquid separation outer spiral blades (14) and a plurality of inner partition plates (15), the vapor pipe (2) and a plurality of vapor-liquid separation cavities formed by the second vapor-liquid separation outer spiral blades (16) are respectively communicated through a plurality of second connecting holes (23), the bottom ends of the second vapor-liquid separation outer spiral blades (14) are respectively provided with a second control valve (19), the bottoms of the inner partition plates (15) and the steam pipe (2) are fixedly connected with a same lower inner cover plate (20), and the tops of the second partition plates (13) and the steam pipe (2) are fixedly connected with a same upper inner cover plate;
5. The pipeline overhead exhaust gas treatment device according to any one of claims 1 and 3, wherein: the natural cooling mechanism comprises a first cooling cavity and a second cooling cavity, the first cooling cavity and the second cooling cavity are respectively arranged in the first partition plate (10), the bottom of the inner partition plate (15) is fixedly connected with a plurality of lower cooling pipes (25) which are uniformly distributed on the periphery, the second cooling cavity is communicated with the lower cooling pipes (25), the bottom of the first partition plate (10) is fixedly connected with a plurality of lower cooling connecting pipes (26) which are uniformly distributed on the periphery, the first cooling cavity is communicated with the lower cooling connecting pipes (26), the bottom end of each lower cooling connecting pipe (26) is fixedly connected onto the side wall of the lower cooling pipe (25), one end of each lower cooling pipe (25) is fixedly connected with a cooling main pipe (17), and one end of each cooling main pipe (17) extends out of the vapor-liquid separation tank (1), and is fixedly connected with an air inlet hopper (8);
6. The pipeline overhead exhaust gas treatment device according to claim 5, wherein: a third cooling cavity is formed in the vapor-liquid separation tank (1), the top of the first partition plate (10) is fixedly connected with a plurality of upper cooling connecting pipes (4) which are communicated with the first air outlet holes respectively, the top of the inner partition plate (15) is fixedly connected with a plurality of upper cooling pipes (3) which are communicated with the second air outlet holes respectively, the top of each upper cooling connecting pipe (4) is fixedly connected to the side wall of each upper cooling pipe (3) respectively, and the one ends of the upper cooling pipes (3) are communicated with the third cooling cavity respectively, and a third air outlet hole communicated with the third cooling cavity is formed in the side wall of the bottom of the vapor-liquid separation tank (1).
CN202110721100.3A2021-06-282021-06-28Overhead exhaust treatment device for pipelineActiveCN113464842B (en)

Priority Applications (1)

Application NumberPriority DateFiling DateTitle
CN202110721100.3ACN113464842B (en)2021-06-282021-06-28Overhead exhaust treatment device for pipeline

Applications Claiming Priority (1)

Application NumberPriority DateFiling DateTitle
CN202110721100.3ACN113464842B (en)2021-06-282021-06-28Overhead exhaust treatment device for pipeline

Publications (2)

Publication NumberPublication Date
CN113464842Atrue CN113464842A (en)2021-10-01
CN113464842B CN113464842B (en)2022-03-22

Family

ID=77873333

Family Applications (1)

Application NumberTitlePriority DateFiling Date
CN202110721100.3AActiveCN113464842B (en)2021-06-282021-06-28Overhead exhaust treatment device for pipeline

Country Status (1)

CountryLink
CN (1)CN113464842B (en)

Citations (7)

* Cited by examiner, † Cited by third party
Publication numberPriority datePublication dateAssigneeTitle
JPS6135825A (en)*1984-07-261986-02-20Eiichi UrataniApparatus for dehumidifying compressed gas
US5468270A (en)*1993-07-081995-11-21Borszynski; Wac AwAssembly for wet cleaning of combustion gases derived from combustion processes, especially the combustion of coal, coke and fuel oil
CN204073791U (en)*2014-08-282015-01-07淄博正大节能新材料有限公司A kind of emission-control equipment for EO storage tank
CN107158914A (en)*2017-05-312017-09-15常州大学A kind of device for recovering oil and gas that Volatile Gas in Oil Tank is transformed into solid state gas hydrate
CN109499088A (en)*2018-12-172019-03-22广州市致顺科技有限公司One kind being suitable for the pretreated Multifunctional absorption condenser of exhaust gas and exhaust gas preprocess method
CN209900994U (en)*2019-03-282020-01-07北京库索深科技有限公司Crude oil gas recovery processing system
CN111219594A (en)*2020-01-062020-06-02阜阳国祯燃气有限公司LNG storage tank gas transmission and replacement process

Patent Citations (7)

* Cited by examiner, † Cited by third party
Publication numberPriority datePublication dateAssigneeTitle
JPS6135825A (en)*1984-07-261986-02-20Eiichi UrataniApparatus for dehumidifying compressed gas
US5468270A (en)*1993-07-081995-11-21Borszynski; Wac AwAssembly for wet cleaning of combustion gases derived from combustion processes, especially the combustion of coal, coke and fuel oil
CN204073791U (en)*2014-08-282015-01-07淄博正大节能新材料有限公司A kind of emission-control equipment for EO storage tank
CN107158914A (en)*2017-05-312017-09-15常州大学A kind of device for recovering oil and gas that Volatile Gas in Oil Tank is transformed into solid state gas hydrate
CN109499088A (en)*2018-12-172019-03-22广州市致顺科技有限公司One kind being suitable for the pretreated Multifunctional absorption condenser of exhaust gas and exhaust gas preprocess method
CN209900994U (en)*2019-03-282020-01-07北京库索深科技有限公司Crude oil gas recovery processing system
CN111219594A (en)*2020-01-062020-06-02阜阳国祯燃气有限公司LNG storage tank gas transmission and replacement process

Also Published As

Publication numberPublication date
CN113464842B (en)2022-03-22

Similar Documents

PublicationPublication DateTitle
RU2704220C2 (en)Apparatus for degassing nuclear reactor cooling system
CN108483570B (en)Oil-water separator for offshore wind farm
CN113464842B (en)Overhead exhaust treatment device for pipeline
WO2011043878A1 (en)Absorption system
RU2280825C2 (en)Floating natural gas liquefaction plant
CN214536128U (en)Rotary film type deaerator
EA017976B1 (en)Process of deaeration, deaerator, sprayer therefor (embodiments) and use thereof
CN212236627U (en) Alcohol-containing tail gas treatment device
RU2446000C1 (en)Universal mass-transfer absorbtion-desorption unit
CN219976387U (en)Drying system steam heat energy cascade utilization device
CN205549695U (en)Improve device that rises film evaporator vapor -liquid separation effect
CN117815867A (en)Comprehensive desorption system
JP2934848B2 (en) Water spray type high temperature exhaust cooler
RU2217656C1 (en)Deaerator
KR100251032B1 (en)Integral deaerator for a heat pipe steam condenser
CN111107914A (en) Distribution tray for column exchange, including housing for distribution of gas
KR20240066846A (en)Apparatus for testing high altitude environment
CN207811305U (en)Vacuum environment desulfurization wastewater and its sludge treatment equipment
KR20240088678A (en) floating body equipment
RU2225962C2 (en)Deaerator
CN219529134U (en)Water storage bottle for automobile
CN223113085U (en) A plate tower for testing the mass transfer efficiency of plate valves
CN214486053U (en)Vapor-liquid separation device
CN204478013U (en)A kind of air rotating-film deaerator
CN210568342U (en)Continuous blowdown expander

Legal Events

DateCodeTitleDescription
PB01Publication
PB01Publication
SE01Entry into force of request for substantive examination
SE01Entry into force of request for substantive examination
GR01Patent grant
GR01Patent grant

[8]ページ先頭

©2009-2025 Movatter.jp