Movatterモバイル変換


[0]ホーム

URL:


CN113456298B - Clamping device - Google Patents

Clamping device
Download PDF

Info

Publication number
CN113456298B
CN113456298BCN202110745555.9ACN202110745555ACN113456298BCN 113456298 BCN113456298 BCN 113456298BCN 202110745555 ACN202110745555 ACN 202110745555ACN 113456298 BCN113456298 BCN 113456298B
Authority
CN
China
Prior art keywords
clamping
base
sleeve
mandrel
locking
Prior art date
Legal status (The legal status is an assumption and is not a legal conclusion. Google has not performed a legal analysis and makes no representation as to the accuracy of the status listed.)
Active
Application number
CN202110745555.9A
Other languages
Chinese (zh)
Other versions
CN113456298A (en
Inventor
王建兵
徐军
林林
Current Assignee (The listed assignees may be inaccurate. Google has not performed a legal analysis and makes no representation or warranty as to the accuracy of the list.)
Shanghai Huihe Medical Instrument Co ltd
Shanghai Huihe Healthcare Technology Co Ltd
Original Assignee
Shanghai Huihe Medical Instrument Co ltd
Shanghai Huihe Healthcare Technology Co Ltd
Priority date (The priority date is an assumption and is not a legal conclusion. Google has not performed a legal analysis and makes no representation as to the accuracy of the date listed.)
Filing date
Publication date
Application filed by Shanghai Huihe Medical Instrument Co ltd, Shanghai Huihe Healthcare Technology Co LtdfiledCriticalShanghai Huihe Medical Instrument Co ltd
Priority to CN202110745555.9ApriorityCriticalpatent/CN113456298B/en
Publication of CN113456298ApublicationCriticalpatent/CN113456298A/en
Application grantedgrantedCritical
Publication of CN113456298BpublicationCriticalpatent/CN113456298B/en
Activelegal-statusCriticalCurrent
Anticipated expirationlegal-statusCritical

Links

Images

Classifications

Landscapes

Abstract

The application provides a centre gripping apparatus, mainly including the regulation base that has the dabber, wear to locate spindle centre gripping base and retaining member, the pivot joint adjusts the centre gripping subassembly of base and centre gripping base, and connect the operating module of dabber and retaining member, the operating module can be adjusted the base and removed for the centre gripping base via the dabber drive, so that the centre gripping subassembly forms different clamping angle, operating module still adjusts the retaining member and removes and butt centre gripping base for the dabber, with the clamping angle of locking centre gripping subassembly. Therefore, the clamping assembly can be prevented from twisting in the operation process, and smooth execution of operation is facilitated.

Description

Clamping device
Technical Field
The embodiment of the application relates to the technical field of medical equipment, in particular to a clamping device.
Background
The tricuspid valve is positioned at the mouth of the right atrioventricular, and the regurgitation of the tricuspid valve is caused by pulmonary hypertension, right ventricular enlargement and annular expansion of the tricuspid valve, and after the regurgitation of the tricuspid valve occurs, the symptoms of right heart failure such as hypodynamia, ascites, edema, pain in the liver area, dyspepsia, anorexia and the like are aggravated. Mild regurgitation of the tricuspid valve has no obvious clinical symptoms, but requires surgical treatment when regurgitation is severe.
Conventional treatment methods include drug therapy, and surgical methods with corresponding surgical indications. Among the surgical methods are valve replacement and valve repair. In surgical procedures, typical open chest, open heart surgery is too invasive, requiring extracorporeal circulation to be established, with a high incidence of complications and risk of infection. Many patients do not tolerate the enormous surgical risk and can only remain indefinitely at risk for death.
Currently, several products are clinically applied to the treatment of tricuspid regurgitation through a catheter, but the products are not mature in application and have technical limitations.
In view of the above, the present application aims to provide a medical clamping apparatus suitable for treating tricuspid valve regurgitation through a minimally invasive treatment method.
Disclosure of Invention
In view of the above problems, the present application provides a clamping apparatus, which can prevent the clamping assembly from twisting during the operation process, so as to facilitate the smooth execution of the operation.
The application provides a clamping apparatus, it includes: an adjustment base having a spindle; the clamping base is arranged on the mandrel in a penetrating mode; the clamping assembly is respectively pivoted with the adjusting base and the clamping base; the locking piece is arranged on the mandrel in a penetrating mode and is positioned on one side, away from the adjusting base, of the clamping base; and an operating assembly detachably connected to the spindle and the locker, respectively; wherein the operating assembly can drive the adjusting base to move relative to the clamping base through the mandrel so as to enable the clamping assembly to form different clamping angles; and the retaining member is adjustable to move axially relative to the spindle to abut the clamp base to lock the clamping angle of the clamp assembly.
Optionally, at least a portion of the spindle is threaded for screwing the retaining member with the operating assembly.
Optionally, the clamping assembly includes two clamping members, and each clamping member is pivotally connected to the adjusting base and the clamping base respectively; the operating assembly further comprises a driving rod, the mandrel is in threaded connection with one side, far away from the clamping base, of the locking piece, the driving rod is used for driving the adjusting base to move towards the direction far away from or close to the clamping base along the axial direction of the mandrel, and therefore the clamping angle formed by the clamping pieces is adjusted by adjusting the spacing distance between the adjusting base and the clamping base.
Optionally, the driving rod has a hollow structure, and a thread is formed on a side wall of the hollow structure; wherein the drive rod is rotatable circumferentially relative to the mandrel in a first direction to threadably interconnect the mandrel and the drive rod; the drive rod is also rotatable circumferentially relative to the mandrel in a second direction opposite the first direction to disengage the mandrel and the drive rod from each other.
Optionally, the operating assembly further includes a locking sleeve sleeved outside the driving rod, and configured to drive the locking member to rotate circumferentially relative to the mandrel along with the locking sleeve, so that the locking member moves axially relative to the mandrel and abuts against one side of the clamping base.
Optionally, the outer cross section of the locking member is non-circular, the distal end of the locking sleeve includes a receiving portion, and the cross section of the receiving portion is adapted to the outer cross section of the locking member, so that the locking member received in the receiving portion is circumferentially positioned with the locking sleeve.
Optionally, the locking sleeve is axially movable relative to the retaining member to position the retaining member in the receptacle or to disengage the retaining member from the receptacle.
Optionally, the operating assembly further comprises an assembly sleeve positioned on the locking sleeve and detachably combined with the clamping base.
Optionally, the assembly sleeve comprises: the lining is sleeved outside the locking sleeve, can rotate circumferentially relative to the locking sleeve and is axially fixed; a combination sleeve sleeved outside the lining and provided with a combination part with variable diameter; wherein the bushing is capable of being inserted into the combination sleeve and is capable of being driven by the locking sleeve to move axially between an abutting position and a non-abutting position relative to the combination sleeve; when the bushing is located at the abutting position, the diameter of the combining part is increased so that the combining sleeve and the clamping base can be combined with each other; when the bush is located at the non-abutting position, the diameter of the combination part is reduced, so that the combination sleeve and the clamping base can be separated from each other.
Optionally, the locking sleeve includes an annular groove, the bushing further includes at least two snap arms circumferentially distributed on the bushing, and each snap arm is snapably engaged in the annular groove to allow the bushing to circumferentially rotate and axially position with respect to the locking sleeve.
Optionally, the clamping base includes a combined structure, the combined sleeve further includes at least two combined arms circumferentially distributed on the combined sleeve, and the combined part is formed by combining the combined arms; when the bush is located at the abutting position, each combined arm can be elastically deformed by the abutting force of the bush to expand radially outwards, so that the diameter of the combined part is increased; when the bush is located at the non-abutting position, each combination arm can elastically recover and radially retract under a non-stressed state, so that the diameter of the combination part is reduced.
Optionally, the composite structure comprises at least two grooves circumferentially distributed on the clamping base.
According to the technical scheme, the clamping device provided by the embodiment of the application can be used for adjusting the clamping angle of the clamping assembly by pushing and pulling the driving rod along the axial direction of the mandrel and rotating the locking piece along the circumferential direction of the mandrel so as to lock the clamping angle of the clamping assembly, so that the clamping assembly can be effectively prevented from twisting in the operation process, and stable clamping force can be provided.
Drawings
In order to more clearly illustrate the embodiments of the present application or the technical solutions in the prior art, the drawings needed to be used in the description of the embodiments or the prior art will be briefly described below, it is obvious that the drawings in the following description are only some embodiments described in the embodiments of the present application, and other drawings can be obtained by those skilled in the art according to the drawings.
Fig. 1 to 4 are schematic overall structural views of the clamping instrument of the present application at different clamping angles, wherein fig. 2 and 4 are side sectional views of fig. 1 and 3, respectively.
Fig. 5 is an exploded view of the clamping device of the present application.
Fig. 6 to 12 are schematic structural views of components of the clamping device according to the present application.
Fig. 13-17 are schematic views of the clamping apparatus of the present application in various operating states.
Element number
10: a clamping instrument;
20: an adjustment base;
22: a mandrel;
30: a clamping base;
32: perforating holes;
40: a clamping assembly;
42: a clamping member;
422: clamping arms;
424: a pivoting arm;
50: a locking member;
52: a screw hole;
60: an operating component;
602: a drive rod;
604: a hollow structure;
606: side walls (hollow structure);
608: a locking sleeve;
610: a receptacle portion;
612: assembling a sleeve;
614: a bushing;
616: combining the sleeve;
618: a combining section;
620: an annular neck;
622: a clamping arm;
622a: a snap-fit rib;
624: a combined structure;
626: a combination arm;
626a combination rib;
628: and a groove part.
Detailed Description
In order to make those skilled in the art better understand the technical solutions in the embodiments of the present application, the technical solutions in the embodiments of the present application will be clearly and completely described below with reference to the drawings in the embodiments of the present application, and it is obvious that the described embodiments are only a part of the embodiments of the present application, and not all the embodiments. All other embodiments obtained by a person of ordinary skill in the art based on the embodiments in the present application shall fall within the scope of the protection of the embodiments in the present application.
The following will further explain the concrete implementation of the embodiments of the present application by referring to the drawings of the embodiments of the present application
Referring to fig. 1 to 5, as shown in the drawings, the clampingapparatus 10 of the present application mainly includes an adjustingbase 20, a clampingbase 30, a clampingassembly 40, a lockingmember 50, and an operatingassembly 60.
Referring to fig. 6, in the present embodiment, acore 22 is fixedly disposed on the adjustingbase 20, and at least a portion of thecore 22 is formed with a thread pattern.
Referring to fig. 7, the clampingbase 30 has a throughhole 32, so that the clampingbase 30 is disposed on thecore shaft 22 and can move axially and rotate circumferentially relative to thecore shaft 22.
The clampingassembly 40 is pivotally connected to the adjustingbase 20 and the clampingbase 30, respectively, and can form different clamping angles according to the distance between the adjustingbase 20 and the clampingbase 30.
Referring to fig. 3 to 5, in the present embodiment, the clampingassembly 40 includes two clampingmembers 42, wherein each clampingmember 42 can be pivotally connected to the adjustingbase 20 and the clampingbase 30, respectively.
Specifically, each clampingmember 42 includes aclamping arm 422 and apivoting arm 424, wherein theclamping arm 422 is pivotally connected to the adjustingbase 20, and opposite ends of the pivotingarm 424 are pivotally connected to the middle position of theclamping arm 422 and the clampingbase 30, respectively, wherein when the distance between the adjustingbase 20 and the clampingbase 30 changes, the pivotingarm 424 can drive the clampingarm 422 to rotate, so that different clamping angles are formed between the clampingmembers 42.
The lockingmember 50 is disposed through thecore shaft 22 and located on a side of the clampingbase 30 away from theadjustment base 20.
Referring to fig. 8, in the present embodiment, the lockingmember 50 has ascrew hole 52 for screwing the lockingmember 50 to thecore shaft 20, and can be forced to rotate circumferentially relative to thecore shaft 20 and then move axially relative to thecore shaft 20, thereby being positioned at different positions of thecore shaft 20.
As shown, the lockingmember 50 also has a non-circular outer cross-section such that the lockingmember 50 can be rotated circumferentially relative to themandrel 22 in synchronization with theoperation member 60 to abut against one side of the clampingbase 30 by being driven by theoperation member 60.
In the embodiment, the outer cross section of the lockingmember 50 is square, polygonal, oval, etc., but not limited thereto, and any other shape that can provide circumferential positioning between the lockingmember 50 and the operatingassembly 60 is suitable for the present application.
The operatingunit 60 detachably connects thestem 22 and thelocker 50 to drive the adjustingbase 20 to move relative to the clampingbase 30 via thestem 22, so that the clampingunit 40 forms different clamping angles according to different separation distances between the adjustingbase 20 and the clampingbase 30, and thelocker 50 is adjusted to move axially relative to thestem 22 and abut against the clampingbase 30, and the current clamping angle of the clampingunit 40 is locked by limiting the separation distance between the clampingbase 30 and the adjustingbase 20.
In this embodiment, the operatingassembly 60 may include a drivingrod 602, which is screwed to thespindle 22 at a side of the lockingmember 50 away from the clampingbase 30, for driving the adjustingbase 20 to move in a direction away from or close to the clampingbase 30 along an axial direction of thespindle 22, so as to adjust a clamping angle formed by each clampingmember 42 by adjusting a spacing distance between the adjustingbase 20 and the clampingbase 30.
Specifically, when the drivingrod 602 is pushed (e.g., in the direction F2 of fig. 2 and 4) so that the distance between the adjustingbase 20 and the clampingbase 30 increases, the clampingarm 422 can be rotated via thepivoting arm 424 so that the clamping angle formed between the clampingpieces 42 gradually increases (refer to fig. 3 and 4); conversely, when the drivingrod 602 is pulled (e.g., in the direction F1 of fig. 2 and 4) to shorten the distance between the adjustingbase 20 and the clampingbase 30, the pivotingarm 424 rotates theclamping arm 422 in a reverse direction, so that the clamping angle formed between the clampingmembers 42 is gradually reduced (see fig. 1 and 2).
Referring to fig. 9, optionally, thedrive rod 602 has a hollow structure 604 with threads formed on asidewall 606 of the hollow structure 604 for threading thedrive rod 602 onto themandrel 22.
Specifically, thedrive rod 602 may be circumferentially rotatable relative to themandrel 22 in a first direction (e.g., clockwise) to threadably engage themandrel 22 with thedrive rod 602, whereas thedrive rod 602 may be circumferentially rotatable relative to themandrel 22 in a second direction (e.g., counterclockwise) opposite the first direction to disengage themandrel 22 from thedrive rod 602.
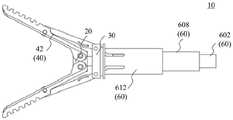
In the present embodiment, the operatingassembly 60 further includes a lockingsleeve 608, which is sleeved outside the drivingrod 602 and is used for driving the lockingmember 50 to rotate circumferentially relative to thespindle 22 along with the lockingsleeve 608, so that the lockingmember 50 moves axially relative to thespindle 22 and abuts against a side of the clampingbase 30 away from the adjustingbase 20, thereby locking the distance between the clampingbase 30 and the adjustingbase 20, i.e., locking the maximum clamping angle of the clampingassembly 40.
Referring to fig. 10, specifically, the distal end of the lockingsleeve 608 includes a receivingportion 610, wherein the receivingportion 610 has a cross section matching the outer cross section of the lockingmember 50, so that the lockingmember 50 received in the receivingportion 610 is circumferentially positioned with the lockingsleeve 608.
In this embodiment, the lockingsleeve 608 can be axially moved relative to the lockingmember 50 to position the lockingmember 50 in the receptacle 610 (i.e., to allow circumferential rotation of the lockingsleeve 608 and the locking member 50) or to disengage the lockingmember 50 from the receptacle 610 (i.e., to allow the lockingmember 50 and the lockingsleeve 608 to be disengaged).
In this embodiment, the operatingassembly 60 further includes anassembly sleeve 612 positioned over the lockingsleeve 608 and removably coupled to theclamp base 30.
Specifically, theassembly sleeve 612 may include abushing 614 and acombination sleeve 616.
Optionally, thebushing 614 is sleeved outside the lockingsleeve 608 and may be circumferentially rotatable and axially fixed relative to the lockingsleeve 608.
Optionally, acombination sleeve 616 is sleeved over the exterior of theliner 614 and has a variablediameter combination portion 618.
In this embodiment, thebushing 614 may be disposed within thecombination sleeve 616 and may be moved between an abutting position and a non-abutting position relative to thecombination sleeve 616 by the lockingsleeve 608.
Wherein, when thebushing 614 is in the abutting position, the diameter of the combiningportion 618 is increased for the combiningsleeve 616 and the clampingbase 30 to be combined with each other; when thebushing 614 is in the non-abutting position, the diameter of the combiningportion 618 is reduced to allow the combiningsleeve 616 and the clampingbase 30 to be separated from each other.
Referring to fig. 10 and 11, in the present embodiment, the lockingsleeve 608 includes anannular locking groove 620 formed circumferentially on the lockingsleeve 608, and thebushing 614 further includes at least two catchingarms 622 circumferentially distributed on thebushing 614, and each catchingarm 622 can be caught in the annular locking groove 620 (see fig. 2 and 4).
Optionally, the ends of eachsnap arm 622 are each formed with asnap rib 622a, such that thebushing 614 is axially positioned but circumferentially rotatable relative to the lockingsleeve 608 by snapping eachsnap rib 622a into theannular snap groove 620.
Referring to fig. 7 and 12, in the present embodiment, the clampingbase 30 includes an assembling structure 624, and correspondingly, the assemblingsleeve 616 of the operatingassembly 60 further includes at least two assemblingarms 626 circumferentially distributed on the assemblingsleeve 616, and the assemblingportion 618 of the assemblingsleeve 616 can be assembled by the assemblingarms 626.
Optionally, the combining structure 624 may include at least twogroove portions 628 circumferentially distributed on the clampingbase 30, and correspondingly, the end portion of each combiningarm 626 is respectively formed with a combiningrib 626a, and each combiningrib 626a may be respectively engaged in eachgroove portion 628, so as to combine the clampingbase 30 and the combiningsleeve 616.
Specifically, when thebushing 614 is located at the abutting position, eachcombination arm 626 is elastically deformed by the abutting force of thebushing 614 to expand radially outward, so that the diameter of thecombination portion 618 is increased, and in this state, eachcombination rib 626a is engaged with eachgroove portion 628, respectively, so that the combination set 616 is combined to the holding base 30 (refer to the state shown in fig. 1 to 4).
Furthermore, when thebushing 614 is located at the non-abutting position, the combiningarms 626 can elastically recover to be radially retracted in the non-stressed state, so that the diameter of the combiningportion 618 is reduced, and in this state, the combiningribs 626a are respectively disengaged from thegroove portions 628, so that the combiningsleeve 616 and the clampingbase 30 can be separated from each other.
The following description will exemplarily describe a specific embodiment of the clampinginstrument 10 of the present application:
step 1, theoperation assembly 60 is connected to thespindle 22 and the lockingmember 50 of theadjustment base 20, respectively. Specifically, the driving rod 602 (operating assembly 60) may be threaded onto themandrel 22, and the retainingmember 50 may be received in the receivingportion 610 of the locking sleeve 608 (operating assembly 60) to circumferentially position the retainingmember 50 and the lockingsleeve 608.
Step 2, after theclamping apparatus 10 is positioned at the target position (e.g. in the heart), the drivingrod 602 is pushed or pulled back along the axial direction of themandrel 22 to adjust the clamping angle of the clamping assembly 40 (refer to fig. 1 to 4), so as to perform the clamping operation on the target tissue (e.g. heart tissue) at the target position.
Step 3, after the clampingassembly 40 completes the clamping operation on the target tissue, the lockingstate 608 is rotated circumferentially relative to themandrel 22 to drive the lockingmember 50 to rotate circumferentially relative to themandrel 22, in this state, the lockingmember 50 will move in the axial direction of themandrel 22 toward the direction approaching the clampingbase 30 until abutting against the side of the clampingbase 30 away from theadjustment base 20, thereby achieving the locking operation of the clamping assembly 40 (refer to the state shown in fig. 1 and fig. 2).
Step 4, the drivingrod 602 and themandrel 22 are detached from each other by rotating the drivingrod 602 in the reverse direction (refer to the state shown in fig. 13 and 14).
Step 5, the lockingsleeve 608 is pulled back along the axial direction of themandrel 22, so that the lockingsleeve 608 moves axially relative to themandrel 22 along the direction F1 shown in fig. 13 and 14 to drive thebushing 614 to move relative to thecombination sleeve 616 from the abutting position to the non-abutting position, in which state thecombination arm 626 can elastically recover in the non-stressed state, so that the diameter of thecombination portion 618 is reduced, so that thecombination sleeve 616 and the clampingbase 30 can be separated from each other, thereby withdrawing the operating assembly 60 from the clampingapparatus 10 as a whole (refer to the state shown in fig. 15 to 17).
In conclusion, the clamping device provided by the application adjusts the clamping angle of the clamping assembly by pushing and pulling the operation assembly along the axial direction of the mandrel and locks the clamping angle of the clamping assembly by rotating the operation assembly along the circumferential direction of the mandrel, so that the operation assembly cannot be twisted in the clamping operation process, and the operation is simple and convenient, thereby being beneficial to smooth execution of the operation.
Moreover, after the clamping operation of the clamping assembly is completed, the operating assembly can be wholly withdrawn from the clamping device so as to reduce the volume of the clamping device remained in the body of the patient, thereby improving the use feeling of the patient and improving the use safety of the clamping device.
Finally, it should be noted that: the above embodiments are only used for illustrating the technical solutions of the embodiments of the present application, and are not limited thereto; although the present application has been described in detail with reference to the foregoing embodiments, it should be understood by those of ordinary skill in the art that: the technical solutions described in the foregoing embodiments may still be modified, or some technical features may be equivalently replaced; and such modifications or substitutions do not depart from the spirit and scope of the corresponding technical solutions in the embodiments of the present application.

Claims (10)

the operating assembly is detachably connected with the mandrel and the locking piece respectively, and further comprises a driving rod, the driving rod is in threaded connection with the mandrel on one side of the locking piece far away from the clamping base and is used for driving the adjusting base to move towards the direction far away from or close to the clamping base along the axial direction of the mandrel, so that the clamping angle formed by each clamping piece is adjusted by adjusting the spacing distance between the adjusting base and the clamping base, and the clamping assembly is prevented from twisting in the operating process; and the retaining member is adjustable to move axially relative to the spindle to abut the clamp base to lock the clamping angle of the clamp assembly.
CN202110745555.9A2021-06-302021-06-30Clamping deviceActiveCN113456298B (en)

Priority Applications (1)

Application NumberPriority DateFiling DateTitle
CN202110745555.9ACN113456298B (en)2021-06-302021-06-30Clamping device

Applications Claiming Priority (1)

Application NumberPriority DateFiling DateTitle
CN202110745555.9ACN113456298B (en)2021-06-302021-06-30Clamping device

Publications (2)

Publication NumberPublication Date
CN113456298A CN113456298A (en)2021-10-01
CN113456298Btrue CN113456298B (en)2023-01-06

Family

ID=77877253

Family Applications (1)

Application NumberTitlePriority DateFiling Date
CN202110745555.9AActiveCN113456298B (en)2021-06-302021-06-30Clamping device

Country Status (1)

CountryLink
CN (1)CN113456298B (en)

Families Citing this family (3)

* Cited by examiner, † Cited by third party
Publication numberPriority datePublication dateAssigneeTitle
CN114028029B (en)*2021-10-222025-05-02上海汇禾医疗科技股份有限公司 Combined medical device and method of using the same
CN114028028B (en)*2021-10-222025-05-02上海汇禾医疗科技股份有限公司 A card-locking medical device and its use method
CN116327436A (en)*2021-12-242023-06-27沛嘉医疗科技(苏州)有限公司Driving control mechanism of tissue fixing device and tissue fixing device

Family Cites Families (8)

* Cited by examiner, † Cited by third party
Publication numberPriority datePublication dateAssigneeTitle
JP4774048B2 (en)*2004-05-142011-09-14エヴァルヴ インコーポレイテッド Locking mechanism of fixing device engaged with tissue and tissue engaging method
TW201244885A (en)*2011-05-092012-11-16Good Year Hardware Co LtdScrew driver having movable connection rod
DE102018100328B9 (en)*2018-01-092020-02-13Edwards Lifesciences Corporation Repair devices and methods for body flaps
CN209405021U (en)*2018-11-042019-09-20上海汇挚医疗科技有限公司Fixture, valve annulus clamp assembly and valve annulus repair system
CN119344826A (en)*2019-08-282025-01-24上海汇禾医疗器械有限公司 Clamping devices and clamping components
CN212015715U (en)*2020-02-112020-11-27常州市第二人民医院Mucous membrane cutting closer for endoscope
CN212996891U (en)*2020-08-212021-04-20杭州德晋医疗科技有限公司Valve clamping device with locking mechanism and valve repair system
CN111870398B (en)*2020-09-072025-06-06上海捍宇医疗科技股份有限公司Valve clamp

Also Published As

Publication numberPublication date
CN113456298A (en)2021-10-01

Similar Documents

PublicationPublication DateTitle
CN113456298B (en)Clamping device
US11730591B2 (en)Method and apparatus for percutaneous delivery and deployment of a cardiovascular prosthesis
US10786273B2 (en)Rotation knob assemblies for handle assemblies
US6896654B2 (en)Surgical retractor having low-friction actuating means and contoured blade arms
CN113425461B (en) holding instruments
CN113116427B (en)Integrated anchor and anchoring system
JP2024508548A (en) sequential reducer
EP3603542A1 (en)Rotation knob assemblies and surgical instruments including the same
WO2019231653A1 (en)Tether attachment assembly for epicardial pads and devices and methods for delivery of same
CN113558826B (en)Transcatheter heart valve annuloplasty system
US20230338146A1 (en)System for clamping tissue
CN110313951B (en)Suture shackle and suture locking system
WO2020200149A1 (en)Drive handle used for delivering implant and delivery system
CN112790897A (en)Medical instrument for heart valve replacement
CN212415808U (en)Endoscope cutting anastomat
US12150641B2 (en)Surgical access system
CN212699239U (en)Valve conveying device
CN114948339B (en) Easy-to-use valve clip delivery device
CN215273626U (en) A prosthesis grasping device
CN118252662A (en)Valve repair system capable of being released smoothly
CN113116426B (en)Direct-drive suture knot locking device
WO2022134955A1 (en)Valvulotomy device and valvulotomy method
CN114081667B (en)Valve conveying device
CN117462305B (en)Valve clamp conveying system and valve clamp system
WO2021135270A1 (en)Integrated anchor and anchoring system

Legal Events

DateCodeTitleDescription
PB01Publication
PB01Publication
SE01Entry into force of request for substantive examination
SE01Entry into force of request for substantive examination
GR01Patent grant
GR01Patent grant
CP01Change in the name or title of a patent holder
CP01Change in the name or title of a patent holder

Address after:201203 Pudong New Area, Shanghai, China (Shanghai) free trade trial area, No. 3, 1 1, Fang Chun road.

Patentee after:Shanghai Huihe Medical Instrument Co.,Ltd.

Patentee after:Shanghai Huihe Medical Technology Co.,Ltd.

Address before:201203 Pudong New Area, Shanghai, China (Shanghai) free trade trial area, No. 3, 1 1, Fang Chun road.

Patentee before:Shanghai Huihe Medical Instrument Co.,Ltd.

Patentee before:Shanghai Huihe Medical Technology Co.,Ltd.


[8]ページ先頭

©2009-2025 Movatter.jp