Movatterモバイル変換


[0]ホーム

URL:


CN113353442A - Universal anti-fake bottle cap for sauce wine - Google Patents

Universal anti-fake bottle cap for sauce wine
Download PDF

Info

Publication number
CN113353442A
CN113353442ACN202110691281.XACN202110691281ACN113353442ACN 113353442 ACN113353442 ACN 113353442ACN 202110691281 ACN202110691281 ACN 202110691281ACN 113353442 ACN113353442 ACN 113353442A
Authority
CN
China
Prior art keywords
wine
middle ring
bottle cap
assembly component
soy sauce
Prior art date
Legal status (The legal status is an assumption and is not a legal conclusion. Google has not performed a legal analysis and makes no representation as to the accuracy of the status listed.)
Granted
Application number
CN202110691281.XA
Other languages
Chinese (zh)
Other versions
CN113353442B (en
Inventor
何学东
杨建�
Current Assignee (The listed assignees may be inaccurate. Google has not performed a legal analysis and makes no representation or warranty as to the accuracy of the list.)
Chengdu Tiankun Cover Industry Co ltd
Original Assignee
Chengdu Tiankun Cover Industry Co ltd
Priority date (The priority date is an assumption and is not a legal conclusion. Google has not performed a legal analysis and makes no representation as to the accuracy of the date listed.)
Filing date
Publication date
Application filed by Chengdu Tiankun Cover Industry Co ltdfiledCriticalChengdu Tiankun Cover Industry Co ltd
Priority to CN202110691281.XApriorityCriticalpatent/CN113353442B/en
Publication of CN113353442ApublicationCriticalpatent/CN113353442A/en
Application grantedgrantedCritical
Publication of CN113353442BpublicationCriticalpatent/CN113353442B/en
Activelegal-statusCriticalCurrent
Anticipated expirationlegal-statusCritical

Links

Images

Classifications

Landscapes

Abstract

Translated fromChinese

本发明公开了一种酱酒通用防伪瓶盖,包括内塞、装配组件、内盖、中圈、上盖和下套;所述内塞同轴设置在所述装配组件内部,所述下套设置在所述装配组件外部,所述下套顶部内侧与所述装配组件之间形成用于安装中圈的安装槽;所述中圈的下端设置在安装槽内,中圈的上端伸出安装槽与装配组件形成连接槽;所述内盖的下端伸入所述连接槽内。本发明通过内盖下端在瓶盖未开启和开启不同位置状态对应中圈隐藏和露出的状态起到防伪的作用,不需要破坏防伪结构就可达到识别瓶盖是否已开启,同时无需担心防伪结构的人工修复,具有很好的防伪效果;瓶盖开启后仍可对酒瓶进行二次密封,适用于酒瓶开启后再次存储。

Figure 202110691281

The invention discloses a general anti-counterfeiting bottle cap for sauce and wine, comprising an inner plug, an assembly component, an inner cap, a middle ring, an upper cover and a lower sleeve; the inner plug is coaxially arranged inside the assembly assembly, and the lower sleeve It is arranged outside the assembly assembly, and an installation groove for installing the middle ring is formed between the inner side of the top of the lower sleeve and the assembly assembly; the lower end of the middle ring is arranged in the installation groove, and the upper end of the middle ring extends out for installation The groove and the assembly component form a connection groove; the lower end of the inner cover extends into the connection groove. The invention plays the role of anti-counterfeiting through the state where the lower end of the inner cap is hidden and exposed corresponding to the state of the middle ring when the cap is not opened and opened. It has a good anti-counterfeiting effect; after the bottle cap is opened, the wine bottle can still be sealed for a second time, which is suitable for re-storing the wine bottle after it is opened.

Figure 202110691281

Description

Universal anti-fake bottle cap for sauce wine
Technical Field
The invention relates to the technical field of bottle caps, in particular to a universal anti-counterfeiting bottle cap for sauce wine.
Background
The bottle cap is an important part of the beverage package and is the place where the consumer firstly contacts with the product. The bottle cap has the functions of keeping the sealing performance of the content products, preventing the opening of the bottle cap from being stolen and ensuring the safety, so the bottle cap is widely applied to bottled products, and is a key product for packaging bottle containers in upstream industries of food, drinking, wine, chemical industry and pharmaceutical industry.
The existing bottle cap of the wine bottle for making soy sauce has the following defects: 1. the aim of identifying the opened bottle cap is achieved by destroying the anti-counterfeiting structure, the bottle cap cannot be sealed for the second time, and the destroyed anti-counterfeiting structure can be repaired manually, so that the anti-counterfeiting aim cannot be achieved well; 2. after the existing bottle cap is opened, wine can be hooked when pouring wine (the phenomenon that wine is not directly poured into a container but flows along the outer wall of the bottle opening part of the bottle body when pouring wine, so that the wine flows onto hands is caused); 3. and the existing bottle cap for sauce wine has the defects of high wine pouring speed and unsuitability for sauce wine.
Disclosure of Invention
The invention aims to overcome the defects of the prior art and provide the universal anti-counterfeiting bottle cap for the sauce wine, which plays an anti-counterfeiting role by corresponding to the hidden and exposed states of the middle ring at the non-opened and opened different positions of the bottle cap at the lower end of the inner cap, can identify whether the bottle cap is opened without damaging an anti-counterfeiting structure, does not need to worry about the manual repair of the anti-counterfeiting structure, and has good anti-counterfeiting effect; the bottle cap can still perform secondary sealing on the wine bottle after being opened, and is suitable for storing the wine bottle again after being opened; and the independently arranged middle ring not only facilitates the whole assembly of the bottle cap, but also the lower sleeve and the middle ring are of a split structure, the processing difficulty of the bottle cap is reduced by a separate processing mode, and the production cost is favorably reduced.
The purpose of the invention is realized by the following technical scheme:
a universal anti-counterfeiting bottle cap for sauce and wine comprises an inner plug, an assembly component, an inner cap, a middle ring, an upper cap and a lower sleeve;
the inner plug is coaxially arranged inside the assembly component, the lower sleeve is arranged outside the assembly component, and an installation groove for installing the middle ring is formed between the inner side of the top of the lower sleeve and the assembly component; the lower end of the middle ring is arranged in the mounting groove, the size of a notch of the mounting groove is smaller than that of the lower end of the middle ring, and the upper end of the middle ring extends out of the mounting groove to form a connecting groove with the assembling component; the inner cover is in threaded connection with the upper end of the assembly component, the lower end of the inner cover extends into the connecting groove, and the size of the notch of the connecting groove is smaller than that of the lower end of the inner cover; the upper cover is arranged outside the inner cover, a groove for accommodating the upper end of the middle ring is formed in the inner side of the upper cover, and the bottom end face of the upper cover is abutted to the lower sleeving end face.
Furthermore, the inner side of the part of the middle ring extending out of the mounting groove comprises a first straight line section, a second straight line section and an S-shaped guide section, and the guide section is arranged between the first straight line section and the second straight line section; the lower extreme of inner cup is equipped with spacing platform, the upper portion that spacing platform is close to centre circle one side is the arc structure.
Furthermore, the upper part of the outer side of the part of the middle ring extending out of the mounting groove is of an arc-shaped structure.
Furthermore, a first boss is arranged on the inner side of the top of the lower sleeve, a second boss is arranged on the outer side of the assembly component, and inverted T-shaped installation is formed among the first boss, the second boss and the assembly component;
the two sides of the part of the middle ring in the mounting groove are respectively provided with a first fixing table and a second fixing table which are matched with the first boss and the second boss.
Further, the top end of the wine outlet at the top end of the assembly component extends outwards to form a wine line pulling platform, and the edge of the wine line pulling platform is of an arc-shaped structure.
Further, the width of the wine line pulling table is 1.0-1.5 times of the width of the top end of the wine outlet.
Further, the neck of the wine outlet extends upwards to be 1.5-2.0 times of the original length.
Furthermore, two glass beads are arranged inside the inner plug.
Furthermore, the inner side of the lower end of the assembling component is provided with anti-rotation teeth.
Further, the lower end of the inside plug comprises a straight line portion and an arc portion, and the straight line portion is located above the arc portion.
The invention has the beneficial effects that:
1) the anti-counterfeiting bottle cap has the advantages that the anti-counterfeiting effect is achieved by the lower end of the inner cap in the state that the bottle cap is not opened and the middle ring is hidden and exposed in different positions, whether the bottle cap is opened or not can be identified without destroying the anti-counterfeiting structure, meanwhile, the anti-counterfeiting structure is not required to be repaired manually, and the anti-counterfeiting bottle cap has a good anti-counterfeiting effect; the bottle cap can still perform secondary sealing on the wine bottle after being opened, and is suitable for storing the wine bottle again after being opened; and the independently arranged middle ring not only facilitates the whole assembly of the bottle cap, but also the lower sleeve and the middle ring are of a split structure, the processing difficulty of the bottle cap is reduced by a separate processing mode, and the production cost is favorably reduced.
2) The direction section that sets up can lead when including the lid lower extreme back-out spread groove, and the upper portion of direction section and spacing platform is the arc structure simultaneously, can avoid spacing platform to be blocked by the centre circle when back-out, guarantees that spacing platform back-out process is smooth and easy.
3) The wine platform of acting as go-between that sets up is when falling wine, and wine falls down along the edge department of acting as go-between platform, and then forms the wine line, lets the wine body fully contact with the air, oxidation, promotes the taste of the wine body, and colludes wine when just can avoiding falling wine like this.
4). The two glass beads can prevent the poured wine from flowing back into the glass bottle, and the two glass beads reduce the volume of the wine outlet, so that the wine pouring speed is reduced, the flow rate of the formed wine line is reduced, the contact time of the wine and the air is prolonged, the wine is in full contact with and oxidized by the air, the taste of the wine is improved, and the wine bottle is more suitable for sauce wine.
Drawings
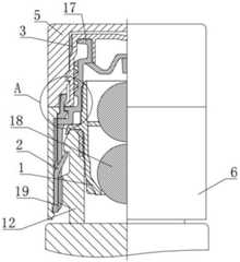
FIG. 1 is a schematic diagram of the overall structure of a universal anti-counterfeiting bottle cap for soy sauce and wine in the embodiment of the invention;
FIG. 2 is an enlarged schematic view of FIG. 1 taken at detail A;
FIG. 3 is a schematic structural diagram of a middle ring in an embodiment of the present invention;
FIG. 4 is a schematic structural diagram of an inner plug in an embodiment of the present invention;
fig. 5 is a schematic structural view of the opened bottle cap according to the embodiment of the present invention;
in the figure, 1, an inner plug; 2. assembling the components; 3. an inner cover; 4. a middle ring; 5. an upper cover; 6. sleeving; 7. mounting grooves; 8. connecting grooves; 9. a first straight line segment; 10. a second straight line segment; 11. a guide section; 12. a glass bottle; 13. a first boss; 14. a second boss; 15. a first fixed table; 16. a second stationary stage; 17. a wine line pulling table; 18. glass beads; 19. anti-rotation teeth; 20. a straight portion; 21. a curved portion; 22. and a wine outlet.
Detailed Description
The technical solutions of the present invention will be described clearly and completely with reference to the following embodiments, and it should be understood that the described embodiments are only a part of the embodiments of the present invention, and not all of the embodiments. All other embodiments, which can be obtained by a person skilled in the art without inventive effort based on the embodiments of the present invention, are within the scope of the present invention.
Referring to fig. 1 to 5, the present invention provides a technical solution:
example (b):
as shown in fig. 1-5, a universal anti-counterfeiting bottle cap for sauce and wine comprises aninner plug 1, anassembly component 2, aninner cap 3, amiddle ring 4, anupper cap 5 and alower sleeve 6;
theinner plug 1 is coaxially arranged inside theassembly component 2, thelower sleeve 6 is arranged outside theassembly component 2, and aninstallation groove 7 for installing themiddle ring 4 is formed between the inner side of the top of thelower sleeve 6 and theassembly component 2; the lower end of themiddle ring 4 is arranged in the mountinggroove 7, the size (width) of the notch of the mountinggroove 7 is smaller than that of the lower end of themiddle ring 4, and the upper end of themiddle ring 4 extends out of the mountinggroove 7 to form a connectinggroove 8 with the assemblingcomponent 2; theinner cover 3 is in threaded connection with the upper end of theassembly component 2, the lower end of theinner cover 3 extends into the connectinggroove 8, and the size of a notch of the connectinggroove 8 is smaller than that of the lower end of theinner cover 3; theupper cover 5 is arranged outside theinner cover 3, a groove for accommodating the upper end of themiddle ring 4 is formed in the inner side of theupper cover 5, and the bottom end face of theupper cover 5 is abutted to the fixed end face of thelower sleeve 6.
Wherein theassembly 2 is a common knowledge in the art, one end of theassembly 2 away from the bottle mouth of theglass bottle 12 is provided with awine outlet 22, one side of theassembly 2 close to the bottle mouth is provided with a wine outlet, and theinner plug 1 is arranged in the wine outlet. When in connection, the lower end of theassembly component 2 is clamped outside the bottle mouth, the middle part of theassembly component 2 is pressed on theinner plug 1, theinner plug 1 is coated on the circumference of the bottle mouth of theglass bottle 12 and then is assembled on theglass bottle 12, the assembly principle, the method and the means are all common knowledge in the field, and are not described in detail here, and the specific structure is as shown in the figure.
The method of assembling thecenter ring 4 here may be, but is not limited to: after theassembly component 2 and theinner plug 1 are assembled to theglass bottle 12 in place, theinner cover 3 is installed at the upper end of theassembly component 2, themiddle ring 4 is installed, thelower sleeve 6 is installed after themiddle ring 4 is installed, and theupper cover 5 is installed after thelower sleeve 6 is in place (theupper cover 5 is buckled outside the inner cover 3).
Wherein, 1,center circle 4 are hard material (can be but not limited to ABS) and make, and hard center circle is difficult for destroying, strengthens anti-fake effect. And themiddle ring 4 is provided with a warning color, preferably yellow, and the outer side of themiddle ring 4 is also provided with a warning slogan, preferably in the word of 'opened'. 2. The length of the part (sealing part) of theinner cap 3 positioned inside thewine outlet 22 of theassembly 2 is larger than that of the part of themiddle ring 4 extending out of the mountinggroove 7.
The working principle is as follows: when the bottle cap is not opened, the bottle cap is normally sealed with theglass bottle 12. The end face of the bottom end of theupper cover 5 is attached to the end face of the top end of thelower sleeve 6, and the inner ring is hidden inside theupper cover 5 and thelower sleeve 6. While the sealing portion of theinner lid 3 is entirely located within thewine outlet 22 of the mountingassembly 2.
When the bottle cap is opened, theinner cap 3 rotates to drive theupper cap 5 to be screwed out of theassembly component 2 together. The lower end of theinner cap 3 is deformed and separated from the notch of thecoupling groove 8 during the rotation of theinner cap 3. When theinner cover 3 is screwed for a certain displacement again, the lower end of theinner cover 3 is abutted against the upper end of themiddle ring 4, and the lower end of theinner cover 3 can not enter the connectinggroove 8 again from the notch of the connectinggroove 8 due to the limiting function of the upper end of the terminal. At the moment, a certain gap exists between the end face of the bottom end of theupper cover 5 and the end face of the top end of thelower sleeve 6, so that themiddle ring 4 between theupper cover 5 and thelower sleeve 6 is exposed, and the exposedmiddle ring 4 plays a role in warning that the wine bottle is opened. And when theinner cap 3 is screwed again, the sealing part on theinner cap 3 is partially positioned in thewine outlet 22 of theassembly component 2, and the wine bottle can still be sealed.
Themiddle ring 4 is independently arranged, so that the whole bottle cap can be conveniently assembled, thelower sleeve 6 and themiddle ring 4 are of a split structure, the bottle cap is processed in a split mode, and the production cost is reduced.
The invention is also suitable for bottle caps with a cap size of less than 40 mm.
The anti-counterfeiting bottle cap has the advantages that the anti-counterfeiting effect is achieved by the lower end of the inner cap in the state that the bottle cap is not opened and the middle ring is hidden and exposed in different positions, whether the bottle cap is opened or not can be identified without destroying the anti-counterfeiting structure, meanwhile, the anti-counterfeiting structure is not required to be repaired manually, and the anti-counterfeiting bottle cap has a good anti-counterfeiting effect; the bottle cap can still perform secondary sealing on the wine bottle after being opened, and is suitable for storing the wine bottle again after being opened; and the independently arranged middle ring not only facilitates the whole assembly of the bottle cap, but also the lower sleeve and the middle ring are of a split structure, the processing difficulty of the bottle cap is reduced by a separate processing mode, and the production cost is favorably reduced.
Further, as shown in fig. 1 and 2, the part of themiddle ring 4 extending out of the mountinggroove 7 comprises a firststraight line section 9, a secondstraight line section 10 and an S-shapedguide section 11 on the inner side thereof, wherein theguide section 11 is arranged between the firststraight line section 9 and the secondstraight line section 10; the lower extreme ofinner cup 3 is equipped with spacing platform, the upper portion that spacing platform is close tocentre circle 4 one side is the arc structure.
The firststraight line section 9 is a connecting section which is positioned at the part of themiddle ring 4 in the mountinggroove 7, and the secondstraight line section 10 is a groove opening forming section of the connectinggroove 8. When theinner cup 3 is screwed out, theguide section 11 is matched with the upper part of the limiting table to guide the limiting table, so that the guide table enters the notch of the connectinggroove 8 along theguide section 11 and finally is separated from the connectinggroove 8.
Thedirection section 11 that sets up can lead when including 3 lower extremes of lid back-outspread groove 8, and the upper portion ofdirection section 11 and spacing platform is the arc structure simultaneously, can avoid spacing platform to be blocked bycentre circle 4 when back-out, guarantees that spacing platform back-out process is smooth and easy.
Further, as shown in fig. 1 and 2, the upper part of the outer side of the part of themiddle ring 4 extending out of the mountinggroove 7 is in an arc structure. The correspondingupper cover 5 groove and the upper end matching part of themiddle ring 4 are also in arc structures, so that themiddle ring 4 can be prevented from damaging theupper cover 5 when theupper cover 5 is assembled, and the strength of theupper cover 5 is reduced; meanwhile, the upper part of the outer side of the part of themiddle ring 4 extending out of the mountinggroove 7 is of an arc-shaped structure, so that the hand of a person can be prevented from being cut.
Further, as shown in fig. 1 and 2, afirst boss 13 is arranged on the inner side of the top of thelower sleeve 6, asecond boss 14 is arranged on the outer side of theassembling component 2, and an inverted T-shaped installation is formed among thefirst boss 13, thesecond boss 14 and theassembling component 2;
the two sides of the part of themiddle ring 4 in the mountinggroove 7 are respectively provided with afirst fixing platform 15 and asecond fixing platform 16 which are matched with thefirst boss 13 and thesecond boss 14.
Wherein,first boss 13 thickness is greater thansecond boss 14 thickness, and then corresponds first fixedstation 15 position and is less than second fixedstation 16, sets up like this and can carry out twice spacing towell circle 4 in vertical direction, improves the stability ofwell circle 4.
Further, as shown in fig. 1, the top end of thewine outlet 22 at the top end of theassembling component 2 extends outwards to form awine line platform 17, the edge of thewine line platform 17 is in an arc structure, and the width of thewine line platform 17 is 1.5 times of the width of the top end of thewine outlet 22. The wine platform of acting as go-between that sets up is when falling wine, and wine falls down along 17 edges of the wine platform of acting as go-between, and then forms the wine line, lets the wine body fully contact with the air, oxidation, promotes the taste of the wine body, and colludes wine when just can avoiding falling wine like this.
Further, as shown in fig. 1, the neck of thewine outlet 22 extends upwards to 1.5 times of the original length. The neck of thewine outlet 22 is lengthened, so that the sealing length can be increased, and the sealing is strengthened; meanwhile, when the wine is poured by matching with the wine line pulling table 17, the formation of the wine line is further ensured, and the wine is prevented from being hooked.
Further, as shown in fig. 1, twobeads 18 are provided inside theinner plug 1. The twoglass beads 18 can prevent the poured wine from flowing back into theglass bottle 12, and the twoglass beads 18 reduce the volume of thewine outlet 22, so that the wine pouring speed is reduced, the flow rate of the formed wine line is reduced, the contact time of the wine and the air is prolonged, the wine is in full contact and oxidation with the air, the taste of the wine is improved, and the wine bottle is more suitable for sauce wine.
Further, as shown in fig. 1, the inner side of the lower end of thefitting assembly 2 is provided with ananti-rotation tooth 19. Wherein theanti-rotation teeth 19 cooperate with the bottle teeth of thevial 12. The arrangedanti-rotation teeth 19 are matched with thebottle 12 teeth of the glass bottle to prevent the bottle cap from rotating, and the anti-rotation teeth play a role in pre-guiding in the process of assembling with the glass bottle, so that the bottle cap and the glass bottle can be conveniently assembled.
Further, as shown in fig. 1 and 4, the lower end of theinner plug 1 includes alinear portion 20 and acurved portion 21, and thelinear portion 20 is located above thecurved portion 21. When the bottle cap is matched with theglass bottle 12, thearc part 21 plays a role of guiding, so that theinner plug 1 can conveniently enter the bottle mouth of theglass bottle 12; after theinner plug 1 enters, thelinear part 20 is in interference fit with the bottle mouth of theglass bottle 12, so that the connection between theinner plug 1 and theglass bottle 12 is tighter and more stable, and the shaking of the cover in the movement of theglass bottle 12 is reduced.
The foregoing is illustrative of the preferred embodiments of this invention, and it is to be understood that the invention is not limited to the precise form disclosed herein and that various other combinations, modifications, and environments may be resorted to, falling within the scope of the concept as disclosed herein, either as described above or as apparent to those skilled in the relevant art. And that modifications and variations may be effected by those skilled in the art without departing from the spirit and scope of the invention as defined by the appended claims.

Claims (10)

1. A general anti-fake bottle lid of sauce wine which characterized in that: comprises an inner plug, an assembly component, an inner cover, a middle ring, an upper cover and a lower sleeve;
the inner plug is coaxially arranged inside the assembly component, the lower sleeve is arranged outside the assembly component, and an installation groove for installing the middle ring is formed between the inner side of the top of the lower sleeve and the assembly component; the lower end of the middle ring is arranged in the mounting groove, the size of a notch of the mounting groove is smaller than that of the lower end of the middle ring, and the upper end of the middle ring extends out of the mounting groove to form a connecting groove with the assembling component; the inner cover is in threaded connection with the upper end of the assembly component, the lower end of the inner cover extends into the connecting groove, and the size of the notch of the connecting groove is smaller than that of the lower end of the inner cover; the upper cover is arranged outside the inner cover, a groove for accommodating the upper end of the middle ring is formed in the inner side of the upper cover, and the bottom end face of the upper cover is abutted to the lower sleeving end face.
2. The universal anti-counterfeiting bottle cap for soy sauce and wine as claimed in claim 1, is characterized in that: the inner side of the part of the middle ring extending out of the mounting groove comprises a first straight line section, a second straight line section and an S-shaped guide section, and the guide section is arranged between the first straight line section and the second straight line section; the lower extreme of inner cup is equipped with spacing platform, the upper portion that spacing platform is close to centre circle one side is the arc structure.
3. The universal anti-counterfeiting bottle cap for soy sauce and wine as claimed in claim 2, characterized in that: the upper part of the outer side of the part of the middle ring extending out of the mounting groove is of an arc-shaped structure.
4. The universal anti-counterfeiting bottle cap for soy sauce and wine as claimed in claim 3, characterized in that: a first boss is arranged on the inner side of the top of the lower sleeve, a second boss is arranged on the outer side of the assembly component, and inverted T-shaped installation is formed among the first boss, the second boss and the assembly component;
the two sides of the part of the middle ring in the mounting groove are respectively provided with a first fixing table and a second fixing table which are matched with the first boss and the second boss.
5. The universal anti-counterfeiting bottle cap for soy sauce and wine as claimed in claim 4, is characterized in that: the wine outlet top end of the assembly component extends outwards to form a wine line pulling platform, and the edge of the wine line pulling platform is of an arc-shaped structure.
6. The universal anti-counterfeiting bottle cap for soy sauce and wine as claimed in claim 5, is characterized in that: the width of the wine line pulling platform is 1.0-1.5 times of the width of the top end of the wine outlet.
7. The universal anti-counterfeiting bottle cap for soy sauce and wine as claimed in claim 6, is characterized in that: the neck of the wine outlet extends upwards to be 1.5-2.0 times of the original length.
8. The universal anti-counterfeiting bottle cap for soy sauce and wine as claimed in claim 7, is characterized in that: two glass beads are arranged inside the inner plug.
9. The universal anti-counterfeiting bottle cap for soy sauce and wine as claimed in claim 8, characterized in that: the inner side of the lower end of the assembly component is provided with anti-rotation teeth.
10. The universal anti-counterfeiting bottle cap for soy sauce and wine as claimed in claim 9, is characterized in that: the lower extreme of inside plug includes sharp portion and pitch arc portion, sharp portion is located pitch arc portion top.
CN202110691281.XA2021-06-222021-06-22 A universal anti-counterfeiting bottle cap for sauce wineActiveCN113353442B (en)

Priority Applications (1)

Application NumberPriority DateFiling DateTitle
CN202110691281.XACN113353442B (en)2021-06-222021-06-22 A universal anti-counterfeiting bottle cap for sauce wine

Applications Claiming Priority (1)

Application NumberPriority DateFiling DateTitle
CN202110691281.XACN113353442B (en)2021-06-222021-06-22 A universal anti-counterfeiting bottle cap for sauce wine

Publications (2)

Publication NumberPublication Date
CN113353442Atrue CN113353442A (en)2021-09-07
CN113353442B CN113353442B (en)2024-11-19

Family

ID=77535691

Family Applications (1)

Application NumberTitlePriority DateFiling Date
CN202110691281.XAActiveCN113353442B (en)2021-06-222021-06-22 A universal anti-counterfeiting bottle cap for sauce wine

Country Status (1)

CountryLink
CN (1)CN113353442B (en)

Cited By (4)

* Cited by examiner, † Cited by third party
Publication numberPriority datePublication dateAssigneeTitle
CN114671143A (en)*2022-03-112022-06-28海普智联科技股份有限公司Anti-fake bottle cap and wine bottle
CN115057106A (en)*2022-07-182022-09-16海普智联科技股份有限公司 Anti-counterfeiting bottle caps and anti-counterfeiting wine bottles
CN116620707A (en)*2022-10-212023-08-22珠海经济特区龙狮瓶盖有限公司 Heat-resistant pull-out cap
CN116767672A (en)*2023-06-152023-09-19成都天坤盖业有限公司Bottle cap with broken cap

Citations (10)

* Cited by examiner, † Cited by third party
Publication numberPriority datePublication dateAssigneeTitle
KR20110075546A (en)*2009-12-282011-07-06김은유 Drop anti-counterfeit stopper assembly
CN202944673U (en)*2012-12-052013-05-22上虞市铝业包装有限公司Zero-contamination anti-fake wine bottle cover
CN103183175A (en)*2013-03-122013-07-03蔡灵明Safe anti-fake winebottle and bottle cap structure
CN203211697U (en)*2013-04-032013-09-25上虞市铝业包装有限公司Environment-friendly anti-counterfeiting wine bottle cover
CN207001199U (en)*2017-05-242018-02-13成都天坤盖业有限公司Anti-fake bottle lid
CN207511063U (en)*2017-10-122018-06-19山东丽鹏股份有限公司The anti-fake bottle lid that a kind of plastic-aluminum combines
CN108861023A (en)*2018-08-172018-11-23珠海经济特区龙狮瓶盖有限公司 Anti pocket wine bottle cap
CN208150049U (en)*2018-04-252018-11-27东莞市巨祺包装有限公司 A screw-cap aluminum-plastic implosion-type two-dimensional code anti-counterfeiting bottle cap
CN210913606U (en)*2019-10-142020-07-03珠海经济特区龙狮瓶盖有限公司Anti-fake bottle cap
CN215286199U (en)*2021-06-222021-12-24成都天坤盖业有限公司Universal anti-fake bottle cap for sauce wine

Patent Citations (10)

* Cited by examiner, † Cited by third party
Publication numberPriority datePublication dateAssigneeTitle
KR20110075546A (en)*2009-12-282011-07-06김은유 Drop anti-counterfeit stopper assembly
CN202944673U (en)*2012-12-052013-05-22上虞市铝业包装有限公司Zero-contamination anti-fake wine bottle cover
CN103183175A (en)*2013-03-122013-07-03蔡灵明Safe anti-fake winebottle and bottle cap structure
CN203211697U (en)*2013-04-032013-09-25上虞市铝业包装有限公司Environment-friendly anti-counterfeiting wine bottle cover
CN207001199U (en)*2017-05-242018-02-13成都天坤盖业有限公司Anti-fake bottle lid
CN207511063U (en)*2017-10-122018-06-19山东丽鹏股份有限公司The anti-fake bottle lid that a kind of plastic-aluminum combines
CN208150049U (en)*2018-04-252018-11-27东莞市巨祺包装有限公司 A screw-cap aluminum-plastic implosion-type two-dimensional code anti-counterfeiting bottle cap
CN108861023A (en)*2018-08-172018-11-23珠海经济特区龙狮瓶盖有限公司 Anti pocket wine bottle cap
CN210913606U (en)*2019-10-142020-07-03珠海经济特区龙狮瓶盖有限公司Anti-fake bottle cap
CN215286199U (en)*2021-06-222021-12-24成都天坤盖业有限公司Universal anti-fake bottle cap for sauce wine

Cited By (6)

* Cited by examiner, † Cited by third party
Publication numberPriority datePublication dateAssigneeTitle
CN114671143A (en)*2022-03-112022-06-28海普智联科技股份有限公司Anti-fake bottle cap and wine bottle
CN114671143B (en)*2022-03-112024-03-26海普智联科技股份有限公司Anti-fake bottle cap and wine bottle
CN115057106A (en)*2022-07-182022-09-16海普智联科技股份有限公司 Anti-counterfeiting bottle caps and anti-counterfeiting wine bottles
CN116620707A (en)*2022-10-212023-08-22珠海经济特区龙狮瓶盖有限公司 Heat-resistant pull-out cap
CN116767672A (en)*2023-06-152023-09-19成都天坤盖业有限公司Bottle cap with broken cap
CN116767672B (en)*2023-06-152025-08-26成都天坤盖业有限公司 Pull-off cap

Also Published As

Publication numberPublication date
CN113353442B (en)2024-11-19

Similar Documents

PublicationPublication DateTitle
CN113353442A (en)Universal anti-fake bottle cap for sauce wine
US6571994B1 (en)Closure having rotatable spout and axially movable stem
TW585821B (en)Container closure and container closure package with rotation-inhibiting projections
US20030127467A1 (en)Closure having rotatable spout and axially movable stem
RU94215U1 (en) EASY OPEN LEVER LEVER FOR BOTTLE
US20040251276A1 (en)Closure having rotatable spout and axially movable stem
WO2002083517A8 (en)Drinking-cup for beverage consumption, and use for tasting champagne
US20100294812A1 (en)Internal container bore mount fitment
CN215286199U (en)Universal anti-fake bottle cap for sauce wine
US6672469B2 (en)Beverage bottle and method for closing a beverage bottle
CN115605405A (en)Closure for thin-walled packaging bags
JP5640355B2 (en) Outlet stopper and packaging container
JP2003155052A (en)Metal cap
WO2004092033A2 (en)Dispensing cap
US20040256421A1 (en)Container with Alignable Dispensing Openings
CA3007522A1 (en)Can end with venting feature
EP2179940B1 (en)A lever-type easy-to-open cap for bottle
US20050230342A1 (en)Tamperproof closing element for beverage containers
KR100967163B1 (en) Bottle cap
CN222592250U (en)Twist-off type anti-fake bottle cap
JP2009196696A (en)Inner plug and cap with inner plug
CN217397268U (en)Inverted hook type sealing structure of implosion anti-counterfeiting bottle cap
CN110668003A (en)Safe and reliable's combination bottle lid and container
CN217946129U (en)Bottle cap
CN221915444U (en)Separating functional bottle cap

Legal Events

DateCodeTitleDescription
PB01Publication
PB01Publication
SE01Entry into force of request for substantive examination
SE01Entry into force of request for substantive examination
GR01Patent grant
GR01Patent grant

[8]ページ先頭

©2009-2025 Movatter.jp