Movatterモバイル変換


[0]ホーム

URL:


CN113303856A - Binding rope mounting plate device - Google Patents

Binding rope mounting plate device
Download PDF

Info

Publication number
CN113303856A
CN113303856ACN202110591202.8ACN202110591202ACN113303856ACN 113303856 ACN113303856 ACN 113303856ACN 202110591202 ACN202110591202 ACN 202110591202ACN 113303856 ACN113303856 ACN 113303856A
Authority
CN
China
Prior art keywords
coil support
rope
ligature
right coil
bottom plate
Prior art date
Legal status (The legal status is an assumption and is not a legal conclusion. Google has not performed a legal analysis and makes no representation as to the accuracy of the status listed.)
Granted
Application number
CN202110591202.8A
Other languages
Chinese (zh)
Other versions
CN113303856B (en
Inventor
王斌锐
郭振武
李哲勇
李�瑞
方流
Current Assignee (The listed assignees may be inaccurate. Google has not performed a legal analysis and makes no representation or warranty as to the accuracy of the list.)
China Jiliang University
Original Assignee
China Jiliang University
Priority date (The priority date is an assumption and is not a legal conclusion. Google has not performed a legal analysis and makes no representation as to the accuracy of the date listed.)
Filing date
Publication date
Application filed by China Jiliang UniversityfiledCriticalChina Jiliang University
Priority to CN202110591202.8ApriorityCriticalpatent/CN113303856B/en
Publication of CN113303856ApublicationCriticalpatent/CN113303856A/en
Application grantedgrantedCritical
Publication of CN113303856BpublicationCriticalpatent/CN113303856B/en
Activelegal-statusCriticalCurrent
Anticipated expirationlegal-statusCritical

Links

Images

Classifications

Landscapes

Abstract

Translated fromChinese

本发明公开了一种结扎绳安装板装置。本发明中的顶板固定在底板上,两者之间设置有过渡的导向坡;在所述的顶板上对称设置有左线圈支架和右线圈支架,所述的左线圈支架和右线圈支架均开有凹槽,用于设置结扎绳;所述结扎绳呈环形,其一侧位于导向坡上,另一侧位于左线圈支架和右线圈支架的凹槽内;所述导向坡用于驱使结扎绳进入血管结扎装置的勾线针中的钩针;所述的左线圈支架和右线圈支架可绕各自的始端旋转。发明通过线圈支架和底板来固定结扎绳摆放的路径,结扎绳安放好后,安装压片使结扎绳不易脱落,由导向坡的诱导以及结扎绳凹槽一和结扎绳凹槽二的导向,从而配合血管结扎装置顺利完成结扎绳的安装。

Figure 202110591202

The invention discloses a ligature rope mounting plate device. In the present invention, the top plate is fixed on the bottom plate, and a transition guide slope is arranged between the two; the left coil support and the right coil support are symmetrically arranged on the top plate, and the left coil support and the right coil support are open. There are grooves for setting the ligation rope; the ligation rope is annular, one side of which is located on the guide slope, and the other side is located in the grooves of the left coil support and the right coil support; the guide slope is used to drive the ligation rope The hook needle in the hook needle of the blood vessel ligation device; the left coil support and the right coil support can be rotated around their respective starting ends. The invention uses the coil support and the bottom plate to fix the path of the ligature rope. After the ligature rope is placed, the pressing sheet is installed to make the ligature rope not easy to fall off. The guide slope is guided by the first groove of the ligature rope and the second groove of the ligature rope. Thus, the installation of the ligation rope can be successfully completed in cooperation with the blood vessel ligation device.

Figure 202110591202

Description

Binding rope mounting plate device
Technical Field
The invention relates to a disposable ligature rope mounting plate device which is applied to placement and fixation of ligatures in a blood vessel ligation device and further improves the efficiency of ligature rope mounting.
Background
When hemostasis and ligation are performed in a surgical operation, a blood vessel ligation device is required, and how to install and replace a ligation rope is an important step in the process of using the blood vessel ligation device.
The blood vessel ligation device is used in the operation process, the ligation rope is thin and is inconvenient to install manually, in addition, the time is relatively urgent in the operation process, the ligation rope is relatively complex and time-consuming to replace and install manually, and a simple and efficient device is needed for replacing and installing the ligation rope. The invention provides a disposable ligature rope mounting plate device in combination with a blood vessel ligature device.
Disclosure of Invention
Aiming at the defects of the prior art, the invention provides a ligature rope mounting plate device which is used for efficiently fixing and mounting a ligature rope.
In order to solve the technical problems, the invention is realized by the following technical scheme:
the binding rope mounting plate device comprises a bottom plate, a top plate, a pressing sheet, a left coil support and a right coil support.
The top plate is fixed on the bottom plate, and a transitional guide slope is arranged between the top plate and the bottom plate; a left coil support and a right coil support are symmetrically arranged on the top plate, a sealing block is arranged at the tail end of the right coil support, and the tail end is the end far away from the guide slope;
the left coil support and the right coil support are both provided with grooves for arranging the tying ropes; the binding rope is annular, one side of the binding rope is positioned on the guide slope, and the other side of the binding rope is positioned in the grooves of the left coil support and the right coil support and penetrates through the sealing block; the guide slope is used for driving the ligation rope to enter a crochet hook in a crochet hook of the blood vessel ligation device;
the binding ropes on the bottom plate are attached by the pressing sheets and used for fixing the placing positions of the binding ropes;
the left coil support and the right coil support are arranged in a splayed manner, the ligature rope bypasses the initial end of the left coil support and the initial end of the right coil support, and the initial end of the left coil support and the initial end of the right coil support are both ends close to the guide slope;
the left coil support and the right coil support can rotate around respective initial ends.
Furthermore, the bottom plate is provided with a shallow groove for guiding the binding rope.
Furthermore, the ribbed plate is positioned on two sides of the top plate, and the top of the ribbed plate is provided with a guide groove for transferring the ligature rope on the bottom plate to the tail ends of the left coil bracket and the right coil bracket.
Furthermore, the sealing block comprises an edge opening to be sealed and a wire inlet, wherein a fixed ligature passes through the wire inlet and is fixed with the wire inlet.
The invention has the beneficial effects that:
1. the process of installing the ligature rope can be effectively simplified by adopting a mode that the guide slope drives the ligature rope into the crochet hook of the blood vessel ligation device.
2. The sealing block can be easily fixed on a clamp body in the blood vessel ligation device when the ligation rope is installed on the blood vessel ligation device in a mode of fixing the sealing block at the tail end of the right coil support.
3. The mode that a small amount of glue is used for fixing the tail ends of the left coil support and the right coil support is adopted, so that the coil support cannot be taken out of the clamp due to rebounding after the ligature rope is installed.
Drawings
The invention will be further described with reference to the accompanying drawings in which:
fig. 1 is a front view of a ligature mounting plate apparatus according to the present invention.
Fig. 2 is a view showing the arrangement of the binding ropes of the binding rope mounting plate device of the present invention.
Fig. 3a is a partial enlarged view of fig. 2.
FIG. 3b is a view of the block of the present invention shown in FIG. 2.
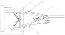
FIG. 4a shows a head of a vessel ligation device
Fig. 4b is a structural view of the clip device in the head of the blood vessel ligation device.
Fig. 5 is a view showing the relative positions of the ligature mounting plate device and the blood vessel ligation device according to the present invention.
Fig. 6a and 6b are binding cord installation views.
Fig. 7 is a structural view of the ligature mounting plate apparatus of the present invention.
Detailed Description
The invention comprises a bottom plate, a top plate, a pressing sheet, a left coil bracket and a right coil bracket.
The top plate is fixed on the bottom plate, and a transitional guide slope is arranged between the top plate and the bottom plate; a left coil support and a right coil support are symmetrically arranged on the top plate, a sealing block is arranged at the tail end of the right coil support, and the tail end is the end far away from the guide slope;
the left coil support and the right coil support are both provided with grooves for arranging the tying ropes; the binding rope is annular, one side of the binding rope is positioned on the guide slope, and the other side of the binding rope is positioned in the grooves of the left coil support and the right coil support and penetrates through the sealing block; the guide slope is used for driving the ligation rope to enter a crochet hook in a crochet hook of the blood vessel ligation device;
the binding ropes on the bottom plate are attached by the pressing sheets and used for fixing the placing positions of the binding ropes so that the binding ropes are not easy to fall off;
the left coil support and the right coil support are arranged in a splayed manner, the ligature rope bypasses the initial end of the left coil support and the initial end of the right coil support, and the initial end of the left coil support and the initial end of the right coil support are both ends close to the guide slope;
the left coil support and the right coil support can rotate around respective initial ends.
Preferably, the bottom plate, the left coil support and the right coil support are combined with a mode of fixing the placement path of the ligature rope, so that the installation accuracy of the ligature rope can be improved.
Preferably, the mode of fixing the placement position of the ligature rope by the bottom plate is adopted, so that the deviation of the ligature rope after placement can be effectively reduced.
Preferably, the mode that the left coil bracket and the right coil bracket are fixed by the rotating shaft is adopted, so that the blood vessel ligation device enters the device by rotating the coil brackets through the rotating shaft when the ligation rope is installed.
Preferably, the guide slope is adopted to drive the ligature rope into the crochet hook of the blood vessel ligation device, so that the installation process of the ligature rope can be effectively simplified.
Preferably, the seal block is fixed to the distal end of the right coil support in such a manner that the seal block can be easily fixed to the clip body when the ligature is mounted to the blood vessel ligation device.
Preferably, the mode that a small amount of glue is used for fixing the tail ends of the left coil support and the right coil support is adopted, so that the coil support cannot be taken out of the clamp due to the fact that the coil support can be bounced after the ligature rope is installed.
Example (b):
as shown in fig. 1 and fig. 2, the present embodiment includes a bottom plate 1, a pressing sheet 2, aleft coil support 3, a right coil support 4, a ligature rope 5, a top plate 9 and arib plate 10, wherein the bottom plate 1 is provided with the top plate 9 to form two planes of high and low, aguide slope 101 is provided at one side of the top plate 9, the top plate 9 is fixed by thevertical rib plate 10 of the bottom plate 1, theleft coil support 3 and the right coil support 4 are symmetrically installed on the top plate 9, and theleft coil support 3 and the right coil support 4 are close to one end of theguide slope 101, i.e. the first section is fixed on the top plate 9 through a shaft, the ligature rope 5 is placed in the grooves of theleft coil support 3 and the right coil support 4 on one side and is placed at theguide slope 101 on the other side, as shown in fig. 2. After the ligature rope is placed, the pressing sheet 2 is fixed on the bottom plate 1, and the placement position of the ligature rope is fixed, so that the ligature rope is not easy to fall off.
As shown in fig. 3a and 3b, thesealing block 501 comprises a to-be-sealed port 5011 and anupper wire inlet 5012; the ligature 5 passes through theupper wire inlet 5012 of thesealing block 501, and is fixedly connected with thesealing block 501; thesealing block 501 is placed at the nip at the end of the right coil support 4 with theupper wire inlet 5011 facing the inside of the nip.
As shown in fig. 4a and 4b, the blood vessel ligation device comprises a wire clip hooking needle 6, an upper clip body 7 and alower clip body 8, wherein the wire clip hooking needle 6 comprises awire clip 601 and a hook needle 602, the upper clip body 7 comprises a firstligation rope groove 701 and ablock groove 702, and thelower clip body 8 comprises a secondligation rope groove 801.
As shown in fig. 5, the clip device of the blood vessel ligation apparatus is in an opened state, the opening of theclip 601 of the clip hooking needle 6 is aligned with the ligation string 5 at the middle portion of the left andright loop brackets 3 and 4, and the opening direction of the hooking needle 602 is toward the side of the base plate 1.
The blood vessel ligation device is moved towards the ligation rope mounting plate device according to the figure 5, in the moving process of the blood vessel ligation device, the ligation rope 5 at the tail end of the right coil support 4 is in contact with the upper clamp body 7 and slides into the firstligation rope groove 701 of the upper clamp body 7, and the ligation rope 5 at the tail end of theleft coil support 3 is in contact with thelower clamp body 8 and slides into the secondligation rope groove 801 of thelower clamp body 8.
In the process of continuously moving, because the tail ends of theleft coil support 3 and the right coil support 4 are adhered to the bottom plate by a small amount of glue, the two tail ends are separated from the bottom plate under the pulling force of the tying rope 5, theleft coil support 3 and the right coil support 4 rotate, and thesealing block 501 gradually enters thesealing block groove 702 of the upper clamp body 7 along with the pulling up of the tying rope and is limited in thesealing block groove 702. The ligature 5 between theleft coil support 3 and the right coil support 4 gradually enters thewire clamp 601, and the ligature 5 on the guide slope gradually enters the crochet hook 602 under the action of tensile force through the driving of the guide slope.
As shown in fig. 6a and 6b, after the ligature 5 completely enters the barbed needle 602, the ligature 5 is smoothly attached to the blood vessel ligation device, and the operation is completed. A structural view of the present ligature mounting plate apparatus is shown in figure 7.
In conclusion, the invention fixes the placing path of the ligature rope through the coil bracket and the bottom plate, and after the ligature rope is placed, the pressing sheet is installed to ensure that the ligature rope is not easy to fall off. The ligature rope is smoothly installed by the guidance of the guide slope and the guidance of the ligature rope groove I and the ligature rope groove II in cooperation with the blood vessel ligation device.
Other embodiments of the present invention than the preferred embodiments described above will be apparent to those skilled in the art from the present invention, and various changes and modifications can be made therein without departing from the spirit of the present invention as defined in the appended claims.

Claims (4)

1. Ligature rope mounting panel device, including bottom plate, roof, preforming, left coil bracket, right coil bracket, its characterized in that:
the top plate is fixed on the bottom plate, and a transitional guide slope is arranged between the top plate and the bottom plate; a left coil support and a right coil support are symmetrically arranged on the top plate, a sealing block is arranged at the tail end of the right coil support, and the tail end is the end far away from the guide slope;
the left coil support and the right coil support are both provided with grooves for arranging the tying ropes; the binding rope is annular, one side of the binding rope is positioned on the guide slope, and the other side of the binding rope is positioned in the grooves of the left coil support and the right coil support and penetrates through the sealing block; the guide slope is used for driving the ligation rope to enter a crochet hook in a crochet hook of the blood vessel ligation device;
the binding ropes on the bottom plate are attached by the pressing sheets and used for fixing the placing positions of the binding ropes;
the left coil support and the right coil support are arranged in a splayed manner, the ligature rope bypasses the initial end of the left coil support and the initial end of the right coil support, and the initial end of the left coil support and the initial end of the right coil support are both ends close to the guide slope;
the left coil support and the right coil support can rotate around respective initial ends.
2. The ligature mounting plate arrangement according to claim 1, wherein: the bottom plate is provided with a shallow groove for guiding the binding rope.
3. The ligature mounting plate arrangement according to claim 1, wherein: the top plate is fixed by rib plates, the rib plates are positioned on two sides of the top plate, and guide grooves are formed in the tops of the rib plates and used for enabling the ligature ropes on the bottom plate to be transited to the tail ends of the left coil support and the right coil support.
4. The ligature mounting plate arrangement according to claim 1, wherein: the sealing block comprises an edge opening to be sealed and a wire inlet, wherein a fixed ligature passes through the wire inlet and is fixed with the wire inlet.
CN202110591202.8A2021-05-282021-05-28 Ligature rope mounting plate deviceActiveCN113303856B (en)

Priority Applications (1)

Application NumberPriority DateFiling DateTitle
CN202110591202.8ACN113303856B (en)2021-05-282021-05-28 Ligature rope mounting plate device

Applications Claiming Priority (1)

Application NumberPriority DateFiling DateTitle
CN202110591202.8ACN113303856B (en)2021-05-282021-05-28 Ligature rope mounting plate device

Publications (2)

Publication NumberPublication Date
CN113303856Atrue CN113303856A (en)2021-08-27
CN113303856B CN113303856B (en)2022-03-29

Family

ID=77375899

Family Applications (1)

Application NumberTitlePriority DateFiling Date
CN202110591202.8AActiveCN113303856B (en)2021-05-282021-05-28 Ligature rope mounting plate device

Country Status (1)

CountryLink
CN (1)CN113303856B (en)

Citations (5)

* Cited by examiner, † Cited by third party
Publication numberPriority datePublication dateAssigneeTitle
US3426757A (en)*1965-11-081969-02-11Amp IncLigating hemostat for applying a noose with a locking disc
US20130211432A1 (en)*2010-09-222013-08-15FUJIJFILM CorporationLigation device and clip unit used therein
CN104490448A (en)*2014-12-172015-04-08成都快典科技有限公司Clamping applying pincers for surgical ligation
CN208769913U (en)*2017-11-242019-04-23杭州市第一人民医院 A combined endoscopic titanium clip device
CN111867492A (en)*2018-08-222020-10-30奥林巴斯株式会社 Gripper unit and mucosa lift method

Patent Citations (5)

* Cited by examiner, † Cited by third party
Publication numberPriority datePublication dateAssigneeTitle
US3426757A (en)*1965-11-081969-02-11Amp IncLigating hemostat for applying a noose with a locking disc
US20130211432A1 (en)*2010-09-222013-08-15FUJIJFILM CorporationLigation device and clip unit used therein
CN104490448A (en)*2014-12-172015-04-08成都快典科技有限公司Clamping applying pincers for surgical ligation
CN208769913U (en)*2017-11-242019-04-23杭州市第一人民医院 A combined endoscopic titanium clip device
CN111867492A (en)*2018-08-222020-10-30奥林巴斯株式会社 Gripper unit and mucosa lift method

Also Published As

Publication numberPublication date
CN113303856B (en)2022-03-29

Similar Documents

PublicationPublication DateTitle
SU1442191A1 (en)Surgical suturing apparatus
CN113303856B (en) Ligature rope mounting plate device
CN217066476U (en)Anastomat device for operation
CN109449498A (en)A kind of tape sticking device of battery battery core
CN208838024U (en) Minimally invasive surgery endoscopic cutting stapler guide hook
CN211768814U (en)Variable-pitch rotary adjusting device and automatic filling equipment with same
CN210731346U (en)Spot welding device
CN209795916U (en)Automatic ribbon cutting device
CN110123405A (en)A kind of novel vascular surgery vascular anastomosis device
CN113876380B (en) Anastomotic device for conveniently fixing and releasing gasket
CN116407400A (en)Puncture guide
CN109431562B (en)Medical treatment is with multiple spot wound suturing device that alternately sews up
CN221660120U (en)Label feeding device
WO2020151341A1 (en)Stapler handle system and stapler
CN112617937A (en)Anastomat sleeve pipe assembly
CN215999168U (en)Device for automatically aligning chip to bonding wire
CN113000721B (en)Core wire shaping device
CN222752146U (en) A fixing plate and exhaust device for laparotomy
CN218615404U (en)Surgical suture line arranging clamp and surgical suture line welding equipment
CN111728656A (en) A kind of auxiliary jig for wound suture for surgical operation
CN110575215A (en) stapler
CN221830685U (en) A multifunctional surgical line fixer for nursing
CN219021369U (en)Hemostatic clamp with auxiliary positioning function for suturing
CN221786494U (en)Three-in-one integrated tool for tissue grabbing, threading and wire leading in arthroscopic surgery
CN222787792U (en)Medical suture bundling device

Legal Events

DateCodeTitleDescription
PB01Publication
PB01Publication
SE01Entry into force of request for substantive examination
SE01Entry into force of request for substantive examination
GR01Patent grant
GR01Patent grant

[8]ページ先頭

©2009-2025 Movatter.jp