Movatterモバイル変換


[0]ホーム

URL:


CN113286529A - Evaporator including positive resistivity temperature coefficient heater - Google Patents

Evaporator including positive resistivity temperature coefficient heater
Download PDF

Info

Publication number
CN113286529A
CN113286529ACN202080008599.7ACN202080008599ACN113286529ACN 113286529 ACN113286529 ACN 113286529ACN 202080008599 ACN202080008599 ACN 202080008599ACN 113286529 ACN113286529 ACN 113286529A
Authority
CN
China
Prior art keywords
resistivity
temperature
ptcr
heating element
heat exchanger
Prior art date
Legal status (The legal status is an assumption and is not a legal conclusion. Google has not performed a legal analysis and makes no representation as to the accuracy of the status listed.)
Granted
Application number
CN202080008599.7A
Other languages
Chinese (zh)
Other versions
CN113286529B (en
Inventor
W·W·奥尔斯顿
A·鲍恩
I·加西亚-多缇
J·A·库兹曼
J·蒙西斯
P·R·维埃拉
Current Assignee (The listed assignees may be inaccurate. Google has not performed a legal analysis and makes no representation or warranty as to the accuracy of the list.)
Juul Labs Inc
Original Assignee
Juul Labs Inc
Priority date (The priority date is an assumption and is not a legal conclusion. Google has not performed a legal analysis and makes no representation as to the accuracy of the date listed.)
Filing date
Publication date
Application filed by Juul Labs IncfiledCriticalJuul Labs Inc
Priority to CN202510032929.0ApriorityCriticalpatent/CN119769793A/en
Priority claimed from PCT/US2020/013224external-prioritypatent/WO2020146828A1/en
Publication of CN113286529ApublicationCriticalpatent/CN113286529A/en
Application grantedgrantedCritical
Publication of CN113286529BpublicationCriticalpatent/CN113286529B/en
Activelegal-statusCriticalCurrent
Anticipated expirationlegal-statusCritical

Links

Images

Classifications

Landscapes

Abstract

The evaporator device comprises a housing having an air inlet (105), a heating element (110) within the housing, and a heat exchanger. The heating element comprises a non-linear positive temperature coefficient of resistance material. The heat exchanger is thermally coupled to the heating element and arranged to receive the airflow from the air inlet. The heat exchanger is configured to transfer heat between the heating element and the airflow to produce a heated airflow. The heated air stream exiting the heat exchanger is configured to vaporize the vaporizable material (155). Related apparatus, systems, techniques, and articles are also described.

Description

Evaporator comprising a positive temperature coefficient of resistance heater
Cross Reference to Related Applications
The present application claims priority from U.S. provisional patent application No. 62/791,709 entitled "variable incorporated Positive temporal coordination of resistance Heater" filed on 11.1.2019, priority from U.S. provisional patent application No. 62/816,452 entitled "variable incorporated Positive temporal coordination of resistance Heater" filed on 11.3.2019, priority from U.S. provisional patent application No. 62/898,522 entitled "variable incorporated Positive temporal coordination of resistance Heater" filed on 10.9.2019, and priority from U.S. provisional patent application No. 62/959,737 entitled "filed on 10.1.2019, which is hereby incorporated by reference in its entirety into this provisional patent application, all of which are incorporated herein by reference in their entirety.
Technical Field
The subject matter described herein relates to vaporizer devices, such as portable personal vaporizer devices, for generating an inhalable aerosol from one or more vaporizable materials and including a heating element utilizing a semiconductor material having a non-linear Positive Temperature Coefficient of Resistivity (PTCR).
Background
Vaporizer devices, which may also be referred to as electronic vaporizer devices or e-vaporizer devices, may be used to deliver an aerosol (sometimes also referred to as a "vapor") containing one or more active ingredients by inhalation of the aerosol by a user of the vaporizer device. Electronic cigarettes, which may also be referred to as e-cigarettes, are a type of vaporiser device that is typically battery powered and may be used to simulate the experience of smoking, but does not burn tobacco or other substances. In use of the vaporizer apparatus, the user inhales an aerosol, commonly referred to as a vapor, which may be generated by a heating element that vaporizes (generally meaning at least partially transforming a liquid or solid into a vapor phase) a vaporizable material, which may be in the form of a liquid, solution, solid, wax, or any other form, so long as it is compatible with the use of the particular vaporizer apparatus.
To receive the inhalable aerosol generated by the vaporizer device, in some examples, the user may activate the vaporizer device by suction, by pressing a button, or by some other method. Inhalation, as the term is commonly used (and also used herein), refers to inhalation by a user in a manner such that a volume of air is drawn through the vaporizer apparatus such that the vaporized vaporizable material combines with the air to produce an inhalable aerosol. A typical method of generating an inhalable aerosol from a vaporizable material by a vaporizer device (which may include, for example, an air inlet, an air outlet fluidly coupled to a mouthpiece, and a vaporization chamber therebetween) includes heating the vaporizable material in a vaporization chamber (also sometimes referred to as a heating chamber) to convert the vaporizable material to a vapor (vapor) phase. A vaporization chamber generally refers to a region or volume in a vaporizer apparatus in which a heat source heats a vaporizable material to produce a mixture of air and vaporizable material, with some equilibrium between the vapor phase and a condensed phase (e.g., liquid and/or solid).
Certain components of the vapor phase vaporizable material may condense upon vaporization due to cooling and/or pressure changes, forming an aerosol comprising condensed phase (e.g., liquid and/or solid) particles suspended in at least some of the air drawn into the vaporizer apparatus by suction. If the vaporizable material comprises a semi-volatile compound (e.g., a compound such as nicotine having a relatively low vapor pressure at inhalation temperature and pressure), the inhalable aerosol can include the semi-volatile compound in some local equilibrium between the vapor phase and the condensed phase.
Disclosure of Invention
In one aspect, an evaporator device includes a housing including an air inlet. The evaporator device also includes a heating element within the housing. The heating element comprises a non-linear positive temperature coefficient of resistance material. The evaporator device also includes a heat exchanger thermally coupled to the heating element and arranged to receive the airflow from the air inlet. The heat exchanger is configured to transfer heat between the heating element and the airflow to produce a heated airflow. The heated air stream exiting the heat exchanger is configured to vaporize the vaporizable material.
One or more of the following features may be included in any feasible combination. For example, the heat exchanger may include a first heat exchanger thermally coupled to a first side of the heating element. The heat exchanger may include a second heat exchanger thermally coupled to a second side of the heating element. The heat exchanger may include a plurality of fin features. The heat exchanger may be made of aluminum, copper, steel, stainless steel or titanium. The heat exchanger may be extruded from a thermally conductive material. The apparatus may include a splitter positioned in the airflow path, the splitter configured to split a portion of the airflow through the heat exchanger. The housing may include a heater assembly cover that houses the heat exchanger. The apparatus may include a power source configured to provide electrical energy to heat the heating element. The device may include a cartridge located downstream of the heating element and oriented to receive a heated air stream, wherein downstream is with respect to the air stream. The housing may include a connector configured to couple the housing to a cartridge containing the vaporizable material. The vaporizable material can be a solid vaporizable material.
The vaporizer apparatus may include a cartridge configured to contain a vaporizable material. The cartridge may comprise a first air inlet. The housing may include a connector configured to couple the housing to the cartridge. The cartridge may comprise a solid vaporizable material. The cartridge may include a reservoir, a liquid vaporizable material within the reservoir, and a wick in fluid communication with the liquid vaporizable material, wherein the cartridge is configured to receive a heated gas stream and direct the heated gas stream onto the wick. The cartridge may comprise a mouthpiece and the wick holder may be located in an air flow path between the heating element and the mouthpiece. The cartridge may comprise a second air inlet configured to draw a second airflow into the cartridge to mix with the heated airflow and within a condensation chamber located in the airflow path downstream of the heat exchanger and the vaporizable material. The cartridge may include a reservoir, a liquid vaporizable material within the reservoir, and a wick in fluid communication with the liquid vaporizable material. The wick may be arranged to receive a heated airflow from the heat exchanger to produce the vaporised vaporisable material in the form of vapour and/or a first aerosol. The solid vaporizable material can be arranged to receive the vapor and/or the first aerosol and produce a second aerosol. The mouthpiece may be configured to receive the second aerosol after the vapor and/or the first aerosol passes through the solid vaporizable material.
The evaporator device can include a first cartridge containing a vaporizable material, a first air inlet, and a wick. The vaporizable material can be a liquid vaporizable material and the wick can be in fluid communication with the liquid vaporizable material. The wick may be arranged to receive a heated airflow from the heat exchanger through the first air inlet to evaporate the vaporizable material to produce a vapour and/or a first aerosol. The evaporator device can further include a second cartridge containing a solid vaporizable material and a mouthpiece. The solid vaporizable material may be arranged to receive the vapor and/or the first aerosol to produce a second aerosol. The mouthpiece may be configured to receive the second aerosol after the vapor and/or the first aerosol passes through the solid vaporizable material. The first cartridge is removably couplable to the housing. The second cartridge may be removably coupled to the housing and/or the first cartridge. The first and second cartridges may be disposable cartridges. The second cartridge may include a second air inlet for mixing ambient temperature air with the vaporized vaporizable material after the vaporized vaporizable material passes through the solid vaporizable material. The device may comprise a fibrous body arranged to receive and cool the second aerosol after the vapour and/or first aerosol has passed through the solid vaporisable material.
The nonlinear positive temperature coefficient of resistivity material includes a resistivity transition region in which the resistivity increases over a temperature range such that when the heating element is heated above a first temperature within the resistivity transition region, current from the power source is reduced to a level that limits further temperature rise of the heating element. The resistivity transition zone may begin at a first temperature between 150 ℃ and 350 ℃. The resistivity transition zone may begin at a first temperature between 220 ℃ and 300 ℃. The resistivity transition zone may begin at a first temperature between 240 ℃ and 280 ℃. The increase in resistivity over the temperature range of the resistivity transition region may include an increase factor of at least 10, an increase factor of at least 100, or an increase factor of at least 1000. The increase factor characterizes a relative change in resistivity between the resistivity at a first temperature associated with the beginning of the resistivity transition zone and the resistivity at a second temperature associated with the end of the resistivity transition zone. The resistivity transition zone may begin at a first temperature, and the resistivity of the heating element at a temperature lower than the first temperature may be between 0.2 and 200ohm-cm, between 2.0 and 20ohm-cm, or between 20 and 200 ohm-cm.
The device may include a power source configured to provide a current having a voltage between 3 volts and 50 volts to the heating element, a pressure sensor, and a controller coupled to the pressure sensor and configured to detect inhalation and, in response, electrically connect the power source to the heating element. The housing may be cylindrical, the heating element may be cylindrical, and the heat exchanger may be cylindrical. The housing may also be rectangular, the heating element may also be rectangular, and the heat exchanger may also be rectangular. The power supply may provide Direct Current (DC) or Alternating Current (AC).
The evaporator apparatus may include an input configured to electrically connect a power source to a PTCR heating element (PTCR heater) in response to a user input. The input may comprise a button. The PTCR heating element of the evaporator device is self-regulating to maintain a predetermined temperature upon start-up. The evaporator device does not require a pressure sensor and/or a controller coupled to the pressure sensor to electrically connect the power source to the PTCR heating element and regulate the temperature thereof.
A method may include receiving, by an evaporator apparatus, a user input; heating the vaporizable material using a vaporization apparatus; and generating an inhalable aerosol.
In another aspect, a PTCR heater assembly for heating an air flow of an evaporator apparatus includes a heater assembly cover and a heat exchanger disposed within the heater assembly cover. The heat exchanger is configured to transfer heat to the airflow. A Positive Temperature Coefficient of Resistivity (PTCR) heating element is thermally coupled to the heat exchanger. The PTCR heating element is configured to be electrically coupled to a power source to receive an electrical current and heat the vaporizable material to form an aerosol. The PTCR heating element includes a PTCR material having a resistivity that varies based on temperature. The resistivity includes a resistivity transition region in which the resistivity increases over a temperature range such that when the PTCR heating element is heated above a first temperature within the transition region, current from the power supply is reduced to a level that limits further temperature rise of the PTCR heating element.
One or more of the following features may be included in any feasible combination. For example, the heat exchanger may include a first heat exchanger thermally coupled to a first side of the heating element. The heat exchanger may include a second heat exchanger thermally coupled to a second side of the heating element. The heat exchanger may include a plurality of fin features. The heat exchanger may be made of aluminum, copper, steel, stainless steel or titanium. The heat exchanger may be extruded from a thermally conductive material. The heat exchanger may be made of foamed metal (metal foam), for example foamed aluminium. The heater assembly cover may comprise a non-conductive material. The heater assembly cover may include a non-thermally conductive material. The heater assembly cover may include a metal with a non-conductive coating that isolates the heater assembly cover from the heat exchanger. The heater assembly cover may comprise Polytetrafluoroethylene (PTFE).
The resistivity transition zone may begin at a first temperature between 150 ℃ and 350 ℃. The resistivity transition zone may also begin at a first temperature between 220 ℃ and 300 ℃. The resistivity transition zone may also begin at a first temperature between 240 ℃ and 280 ℃. The first temperature may be greater than 225 ℃. The PTCR heating element may be heated to an operating temperature between 240 ℃ and 280 ℃. The PTCR heating element may be heated to an operating temperature of between 245 ℃ and 255 ℃. The PTCR heating element may be heated to an operating temperature of about 250 ℃. The PTCR heater assembly may increase the resistivity by an increase factor of at least 10, at least 100, or at least 1000 over a temperature range of the resistivity transition region. The increase factor characterizes a relative change in resistivity between a resistivity at a first temperature associated with a beginning of the resistivity transition region and a resistivity at a second temperature associated with an end of the resistivity transition region. The resistivity transition zone may begin at a first temperature and end at a second temperature, wherein a difference between the first temperature and the second temperature is 500 ℃ or less, 200 ℃ or less, 100 ℃ or less, or 50 ℃ or less. The resistivity transition zone may begin at a first temperature and the PTCR heating element has a resistivity between 0.2ohm-cm and 2.0ohm-cm, between 2.0ohm-cm and 20ohm-cm, or between 20ohm-cm and 200ohm-cm at a temperature less than the first temperature.
In another aspect, an evaporator apparatus for evaporating a solid vaporizable material using a heated gas stream includes a housing including an air inlet and a power supply configured to provide electrical current at a voltage, and a PTCR heater assembly within the housing. The PTCR heater assembly includes a heating element within the housing and configured to be electrically coupled to a power source to receive electrical current. The PTCR heating element includes a PTCR material having a resistivity that varies based on temperature. The resistivity includes a resistivity transition region in which the resistivity increases over a temperature range such that when the PTCR heating element is heated above a first temperature within the transition region, current from the power supply is reduced to a level that limits further temperature rise of the PTCR heating element. The heater assembly also includes a heat exchanger thermally coupled to the heating element and arranged to receive the airflow from the air inlet. The heat exchanger is configured to transfer heat between the heating element and the airflow to produce a heated airflow. The heated gas stream exiting the heat exchanger is configured to vaporize a solid vaporizable material.
One or more of the following features may be included in any feasible combination. For example, a solid vaporizable material can be included in the vaporizer apparatus. The solid vaporizable material may be a tobacco-containing medium. The evaporator apparatus may include an input configured to electrically connect a power source to the PTCR heating element in response to a user input. The input may comprise a button. The evaporator device may not include a controller. The evaporator device may not include a pressure sensor. In another aspect, an evaporator apparatus includes a pressure sensor and a controller coupled to the pressure sensor and configured to detect inhalation and, in response, electrically connect a power source to a PTCR heating element. The heat exchanger may include a first heat exchanger thermally coupled to a first side of the heating element. The heat exchanger may include a second heat exchanger thermally coupled to a second side of the heating element. The heat exchanger may include a plurality of fin features. The heat exchanger may be made of aluminum, copper, steel, stainless steel or titanium. The heat exchanger may be extruded from a thermally conductive material. The heat exchanger may be made of foamed metal, for example foamed aluminium. The PTCR heater assembly may include a heater assembly cover. The heater assembly cover may comprise a non-conductive material. The heater assembly cover may include a non-thermally conductive material. The heater assembly cover may include a metal with a non-conductive coating that isolates the heater assembly cover from the heat exchanger. The heater assembly cover may comprise Polytetrafluoroethylene (PTFE).
The resistivity transition zone may begin at a first temperature between 150 ℃ and 350 ℃. The resistivity transition zone may also begin at a first temperature between 220 ℃ and 300 ℃. The resistivity transition zone may also begin at a first temperature between 240 ℃ and 280 ℃. The first temperature may be greater than 225 ℃. The PTCR heating element may be heated to an operating temperature between 240 ℃ and 280 ℃. The PTCR heating element may be heated to an operating temperature of between 245 ℃ and 255 ℃. The PTCR heating element may be heated to an operating temperature of about 250 ℃. The PTCR heater assembly may increase the resistivity by an increase factor of at least 10, at least 100, or at least 1000 over a temperature range of the resistivity transition region. The increase factor characterizes a relative change in resistivity between a resistivity at a first temperature associated with a beginning of the resistivity transition zone and a resistivity at a second temperature associated with an end of the resistivity transition zone. The resistivity transition zone may begin at a first temperature and end at a second temperature, wherein a difference between the first temperature and the second temperature is 500 ℃ or less, 200 ℃ or less, 100 ℃ or less, or 50 ℃ or less. The resistivity transition zone may begin at a first temperature and the PTCR heating element has a resistivity between 0.2ohm-cm and 2.0ohm-cm, between 2.0ohm-cm and 20ohm-cm, or between 20ohm-cm and 200ohm-cm at a temperature less than the first temperature.
In another aspect, a method of vaporizing a vaporizable material includes receiving a user input through a vaporizer apparatus and heating an airflow using a PTCR heater assembly to produce a heated airflow, the PTCR heater assembly including a heat exchanger thermally coupled to a PTCR heater. The PTCR heating element is configured to be electrically coupled to a power source. The PTCR heating element includes a resistivity that varies based on temperature. The resistivity includes a resistivity transition region that includes an increase in resistivity over a temperature range from a first temperature to a second temperature such that when the PTCR heating element is heated between the first temperature and the second temperature, current from the power supply is reduced to a level that limits further temperature increase of the PTCR heating element due to the current. The method further includes evaporating the vaporizable material with a heated gas stream. The vaporizable material can include nicotine.
The details of one or more variations of the subject matter described herein are set forth in the accompanying drawings and the description below. Other features and advantages of the subject matter described herein will be apparent from the description and drawings, and from the claims.
Drawings
Fig. 1 illustrates the thermal power generation behavior within an isotropic PTCR material;
FIG. 2 is a block diagram illustrating an exemplary evaporator apparatus that may utilize convection heating to provide uniform heating of vaporizable material in accordance with some embodiments of the present subject matter;
FIG. 3 is a block diagram of an exemplary vaporizer apparatus and cartridge with liquid vaporizable material that can utilize convection heating to provide uniform heating of the vaporizable material;
fig. 4 is a cross-sectional view of an exemplary vaporizer apparatus with a liquid vaporizable material.
FIG. 5 is a cross-sectional view of an exemplary evaporator apparatus having a solid vaporizable material (e.g., heating a non-combustible product);
FIG. 6 is a block diagram of an exemplary vaporizer apparatus and cartridge with liquid vaporizable material and solid vaporizable material, which can provide uniform heating of the vaporizable material using convective heating;
FIG. 7 is a block diagram of an exemplary evaporator device having a plurality of cartridges;
fig. 8 is a cross-sectional view of an exemplary vaporizer apparatus having both a liquid vaporizable material and a solid vaporizable material.
FIG. 9 is a graph illustrating an exemplary resistivity versus temperature curve for a non-linear Positive Temperature Coefficient of Resistivity (PTCR) material;
fig. 10 presents a table of resistivity versus temperature curve data for the nonlinear PTCR semiconductor material shown in fig. 9;
FIG. 11 is a graph illustrating an exemplary resistivity versus temperature curve for a non-linear Positive Temperature Coefficient of Resistivity (PTCR) material;
FIG. 12A is a diagram illustrating an exemplary PTCR heating element capable of improving evaporator heating;
fig. 12B is a cross-section of the exemplary PTCR heating element shown in fig. 9A;
13A-13E illustrate modeled temperatures for an exemplary PTCR heater;
14A-14F illustrate modeled temperatures for an exemplary PTCR heater;
FIG. 15 shows modeled temperatures of an exemplary heater after 6.0 seconds of voltage application in a free convection state;
FIG. 16A shows modeled surface temperatures as a function of time for an exemplary heater;
FIG. 16B illustrates modeled and measured maximum surface temperatures as a function of time for an exemplary heater;
FIG. 16C illustrates modeled and measured average surface temperatures as a function of time for an exemplary heater;
FIG. 17 illustrates transient current response as a function of time for an exemplary heater;
FIG. 18 is a perspective view of an exemplary evaporator assembly including a PTCR heater and heat exchanger elements capable of achieving convective heating and improved uniform heating of vaporizable material;
FIG. 19 is an exploded view of a rectangular PTCR evaporator device, including an exploded view of an exemplary evaporator assembly;
fig. 20 is a perspective view of an exemplary PTCR evaporation assembly;
FIG. 21 is a perspective view of an exemplary PTCR evaporation assembly and disposable rectangular product;
FIG. 22 is a perspective view of an exemplary PTCR evaporation assembly and disposable rectangular product after 0.2 seconds of activation;
FIG. 23 is a perspective view of an exemplary PTCR evaporation assembly and disposable rectangular product after 0.5 seconds of activation;
FIG. 24 is a perspective view of an exemplary PTCR evaporation assembly and disposable rectangular product after 1.0 second activation;
FIG. 25 is a perspective view of an exemplary PTCR evaporation assembly and disposable rectangular product after 2.0 seconds of activation;
fig. 26 is a perspective view of an exemplary PTCR evaporation assembly and disposable rectangular product after 3.0 seconds of activation;
fig. 27 is a perspective view of an exemplary PTCR heater having a cylindrical geometry;
FIG. 28 is an exploded view illustrating an exemplary PTCR heater having a cylindrical shape;
fig. 29 is a perspective view of an exemplary assembled PTCR heater;
figure 30 is a perspective view of an exemplary PTCR evaporation device with the outer cover and cylindrical diverter removed;
fig. 31 is a perspective view of an exemplary PTCR evaporation device;
FIG. 32 is a graph of log resistivity versus temperature for an exemplary cylindrical vaporization device having a PTCR heater;
FIG. 33 is a cross-sectional view illustrating a temperature simulation of an exemplary embodiment of a cylindrical evaporation device having a PTCR heater; and
fig. 34A to 34G are shear plots showing the transient response of temperature in color for an exemplary embodiment of a cylindrical evaporation device with a PTCR heater.
Identical reference numerals in the figures denote identical elements, where possible.
Detailed Description
Some aspects of the present subject matter relate to evaporator heaters that utilize a non-linear Positive Temperature Coefficient of Resistance (PTCR) heating element (also referred to as a PTCR heater) as a convection heater. In such convection heaters for evaporators, air is heated by a heating element and passed over or through a vaporizable material to form a vapor and/or aerosol for inhalation. In embodiments, the vaporizable material can include a solid vaporizable material (e.g., bulk tobacco leaf material commonly used in heated non-fired (HNB) vaporizers) and/or a liquid vaporizable material (e.g., pre-filled cartridges, pods (pods), and the like). A PTCR heating element for convective heating may make the heating of the vaporizable material more uniform. Improving heating uniformity can provide a number of advantages, including avoiding temperature differences within the vaporizable material acting as an insulator, preventing contamination of the heating element, and the like. And because the heating element may be formed from a PTCR material, the heating element may be temperature self-limiting and may not heat beyond a particular temperature within a known range of applied voltages, thereby avoiding the formation of unwanted and potentially hazardous chemical byproducts.
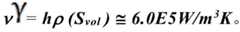
Thermal power generation within isotropic PTCR materials is characterized by the voltage gradient experienced within the material for isotropic PTCR
Figure BDA0003155435420000107
Each control volume of
Figure BDA0003155435420000101
Controlling volume
Figure BDA0003155435420000102
Figure BDA0003155435420000103
Heating to a temperature in the PTCR transition zone and maintaining the temperature at
Figure BDA0003155435420000106
As shown in fig. 1A. The thermal power generation can be expressed as:
Figure BDA0003155435420000104
where P is the amount of thermal power generated, vol is the control volume (e.g.,
Figure BDA0003155435420000105
) And ρ is the resistivity.
By utilizing a PTCR heating element, some embodiments may allow temperature to be controlled over a range of applied voltages and may not require temperature sensors, electronic circuitry, microprocessors, and/or algorithms to provide power control to the heating element.
As used herein, the term solid vaporizable material generally refers to a vaporizable material that includes a solid material. For example, some evaporator devices heat material derived from plant leaves or other plant components to extract plant-specific flavors of fragrances and other products as vapors. These plant materials may be shredded and mixed into a homogenized configuration with various plant products, which may include tobacco, in which case nicotine and/or nicotine compounds may be generated and delivered to the user of the vaporizer apparatus in the form of an aerosol. The homogenizing construction may also include vaporizable liquids such as propylene glycol and glycerin to increase the vapor density and aerosol produced upon heating. In order to avoid the production of unwanted harmful or potentially harmful components (HPHC), this type of evaporator device benefits from a heater with a temperature control device. Such evaporator devices, which heat plant foliage or homogenize the configuration as described above so that the temperature remains below the burn level, are commonly referred to as heated non-burning (HNB) devices.
As used herein, the term liquid vaporizable material generally refers to a vaporizable material that is free of solid material. The liquid vaporizable material can include, for example, a liquid, a solution, a wax, or any other form that is compatible with the use of the particular vaporizer apparatus. In embodiments, the liquid vaporizable material can include any form suitable for drawing the vaporizable material into the vaporization chamber with a wick or wicking element. The liquid vaporizable material may include a plant derived ingredient, such as nicotine and/or a nicotine compound. The liquid vaporizable material can include a vaporizable liquid such as propylene glycol and glycerin.
The vaporizer apparatus operates by heating the vaporizable material to a suitable temperature to produce an aerosol, but without burning or charring the vaporizable material. One type of evaporator device is more complex because it utilizes relatively tight temperature control to prevent overheating and the formation of associated HPHC. Due to the inherent non-uniformity and associated spatially non-uniform thermal characteristics of vaporizable materials to be heated, this complexity often requires electronic circuitry including a microprocessor, which is often difficult in HNB devices. This can lead to over-temperature regions and potential HPHC production. And some existing solutions fail to control the local temperature within the evaporator unit, resulting in a high probability of producing vaporizable material and HPHC in the over-temperature region.
Another type of evaporator device is simpler in that no temperature control means are provided, so that the construction of the evaporator device may be cheaper but include the risk of overheating and thereby leading to unwanted chemical by-products.
In HNB evaporator devices (e.g., where the vaporizable material is a solid), some existing methods lack the ability to apply a uniform temperature for one or more of the following reasons. For example, the solid vaporizable material to be heated has a low thermal diffusivity, such that diffusion of high temperatures from the heating element into the solid vaporizable material is both slow and results in a high thermal gradient. As a result, uneven heating may be an unavoidable result. As another example, if heating element temperature control is employed, the heating element temperature control typically processes an average temperature such that heating the non-uniform solid vaporizable material by a high temperature within the heating element can result in a high temperature within the solid vaporizable material. As yet another example, some existing HNB devices require a warm-up time equal to or exceeding 30 seconds in order to allow heating of the insulating material, and come with costs in terms of energy consumption, battery consumption, and user inconvenience.
In evaporator devices where a fluid is evaporated by contacting the heating element with the fluid to be evaporated, contamination of the heating element may occur, resulting in a possibility of performance impairment. A solution to this problem may be to incorporate the heating element into the disposable part of the vaporizer such that the heating element is replaced with each new disposable part, thereby limiting, but not eliminating, contamination of the heating element.
To overcome the difficulty of uniformly heating the vaporizable material, some embodiments of the present subject matter may use one or more PTCR heating elements in combination with a heat exchanger to preheat the air. As the user draws air into the evaporator apparatus, the incoming airflow is heated to a controlled temperature as it passes through the heat exchanger and then passes through or over the vaporizable material to be heated. The vaporizable material can be a solid material (e.g., as in HNB materials) or a liquid (e.g., a fluid along with a porous wick). In embodiments, the gas stream may pass through a heat exchanger, then through and/or across a porous wick filled with a liquid vaporizable material, then through a solid vaporizable material (e.g., HNB material), and then to the user. In embodiments, the geometry for the cooling air inflow may be included between the wick and the user, such as a balanced air inlet (i.e., a second air inlet). Further, the present subject matter may provide a PTCR heater with inherent temperature control, e.g., for a given supply voltage range (which may vary by a factor of ten or more in some embodiments), the designed peak temperature will not be exceeded. This approach may result in improved uniform heating of the vaporizable material as compared to some conventional approaches.
Additionally, using this convective heating method, the PTCR heating element may be placed upstream of the wick, fluid reservoir, and/or vaporizable material such that the PTCR heating element is completely removable from any disposable component of the mechanism. By including a PTCR heating element in the non-disposable portion of the evaporator apparatus, unnecessary waste can be avoided.
Fig. 2 is a block diagram illustrating anexample evaporator apparatus 100 that may be used by theevaporator apparatus 100 to provide uniform heating of vaporizable material using convective heating, according to some embodiments of the present subject matter. Theexemplary evaporator device 100 includes anair inlet 105, aPTCR heater 110 with a heat exchanger, and apower source 115, such as a battery, capacitor, and/or the like. Theexample evaporator device 100 may include ahousing 120 that may be coupled to one or more of thePTCR heater 110 with a heat exchanger and thepower source 115. In an embodiment, the exemplaryevaporator apparatus 100 can include anoptional controller 102 and anoptional pressure sensor 107. In an embodiment, thehousing 120 may define theair inlet 105.
The PTCR heater withheat exchanger 110 may include a heating element formed of PTCR material, as will be described in more detail below. The heat exchanger may be thermally coupled to the heating element and may be configured to transfer heat between the heating element and the airflow passing over and/or through thePTCR heater 110 with the heat exchanger to produce a heated airflow. The PTCR heater withheat exchanger 110 may include multiple heat exchangers, e.g., coupled to different sides of the heating element, and may include a flow splitter for splitting the airflow across and/or over the fins of the heat exchangers to improve heat transfer. Exemplary PTCR heaters withheat exchangers 110 are discussed in more detail below with reference to fig. 9-34G.
Theexample vaporizer apparatus 100 may include a connector 117 (shown in fig. 4, 5, and 8) for coupling thehousing 120 to one ormore cartridges 125 that include avaporizable material 130. In an embodiment, thecartridge 125 may include amouthpiece 135. In an embodiment, the coupling may be released so that a user may easily couple and decouple thecartridge 125 with and from theevaporator apparatus 100 through theconnector 117.
When theevaporator device 100 is coupled to thecartridge 125, theevaporator device 100 and thecartridge 125 can be arranged to define an air flow path from theair inlet 105, through and/or over the PTCR heater with theheat exchanger 110, through the first air inlet of the cartridge, through thevaporizable material 130, and out of thesuction nozzle 135.
An optional controller 102 (e.g., a processor, circuitry, etc. capable of executing logic) is used to control the transfer of heat to cause the vaporizable material to transition from a condensed form (e.g., a solid, a liquid, a solution, a suspension, a portion of at least a portion of the raw plant material, etc.) to a vapor phase. The optional controller may be part of one or more Printed Circuit Boards (PCBs) consistent with certain embodiments of the present subject matter.
Thepower source 115 may include any power source suitable for applying power to thePTCR heater 110 with a heat exchanger. For example, thepower source 115 may include a battery, a capacitor (even with resistor-capacitor (RC) attenuation (decade)), and/or the like. In an embodiment, thepower supply 115 may provide a voltage selected from a wide range of voltages. For example, in some embodiments, thepower supply 115 may provide a voltage between 3 volts and 50 volts or higher. In an embodiment, the voltage supplied to thePTCR heater 110 with the heat exchanger may vary by an order of magnitude with little impact on the performance of thePTCR heater 110 with the heat exchanger. In an embodiment, thepower source 115 may include a plurality of power sources that may be selected based on operating conditions and/or desired evaporator device performance.
In operation, a user may inhale (e.g., suck) air through thesuction nozzle 135, which may be detected by theoptional controller 102 using theoptional pressure sensor 107. In response to detecting a puff, theoptional controller 102 may cause current from thepower source 115 to be applied to the PTCR heater withheat exchanger 110, thereby warming the PTCR heater withheat exchanger 110. Because thePTCR heater 110 with the heat exchanger is formed of PTCR material, heating will be self-limiting and the heating element will not overheat.
The airflow passes through theair inlet 105 and over and/or through thePTCR heater 110 with the heat exchanger to provide uniform heating of the air in the airflow. The flow of heated gas continues to thevaporizable material 130 so that thevaporizable material 130 is also uniformly heated and forms a vapor (gas).Vaporizable material 130 can include a liquid, solution, solid, wax, or any other form. In embodiments, incoming air passing along the airflow path passes over, through, and in a similar manner through a region or chamber (e.g., an atomizer) where the vapor phase vaporizable material is entrained into the air.
The entrained vapor phase vaporizable material may condense as it passes through the remainder of the airflow path, such that an inhalable dose of vaporizable material in aerosol form may be delivered to themouthpiece 135 for inhalation by a user in vapor and/or aerosol form. In an embodiment, thecartridge 125 comprises a balance air inlet (i.e. second air inlet) 140 which may be used to provide ambient temperature air to mix with the heated air flow entering the cartridge through the first air inlet. Ambient temperature air may be mixed with the heated air stream in the condensing chamber. Thebalanced air inlet 140 is positioned after the heated air stream passes through the vaporizable material (e.g., downstream of the heat exchanger and vaporizable material) to cool the heated air stream prior to inhalation by the user. In an embodiment, thebalanced air inlet 140 is integrated with thesuction nozzle 135.
Activation of the PTCR heating element may be caused by an automatically detected puff based on one or more signals generated by one or more sensors, such as anoptional pressure sensor 107 or a sensor arranged to detect changes in pressure (or optionally measure changes in absolute pressure) along the airflow path relative to ambient pressure, one or more motion sensors of the evaporator, one or more flow sensors of the evaporator, a capacitive lip sensor of the evaporator; in response to detecting user interaction with one or more input devices (e.g., a button of the vaporizer or other tactile control device, such as a manual toggle switch, a push-button switch, a pressure switch, etc.), receiving a signal from a computing device in communication with the vaporizer; and/or by other methods to determine that aspiration is occurring or about to occur.
As mentioned in the preceding paragraph, a vaporizer consistent with embodiments of the present subject matter may be configured to connect (e.g., wirelessly or by a wired connection) to a computing device (or optionally two or more devices) in communication with the vaporizer. To this end, theoptional controller 102 may include communication hardware. Theoptional controller 102 may also include a memory. The computing device may be a component of a vaporizer system that also includes a vaporizer, and the computing device may include its own communication hardware that can establish a wireless communication channel with the communication hardware of the vaporizer. For example, a computing device used as part of the vaporizer system may include a general purpose computing device (e.g., a smartphone, a tablet, a personal computer, some other portable device such as a smartwatch, etc.) that executes software to generate a user interface for a user of the device to interact with the vaporizer. In other embodiments of the present subject matter, such a device used as part of the vaporizer system may be dedicated hardware, such as a remote control or other wireless or wired device having one or more physical or software interface controls (e.g., configurable on a screen or other display device, and accessible by a user with a touch-sensitive screen or some other input device (such as a mouse, pointer, trackball, cursor button, etc.)). The vaporizer may also include one or more output features or devices for providing information to a user.
The computing device that is part of the vaporizer system as defined above may be used for any of one or more functions, such as dosage control (e.g., dosage monitoring, dosage setting, dosage limiting, user tracking, etc.), session (session) control (e.g., session monitoring, session setting, session limiting, user tracking, etc.), nicotine delivery control (e.g., switching between nicotine and non-nicotine vaporizable materials, adjusting the amount of nicotine delivered, etc.), obtaining location information (e.g., location of other users, retailer/business location, e-cigarette smoking location, relative or absolute location of the vaporizer itself, etc.), vaporizer personalization (e.g., naming vaporizer, locking/password protecting vaporizer, adjusting one or more parental controls, associating vaporizer with user group, registering vaporizer with manufacturer or warranty maintenance organization, etc.), etc, Engaging in social activities with other users (e.g., games, social media communications, interacting with one or more groups, etc.), and so forth. The terms "engaged session", "vaporizer session" or "vapor session" are used generically to refer to a period of time dedicated to the use of a vaporizer. The period of time may include a period of time, a number of doses, an amount of vaporizable material, and the like.
In examples where the computing device provides a signal related to activation of the PTCR heating element, or in other examples where the computing device is coupled to a vaporizer to implement various controls or other functions, the computing device executes one or more sets of computer instructions to provide a user interface and underlying data processing. In one example, detection by the computing device of user interaction with one or more user interface elements may cause the computing device to signal the vaporizer to activate the PTCR heating element to a full operating temperature for generating an inhalable dose of the vapor/aerosol. Other functions of the vaporizer may be controlled by user interaction with a user interface on a computing device in communication with the vaporizer.
The temperature of the PTCR heating element of the evaporator may depend on a number of factors, including conductive heat transfer to other parts of the electronic evaporator and/or the environment, latent heat loss due to evaporation of the vaporizable material from the wicking element and/or the atomizer as a whole, and convective heat loss due to airflow (e.g., air moving through the heating element or atomizer as a whole when a user inhales on the electronic evaporator). As described above, to reliably activate or heat the PTCR heating element to a desired temperature, in some embodiments of the present subject matter, the vaporizer may utilize a signal from theoptional pressure sensor 107 to determine when the user inhales. Theoptional pressure sensor 107 may be positioned in and/or may be connected (e.g., by a channel or other path) to an airflow path that connects the air inlet 105 (which causes air to enter the device) and an outlet (e.g., in the mouthpiece 135) via which the user inhales the generated vapor and/or aerosol, such that the optional pressure sensor experiences a pressure change while air passes from theair inlet 105 through the vaporizer device to the air outlet. In embodiments of the present subject matter, the PTCR heating element may be optionally activated in association with a user's aspiration, such as by automatically detecting aspiration, such as by detecting a pressure change in the airflow path via anoptional pressure sensor 107. In an embodiment, the switch is an input device that may be used to electrically complete a circuit between the power source and the PTCR heating element. In an embodiment, the input device includes a relay, solenoid, and/or solid state device that may be used to electrically complete a circuit between the power supply and the PTCR heating element to activate the evaporator device.
In general, the optional pressure sensor 107 (as well as any other sensors) may be located on or coupled to (e.g., electrically or electronically connected, physically connected or through a wireless connection) the optional controller 102 (e.g., a printed circuit board assembly or other type of circuit board). In order to accurately measure and maintain the durability of the evaporator, it is beneficial to provide a resilient seal to separate the airflow path from the rest of the evaporator. The seal (which may be a gasket) may be configured to at least partially surround theoptional pressure sensor 107 such that the connection of theoptional pressure sensor 107 to the internal circuitry of the evaporator is separate from the portion of theoptional pressure sensor 107 exposed to the airflow path. In the example of a cartridge-based evaporator, the seal or gasket may also separate portions of one or more electrical connections between the evaporator body and the evaporator cartridge. Such an arrangement of gaskets or seals in the evaporator can help mitigate potentially damaging effects on evaporator components due to interaction with environmental factors, such as water in the vapor or liquid phase, other fluids (e.g., vaporizable materials, etc.), and/or reduce air escape from designed airflow paths in the evaporator. Unwanted air, liquid, or other fluid passing through and/or contacting the circuitry of the vaporizer can lead to various undesirable effects, such as changing pressure readings, and/or can lead to the accumulation of undesirable materials (e.g., moisture), vaporizable materials, and the like in various portions of the vaporizer, which can lead to poor pressure signals, degradation of optional pressure sensors or other components, and/or reduced life of the vaporizer. Leaks in the seal or gasket can also cause a user to inhale air passing through the portion of the evaporator apparatus containing or constructed of materials that may be undesirable to inhale.
In an embodiment, thecartridge 125 may include a fibrous body for cooling the heated airflow after it passes through thevaporizable material 130.
As described above,vaporizable material 130 can include a solid vaporizable material (e.g., HNB material) and/or a liquid vaporizable material (e.g., liquid, solution, etc.). Fig. 3 is a block diagram of anexemplary vaporizer apparatus 100 andcartridge 125 having a liquid vaporizable material that can utilize convection heating to provide uniform heating of the vaporizable material.Vaporizable material 130 comprises an atomizer comprising aporous wick 150 in fluid communication with a fluid tank orreservoir 145. Theporous wick 150 is located in the path of the heated air flow between the PTCR heater withheat exchanger 110 and thesuction nozzle 135. Theporous wick 150 is positioned such that in operation heating the airflow past and/or through theporous wick 150, theporous wick 150 is saturated with the vaporizable fluid, and the liquid vaporizable material filling theporous wick 150 vaporizes to form a vapor and/or aerosol. In an embodiment, theporous wick 150 can allow air to enter thereservoir 145 to replace the removed liquid volume. In other words, capillary action pulls the liquid vaporizable material into theporous wick 150 to be vaporized by the heated gas stream, and in some embodiments of the present subject matter, air can be returned to thereservoir 145 through the wick to at least partially equalize the pressure in thereservoir 145. Other methods of allowing air to return to thehopper 145 to equalize pressure are also within the scope of the present subject matter. Fig. 4 is a cross-sectional view of an exemplary evaporator apparatus having a liquid vaporizable material, and fig. 5 is a cross-sectional view of an exemplary evaporator apparatus having a solid vaporizable material (e.g., HNB product).
In an embodiment,vaporizable material 130 can include both liquid vaporizable materials and solid vaporizable materials. For example, fig. 6 is a block diagram of anexemplary vaporizer apparatus 100 and acartridge 125 having a liquid vaporizable material and a solid vaporizable material, which can utilize convection heating to provide uniform heating of the vaporizable material. Thevaporizable material 130 includes areservoir 145, with a liquid vaporizable material contained within thereservoir 145; awick 150 in fluid communication with the liquid vaporizable material and a solidvaporizable material 155 located downstream (relative to the gas flow) of theporous wick 150. Theporous wick 150 is arranged to receive a heated air flow from a heater with theheat exchanger 110 to vaporize the vaporizable material to produce a vapor and/or a first aerosol. The solidvaporizable material 155 is arranged to receive the vapor and/or first aerosol from the wick and produce a second aerosol. Themouthpiece 135 is configured to receive the second aerosol after the vaporized vaporizable material passes through the solidvaporizable material 155. By combining both liquid and solid vaporizable materials, an improved taste can be achieved. Furthermore, by vaporizing both the liquid vaporizable material and the solid vaporizable material using convective heating through the PTCR material, only a single heater is required to heat both materials.
In embodiments, the liquid vaporizable material and the solid vaporizable material can be included in different cartridges. For example, fig. 7 is a block diagram of anexemplary evaporator device 100 with multiple cartridges.First cartridge 605 includes a liquid vaporizable material (includingreservoir 145 and porous wick 150), whilesecond cartridge 610 includes solidvaporizable material 130, which can provide uniform heating of the vaporizable material using convective heating. Thefirst cartridge 605 may be removably coupled to thevaporizer apparatus 100 and thesecond cartridge 610 may be removably coupled to thefirst cartridge 605. As shown,first cartridge 605 includes reservoir 145 (e.g., a canister), a liquid vaporizable material withinreservoir 145, andwick 150 in fluid communication with the liquid vaporizable material. When thefirst cartridge 605 is coupled to theevaporator device 100, thewick 150 is arranged to receive a heated airflow from a heater with theheat exchanger 110 to evaporate the vaporizable material to produce a vapor and/or a first aerosol. Thesecond cartridge 610 includes the solidvaporizable material 130, thebalanced air inlet 140, and themouthpiece 135. When thesecond cartridge 610 is coupled to the first cartridge, the solidvaporizable material 130 is arranged to receive the vapor and/or aerosol from thewick 150 and generate a second aerosol. Themouthpiece 135 is configured to receive the second aerosol after the vapor and/or first aerosol passes through the solidvaporizable material 155. In an embodiment, the equalizing air inlet (i.e., second air inlet) 140 may provide ambient temperature air for cooling the heated first aerosol that has passed through the solidvaporizable material 155. FIG. 8 is a cross-sectional view of an exemplary vaporizer apparatus with both a liquid vaporizable material and a solid vaporizable material.
This convective heating approach may provide several advantages for vaporizing solid materials (e.g., HNB materials) over traditional conductive heating approaches. For example, instead of poor conduction into the insulating material (e.g., solid vaporizable material) in a direction orthogonal to the gas flow, resulting in volatiles and differential porosity of the vaporizable material to be heated, some embodiments of the present subject matter can provide incoming preheated air that enters the vaporizable material uniformly as corrugations that uniformly cover the cross section of the vaporizable material. The volatiles are then released in a direction parallel to the flow of heated air, with an increase in porosity. As another example, the problem of differential flow paths can be eliminated in some embodiments due to the uniform release of the volatile cross-section and the simultaneous increase in porosity. As yet another example, the problem of conductive heat transfer degradation through the product may be eliminated in some embodiments of the present subject matter. As yet another example, some embodiments of the present subject matter may eliminate a pre-heat period previously required, such that the present subject matter may provide an aerosol on demand from a heated vaporizable material.
Similarly, such convective heating methods may provide several advantages for vaporizing liquid vaporizable materials. For example, instead of applying heat directly to the liquid vaporizable material using a heating element in direct contact with the liquid vaporizable material, some embodiments of the present subject matter can provide incoming preheated air as a wave that uniformly covers the cross section of the porous wick saturated with the fluid to be vaporized, thereby avoiding temperature differences and the potential for contamination of the heating element.
As another example, by placing a wick adjacent to and upstream (with respect to the airflow) of a solid vaporizable material (e.g., loose tobacco leaf), undesirable condensation of aerosol within the device can be minimized.
Furthermore, the inherent temperature control behavior of the PTCR heater may simplify the power delivery circuitry because no specific thermal feedback is required. The power delivery circuit to the PTCR heater may be further simplified by eliminating the need for a typical power delivery system in which the power supply provides a relatively constant voltage. In embodiments, the applied voltage may vary by more than an order of magnitude without significantly affecting the resulting heating element temperature.
An exemplary PTCR heater will now be described in more detail. PTCR includes a semiconductor material having a resistivity that varies non-linearly with increasing temperature. Typical PTCR materials have a relatively low resistivity when the temperature is maintained below the temperature transition region. Above the temperature transition zone, the PTCR material resistivity is higher than the resistivity of the same PTCR material at temperatures below the temperature transition zone. The resistivity change can be increased by several orders of magnitude in the temperature transition region of 50 degrees celsius or less.
The heating element may utilize a non-linear PTCR material to achieve intrinsic temperature control. For example, a heating element at ambient temperature may be connected to a power supply that provides a voltage gradient and resulting current. Since the resistivity of the heating element is relatively low at ambient temperatures (e.g., ambient temperatures below the transition region), current will flow through the heating element. When current flows through the non-linear PTCR material, the electrical resistance generates heat (e.g., dissipation of electrical energy). The heat generated increases the temperature of the heating element, thereby causing a change in the resistivity of the heating element. When the temperature of the heating element reaches the transition region, the resistivity increases significantly over a small temperature range. The change in resistivity may be caused by a materialThe physical properties. For example, a phase change may occur in the material. This increase in resistivity (resulting in an overall increase in resistance) reduces current flow and thus reduces heat generation. The transition zone includes a temperature at which an inflection point exists such that the amount of heat generated is insufficient to further raise the temperature of the heating element, thereby limiting the temperature of the heating element. The heating element will maintain a uniform temperature with minimal temperature variation as long as the power supply remains connected and supplies current. In this case, the power applied to the PTCR heating element may be represented by the formula PIIs equal to voltage2And/resistance. The heat loss of the PTCR heating element may be defined by PLAnd includes any combination of conduction, convection, radiation, and latent heat. During steady state operation, PI=PL. With PLAs a result, the temperature of the PTCR heating element decreases, thereby decreasing the resistance and increasing the current flowing through the PTCR heating element. With PLDecreasing, the temperature of the PTCR heating element increases, and thus the resistance increases, so that the current flowing through the PTCR heating element decreases. When P is presentLNear 0, the resistance of the PTCR heating element increases logarithmically. The limited operating temperature of a PTCR heating element may be affected by the element material, element geometry, element resistivity as a function of temperature characteristics, power supply, circuit characteristics (e.g., voltage gradient, current, time-varying characteristics), and the like.
Fig. 9 is a graph illustrating an exemplary resistivity versus temperature curve for a nonlinear PTCR material. The vertical axis is logarithmic. Heating elements (referred to as PTCR heaters) constructed (e.g., formed) of non-linear PTCR materials may have advantageous characteristics. For example, upon application of a sufficient voltage gradient (e.g.,
Figure BDA0003155435420000211
) In this case, the PTCR heater will generate heat and increase the temperature until the transition zone is reached. In the graph shown in FIG. 9, the transition region crosses the temperature T1And T2In the meantime. In the graph shown in FIG. 9, the resistivity versus temperature curve is at T1And T2Exhibit non-linearity therebetween, but in other embodiments the resistivity versus temperature curve may be nearly linear or a combination thereofIt is in his shape. Above T1At some temperature, the resistivity of the nonlinear PTCR material will increase to a point where further temperature rise will cease, as the total resistance will increase to a point where current is limited. In other words, embodiments of the PTCR heater may be considered temperature self-limiting and will not heat beyond a low point T just above the temperature transition region given a known range of applied voltages1The temperature of (2).
The performance of the PTCR heater may depend on the PTCR behavior and heater geometry in fig. 9. PTCR heaters having relatively long and narrow geometries and having electrical contacts for applying differential voltages at each end of the longer dimension of the PTCR heater may be ineffective because below T1The resistivity of the nonlinear PTCR material is generally too high at the temperature of (a). With steep transition region (where T1And T2With a temperature difference of less than 10 c) may cause all of the voltage to drop to a fraction of the length of the long, narrow geometry and give unavoidable spatial non-uniformities in any material. Accordingly, some embodiments of the PTCR heater include an electrode configuration for the PTCR heater such that a non-linear PTCR material is provided within a parallel circuit. In some embodiments that may provide improved heating uniformity, the geometry of the PTCR heater may include a thin section of non-linear PTCR material sandwiched between electrical conductors or conductive coatings to which a differential voltage may be applied.
Fig. 10 presents a table of resistivity versus temperature curve data for the nonlinear PTCR semiconductor material shown in fig. 9. In an embodiment, the PTCR heating element has a resistivity of between 10ohm-cm and 100ohm-cm at 100 ℃ and a resistivity of between 50000ohm-cm and 150000ohm-cm at 260 ℃. In an embodiment, the PTCR heating element has an electrical resistivity of between 20ohm-cm and 200ohm-cm at 100 ℃ and an electrical resistivity of between 100000ohm-cm and 200000ohm-cm at 265 ℃. In an embodiment, the PTCR heating element has an electrical resistivity of less than 100ohm-cm at 100 ℃ and an electrical resistivity of greater than 100000ohm-cm at 260 ℃. In an embodiment, the PTCR heating element has an electrical resistivity of less than 100ohm-cm at 100 ℃ and an electrical resistivity of greater than 250000ohm-cm at 275 ℃. In an embodiment, the PTCR heating element has an electrical resistivity of less than 100ohm-cm at 100 ℃ and an electrical resistivity of greater than 300000ohm-cm at 295 ℃. In an embodiment, the PTCR heating element has a resistivity between 10ohm-cm and 110ohm-cm at 25 ℃, and a resistivity between 10ohm-cm and 110ohm-cm at 100 ℃, and a resistivity between 100000ohm-cm and 325000ohm-cm at 280 ℃. In an embodiment, the PTCR heating element has an electrical resistivity of between 10ohm-cm and 150ohm-cm at 25 ℃, and an electrical resistivity of between 10ohm-cm and 150ohm-cm at 100 ℃, and an electrical resistivity of between 100000ohm-cm and 350000ohm-cm at 280 ℃. In an embodiment, the PTCR heating element has a resistivity between 10ohm-cm and 200ohm-cm at 25 ℃, and a resistivity between 10ohm-cm and 200ohm-cm at 100 ℃, and a resistivity between 100000ohm-cm and 375000ohm-cm at 280 ℃. In an embodiment, the PTCR heating element has a resistivity between 10ohm-cm and 300ohm-cm at 25 ℃, and a resistivity between 10ohm-cm and 300ohm-cm at 100 ℃, and a resistivity between 100000ohm-cm and 400000ohm-cm at 280 ℃. In an embodiment, the PTCR heating element has a resistivity between 10ohm-cm and 400ohm-cm at 25 ℃, and a resistivity between 10ohm-cm and 400ohm-cm at 100 ℃, and a resistivity between 100000ohm-cm and 450000ohm-cm at 280 ℃. In an embodiment, the PTCR heating element has a resistivity between 10ohm-cm and 500ohm-cm at 25 ℃, and a resistivity between 10ohm-cm and 500ohm-cm at 100 ℃, and a resistivity between 100000ohm-cm and 500000ohm-cm at 280 ℃. In an embodiment, the PTCR heating element has a resistivity of between 50ohm-cm and 110ohm-cm at 25 ℃, and a resistivity of between 50ohm-cm and 110ohm-cm at 100 ℃, and a resistivity of between 150000ohm-cm and 325000ohm-cm at 280 ℃. In an embodiment, the PTCR heating element has a resistivity of between 50ohm-cm and 150ohm-cm at 25 ℃, and a resistivity of between 50ohm-cm and 150ohm-cm at 100 ℃, and a resistivity of between 150000ohm-cm and 350000ohm-cm at 280 ℃. In an embodiment, the PTCR heating element has a resistivity of between 50ohm-cm and 200ohm-cm at 25 ℃, and a resistivity of between 50ohm-cm and 200ohm-cm at 100 ℃, and a resistivity of between 150000ohm-cm and 375000ohm-cm at 280 ℃. In an embodiment, the PTCR heating element has a resistivity of between 50ohm-cm and 300ohm-cm at 25 ℃, and a resistivity of between 50ohm-cm and 300ohm-cm at 100 ℃, and a resistivity of between 150000ohm-cm and 400000ohm-cm at 280 ℃. In an embodiment, the PTCR heating element has a resistivity of between 50ohm-cm and 400ohm-cm at 25 ℃, and a resistivity of between 50ohm-cm and 400ohm-cm at 100 ℃, and a resistivity of between 150000ohm-cm and 450000ohm-cm at 280 ℃. In an embodiment, the PTCR heating element has a resistivity of between 50ohm-cm and 500ohm-cm at 25 ℃, and a resistivity of between 50ohm-cm and 500ohm-cm at 100 ℃, and a resistivity of between 150000ohm-cm and 500000ohm-cm at 280 ℃. In an embodiment, the PTCR heating element has an electrical resistivity of between 90ohm-cm and 110ohm-cm at 25 ℃, and an electrical resistivity of between 90ohm-cm and 110ohm-cm at 100 ℃, and an electrical resistivity of between 200000ohm-cm and 325000ohm-cm at 280 ℃. In an embodiment, the PTCR heating element has an electrical resistivity of between 90ohm-cm and 150ohm-cm at 25 ℃, and an electrical resistivity of between 90ohm-cm and 150ohm-cm at 100 ℃, and an electrical resistivity of between 200000ohm-cm and 350000ohm-cm at 280 ℃. In an embodiment, the PTCR heating element has an electrical resistivity of between 90ohm-cm and 200ohm-cm at 25 ℃, and an electrical resistivity of between 90ohm-cm and 200ohm-cm at 100 ℃, and an electrical resistivity of between 200000ohm-cm and 375000ohm-cm at 280 ℃. In an embodiment, the PTCR heating element has an electrical resistivity of between 90ohm-cm and 300ohm-cm at 25 ℃, and an electrical resistivity of between 90ohm-cm and 300ohm-cm at 100 ℃, and an electrical resistivity of between 200000ohm-cm and 400000ohm-cm at 280 ℃. In an embodiment, the PTCR heating element has a resistivity of between 90ohm-cm and 400ohm-cm at 25 ℃, and a resistivity of between 90ohm-cm and 400ohm-cm at 100 ℃, and a resistivity of between 200000ohm-cm and 450000ohm-cm at 280 ℃. In an embodiment, the PTCR heating element has an electrical resistivity of between 90ohm-cm and 500ohm-cm at 25 ℃, and an electrical resistivity of between 90ohm-cm and 500ohm-cm at 100 ℃, and an electrical resistivity of between 200000ohm-cm and 500000ohm-cm at 280 ℃. In an embodiment, the PTCR heating element has a resistivity between 10ohm-cm and 110ohm-cm at 50 ℃, a resistivity between 10ohm-cm and 50ohm-cm at 150 ℃, and a resistivity between 50000ohm-cm and 125000ohm-cm at 260 ℃. In an embodiment, the PTCR heating element has a resistivity between 10ohm-cm and 150ohm-cm at 50 ℃, and a resistivity between 10ohm-cm and 100ohm-cm at 150 ℃, and a resistivity between 50000ohm-cm and 150000ohm-cm at 260 ℃. In an embodiment, the PTCR heating element has a resistivity between 10ohm-cm and 200ohm-cm at 50 ℃, and a resistivity between 10ohm-cm and 150ohm-cm at 150 ℃, and a resistivity between 50000ohm-cm and 175000ohm-cm at 260 ℃. In an embodiment, the PTCR heating element has an electrical resistivity of between 10ohm-cm and 300ohm-cm at 50 ℃, and an electrical resistivity of between 10ohm-cm and 200ohm-cm at 150 ℃, and an electrical resistivity of between 50000ohm-cm and 200000ohm-cm at 260 ℃. In an embodiment, the PTCR heating element has a resistivity between 10ohm-cm and 400ohm-cm at 50 ℃, and a resistivity between 10ohm-cm and 250ohm-cm at 150 ℃, and a resistivity between 50000ohm-cm and 250000ohm-cm at 260 ℃. In an embodiment, the PTCR heating element has a resistivity between 10ohm-cm and 500ohm-cm at 50 ℃, and a resistivity between 10ohm-cm and 300ohm-cm at 150 ℃, and a resistivity between 50000ohm-cm and 300000ohm-cm at 260 ℃. In an embodiment, the PTCR heating element has a resistivity between 50ohm-cm and 110ohm-cm at 50 ℃, a resistivity between 20ohm-cm and 50ohm-cm at 150 ℃, and a resistivity between 75000ohm-cm and 125000ohm-cm at 260 ℃. In an embodiment, the PTCR heating element has a resistivity between 50ohm-cm and 150ohm-cm at 50 ℃, and a resistivity between 20ohm-cm and 100ohm-cm at 150 ℃, and a resistivity between 75000ohm-cm and 150000ohm-cm at 260 ℃. In an embodiment, the PTCR heating element has a resistivity between 50ohm-cm and 200ohm-cm at 50 ℃, and a resistivity between 20ohm-cm and 150ohm-cm at 150 ℃, and a resistivity between 75000ohm-cm and 175000ohm-cm at 260 ℃. In an embodiment, the PTCR heating element has an electrical resistivity of between 50ohm-cm and 300ohm-cm at 50 ℃, and an electrical resistivity of between 20ohm-cm and 200ohm-cm at 150 ℃, and an electrical resistivity of between 75000ohm-cm and 200000ohm-cm at 260 ℃. In an embodiment, the PTCR heating element has a resistivity between 50ohm-cm and 400ohm-cm at 50 ℃, and a resistivity between 20ohm-cm and 250ohm-cm at 150 ℃, and a resistivity between 75000ohm-cm and 250000ohm-cm at 260 ℃. In an embodiment, the PTCR heating element has a resistivity between 50ohm-cm and 500ohm-cm at 50 ℃, and a resistivity between 20ohm-cm and 300ohm-cm at 150 ℃, and a resistivity between 75000ohm-cm and 300000ohm-cm at 260 ℃. In an embodiment, the PTCR heating element has a resistivity between 75ohm-cm and 110ohm-cm at 50 ℃, and a resistivity between 30ohm-cm and 50ohm-cm at 150 ℃, and a resistivity between 100000ohm-cm and 125000ohm-cm at 260 ℃. In an embodiment, the PTCR heating element has a resistivity between 75ohm-cm and 150ohm-cm at 50 ℃, and a resistivity between 30ohm-cm and 100ohm-cm at 150 ℃, and a resistivity between 100000ohm-cm and 150000ohm-cm at 260 ℃. In an embodiment, the PTCR heating element has a resistivity between 75ohm-cm and 200ohm-cm at 50 ℃, and a resistivity between 30ohm-cm and 150ohm-cm at 150 ℃, and a resistivity between 100000ohm-cm and 175000ohm-cm at 260 ℃. In an embodiment, the PTCR heating element has an electrical resistivity of between 75ohm-cm and 300ohm-cm at 50 ℃, and an electrical resistivity of between 30ohm-cm and 200ohm-cm at 150 ℃, and an electrical resistivity of between 100000ohm-cm and 200000ohm-cm at 260 ℃. In an embodiment, the PTCR heating element has a resistivity between 75ohm-cm and 400ohm-cm at 50 ℃, and a resistivity between 30ohm-cm and 250ohm-cm at 150 ℃, and a resistivity between 100000ohm-cm and 250000ohm-cm at 260 ℃. In an embodiment, the PTCR heating element has a resistivity between 75ohm-cm and 500ohm-cm at 50 ℃, and a resistivity between 30ohm-cm and 300ohm-cm at 150 ℃, and a resistivity between 100000ohm-cm and 300000ohm-cm at 260 ℃. In an embodiment, the PTCR heating element has a resistivity between 10ohm-cm and 110ohm-cm at 25 ℃, and a resistivity between 10ohm-cm and 50ohm-cm at 150 ℃, and a resistivity between 100000ohm-cm and 325000ohm-cm at 280 ℃. In an embodiment, the PTCR heating element has a resistivity between 10ohm-cm and 150ohm-cm at 25 ℃, and a resistivity between 10ohm-cm and 100ohm-cm at 150 ℃, and a resistivity between 100000ohm-cm and 350000ohm-cm at 280 ℃. In an embodiment, the PTCR heating element has a resistivity between 10ohm-cm and 200ohm-cm at 25 ℃, and a resistivity between 10ohm-cm and 150ohm-cm at 150 ℃, and a resistivity between 100000ohm-cm and 375000ohm-cm at 280 ℃. In an embodiment, the PTCR heating element has a resistivity between 10ohm-cm and 300ohm-cm at 25 ℃, and a resistivity between 10ohm-cm and 200ohm-cm at 150 ℃, and a resistivity between 100000ohm-cm and 400000ohm-cm at 280 ℃. In an embodiment, the PTCR heating element has a resistivity between 10ohm-cm and 400ohm-cm at 25 ℃, and a resistivity between 10ohm-cm and 250ohm-cm at 150 ℃, and a resistivity between 100000ohm-cm and 450000ohm-cm at 280 ℃. In an embodiment, the PTCR heating element has a resistivity between 10ohm-cm and 500ohm-cm at 25 ℃, and a resistivity between 10ohm-cm and 300ohm-cm at 150 ℃, and a resistivity between 100000ohm-cm and 500000ohm-cm at 280 ℃. In an embodiment, the PTCR heating element has a resistivity of between 50ohm-cm and 110ohm-cm at 25 ℃, and a resistivity of between 20ohm-cm and 50ohm-cm at 150 ℃, and a resistivity of between 150000ohm-cm and 325000ohm-cm at 280 ℃. In an embodiment, the PTCR heating element has a resistivity of between 50ohm-cm and 150ohm-cm at 25 ℃, and a resistivity of between 20ohm-cm and 100ohm-cm at 150 ℃, and a resistivity of between 150000ohm-cm and 350000ohm-cm at 280 ℃. In an embodiment, the PTCR heating element has a resistivity of between 50ohm-cm and 200ohm-cm at 25 ℃, and a resistivity of between 20ohm-cm and 150ohm-cm at 150 ℃, and a resistivity of between 150000ohm-cm and 375000ohm-cm at 280 ℃. In an embodiment, the PTCR heating element has a resistivity of between 50ohm-cm and 300ohm-cm at 25 ℃, and a resistivity of between 20ohm-cm and 200ohm-cm at 150 ℃, and a resistivity of between 150000ohm-cm and 400000ohm-cm at 280 ℃. In an embodiment, the PTCR heating element has a resistivity of between 50ohm-cm and 400ohm-cm at 25 ℃, and a resistivity of between 20ohm-cm and 250ohm-cm at 150 ℃, and a resistivity of between 150000ohm-cm and 450000ohm-cm at 280 ℃. In an embodiment, the PTCR heating element has a resistivity of between 50ohm-cm and 500ohm-cm at 25 ℃, and a resistivity of between 20ohm-cm and 300ohm-cm at 150 ℃, and a resistivity of between 150000ohm-cm and 500000ohm-cm at 280 ℃. In an embodiment, the PTCR heating element has an electrical resistivity of between 90ohm-cm and 110ohm-cm at 25 ℃, and between 30ohm-cm and 50ohm-cm at 150 ℃, and between 200000ohm-cm and 325000ohm-cm at 280 ℃. In an embodiment, the PTCR heating element has an electrical resistivity of between 90ohm-cm and 150ohm-cm at 25 ℃, and an electrical resistivity of between 30ohm-cm and 100ohm-cm at 150 ℃, and an electrical resistivity of between 200000ohm-cm and 350000ohm-cm at 280 ℃. In an embodiment, the PTCR heating element has an electrical resistivity of between 90ohm-cm and 200ohm-cm at 25 ℃, and an electrical resistivity of between 30ohm-cm and 150ohm-cm at 150 ℃, and an electrical resistivity of between 200000ohm-cm and 375000ohm-cm at 280 ℃. In an embodiment, the PTCR heating element has an electrical resistivity of between 90ohm-cm and 300ohm-cm at 25 ℃, and an electrical resistivity of between 30ohm-cm and 200ohm-cm at 150 ℃, and an electrical resistivity of between 200000ohm-cm and 400000ohm-cm at 280 ℃. In an embodiment, the PTCR heating element has a resistivity between 90ohm-cm and 400ohm-cm at 25 ℃, and a resistivity between 30ohm-cm and 250ohm-cm at 150 ℃, and a resistivity between 200000ohm-cm and 450000ohm-cm at 280 ℃. In an embodiment, the PTCR heating element has an electrical resistivity of between 90ohm-cm and 500ohm-cm at 25 ℃, and between 30ohm-cm and 300ohm-cm at 150 ℃, and between 200000ohm-cm and 500000ohm-cm at 280 ℃. In an embodiment, the PTCR heating element has a resistivity between 10ohm-cm and 110ohm-cm at 50 ℃, a resistivity between 10ohm-cm and 110ohm-cm at 100 ℃, and a resistivity between 50000ohm-cm and 125000ohm-cm at 260 ℃. In an embodiment, the PTCR heating element has a resistivity between 10ohm-cm and 150ohm-cm at 50 ℃, and a resistivity between 10ohm-cm and 150ohm-cm at 100 ℃, and a resistivity between 50000ohm-cm and 150000ohm-cm at 260 ℃. In an embodiment, the PTCR heating element has a resistivity between 10ohm-cm and 200ohm-cm at 50 ℃, and a resistivity between 10ohm-cm and 200ohm-cm at 100 ℃, and a resistivity between 50000ohm-cm and 175000ohm-cm at 260 ℃. In an embodiment, the PTCR heating element has an electrical resistivity of between 10ohm-cm and 300ohm-cm at 50 ℃, and an electrical resistivity of between 10ohm-cm and 300ohm-cm at 100 ℃, and an electrical resistivity of between 50000ohm-cm and 200000ohm-cm at 260 ℃. In an embodiment, the PTCR heating element has a resistivity between 10ohm-cm and 400ohm-cm at 50 ℃, and a resistivity between 10ohm-cm and 400ohm-cm at 100 ℃, and a resistivity between 50000ohm-cm and 250000ohm-cm at 260 ℃. In an embodiment, the PTCR heating element has a resistivity between 10ohm-cm and 500ohm-cm at 50 ℃, and a resistivity between 10ohm-cm and 500ohm-cm at 100 ℃, and a resistivity between 50000ohm-cm and 300000ohm-cm at 260 ℃. In an embodiment, the PTCR heating element has a resistivity of between 50ohm-cm and 110ohm-cm at 50 ℃, and a resistivity of between 50ohm-cm and 110ohm-cm at 100 ℃, and a resistivity of between 75000ohm-cm and 125000ohm-cm at 260 ℃. In an embodiment, the PTCR heating element has a resistivity between 50ohm-cm and 150ohm-cm at 50 ℃, and a resistivity between 50ohm-cm and 150ohm-cm at 100 ℃, and a resistivity between 75000ohm-cm and 150000ohm-cm at 260 ℃. In an embodiment, the PTCR heating element has a resistivity between 50ohm-cm and 200ohm-cm at 50 ℃, and a resistivity between 50ohm-cm and 200ohm-cm at 100 ℃, and a resistivity between 75000ohm-cm and 175000ohm-cm at 260 ℃. In an embodiment, the PTCR heating element has an electrical resistivity of between 50ohm-cm and 300ohm-cm at 50 ℃, and an electrical resistivity of between 50ohm-cm and 300ohm-cm at 100 ℃, and an electrical resistivity of between 75000ohm-cm and 200000ohm-cm at 260 ℃. In an embodiment, the PTCR heating element has a resistivity of between 50ohm-cm and 400ohm-cm at 50 ℃, and a resistivity of between 50ohm-cm and 400ohm-cm at 100 ℃, and a resistivity of between 75000ohm-cm and 250000ohm-cm at 260 ℃. In an embodiment, the PTCR heating element has a resistivity of between 50ohm-cm and 500ohm-cm at 50 ℃, and a resistivity of between 50ohm-cm and 500ohm-cm at 100 ℃, and a resistivity of between 75000ohm-cm and 300000ohm-cm at 260 ℃. In an embodiment, the PTCR heating element has a resistivity between 75ohm-cm and 110ohm-cm at 50 ℃, and a resistivity between 90ohm-cm and 110ohm-cm at 100 ℃, and a resistivity between 100000ohm-cm and 125000ohm-cm at 260 ℃. In an embodiment, the PTCR heating element has a resistivity between 75ohm-cm and 150ohm-cm at 50 ℃, and a resistivity between 90ohm-cm and 150ohm-cm at 100 ℃, and a resistivity between 100000ohm-cm and 150000ohm-cm at 260 ℃. In an embodiment, the PTCR heating element has a resistivity between 75ohm-cm and 200ohm-cm at 50 ℃, and a resistivity between 90ohm-cm and 200ohm-cm at 100 ℃, and a resistivity between 100000ohm-cm and 175000ohm-cm at 260 ℃. In an embodiment, the PTCR heating element has an electrical resistivity of between 75ohm-cm and 300ohm-cm at 50 ℃, and an electrical resistivity of between 90ohm-cm and 300ohm-cm at 100 ℃, and an electrical resistivity of between 100000ohm-cm and 200000ohm-cm at 260 ℃. In an embodiment, the PTCR heating element has a resistivity between 75ohm-cm and 400ohm-cm at 50 ℃, and a resistivity between 90ohm-cm and 400ohm-cm at 100 ℃, and a resistivity between 100000ohm-cm and 250000ohm-cm at 260 ℃. In an embodiment, the PTCR heating element has a resistivity of between 75ohm-cm and 500ohm-cm at 50 ℃, and a resistivity of between 90ohm-cm and 500ohm-cm at 100 ℃, and a resistivity of between 100000ohm-cm and 300000ohm-cm at 260 ℃.
Fig. 11 illustrates another exemplary PTCR resistivity versus temperature curve. In this example, the density of the PTCR material was 5700kg/m3The heat capacity was 520J/kg K, and the thermal conductivity was 2.1W/m K. The resistivity begins to increase at a temperature after about 440K and then increases sharply between 503K and 518K. At 298K, the resistivity of the PTCR material forming the PTCR heating element was 0.168ohm-m, while at 373K, the resistivity of the PTCR material forming the PTCR heating element was 0.105ohm-m, and at 518K, the resistivity of the PTCR material forming the PTCR heating element was 3.669 ohm-m. In some exemplary embodiments, the PTCR material has a density of 5000kg/m3And 7000kg/m3A density of between 450J/kg K and 600J/kg K, and a thermal conductivity of between 1.5W/m K and 3.0W/m.
Fig. 12A is a diagram illustrating an exemplaryPTCR heating element 50 that enables improved evaporator heating. A thin section ofnonlinear PTCR material 10 is shown in fig. 12A, where thenonlinear PTCR material 10 is sandwiched betweenconductive layers 20, which in turn are attached to conductive leads 30 such that the conductive leads 30 can be applied with a differential voltage. Fig. 9B is a cross-section of the exemplaryPTCR heating element 50 shown in fig. 12A.
In some exemplary embodiments, thePTCR heater 50 includes the geometry shown in fig. 12A with a non-linear PTCR material thickness of 0.5mm (height) and 5.0mm (length and width) in other dimensions, which is effective in evaporator devices using, for example, a combined fluid comprising propylene glycol and glycerin. The electrical properties of nonlinear PTCR materials include these values: t is1Values between 150 ℃ and 300 ℃, for example between 220 ℃ and 280 ℃; below T1A resistivity at a temperature of between 0.01Ohm-m and 100Ohm-m, such as between 0.1Ohm-m and 1 Ohm-m; t is1And T2Has an increase factor of more than 10, for example more than 100; and T1And T2The temperature difference therebetween is less than 200 deg.c, such as less than 50 deg.c.
Fig. 13A-13E illustrate modeled temperatures for anexemplary PTCR heater 50. In the example shown, thenonlinear PTCR material 10 comprises a flat plate geometry with dimensions of 5mm x 0.5 mm; theconductive layer 20 is formed of silver (Ag) having a size of 5mm × 5mm × 0.025 mm; and theconductive lead 30 is formed of Copper (CU) having a size of 12mm × 2mm × 0.2 mm. Thenonlinear PTCR material 10 includes a PTCR resistivity versus temperature curve as shown in fig. 32, with a nonlinear transition region of about 240 ℃ to about 300 ℃. A voltage of 3 to 6 volts is applied across the conductive leads 30 of theexemplary PTCR heater 50. In these cases, the temperature of theexemplary PTCR heater 50 in open air with free convective air flow will increase, as shown in the modeling series of fig. 13A-13E, illustrating 0.0, 0.2, 0.5, 1.0, and 2.0 seconds after application of the differential voltage, respectively. As shown, the temperature is relatively uniform over 1.0 second and the peak temperature at the surface of theconductive layer 20 is less than 270 ℃.
Fig. 14A to 14F show modeled temperatures of another example of thePTCR heater 50. On the left side of each graph is shown a gradient temperature scale, where red represents the hottest temperature of about 255 ℃ and in turn passes the colors of the visible spectrum (i.e., red, orange, yellow, green, blue, and purple) to the coldest temperature of about 23 ℃. In each of the illustrated examples, thenonlinear PTCR material 10 includes a flat plate geometry having dimensions of about 5mm x 0.5 mm; theconductive layer 20 is formed of silver (Ag) having a size of about 5mm × 5mm × 0.025 mm; and theconductive lead 30 is formed of Copper (CU) having a size of about 12mm × 2mm × 0.2 mm. The plate geometry may include two parallel sides including aconductive layer 20 to which conductive leads 30 are attached. The electrically conductive leads 30 are attached centrally to the electricallyconductive layer 20 byconnections 40 on each side of thePTCR heating element 50. In embodiments, theconnector 40 is a clip, conductive paste, high temperature, lead free solder, and/or combinations thereof.
Fig. 14A shows the temperature after 1.0 second of activation by applying current to thePTCR heating element 50. The violetconductive lead 30 is still about 25 deg.c. The temperature of the bulk of thePTCR material 10 and theconductive layer 20 has been raised to about 120 c, with the region including theconnector 40 in the center being slightly cooler at a temperature of about 80 c.
Fig. 14B shows the temperature after 2.0 seconds of activation by applying current to thePTCR heating element 50. The temperature of the blue/green conductive leads 30 has increased to about 90 deg.c. The temperature of the bulk of thePTCR material 10 and theconductive layer 20 has been raised to about 210 c, with the region including theconnector 40 in the center being cooler at a temperature of about 160 c.
Fig. 14C shows the temperature after 3.0 seconds of activation by applying current to thePTCR heating element 50. The temperature of the greenconductive lead 30 has increased to about 140 deg.c. The temperature of the bulk of thePTCR material 10 and theconductive layer 20 has been raised to about 250 c with the region including theconnector 40 in the center being cooler at a temperature of about 200 c.
Fig. 14D shows the temperature after 4.0 seconds of activation by applying current to thePTCR heating element 50. The temperature of the greenconductive lead 30 has increased to about 160 deg.c. The majority of thePTCR material 10 and theconductive layer 20 are maintained at a temperature of about 250 c with the region including theconnector 40 in the center being cooler at a temperature of about 215 c.
Fig. 14E shows the temperature after 5.0 seconds of activation by applying current to thePTCR heater 50. The temperature of the green/yellowconductive lead 30 has increased to about 180 deg.c. Most of thePTCR material 10 and theconductive layer 20 are maintained at a temperature of about 250 c, with the region including theconnector 40 in the center being cooler at a temperature of about 225 c.
Fig. 14F shows the temperature after 6.0 seconds of activation by applying current to thePTCR heating element 50. The temperature of the yellowconductive lead 30 has increased to about 200 deg.c.Most PTCR materials 10 andconductive layer 20 are maintained at a temperature of about 250 c with the region including theconnector 40 in the center being just slightly cooler at a temperature of about 235 c. Fig. 15 shows the modeled temperature of the exemplary heater after 6.0 seconds of voltage application in the free convection state.
Fig. 16A shows modeled surface temperatures as a function of time for an exemplary PTCR heating element. In the model, the surface temperature of the PTCR heater started at 25 ℃ (i.e., room temperature) at time zero. The surface temperature increases linearly after the application of the current for a temperature of about 2 seconds to about 225 c. After about 2 seconds, the rate of temperature increase gradually decreased to reach a steady state operating temperature of about 250 ℃, which was reached about 3 seconds after activation. In the model, the nonlinear PTCR material is assumed to be in a non-contact, free convection state, and the emitted radiation is measured from a distance. In an embodiment, the PTCR heating element is heated to an operating temperature between 240 ℃ and 280 ℃. In an embodiment, the PTCR heating element is heated to an operating temperature between 245 ℃ and 255 ℃. In an embodiment, the PTCR heating element is heated to an operating temperature of about 250 ℃.
Fig. 16B illustrates modeled and measured maximum surface temperatures as a function of time for an exemplary PTCR heater. Four measurements were repeated using an infrared camera to measure the maximum surface temperature of the PTCR heater as a function of time, which was then plotted against a model of the maximum surface temperature. In the model, the nonlinear PTCR material is assumed to be in a non-contact, free convection state and the emitted radiation is measured at a distance. In each case, the maximum surface temperature of the PTCR heating element begins at about 25 ℃ (i.e., room temperature) at time zero. After application of the current, the maximum surface temperature increased linearly for about 2 seconds to a temperature of about 225 ℃. After about 2 seconds, the rate of temperature increase gradually decreased to reach a steady state operating temperature of about 250 ℃, which was reached about 3 seconds after activation. In an embodiment, the PTCR heating element is heated to an operating temperature between 240 ℃ and 280 ℃. In an embodiment, the PTCR heating element is heated to an operating temperature between 245 ℃ and 255 ℃. In an embodiment, the PTCR heating element is heated to an operating temperature of about 250 ℃.
Fig. 16C illustrates the modeled and measured average surface temperatures as a function of time for an exemplary PTCR heating element. The measurements were repeated four times using an infrared camera to measure the average surface temperature of the PTCR heating element as a function of time, which was then plotted against the average surface temperature model. In the model, the nonlinear PTCR material is assumed to be in a non-contact, free convection state and the emitted radiation is measured at a distance. In each case, the average surface temperature of the PTCR heating element is about 25 ℃ (i.e., room temperature) beginning at time zero. After application of the current, the maximum surface temperature increased linearly for about 2 seconds to a temperature of about 225 ℃. After about 2 seconds, the rate of temperature increase gradually decreased to reach a steady state operating temperature of about 250 ℃, which was reached about 3 seconds after activation. In an embodiment, the PTCR heating element is heated to an operating temperature between 240 ℃ and 280 ℃. In an embodiment, the PTCR heating element is heated to an operating temperature between 245 ℃ and 255 ℃. In an embodiment, the PTCR heating element is heated to an operating temperature of about 250 ℃.
Fig. 17 illustrates a transient current response as a function of time for an exemplary heater consistent with an embodiment of the present subject matter. In the graph, the current is measured in amperes, which increases at a nearly linear rate and reaches peak consumption after about 1.5 seconds from activation. Thereafter, as the PTCR heater reaches the self-regulating operating temperature, the resistance rapidly increases to reduce current consumption.
Uniform temperature can be a desirable property of PTCR heaters, providing significant advantages over series coil heaters, including series heaters with power input controlled by a temperature sensor, electronic circuits with microprocessors, and complex algorithms dedicated to temperature control purposes. These existing series heaters may have a total power modulated in response to a temperature measurement at a certain point or by a total resistivity in combination with an average temperature estimated by the TCR (temperature coefficient of resistivity) of a typical series heating element. However, in some series heaters, the temperature within the series heater may vary by 40 ℃ or more, due to local differences in the thermal mass of the surrounding medium, as well as local differences in the loss of the sensing medium, resulting in local resistivity variations along the series heater.
In some embodiments, thePTCR heater 50 is constructed of a material having a non-linear PTCR resistivity versus temperature curve the same as or similar to that shown in fig. 9, has a parallel geometry, for example as shown in fig. 12A-12B, and has sufficient (e.g., 3V to 6V) differential voltage applied to the conductive leads 30 that each given control volume within such a PTCR heater will have a temperature within a narrow range, typically less than 10 ℃. This can be achieved even in the case of differential thermal loads. By controlling the material and geometric arrangement of the PTCR heating element, a range of less than 10 ℃ can be tailored for evaporation.
Alternative PTCR heater designs and geometries are possible.
In an embodiment, the PTCR heater may include a heat exchanger for preheating air entering and passing through the vaporizable material. Fig. 18 is a perspective view of an exemplaryPTCR heater assembly 395 including aPTCR heater 390 and aheat exchanger element 320 that enables convective heating and improved uniform heating of vaporizable material.
An exemplary PTCR heater assembly 395 (also referred to as a rectangular PTCR air heater assembly) includes aPTCR heater 390 including aPTCR material 300 sandwiched betweenconductive layers 305. In contact with theconductive layer 305 is aheat exchanger element 320, which may be made of, for example, aluminum or other thermally conductive material. Theheat exchanger element 320 may be extruded or assembled from a thermally conductive material. In an embodiment, theheat exchanger element 320 may be a foamed metal, such as foamed aluminum. Theheat exchanger element 320 may be made by extrusion, machining, milling, casting, foaming, printing, injection molding, forging, stamping, sintering, and other metal forming methods. Surrounding theheat exchanger element 320 is aheater assembly cover 350. In an embodiment, theheater assembly cover 350 comprises a non-conductive material. In an embodiment, theheater assembly cover 350 comprises a non-thermally conductive material. In an embodiment, theheater assembly cover 350 comprises a metal with a non-conductive coating that isolates theheater assembly cover 350 from theheat exchanger element 320. In an embodiment, theheater assembly cover 350 comprises Polytetrafluoroethylene (PTFE).
Fig. 19 is an exploded view of thePTCR vaporization assembly 398, including an exploded view of an exemplaryPTCR heater assembly 395. In some embodiments, thePTCR evaporation assembly 398 is rectangular. ThePTCR vaporization assembly 398 includes an exemplaryPTCR heater assembly 395 and aproduct cover 380 for containing adisposable product 360. In some embodiments, both theproduct cover 380 and thedisposable product 360 are rectangular. In an embodiment, thedisposable product 360 within theproduct cap 380 may comprise a disposable product containing a solid vaporizable material. In an embodiment, theproduct cover 380 is a disposable liquid cartridge (e.g., pod) configured to contain a liquid vaporizable material. In an embodiment, theproduct cover 380 is a disposable liquid cartridge (e.g., pod) that includes the first air inlet and/or the wick, and is configured to contain a liquid vaporizable material.
Fig. 20 is a perspective view of an assembled exemplaryPTCR evaporation assembly 398. Theproduct cover 380, with the disposable product contained therein, may be attached to adjoining portions on opposite sides of theheater assembly cover 350, the PTCR heater assembly, and/or theproduct cover 380 by interference fit, press fit, snap fit coupling, magnetic coupling, adhesive, and other fastening means. Theproduct cover 380 may be releasably attached such that it may be detached from the vaporizer apparatus to replace the disposable product and then reassembled.
Fig. 21 is a perspective view of an exemplaryPTCR evaporation assembly 398 anddisposable product 360. In an embodiment, thedisposable product 360 and theproduct cap 380 may comprise a disposable product containing a solid vaporizable material. In an embodiment, thedisposable product 360 and theproduct cover 380 can include a disposable liquid cartridge (e.g., a pod) containing a liquid vaporizable material. In an embodiment, thedisposable product 360 and theproduct cover 380 can include a disposable liquid cartridge (e.g., a pod) having a first air inlet and/or a wick and containing a liquid vaporizable material. Although the PTCR heaters are not shown in FIG. 21, the PTCR heaters are inserted in thevolume 304 between theheat exchanger elements 320. Theheat exchanger element 320 provides increased surface area for heating more intake air than having only a PTCR heater (without a heat exchanger) to heat the intake air. Surrounding theheat exchanger element 320 is aheater assembly cover 350. In the embodimentThe flow rate of the incoming air through thePTCR heater assembly 395 is approximately 1.4 liters per minute. Theheat exchanger element 320 may reach a steady state temperature in excess of 200 ℃ to rapidly heat the incoming air. Theheat exchanger element 320 may be designed to have a specific surface area (mm)2/mm3) Maximizing, this provides improved heat transfer from the PTCR heater to theheat exchanger element 320, and also provides improved heat transfer from theheat exchanger element 320 to the incoming air. As shown in fig. 21, theheat exchanger element 320 may be a fin design made of a thermally conductive material (e.g., metal such as aluminum, copper, steel, stainless steel, titanium).
Fig. 22 is a perspective view of an exemplaryPTCR vaporization assembly 398 anddisposable product 360 after about 0.2 seconds of activation ofPTCR heater 390. ThePTCR heater 390 heats theheat exchanger element 320, which transfers heat to the air entering thePTCR heater assembly 395. The air exiting thePTCR heater assembly 395 has been heated to a temperature between about 110 c and about 160 c. The heated gas stream flows through the disposable product 360 (e.g., tobacco-containing media) at a flow rate of about 1.4 liters per minute. The vapor and/or aerosol exitingPTCR vaporization assembly 398 comprises vaporized material released fromdisposable product 360 at a temperature between about 50 ℃ and about 150 ℃.
Fig. 23 is a perspective view of an exemplaryPTCR vaporization assembly 398 anddisposable product 360 after about 0.5 seconds of activation ofPTCR heater 390. ThePTCR heater 390 heats theheat exchanger element 320, which transfers heat to the air entering thePTCR heater assembly 395. The air exiting thePTCR heater assembly 395 has been heated to a temperature between about 150 c and about 210 c. The heated gas stream flows through the disposable product 360 (e.g., tobacco-containing media) at a flow rate of about 1.4 liters per minute. The vapor and/or aerosol exitingPTCR vaporization assembly 398 comprises vaporized material released fromdisposable product 360 at a temperature between about 100 ℃ and about 210 ℃.
Fig. 24 is a perspective view of an exemplaryPTCR vaporization assembly 398 anddisposable product 360 after about 1.0 second activation ofPTCR heater 390. ThePTCR heater 390 heats theheat exchanger element 320, which transfers heat to the air entering thePTCR heater assembly 395. The air exiting thePTCR heater assembly 395 has been heated to a temperature between about 170 ℃ and about 230 ℃. The heated gas stream flows through the disposable product 360 (e.g., tobacco-containing media) at a flow rate of about 1.4 liters per minute. The vapor and/or aerosol exitingPTCR vaporization assembly 398 comprises vaporized material released fromdisposable product 360 at a temperature between about 110 ℃ and about 220 ℃.
Fig. 25 is a perspective view of an exemplaryPTCR vaporization assembly 398 anddisposable product 360 after about 2.0 seconds of activation ofPTCR heater 390. ThePTCR heater 390 heats theheat exchanger element 320, which transfers heat to the air entering thePTCR heater assembly 395. The air exiting thePTCR heater assembly 395 has been heated to a temperature of between about 180 ℃ and about 240 ℃. The heated gas stream flows through the disposable product 360 (e.g., tobacco-containing media) at a flow rate of about 1.4 liters per minute. The vapor and/or aerosol exitingPTCR vaporization assembly 398 comprises vaporized material released fromdisposable product 360 at a temperature between about 120 ℃ and about 230 ℃.
Fig. 26 is a perspective view of an exemplaryPTCR vaporization assembly 398 anddisposable product 360 after about 3.0 seconds of activation ofPTCR heater 390. ThePTCR heater 390 heats theheat exchanger element 320, which transfers heat to the air entering thePTCR heater assembly 395. The air exiting thePTCR heater assembly 395 has been heated to a temperature of between about 180 ℃ and about 240 ℃. The heated gas stream flows through the disposable product 360 (e.g., tobacco-containing media) at a flow rate of about 1.4 liters per minute. The vapor and/or aerosol exitingPTCR vaporization assembly 398 comprises vaporized material released fromdisposable product 360 at a temperature between about 120 ℃ and about 230 ℃.
The current subject matter is not limited to rectangular geometries. In an embodiment, the PTCR heater is polygonal, not rectangular. For example, alternative designs for PTCR heaters may differ from planar geometries in many configurations produced by extrusion or injection molding. For example, fig. 27 is a perspective view of anexemplary PTCR heater 290 having a cylindrical geometry. In this example, thePTCR heater 290 includes aPTCR material 200 having surfaceconductive layers 205, each of which is cylindrical.
Fig. 28 is an exploded view illustrating an exemplaryPTCR heater assembly 295 including anexemplary PTCR heater 290, anexterior heat exchanger 210, aninterior heat exchanger 220, aflow splitter 230, and aheater assembly cover 250, each of which is cylindrical. Fig. 29 is a perspective view of an exemplaryPTCR heater assembly 295. Fig. 30 is a perspective view of an exemplaryPTCR evaporation assembly 298 with the outer cover and flowsplitter 230 removed, showing the orientation of thePTCR heater 290,external heat exchanger 210 andinternal heat exchanger 220 in alignment with thedisposable product 260.
Fig. 31 is a perspective view of an exemplaryPTCR evaporation assembly 298 that includes aPTCR heater 290, anexternal heat exchanger 210, aninternal heat exchanger 220, aflow diverter 230, aheater assembly cover 250, and a product cover 280 (in fig. 18, the product cover conceals the disposable product 260).
Fig. 32 is a plot of log resistivity as a function of temperature for an exemplary vaporization device having a PTCR heater. The performance illustrated in fig. 32 is calculated from an example of the performance characterizing an exemplary embodiment of a cylindricalPTCR vaporization assembly 298. An exemplaryPTCR vaporization assembly 298 is an HNB device in which a solid vaporizable material (e.g., HNB product) is treated in calculations as a porous medium, mass specific surface area, as adisposable product 260
Figure BDA0003155435420000371
Density of
Figure BDA0003155435420000372
Convective heat transfer constant
Figure BDA0003155435420000373
The volume specific surface area can be calculated as Svol=Sm xρ=10000cm2/g×1000g/kg×m2/10000cm2And is and
Figure BDA0003155435420000374
Figure BDA0003155435420000375
from which the volumetric heat exchange coefficient is derived
Figure BDA0003155435420000376
For the above calculations, the ambient conditions were 1 atmosphere of standard pressure at a temperature of 20.05 ℃. The input gas flow rate is constant at 1.4l/m and the voltage applied across the opposingconductive layer 205 is constant at 3.7 volts. Outside the PTCR behavior shown in fig. 32, no current limit is imposed.
The calculated evaporation device with PTCR heater comprises an electricallyconductive layer 205 of silver, a cylindricalexternal heat exchanger 210 and a cylindrical internal heat exchanger 220 (which are aluminum extrusions), aflow splitter 230 andheater assembly cover 250 made of PTFE, and aproduct cover 280 made of paper.
Fig. 33 is a cross-sectional view illustrating a temperature simulation of an exemplary embodiment of aPTCR evaporation assembly 298, thePTCR evaporation assembly 298 also being described above in connection with fig. 32. ThePTCR vaporization assembly 298 includes aPTCR heater assembly 295 for heating a disposable product (e.g., a solid vaporization material) 260. Fig. 34A-34G are cut-away views showing the transient response of temperature as a color for an exemplary embodiment of aPTCR vaporization assembly 298 with aPTCR heater assembly 295. Fig. 34A-34G show that the temperature does not exceed 280 c anywhere, much lower than the combustion temperature of the disposable 260. As can also be seen in fig. 34A-34G, the heating of the disposable product (e.g., solid vaporizable material) 260 is done in a wave pattern from upstream to downstream, eliminating cross-sectional hot spots and the resulting voids of varying porosity.
In the foregoing specification and claims, phrases such as "at least one" or "one or more" may appear after a conjunctive listing of elements or features. The term "and/or" may also be present in a list of two or more elements or features. Unless otherwise implicitly or explicitly contradicted by context of usage, the phrase is intended to mean any of the enumerated elements or features alone, or any combination of any of the enumerated elements or features with any of the other enumerated elements or features. For example, the phrases "at least one of a and B," one or more of a and B, "and" a and/or B "are each intended to mean" a alone, B alone, or a and B together. A similar interpretation is also made for lists containing three or more items. For example, the phrases "at least one of A, B and C", "one or more of A, B and C", "A, B and/or C" are each intended to mean "a alone, B alone, C alone, a and B together, a and C together, B and C together, or a and B and C together". Furthermore, the term "based on" as used above and in the claims is intended to mean "based at least in part on" such that non-recited features or elements are also permitted.
The subject matter described herein may be embodied in systems, devices, methods, and/or articles of manufacture depending on the desired configuration. The embodiments set forth in the foregoing description do not represent all embodiments consistent with the subject matter described herein. Rather, they are merely examples consistent with relevant aspects of the described subject matter. Although some variations have been described in detail above, other modifications or additions may be made. In particular, further features and/or variations may be provided in addition to those listed herein. For example, the embodiments described above may be directed to various combinations and subcombinations of the disclosed features and/or combinations and subcombinations of several further features disclosed above. Moreover, the logic flows depicted in the figures and/or described herein do not necessarily require the particular order shown, or sequential order, to achieve desirable results. Other implementations are within the scope of the following claims.

Claims (105)

1. An evaporator device comprising:
a housing comprising an air inlet;
a heating element within the housing, the heating element comprising a non-linear positive temperature coefficient of resistance material; and
a heat exchanger thermally coupled to the heating element and arranged to receive an airflow from the air inlet, the heat exchanger configured to transfer heat between the heating element and the airflow to produce a heated airflow, wherein the heated airflow exiting the heat exchanger is configured to evaporate a vaporizable material.
2. The evaporator device of claim 1, wherein the heat exchanger comprises a first heat exchanger thermally coupled to a first side of the heating element, the heat exchanger comprising a second heat exchanger thermally coupled to a second side of the heating element.
3. The evaporator device of claim 1, wherein the heat exchanger includes a plurality of fin features.
4. The evaporator device of any of claims 1 to 3, wherein the heat exchanger is made of aluminum, copper, steel, stainless steel, or titanium.
5. The evaporator device of any one of claims 1 to 4, wherein the heat exchanger is made of a thermally conductive material extruded.
6. The evaporator device of any of claims 1 to 4, wherein the heat exchanger is made of foamed metal.
7. The evaporator device of claim 6, wherein the foamed metal is foamed aluminum.
8. The evaporator device of any one of claims 1 to 7, further comprising:
a splitter positioned in the airflow path and configured to split a portion of the airflow through the heat exchanger.
9. The evaporator device of any of claims 1 to 8, wherein the housing comprises a heater assembly cover that houses the heat exchanger.
10. The evaporator device of any one of claims 1 to 9, further comprising:
a power source configured to provide electrical energy to the heating element.
11. The evaporator device of any one of claims 1 to 10, further comprising:
a product cover containing a vaporizable material.
12. The evaporator device of any one of claims 1 to 11, wherein the vaporizable material is a solid vaporizable material.
13. The evaporator device of any one of claims 1 to 11, wherein the product cover comprises a cartridge having a first air inlet.
14. The evaporator device of claim 13, wherein the housing comprises a connector configured to couple the housing to the cartridge containing the vaporizable material.
15. The evaporator device of claim 14, wherein the cartridge comprises a solid vaporizable material.
16. An evaporator device according to any of claims 13 to 15, wherein the cartridge comprises a hopper, a liquid vaporizable material within the hopper and a wick in fluid communication with the liquid vaporizable material, wherein the cartridge is configured to receive a heated air stream through the first air inlet and direct the heated air stream over the wick.
17. The evaporator device of any one of claims 13 to 16, wherein the cartridge contains a mouthpiece and the wick is located in the path of the heated air flow between the heating element and the mouthpiece.
18. The evaporator device of any of claims 13-16, wherein the cartridge comprises a second air inlet configured to draw a second air flow into the cartridge to mix with the heated air flow.
19. The evaporator device of claim 18, wherein the second air inlet is located within a mouthpiece of the cartridge.
20. The evaporator device of any one of claims 14 or 15, wherein the cartridge comprises:
a hopper containing a vaporizable material, wherein the vaporizable material is a liquid vaporizable material;
a wick in fluid communication with the liquid vaporizable material, the wick arranged to receive a heated air stream from a heat exchanger to vaporize the vaporizable material to produce a vapor and/or a first aerosol;
a solid vaporizable material arranged to receive the vapor and/or the first aerosol to produce a second aerosol; and
a mouthpiece configured to receive the second aerosol after a vapor and/or first aerosol passes through the solid vaporizable material.
21. The evaporator device of any one of claims 1 to 11, further comprising:
a first cartridge containing the vaporizable material, a first air inlet, and a wick, wherein the vaporizable material is a liquid vaporizable material and the wick is in fluid communication with the liquid vaporizable material, the wick being arranged to receive a heated air stream from a heat exchanger through the first air inlet to vaporize the vaporizable material to produce a vapor and/or a first aerosol; and
a second cartridge comprising a solid vaporizable material and a mouthpiece, the solid vaporizable material being arranged to receive the vapor and/or the first aerosol to produce a second aerosol, and the mouthpiece being configured to receive the second aerosol after the vapor and/or the first aerosol passes over the solid vaporizable material,
wherein the first cartridge is removably coupled to the housing, and wherein the second cartridge is removably coupled to the housing and/or the first cartridge.
22. The evaporator device of claim 21, wherein the first and second cartridges are disposable cartridges.
23. The vaporizer apparatus of any of claims 21 or 22, wherein the second cartridge comprises a second air inlet for mixing ambient temperature air with the second aerosol.
24. The evaporator device of any one of claims 21 or 23, further comprising:
a fibrous body arranged to receive and cool the second aerosol after the vapour and/or the first aerosol passes through the solid vaporisable material.
25. The evaporator device of any of claims 1 to 24, wherein the non-linear positive temperature coefficient of resistivity material comprises a resistivity transition region in which the resistivity increases over a temperature range such that when the heating element is heated above a first temperature within the resistivity transition region, current from the power supply is reduced to a level that limits further temperature rise of the heating element.
26. The evaporator device of claim 25, wherein the resistivity transition zone begins at a first temperature between 150 ℃ and 350 ℃.
27. The evaporator device of claim 26, wherein the resistivity transition zone begins at a first temperature between 220 ℃ and 300 ℃.
28. The evaporator device of claim 27, wherein the resistivity transition zone begins at a first temperature between 240 ℃ and 280 ℃.
29. The evaporator device of any of claims 25 to 28, wherein the increase in resistivity over the temperature range of the resistivity transition zone comprises an increase factor of at least 10, the increase factor characterizing a relative change in resistivity between the resistivity at a first temperature associated with a beginning of the resistivity transition zone and the resistivity at a second temperature associated with an end of the resistivity transition zone.
30. The evaporator device of any of claims 25 to 29, wherein the resistivity transition zone begins at the first temperature and the resistivity of the heating element at a temperature below the first temperature is between 0.2ohm-cm and 200 ohm-cm.
31. The evaporator device of any one of claims 1 to 30, further comprising:
a power supply configured to provide a voltage of between 3 and 50 volts to the heating element;
a pressure sensor; and
a controller coupled to the pressure sensor and configured to detect inhalation and in response electrically connect the power source to the heating element.
32. The evaporator device of any one of claims 1 to 31, wherein the housing is cylindrical, the heating element is cylindrical, and the heat exchanger is cylindrical.
33. The evaporator device of any one of claims 1 to 31, wherein the housing is rectangular, the heating element is rectangular, and the heat exchanger is rectangular.
34. A PTCR heater assembly for heating an air flow of an evaporator device, comprising:
a heater assembly cover;
a heat exchanger disposed within the heater assembly cover, the heat exchanger configured to transfer heat to the airflow; and
a Positive Temperature Coefficient of Resistivity (PTCR) heating element thermally coupled to the heat exchanger, the PTCR heating element configured to be electrically coupled to a power source to receive an electrical current and heat the airflow, the PTCR heating element comprising a PTCR material having a resistivity that varies based on temperature, the resistivity including a resistivity transition region in which the resistivity increases over a temperature range such that when the PTCR heating element is heated above a first temperature within the transition region, the electrical current from the power source is reduced to a level that limits further temperature increase of the PTCR heating element.
35. The PTCR heater assembly of claim 34, wherein the heat exchanger comprises a first heat exchanger thermally coupled to a first side of the heating element, the heat exchanger comprises a second heat exchanger thermally coupled to a second side of the heating element.
36. A PTCR heater assembly as claimed in any one of claims 34 or 33, wherein the heat exchanger comprises a plurality of fin features.
37. A PTCR heater assembly as claimed in any one of claims 34 to 36 wherein the heat exchanger is made of aluminium, copper, steel, stainless steel or titanium.
38. A PTCR heater assembly as claimed in any one of claims 34 to 37, wherein the heat exchanger is made by extrusion of a thermally conductive material.
39. The evaporator device of any of claims 34 to 37, wherein the heat exchanger is made of foamed metal.
40. The evaporator device of claim 39, wherein the foamed metal is foamed aluminum.
41. A PTCR heater assembly as claimed in any one of claims 34 to 40 wherein the resistivity transition zone begins at a first temperature between 150 ℃ and 350 ℃.
42. A PTCR heater assembly as claimed in any one of claims 34 to 41 wherein the resistivity transition zone begins at a first temperature between 220 ℃ and 300 ℃.
43. A PTCR heater assembly as claimed in any one of claims 34 to 42 wherein the resistivity transition zone commences at a first temperature between 240 ℃ and 280 ℃.
44. A PTCR heater assembly as claimed in any one of claims 34 to 43 wherein said first temperature is greater than 225 ℃.
45. A PTCR heater assembly as claimed in any one of claims 34 to 44 wherein said PTCR heating element is heated to an operating temperature of between 240 ℃ and 280 ℃.
46. A PTCR heater assembly as claimed in any one of claims 34 to 45 wherein the PTCR heating element is heated to an operating temperature of between 245 ℃ and 255 ℃.
47. A PTCR heater assembly as claimed in any one of claims 34 to 46 wherein the PTCR heating element is heated to an operating temperature of about 250 ℃.
48. The PTCR heater assembly of any one of claims 34 to 47, wherein the increase in resistivity over the temperature range of the resistivity transition region comprises an increase factor of at least 10, the increase factor characterizing the relative change in resistivity between the resistivity at a first temperature associated with the beginning of the resistivity transition region and the resistivity at a second temperature associated with the end of the resistivity transition region.
49. The PTCR heater assembly of any one of claims 34 to 48, wherein the increase in resistivity over the temperature range of the resistivity transition region comprises an increase factor of at least 100, the increase factor characterizing the relative change in resistivity between the resistivity at a first temperature associated with the beginning of the resistivity transition region and the resistivity at a second temperature associated with the end of the resistivity transition region.
50. The PTCR heater assembly of any one of claims 34 to 49, wherein the increase in resistivity over the temperature range of the resistivity transition region comprises an increase factor of at least 1000 characterizing the relative change in resistivity between the resistivity at a first temperature associated with the beginning of the resistivity transition region and the resistivity at a second temperature associated with the end of the resistivity transition region.
51. A PTCR heater assembly as claimed in any one of claims 34 to 50 wherein the resistivity transition zone begins at the first temperature and ends at a second temperature, the difference between the first and second temperatures being 500 ℃ or less.
52. A PTCR heater assembly as claimed in any one of claims 34 to 51 wherein the resistivity transition zone begins at the first temperature and ends at a second temperature, the difference between the first and second temperatures being 200 ℃ or less.
53. A PTCR heater assembly as claimed in any one of claims 34 to 52 wherein the resistivity transition zone begins at the first temperature and ends at a second temperature, the difference between the first and second temperatures being 100 ℃ or less.
54. A PTCR heater assembly as claimed in any one of claims 34 to 53 wherein the resistivity transition zone begins at the first temperature and ends at a second temperature, the difference between the first and second temperatures being 50 ℃ or less.
55. A PTCR heater assembly as claimed in any one of claims 34 to 54 wherein the resistivity transition zone begins at the first temperature and the resistivity of the PTCR heating element at a temperature below the first temperature is between 20 and 200 ohm-cm.
56. A PTCR heater assembly as claimed in any one of claims 34 to 54 wherein the resistivity transition zone begins at the first temperature and the resistivity of the PTCR heating element at temperatures below the first temperature is between 2.0 and 20 ohm-cm.
57. A PTCR heater assembly as claimed in any one of claims 34 to 54 wherein the resistivity transition zone begins at the first temperature and the resistivity of the PTCR heating element at temperatures below the first temperature is between 0.2ohm-cm and 2.0 ohm-cm.
58. A PTCR heater assembly as claimed in any one of claims 34 to 57 wherein the heater assembly cover comprises a non-conductive material.
59. A PTCR heater assembly as claimed in any one of claims 34 to 58 wherein said heater assembly cover comprises a non-thermally conductive material.
60. A PTCR heater assembly as claimed in any one of claims 34 to 59 wherein the heater assembly cover comprises a metal with a non-conductive coating isolating the heater assembly cover from the heat exchanger.
61. A PTCR heater assembly as claimed in any one of claims 34 to 60 wherein the heater assembly cover comprises Polytetrafluoroethylene (PTFE).
62. An evaporator device for evaporating a solid vaporizable material using a heated gas stream, comprising:
a housing containing an air inlet and a power source configured to provide current at a voltage; and
a PTCR heater assembly located within the housing, comprising
A heating element within the housing and configured to be electrically coupled to the power supply to receive the electrical current, the PTCR heating element comprising a PTCR material having a resistivity that varies based on temperature, the resistivity including a resistivity transition region in which the resistivity increases over a temperature range such that when the PTCR heating element is heated above a first temperature within the transition region, the electrical current from the power supply decreases to a level that limits further temperature rise of the PTCR heating element; and
a heat exchanger thermally coupled to the heating element and arranged to receive an air flow from the air inlet, the heat exchanger configured to transfer heat between the heating element and the air flow to produce the heated air flow, wherein the heated air flow exiting the heat exchanger is configured to evaporate the solid vaporizable material.
63. The evaporator apparatus of claim 62, further comprising: the solid vaporizable material.
64. The evaporator device of any one of claims 62 or 63, wherein the solid vaporizable material is a tobacco-containing medium.
65. The evaporator device of any of claims 62-64, further comprising:
an input configured to electrically connect the power supply to the PTCR heating element in response to a user input.
66. The evaporator device of claim 65, wherein the input comprises a button.
67. The evaporator device of any one of claims 62 to 66, wherein the evaporator device does not comprise a controller.
68. The evaporator device of any one of claims 62 to 67, wherein the evaporator device does not include a pressure sensor.
69. The evaporator device of any one of claims 62 to 66, further comprising:
a pressure sensor; and
a controller coupled to the pressure sensor and configured to detect inhalation and, in response, electrically connect the power source to the PTCR heating element.
70. The evaporator device of any one of claims 62 to 69, wherein the resistivity transition zone begins at a first temperature between 150 ℃ and 350 ℃.
71. The evaporator device of any one of claims 62 to 70, wherein the resistivity transition zone begins at a first temperature between 220 ℃ and 300 ℃.
72. The evaporator device of any one of claims 62 to 71, wherein the resistivity transition zone begins at a first temperature between 240 ℃ and 280 ℃.
73. The evaporator device of any one of claims 62 to 72, wherein the first temperature is greater than 225 ℃.
74. The evaporator device of any one of claims 62 to 73, wherein the PTCR heating element is heated to an operating temperature of between 240 ℃ and 280 ℃.
75. The evaporator device of any one of claims 62 to 74, wherein the PTCR heating element is heated to an operating temperature of between 245 ℃ and 255 ℃.
76. The evaporator device of any one of claims 62 to 75, wherein the PTCR heating element is heated to an operating temperature of about 250 ℃.
77. The evaporator apparatus of any one of claims 62-76, wherein an increase in resistivity over a temperature range of the resistivity transition zone comprises an increase factor of at least 10, the increase factor characterizing a relative change in resistivity between a resistivity at a first temperature associated with a beginning of the resistivity transition zone and a resistivity at a second temperature associated with an end of the resistivity transition zone.
78. The evaporator apparatus of any one of claims 62-77, wherein an increase in resistivity over a temperature range of the resistivity transition zone comprises an increase factor of at least 100, the increase factor characterizing a relative change in resistivity between a resistivity at a first temperature associated with a beginning of the resistivity transition zone and a resistivity at a second temperature associated with an end of the resistivity transition zone.
79. The evaporator apparatus of any one of claims 62-78, wherein an increase in resistivity over a temperature range of the resistivity transition region comprises an increase factor of at least 1000, the increase factor characterizing a relative change in resistivity between a resistivity at a first temperature associated with a beginning of the resistivity transition region and a resistivity at a second temperature associated with an end of the resistivity transition region.
80. The evaporator apparatus of any one of claims 62-79, wherein the resistivity transition zone begins at the first temperature and ends at a second temperature, the difference between the first temperature and the second temperature being 500 ℃ or less.
81. The evaporator apparatus of any one of claims 62-80, wherein the resistivity transition zone begins at the first temperature and ends at a second temperature, a difference between the first temperature and the second temperature being 200 ℃ or less.
82. The evaporator device of any one of claims 62-81, wherein the resistivity transition zone begins at the first temperature and ends at a second temperature, the difference between the first temperature and the second temperature being 100 ℃ or less.
83. The evaporator device of any one of claims 62 to 82, wherein the resistivity transition zone begins at the first temperature and ends at a second temperature, the difference between the first temperature and the second temperature being 50 ℃ or less.
84. The evaporator apparatus of any one of claims 62 to 83, wherein the resistivity transition zone begins at the first temperature and the PTCR heating element has a resistivity between 20 and 200ohm-cm at temperatures below the first temperature.
85. The evaporator apparatus of any one of claims 62 to 83, wherein the resistivity transition zone begins at the first temperature and the PTCR heating element has a resistivity between 2.0ohm-cm and 20ohm-cm at a temperature lower than the first temperature.
86. The evaporator apparatus of any one of claims 62 to 83, wherein the resistivity transition zone begins at the first temperature and the PTCR heating element has a resistivity between 0.2ohm-cm and 2.0ohm-cm at temperatures below the first temperature.
87. The evaporator apparatus of any one of claims 62-69, wherein the increase in resistivity over the temperature range of the resistivity transition zone comprises an increase factor of at least 100, the increase factor characterizing a relative change in resistivity between resistivity at a first temperature associated with a beginning of the resistivity transition zone and resistivity at a second temperature associated with an end of the resistivity transition zone,
wherein the first temperature is between 150 ℃ and 350 ℃;
wherein the PTCR heating element is heated to an operating temperature between 240 ℃ and 280 ℃ above the first temperature;
wherein a difference between the first temperature and the second temperature is 200 ℃ or less;
wherein the PTCR heating element has a resistivity between 2ohm-cm and 200ohm-cm at a temperature below the first temperature.
88. The evaporator device of any one of claims 62 to 87, wherein the power supply is configured to provide a voltage between 3V and 6V.
89. The evaporator device of any one of claims 62 to 88, wherein the power source is a battery.
90. The evaporator device of any one of claims 62 to 89, wherein the solid vaporizable material comprises nicotine.
91. The evaporator apparatus of any of claims 62-90, wherein the heat exchanger comprises a first heat exchanger thermally coupled to a first side of the heating element, the heat exchanger comprises a second heat exchanger thermally coupled to a second side of the heating element.
92. The evaporator device of any one of claims 62 to 91, wherein the heat exchanger comprises a plurality of fin features.
93. The evaporator device of any one of claims 62 to 92, wherein the heat exchanger is made of aluminum, copper, steel, stainless steel, or titanium.
94. The evaporator device of any one of claims 62 to 93, wherein the heat exchanger is made of a thermally conductive material extruded.
95. The evaporator apparatus of any one of claims 62 to 93, wherein the heat exchanger is made of foamed metal.
96. The evaporator apparatus of claim 95, wherein the foamed metal is foamed aluminum.
97. The evaporator apparatus of any one of claims 62 to 97, the PTCR heater assembly further comprising: a heater assembly cover.
98. The PTCR heater assembly of claim 97, wherein the heater assembly cover comprises a non-conductive material.
99. The PTCR heater assembly of any one of claims 97 or 98, wherein the heater assembly cover comprises a non-thermally conductive material.
100. A PTCR heater assembly as claimed in any one of claims 97 to 99, wherein the heater assembly cover comprises metal with a non-conductive coating isolating the heater assembly cover from the heat exchanger.
101. The PTCR heater assembly of any one of claims 97 to 100, wherein the heater assembly cover comprises Polytetrafluoroethylene (PTFE).
102. A method of vaporizing a vaporizable material comprising:
receiving, by an evaporator device, a user input;
heating an airflow using a PTCR heater assembly to produce a heated airflow, the PTCR heater assembly including a heat exchanger thermally coupled to a PTCR heating element, the PTCR heating element configured to be electrically coupled to a power supply, the PTCR heating element including a resistivity that varies based on temperature, the resistivity including a resistivity transition region including an increase in resistivity over a temperature range from a first temperature to a second temperature, such that when the PTCR heating element is heated between the first temperature and the second temperature, current from the power supply is reduced to a level that limits further temperature increase of the PTCR heating element by the current; and
evaporating the vaporizable material with the heated gas stream.
103. The method of claim 102, wherein the vaporizable material comprises nicotine.
104. A method, comprising:
receiving a user input through an evaporator device according to any one of claims 1 to 33;
heating the vaporizable material using the vaporizer device; and
generating an inhalable aerosol.
105. The method of claim 104, wherein the vaporizable material comprises nicotine.
CN202080008599.7A2019-01-112020-01-10 Evaporator including a positive resistivity temperature coefficient heaterActiveCN113286529B (en)

Priority Applications (1)

Application NumberPriority DateFiling DateTitle
CN202510032929.0ACN119769793A (en)2019-01-112020-01-10 Evaporator including a positive resistivity temperature coefficient heater

Applications Claiming Priority (7)

Application NumberPriority DateFiling DateTitle
US201962791709P2019-01-112019-01-11
US62/791,7092019-01-11
US201962816452P2019-03-112019-03-11
US62/816,4522019-03-11
US201962898522P2019-09-102019-09-10
US62/898,5222019-09-10
PCT/US2020/013224WO2020146828A1 (en)2019-01-112020-01-10Vaporizer including positive temperature coefficient of resistivity heater

Related Child Applications (1)

Application NumberTitlePriority DateFiling Date
CN202510032929.0ADivisionCN119769793A (en)2019-01-112020-01-10 Evaporator including a positive resistivity temperature coefficient heater

Publications (2)

Publication NumberPublication Date
CN113286529Atrue CN113286529A (en)2021-08-20
CN113286529B CN113286529B (en)2025-01-28

Family

ID=77275576

Family Applications (2)

Application NumberTitlePriority DateFiling Date
CN202080008599.7AActiveCN113286529B (en)2019-01-112020-01-10 Evaporator including a positive resistivity temperature coefficient heater
CN202510032929.0APendingCN119769793A (en)2019-01-112020-01-10 Evaporator including a positive resistivity temperature coefficient heater

Family Applications After (1)

Application NumberTitlePriority DateFiling Date
CN202510032929.0APendingCN119769793A (en)2019-01-112020-01-10 Evaporator including a positive resistivity temperature coefficient heater

Country Status (2)

CountryLink
EP (2)EP3908135B1 (en)
CN (2)CN113286529B (en)

Citations (4)

* Cited by examiner, † Cited by third party
Publication numberPriority datePublication dateAssigneeTitle
US5144962A (en)*1989-12-011992-09-08Philip Morris IncorporatedFlavor-delivery article
US20130298905A1 (en)*2012-03-122013-11-14UpToke, LLCElectronic vaporizing device and methods for use
CN111213915A (en)*2018-11-082020-06-02尤尔实验室有限公司Evaporator device with more than one heating element
CN115334915A (en)*2020-03-262022-11-11Cqens技术股份有限公司 Heat not burn device and method

Family Cites Families (2)

* Cited by examiner, † Cited by third party
Publication numberPriority datePublication dateAssigneeTitle
US10660368B2 (en)*2016-05-312020-05-26Altria Client Services LlcAerosol generating article with heat diffuser
CN207476951U (en)*2017-09-252018-06-12深圳市合元科技有限公司Gas heats smoke creating system

Patent Citations (4)

* Cited by examiner, † Cited by third party
Publication numberPriority datePublication dateAssigneeTitle
US5144962A (en)*1989-12-011992-09-08Philip Morris IncorporatedFlavor-delivery article
US20130298905A1 (en)*2012-03-122013-11-14UpToke, LLCElectronic vaporizing device and methods for use
CN111213915A (en)*2018-11-082020-06-02尤尔实验室有限公司Evaporator device with more than one heating element
CN115334915A (en)*2020-03-262022-11-11Cqens技术股份有限公司 Heat not burn device and method

Non-Patent Citations (2)

* Cited by examiner, † Cited by third party
Title
姜海波 等: "新型加热器用高性能PTCR发热元件的研制", 《器件制造与应用》, vol. 33, no. 7, 31 July 2008 (2008-07-31), pages 600 - 602*
阎大卫: "《新编计算机与电子技术600题问答》", vol. 1, 31 May 1994, 兵器工业出版社, pages: 299 - 300*

Also Published As

Publication numberPublication date
EP4531499A3 (en)2025-06-11
EP3908135B1 (en)2025-02-19
EP4531499A2 (en)2025-04-02
CN113286529B (en)2025-01-28
EP3908135A1 (en)2021-11-17
CN119769793A (en)2025-04-08

Similar Documents

PublicationPublication DateTitle
JP7502015B2 (en) Vaporizer device with one or more heating elements
CN113194766B (en) Cartridge-based heat-without-burn vaporizer
US12232529B2 (en)Vaporizer including positive temperature coefficient of resistivity heater
CN110893019A (en)Evaporator comprising a heating element with Positive Temperature Coefficient of Resistivity (PTCR)
JP2025061034A (en) Vaporizer mouthpiece having a positive temperature coefficient resistive heater
CN113286529B (en) Evaporator including a positive resistivity temperature coefficient heater
HK40065711B (en)Vaporizer including positive temperature coefficient of resistivity heater
HK40065711A (en)Vaporizer including positive temperature coefficient of resistivity heater
RU2802990C2 (en)Cartridge-based heated evaporator
HK40061130A (en)Vaporizer device with more than one heating element
HK40061130B (en)Vaporizer device with more than one heating element

Legal Events

DateCodeTitleDescription
PB01Publication
PB01Publication
SE01Entry into force of request for substantive examination
SE01Entry into force of request for substantive examination
GR01Patent grant
GR01Patent grant

[8]ページ先頭

©2009-2025 Movatter.jp